Крупнейшая бесплатная информационно-справочная система онлайн доступа к полному собранию технических нормативно-правовых актов РФ. Огромная база технических нормативов (более 150 тысяч документов) и полное собрание национальных стандартов, аутентичное официальной базе Госстандарта. GOSTRF.com - это более 1 Терабайта бесплатной технической информации для всех пользователей интернета. Все электронные копии представленных здесь документов могут распространяться без каких-либо ограничений. Поощряется распространение информации с этого сайта на любых других ресурсах. Каждый человек имеет право на неограниченный доступ к этим документам! Каждый человек имеет право на знание требований, изложенных в данных нормативно-правовых актах!

  


 

ГОСУДАРСТВЕННЫЙ СТАНДАРТ СОЮЗА ССР

 

КОНСТРУКЦИИ
АСБЕСТОЦЕМЕНТНЫЕ КЛЕЕНЫЕ

МЕТОД ОПРЕДЕЛЕНИЯ ПРОЧНОСТИ
КЛЕЕВЫХ СОЕДИНЕНИЙ ПРИ СДВИГЕ

ГОСТ 20182-74

 

 

ГОСУДАРСТВЕННЫЙ КОМИТЕТ СОВЕТА МИНИСТРОВ СССР
ПО ДЕЛАМ СТРОИТЕЛЬСТВА

Москва

 

РАЗРАБОТАН И ВНЕСЕН Центральным научно-исследовательским институтом строительных конструкций имени В.А. Кучеренко (ЦНИИСК им. Кучеренко) Госстроя СССР

Директор Смирнов А.Ф.

Руководитель темы Фрейдин А.С.

Исполнитель Шолохова А.Б.

ПОДГОТОВЛЕН К УТВЕРЖДЕНИЮ Отделом технического нормирования и стандартизации Госстроя СССР

Начальник отдела Сычев В.И.

Начальник подотдела стандартизации в строительстве Новиков М.М.

Ст. инженер Лейбенгруб Л.М.

УТВЕРЖДЕН И ВВЕДЕН В ДЕЙСТВИЕ Постановлением Государственного комитета Совета Министров СССР по делам строительства от 30 августа 1974 г. №190

 

ГОСУДАРСТВЕННЫЙ СТАНДАРТ СОЮЗА ССР

КОНСТРУКЦИИ АСБЕСТОЦЕМЕНТНЫЕ КЛЕЕНЫЕ

Метод определения прочности
клеевых соединений при сдвиге

Glued asbest-cement constructions.
The method of determinations of shear
strength of glued joints

ГОСТ
20182-74

Постановлением Государственного комитета Совета Министров СССР по делам строительства от 30 августа 1974 г. № 190 срок введения установлен

с 01.07 1975 г.

 

Настоящий стандарт распространяется на клеевые соединения асбестоцемента и устанавливает метод определения прочности при сдвиге клеевых соединений плоских листов и плоских листов с профильными (швеллерами).

Применение метода предусматривается в стандартах и технических условиях на продукцию, устанавливающих технические требования к ней.

1. ОБОРУДОВАНИЕ ДЛЯ ИСПЫТАНИЯ

1.1. Для проведения испытания должны применяться:

испытательная машина по ГОСТ 7855-68 или аналогичные машины с точностью измерения величины нагрузки до 1%;

штангенциркуль по ГОСТ 166-63 с точностью измерения до 0,1 мм;

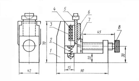
приспособление для испытаний (черт. 1).

1 - корпус; 2 - пружина; 3 - подвижная планка; 4 - ролики; 5 - съемная нажимная призма с шаровой опорой; 6 - образец; 7 - подвижная опора; 8 - прижимной винт.

Черт. 1

2. ПОДГОТОВКА ОБРАЗЦОВ К ИСПЫТАНИЮ

2.1. Образцы для испытания изготавливают из асбестоцементных плоских листов по ГОСТ 18124-72, при этом влажность листов, из которых склеивают образцы не должна превышать 6%.

Примечание. В случае, если объемная масса асбестоцемента будет менее 1,6 г/см3, допускается склеивание при влажности не более 10%.

2.2. Для изготовления образцов берут заготовку, которую склеивают специально или выпиливают из готовой продукции по форме и размерам, указанным на черт. 2.

1 - клеевой шов; 2 - пропил.

Черт. 2

2.3. Заготовку склеивают по технологии, принятой для данного вида изделий с учетом типа клея.

2.4. Смещение узкой полосы (накладки) при склеивании заготовок не должно превышать 5 мм относительно продольной оси.

2.5. Клеевые подтеки на торцах клеевого шва должны быть зачищены до испытаний.

2.6. Время выдержки образцов от момента склеивания до испытания определяется технологическим регламентом и типом клея.

2.7. Испытание проводят на шести образцах.

3. ПРОВЕДЕНИЕ ИСПЫТАНИЙ

3.1. Подготовленный к испытанию образец устанавливают в приспособление для испытаний, указанное на черт. 1.

Перемещением подвижной опоры обеспечивают прилегание опорных граней образца к соответствующим поверхностям приспособления. Жестко зажимать образец прижимным винтом не разрешается.

3.2. Образец с приспособлением устанавливают в испытательную машину.

Нагрузку на образец передают равномерно, увеличивая ее со скоростью 10 мм/мин.

Нагрузку, при которой произошло разрушение образца, фиксируют.

3.3. Площадь склеивания измеряют с точностью до 0,1 см2.

3.4. Обе части разрушенного образца подвергают визуальному осмотру для определения характера разрушения:

по клею;

по склеиваемому материалу;

смешанного.

Характер разрушения оценивают в процентах от площади склеивания с точностью до 5-10 %.

4. ОБРАБОТКА РЕЗУЛЬТАТОВ ИСПЫТАНИЯ

4.1. Прочность клеевого соединения на сдвиг Ri вычисляют с точностью до 1 кгс/см2 по формуле

где Р - максимальная разрушающая нагрузка в кгс;

F - площадь склеивания в см2, вычисляемая с точностью до 0,1 см2 по формуле

F = a × b

где а - длина в см;

b - ширина в см.

4.2. За величину прочности клеевого соединения принимают среднее арифметическое результатов испытаний образцов, вычисляемое по формуле

где n - число испытанных образцов;

Ri - значения прочности отдельных образцов в кгс/см2.

Кроме среднего арифметического значения прочности образцов, могут определяться статистические показатели - среднее квадратичное отклонение, вариационный коэффициент, показатель точности. Определение этих показателей производится в соответствии с приложением 1 и является факультативным.

4.3. Результаты испытаний записывают в журнал (см. приложение 2).

 

ПРИЛОЖЕНИЕ 1

Рекомендуемое

 

ОПРЕДЕЛЕНИЕ СТАТИСТИЧЕСКИХ ПОКАЗАТЕЛЕЙ

1. Среднее квадратичное отклонение s в кгс/см2, характеризующее рассеяние экспериментальных данных, определяют по формуле

где n - число испытанных образцов;

Ri - значение прочности каждого образца в кгс/см2;

Rср - среднее арифметическое значение прочности в кгс/см2.

2. Вариационный коэффициент V в процентах определяют по величине среднего квадратичного отклонения по формуле

3. Среднюю ошибку m среднего арифметического определяют по формуле

.

4. Показатель точности испытания Р в процентах для доверительной вероятности 0,95 вычисляют по формуле

 

ПРИЛОЖЕНИЕ 2

Рекомендуемое

 

ЖУРНАЛ ИСПЫТАНИЯ КЛЕЕВЫХ СОЕДИНЕНИЙ
АСБЕСТОЦЕМЕНТА ПРИ СДВИГЕ

 

Тип асбестоцемента ______________________ Температура воздуха в помещении ___________________

Клей __________________________________ Влажность воздуха ______________________________%

Изделие _______________________________ Влажность асбестоцемента ________________________ %

Режим склеивания:

1. Расход клея, г/м2 _____________________________________________________________________

2. Время открытой выдержки, мин __________________________________________________________

3. Время закрытой выдержки, мин __________________________________________________________

4. Температура склеивания, °С _____________________________________________________________

5. Время выдержки под давлением, ч ________________________________________________________

6. Величина удельного давления, кгс/см2 _____________________________________________________

7. Дополнительные сведения _______________________________________________________________

 

Таблица испытаний

Номер образца

Длина а, см

Ширина b, см

Площадь склеивания F=a×b, см2

Разрушающая нагрузка, кгс

Показатель прочности, кгс/см2

Среднее значение показателя прочности, кгс/см2

Характер разрушения

Примечание

 

 

 

 

 

 

 

 

 

 

 

 

Дата _______________________

 

 

Подпись _____________________

 

 




ГОСТЫ, СТРОИТЕЛЬНЫЕ и ТЕХНИЧЕСКИЕ НОРМАТИВЫ.
Некоммерческая онлайн система, содержащая все Российские Госты, национальные Стандарты и нормативы.
В Системе содержится более 150000 файлов нормативно-технической документации, действующей на территории РФ.
Система предназначена для широкого круга инженерно-технических специалистов.

Рейтинг@Mail.ru Яндекс цитирования

Copyright © www.gostrf.com, 2008 - 2026