|
|
|
ГОСТ 6629-88 МЕЖГОСУДАРСТВЕННЫЙ СТАНДАРТ Двери
деревянные внутренние Типы и конструкция ИПК ИЗДАТЕЛЬСТВО СТАНДАРТОВ Москва МЕЖГОСУДАРСТВЕННЫЙ СТАНДАРТ
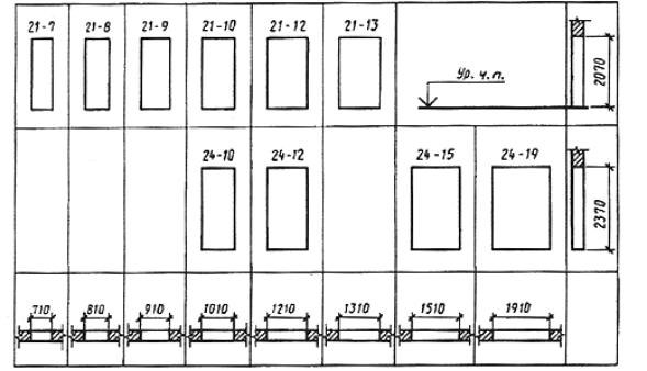
Дата введения 01.01.89 Настоящий стандарт распространяется на деревянные внутренние двери для жилых и общественных зданий, а также для административных и вспомогательных зданий и помещений предприятий различных отраслей народного хозяйства. Стандарт не распространяется на двери специального назначения (в т.ч. противопожарные и звукоизоляционные) и двери из древесины ценных пород. 1. ТИПЫ1.1. Двери в зависимости от конструкции подразделяют на следующие типы: Г - с глухими полотнами; О - с остекленными полотнами; К - с остекленными качающимися полотнами; У - со сплошным заполнителем полотен, усиленные для входов в квартиры. 1.2. Двери типов Г и О изготовляют с одно- и двупольными полотнами, с мелкопустотным (решетчатым) заполнением полотен, с порогом и без порога, с наплавом и без наплава, с обкладками и без обкладок, с коробками и без коробок. Двери типа К изготовляют с двупольными полотнами, с мелкопустотным заполнением полотен, без порога, без наплава, с обкладками и без обкладок, с коробками. Двери типа У изготовляют с однопольными глухими полотнами, с порогом, без наплава, без обкладок, с усиленными коробками или без коробок. 1.3. Двери, изготовляемые по настоящему стандарту, относят к дверям нормальной влагостойкости. 1.4. Габаритные размеры дверей должны соответствовать указанным на черт. 1. Размеры на чертежах стандарта даны для неокрашенных изделий и деталей в миллиметрах. Размеры проемов для дверей приведены в приложении 1. По требованию потребителя допускается изготовление дверей типов О и К размерами 24-12, 24-15, 24-19, а также дверей типа Г размерами 24-15, 24-19 высотой 2071 мм. Допускается изготовление двупольных дверей типов Г и О с неравными по ширине полотнами. 1.5. Устанавливается следующая структура условного обозначения (марки) дверей:
Пример условного обозначения двери остекленной однопольной для проема высотой 21 и шириной 10 дм, правой, с порогом: ДО 21-10П ГОСТ 6629-88 То же, глухой двупольной для проема высотой 24 и шириной 15 дм, левой, с порогом: ДГ 24-15ЛП ГОСТ 6629-88 То же, с качающимися полотнами для проема высотой 24 и шириной 19 дм: ДК 24-19 ГОСТ 6629-88 То же, усиленной, со сплошным заполнением полотна, для проема высотой 21 и шириной 9 дм, правой: ДУ 21-9 ГОСТ 6629-88 То же, полотно бескоробочной двери типа Г, однопольной для проема высотой 20 и шириной 7 дм, левой, с наплавом: ПГ 20-7ЛН ГОСТ 6629-88 2. КОНСТРУКЦИЯ2.1. Двери должны изготовляться в соответствии с требованиями ГОСТ 475, настоящего стандарта и по рабочим чертежам, утвержденным в установленном порядке. 2.2. Конструкция, форма и типоразмеры дверей должны соответствовать указанным на черт. 2, а размеры сечений - на черт. 3. 2.3. Полотна дверей типа У должны изготовляться со сплошным заполнением щита калиброванными по толщине деревянными рейками или ДСП, а также с применением калиброванных по ширине полос ДСП, уложенных на ребро. Примеры заполнения щитов дверных полотен приведены в приложении 2. 2.4. Вертикальные бруски рамки полотна двери типа У должны иметь ширину не менее 90 мм. Допускается прорезать бруски по длине с обеих сторон. Глубина прорезей 5 - 6 мм, ширина 3 - 4 мм. Допускается применение брусков шириной 45 - 60 мм, склеенных по боковой поверхности. Горизонтальные бруски рамки должны иметь ширину не менее 45 мм и соединяться в углах с вертикальными на клею в шип или на шкантах, скобах, скрепах. 2.5. Двери облицовывают материалами в соответствии с ГОСТ 475 в части, относящейся к дверям нормальной влагостойкости. 2.6. Двери, применяемые для комплектации санитарно-технических кабин, допускается изготовлять с полотном толщиной 30 мм и высотой не менее 1800 мм, с шириной бруска коробки не менее 50 мм. 2.7. Двери типов О и К допускается изготовлять рамочной конструкции с шириной брусков рамки не менее 100 мм. 2.8. На нижней части полотен дверей типа У общественных зданий по требованию потребителя крепят с обеих сторон накладки из декоративного бумажнослоистого пластика толщиной 1,3 - 2,5 мм по ГОСТ 9590, сверхтвердых ДВП толщиной 3,2 - 4 мм по ГОСТ 4598, листового алюминия или окрашенной тонколистовой стали. Ширина накладок 220 мм. 2.9. Коробку без порога расшивают внизу монтажной доской с креплением гвоздями или шиповыми соединениями к торцам вертикальных брусков. 2.10. В дверях типов О и К общественных зданий устанавливают с двух сторон защитные ограждения, примеры которых приведены в приложении 3. 2.11. Двери типа У и бескоробочные двери типов Г и О должны быть укомплектованы уплотняющими прокладками по ГОСТ 10174 или др., обеспечивающими необходимую герметичность притворов. 2.12. Расположение приборов приведено в приложении 4. Двери должны поставляться с выбранными гнездами под корпуса замков (защелок) и отверстиями под ручки. Полотна для бескоробочных дверей должны поставляться с установленными верхними полупетлями, нижние полупетли должны упаковываться и поставляться в комплекте. 2.13. Варианты установки бескоробочных дверей приведены в приложении 5. Варианты коробок с облицовкой из поливинилхлорида для дверей типов Г, О без порога приведены в приложении 6. Схемы определения левых и правых дверей приведены в приложении 7. Спецификация стекол для дверей приведена в приложении 8. 2.14. В заказе на поставку дверей должно быть указано: число дверей по маркам и обозначение настоящего стандарта; вид и цвет отделки; вид и толщина стекла; спецификация приборов. По требованию потребителя допускается поставка дверных полотен без коробок и коробок без полотен. Габаритные размеры дверей Черт. 1 Примечания: 1. Схемы дверей изображены со стороны открывания полотна. 2. Цифры над схемами дверей означают размеры проемов в дециметрах. 3. Размеры в скобках даны для дверей с качающимися полотнами. Конструкция, форма и типоразмеры дверей Черт. 2 (лист 1)
Черт. 2 (лист 2) Примечание. Сечения деталей см. черт. 3.
Черт. 2 (лист 3) Примечания: 1. Сечения деталей см. черт. 3. 2. Допускается изготовление дверей типа У с габаритными размерами дверей типа Г. 1 - монтажная доска; 2 - узорчатое стекло по ГОСТ 5533 или армированное стекло по ГОСТ 7481, или оконное стекло по ГОСТ 111 толщиной 4 - 5 мм Черт. 3 (лист 1) Примечания: 1. Сечения глухих дверей аналогичны остекленным, за исключением деталей остекления. 2. Допускается применение пластмассовых раскладок для крепления стекол. 3. Допускается применение монтажных досок иной конструкции.
1 - бруски каркаса щита; 2 - обкладка Черт. 3 (лист 2) Примечание. Ширина двупольной двери со средним притвором без притворной планки на 12 мм меньше указанной на черт. 1 и 2.
1 - петля ПН9-130 по ГОСТ 5088; 2 - оконное стекло по ГОСТ 111 толщиной 4 - 5 мм Черт. 3 (лист 3)
1 - уплотняющая прокладка по ГОСТ 10174; 2 - облицовка ДВП марки СТ или Т группы А толщиной 3,2 - 5 мм по ГОСТ 4598 или клееная фанера марки ФК толщиной 4 - 6 мм по ГОСТ 3916.1 и ГОСТ 3916.2 Черт. 3 (лист 4) Примечание. Допускается изготовление дверей типа У с шириной брусков коробки 74 мм для внутриквартирных дверей и дверей помещений общественных зданий. ПРИЛОЖЕНИЕ
1
|
|||||||||||||||||||||||||||||||||||||||||||||||||||||||||||||||||||||||
|
1. Щит со сплошным заполнением деревянными брусками (рейками) или полосами ДСП |
2. Щит с мелкопустотным заполнением деревянными брусками (рейками) или полосами ДСП |
3. Щит с мелкопустотным заполнением из шпона |
4. Щит с мелкопустотным заполнением из фанеры или твердой ДВП |

1 - шип, скоба или скрепка; 2 - бруски для установки замка или ручек; h - ширина просвета, не более 40 мм; l - длина просвета, не более 400 мм; b - сдвиг реек относительно друг друга, не менее 50 мм
Черт. 5 (лист 1)
|
5. Щит с мелкопустотным заполнением из мягкой ДВП |
6. Щит с мелкопустотным заполнением из твердой ДВП (вариант) |
7. Щит с мелкопустотным заполнением из бумажных сот (рейками) |
8. Щит с мелкопустотным заполнением деревянными брусками |

Черт. 5 (лист 2)
Примечания:
1. Пример 1- для двери типа У, примеры 2 - 7 - для дверей типа Г.
2. Для полотна высотой 2300 мм длина брусков для установки замка и ручек - 700 мм. Установка брусков - см. пример 3.
3. При облицовке щитов дверей типа Г плитами ДВП толщиной 3,2 мм ширина просвета между элементами мелкопустотного заполнения не должна превышать 30 мм, а длина - 200 мм.
4. Заполнение глухой части остекленных полотен может выполняться по аналогии с примерами 3 - 7.

1 - деревянные планки
Черт. 6
Примечание. Допускается применение пластмассовых, металлических и деревянных ограждений иной конструкции.

1 - петли ПН1-110, ПН1-85, ПН2-110, ПН2-85, ПН3-110, ПН4; 2 - ручки РС100, РС140, РК1, РК2, замки и защелки; 3 - задвижки ЗТ; 4 - петли ПВ1-100, ПВ2-125 или винтовые и накладные петли, изготовляемые по специальным ТУ; 5 - замки ЗВ7А, ЗВ4; 6 - петли ПН1-130, ПН1-150, ПН2-130, ПН3-130, ПН3-150.
Черт. 7
Примечания:
1. Приборы для дверей должны соответствовать ГОСТ 5087, ГОСТ 5088, ГОСТ 5089, ГОСТ 5090.
2. Типы приборов для дверей общественных зданий должны назначаться в проектах зданий.
3. В качающихся дверях устанавливают петли ПН9-130 по ГОСТ 5088.

1 - деревянная пробка; 2 - стальная пластина; 3 - анкер; 4 - врезная петля; 5 - винтовая карта петли с гайкой; 6 - уплотняющая прокладка
Черт. 8 (лист 1)

1 - деревянная пробка; 2 - стальная пластина; 3 - анкер; 4 - накладная петля; 5 - уплотняющая прокладка; 6 - деревянный порог
Черт. 8 (лист 2)

Черт. 9
Примечание. Вертикальные элементы коробки соединяют с горизонтальными с помощью шипов и стальных нагелей или шурупов.

Черт. 10
|
Марка двери |
Размер, мм |
Кол. |
|
|
Высота |
Ширина |
||
|
ДО21-8 |
1300 |
475 |
1 |
|
ДО21-9 |
575 |
||
|
ДО21-10 |
675 |
||
|
ДО21-13, |
375 |
2 |
|
|
ДК21-13 |
|||
|
ДО24-10 |
1600 |
675 |
1 |
|
ДО24-12 |
875 |
||
|
ДО24-15, |
475 |
2 |
|
|
ДК24-15 |
|||
|
ДО24-19, |
675 |
||
|
ДК24-19 |
|||
ИНФОРМАЦИОННЫЕ ДАННЫЕ
1. РАЗРАБОТАН И ВНЕСЕН Государственным комитетом по гражданскому строительству и архитектуре при Госстрое СССР
РАЗРАБОТЧИКИ
Ю.А. Арго, канд. техн. наук (руководитель темы); И.В. Строков; Г.Г. Коваленко; З.А. Буркова; И.И. Киселева; Н.П. Сафонов, канд. техн. наук; В.Т. Соколова; Т.С. Сластенко, канд. техн. наук; И.Ф. Савченко; О.Л. Быковский; Н.Д. Попков; Н.И. Жуков; Л.В. Воронкова; Г.В. Левушкин; В.С. Ручкин; Н.Б. Жуковская; Н.В. Шведов
2. УТВЕРЖДЕН И ВВЕДЕН В ДЕЙСТВИЕ постановлением Государственного строительного комитета СССР от 31.12.87 № 325
3. ВЗАМЕН ГОСТ 6629-74
4. ССЫЛОЧНЫЕ НОРМАТИВНО-ТЕХНИЧЕСКИЕ ДОКУМЕНТЫ
|
Обозначение НТД, на который дана ссылка |
Номер пункта, приложения |
|
Приложение 4 |
|
|
Приложение 4 |
|
|
Приложение 4 |
|
|
Приложение 6 |
5. ПЕРЕИЗДАНИЕ Март 1999 г.
СПИСОК СОКРАЩЕНИЙ
в т.ч. - в том числе
ДВП - древесноволокнистая плита
др. - другой
ДСП - древесностружечная плита
кол. - количество
номин. - номинальный
НТД - нормативно-техническая документация
откл. - отклонение
ОТК - отдел технического контроля
пред. - предельный
пр. - прочие
ТУ - технические условия
Ур. ч. п. - уровень чистого пола
ЦСП - цементностружечная плита
СОДЕРЖАНИЕ
|
ГОСТЫ, СТРОИТЕЛЬНЫЕ и ТЕХНИЧЕСКИЕ НОРМАТИВЫ. Некоммерческая онлайн система, содержащая все Российские Госты, национальные Стандарты и нормативы. В Системе содержится более 150000 файлов нормативно-технической документации, действующей на территории РФ. Система предназначена для широкого круга инженерно-технических специалистов. Copyright © www.gostrf.com, 2008 - 2026 |