Крупнейшая бесплатная информационно-справочная система онлайн доступа к полному собранию технических нормативно-правовых актов РФ. Огромная база технических нормативов (более 150 тысяч документов) и полное собрание национальных стандартов, аутентичное официальной базе Госстандарта. GOSTRF.com - это более 1 Терабайта бесплатной технической информации для всех пользователей интернета. Все электронные копии представленных здесь документов могут распространяться без каких-либо ограничений. Поощряется распространение информации с этого сайта на любых других ресурсах. Каждый человек имеет право на неограниченный доступ к этим документам! Каждый человек имеет право на знание требований, изложенных в данных нормативно-правовых актах!

  


 

ГОСУДАРСТВЕННЫЙ СТАНДАРТ СОЮЗА ССР

ЗАМКИ ВРЕЗНЫЕ И НАКЛАДНЫЕ ЦИЛИНДРОВЫЕ И ЗАЩЕЛКИ ВРЕЗНЫЕ

Методы испытаний

ГОСТ 19091-82

ГОСУДАРСТВЕННЫЙ КОМИТЕТ СССР ПО ДЕЛАМ СТРОИТЕЛЬСТВА

МОСКВА

РАЗРАБОТАН

Министерством промышленности строительных материалов СССР Государственным комитетом, по гражданскому строительству и архитектуре при Госстрое СССР

ИСПОЛНИТЕЛИ

В. Г. Шульман (руководитель темы), Т.В. Рыхлова. Б.Д. Филозофвич

ВНЕСЕН Министерством промышленности строительных материалов СССР

Зам. министра Д.Я.Анпилов

УТВЕРЖДЕН И ВВЕДЕН В ДЕЙСТВИЕ Постановлением Государственного комитета СССР по делам строительства от 23 апреля 1982 г. № 103

ГОСУДАРСТВЕННЫЙ СТАНДАРТ СОЮЗА ССР

ЗАМКИ ВРЕЗНЫЕ И НАКЛАДНЫЕ ЦИЛИНДРОВЫЕ
И ЗАЩЕЛКИ ВРЕЗНЫЕ

Методы испытаний

Mortise and rim cylinder locks and latches.
Methods of testing

ГОСТ
19 091
-82

Взамен

ГОСТ 19091-73

Постановлением Государственного комитета СССР по делам строительства от 23 апреля 1982 г. № 103 срок введения установлен

с 01.01 1984 г.

Несоблюдение стандарта преследуется по закону

Настоящий стандарт распространяется на врезные и накладные цилиндровые замки и врезные защелки (в дальнейшем - замки и защелки) по ГОСТ 5089-90 для деревянных дверей и устанавливает методы приемочных, типовых и периодических испытаний замков и защелок на безотказность, прочность а также испытания по определению эксплуатационных усилий.

Порядок применения видов испытаний устанавливается ГОСТ 538-88. Методы испытаний основаны на имитации эксплуатации замков и защелок.

Измененная редакция (Изм. №1).

1. МЕТОДЫ ОТБОРА ОБРАЗЦОВ

1.1. Замки и защелки следует отбирать из партии изделий методом наибольшей объективности по ГОСТ 18321-73.

1.2. Для проведения испытаний отбирают не менее трех замков или защелок.

1.3. Замки и защелки должны быть подвергнуты всем испытаниям, установленным настоящим стандартом для соответствующих сборочных единиц изделий.

2. АППАРАТУРА

2.1. Испытания замков и защелок следует проводить на специальных стендах.

2.2. Стенд для испытаний замков и защелок на безотказность должен обеспечивать:

установку и закрепление замка или защелки;

циклическую работу засова, засова-защелки, блокирующего устройства с частотой не более 60 циклов/мин;

циклическую работу защелки, защелкивающей части засова-защелки, фиксатора, фалевых ручек, ручек-кнопок с частотой не более 120 циклов/мин;

вращение ключа, постоянного ключа с угловой скоростью не более 30 рад/с (300 об/мин);

ввод ключа в цилиндровый механизм и его вывод со скоростью 5….8 см/с;

положение нагрузки не менее 49 Н (5 кгс) к боковой поверхности засова;

подсчет наработки замка или защелки;

автоматическое отключение стенда при наступлении отказа.

Примечание. Конструкция стенда должна предусматривать возможность проведения испытаний сборочных единиц в зависимости от типа замка или защелки.

2.3. Стенд для испытаний на прочность должен обеспечивать возможность испытаний замков или защелок при приложении нагрузки к боковой поверхности засова или засова-защелки, а также моментов сил к фалевым ручкам (ручкам-кнопкам) и к ключу.

Стенд должен обеспечивать приложение нагрузок к сборочным единицам замков или защелок с предельным отклонением 5 %.

2.4. Стенд для определения эксплуатационных усилии замков и защелок должен обеспечивать возможность определения величин моментов сил, прикладываемых к ключу, постоянному ключу, фалевой ручке (ручке-кнопке), а также величин сил, прикладываемых к защелке, защелкивающей части засова-защелки, ключу или фиксатору.

Стенд должен обеспечивать измерение величин сил и моментов сил с погрешностью не более 5 %.

2.5. Техническое задание на разработку стенда для испытания замков и защелок должно быть согласовано с базовой организацией по стандартизации приборов для окон и дверей.

3. ПОДГОТОВКА К ИСПЫТАНИЯМ

3.1. Образцы замков и защелок серийного или массового производства для проведения периодических и типовых испытаний должны отбираться из числа изделий, изготовленных по ГОСТ 5089-90 и принятых техническим контролем предприятия-изготовителя.

Измененная редакция (Изм. №1).

3.2. Испытаниям должны подвергаться сборочные единицы засова, засова, засова-защелки, цилиндрового механизма, фиксатора блокирующего устройства, а также ключи замков.

3.3. Детали замков и защелок, при эксплуатации подвергающиеся трению, следует смазать солидолом по ГОСТ 1033-79.

3.4. Ролик регулируемого фиксатора врезного замка или защелки должен выступать над поверхностно лицевой планки на высоту, равную половине его диаметра.

4. ПРОВЕДЕНИЕ ИСПЫТАНИЙ

4.1. Испытания замков и защелок на безотказность

4.1.1. Испытываемые сборочные единицы замков и защелок должны безотказно выдерживать число циклов работы, указанное в таблице.

Тип замка или защелки

Сборочная единица

Содержание цикла работы

Величина наработки, циклы, не менее

ЗВ1,

ЗВУ

Засов, цилиндровый механизм, ключ (постоянный ключ)

Ввод ключа в цилиндровый механизм; полный ввод засова в корпус вращением ключа (постоянного ключа); полный вывод засова вращением ключа (постоянного ключа); вывод ключа

40000

 

 

В том числе при приложении нагрузки к боковой поверхности засова

1500

ЗВ2

Засов-защелка, цилиндровый механизм, ключ (постоянный ключ),
блокирующее устройство

Ввод ключа в цилиндровый механизм; полный ввод засова-защелки в корпус вращением ключа (постоянного ключа); вывод головки блокирующего устройства, защелкивающей части засова-защелки вращением ключа (постоянного ключа), а затем под действием их механизмов возврата; вывод ключа; ввод головки блокирующего устройства и защелкивающей части засова-защелки устройством, имитирующим работу запорной планки; вывод засова-защелки под действием механизма возврата

40000

ЗВ4

Засов, цилиндровый механизм, ключ (постоянный ключ)

Ввод ключа в цилиндровый механизм; полный ввод засова в корпус вращением ключа (постоянного ключа); полный вывод засова вращением ключа (постоянного ключа); вывод ключа.

40000

 

 

В том числе при приложении нагрузки к боковой поверхности засова

1500

 

Защелка, ручки фалевые

Ввод защелки в корпус поворотом ручки; вывод защелки и возврат ручки под действием их механизмов возврата; ввод защелки устройством, имитирующим работу запорной планки; вывод защелки под действием механизма возврата

200000

ЗВ5

Засов, цилиндровый механизм, ключ (постоянный ключ)

Ввод ключа в цилиндровый механизм; полный ввод засова в корпус вращением ключа (постоянного ключа); полный вывод засова вращением ключа (постоянного ключа); вывод ключа.

40000

 

 

В том числе при приложении нагрузки к боковой поверхности засова

1500

 

Фиксатор

Ввод фиксатора в корпус устройством, имитирующим работу запорной планки; вывод фиксатора под действием механизма возврата

200000

ЗВ6

Засов, цилиндровый механизм, ключ (постоянный ключ), блокирующее устройство, защелка

Ввод ключа в цилиндровый механизм; полный ввод засова и защелки в корпус вращением ключа (постоянного ключа); вывод головки блокирующего устройства под действием механизма возврата; вывод защелки вращением ключа (постоянного ключа), а затем под действием ее механизма возврата; вывод ключа; ввод головки блокирующего устройства устройством, имитирующим работу запорной планки; вывод засова под действием механизма возврата

40000

 

Защелка, ручки фалевые

Ввод защелки в корпус поворотом ручки; вывод защелки и возврат ручки под действием их механизмов возврата; ввод защелки устройством, имитирующим работу запорной планки; вывод защелки под действием механизма возврата

200000

ЗВ6

Засов-защелка, цилиндровый механизм, ключ (постоянный ключ), блокирующее устройство, защелка

Ввод ключа в цилиндровый механизм; полный ввод засова-защелки и защелки в корпус вращением ключа (постоянного ключа); вывод головки блокирующего устройства, защелкивающей части засова-защелки и защелки вращением ключа (постоянного ключа), а затем под действием их механизмов возврата; вывод ключа; ввод головки блокирующего устройства и защелкивающей части засова-защелки устройством, имитирующим работу запорной планки; вывод засова-защелки под действием их механизмов возврата

40000

 

Защелка, ручки фалевые

Ввод защелки в корпус поворотом ручки; вывод защелки и возврат ручки под действием их механизмов возврата; ввод защелки устройством, имитирующим работу запорной планки; вывод защелки под действием механизма возврата

200000

ЗВ7

Засов, цилиндровый механизм, ключ (постоянный ключ), защелка

Ввод ключа в цилиндровый механизм; полный ввод засова и защелки в корпус вращением ключа (постоянного ключа); вывод защелки вращением ключа (постоянного ключа), а затем под действием ее механизма возврата; полный вывод засова вращением ключа (постоянного ключа); вывод ключа.

40000

 

 

В том числе при приложении нагрузки к боковой поверхности засова

1500

 

Защелка, ручки фалевые

Ввод защелки в корпус поворотом ручки; вывод защелки и возврат ручки под действием их механизмов возврата; ввод защелки устройством, имитирующим работу запорной планки; вывод защелки под действием механизма возврата

200000

ЗН1

Засов, цилиндровый механизм, ключ (постоянный ключ)

Ввод ключа в цилиндровый механизм; полный ввод засова в корпус вращением ключа (постоянного ключа); полный вывод засова вращением ключа (постоянного ключа); вывод ключа

40000

 

 

В том числе при приложении нагрузки к боковой поверхности засова

1500

ЗН2

Засов-защелка, цилиндровый механизм, ключ (постоянный ключ), блокирующее устройство

Ввод ключа в цилиндровый механизм; полный ввод засова-защелки в корпус вращением ключа (постоянного ключа); вывод головки блокирующего устройства и защелкивающей части засова-защелки вращением ключа (постоянного ключа), а затем под действием их механизмов возврата; вывод ключа; ввод головки блокирующего устройства и защелкивающей части засова-защелки устройством, имитирующим работу запорной планки; вывод засова-защелки под действием механизма возврата

48000

ЗН2

Засов-защелка, цилиндровый механизм, ключ (постоянный ключ)

Ввод ключа в цилиндровый механизм; полный ввод засова-защелки в корпус вращением ключа (постоянного ключа); вывод защелкивающейся части засова-защелки вращением ключа (постоянного ключа), а затем под действием ее механизма возврата; ввод защелкивающей части засова-защелки устройством, имитирующим работу запорной планки; вывод защелкивающейся части засова-защелки под действием механизма возврата, полный вывод засова-защелки вращением ключа (постоянного ключа); вывод ключа

40000

ЗНЗ

Засов, цилиндровый механизм, ключ (постоянный ключ), защелка

Ввод ключа в цилиндровый механизм; полный ввод засова и защелки в корпус вращением ключа (постоянного ключа); вывод защелки вращением ключа (постоянного ключа), а затем под действием ее механизма возврата; полный вывод засова вращением ключа (постоянного ключа); вывод ключа.

40000

 

 

В том числе при приложении нагрузки к боковой поверхности засова

1500

 

Защелка

Ввод защелки в корпус устройством, имитирующим работу запорной планки; вывод защелки под действием механизма возврата

200000

ЗЩ1Д, ЗЩ2,

3Щ3

Защелка, ручки фалевые (ручки-кнопки)

Ввод защелки в корпус поворотом ручки; вывод защелки и возврат ручки под действием их механизмов возврата; ввод защелки устройством, имитирующим работу запорной планки; вывод защелки под действием механизма возврата

150000

ЗЩ4,

ЗЩ5

Фиксатор

Ввод фиксатора в корпус устройством, имитирующим работу запорной планки; вывод фиксатора под действием механизма возврата

200000

Примечания:

1. Сборочные единицы замка должны выдержать указанные величины наработки (в том числе при приложении нагрузки к боковой поверхности засова) от вращения ключа с каждой стороны цилиндрового механизма, а для цилиндрового механизма с постоянным ключом - от вращения ключа и постоянного. ключа.

2. Допускается раздельное проведение испытаний сборочных единиц по операциям, являющимся частью цикла работы.

Измененная редакция (Изм. №1).

4.1.2. При проведении испытаний допускается замена ключа, взятого из комплекта испытываемого замка.

4.1.3. Сборочные единицы необходимо подвергать визуальному осмотру через каждые 30-35 % количества циклов, указанных в табл.1, и, в случае необходимости, смазке.

4.2. Испытания замков и защелок на прочность

4.2.1. Замки и защелки испытывают на прочность силой Р1, Р6 и моментов сил М1, М2 и М3 к их сборочным единицам в соответствии со схемами, указанными на черт. 1-6.

Черт. 1

Черт. 2

Черт. 3

Черт. 4

Черт. 5

1 – запорная планка накладного замка

2 – запорная планка врезного замка

Черт. 5а

Измененная редакция (Изм. №1).

4.2.2. Сборочные единицы засова, защелкивающего засова и запорную планку испытывают приложением силы P = 4900 H (500 кгс) и Р6 = 785 Н (80 кгс) в течение не менее 1 мин. Испытание сборочных единиц силой Р1 = 2940 Н (300 кгс) допускается до 01.04.94.

Измененная редакция (Изм. №1).

4.2.3. Сборочные единицы защелки испытывают моментом силы М1 = 15 Н×м (1,5 кгс×м) к фалевой ручке или ручке-кнопке в течение 1 мин. При этом защелка должна быть полностью введена в корпус защелки.

4.2.4. Ключ испытывают приложением момента силы М2 = 2 Н×м (0,2 кгс×м) в течение 1 мин при полностью выведенном засове (засове-защелке).

4.2.5. Перед испытанием замков по п.4.2.2 засов или засов-защелка должен быть полностью выведен из корпуса замка вращением ключа.

Измененная редакция (Изм. №1).

4.2.6. Сборочные единицы предохранителя накладного замка испытывают приложением возрастающего по времени момента силы М3.

Перед началом испытаний засов или засов-защелку, а также защелку в выведенном положении из корпуса ставят на предохранитель.

Испытания прекращают при деформации или поломке ключа (постоянного ключа).

4.3. Определение эксплуатационных усилий замков и защелок

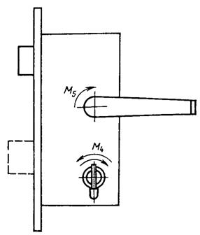
4.3.1. Эксплуатационные усилия замков и защелок определяют измерением сил Р2, Р3, P4 и моментов сил М4, M5, прикладываемых к их сборочным единицам в соответствии со схемами, указанными на черт. 7-12.

Черт. 7

Черт. 8

Черт. 9

Черт. 10

Черт. 11

Черт. 12

Измененная редакция (Изм. №1).

4.3.2. Измеренные максимальные эксплуатационные усилия нагрузок должны соответствовать указанным ниже.

Сила P2, прикладываемая к защелке или защелкивающей части

засова-защелки до полного ввода в корпус, Н (кгс)                                  3-20 (0,3-2)

Сила Р3, прикладываемая к регулируемому фиксатору для ввода

в корпус, Н (кгс)                                                                                            5-25 (0,5-2,5)

Сила Р4, прикладываемая к ключу для ввода в цилиндровый

механизм и вывода, Н (кгс), не более                                                         8 (0,8)

Момент силы М4, прикладываемый к ключу (постоянному ключу)

для вывода и ввода засова или засова-защелки в корпус, Н×м (кгс×м),

не более                                                                                                          0,6 (0,06)

Момент силы M5, прикладываемый к ключу (постоянному ключу)

для ввода защелки в корпус указанного ключа, Н×м (кгс×м), не более   0,9 (0,09)

Момент силы М5 прикладываемый к фалевым ручкам для ввода

засова (защелки) в корпус, Н×м (кгс×м)                                                       0,6-2,0 (0,06-0,20)

Момент силы М5 прикладываемый к ручке-кнопке для ввода

засова-защелки (защелки) в корпус, Н×м (кгс×м)                                       0,3-1,5 (0,03-0,15)

Измененная редакция (Изм. №1).

4.4. После проведения испытаний и определения эксплуатационных усилий все замки и защелки должны сохранить работоспособность.

Работоспособность проверяют вручную, пять раз выполняя циклы работы, указанные в таблице, за исключением приложения нагрузки к боковой поверхности засова и операции, выполняемой при помощи устройства, имитирующего работу запорной планки.

5. ОБРАБОТКА РЕЗУЛЬТАТОВ

5.1. Величину силы и момента сил по п.4.3.2 определяют как среднее арифметическое значение результатов пяти измерений.

5.2. Результаты испытаний должны быть оформлены протоколом.

Образец протокола приведен в рекомендуемом приложении.

ПРИЛОЖЕНИЕ
Рекомендуемое

УТВЕРЖДАЮ

Гл. инженер __________________________

_____________________________________

(наименование предприятия-изготовителя)

______________________________________

(подпись)

«____»_______________________19____ г.

ПРОТОКОЛ ИСПЫТАНИЙ

_______________               ___________________________________________________

(вид испытаний)                                   (наименование и условное обозначение типа замка или защелки)

1.     Наименование предприятия-изготовителя, министерства или ведомства ________

___________________________________________________________________________

2. Дата отбора замков или защелок___________________________________________

3. Номер партии __________________________________________________________

4. Количество замков или защелок ___________________________________________

5. Аппаратура, используемая при испытании __________________________________

6. Материал сборочных единиц _____________________________________________

7. Результаты испытаний замков или защелок на безотказность __________________

___________________________________________________________________________

8. Результаты испытаний замков или защелок на прочность _____________________

___________________________________________________________________________

9. Результаты испытаний замков или защелок по определению эксплуатационных усилий ____________________________________________________________________

10. Выводы ______________________________________________________________

11. Дата испытаний _______________________________________________________

Испытания проводил ________________________

(подпись)

Начальник лаборатории ______________________

(подпись)

«_____» ____________________19_____г.

 




ГОСТЫ, СТРОИТЕЛЬНЫЕ и ТЕХНИЧЕСКИЕ НОРМАТИВЫ.
Некоммерческая онлайн система, содержащая все Российские Госты, национальные Стандарты и нормативы.
В Системе содержится более 150000 файлов нормативно-технической документации, действующей на территории РФ.
Система предназначена для широкого круга инженерно-технических специалистов.

Рейтинг@Mail.ru Яндекс цитирования

Copyright © www.gostrf.com, 2008 - 2026