Крупнейшая бесплатная информационно-справочная система онлайн доступа к полному собранию технических нормативно-правовых актов РФ. Огромная база технических нормативов (более 150 тысяч документов) и полное собрание национальных стандартов, аутентичное официальной базе Госстандарта. GOSTRF.com - это более 1 Терабайта бесплатной технической информации для всех пользователей интернета. Все электронные копии представленных здесь документов могут распространяться без каких-либо ограничений. Поощряется распространение информации с этого сайта на любых других ресурсах. Каждый человек имеет право на неограниченный доступ к этим документам! Каждый человек имеет право на знание требований, изложенных в данных нормативно-правовых актах!

  


 

ГОСУДАРСТВЕННЫЙ СТАНДАРТ СОЮЗА ССР

 

ВЯЖУЩИЕ ГИПСОВЫЕ

МЕТОДЫ ИСПЫТАНИЙ

ГОСТ 23789-79

(СТ СЭВ 826-77 в части методов испытаний)

 

 

ГОСУДАРСТВЕННЫЙ СТРОИТЕЛЬНЫЙ КОМИТЕТ СССР

Москва

 

ГОСУДАРСТВЕННЫЙ СТАНДАРТ СОЮЗА ССР

ВЯЖУЩИЕ ГИПСОВЫЕ

Методы испытаний

Gypsum binders. Test methods

ГОСТ
23789-79

(СТ СЭВ 826-77 в части методов испытаний)

Постановлением Государственного комитета СССР по делам строительства от 19 июля 1979 г. № 123 срок введения установлен

с 01.07.80

Несоблюдение стандарта преследуется по закону

Настоящий стандарт распространяется на гипсовые вяжущие, получаемые путем термической обработки гипсового сырья до полугидрата сульфата кальция и устанавливает методы их испытаний.

Настоящий стандарт соответствует стандарту СТ СЭВ 826-77 в части, указанной в справочном приложении.

1. ОБЩИЕ УКАЗАНИЯ

1.1. Помещение, в котором проводят испытания, а также испытываемые материалы, образцы и приборы должны иметь температуру (293 ± 3) К (20 ± 3) °С. Относительная влажность в помещении должна быть (65 ± 10) %.

1.2. Температуру и влажность помещения ежедневно отмечают в рабочем журнале. Подсчет результатов анализа производят с точностью до 0,15 %.

2. ОТБОР И ПОДГОТОВКА ПРОБ

2.1. Сущность метода отбора заключается в подготовке усредненной пробы для испытаний.

2.2. От каждой партии вяжущего, подлежащего испытанию, отбирают пробу массой от 10 до 15 кг. На предприятии-изготовителе при текущем контроле отдельные пробы следует отбирать преимущественно из потока материала перед его упаковкой или отгрузкой навалом. При поставке вяжущего без упаковки пробу отбирают непосредственно из транспортных средств равными частями в четырех местах. При поставке вяжущего, упакованного в мешки, пробу отбирают из 10 мешков; пробу отбирают массой от 1,0 до 1,5 кг из середины каждого мешка.

2.3. Отобранную пробу тщательно перемешивают, затем квартованием из нее отбирают для испытаний конечную пробу массой от 5 до 7 кг, которую разделяют на две равные части и хранят в закрытых сосудах.

2.4. Одну из конечных проб используют для испытания, вторую хранят как арбитражную при температуре (293 ± 3) К (20 ± 3) °С.

2.5. Маркировка сосудов с пробами, а также протокол отбора проб должны включать: наименование предприятия-изготовителя или его товарный знак, условное обозначение вяжущего, номер партии, дату отгрузки, место и дату отбора пробы.

3. ОПРЕДЕЛЕНИЕ ТОНКОСТИ (СТЕПЕНИ) ПОМОЛА

3.1. Сущность метода заключается в определении массы гипсового вяжущего, оставшегося при просеивании на сите с ячейками размером в свету 0,2 мм.

3.2. Для определения тонкости помола применяют:

сушильный шкаф;

весы технические по ГОСТ 24104-80 с погрешностью взвешивания не более 0,05 г;

сито с ячейками размером в свету 0,2 мм по ГОСТ 3584-73;

термометр со шкалой до 373 К (100 °С);

установку для механического просеивания.

3.3. Пробу вяжущего массой 50 г, взвешенную с погрешностью не более 0,1 г и предварительно высушенную в сушильном шкафу в течение 1 ч при температуре (323 ± 5) К (50 ± 5) °С, высыпают на сито и производят просеивание вручную или на механической установке.

Просеивание считают законченным, если сквозь сито в течение 1 мин при ручном просеивании проходит не более 0,05 г вяжущего.

Тонкость помола отдельной пробы определяют в процентах с погрешностью не более 0,1 % как отношение массы, оставшейся на сите, к массе первоначальной пробы. За величину тонкости помола принимают среднее арифметическое результатов двух испытаний.

3.4. При арбитражных испытаниях за основу принимают ручное просеивание.

4. ОПРЕДЕЛЕНИЕ СРОКОВ СХВАТЫВАНИЯ ГИПСОВОГО ТЕСТА СТАНДАРТНОЙ КОНСИСТЕНЦИИ (НОРМАЛЬНОЙ ГУСТОТЫ)

4.1. Стандартная консистенция (нормальная густота) характеризуется диаметром расплыва гипсового теста, вытекающего из цилиндра при его поднятии. Диаметр расплыва должен быть равен (180 ± 5) мм. Количество воды является основным критерием определения свойств гипсового вяжущего: времени схватывания и предела прочности. Количество воды выражается в процентах как отношение массы воды, необходимой для получения гипсовой смеси стандартной консистенции, к массе гипсового вяжущего в граммах.

4.2. Для определения стандартной консистенции применяют: чашку из коррозионностойкого материала вместимостью более 500 см3;

ручную мешалку, имеющую более трех петель из проволоки диаметром 1 - 2 мм (черт. 1);

стекло диаметром более 240 мм;

на стекло наносят ряд концентрических окружностей диаметром 150 - 220 мм через каждые 10 мм, а окружности диаметром от 170 до 190 мм - через 5 мм;

окружности можно нанести на лист белой бумаги и поместить его между двумя листами стекла;

цилиндр из нержавеющего металла с полированной внутренней поверхностью (черт. 2);

линейку длиной 250 мм с ценой деления 1 мм;

весы по ГОСТ 24104-80 с погрешностью взвешивания не более 1 г;

секундомер;

питьевую воду по ГОСТ 2874-82.

Черт. 1

Черт. 2

4.3. В чистую чашку, предварительно протертую тканью, вливают воду, масса которой зависит от свойств гипсового вяжущего. Затем в воду в течение 2 - 5 с всыпают от 300 до 350 г гипсового вяжущего. Массу перемешивают ручной мешалкой в течение 30 с, начиная отсчет времени от начала всыпания гипсового вяжущего в воду. После окончания перемешивания цилиндр, установленный в центре стекла, заполняют гипсовым тестом, излишки которого срезают линейкой. Цилиндр и стекло предварительно протирают тканью. Через 45 с, считая от начала засыпания гипсового вяжущего в воду, или через 15 с после окончания перемешивания цилиндр очень быстро поднимают вертикально на высоту 15 - 20 см и отводят в сторону. Диаметр расплыва измеряют непосредственно после поднятия цилиндра линейкой в двух перпендикулярных направлениях с погрешностью не более 5 мм и вычисляют среднее арифметическое значение. Если диаметр расплыва теста не соответствует (180 ± 5) мм, испытание повторяют с измененной массой воды.

4.4. Для определения сроков схватывания используют гипсовое тесто стандартной консистенции. Сущность метода состоит в определении времени от начала контакта гипсового вяжущего с водой до начала и конца схватывания теста.

4.5. Для определения сроков схватывания применяют:

секундомер;

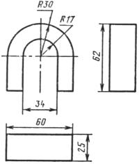
коническое кольцо из коррозионностойкого материала (черт. 3);

Коническое кольцо

Черт. 3

прибор Вика с массой подвижной части (300 ± 2) г. Размеры иглы приведены на черт. 4. Игла должна быть изготовлена из твердой нержавеющей стальной проволоки с полированной поверхностью и не должна иметь искривлений;

полированную пластинку из коррозионностойкого материала размером не менее 100´100 мм.

Игла к прибору Вика

Черт. 4

4.6. Перед началом испытания проверяют, свободно ли опускается стержень прибора Вика, а также нулевое положение подвижной части.

Кольцо, предварительно протертое и смазанное минеральным маслом и установленное на полированную пластинку, заполняют тестом. Для удаления попавшего в тесто воздуха кольцо с пластинкой 4 - 5 раз встряхивают путем поднятия и опускания одной из сторон пластинки примерно на 10 мм. После этого излишки теста срезают линейкой и заполненную форму на пластинке устанавливают на основании прибора Вика.

Подвижную часть прибора с иглой устанавливают в такое положение, при котором конец иглы касается поверхности гипсового теста, а затем иглу свободно опускают в кольцо с тестом. Погружение производят один раз каждые 30 с, начиная с целого числа минут. После каждого погружения иглу тщательно вытирают, а пластинку вместе с кольцом передвигают так, чтобы игла при новом погружении попадала в другое место поверхности теста.

Начало схватывания определяют числом минут, истекших от момента добавления вяжущего к воде до момента, когда свободно опущенная игла после погружения в тесто первый раз не доходит до поверхности пластинки, а конец схватывания - когда свободно опущенная игла погружается на глубину не более 1 мм. Время начала и конца схватывания выражают числом минут.

5. ОПРЕДЕЛЕНИЕ ПРЕДЕЛА ПРОЧНОСТИ НА СЖАТИЕ

5.1. Сущность метода заключается в определении минимальных нагрузок, разрушающих образец.

5.2. Для проведения испытания применяют:

чашку, изготовленную из коррозионностойкого материала;

линейку длиной 250 мм;

ручную мешалку (черт. 1);

мерный цилиндр вместимостью 1 л по ГОСТ 1770-74;

весы по ГОСТ 24104-80 с погрешностью взвешивания не более 1 г;

форму из коррозионностойкого материала для изготовления образцов-балочек размерами 40´40´160 мм (черт. 5). Продольная и поперечные стенки форм должны быть отшлифованы вверху и снизу и плотно лежать на основании. Угол между сторонами и дном формы должен составлять (90 ± 0,5)°. Габариты форм следует проверять не реже одного раза в шесть месяцев. Если габариты форм отклоняются от номинальных размеров более чем на 0,5 мм по длине и на 0,2 мм по ширине и высоте, то формы нужно заменить;

Форма

Черт. 5

разрешается применять формы для образцов-балочек по ГОСТ 310.4-81;

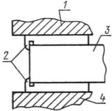
прибор для определения прочности на сжатие, состоящий из двух металлических нажимных пластин (черт. 6) твердостью по Роквеллу не менее 61 НRCэ; искривление пластин не должно превышать 0,05 мм;

Пластина

Черт. 6

пресс для определения предела прочности образцов при сжатии с предельной нагрузкой до 10 - 20 тс.

5.3. Определение прочности образцов, изготовленных из гипсового теста стандартной консистенции, производят через 2 ч после контакта гипсового вяжущего с водой.

5.4. Для изготовления образцов берут пробу гипсового вяжущего массой от 1,0 до 1,6 кг. Гипсовое вяжущее в течение 5 - 20 с засыпают в чашку с водой, взятой в количестве, необходимом для получения теста стандартной консистенции. После засыпания вяжущего смесь интенсивно перемешивают ручной мешалкой в течение 60 с до получения однородного теста, которым заливают форму. Предварительно внутреннюю поверхность металлических форм слегка смазывают минеральным маслом средней вязкости. Отсеки формы наполняют одновременно, для чего чашку с гипсовым тестом равномерно продвигают над формой. Для удаления вовлеченного воздуха после заливки форму встряхивают 5 раз, для чего ее поднимают за торцевую сторону на высоту от 8 до 10 мм и опускают. После наступления начала схватывания излишки гипсового теста снимают линейкой, передвигая ее по верхним граням формы перпендикулярно к поверхности образцов. Через (15 ± 5) мин после конца схватывания образцы извлекают из формы, маркируют и хранят в помещении для испытаний.

5.5. Полученные после испытания на изгиб шесть половинок балочек сразу же подвергают испытанию на сжатие. Образцы помещают между двумя пластинами таким образом, чтобы боковые грани, которые при изготовлении прилегали к продольным стенкам форм, находились на плоскостях пластин, а упоры пластин плотно прилегали к торцевой гладкой стенке образца (черт. 7). Образец вместе с пластинами подвергают сжатию на прессе. Время от начала равномерного нагружения образца до его разрушения должно составлять от 5 до 30 с, средняя скорость нарастания нагрузки при испытании должна быть (10 ± 5) кг/см2 в секунду.

Черт. 7

Предел прочности на сжатие одного образца определяют как частное от деления величины разрушающей нагрузки на рабочую площадь пластины, равную 25 см2. Предел прочности на сжатие вычисляют как среднее арифметическое результатов шести испытаний без наибольшего и наименьшего результатов.

6. ОПРЕДЕЛЕНИЕ ПРЕДЕЛА ПРОЧНОСТИ НА РАСТЯЖЕНИЕ ПРИ ИЗГИБЕ

6.1. Сущность метода заключается в определении минимальных нагрузок, разрушающих образец.

6.2. Для проведения испытаний образец устанавливают на опоры прибора для испытания на изгиб по ГОСТ 310.4-81 таким образом, чтобы те грани его, которые были горизонтальными при изготовлении, находились в вертикальном положении. Схема расположения образца на опорных валиках приведена на черт. 8.

Черт. 8

Расчет предела прочности  производят по формуле

МПа (» 0,234F кгс/см2),

где F - разрушающая нагрузка в МПа или кгс/см2.

Предел прочности при изгибе вычисляют как среднее арифметическое результатов трех испытаний.

7. ОПРЕДЕЛЕНИЕ СОДЕРЖАНИЯ ГИДРАТНОЙ ВОДЫ

Массу навески гипса около 1 г помещают в прокаленный взвешенный фарфоровый тигель и нагревают в муфельной печи до 673 К (400 °С) в течение 2 ч. Прокаливание повторяют до получения постоянной массы. Тигель с навеской охлаждают в герметически закрытом эксикаторе и взвешивают. Содержание гидратной воды W в процентах вычисляют по формуле

где G1 - разность в массе тигля с навеской до и после прокаливания, в г;

G - масса навески гипса, г.

8. ОПРЕДЕЛЕНИЕ ОБЪЕМНОГО РАСШИРЕНИЯ

8.1. Аппаратура

Прибор ГОИ (Государственного оптического института) (черт. 9) состоит из штатива, на котором укреплен индикатор, и разъемного металлического цилиндра, скрепляемого при сборке кольцами. Внутренний диаметр цилиндра - 50 мм, наружный - 56 мм, высота - 100 мм.

1 - индикатор; 2 - стойка; 3 - кронштейн; 4 - рейка; 5 - зубчатое колесо; 6 - ось; 7 - винт; 8 - крышка; 9 - кольцо; 10 - цилиндр; 11 - стекло; 12 - основание.

Черт. 9

Дюралевая крышка диаметром 56 мм, толщиной 1 мм.

Стеклянная пластина.

8.2. Проведение испытания

Прибор устанавливают на жестком основании, исключающем возможность вибрации. Цилиндр прибора ставят на стеклянную пластину, заполняют гипсовым тестом нормальной густоты, закрывают крышкой и устанавливают на опорной плите.

Время затворения гипсового вяжущего водой и заполнения им цилиндра не должно превышать 2 мин.

Стержень индикатора поворотом винта приводят в соприкосновение с углублением в крышке цилиндра. Дополнительно производят еще один оборот винта для установки индикатора на нулевое значение и приступают к фиксации движения стрелки, вызываемого расширением гипсового раствора при его твердении.

Началом отсчета расширения следует считать момент появления положительных деформаций, концом определения - момент прекращения движения стрелки, наступающий примерно через 1 ч после заполнения цилиндра раствором.

Величина объемного расширения в процентах численно равна величине деформации в мм.

9. ОПРЕДЕЛЕНИЕ ВОДОПОГЛОЩЕНИЯ

9.1. Аппаратура

Сушильный шкаф.

Весы по ГОСТ 24104-80 с погрешностью взвешивания не более 0,01 г.

9.2. Проведение испытания

Водопоглощение гипса определяют на трех образцах (половинках-балочках), предварительно высушенных до постоянной массы при температуре 318 - 328 К (45 - 55 °С). Образцы взвешивают, помещают в горизонтальном положении в ванну и заливают до половины водой. Через 2 ч их заливают водой полностью и выдерживают еще 2 ч. После этого образцы извлекают из воды, обтирают влажной тканью и взвешивают. Водопоглощение гипса W в процентах определяют по формуле

где G - первоначальная масса образца;

G1 - масса образца после насыщения водой.

Величину водопоглощения определяют как среднее арифметическое результатов трех определений.

10. ОПРЕДЕЛЕНИЕ СОДЕРЖАНИЯ НЕРАСТВОРИМОГО ОСТАТКА

10.1. Реактивы и аппаратура

Кислота соляная по ГОСТ 3118-77 плотностью 1,9 г/см2 (200 мл разбавляют водой до 1 л).

Серебро азотнокислое по ГОСТ 1277-75 1 %-ный раствор.

Муфельная печь.

10.2. Проведение испытания

Навеску 1 г вяжущего, взвешенную с погрешностью не более 0,0002 г, помещают в стакан вместимостью 200 мл и обрабатывают 100 мл соляной кислоты. Содержимое стакана доводят до кипения при постоянном помешивании. После 5-минутного кипения жидкость фильтруют через неплотный беззольный фильтр. Осадок промывают горячей водой до исчезновения реакции на ион хлора (проба раствором азотнокислого серебра, подкисленного азотной кислотой).

Остаток вместе с фильтром переносят во взвешенный фарфоровый тигель, взвешивают, затем помещают в муфельную печь, озоляют и прокаливают до постоянной массы при температуре 1173 - 1273 К (900 - 1000 °С).

Содержание нерастворимого остатка Н.О. в процентах вычисляют по формуле

где G1 - разность в массе тигля с осадком и пустого тигля, г;

G - навеска вяжущего, г.

11. ОПРЕДЕЛЕНИЕ СОДЕРЖАНИЯ МЕТАЛЛОПРИМЕСЕЙ В ВЯЖУЩЕМ

11.1. Аппаратура

Подковообразный постоянный магнит из сплава марки ЮН 13 ДК24 по ГОСТ 17809-72 с магнитной индукцией не менее 120 мТ (черт. 10).

Черт. 10

Насадка из плексиглаза (черт. 11) для одевания на концы магнита.

Черт. 11

Доска с бортиками размером 1000 ´ 500 мм с покрытием из плексиглаза или стекла.

Весы по ГОСТ 23676-79 и ГОСТ 24104-80.

Шпатель для смешивания и разравнивания продукта.

Стекло часовое.

11.2. Проведение испытания

От общей пробы берут навеску массой 1 кг, которую высыпают на доску и разравнивают шпателем слоем толщиной не более 0,5 см.

Магнитом с одетой на него насадкой медленно в самой толще вяжущего проводят вдоль и поперек доски с гипсом.

Частицы металлопримесей с налипшим вяжущим периодически отбирают от магнита снятием насадки и высыпают на лист белой бумаги.

Выделение металлопримесей повторяют шесть раз. Перед каждым выделением испытуемое вяжущее смешивают и разравнивают тонким слоем.

От налипшего вяжущего металлопримеси отделяют движением магнита по обратной стороне бумаги, на которой находится выделенный материал. После сосредоточения металлопримесей в одном месте их переносят на часовое стекло.

Собранную на часовом стекле металлопримесь взвешивают на аналитических весах с погрешностью не более 0,0002 г.

Содержание примесей выражают в миллиграммах на 1 кг вяжущего.

12. ОПРЕДЕЛЕНИЕ УДЕЛЬНОЙ ПОВЕРХНОСТИ

12.1. Проведение испытания

Сущность метода основана на измерении сопротивления воздуха через слой вяжущего установленной толщины и площади поперечного сечения в соответствии с инструкцией, прилагаемой к прибору АДП-1 (ПСХ-2).

Для проведения расчетов берут величину плотности:

для гипсового сырья - 2,3 г/см3;

для строительного, формовочного гипса - 2,65 г/см3;

для технического гипса - 2,75 г/см3.

ПРИЛОЖЕНИЕ

Справочное

ИНФОРМАЦИОННЫЕ ДАННЫЕ О СООТВЕТСТВИИ ГОСТ 23789-79 СТ СЭВ 826-77

Пункт 1.1. ГОСТ 23789-79 соответствует пункту 3.1.2 СТ СЭВ 826-77.

Раздел 2 ГОСТ 23789-79 соответствует разделу 3.2 СТ СЭВ 826-77.

Раздел 3 ГОСТ 23789-79 соответствует разделу 3.3 СТ СЭВ 826-77.

Раздел 4 ГОСТ 23789-79 соответствует разделу 3.4 СТ СЭВ 826-77.

Раздел 5 ГОСТ 23789-79 соответствует разделу 3.5 СТ СЭВ 826-77.

Раздел 6 ГОСТ 23789-79 соответствует разделу 3.6 СТ СЭВ 826-77.

 

СОДЕРЖАНИЕ

1. Общие указания. 1

2. Отбор и подготовка проб. 1

3. Определение тонкости (степени) помола. 2

4. Определение сроков схватывания гипсового теста стандартной консистенции (нормальной густоты) 2

5. Определение предела прочности на сжатие. 5

6. Определение предела прочности на растяжение при изгибе. 7

7. Определение содержания гидратной воды.. 7

8. Определение объемного расширения. 7

9. Определение водопоглощения. 8

10. Определение содержания нерастворимого остатка. 9

11. Определение содержания металлопримесей в вяжущем.. 9

12. Определение удельной поверхности. 10

Приложение Информационные данные о соответствии ГОСТ 23789-79 ст сэв 826-77. 10

 

 




ГОСТЫ, СТРОИТЕЛЬНЫЕ и ТЕХНИЧЕСКИЕ НОРМАТИВЫ.
Некоммерческая онлайн система, содержащая все Российские Госты, национальные Стандарты и нормативы.
В Системе содержится более 150000 файлов нормативно-технической документации, действующей на территории РФ.
Система предназначена для широкого круга инженерно-технических специалистов.

Рейтинг@Mail.ru Яндекс цитирования

Copyright © www.gostrf.com, 2008 - 2026