Крупнейшая бесплатная информационно-справочная система онлайн доступа к полному собранию технических нормативно-правовых актов РФ. Огромная база технических нормативов (более 150 тысяч документов) и полное собрание национальных стандартов, аутентичное официальной базе Госстандарта. GOSTRF.com - это более 1 Терабайта бесплатной технической информации для всех пользователей интернета. Все электронные копии представленных здесь документов могут распространяться без каких-либо ограничений. Поощряется распространение информации с этого сайта на любых других ресурсах. Каждый человек имеет право на неограниченный доступ к этим документам! Каждый человек имеет право на знание требований, изложенных в данных нормативно-правовых актах!

  


 

ГОСУДАРСТВЕННЫЙ СТАНДАРТ СОЮЗА ССР

 

БЕТОНЫ
ОПРЕДЕЛЕНИЕ ПРОЧНОСТИ МЕХАНИЧЕСКИМИ
МЕТОДАМИ НЕРАЗРУШАЮЩЕГО КОНТРОЛЯ

ГОСТ 22690-88

 

ГОСУДАРСТВЕННЫЙ СТРОИТЕЛЬНЫЙ КОМИТЕТ СССР

Москва

 

 

ГОСУДАРСТВЕННЫЙ СТАНДАРТ СОЮЗА ССР

БЕТОНЫ

Определение прочности механическими
методами неразрушающего контроля

Concretes. Determination of strength by mechanical
methods of nondestructive testing

ГОСТ
22690-88

Дата введения 01.01.91

Настоящий стандарт распространяется на тяжелый и легкий бетоны и устанавливает методы определения прочности на сжатие в конструкциях по упругому отскоку, ударному импульсу, пластической деформации,отрыву, скалыванию ребра и отрыву со скалыванием.

1. ОБЩИЕ ПОЛОЖЕНИЯ

1.1. Прочность бетона определяют по предварительно установленным градуировочным зависимостям между прочностью бетонных образцов по ГОСТ 10180-90 и косвенным характеристикам прочности.

1.2. В зависимости от применяемого метода косвенными характеристиками прочности являются:

значение отскока бойка от поверхности бетона (или прижатого к ней ударника);

параметр ударного импульса (энергия удара);

размеры отпечатка на бетоне (диаметр, глубина и т. п.) или соотношение диаметров отпечатков на бетоне и стандартном образце при ударе индентора или вдавливании индентора в поверхность бетона;

значение напряжения, необходимого для местного разрушения бетона при отрыве приклеенного к нему металлического диска, равного усилию отрыва, деленному на площадь проекции поверхности отрыва бетона на плоскость диска;

значение усилия необходимого для скалывания участка бетона на ребре конструкции;

значение усилия местного разрушения бетона при вырыве из него анкерного устройства.

1.3. Механические методы неразрушающего контроля применяют для определения прочности бетона всех видов нормируемой прочности, контролируемых по ГОСТ 18105-86, а также для определения прочности бетона при обследовании и отбраковки конструкций.

Метод испытания следует выбирать с учетом предельных значений прочности, рекомендуемых руководствами к конкретным приборам неразрушающего контроля, в соответствии с требованиями разд. 3 настоящего стандарта.

(Поправка. ИУС 9-2009 г.)

1.4. Испытания проводят при положительной температуре бетона. Допускается при обследовании конструкций определять прочность при отрицательной температуре, но не ниже минус 10 °С при условии, что к моменту замораживания конструкция находилась не менее одной недели при положительной температуре и относительной влажности воздуха не более 75 %.

1.5. Оценку соответствия значений фактической прочности бетона, полученных с применением приведенных в настоящем стандарте методов, установленным требованиям производят по ГОСТ 18105-86.

2. АППАРАТУРА И ИНСТРУМЕНТ

2.1. Прочность бетона определяют при помощи приборов, предназначенных для определения косвенных характеристик, прошедших метрологическую аттестацию по ГОСТ 8.326-89 и отвечающих требованиям, приведенным в табл. 2.

Типы приборов и их технические характеристики приведены в приложении 1.

Таблица 2

Наименование характеристик приборов

Характеристика приборов для метода

упругого отскока

ударного импульса

пластической деформации

отрыва

скалывания ребра

отрыва со скалыванием

Твердость ударника, бойка или индентора HRCэ, не менее

51

51

51

-

-

-

Шероховатость контактной части ударника или индентора, мкм, не более

10

10

10

-

-

-

Диаметр ударника или индентора, мм, не менее

10

10

10

-

-

-

Толщина кромок дискового индентора, мм, не менее

-

-

10

-

-

-

Угол конического индентора

-

-

30-60°

-

-

-

Диаметр отпечатка, % от диаметра индентора

-

-

20-70

-

-

-

Допуск перпендикулярности при приложении нагрузки на высоте 100 мм, мм

4

4

4

4

-

4

Энергия удара, Дж, не менее

0,7

0,02

0,7

-

-

-

Скорость увеличения нагрузки, кН/с

-

-

£1,5*

0,5-1,5

0,5-1,5

1,5-3,0

Погрешность измерения нагрузки от измеряемой нагрузки, % не более

-

-

5*

5

5

5

_____________

* При вдавливании индентора в поверхность бетона.

2.2. Инструмент для измерения диаметра или глубины отпечатков (угловой масштаб по ГОСТ 427-75, штангенциркуль по ГОСТ 166-89 и др.), используемый для метода пластических деформаций, должен обеспечивать измерения с погрешностью не более ±0,1 мм, а инструмент для измерения глубины отпечатка (индикатор часового типа по ГОСТ 577-68 и др.) - с погрешностью не более ±0,01 мм.

2.3. Для метода отрыва со скалыванием следует применять анкерные устройства по приложению 2.

Допускается применять также другие анкерные устройства, глубина заделки которых должна быть не менее максимального размера крупного заполнителя бетона испытываемой конструкции.

2.4. Для метода скалывания ребра следует использовать приборы по приложению 3.

2.5. Для метода отрыва следует использовать стальные диски диаметром не менее 40 мм, толщиной не менее 6 мм и не менее 0,1 диаметра, с параметром шероховатости приклеиваемой поверхности не менее Ra 20 мкм по ГОСТ 2789-73. Клей для приклейки диска должен обеспечивать прочность, при которой разрушение происходит по бетону. Допускается использовать клеи, приведенные в приложении 4.

3. ПОДГОТОВКА К ИСПЫТАНИЯМ

3.1. Для определения прочности бетона в конструкциях предварительно устанавливают градуировочную зависимость между прочностью бетона и косвенной характеристикой прочности (в виде графика, таблицы или формулы).

Для метода отрыва со скалыванием, в случае применения анкерных устройств в соответствии с приложением 2, и для метода скалывания ребра, в случае применения приборов в соответствии с приложением 3, допускается использовать градуировочные зависимости, приведенные в приложениях 5 и 6 соответственно.

3.2. Для методов упругого отскока, ударного импульса, пластической деформации и отрыва градуировочные зависимости устанавливают конкретно для каждого вида прочности из указанных в п. 1.3; для методов отрыва со скалыванием и скола ребра допускается устанавливать единую градуировочную зависимость независимо от вида прочности.

3.3. Градуировочную зависимость устанавливают заново при изменении вида крупного заполнителя, технологии производства бетона, при введении добавок, а для методов отскока, ударного импульса и пластической деформации - также при изменении вида цемента, внесении количественных изменений в номинальный состав бетона, превышающих по расходу цемента ±20 %, крупного заполнителя ±10 %.

3.4. Для установления градуировочных зависимостей используют не менее 15 серий образцов-кубов по ГОСТ 10180-90 или не менее 30 отдельных образцов-кубов. При установлении градуировочной зависимости для метода отрыва со скалыванием в каждую серию дополнительно включают не менее 3 образцов-кубов.

Образцы изготавливают в соответствии с ГОСТ 10180-90 в разные смены в течение 5 сут из бетона одного состава, одной и той же технологии и при том же режиме тепловлажностной обработки или тех же условиях твердения, что и конструкции, подлежащие контролю. При изготовлении образцов 5 серий рекомендуется изготавливать из бетонной смеси, отличающиеся по составу от проектного по цементно-водному отношению в пределах плюс 0,4 и 5 серий в пределах минус 0,4.

3.5. Размеры образцов для установления градуировочной зависимости следует выбирать в соответствии с наибольшей крупностью заполнителя в бетонной смеси по ГОСТ 10180-90, но не менее:

100´100´100 мм - для методов отскока, ударного импульса, пластической деформации для испытания неразрушающими методами и по ГОСТ 10180-90 и отрыва со скалыванием для испытания - по ГОСТ 10180-90;

200´200´200 мм - для методов отрыва и скалывания ребра конструкции.

Размеры ребра дополнительных образцов-кубов, испытываемых методом отрыва со скалыванием, должны быть не меньше шести глубин установки анкерного устройства.

В случае применения на производстве способов и режимов уплотнения, приводящих к изменению структуры бетона, размер и способ изготовления образцов для установления градуировочных зависимостей должен указываться в стандартах или технических условиях на сборные конструкции, в рабочих чертежах на монолитные конструкции или же в методиках, утвержденных в установленном порядке.

3.6. Возраст образцов, используемых при установлении градуировочной зависимости, для метода отскока, ударного импульса и пластической деформации не должен отличаться от установленного срока испытаний конструкций:

более чем на 40 % - при контроле прочности бетона естественного твердения;

более чем в два раза - при контроле прочности бетона после тепловой обработки.

Температура бетона отдельных образцов при определении косвенной характеристики не должна отличаться от средней температуры образцов более чем на ±10 °С, а от температуры конструкции - более чем на ±10 °С.

При построении градуировочных зависимостей, предназначенных для контроля отпускной, передаточной и распалубочной прочности бетона, допускается устанавливать градуировочную зависимость по данным неразрушающих испытаний горячих образцов и испытания тех же образцов на сжатие по ГОСТ 10180-90 при нормальной температуре.

Относительная влажность образцов, используемых при установлении градуировочной зависимости, не должна отличаться от влажности испытываемой конструкции более чем на ±2 %.

3.7. Градуировочную зависимость для методов упругого отскока, ударного импульса, пластической деформации, отрыва и скалывания ребра устанавливают на основе результатов испытаний образцов-кубов сначала неразрушающим методом, а затем по ГОСТ 10180-90.

При установлении градуировочной зависимости для метода отрыва со скалыванием косвенную характеристику определяют на дополнительно изготавливаемых образцах-кубах, а по ГОСТ 10180-90 испытывают образцы основных серий.

3.8. Для определения косвенных характеристик испытания проводят на боковых поверхностях образцов (по направлению бетонирования).

Число измерений на каждом образце для методов отскока и пластической деформации при ударе должно быть не менее пяти, а расстояние между местами ударов не менее 30 мм. Для метода ударного импульса - не менее десяти, а расстояние между местами ударов - не менее 15 мм. Для метода пластической деформации при вдавливании количество испытаний на одной грани - не менее двух, а расстояние между местами испытаний - не менее двух диаметров отпечатков.

При установлении градуировочной зависимости методом скалывания проводят по одному испытанию на каждом боковом ребре.

При установлении градуировочной зависимости для метода отрыва со скалыванием проводят по одному испытанию на каждой боковой грани.

3.9 При испытании методом отскока, ударного импульса, пластической деформации при ударе образцы должны быть зажаты в прессе усилием (30 ± 5) кН.

3.10. За единичное значение прочности бетона принимают значение прочности бетона в серии по ГОСТ 10180-90 или прочность бетона одного образца (если градуировочную зависимость устанавливают по данным испытаний отдельных образцов).

Образцы, испытанные методом отрыва, устанавливают на прессе так, чтобы к опорным плитам пресса не прилегали поверхности, на которых проводили вырыв; результаты испытаний по ГОСТ 10180-90 увеличивают на 5 %.

3.11. За единичное значение косвенного показателя прочности при установлении градуировочной зависимости принимают среднее арифметическое значение этой величины в серии образцов (или образце), используемых для определения единичного значения прочности.

3.12. Градуировочная зависимость должна иметь среднее квадратическое (остаточное) отклонение Sт, не превышающее 12 % при использовании серии образцов, и 15 % при использовании отдельных образцов от среднего значения прочности .

Методика и пример установления градуировочных зависимостей приведены в приложении 7.

3.13. Градуировочную зависимость следует оформлять в соответствии с приложением 8.

3.14. При отсутствии возможности установления градуировочных зависимостей в соответствии с требованиями пп. 3.2 - 3.12 следует применять метод отрыва со скалыванием или метод скалывания ребра, используя градуировочные зависимости, приведенные в приложениях 5 и 6.

Для обследования конструкций допускается применять методы упругого отскока, ударного импульса или пластической деформации, используя градуировочную зависимость, установленную для бетона, отличающегося от испытываемого (по составу, возрасту, условиям твердения, влажности), с уточнением ее в соответствии с методикой, приведенной в приложении 9.

3.15. При проведении обследований допускается испытание методами упругого отскока, ударного импульса и пластических деформаций бетона в пробах, отобранных от конструкции в соответствии с приложением 10.

4. ПРОВЕДЕНИЕ ИСПЫТАНИЙ

4.1. Испытания проводят на участке конструкции площадью от 100 до 600 см2.

4.2. Прочность бетона в контролируемом участке конструкции определяют по градуировочной зависимости, установленной в соответствии с требованиями разд. 3, при условии, что измеренные значения косвенного показателя находятся в пределах между наименьшим и наибольшим значениями косвенного показателя в образцах, испытанных при построении градуировочной зависимости.

4.3. Число и расположение контролируемых участков при испытании конструкций должно соответствовать требованиям ГОСТ 18105-86 или указываться в стандартах и (или) технических условиях на сборные или в рабочих чертежах на монолитные конструкции и (или) в технологических картах на контроль.

При определении прочности обследуемых конструкций число и расположение участков должно приниматься по программе проведения обследования.

4.4. Число испытаний на одном участке, расстояние между местами испытаний на участке и от края конструкции, толщина конструкции на участке испытания должны быть не меньше значений, приведенных в табл. 3.

Таблица 3

мм

Наименование метода

Число испытаний на участке

Расстояние между местами испытаний, мм

Расстояние от края конструкции до места испытаний, мм

Толщина конструкции

Упругий отскок

5

30

50

100

Ударный импульс

10

15

50

50

Пластическая деформация

5

30

50

70

Скалывание ребра

2

200

-

170

Отрыв

1

2 диаметра диска

50

50

Отрыв со скалыванием

1

5 глубин вырыва

150

Удвоенная глубина установки анкера

4.5. Шероховатость поверхности участка бетона конструкции при испытании методами отскока, ударного импульса, пластической деформации должна соответствовать шероховатости поверхности кубов, испытанных при установлении градуировочной зависимости. В необходимых случаях допускается зачистка поверхности конструкции.

При испытании методом пластической деформации при вдавливании, если нулевой отсчет снимают после приложения начальной нагрузки, требования к шероховатости поверхности бетона конструкций не предъявляют.

4.6. Метод упругого отскока

4.6.1. При испытании методом упругого отскока расстояние от мест проведения испытания до арматуры должно быть не менее 50 мм.

4.6.2. Испытание проводят в следующей последовательности:

прибор располагают так, чтобы усилие прикладывалось перпендикулярно к испытываемой поверхности в соответствии с инструкцией по эксплуатации прибора;

положение прибора при испытании конструкции относительно горизонтали рекомендуется принимать таким же, как при испытании образцов для установления градуировочной зависимости; при другом положении необходимо вносить поправку на показания в соответствии с инструкцией по эксплуатации прибора;

фиксируют значение косвенной характеристики в соответствии с инструкцией по эксплуатации прибора;

вычисляют среднее значение косвенной характеристики на участке конструкции.

4.7. Метод пластической деформации.

4.7.1. При испытании методом пластической деформации расстояние от мест проведения испытаний до арматуры должно быть не менее 50 мм.

4.7.2. Испытание проводят в следующей последовательности:

прибор располагают так, чтобы усилие прикладывалось перпендикулярно к испытываемой поверхности в соответствии с инструкцией по эксплуатации прибора; при сферическом инденторе испытание допускается проводить для облегчения измерений диаметров отпечатков через листы копировальной и белой бумаги (в этом случае образцы для установления градуировочной зависимости испытывают с применением такой же бумаги);

фиксируют значения косвенной характеристики в соответствии с инструкцией по эксплуатации прибора;

вычисляют среднее значение косвенной характеристики на участке конструкции.

4.8. Метод ударного импульса

4.8.1. При испытании методом ударного импульса расстояние мест проведения испытания до арматуры должно быть не менее 50 мм.

4.8.2. Испытания проводят в следующей последовательности:

прибор располагают так, чтобы усилие прикладывалось перпендикулярно к испытываемой поверхности в соответствии с инструкцией по эксплуатации прибора;

положение прибора при испытании конструкции относительно горизонтали рекомендуется принимать таким же, как при испытании образцов для установления градуировочной зависимости; при другом положении необходимо вносить поправку на показания в соответствии с инструкцией по эксплуатации прибора;

фиксируют значение косвенной характеристики в соответствии с инструкцией по эксплуатации прибора;

вычисляют среднее значение косвенной характеристики на участке конструкции.

4.9. Метод отрыва

4.9.1. При испытании методом отрыва участки должны располагаться в зоне наименьших напряжений, вызываемых эксплуатационной нагрузкой или усилием обжатия предварительно напряженной арматуры.

4.9.2. Испытание проводят в следующей последовательности:

в месте приклейки диска снимают поверхностный слой бетона глубиной 0,5 - 1 мм и поверхность очищают от пыли;

диск приклеивают к бетону так, чтобы слой клея на поверхности бетона не выходил за пределы диска;

прибор соединяют с диском;

нагрузку плавно увеличивают со скоростью (1 ± 0,3) кН/с;

фиксируют показание силоизмерителя прибора;

измеряют площадь проекции поверхности отрыва на плоскости диска с погрешностью ±0,5 см2;

определяют значение условного напряжения в бетоне при отрыве.

Результаты испытаний не учитывают, если при отрыве бетона была обнаружена арматура или площадь проекции поверхности отрыва составила менее 80 % площади диска.

4.10. Метод отрыва со скалыванием

4.10.1. При испытании методом отрыва со скалыванием участки должны располагаться в зоне наименьших напряжений, вызываемых эксплуатационной нагрузкой или усилием обжатия предварительно напряженной арматуры.

4.10.2. Испытания проводят в следующей последовательности:

если анкерное устройство не было установлено до бетонирования, то в бетоне сверлят или пробивают шпур, размер которого выбирают в соответствии с инструкцией по эксплуатации прибора в зависимости от типа анкерного устройства;

в шпуре закрепляют анкерное устройство на глубину, предусмотренную инструкцией по эксплуатации прибора, в зависимости от типа анкерного устройства;

прибор соединяют с анкерным устройством;

нагрузку увеличивают со скоростью 1,5 - 3,0 кН/с;

фиксируют показание силоизмерителя прибора и глубину вырыва с точностью не менее 1 мм.

Если наибольший и наименьший размеры вырванной части бетона от анкерного устройства до границ разрушения по поверхности конструкции отличаются более чем в два раза, а также если глубина вырыва отличается от глубины заделки анкерных устройств более чем на 5 %, то результаты испытаний допускается учитывать только для ориентировочной оценки прочности бетона.

4.11. Метод скалывания ребра

4.11.1. При испытании методом скалывания ребра на участке испытания не должно быть трещин, околов бетона, наплывов или раковин высотой (глубиной) более 5 мм. Участки должны располагаться в зоне наименьших напряжений, вызываемых эксплуатационной нагрузкой или усилием обжатия предварительно напряженной арматуры.

4.11.2. Испытание проводят в следующей последовательности:

прибор закрепляют на конструкции, прикладывают нагрузку со скоростью не более (1 ± 0,3) кН/с;

фиксируют показание силоизмерителя прибора;

измеряют фактическую глубину скалывания;

определяют среднее значение усилия скалывания.

Результаты испытания не учитывают, если при скалывании бетона была обнажена арматура и фактическая глубина скалывания отличалась от заданной (см. приложение 3) более чем на 2 мм.

5. ОФОРМЛЕНИЕ РЕЗУЛЬТАТОВ

Результаты испытаний прочности бетона заносят в журнал, в котором должно быть указано:

наименование конструкции, номер партии;

вид контролируемой прочности и ее требуемое значение;

вид бетона;

наименование неразрушающего метода, тип прибора и его заводской номер;

среднее значение косвенной характеристики прочности и соответствующее значение прочности бетона;

сведения об использовании поправочных коэффициентов;

результаты оценки прочности бетона;

фамилия и подпись лица, проводившего испытание, дата испытания.

 

ПРИЛОЖЕНИЕ 1

Справочное

ТИПЫ ПРИБОРОВ

Характеристики приборов для метода отскока

Таблица 4

Тип

Энергия удара, Дж

Размеры, мм

Масса,
кг

Особенности
использования

Диаметр

Длина

КМ*

2,2

54

390
455 (с ручкой)

1,75

Имеется сменный индентор для испытания методом пластической деформации

__________

* Чертежи распространяются КТБ НИИЖБ.

Характеристики приборов для метода ударного импульса
и пластической деформации

Таблица 5

Тип

Энергия удара,
Дж

Размеры, мм

Масса,
кг

Диаметр

Длина

ВСМ*

0,1

25

200

0,5

ПМ-2**

-

40

100

1,0

Ц-22 Киеворгстроя***

0,8-8,0

54

320

1,0

А-1*4

2,0-4,0

33

270

0,9

Молоток Кашкарова*5

Произвольная

-

300

0,9

___________

* Изготовляется в БВ НИИС Госстроя ЭССР. Чертежи распространяются этой же организацией.

** Чертежи распространяются заводом «Коммунальник».

*** Изготавливается «Киеворгстроем». Чертежи распространяются этой же организацией.

*4 Изготавливается Хмельницким филиалом «Гипрогражданпроекта». Чертежи распространяются этой же организацией.

*5 Изготавливается различными предприятиями. Чертежи распространяются КТБ НИИЖБ.

Характеристики приборов для метода
пластической деформации при вдавливании

Таблица 6

Тип

Вид индентора

Усилие вдавливания, кН

Масса, кг

Диаметр индентора, мм

ПБ*

Шариковый

1-5

5,0

10

___________

* Разработан ЦНИЛ Мособлстроя и ВНИИФТРИ, выпускается Чимкентским прибороремонтным заводом ВПО «Эталон».

Характеристики приборов для методов отрыва, скалывания ребра,
отрыва со скалыванием

Таблица 7

Наименование
прибора

Тип анкерного устройства

Усилие вырыва, кН

Масса, кг

ГПНВ-5*

I, II

50

8,0

ГПНС-4*

III

40

5,0

ГПНС-5*

I, II

50

5,0

ПИБ**

I, II

45

4,0

УРС-2**

-

-

6,3

___________

* Разработан Донецким ПромстройНИИПроектом. Рабочие чертежи распространяются этой же организацией.

**Разработан НИИСК, выпускается мелкими сериями. Рабочие чертежи распространяются этой же организацией.

ПРИЛОЖЕНИЕ 2

Рекомендуемое

ТИПЫ АНКЕРНЫХ УСТРОЙСТВ

1 - рабочий стержень; 2 - рабочий стержень с разжимным конусом; 3 - рабочий стержень с полным разжимным конусом; 4 - опорный стержень; 5 - сегментные рифленые щеки

Черт. 1

Анкерное устройство типа I устанавливают на конструкции при бетонировании; анкерные устройства типов II и III устанавливают в предварительно подготовленные шпуры на конструкции на глубину заделки, приведенную в табл. 8.

Таблица 8

Тип анкерного устройства

Глубина заделки анкерных устройств, мм

рабочая h

полная h/

I

35; 48

37; 50

II

30; 48

37; 55

III

35

42

 

ПРИЛОЖЕНИЕ 3

Рекомендуемое

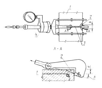
ПРИБОР ДЛЯ ИСПЫТАНИЯ МЕТОДОМ СКАЛЫВАНИЯ РЕБРА

1. Для проведения испытаний применяют прибор, состоящий из устройства УРС, приведенного на черт. 2, и силовозбудителя с силоизмерителем.

2. Устройство УРС должно иметь следующие параметры:

глубину скалывания а, равную (20 + 2) мм;

ширину скалывания b, равную (30 + 0,5) мм;

угол между направлением действия нагрузки и нормалью к нагружаемой поверхности конструкции b, равный (18 + 1)°.

3. В качестве силовозбудителя и силоизмерителя рекомендуется использовать прибор ГПНС-4.

Прибор для испытания методом скалывания ребра

1 - испытуемая конструкция; 2 - скалываемый бетон;
3 - устройство УРС; 4 - прибор ГПНС-4

Черт. 2

ПРИЛОЖЕНИЕ 4

Справочное

КЛЕЙ ДЛЯ ПРИКЛЕЙКИ ДИСКОВ

Для приклеивания дисков рекомендуются клеи на основе эпоксидных смол.

1. Состав клея на эпоксидной смоле ЭД20:

смола ЭД20 (ГОСТ 10587-84) - 100 вес. частей;

полиэтиленполиамин - отвердитель (ТУ 09-5396-88) - 20 вес. частей;

цемент-наполнитель (ГОСТ 10178-85) - 40 вес. частей.

Смолу и отвердитель перемешивают шпателем в течении 3 мин. Затем добавляют наполнитель и снова перемешивают до получения однородного состава. Клей необходимо использовать в течение 30 мин.

2. Состав клея на эпоксидной смоле ЭД16:

смола ЭД16 (ГОСТ 10587-84) - 100 вес. частей;

полиэтиленполиамин - отвердитель (ТУ 09-5396-88) - 20 вес. частей;

цемент - наполнитель (ГОСТ 10178-85) - 40 вес. частей;

дибутилфталат - пластификатор (ГОСТ 8728-88) - 20 вес. частей.

Клей приготовляют следующим образом. Сначала смолу пластифицируют. Для этого ее нагревают на водяной бане при температуре 80 °С, добавляют дибутилфталат и тщательно перемешивают. Смола становится пластичной и в таком виде может храниться длительное время.

Для приготовления клея пластифицированную смолу перемешивают 3 мин с отвердителем, а затем добавляют наполнитель и снова перемешивают до получения однородной массы. Клей используют в течение 30 мин.

ПРИЛОЖЕНИЕ 5

Рекомендуемое

ГРАДУИРОВОЧНАЯ ЗАВИСИМОСТЬ ДЛЯ МЕТОДА ОТРЫВА СО СКАЛЫВАНИЕМ

При использовании анкерных устройств, приведенных в приложении 2, прочность бетона R, МПа можно вычислять по градуировочной зависимости по формуле

                                                           (1)

где m1 - коэффициент, учитывающий максимальный размер крупного заполнителя в зоне вырыва и принимаемый равным 1 при крупности менее 50 мм и 1,1 при крупности 50 мм и более;

m2 - коэффициент пропорциональности для перехода от усилия вырыва, кН, к прочности бетона, МПа;

Р - усилие вырыва анкерного устройства, кН.

При испытании тяжелого бетона прочностью 10 МПа и более и керамзитобетона прочностью от 5 до 40 МПа значения коэффициента пропорциональности m2 принимают по табл. 9.

Таблица 9

Условие твердения бетона

Тип анкерного устройства

Предполагаемая прочность бетона, МПа

Глубина заделки анкерного устройства, мм

Значение коэффициента m2 для бетона

тяжелого

легкого

Естественное

I

£ 50

48

1,1

1,2

> 50

35

2,4

-

II

£ 50

48

0,9

1,0

> 50

30

2,5

-

III

£ 50

35

1,5

-

Тепловая обработка

I

£ 50

48

1,3

1,2

> 50

35

2,6

-

II

£ 50

48

1,1

1,0

> 50

30

2,7

-

III

£ 50

35

1,8

-

ПРИЛОЖЕНИЕ 6

Рекомендуемое

ГРАДУИРОВОЧНАЯ ЗАВИСИМОСТЬ ДЛЯ МЕТОДА СКАЛЫВАНИЯ РЕБРА

При параметрах нагружения, приведенных в приложении 3, прочность бетона на гранитном и известковом щебне R, МПа может вычисляться по градуировочной зависимости по формуле

                                         (2)

где m - коэффициент, учитывающий максимальный размер крупного заполнителя и принимаемый равным 1 при крупности заполнителя менее 20 мм; 1,05 крупности заполнителя от 20 до 30 мм и 1,1 при крупности заполнителя от 30 до 40 мм;

Р - усилие скалывания, кН.

ПРИЛОЖЕНИЕ 7

Справочное

МЕТОДИКА УСТАНОВЛЕНИЯ ГРАДУИРОВОЧНЫХ ЗАВИСИМОСТЕЙ
И ОЦЕНКА ИХ ПОГРЕШНОСТИ

1. Уравнение зависимости «косвенная характеристика - прочность» принимают линейным по формуле

                                                          (3)

где RH - прочность бетона, МПа;

Н - косвенная характеристика.

Коэффициенты а0 и а1 рассчитывают по формулам

                                                           (4)

.                          (5)

Средние значения прочности , определенные путем испытания образов по ГОСТ 10180-90, и косвенных характеристик , необходимых для определения этих коэффициентов, рассчитывают по формулам:

 

                                                   (6)

                                                     (7)

где  и  - соответственно значения прочности и косвенной характеристики для отдельных серий по ГОСТ 10180-90;

N - число серий (или отдельных образцов), использовавшихся для построения градуировочной зависимости.

2. После построения градуировочной зависимости по формуле (3) производят ее корректировку путем отбраковки единичных результатов испытаний, не удовлетворяющих условию

                                                            (8)

где ST - остаточное среднее квадратическое отклонение, определенное по формуле

                                               (9)

где R- прочность бетона в i-й серии образцов, определенная по градуировочной зависимости по формуле

                                              (10)

После отбраковки градуировочную зависимость устанавливают заново по формулам (3-5) по оставшимся результатам испытания.

Погрешность определения прочности бетона по установленной зависимости оценивают по формуле (9).

Если  или ³ 15 % (см. п. 3.12),                (11)

то проведение контроля и оценка прочности по полученной зависимости не допускаются.

3. Проверку градуировочной зависимости проводят не реже одного раза в 2 мес.

Для этого изготовляют не менее 6 серий образцов в соответствии с разд. 3 настоящего стандарта.

Для каждой серии образцов определяют единичные значения косвенной характеристики Нi и прочности бетона по данным испытания на прессе  (по ГОСТ 10180-90).

В соответствии с установленной градуировочной зависимостью по полученным косвенным характеристикам определяют прочность бетона. Вычисляют среднее значение косвенных характеристик по формуле

                                                     (12)

где n - число серий, испытанных для проверки градуировочной зависимости.

Затем разделяют испытанные серии образцов на две группы.

К первой группе относят серии образцов, единичные значения косвенной характеристики которых не превышают их среднее значение :

                                                          (13)

Ко второй группе относятся все остальные серии, т.е. те, у которых

                                                          (14)

Градуировочная зависимость допускается к дальнейшему применению при одновременном выполнении следующих условий:

1) Разность  -  не имеет одинакового знака в пяти из шести испытанных серий образцов.

2) Среднее квадратическое отклонение  прочности бетона в испытанных сериях, определенное по формуле

                                                (15)

не должно превышать более чем в полтора раза среднее квадратическое отклонение используемой градуировочной зависимости

                                          (16)

3) Значение разности ( - ) не должно иметь одинакового знака для серий образцов первой и второй групп.

При невыполнении хотя бы одного из условий градуировочную зависимость устанавливают заново.

Таблица 10

Номер серии

Н
деления

Прочность, МПа

Примечание

по результатам
на сжатие Riф

по градуировочной зависимости RiH

до отбраковки

после отбраковки

до отбраковки

после отбраковки

1

17,7

18,7

22,75

22,72

1,72

1,91

 

2

18,6

26,7

25,90

25,96

0,34

0,35

 

3

17,8

24,0

23,10

23,08

0,38

0,44

 

4

18,1

23,6

24,15

24,16

0,23

0,27

 

5

16,0

16,0

16,80

16,60

0,34

0,29

 

6

19,2

27,6

28,00

28,12

0,17

0,25

 

7

17,8

25,3

23,10

23,08

0,93

1,06

 

8

19,6

32,2

29,40

29,56

1,19

1,26

 

9

18,8

26,5

26,60

26,68

0,04

0,09

 

10

17,8

22,2

23,10

23,08

0,38

0,42

 

11

16,4

18,4

18,20

18,04

0,08

0,17

 

12

19,2

31,8

28,00

28,12

1,61

1,75

 

13

18,5

23,5

25,55

25,60

0,87

1,00

 

14

19,1

24,4

27,65

27,76

1,38

1,60

 

15

17,6

20,4

22,40

22,36

0,85

0,93

 

16

19,2

31,3

28,00

28,12

1,40

1,51

 

17

18,4

24,9

25,20

25,24

0,13

0,17

 

18

18,8

26,2

26,60

26,68

0,17

0,23

 

19

17,2

25,8

21,00

-

2,03

-

 

20

17,3

21,0

21,35

21,28

0,15

0,13

 

Пример. Прочность бетона проектного класса по прочности В20 контролируют методом отскока прибором КМ. Для установления зависимости между значениями отскока и прочности бетона было испытано в течение 5 сут 20 серий образцов-кубов размером 100´100´100 мм (N=20). Средние результаты по каждой серии приведены в табл. 10.

Среднее значение прочности  и значение отскока  вычисляем по формулам (6) и (7):

 МПа

Вычисляем по формулам (5) и (4) значения коэффициентов а1 и а0:

Таким образом, градуировочную зависимость описываем уравнением

Значения прочностей R, рассчитанные по градуировочной зависимости, приведены в табл. 10.

Остаточное среднее квадратическое отклонение, определенное по формуле (9), составит

 МПа

Сравнивая значение фактической прочности  в сериях образцов с прочностью R, определенной по градуировочной зависимости (см. табл. 10), устанавливаем, что условие формулы (8) не выполняется для серии 19, которая подлежит отбраковке.

По оставшимся 19 сериям образцов рассчитывают новые значения ,  и коэффициентов ао и а1:  МПа;  a1= 3,6; ао = -41.

Определим опять значение R (см. табл. 10) и рассчитаем среднее квадратическое отклонение Sт = 2,1 МПа.

Для скорректированной градуировочной зависимости по всем сериям образцов условие формулы (8) теперь удовлетворяется (см. табл. 9). Таким образом, дальнейшую корректировку проводить не требуется и искомая градуировочная зависимость описывается уравнением

Rн = 3,6 × Н – 41.

По формуле (11) определим погрешность полученной зависимости. Поскольку то определение прочности бетона по установленной градуировочной зависимости может производиться по настоящему стандарту.

ПРИЛОЖЕНИЕ 8

Рекомендуемое

ДАННЫЕ, ПРОВОДИМЫЕ В ЖУРНАЛЕ
ОФОРМЛЕНИЯ ГРАДУИРОВОЧНОЙ ЗАВИСИМОСТИ

1. Наименование предприятия, для которого установлена градуировочная зависимость.

2. Наименование неразрушающего метода, тип прибора и его заводской номер.

3. Состав бетона, вид цемента и заполнителя, максимальная крупность заполнителя, класс бетона, условия твердения.

4. Значение ST и отношение .

5. Минимальное и максимальное значения прочностей бетона, которые можно определять по данной зависимости.

6. Подписи исполнителя и руководителя подразделения, устанавливавшего градуировочную зависимость.

ПРИЛОЖЕНИЕ 9

Рекомендуемое

МЕТОДИКА УТОЧНЕНИЯ ГРАДУИРОВОЧНОЙ ЗАВИСИМОСТИ

Значение прочности бетона, определенное с использованием градуировочной зависимости, установленной для бетона, отличающегося от испытываемого, умножают на коэффициент Кс, значение которого определяют по формуле

                                       (17)

где Ri - прочность бетона в участке, определяемая методами отрыва со скалыванием, скалывания ребра или испытанием кернов по ГОСТ 10180-90;

Rу - то же, методами упругого отскока, ударного импульса или пластической деформации;

n - число участков, принимаемое не менее трех.

Значение прочности бетона не должно отличаться от среднего значения по градуировочной зависимости более чем на ±30 %.

Определенное с использованием коэффициента Кс значение прочности бетона, может быть использовано только в том случае, если получаемое с учетом этого коэффициента значение прочности бетона не выходит за пределы значений, которые могут быть определены по градуировочной зависимости.

ПРИЛОЖЕНИЕ 10

Рекомендуемое

МЕТОДИКА ИСПЫТАНИЯ БЕТОНА В ПРОБАХ,
ОТОБРАННЫХ ИЗ КОНСТРУКЦИЙ

Испытание бетона в пробах рекомендуется для определения его прочности в труднодоступных зонах конструкций и в конструкциях, находящихся при отрицательной температуре.

При статическом вдавливании конуса методика может быть применена для определения прочности бетона не только на поверхности конструкции, но и на внутренней поверхности скола.

Для определения прочности бетона от контролируемого участка конструкции откалывают пробы. Минимальный объем пробы:

1000 см3 - для метода упругого отскока;

500 см3 - для методов ударного импульса и пластической деформации под воздействием динамической нагрузки;

50 см3 - для метода пластической деформации под действием статической нагрузки.

Пробу вмоноличивают в раствор, прочность которого на день испытания должна быть не менее половины прочности бетона пробы (для предотвращения разрушения пробы при испытании). Вмоноличивание проб в раствор удобно производить с использованием стандартных форм для изготовления бетонных контрольных образцов по ГОСТ 10180-90. Расположение проб после распалубки представлено на черт. 3.

Для испытания методом упругого отскока или пластической деформации при ударе индентора растворную обойму с пробой зажимают в лабораторном прессе так, чтобы сторона обоймы с пробой была в вертикальном положении, и производят испытания в соответствии с требованиями, изложенными в разд. 4.

Построение градуировочных зависимостей производят в соответствии с требованиями разд. 3. При этом для испытаний методом пластической деформации при вдавливании конуса на поверхностях скола часть образцов следует расколоть и произвести испытания вдавливанием конуса, а другую часть образцов-близнецов испытать на сжатие.

1 - проба бетона; 2 - наиболее удобная для испытания сторона пробы;
3 - раствор, в котором закреплена проба

Черт. 3

 

ИНФОРМАЦИОННЫЕ ДАННЫЕ

1. РАЗРАБОТАН И ВНЕСЕН Научно-исследовательским институтом бетона и железобетона (НИИЖБ) Госстроя СССР

РАЗРАБОТЧИКИ

В.А. Клевцов, д-р. техн. наук (руководитель темы); М.Г. Коревицкая, канд. техн. наук; Ю.К. Матвеев; В.Н. Артамонова; Н.С. Вострова; А.А. Гребеник; Г.В. Сизов, канд. техн. наук; Д.А. Коршунов, канд. техн. наук; М.В. Сидоренко, канд. техн. наук; Ю.И. Кураш, канд. техн. наук; А.М. Лещинский, канд. техн. наук; В.Р. Абрамовский, канд. техн. наук; В.А. Дорф, канд. техн. наук; Э.Г. Сорокин, канд. техн. наук; В.Л. Черняховский, канд. техн. наук; И.О. Кроль, канд. техн. наук; С.Я. Хомутченко; Я.Е Ганин; О.Ю. Саммал, канд. техн. наук; А.А. Рульков, канд. техн. наук; П.Л. Тальберг; А.И. Марков, канд. техн. наук; Р.О. Красновский, канд. техн. наук; Л.С. Павлов, канд. техн. наук; М.Ю. Лещинский, канд. техн. наук ; Г.А. Целыковский; И.Э. Школьник, канд. техн. наук; Т.Ю. Лапенис; Г.И. Вайнгартен, канд. техн. наук; Н.Б. Жуковская; С.П. Абрамова; И.Н. Нагорняк

2. УТВЕРЖДЕН И ВВЕДЕН В ДЕЙСТВИЕ Постановлением Государственного строительного комитета СССР от 23.09.88 № 192

3. ВЗАМЕН ГОСТ 21243-75, ГОСТ 22690.0-77 - ГОСТ 22690.4-77

4. ССЫЛОЧНЫЕ НОРМАТИВНО-ТЕХНИЧЕСКИЕ ДОКУМЕНТЫ

Обозначение НТД, на который дана ссылка

Номер пункта, подпункта, приложения

ГОСТ 8.326-89

2.1

ГОСТ 166-89

2.2

ГОСТ 427-75

2.2

ГОСТ 577-68

2.2

ГОСТ 2789-73

2.5

ГОСТ 8728-88

Приложение 4

ГОСТ 10178-85

Приложение 4

ГОСТ 10180-90

1.1, 3.4-3.7, 3.10, приложения 7, 9, 10

ГОСТ 10587-84

Приложение 4

ГОСТ 18105-86

1.3, 1.5, 4.3

5. Переиздание. Июль 1991 г.

 




ГОСТЫ, СТРОИТЕЛЬНЫЕ и ТЕХНИЧЕСКИЕ НОРМАТИВЫ.
Некоммерческая онлайн система, содержащая все Российские Госты, национальные Стандарты и нормативы.
В Системе содержится более 150000 файлов нормативно-технической документации, действующей на территории РФ.
Система предназначена для широкого круга инженерно-технических специалистов.

Рейтинг@Mail.ru Яндекс цитирования

Copyright © www.gostrf.com, 2008 - 2026