Крупнейшая бесплатная информационно-справочная система онлайн доступа к полному собранию технических нормативно-правовых актов РФ. Огромная база технических нормативов (более 150 тысяч документов) и полное собрание национальных стандартов, аутентичное официальной базе Госстандарта. GOSTRF.com - это более 1 Терабайта бесплатной технической информации для всех пользователей интернета. Все электронные копии представленных здесь документов могут распространяться без каких-либо ограничений. Поощряется распространение информации с этого сайта на любых других ресурсах. Каждый человек имеет право на неограниченный доступ к этим документам! Каждый человек имеет право на знание требований, изложенных в данных нормативно-правовых актах!

  


 

ГОСУДАРСТВЕННЫЙ СТАНДАРТ СОЮЗА ССР

БЕТОНЫ

УЛЬТРАЗВУКОВОЙ МЕТОД ОПРЕДЕЛЕНИЯ МОРОЗОСТОЙКОСТИ

ГОСТ 26134-84

ГОСУДАРСТВЕННЫЙ СТАНДАРТ СОЮЗА ССР

БЕТОНЫ

Ультразвуковой метод определения морозостойкости

Concretes. Ultrasonic method of frost resistance determination

ГОСТ
26134-84

Дата введения 01.07.85

Настоящий стандарт распространяется на тяжелые и легкие бетоны и устанавливает ультразвуковой метод определения их морозостойкости.

(Измененная редакция, Изм. № 1).

1. ОБЩИЕ ПОЛОЖЕНИЯ

1.1. Морозостойкость бетона контролируют по результатам измерения времени распространения ультразвука в образцах в процессе их попеременного замораживания и оттаивания.

1.2. Морозостойкость бетона определяют по критическому числу циклов замораживания и оттаивания, начиная с которого происходит резкое увеличение времени распространения ультразвука в контролируемом образце, соответствующее началу интенсивного разрушения материала.

1.3. Марку бетона по морозостойкости определяют сравнением полученного значения критического числа циклов замораживания и оттаивания с установленным в стандарте его контрольным значением.

1.4. Морозостойкость бетона по настоящему стандарту допускается определять при удовлетворительных результатах сопоставительных испытаний бетона по настоящему стандарту и ГОСТ 10060, проводимых в соответствии с приложением 1.

(Измененная редакция, Изм. № 1).

2. АППАРАТУРА

2.1. Морозостойкость бетона ультразвуковым методом определяют при помощи специальных стендов или приборов, предназначенных для измерения времени распространения ультразвука в бетоне и оснащенных дополнительным оборудованием.

Технические характеристики рекомендуемых специальных стендов и ультразвуковых приборов приведены в приложении 2.

Требования к дополнительному оборудованию приведены в приложении 3.

2.2. Аппаратура для определения морозостойкости должна соответствовать требованиям ГОСТ 17624, обеспечивать цифровую индикацию результатов измерения с дискретностью не более 1,0 мкс и щелевой способ акустического контакта между контролируемым образцом и пьезоэлектрическими преобразователями при толщине слоя контактной среды не более 5 мм. В качестве контактной среды применяют питьевую воду по ГОСТ 2874 температурой (18 ± 2) °С.

(Измененная редакция, Изм. № 1).

2.3. Расположение точек ввода ультразвуковых колебаний в зависимости от размеров образцов должно соответствовать приведенным на схеме.

3. ПОДГОТОВКА К ИСПЫТАНИЮ

3.1. Отбор проб, изготовление и маркировку образцов бетона производят в соответствии с ГОСТ 10180.

3.2. Изготовляют три образца по каждому контролируемому составу бетона.

Размеры образцов, режимы их хранения и водонасыщения должны удовлетворять требованиям ГОСТ 10060.

(Измененная редакция, Изм. № 1).

3.3. Воду следует дегазировать путем отстаивания не менее 48 ч.

4. ПРОВЕДЕНИЕ ИСПЫТАНИЯ И ОБРАБОТКА РЕЗУЛЬТАТОВ

4.1. Образец помещают в испытательную ванну, наполненную водой, и определяют время распространения в нем ультразвука поочередно по всем каналам измерения способом сквозного прозвучивания. Направление прозвучивания должно быть перпендикулярно к направлению укладки бетонной смеси.

Схема расположения точек ввода ультразвуковых колебаний

1 - точка ввода ультразвуковых колебаний; 2 - направление прозвучивания; 3 - направление укладки бетонной смеси

4.2. Суммарное время распространения ультразвука t в образце определяют по формуле

                                                                    (1)

где п - число каналов измерения;

ti - время распространения ультразвука по i-му каналу измерения, мкс.

4.3. Образцы бетона подвергают попеременному замораживанию и оттаиванию по первому или второму методу ГОСТ 10060. Через указанное в табл. 1 число циклов замораживания и оттаивания в образцах проводят ультразвуковые измерения и определяют суммарное время распространения ультразвука t согласно пп. 4.1, 4.2.

Время распространения ультразвука измеряют после оттаивания образцов, при этом ориентация образца относительно испытательной ванны должна оставаться постоянной на протяжении всего испытания.

4.4. По результатам измерений для каждого образца находят наименьшее значение суммарного времени распространения ультразвука tm.

Определяют значение числа циклов замораживания и оттаивания, при которых было зафиксировано время распространения ультразвука tm, и выбирают из них наибольшее Nm.

Примечание. Если сразу после начала испытаний суммарное время распространения ультразвука в образце начинает увеличиваться, то полагают Nm = 0, а за наименьшее значение времени tm принимают суммарное время распространения ультразвука в образце, измеренное до начала замораживания и оттаивания.

4.3, 4.4. (Измененная редакция, Изм. № 1).

4.5. Результаты ультразвуковых измерений по каждому образцу при числе циклов замораживания и оттаивания N, большем Nm, наносят на график в координатах «lg (N - Nm) - lg (t - tm)».

На построенном графике определяют абсциссу К точки перелома в соответствии с приложением 4.

4.6. Критическое число циклов замораживания и оттаивания для каждого образца М определяют по формуле

.                                                       (2)

4.7. Испытание образцов одного состава бетона продолжают до определения по двум из них критического числа циклов М1 и М2 (M1 £ M2) в соответствии с п. 4.6.

4.8. Критическое число циклов замораживания и оттаивания контролируемого состава бетона Мб полагают равным значению М2, определенному в соответствии с п. 4.7.

4.9. Полученное значение Мб сравнивают с контрольным значением критического числа циклов замораживания и оттаивания для заданной марки по морозостойкости в соответствии с табл. 2.

Контролируемый состав бетона считают удовлетворяющим заданной марке по морозостойкости, если значение Мб не меньше соответствующего контрольного значения критического числа циклов замораживания и оттаивания.

Пример определения морозостойкости бетона приведен в приложении 5.

Результаты измерений и расчетов заносят в журнал испытания, форма которого приведена в приложении 6.

4.7 - 4.9. (Измененная редакция, Изм. № 1).


Таблица 1

Марка бетона по морозостойкости

F50

F75

F100

F150

F200

F300

F400

F500

F600

F800

F1000

Число циклов между последовательными ультразвуковыми измерениями

Для бетонов, кроме бетона дорожных и аэродромных покрытий

Первый метод

2 - 3

3 - 5

5 - 7

7 - 9

10 - 12

15 - 20

20 - 25

25 - 30

30 - 35

40 - 50

50 - 60

Второй метод

-

1

1

1 - 2

2 - 3

3 - 4

5 - 7

7 - 9

10 - 12

15 - 20

20 - 25

Для бетонов дорожных и аэродромных покрытий

Второй метод

-

-

5 - 7

7 - 9

10 - 12

15 - 20

20 - 25

25 - 30

30 - 35

40 - 50

50 - 60

Таблица 2

Марка бетона по морозостойкости

F50

F75

F100

F150

F200

F300

F400

F500

F600

F800

Р1000

Контрольное значение критического числа циклов замораживания и оттаивания

Для бетонов, кроме бетона дорожных и аэродромных покрытий

Первый метод

31

47

63

95

125

190

250

310

375

500

625

Второй метод.

-

8

13

19

28

47

70

95

125

190

280

Для бетонов дорожных и аэродромных покрытий

Второй метод

-

-

63

95

125

190

250

310

375

500

625


ПРИЛОЖЕНИЕ 1

Обязательное

МЕТОДИКА ПРОВЕДЕНИЯ СОПОСТАВИТЕЛЬНЫХ ИСПЫТАНИЙ

1. Сопоставительные испытания следует проводить при переходе на ультразвуковой метод определения морозостойкости бетона и повторять их при изменении вида составляющих его материалов.

2. Для проведения сопоставительных испытаний изготовляют 6 образцов в соответствии с требованиями пп. 3.1, 3.2 настоящего стандарта и разбивают их на две серии по 3 образца.

3. Образцы первой серии испытывают на сжатие по ГОСТ 10180 и определяют их среднюю прочность R1 и дисперсию D1 по формулам:

                                                         (1)

                                                  (2)

где R1i - прочность на сжатие i-го образца первой серии (1 £ i £ 3), МПа.

2, 3. (Измененная редакция, Изм. № 1).

4. Проводят испытания образцов второй серии в соответствии с пп. 4.1 - 4.3 настоящего стандарта.

5. Определяют критическое число циклов замораживания и оттаивания контролируемого состава бетона Мб в соответствии с пп. 4.4 - 4.8 настоящего стандарта.

6. Проводят дальнейшее замораживание и оттаивание испытываемых образцов до достижения 1,6 ´ Мб циклов.

7. Образцы испытывают на сжатие по ГОСТ 10180 и определяют их среднюю прочность R2 и дисперсии D2 и D по формулам:

                                                           (3)

                                                    (4)

                                  (5)

где R2i - прочность на сжатие i-го образца второй серии (1 £ i £ 3), МПа.

8. Результаты сопоставительных испытаний следует считать удовлетворительными, если  а для бетона дорожных и аэродромных покрытий, кроме того, потеря массы не превышает 3 %. В противном случае определение морозостойкости бетона данного состава ультразвуковым методом проводить не следует.

7, 8. (Измененная редакция, Изм. № 1).


ПРИЛОЖЕНИЕ 2

Справочное

ТЕХНИЧЕСКИЕ ХАРАКТЕРИСТИКИ специальных стендов и ультразвуковых приборов

Наименование прибора

Характеристика

Предприятие-изготовитель

Диапазон измерения времени распространения ультразвуковых колебаний, мкс

Режим измерения

Индикация

Электрическое питание

Наличие микропроцессора

Наличие ЭЛТ

Конструктивное исполнение

Ультразвуковые приборы:

 

 

 

 

 

 

 

 

Бетон-12

20 - 999,9

Автоматический

Цифровая

Автономное

-

-

Портативный

Опытный завод ВНИИжелезобетон, г. Москва

УК-14П

20 - 9000

То же

То же

Универсальное

-

-

То же

«Электроточприбор», г. Кишинев

УК-10ПМС

10 - 9999

»

»

То же

Есть

Есть

Переносной

То же

УФ-10П

20 - 999,9

»

»

220 В, 50 Гц

»

»

Стационарный

»

Специальные стенды:

 

 

 

 

 

 

 

 

ОСА-1

20 - 999,9

»

»

220 В, 50 Гц

-

-

То же

ВПО «Эталон», г. Рига

(Измененная редакция, Изм. № 1).


ПРИЛОЖЕНИЕ 3

Рекомендуемое

ТРЕБОВАНИЯ К ДОПОЛНИТЕЛЬНОМУ оборудованию

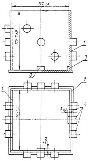
1. Дополнительное оборудование состоит из испытательной ванны, включающей комплект пьезоэлектрических преобразователей, и коммутирующего устройства, обеспечивающего переключение каналов измерения.

Схема испытательной ванны для образцов размерами 150´150´150 мм

1 - стенка ванны; 2 - основание ванны; 3 - фиксатор; 4 - пьезоэлектрические преобразователи

2. Испытательная ванна состоит из основания и стенок с отверстиями для установки пьезоэлектрических преобразователей. Стенки и основание изготовляют из листового органического стекла толщиной 10 - 20 мм по ГОСТ 17622 и склеивают дихлорэтаном по ГОСТ 1942 или другим заменяющим его клеем, обеспечивающим герметичность шва. Размеры ванны определяются размерами образцов.

Схема ванны для образцов размерами 150´150´150 мм приведена на чертеже настоящего приложения.

Отверстия для преобразователей, образующих один канал измерения, располагают соосно на противоположных стенках ванны таким образом, чтобы линия их центров совпадала с соответствующим направлением прозвучивания. При этом предельные отклонения между осями двух противоположных отверстий должны быть не более ±0,5 мм. Между стенками ванны и преобразователями должны быть предусмотрены герметизирующие прокладки.

Ванну снабжают фиксатором, обеспечивающим расположение образца на расстояние не более 5 мм от стенок ванны и постоянство его ориентации относительно преобразователей на протяжении всего испытания.

3 Коммутирующее устройство представляет собой систему переключателей, обеспечивающую (в ручном режиме или автоматически) независимое включение каждого из каналов измерения.

ПРИЛОЖЕНИЕ 4

Обязательное

МЕТОДИКА ОПРЕДЕЛЕНИЯ ТОЧКИ ПЕРЕЛОМА НА ГРАФИКЕ

«lg (N - Nm) - lg (t - tm

1. На графике «lg (N - Nm) - lg (t - tm)» ориентировочно намечают точку, соответствующую началу резкого увеличения времени распространения ультразвуковых колебаний. По журналу испытаний определяют соответствующее этой точке число циклов замораживания и оттаивания Np.

2. Точки, нанесенные на график, разбивают на две группы. К первой относят точки, для которых N £ Np, ко второй - точки, для которых N ³ Np. Число точек во второй группе должно быть не менее четырех.

3. По точкам каждой группы графическим способом строят графики линейных зависимостей.

4. Абсциссу К точки перелома определяют как проекцию точки пересечения построенных прямых на ось абсцисс.

ПРИЛОЖЕНИЕ 5

Справочное

ПРИМЕР ОПРЕДЕЛЕНИЯ МОРОЗОСТОЙКОСТИ БЕТОНА

Морозостойкость бетона проектной марки F75 контролируют ультразвуковым методом. Режимы замораживания и оттаивания 3 образцов размерами 100´100´100 мм соответствуют первому методу испытаний на морозостойкость по ГОСТ 10060.

Ультразвуковые измерения в образцах производят с интервалом 5 циклов замораживания и оттаивания по 4 каналам измерения.

Результаты ультразвуковых измерений в образце № 1 приведены в таблице настоящего приложения.

Суммарное время распространения ультразвука рассчитывают по формуле (1) настоящего стандарта. Например, после пяти циклов замораживания и оттаивания

t = 28,8 + 29,0 + 28,9 + 29,0 = 115,7 мкс.

По данным таблицы определяют наименьшее суммарное время распространения ультразвука tm = 115,5 мкс. Это значение зафиксировано после 10 и после 15 циклов замораживания и оттаивания. В соответствии с п. 4.4 настоящего стандарта из этих значений выбирают большее. Таким образом, Nm = 15.

После определения значений tm и Nm по результатам последующих измерений вычисляют значения (N - Nm) и (t - tm), по которым строят график в логарифмических координатах в соответствии с п. 4.5 настоящего стандарта. График, построенный для образца № 1, приведен на чертеже настоящего приложения.

На построенном графике ориентировочно выбирают точку, соответствующую началу резкого увеличения времени распространения ультразвука. Для этой точки (Np - Nm) = 35.

Точки, нанесенные на график, разбивают на две группы в соответствии с п. 2 обязательного приложения 4. По точкам каждой группы проводят прямые и определяют точку их пересечения.

Образец № 1

Дата проведения ультразвуковых измерений

Число циклов замораживания и оттаивания

N - Nm, циклы

Время распространения ультразвука ti по каналам измерения, мкс

Суммарное время распространения ультразвука t, мкс

t - tm, мкс

1

2

3

4

 

0

-

28,9

29,1

29,0

29,3

116,3

-

 

5

-

28,8

29,0

28,9

29,0

115,7

-

 

10

-

28,8

28,9

28,8

29,0

115,5

-

 

15

-

28,7

28,9

28,8

29,1

115,5

-

 

20

5

28,8

29,0

29,0

29,0

115,9

0,4

 

25

10

28,9

29,0

29,0

29,2

116,1

0,8

 

30

15

28,9

29,0

29,1

29,3

116,3

0,6

 

35

20

28,9

29,1

29,1

29,4

116,5

1,0

 

40

25

29,0

29,1

29,2

29,3

116,6

1,1

 

45

30

29,0

29,2

29,1

29,4

116,7

1,2

 

50

35

29,1

29,1

29,2

29,5

116,9

1,4

 

55

40

29,3

29,2

29,3

29,8

117,6

2,1

 

60

45

29,5

29,3

29,4

30,2

118,4

2,9

 

65

50

29,7

29,6

29,7

30,5

119,5

4,0

Проектируя точку пересечения на ось абсцисс, получают К = 34.

Критическое число циклов вычисляют по формуле (2) настоящего стандарта

М = 15 + 34 = 49 циклов.

Аналогичным образом получают значение критического числа циклов для образца № 2. Это значение составляет 44 цикла замораживания и оттаивания.

В соответствии с пп. 4.7 и 4.8 настоящего стандарта принимают М1 = 44, М2 = 49 и полагают критическое число циклов замораживания и оттаивания контролируемого состава бетона равным значению М2, т.е. Мб = 49 циклов.

Сравнивая полученное значение с контрольным значением критического числа циклов замораживания и оттаивания, соответствующим марке F75 заключают, что испытываемый состав бетона удовлетворяет марке по морозостойкости F75.

(Измененная редакция, Изм. № 1).

ПРИЛОЖЕНИЕ 6

Рекомендуемое

ФОРМА ЖУРНАЛА ИСПЫТАНИЯ

Образец №

Дата проведения ультразвуковых

измерений

Число циклов замораживания и оттаивания N

N - Nm, циклы

Время распространения ультразвука ti по каналам измерения, мкс

Суммарное время распространения ультразвука t, мкс

t - tm, мкс

(номера каналов измерения)

 

 

 

 

 

 

ИНФОРМАЦИОННЫЕ ДАННЫЕ

1. РАЗРАБОТАН И ВНЕСЕН Министерством промышленности строительных материалов СССР

Министерством энергетики и электрификации СССР

РАЗРАБОТЧИКИ

Ю. Н. Мизрохи, канд. техн. наук; А. С. Зальцман, (руководители темы); А. Я. Гойхман, канд. физ.-мат. наук; В. Г. Довжик, канд. техн. наук; З. М. Брейтман; С. Р. Котляр, канд. техн. наук; И. И. Вайншток, канд. техн. наук; В. А. Дорф, канд. техн. наук; И. С. Кроль; В. Г. Липник; Н. А. Сорокин; П. А. Пак, канд. техн. наук; И. А. Лапук, канд. техн. наук; А. В. Караваев; О. В. Дубцов; И. Н. Нагорняк

2. УТВЕРЖДЕН И ВВЕДЕН В ДЕЙСТВИЕ Постановлением Государственного комитета СССР по делам строительства от 19.03.84 № 26

3. ВВЕДЕН ВПЕРВЫЕ

4. ССЫЛОЧНЫЕ НОРМАТИВНО-ТЕХНИЧЕСКИЕ ДОКУМЕНТЫ

Обозначение НТД, на который дана ссылка

Номер пункта, приложения

ГОСТ 1942-86

Приложение 3

ГОСТ 2874-82

2.2

ГОСТ 10060-87

1.4, 3.2, 4.3, приложение 5

ГОСТ 10180-90

3.1, приложение 1

ГОСТ 17622-72

Приложение 3

ГОСТ 17624-87

2.2

5. ПЕРЕИЗДАНИЕ (апрель 1994 г.) с Изменением № 1, утвержденным в ноябре 1988 г. (ИУС 2-89)

СОДЕРЖАНИЕ

1. Общие положения. 1

2. Аппаратура. 1

3. Подготовка к испытанию.. 2

4. Проведение испытания и обработка результатов. 2

Приложение 1 Методика проведения сопоставительных испытаний. 5

Приложение 2 Технические характеристики специальных стендов и ультразвуковых приборов. 6

Приложение 3 Требования к дополнительному оборудованию.. 7

Приложение 4 Методика определения точки перелома на графике. 8

Приложение 5 Пример определения морозостойкости бетона. 8

Приложение 6 Форма журнала испытания. 10

 

 




ГОСТЫ, СТРОИТЕЛЬНЫЕ и ТЕХНИЧЕСКИЕ НОРМАТИВЫ.
Некоммерческая онлайн система, содержащая все Российские Госты, национальные Стандарты и нормативы.
В Системе содержится более 150000 файлов нормативно-технической документации, действующей на территории РФ.
Система предназначена для широкого круга инженерно-технических специалистов.

Рейтинг@Mail.ru Яндекс цитирования

Copyright © www.gostrf.com, 2008 - 2026