Крупнейшая бесплатная информационно-справочная система онлайн доступа к полному собранию технических нормативно-правовых актов РФ. Огромная база технических нормативов (более 150 тысяч документов) и полное собрание национальных стандартов, аутентичное официальной базе Госстандарта. GOSTRF.com - это более 1 Терабайта бесплатной технической информации для всех пользователей интернета. Все электронные копии представленных здесь документов могут распространяться без каких-либо ограничений. Поощряется распространение информации с этого сайта на любых других ресурсах. Каждый человек имеет право на неограниченный доступ к этим документам! Каждый человек имеет право на знание требований, изложенных в данных нормативно-правовых актах!

  


 

ГОСУДАРСТВЕННЫЙ СТАНДАРТ СОЮЗА ССР

МАТЕРИАЛЫ ЗВУКОИЗОЛЯЦИОННЫЕ
И ЗВУКОПОГЛОЩАЮЩИЕ
МЕТОДЫ ИСПЫТАНИЙ

ГОСТ 16297-80

ГОСУДАРСТВЕННЫЙ СТРОИТЕЛЬНЫЙ КОМИТЕТ СССР

Москва

ГОСУДАРСТВЕННЫЙ СТАНДАРТ СОЮЗА ССР

МАТЕРИАЛЫ ЗВУКОИЗОЛЯЦИОННЫЕ И ЗВУКОПОГЛОЩАЮЩИЕ

Методы испытаний

Sound insulation and sound absorption materials.
Methods of testing

ГОСТ
16297-80

Взамен
ГОСТ 16297-70

Постановлением Государственного комитета СССР по делам строительства от 29 декабря 1979 г. № 259 срок введения установлен

с 01.01.81

Несоблюдение стандарта преследуется по закону

Настоящий стандарт распространяется на звукоизоляционные и звукопоглощающие строительные материалы и изделия и устанавливает методы их испытаний для определения следующих показателей:

динамического модуля упругости;

коэффициента потерь;

коэффициента звукопоглощения при нормальном падении звука (далее - нормального коэффициента звукопоглощения);

нормального импеданса (сопротивления).

Методы испытаний для определения показателей объемной массы, гибкости, предела прочности при изгибе, сжатии и растяжении, влажности, сорбционной влажности (гигроскопичности), водопоглощения, среднего диаметра волокон минеральной и стеклянной ваты, содержания органических веществ в минераловатных и стекловолокнистых изделиях устанавливаются ГОСТ 17177-71.

Применение методов испытаний, установленных настоящим стандартом, а также периодичность испытаний должны предусматриваться стандартами и техническими условиями на материалы и изделия конкретных видов.

1. ОБЩИЕ ПОЛОЖЕНИЯ

1.1. Воздух помещений, в которых проводятся испытания, должен иметь относительную влажность (60 ± 10) % и температуру (20 ± 2) °С.

Перед проведением испытаний материалы и изделия должны быть выдержаны в указанном помещении не менее 3 ч.

1.2. Аппаратура для проведения испытаний должна иметь действующие свидетельства о государственной или ведомственной поверке согласно ГОСТ 8.002-86, а также должна быть откалибрована и настроена в соответствии с нормативно-технической документацией по ее эксплуатации.

1.3. Технические и метрологические характеристики измерительных систем должны удовлетворять требованиям, предъявляемым к шумомерам 1 и 2-го классов по ГОСТ 17187-81 и электрическим фильтрам по ГОСТ 17168-82.

1.4. Термины и определения, приведенные в стандарте, указаны в справочном приложении 1.

1.5. Испытания звукоизоляционных и звукопоглощающих материалов и изделий проводятся на образцах этих материалов и изделий.

2. ОПРЕДЕЛЕНИЕ ДИНАМИЧЕСКОГО МОДУЛЯ УПРУГОСТИ И КОЭФФИЦИЕНТА ПОТЕРЬ

2.1. Динамический модуль упругости звукоизоляционных материалов и изделий Ед определяется при продольных колебаниях нагруженного образца по величине частоты колебаний, при которой амплитуда ускорения (или скорости, или смещения) становится наибольшей (резонанс).

2.2. Аппаратура

2.2.1. Усилитель мощности - по ГОСТ 17187-81.

2.2.2. Измерительный усилитель - по ГОСТ 17187-81.

2.2.3. Низкочастотный измерительный генератор 2-го класса, 3-й категории - по нормативно-технической документации. Генератор должен иметь устройство, позволяющее поддерживать постоянное напряжение на выходе генератора при любых изменениях нагрузки.

2.2.4. Электродинамический вибратор - по ГОСТ 25051.3-83.

2.2.5. Акселерометр - по ГОСТ 25865-83.

2.2.6. Виброизмеритель - по ГОСТ 25865-83.

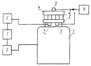
2.2.7. Блок-схема установки для определения динамического модуля упругости приведена на черт. 1.

Столик вибратора следует изготовлять из дюралюминия толщиной не менее 30 мм, диаметр рабочей поверхности столика должен быть равен 160 мм. Крепление столика к подвижной системе вибратора должно осуществляться не менее чем 4 винтами (болтами).

2.2.8. Груз, устанавливаемый на испытываемый образец, должен представлять собой стальной цилиндр диаметром 160 мм. Нагрузки на образец следует принимать в соответствии с главой СНиП II-12-77 равными 2000, 5000 и 10000 Н/м2 (10-1 кгс/м2).

Блок-схема установки для определения динамического модуля упругости

1 - электродинамический вибратор; 2 - столик вибратора; 3 - испытываемый образец; 4 - груз; 5 - акселерометры; 6 - измерительный усилитель; 7 - измерительный генератор; 8 - усилитель мощности; 9 - виброизмеритель

Черт. 1

2.3. Условия проведения испытаний

2.3.1. От каждой партии материалов следует отбирать для испытаний не менее шести образцов.

2.3.2. Размеры и количество одновременно испытываемых образцов принимаются в соответствии с табл. 1.

Таблица 1

Материал изделия

Диаметр образца, мм

Высота образца в нагруженном состоянии, мм

Количество одновременно испытываемых образцов, шт.

Общая площадь одновременно испытываемых образцов, м2

Время выдерживания образцов под грузом, с

Погрешность измерения высоты образцов, мм

Стекловолокнистые и минераловатные плиты и маты

160±1,0

До 50

1

2·10-2

600

±1

Древесноволокнистые плиты, войлок

30±0,5

До 25

3

2,12·10-3

60

±0,5

Пенопласты

30±0,5

До 25

3

2,12·10-3

30

±0,5

Пластмассы и резины

10±0,25

До 12

3

2,36 10-4

30

±0,1

2.3.3. Образцы из древесноволокнистых плит, войлока, пенопластов, пластмасс и резины следует размещать на столике вибратора на равных расстояниях друг от друга и на расстоянии 10 мм от края столика.

2.4. Проведение испытаний

2.4.1. Параметры вибраций, при которых следует производить испытания, должны находиться в пределах величин, указанных в табл. 2.

Таблица 2

Амплитуда

Пределы изменения амплитуд, не более

Погрешность измерения амплитуд, % не более

Ускорение, м/с2

3

5

Скорость, м/с

3·10-2

5

Смещение, м

3·10-5

5

2.4.2. Высота образца, находящегося под грузом, должна измеряться штангенциркулем в четырех разноудаленных друг от друга точках по краю образца и приниматься как среднее арифметическое значение измерений, проведенных в этих точках.

2.4.3. Вибратор следует привести в движение, установив на измерительном усилителе режим автоматического поддержания постоянной амплитуды, и с помощью звукового генератора установить колебания частотой 5 Гц и амплитудой а1 столика вибратора.

2.4.4. Частота резонанса f, Гц, при которой амплитуда а2 груза, установленного на испытываемом образце, становится максимальной, определяется в процессе плавного изменения частоты колебаний вибратора.

2.5. Результаты испытаний

2.5.1. Динамический модуль упругости Ед, Н/м2 (10-1 кгс/м2), для всех материалов и изделий вычисляется по формуле

                                                            (1)

где f - частота резонанса, Гц;

М - масса груза, кг;

h - высота образца под нагрузкой, м;

F - общая площадь одновременно испытываемых образцов, м2.

2.5.2. Для стекловолокнистых и минераловатных плит и матов следует вычислять приведенный динамический модуль упругости Ед, Н/м2 (10-1 кгс/м2), учитывающий упругость воздуха в порах материала, по формуле

Еп = 1,2·105 + Ед                                                           (2)

2.5.3. При каждом испытании должен быть вычислен коэффициент потерь по формуле

                                                          (3)

где a1 - амплитуда ускорения, м/с2 (или скорости, м/с, или смещения, м) столика вибратора при частоте колебания 5 Гц;

а2 - амплитуда ускорения, м/с2, груза (или скорости м/с, или смещения, м) при частоте резонанса f.

Вычисления следует производить с погрешностью до 0,001.

2.5.4. Для каждой партии материалов следует находить среднее арифметическое значение величин Ед (Еп) и .

3. ОПРЕДЕЛЕНИЕ НОРМАЛЬНОГО КОЭФФИЦИЕНТА ЗВУКОПОГЛОЩЕНИЯ И НОРМАЛЬНОГО ИМПЕДАНСА

3.1. Аппаратура

3.1.1. Низкочастотный генератор измерительный 4-го класса, 3-й категории - по нормативно-технической документации.

3.1.2. Электронный вольтметр средних квадратических значений по нормативно-технической документации с диапазоном частот не уже рабочего диапазона частот измерительной системы, основная погрешность - не более ±4 %, входное сопротивление - не менее 1 МОм.

3.1.3. Измерительный микрофон 1-го класса, 1-й группы - по ТУ 25-06.1119-85.

3.1.4. Микрофонный усилитель. Диапазон частот - не уже 20 - 10000 Гц. Неравномерность частотной характеристики в указанном диапазоне частот - не более ± 0,5 дБ относительно 1000 Гц.

Коэффициент гармоник в указанном диапазоне частот - не более 0,5 %.

Уровень собственного шума и фона, приведенный по входу, - не выше минус 70 дБ относительно 1 мВ.

3.1.5. Громкоговоритель с рабочим диапазоном частот 50 - 8000 Гц. Уровень звукового давления, создаваемый громкоговорителем в точке минимума звукового давления в трубе интерферометра, должен превышать уровень помех не менее чем на 10 дБ.

3.1.6. Акустические фильтры (полосовые) - по ГОСТ 17168-82.

3.1.7. Электронно-счетный частотомер - по ГОСТ 22261-82.

3.1.8. Блок-схема интерферометра приведена на черт. 2.

Блок-схема интерферометра

1 - металлическая труба; 2 - коробка; 3 - громкоговоритель; 4 - микрофонный щуп; 5 - резиновая диафрагма; 6 - микрофонная тележка; 7 - направляющая рейка; 8 - низкочастотный генератор; 9 - электронный вольтметр; 10 - обойма; 11 - поршень; 12 - микрофон; 13 - указатель отсчета; 14 - акустический фильтр; 15 - электронно-счетный частотомер; 16 - микрофонный усилитель; 17 - лицевая поверхность образца

Черт. 2

Керн магнита громкоговорителя должен иметь отверстие для микрофонного щупа, изготовленного из трубки, наружный диаметр которой составляет 3 мм, а внутренний диаметр 2 мм. Щуп следует соединить с резиновой диафрагмой толщиной 2 мм, укрепленной в центре днища микрофонной тележки, которую передвигают по направляющей рейке. Направляющая рейка должна иметь сантиметровые и миллиметровые деления, позволяющие определять положение переднего отверстия щупа по отношению к лицевой поверхности образца с помощью указателя отсчета в нижней части тележки.

На тележке должен быть установлен микрофон, включенный на вход усилителя, соединенного с ламповым вольтметром через акустические (полосовые) фильтры.

Для контроля частоты звука, создаваемого генератором, параллельно его выходу следует включить электронно-счетный частотомер.

Размеры труб интерферометра в зависимости от требуемого частотного диапазона измерений следует принимать по табл. 3.

В трубе интерферометра длиной 7 м вместо щупа следует помещать микрофон. При этом на поверхности трубы должно быть установлено устройство с отсчетным приспособлением, позволяющим определять положение микрофона относительно лицевой поверхности образца.

3.2. Условия проведения испытаний

3.2.1. Для проведения испытаний необходимо отбирать звукопоглощающие материалы и изделия, отвечающие внешнему виду, размерам и физико-механическим показателям требований стандартов или технических условий на эти материалы и изделия.

3.2.2. Из отобранных материалов и изделий следует вырезать пуансоном три образца в виде цилиндра. Размеры образца должны на 1 мм превышать внутренние размеры трубы интерферометра (см. табл. 3).

Таблица 3

Частотный диапазон измерений, Гц

Внутренний диаметр или сторона квадрата трубы, м

Длина трубы L, м

50-500

0,25

7

125-2000

0,10

1

1600-8000

0,025

0,025

Количество образцов определяется стандартами или техническими условиями на испытываемые материалы или изделия.

3.3. Проведение испытаний

3.3.1. Образец испытываемого материала или изделия следует вставить в обойму интерферометра так, чтобы нелицевая его поверхность находилась на жестком поршне, а лицевая на уровне обреза обоймы, края лицевой стороны образца промазывают пластилином и обойму закрепляют в трубе.

3.3.2. При испытаниях на интерферометре следует определять величины напряжений на выходе микрофонного усилителя, регистрируемые электронным вольтметром, соответствующие первым максимуму и минимуму уровня звукового давления в трубе интерферометра, а также величину расстояния первого минимума d1, см, от лицевой поверхности образца.

3.3.3. Величина расстояния первого минимума d1 должна определяться с погрешностью ± 0,5 см.

3.3.4. Испытания следует производить последовательно на частотах 63, 80, 100, 125, 160, 200, 250, 315, 400 ... 5000 и 6300 Гц.

3.4. Результаты испытаний

3.4.1. По результатам испытаний следует определять нормальный коэффициент звукопоглощения. При испытании новых материалов и изделий следует, кроме того, определять нормальный импеданс (сопротивление) образца материала или изделия.

3.4.2. Нормальный коэффициент звукопоглощения ао материала или изделия вычисляется по формуле

,                                                       (4)

где  - отношение максимального (Umax, мВ) и минимального (Umin, мВ) напряжений на выходе микрофонного усилителя и зарегистрированных электронным вольтметром.

3.4.3. Нормальный импеданс образца материала Zo вычисляется по формуле

Zо = R + jV,                                                             (5)

где R и У - реальная и мнимая составляющие импеданса, определяемые по формулам:

                                     (6)

                                     (7)

где 2 - сдвиг фаз между реальной и мнимой составляющими импеданса, рад, определяемый по формуле

                                               (8)

где d1 - расстояние первого минимума (см. п. 3.3.2) от лицевой поверхности образца, м;

 - длина звуковой волны, м;

где с - скорость звука при данной температуре t °C, определяемая по обязательному приложению 2.

3.4.4. Результаты испытаний принимаются как среднее арифметическое значение трех испытаний и оформляются в виде таблиц и графиков зависимости ао от частоты в соответствии с обязательным приложением 3.

ПРИЛОЖЕНИЕ 1

Справочное

ТЕРМИНЫ И ОПРЕДЕЛЕНИЯ

Термин

Определение

1. Динамический модуль упругости

Модуль упругости, измеренный при продольных колебаниях образца

2. Коэффициент потерь

Безразмерная величина, характеризующая рассеяние энергии при продольных колебаниях

3. Нормальный импеданс (сопротивление)

Комплексная величина, представляющая собой отношение звукового давления к нормальной колебательной скорости на поверхности образца

ПРИЛОЖЕНИЕ 2

Обязательное

ТАБЛИЦА ВЕЛИЧИН СКОРОСТИ ЗВУКА В ЗАВИСИМОСТИ ОТ ТЕМПЕРАТУРЫ ВОЗДУХА

t °С

с, м/с

10

337,5

10,5

337,8

11

338

11,5

338,5

12

338,7

12,5

339

13

339,3

13,5

339,6

14

339,9

14,5

340,2

15

340,5

15,5

340,8

16

341,1

16,5

341,4

17

341,7

17,5

342

18

342,3

18,5

342,6

19

342,9

19,5

343,2

20

343,6

20,5

343,8

21

344,1

21,5

344,5

22

344,8

22,5

345,1

23

345,4

23,5

345,7

24

346

24,5

346,3

25

346,6

25,5

346,9

26

347,2

26,5

347,5

27

347,8

27,5

348,1

28

348,4

28,5

348,7

29

349

29,5

349,3

30

349,7

30,5

350

ПРИЛОЖЕНИЕ 3

Обязательное

ФОРМА ЗАПИСИ РЕЗУЛЬТАТОВ ИСПЫТАНИЙ ЗВУКОПОГЛОЩАЮЩИХ МАТЕРИАЛОВ И ИЗДЕЛИЙ

Место проведения испытаний

Номер протокола

Дата

Вид интерферометра

Частотный диапазон

Площадь образца

 

Частота, Гц

аm

63

80

100

125

160

200

250

315

400

500

630

800

1000

1250

1600

2000

2500

3150

4000

5000

6300

 

Условия проведения испытаний:

Температура t°

Относительная влажность, %

Описание конструкции или образца и схема его размещения в интерферометре.

Примечание.

Изготовитель

СОДЕРЖАНИЕ

 

 




ГОСТЫ, СТРОИТЕЛЬНЫЕ и ТЕХНИЧЕСКИЕ НОРМАТИВЫ.
Некоммерческая онлайн система, содержащая все Российские Госты, национальные Стандарты и нормативы.
В Системе содержится более 150000 файлов нормативно-технической документации, действующей на территории РФ.
Система предназначена для широкого круга инженерно-технических специалистов.

Рейтинг@Mail.ru Яндекс цитирования

Copyright © www.gostrf.com, 2008 - 2026