Крупнейшая бесплатная информационно-справочная система онлайн доступа к полному собранию технических нормативно-правовых актов РФ. Огромная база технических нормативов (более 150 тысяч документов) и полное собрание национальных стандартов, аутентичное официальной базе Госстандарта. GOSTRF.com - это более 1 Терабайта бесплатной технической информации для всех пользователей интернета. Все электронные копии представленных здесь документов могут распространяться без каких-либо ограничений. Поощряется распространение информации с этого сайта на любых других ресурсах. Каждый человек имеет право на неограниченный доступ к этим документам! Каждый человек имеет право на знание требований, изложенных в данных нормативно-правовых актах!

  


 

ГОСУДАРСТВЕННЫЙ СТАНДАРТ СОЮЗА ССР

Изделия паркетные

ЩИТЫ ПАРКЕТНЫЕ

Технические условия

ГОСТ 862.4-87

ГОСУДАРСТВЕННЫЙ КОМИТЕТ СССР
ПО ДЕЛАМ СТРОИТЕЛЬСТВА

Москва

ГОСУДАРСТВЕННЫЙ СТАНДАРТ СОЮЗА ССР

Изделия паркетные

ЩИТЫ ПАРКЕТНЫЕ

Технические условия

Floor parquet products.
Parquet panels. Specifications

ГОСТ
862.4-87

Дата введения 01.07.87

Настоящий стандарт распространяется на паркетные щиты, предназначенные для устройства полов в жилых и общественных зданиях.

1. ТИПЫ И ОСНОВНЫЕ РАЗМЕРЫ

1.1. Паркетный щит состоит из паркетных планок, квадратов шпона или фанерной облицовочной плиты, которые наклеены с определенным рисунком на основание.

1.2. В зависимости от конструкции основания паркетные щиты подразделяются на типы:

ПЩ1 - с рамочным основанием в виде обвязки, угловые шиповые соединения которой должны быть выполнены на клею, и реек заполнения, закрепляемых в пазах брусков обвязки на прямой несквозной шип по ГОСТ 9330 (черт. 1).

Тип ПЩ1

1 - планки лицевого покрытия; 2 - рейки основания; 3 - бруски рамки (обвязки) основания

Черт. 1

Рамочная обвязка может быть со средним бруском или без него. По согласованию изготовителя с потребителем допускается изготовление основания из двух продольных обкладок и реечного заполнения;

- ПЩ2 - с реечным основанием, облицованным с двух сторон лущеным шпоном по ГОСТ 99 (черт. 2);

Тип ПЩ2

1 - планки лицевого покрытия; 2, 4 - лущеный шпон; 3 - рейки основания

Черт. 2

- ПЩ3 - с основанием из ДСП по ГОСТ 10632, облицованной с двух сторон лущеным шпоном по ГОСТ 99, или с основанием из ЦСП по ГОСТ 26816 (черт. 3).

Тип ПЩ3

1 - квадраты лицевого покрытия; 2, 4 - лущеный шпон; 3 - ДСП (ЦСП)

Черт. 3

Примечание. При использовании в качестве основания ЦСП облицовка плит шпоном не требуется.

Допускается применять для основания паркетных щитов сплошные ДСП экструзионного прессования, изготовляемые по утвержденной НТД.

Кромки ДСП экструзионного прессования должны быть пропитаны клеями не ниже средней водостойкости на основе синтетических смол на глубину не менее 20 мм.

Плотность плиты в пропитанной зоне должна быть не менее 720 кг/м3;

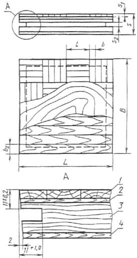
- ПЩ4 - с основанием из двух склеенных между собой слоев реек, уложенных во взаимно перпендикулярном направлении (черт. 4).

Тип ПЩ4

1 - планки лицевого покрытия; 2 - рейки верхнего слоя; 3 - рейки нижнего слоя

Черт. 4

1.3. В кромках паркетных щитов должны быть пазы для соединения паркетных щитов между собой при помощи шпонок.

Допускается изготовление паркетных щитов с несквозными пазами на противоположных кромках (черт. 5), кроме типов ПЩ3.

Паркетный щит с пазами, не выходящими на кромки

Черт. 5

1.4. В зависимости от вида лицевого покрытия паркетные щиты подразделяют на:

- П - облицованные паркетными планками;

- Ш - облицованные квадратами строганого или лущеного шпона;

- Ф - облицованные квадратами фанерной облицовочной плиты.

1.5. В зависимости от породы и качества древесины лицевого покрытия паркетные щиты подразделяют на марки А и Б.

1.6. Номинальные размеры паркетных щитов и предельные отклонения от них должны соответствовать указанным на черт. 1-6 и в табл. 1.

Таблица 1

мм

Наименование изделия и его элемента

Наименование показателя

Номин. размер

Пред. откл.

1. Щит

Толщина s

40; 32; 28; 25; 22

±0,2

 

Ширина на длину (В х L)

400×400

500×500

600×600

800×800

 

±0,3

2. Паркетные планки

Толщина s1

4; 6

 

 

для березы

6; 8

 

 

для хвойных пород

8

±0,2

 

Ширина b1

От 20 до 50

 

 

Длина l

От 100 до 400

 

3. Рейки:

 

 

 

- основания

Ширина b2

От 25 до 55

 

- обвязки (тип ПЩ1)

Ширина b3

От 35 до 55

±0,5

4. Квадраты шпона

Толщина s1

Не менее 4

 

 

Длина (ширина) l

От 100 до 400

±0,2

5. Квадраты фанерной облицовочной плиты

Толщина s1

Длина (ширина) l

Не менее 4

От 100 до 400

±0,4

±0,5

Примечания:

1. Паркетные щиты, выпускаемые на импортном и нестандартном оборудовании, установленном до введения настоящего стандарта, допускается изготовлять по рабочим чертежам, утвержденным в установленном порядке.

2. Допускается применение реек основания шириной более 55 мм с продольными компенсирующими пропилами, глубина пропила должна быть на (8±1) мм менее толщины реек.

3. Паркетные щиты толщиной 40 мм допускается изготовлять размерами 600×600 и 800×800 мм. Ширина реек обвязки таких щитов должна быть не менее 45 мм. Для щитов нелакированных пред. откл. По толщине ± 0,5 мм. Для щитов типа ПЩ3 предельные отклонения по длине и ширине ±0,6 мм.

1.7. Паркетные планки и квадраты шпона или фанерной облицовочной плиты наклеивают на основание паркетного щита в виде различных рисунков, варианты которых указаны на черт. 6 и 7. При расположении паркетных планок в одном направлении они должны быть наклеены перпендикулярно к рейкам основания. Направления волокон в шпоне и рейках должны быть взаимно перпендикулярными.

Паркетный щит с гребнями и пазами на противоположных кромках

Черт. 6

Примечание. Гребень и паз допускается обрабатывать типовым режущим инструментом, предназначенным для изготовления паркетной доски

Примечание к черт. 1-6. Высота шпунта s2 должна быть равной 4, 6, 8 мм с допускаемым откл. + 0,2 мм.

Варианты рисунков паркетных щитов

Черт. 7

Допускается изготовлять по согласованию изготовителя с потребителем паркетные щиты с др. вариантами расположения планок, а также сочетание паркетных планок из различных пород древесины с учетом художественного и цветового решения рисунка паркетного щита и паркетного покрытия в целом.

1.8. Условное обозначение паркетных щитов должно состоять из типа, марки, вида лицевого покрытия, размеров по длине, ширине, толщине и обозначения настоящего стандарта.

Пример условного обозначения паркетного щита типа ПЩ3 марки Б с лицевым покрытием из фанерной облицовочной плиты, размером 400×400×30 мм:

ПЩ3-Б-Ф-400 30 ГОСТ 862.4-87

2. ТЕХНИЧЕСКИЕ ТРЕБОВАНИЯ

2.1. Паркетные щиты изготовляют в соответствии с требованиями настоящего стандарта по технологической документации, утвержденной в установленном порядке.

2.2. Требования к паркетным щитам марки А соответствуют требованиям высшей категории качества.

Паркетные щиты, облицованные квадратами фанерной облицовочной плиты, шпона, а также планками из древесины сосны, изготовляют только марки Б.

2.3. Лицевое покрытие паркетных щитов следует изготовлять из древесины дуба, бука, ясеня, остролистного клена, береста (карагача), вяза, ильма, каштана, граба, тропических пород, белой акации, березы, сосны, лиственницы, а также модифицированной древесины с показателями эксплуатационных и физико-механических свойств, не уступающими древесине перечисленных пород.

2.4. Паркетные планки из сосны и лиственницы следует изготовлять с радиальным разрезом древесины. Угол наклона годичных слоев на торце к лицевой стороне планки должен быть не менее 45°.

2.5. Рейки и бруски основания паркетных щитов изготовляют из древесины хвойных пород, березы, осины и ольхи. Наличие в основании паркетного щита реек из древесины различных лиственных, а также лиственных и хвойных пород не допускается.

Рейки основания должны быть калиброванными по сечению, цельными или составными по длине.

2.6. Соединение реек по длине производят на зубчатый шип ГОСТ 19414. В основании паркетных щитов типов ПЩ2 и ПЩ4 допускается соединение реек встык.

Зазоры между кромками реек основания не должны быть более 3 мм.

2.7. Отклонения от формы паркетных щитов:

- перпендикулярность смежных кромок - не более 0,4 мм на длине 1000 мм;

- плоскостность (покоробленность) - не более 1,0 мм на длине 1000 мм.

2.8. Зазоры между паркетными планками, квадратами шпона или фанерной облицовочной плиты не должны быть более 0,3 мм.

Шпонки изготовляют из древесины хвойных, твердых лиственных пород, березы или фанеры.

Размеры шпонок, мм:

- толщина - 4; 6; 8 (пред. откл. - 0,2);

- ширина - 19 (пред. откл. ± 2,0);

- длина - должна соответствовать длине шпунта.

Допускается изготовлять шпонки составными по длине.

2.10. Качество древесины лицевой поверхности паркетных планок и квадратов шпона должно соответствовать указанному в табл. 2.

Таблица 2

Наименование порока древесины по ГОСТ 2140

Число и размер порока для марок

А

Б

1. Здоровые светлые и темные сучки:

Не допускаются размером более:

- сросшиеся

5 мм

10 мм

 

числом более:

 

2 шт.

3 шт.

 

на расстоянии менее 10 мм от торца

с выходом на торец планки

- частично сросшиеся и несросшиеся

Не допускаются

2. Трещины

Не допускаются шириной более 0,3 мм и длиной в долях длины планки более:

 

1/4

1/2

3. Наклон волокон

Не допускается более 5%

Не учитывается в планках лиственных пород.

Не допускается в планках хвойных пород более 10%.

4. Крень, свилеватость, завиток

Не допускаются с выходом на торец планки

5. Глазки

Не учитываются

6. Открытая однородная прорость

Не допускается

7. Кармашек, засмолок

Не допускаются

8. Пятнистость, водослой, химическая окраска, заболонные грибные окраски, побурение

То же

9. Отщеп, скол, вырыв, задир, выщербина, риска

Не допускаются шириной более 0,3 мм и глубиной более 1 мм

10. Ожог

Не допускается

Примечания:

1. Пороки древесины по ГОСТ 2140, не указанные в табл. 3, не допускаются.

2. Допускается изготовление паркетных планок марки Б с ложным ядром, побурением, химическими и заболонными грибными окрасками при условии комплектования планок в щитах по цвету.

3. На лицевой стороне паркетной планки или квадрата шпона не должно быть более двух учитываемых пороков.

4. Шпаклевку дефектов следует производить под цвет древесины водостойкими шпаклевками.

2.11. На лицевой поверхности квадрата фанерной облицовочной плиты не допускаются:

- вырывы, отщепы, сколы и царапины на наружных кромках шириной более 1,5 мм, длиной более 20 мм и числом более трех;

- зазоры от выпавших слоев шпона шириной более 1,5 мм, длиной более 100 мм и числом более 20;

- вмятины размером более 8×8 мм.

Другие пороки обработки по ГОСТ 2140 не допускаются.

Допускаемые пороки обработки должны быть зашпаклеваны под цвет древесины водостойкими шпаклевками.

2.12. В рейках основания не допускаются: гнили, острый обзол и несросшиеся сучки размерами более 1/2 ширины рейки. Обзол должен быть очищен от коры и луба. В шиповых соединениях рамочного основания щитов сучки не допускаются.

2.13. Непрофрезерованные участки на кромках и оборотной стороне щита не должны быть площадью более 20 % соответствующих поверхностей.

2.14. Влажность древесины щитов при отгрузке потребителю должна быть (9±2) %.

2.15. Параметры шероховатости поверхностей Rz по ГОСТ 7016 не должны быть более:

80 мкм       на лицевой стороне паркетных планок и шпона

120 мкм     на лицевой стороне фанерной облицовочной плиты

320 мкм     на продольных и поперечных кромках и на оборотной стороне щита.

Шероховатость кромок ДСП не регламентируется.

2.16. Клеевые соединения выполняют с применением синтетических клеев средней или повышенной водостойкости.

Предел прочности клеевого соединения при испытании на отрыв паркетных планок для щитов типов ПЩ1 и ПЩ4 должен быть не менее 0,6 МПа, а для щитов типа ПЩ3 при использовании ЦСП - не менее 0,3 МПа.

Для паркетных щитов типов ПЩ2 и ПЩ3 предел прочности при скалывании между паркетными планками и лущеным шпоном должен быть не менее 0,8 МПа.

Для паркетных щитов, облицованных квадратами фанерной облицовочной плиты или шпона, предел прочности при испытании на отрыв должен быть не менее 0,2 МПа.

2.17. Лицевая сторона паркетных щитов должна иметь прозрачное лаковое покрытие. Качество лакового покрытия должно быть не ниже требований 3-го класса по ГОСТ 24404. Толщина лаковой пленки, нанесенной в заводских условиях, должна быть не менее 60 мкм.

По согласованию изготовителя с потребителем допускается поставка паркетных щитов с нелакированной поверхностью.

2.18. Адгезия лакового покрытия к древесине должна быть не ниже 3-го балла по ГОСТ 15140.

2.19. Лакокрасочные, клеевые и древесноплитные материалы, применяемые в производстве паркетных щитов, должны быть разрешены к применению Министерством здравоохранения СССР.

3. ПРИЕМКА

3.1. Паркетные щиты принимают партиями. Партией считают число паркетных щитов одного типа, вида лицевого покрытия, марки, размера, варианта расположения планок, одной породы планок или одного сочетания планок из различных пород, оформленное одним документом о качестве.

3.2. Объем партии устанавливают по согласованию изготовителя с потребителем.

3.3. Шпонки поставляют в комплекте со щитами в кол.:

1,6 м    на щит   800×800 мм

1,2 м     «   «       600×600 мм

1,0 м     «   «       500×500 мм

0,8 м     «   «       400×400 мм

3.4. Для проверки соответствия паркетных щитов требованиям пп. 1.6, 1.7, 2.3-2.14 применяют выборочный одноступенчатый контроль по альтернативному признаку по ГОСТ 23616. Планы контроля при приемочном уровне дефектности 4 % приведены в табл. 4.

Таблица 4

шт.

Объем партии

Объем выборки

Приемочное число

Браковочное число

До 280 включ.

13

1

2

Св. 280 до 500 включ.

20

2

3

Св. 500 до 1200 включ.

32

3

4

Св. 1200 до 3200 включ.

50

5

6

Св. 3200 до 10000 включ.

80

7

8

3.5. Приемочный контроль паркетных щитов осуществляют в следующем порядке:

- отбирают от партии число паркетных щитов, соответствующее объему выборки для данного объема партии. Паркетные щиты в выборку следует отбирать методом случайного отбора по ГОСТ 18321;

- проверяют каждый паркетный щит в выборке на соответствие требованиям настоящего стандарта и определяют число паркетных щитов с дефектами;

- сравнивают число паркетных щитов с дефектами с приемочным и браковочным числами, установленными для данного объема выборки;

- партию принимают, если число паркетных щитов с дефектами в выборке меньше или равно приемочному числу;

- партию не принимают, если число паркетных щитов с дефектами в выборке равно или больше браковочного числа.

3.6. Для проверки соответствия паркетных щитов требованиям пп. 1.2, 2.15-2.17 из объема выборки по п. 3.2 произвольно отбирают не менее пяти щитов, из которых вырезают по три образца для каждого вида испытаний.

При неудовлетворительных результатах испытаний одного из отобранных щитов партия приемке не подлежит. За результат испытаний по каждому щиту принимают среднее арифметическое значение результатов испытаний трех образцов, вырезанных из этого щита, причем результат испытаний каждого образца не должен быть менее 90 % установленного в пп. 1.2, 2.15-2.17.

Если при испытании прочности клеевого соединения отрыв планки (квадрата) происходит по древесине (более 70 % площади склеивания), результат испытания признают удовлетворительным.

3.7. Паркетные щиты учитывают в квадратных метрах с погрешностью до 0,01 м2 и штуках. Площадь паркетного щита определяют по лицевой стороне без учета ширины гребня. Предельные отклонения в расчет не принимают.

4. МЕТОДЫ КОНТРОЛЯ

4.1. Отобранные паркетные щиты проверяют поштучно. Длину, ширину и форму паркетных щитов проверяют по лицевой стороне предельными калибрами по ОСТ 37.001.403 и штангенциркулем по ГОСТ 166, толщину - посередине и на расстоянии 10-15 мм от кромок паркетного щита индикаторным толщиномером по ГОСТ 11358 или штангенциркулем по ГОСТ 166.

4.2. Породу древесины, вид разреза, наличие пороков древесины оценивают визуально. Пороки древесины оценивают по ГОСТ 2140 (при этом размер сучка измеряют по его наименьшему диаметру).

4.3. Отклонения от перпендикулярности смежных кромок паркетного щита определяют поверочными угольниками по ГОСТ 3749 к щупами по ТУ 2-034-225, измеряя максимальный зазор между одной из смежных кромок паркетного щита и приложенным к ней угольником на длине щита.

4.4. Отклонение от плоскостности паркетных щитов определяют по диагонали лицевой стороны щита, измеряя максимальный зазор между поверхностью паркетного щита и ребром приложенной к ней поверочной линейки по ГОСТ 8026. Зазор измеряют щупом по ТУ 2-034-225.

4.5. Угол наклона годичных слоев на торце паркетной планки определяют в градусах транспортиром по ГОСТ 13494 между касательной к годичным слоям и пластью планки.

4.6. Влажность древесины лицевого покрытия и основания определяют по ГОСТ 16588.

4.7. Зазоры между паркетными планками или квадратами шпона и фанерной облицовочной плитой проверяют щупом по ТУ 2-034-225.

4.8. Шероховатость поверхности щитов определяют по ГОСТ 15612.

4.9. Толщину лакового покрытия проверяют по ГОСТ 13639.

Внешний вид лакокрасочного покрытия на лицевой поверхности паркетного щита оценивают в соответствии с требованиями ГОСТ 24404.

4.10. Прочность клеевого соединения на отрыв паркетных планок проверяют по ГОСТ 862.3, а на скалывание - по ГОСТ 9624.

4.11. Глубину пропитки кромок ДСП экструзионного прессования определяют проверкой плотности пропитанных участков по ГОСТ 10634.

4.12. Адгезию лакового покрытия к древесине определяют по ГОСТ 15140 методом решетчатых надрезов.

5. УПАКОВКА, МАРКИРОВКА, ТРАНСПОРТИРОВАНИЕ И ХРАНЕНИЕ

5.1. Паркетные щиты должны быть упакованы в пачки попарно лицевой стороной друг к другу. Между лакированными поверхностями паркетных щитов должна быть уложена прокладка из бумаги по ГОСТ 8273, размеры которой должны быть равны размерам щитов. Масса пачки не должна превышать 40 кг.

5.2. Каждая пачка должна содержать паркетные щиты одного типа, одной марки, одного вида лицевого покрытия, размера и варианта расположения планок. Пачки могут быть увязаны в транспортные пакеты.

5.3. Пачки упаковывают в полиэтиленовую пленку по ГОСТ 10354 или плотную бумагу по ГОСТ 515, ГОСТ 8273 и обвязывают стальной лентой по ГОСТ 3560, проволокой по ГОСТ 3282 или шпагатом по ГОСТ 17308.

Под стальную ленту или проволоку на ребрах пачки следует подкладывать прокладку из деревянных реек, картона или других упаковочных материалов, защищающих кромки паркетных щитов от механических повреждений при обвязке и транспортировании.

5.4. К каждой пачке или пакету должна быть прикреплена этикетка или бирка либо нанесена на упаковку несмываемой краской четкая маркировка в виде штампа, в которой должно быть указано:

- наименование или товарный знак предприятия-изготовителя;

- номер приемщика ОТК;

- условное обозначение паркетного щита;

- количество паркетных щитов в штуках и квадратных метрах;

- порода древесины лицевого покрытия.

5.5. Каждую партию сопровождают документом о качестве, в котором должно быть указано:

- наименование предприятия-изготовителя и его адрес;

- тип и марка паркетных щитов;

- порода древесины лицевого покрытия;

- количество паркетных щитов в штуках и квадратных метрах;

- номер партии;

- дата изготовления;

- обозначение настоящего стандарта.

5.6. Паркетные щиты перевозят всеми видами крытых транспортных средств в соответствии с правилами перевозки грузов, действующими на данных видах транспорта.

Допускается транспортирование паркетных щитов без упаковки по согласованию изготовителя с потребителем в закрытых контейнерах, обеспечивающих защиту изделий от механических повреждений и увлажнения.

5.7. При транспортировании паркетных щитов должна быть обеспечена целостность упаковки и соблюдены условия, исключающие возможность механических повреждений, увлажнения и загрязнения.

Погрузка щитов навалом и выгрузка сбрасыванием не допускается.

5.8. Паркетные щиты следует хранить в упаковке уложенными в правильные ряды в помещениях при относительной влажности воздуха не более 60 % в условиях, не допускающих увлажнения, поражения грибами и насекомыми.

6. УКАЗАНИЕ ПО ПРИМЕНЕНИЮ

6.1. Паркетные щиты укладывают по лагам и по сплошному основанию. Паркетные щиты толщиной 25 и 22 мм укладывают по сплошному основанию.

При укладке щитов по лагам расстояние между осями лаг должно быть равным ширине щита. Паркетные щиты размером 800×800 мм следует укладывать по лагам с шагом 400 мм.

7. ГАРАНТИИ ИЗГОТОВИТЕЛЯ

7.1. Изготовитель гарантирует соответствие паркетных щитов требованиям настоящего стандарта при соблюдении потребителем установленных стандартом условий транспортирования и хранения.

7.2. Гарантийный срок хранения паркетных щитов - 12 мес с момента изготовления.

ИНФОРМАЦИОННЫЕ ДАННЫЕ

1. РАЗРАБОТАН И ВНЕСЕН Министерством лесной, целлюлозно-бумажной и деревообрабатывающей промышленности СССР

РАЗРАБОТЧИКИ

Р. С. Самойлова, (руководитель темы); М. Б. Колмакова, В. В. Данилов, канд. техн. наук; И. А. Чиндяскин; Г. В. Левушкин; Н. В. Шведов

2. УТВЕРЖДЕН И ВВЕДЕН В ДЕЙСТВИЕ Постановлением Государственного строительного комитета СССР от 29.12.86 № 68

3. ВЗАМЕН ГОСТ 862.4-77

4. ССЫЛОЧНЫЕ НОРМАТИВНО-ТЕХНИЧЕСКИЕ ДОКУМЕНТЫ

Обозначение НТД, на который дана ссылка

Номер пункта

Обозначение НТД, на который дана ссылка

Номер пункта

ГОСТ 99-89

1.2

ГОСТ 10634-88

4.11

ГОСТ 166-89

4.1

ГОСТ 11358-89

4.1

ГОСТ 515-77

5.3

ГОСТ 13494-80

4.5

ГОСТ 862.3-86

4.10

ГОСТ 13639-82

4.9

ГОСТ 2140-81

2.10, 2.11, 4.2

ГОСТ 15140-78

2.18, 4.12

ГОСТ 3282-74

5.3

ГОСТ 15612-85

4.8

ГОСТ 3560-73

5.3

ГОСТ 16588-91

4.6

ГОСТ 3749-77

4.3

ГОСТ 17308-88

5.3

ГОСТ 7016-82

2.15

ГОСТ 18321-73

3.5

ГОСТ 8026-92

4.4

ГОСТ 19414-90

2.6

ГОСТ 8273-75

5.1, 5.3

ГОСТ 23616-79

3.4

ГОСТ 9330-76

1.2

ГОСТ 24404-80

2.17, 4.9

ГОСТ 9624-93

4.10

ГОСТ 26816-86

1.2

ГОСТ 10354-82

5.3

ТУ 2-034-225-87

4.3, 4.4, 4.7

ГОСТ 10632-89

1.2

ОСТ 37.001.403-85

4.1

5. ПЕРЕИЗДАНИЕ

СОДЕРЖАНИЕ

 

 




ГОСТЫ, СТРОИТЕЛЬНЫЕ и ТЕХНИЧЕСКИЕ НОРМАТИВЫ.
Некоммерческая онлайн система, содержащая все Российские Госты, национальные Стандарты и нормативы.
В Системе содержится более 150000 файлов нормативно-технической документации, действующей на территории РФ.
Система предназначена для широкого круга инженерно-технических специалистов.

Рейтинг@Mail.ru Яндекс цитирования

Copyright © www.gostrf.com, 2008 - 2026