Крупнейшая бесплатная информационно-справочная система онлайн доступа к полному собранию технических нормативно-правовых актов РФ. Огромная база технических нормативов (более 150 тысяч документов) и полное собрание национальных стандартов, аутентичное официальной базе Госстандарта. GOSTRF.com - это более 1 Терабайта бесплатной технической информации для всех пользователей интернета. Все электронные копии представленных здесь документов могут распространяться без каких-либо ограничений. Поощряется распространение информации с этого сайта на любых других ресурсах. Каждый человек имеет право на неограниченный доступ к этим документам! Каждый человек имеет право на знание требований, изложенных в данных нормативно-правовых актах!

  


 

МЕЖГОСУДАРСТВЕННЫЙ СТАНДАРТ

 

Правила, терки и полутерки

Технические условия

Darbies, floats and semifloats.

Specifications

ГОСТ

25782-90

                                                                           

Дата введения 01.01.91

 

Настоящий стандарт распространяется на правила, терки и полутерки, применяемые при производстве штукатурных работ.

 

1. Технические требования

1.1. Основные размеры

1.1.1. Правила, терки и полутерки должны изготовляться в соответствии с требованиями настоящего стандарта по рабочим чертежам и образцам-эталонам, утвержденным в установленном порядке.

1.1.2. Правила, терки и полутерки в зависимости от назначения должны изготовляться следующих типов, указанных в табл.1.

Таблица 1

Тип

Наименование

Назначение

ПП

Правило с прямой кромкой

Для разравнивания грунтовочного и накрывочного слоев штукатурного намета

ПЗ

Правило с зубчатой кромкой

Для разравнивания грунтовочного слоя и образования борозд для лучшего сцепления с последующим слоем штукатурного намета

ПУ

Правило усеночное

Для отделки наружных углов при выполнении штукатурных работ

ПЛ

Правило лузговое

Для отделки внутренних углов при выполнении штукатурных работ

Т

Терка

Для затирки накрывочного слоя

ТЦ

Терка цельнолитая

штукатурного намета

ПТ

Полутерок

Для заглаживания и затирки накрывочного

ПТЦ

Полутерок цельнолитой

слоя штукатурного намета

1.1.3. Варианты возможного исполнения правил, терок и полутерков, а также их основные размеры приведены на черт.1 - 8 и в табл. 2 - 6.

Форму ручек и оснований правил, терок и полутерков стандарт не устанавливает.

Правило с прямой кромкой

Тип ПП

1 -основание; 2 -стойка; 3 -ручка

Черт.1

Таблица 2

Размеры в мм

Типоразмер

L

l*

Масса, кг, не более

ПП1200

1200

800

1,7

ПП1600

1600

1200

2,2

ПП1800

1800

1400

2,5

________

* Размер для справок.

Правило с зубчатой кромкой

Тип ПЗ

1 - основание; 2 - стойка; 3 - ручка

Черт.2

Таблица 3

Размеры в мм

Типоразмер

L

l*

Масса, кг, не более

ПЗ1200

1200

800

1,60

ПЗ1600

1600

1200

2,15

ПЗ1800

1800

1400

2,40

________

* Размер для справок.

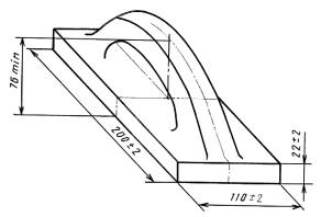
Правило усеночное

Тип ПУ

1 - основание; 2 - стойка; 3 - ручка; 4 - нож

Черт.3

Таблица 4

Размеры в мм

Типоразмер

L

l*

Масса, кг, не более

ПУ800

800

400

1,20

ПУ1000

1000

400

1,35

ПУ1200

1200

500

1,60

ПУ1500

1500

800

1,95

________

* Размер для справок.

Правило лузговое

Тип ПЛ

1 - основание; 2 - стойка; 3 - ручка; 4 - нож

Черт.4

Таблица 4

Размеры в мм

Типоразмер

L

l*

Масса, кг, не более

ПЛ800

800

400

1,06

ПЛ1000

1000

400

1,30

ПЛ1200

1200

500

1,60

ПЛ1500

1500

800

1,90

________

* Размер для справок.

Терка

Тип Т

1 - основание; 2 - стойка; 3 - ручка

Черт.5

Терка цельнолитая

Тип ТЦ

Черт.6

Полутерок

Тип ПТ

1 -основание; 2 -стойка; 3 -ручка; 4 -полотно

Черт.7

Таблица 4

Размеры в мм

Типоразмер

L

l*

Масса, кг, не более

ПТ500

500

400

0,75

ПТ750

750

400

1,20

ПТ1000

1000

800

1,40

________

* Размер для справок.

Полутерок цельнолитой

Тип ПТЦ

Черт.8

1.1.4. Неуказанные предельные отклонения размеров металлических деталей должны соответствовать 14-му квалитету по ГОСТ 25347.

1.1.5. Условные обозначения правил, терок и полутерков при заказе должны состоять из обозначения типа или типоразмера изделия и обозначения настоящего стандарта.

Пример условного обозначения правила с прямой кромкой длиной 1200 мм:

Правило с прямой кромкой ПП 1200 ГОСТ 25782-90

1.2. Характеристики и свойства

1.2.1. Соединение стоек правил и полутерков с основанием должно выдерживать усилие на отрыв не менее 392 Н (40 кгс).

1.2.2. Соединение ручек терок с основанием должно выдерживать усилие на отрыв не менее 98 Н (10 кгс).

1.2.3. Соединение основания с полотном терок и полутерков должно выдерживать усилие на сдвиг не менее 98 Н (10 кгс).

1.2.4. Ручки правил и полутерков со стойками должны соединяться плотно и выдерживать статическую нагрузку не менее 98 Н (10 кгс), направленную вдоль оси ручки.

1.2.5. Допуск плоскостности рабочей поверхности основания или полотна должен быть 2 мм на 1000 мм длины правил и полутерков и 0,8 мм на всей длине терок (за исключением терок с войлочным или поролоновым основанием).

1.2.6. Допуск симметричности поверхности ручек и поверхности стоек относительно общей поверхности симметрии правил, терок и полутерков 2,5 мм.

1.2.7. Выступание ножей усеночных и лузговых правил за рабочую поверхность основания не допускается.

1.2.8. Поверхность цельнолитых терок и полутерков из пенополиуретана не должны иметь облоя, сколов и трещин.

С рабочей поверхности терок и полутерков должна быть снята глянцевая поверхность интегрального слоя на глубину не более 1,5 мм.

По согласованию с потребителем допускается изготовление терок и полутерков без снятия глянцевой поверхности интегрального слоя.

1.2.9. Пластмассовые ручки не должны иметь грата, коробления, сколов, трещин, раковин, холодных стыков.

1.2.10. Ручки, изготовленные из древесины, не должны иметь трещин, гнили, прорости и червоточин.

Допускается не более двух здоровых, сросшихся, несквозных сучков диаметром не более 5 мм.

Остальные пороки древесины не должны превышать норм, установленных для пиломатериалов 1-го сорта по ГОСТ 2695 или ГОСТ 8486.

1.2.11. Влажность ручек, изготовленных из древесины, перед нанесением покрытия не должна быть более 18%.

1.2.12. Ручки правил, терок и полутерков, изготовленные из древесины, должны быть покрыты лаком по ГОСТ 4976 или эмалями.

По согласованию с потребителем допускается ручки, изготовленные из древесины лиственных пород, покрывать олифой "оксоль" по ГОСТ 190.

Лакокрасочные покрытия должны соответствовать классу V по ГОСТ 9.032, условия эксплуатации - группе У1 по ГОСТ 9.104.

1.2.13. Ножи усеночных и лузговых правил должны иметь покрытия по ГОСТ 9.306.

Выбор покрытия - по ГОСТ 9.303 для группы условий эксплуатации 3 по ГОСТ 15150.

1.3. Требования к сырью и материалам

1.3.1. Материалы для изготовления деталей правил, терок и полутерков должны соответствовать указанным в табл.7.

1.4. Маркировка

1.4.1. На каждом правиле, терке и полутерке должны быть нанесены:

- товарный знак предприятия-изготовителя;

- тип или типоразмер изделия;

- цена (для розничной продажи).

Примечание. Способ нанесения указанных маркировочных знаков должен обеспечивать их сохранность в течение всего срока службы изделия.

Таблица 7

Наименование изделия и его детали

Материал

Основание и стойка правил и полутерков

Алюминиевые сплавы марок АД31 или 1915 по ГОСТ 4784

Основание терок

Алюминий марки АД1 или алюминиевые сплавы марок Д1, Д16, АД31 или В95 по ГОСТ 4784

Полотно терок

Пенопласт плиточный поливинилхлоридный с кажущейся плотностью не менее 115 кг/м3 или пенопласт полистирольный плиточный или эластичный пенополиуретан марки ППУ-Э-40-08, выпускаемые по технической документации, утвержденной в установленном порядке, войлок по ГОСТ 6418 или ГОСТ 6308; пиломатериалы хвойных пород по ГОСТ 8486

Полотно полутерков

Пенопласт плиточный поливинилхлоридный с кажущейся плотностью не менее 115 кг/м3 или пенопласт полистирольный плиточный, выпускаемые по технической документации, утвержденной в установленном порядке

Ручка правил и полутерков

Пиломатериалы лиственных пород по ГОСТ 2695 или хвойных пород по ГОСТ 8486; стеклопластик, выпускаемый по технической документации, утвержденной в установленном порядке

Ручка терок

Фенопласт по ГОСТ 5689, полиэтилен низкого давления по ГОСТ 16338, ударопрочные пластмассы и полиамиды литьевые, выпускаемые по технической документации, утвержденной в установленном порядке; пиломатериалы лиственных по ГОСТ 2695 или хвойных по ГОСТ 8486 пород

Нож усеночных и лузговых правил

Сталь любых марок по ГОСТ 1050

Терка и полутерок цельнолитые

Пенополиуретан марки ППУ-322 (компоненты А и Б), выпускаемый по технической документации, утвержденной в установленном порядке

Примечание. Не допускается применять березу для изготовления ручек правил с основанием длиной св. 1600 мм.

1.5. Упаковка

1.5.1. Упаковка правил, терок и полутерков - по ГОСТ 18088 или ГОСТ 23170 по категории КУ-1.

По согласованию с потребителем допускается другая упаковка, обеспечивающая сохранность правил, терок и полутерков от механических повреждений и воздействия влаги во время транспортирования и хранения.

Масса ящиков брутто - не более 30 кг (для изделий, предназначенных для розничной продажи).

1.5.2. В транспортную тару должен быть вложен упаковочный лист, в котором должно быть указано:

- наименование предприятия-изготовителя;

- условное обозначение изделия;

- число изделий;

- штамп технического контроля;

- дата выпуска.

1.5.3. Маркировка транспортной тары - по ГОСТ 14192.

2. Приемка

2.1. Для проверки соответствия правил, терок и полутерков требованиям настоящего стандарта предприятие-изготовитель должно проводить приемосдаточные испытания.

2.2. Приемку и поставку правил, терок и полутерков производят партиями.

Объем партии устанавливают соглашением сторон.

Партия должна состоять из правил, терок и полутерков одного типоразмера, изготовленных из одних и тех же материалов, обработанных по одному технологическому процессу и одновременно предъявленных к приемке по одному документу.

2.3. При проведении приемосдаточных испытаний правил, терок и полутерков на соответствие пп.1.1.1, 1.2.1 - 1.2.13, 1.3.1.4 применяют двухступенчатый контроль в соответствии с табл.8.

Таблица 8

Объем партии, шт.

Ступень контроля

Объем одной выборки, шт.

Объем двух выборок, шт.

Приемочное число, шт.

Браковочное число, шт.

51-90

Первая

8

16

0

2

 

Вторая

 

 

1

2

91-150

Первая

13

26

0

3

 

Вторая

 

 

3

4

151-280

Первая

20

40

1

4

 

Вторая

 

 

4

5

281-500

Первая

32

64

2

5

 

Вторая

 

 

6

7

501-1200

Первая

50

100

3

7

 

Вторая

 

 

8

9

2.4. Партию правил, терок и полутерков принимают, если количество дефектных правил, терок или полутерков в первой выборке меньше или равно приемочному числу, и бракуют без назначения второй выборки, если количество дефектных правил, терок и полутерков больше или равно браковочному числу.

Если количество дефектных правил, терок или полутерков в первой выборке больше приемочного числа, но меньше браковочного, производят вторую выборку.

Партию правил, терок и полутерок принимают, если количество дефектных правил, терок и полутерков в двух выборках меньше или равно приемочному числу, и бракуют, если количество дефектных изделий в двух выборках больше или равно браковочному числу.

2.5. Потребитель имеет право проводить контрольную проверку качества правил, терок и полутерков, соблюдая при этом приведенный порядок отбора образцов и применяя методы испытаний, установленные настоящим стандартом.

3. Методы контроля (испытаний)

3.1. Линейные размеры правил, терок и полутерков должны проверяться при помощи универсальных измерительных средств с абсолютной погрешностью ±1 мм, диаметр сучков и глубина интегрального слоя - с абсолютной погрешностью ±0,1 мм.

3.2. Угловые размеры должны измеряться при помощи угломера по ГОСТ 5378 или шаблонами.

3.3. Допуск плоскостности (п.1.2.5) должен проверяться при помощи щупов на поверочной плите по ГОСТ 10905 или лекальной линейкой по ГОСТ 8026.

3.4. Допуск симметричности (п.1.2.6) должен проверяться при помощи шаблонов.

3.5. Требования пп.1.1.1 (в части образцов-эталонов), 1.2.7 - 1.2.10, 1.2.12, 1.2.13 проверяют визуально методом сравнения с образцом-эталоном.

Примечание. Требование п.1.2.10 проверяют до нанесения покрытия.

3.6. Влажность древесины (п.1.2.11) определяют по ГОСТ 16588 или при помощи влагомера.

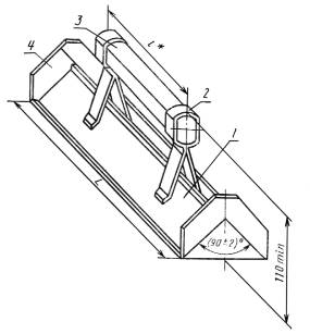
3.7. Прочность соединения деталей правил, терок и полутерков и прочность конструкций цельнолитых терок и полутерков (пп.1.2.1 - 1.2.4) проверяют с помощью динамометра общего применения 2-го класса точности методом приложения статической нагрузки Рст в течение 2 мин по схемам, приведенным на черт. 9 - 12, или тарированного груза.

Падение показаний на динамометре в момент приложения нагрузки не более 10% не является браковочным признаком.

 

Схема определения прочности

соединения стоек правил и

полутерков с основанием

Схема определения прочности

соединения ручек терок с

основанием и определения прочности

конструкции цельнолитых

терок и полутерков

Черт.9                                                                   Черт.10

 

Схема определения прочности

соединения ручек правил и

полутерков со стойками

Схема определения прочности

соединения основания терок

и полутерков с полотном

Черт.11                                                              Черт.12

 

4. Транспортирование и хранение

4.1. Упакованные правила, терки и полутерки могут транспортироваться транспортом любого вида при обеспечении мер, предохраняющих изделия от механических повреждений и воздействия влаги.

4.2. Хранение правил, терок и полутерков - по группе условий хранения 2 ГОСТ 15150.

 

ИНФОРМАЦИОННЫЕ ДАННЫЕ

1.   РАЗРАБОТАН И ВНЕСЕН Министерством тяжелого машиностроения СССР

      РАЗРАБОТЧИКИ

А.И. Полунин, В.Б. Игумнов, Э.В. Зайцева, Б.Г. Толков

2.   УТВЕРЖДЕН И ВВЕДЕН В ДЕЙСТВИЕ Постановлением Государственного строительного комитета СССР от 06.07.90 N 58

3.   ВЗАМЕН ГОСТ 25782-83

4.   ССЫЛОЧНЫЕ НОРМАТИВНО-ТЕХНИЧЕСКИЕ ДОКУМЕНТЫ

Обозначение НТД, на который дана ссылка

Номер пункта

ГОСТ 9.032-74

1.2.12

ГОСТ 9.104-79

1.2.12

ГОСТ 9.303-84

1.2.13

ГОСТ 9.306-85

1.2.13

ГОСТ 190-78

1.2.12

ГОСТ 1050-74

1.3.1

ГОСТ 2695-83

1.2.10, 1.3.1

ГОСТ 4784-74

1.3.1

ГОСТ 4976-83

1.2.12

ГОСТ 5378-88

3.2

ГОСТ 5689-79

1.3.1

ГОСТ 6308-71

1.3.1

ГОСТ 6418-81

1.3.1

ГОСТ 8026-75

3.3

ГОСТ 8486-86

1.2.10, 1.3.1

ГОСТ 10905-86

3.3

ГОСТ 14192-77

1.5.3

ГОСТ 15150-69

1.2.13, 4.2

ГОСТ 16338-85

1.3.1

ГОСТ 16588-79

3.6

ГОСТ 18088-83

1.5.1

ГОСТ 23170-78

1.5.1

ГОСТ 25347-82

1.1.4

5. ПЕРЕИЗДАНИЕ

 




ГОСТЫ, СТРОИТЕЛЬНЫЕ и ТЕХНИЧЕСКИЕ НОРМАТИВЫ.
Некоммерческая онлайн система, содержащая все Российские Госты, национальные Стандарты и нормативы.
В Системе содержится более 150000 файлов нормативно-технической документации, действующей на территории РФ.
Система предназначена для широкого круга инженерно-технических специалистов.

Рейтинг@Mail.ru Яндекс цитирования

Copyright © www.gostrf.com, 2008 - 2026