Крупнейшая бесплатная информационно-справочная система онлайн доступа к полному собранию технических нормативно-правовых актов РФ. Огромная база технических нормативов (более 150 тысяч документов) и полное собрание национальных стандартов, аутентичное официальной базе Госстандарта. GOSTRF.com - это более 1 Терабайта бесплатной технической информации для всех пользователей интернета. Все электронные копии представленных здесь документов могут распространяться без каких-либо ограничений. Поощряется распространение информации с этого сайта на любых других ресурсах. Каждый человек имеет право на неограниченный доступ к этим документам! Каждый человек имеет право на знание требований, изложенных в данных нормативно-правовых актах!

  


 

ГОСУДАРСТВЕННЫЙ СТАНДАРТ СОЮЗА ССР

Формы стальные для изготовления
железобетонных изделий

Проемообразователи и вкладыши

Конструкция

ГОСТ 28715-90

ГосударственнЫЙ строительнЫЙ комитет СССР

МОСКВА

ГОСУДАРСТВЕННЫЙ СТАНДАРТ СОЮЗА ССР

Формы стальные для изготовления
железобетонных изделий

Проемообразователи и вкладыши

Конструкции

Steel moulds for reinforced concrete members.
Elements forming openings and recesses. Design

ГОСТ
28715-90

Дата введения 01.01.91

Настоящий стандарт распространяется на сварные проемообразователи и вкладыши стальных форм для изготовления железобетонных изделий по ГОСТ 25781 и элементы их крепления к форме и устанавливает требования к конструкции основных стандартизируемых сборочных единиц и деталей.

Стандарт не распространяется на проемообразователи и вкладыши, изготовляемые из стальных, чугунных и алюминиевых отливок и полимерных материалов, на устройства, образующие в изделии каналы для электропроводки, и элементы архитектурного назначения.

1. Технические требования, требования безопасности, комплектности, правила приемки, методы контроля, упаковка и маркировка, транспортирование, хранение и гарантийный срок эксплуатации стандартизируемых элементов должны соответствовать ГОСТ 25781.

2. Проемообразователи и вкладыши в зависимости от условий распалубки железобетонных изделий по своей конструкции и способу крепления к форме подразделяют на:

стационарные;

съемные.

2.1. Стационарные проемообразователи и вкладыши - элементы, закрепленные на форме и не снимаемые с нее в пределах технологического цикла формования изделий.

2.2. Съемные проемообразователи и вкладыши - элементы формы, извлекаемые из бетона до съема изделия или вместе с ним.

3. Проемообразователи и вкладыши в зависимости от требований к переоснастке форм могут быть сменными.

Сменные проемообразователи и вкладыши - элементы формы, заменяемые, перемещаемые или снимаемые при переоснастке формы.

4. Проемообразователи и вкладыши изготовляют сварными из стального листа. Для повышения жесткости проемообразователей и вкладышей следует изготовлять их с каркасом из фасонного металлопроката или гнутого профиля. Формовочные поверхности проемообразователей изготовляют из листа толщиной не менее 8 мм, а вкладышей - из листа толщиной не менее 6 мм.

В технически обоснованных случаях для изготовления вкладышей допускается применение листа толщиной не менее 4 мм.

5. Формовочные поверхности проемообразователей и вкладышей должны иметь распалубочные (технологические) уклоны, обеспечивающие беспрепятственное извлечение их из изделия или съем изделия с них.

6. Проемообразователи, образующие проемы с двусторонними уклонами по толщине изделия, делают разъемными: нижнюю часть - рамку - крепят к поддону, верхнюю - щит - снимают до извлечения изделия из формы.

7. При установке в форме проемообразователей и вкладышей опирание их на настил поддона, отвечающего требованиям ГОСТ 25878, а также прилегание щитов к рамкам в разъемных проемообразователях должно производиться кромками, шероховатость поверхности которых не более Rа 20 мкм.

В местах примыкания зазоры не должны превышать 2 мм. При этом общая длина местных зазоров не должна быть более одной трети длины примыкания.

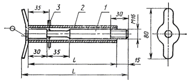
8. Проемообразователи или их верхние части (щиты), а также вкладыши, извлекаемые из бетона свежеотформованного изделия краном, должны иметь строповочные устройства.

Конструкция строповочных устройств должна отвечать требованиям ГОСТ 27204.

В технически обоснованных случаях допускается применение строповочных устройств другого типа.

9. Для обеспечения точности установки в форме в проектном положении съемных проемообразователей, вкладышей или отдельных элементов (щитов) следует применять направляющие штыри. Плотность прилегания проемообразователей, вкладышей или их элементов к соответствующим опорным поверхностям должна обеспечиваться массой устанавливаемого проемообразователя, вкладыша или при помощи стягивающих устройств.

10. Способы крепления в форме проемообразователей и вкладышей

10.1. Несменяемые стационарные проемообразователи и вкладыши крепят посредством резьбовых соединений, элементы которых приваривают к настилу поддона с нижней стороны, или приваркой закрепляемого элемента непосредственно к формовочной поверхности настила поддона.

Стационарные вкладыши крепят к бортам приваркой их непосредственно к формовочной поверхности борта.

10.2. Сменные стационарные проемообразователи и вкладыши в форме крепят при помощи застопоряемых (шплинты, отгибные шайбы и др.) резьбовых соединений.

10.3. Съемные вкладыши крепят к бортам, отвечающим требованиям ГОСТ 27204, при помощи фиксаторов.

Вкладыши, образующие в изделии штрабы и устанавливаемые на противоположных бортах, фиксируют направляющими штырями.

Съемные проемообразователи и вкладыши крепят к поддону в случае необходимости предотвращения их смещения в вертикальном направлении при формовании.

11. Примеры конструкции проемообразователей и вкладышей различного назначения приведены в приложении 1.

Примеры конструкции каркаса проемообразователей и вкладышей приведены в приложении 2.

Примеры установки стационарных проемообразователей и вкладышей в форме приведены в приложении 3.

Конструкция и размеры фиксаторов для крепления съемных проемообразователей и вкладышей и примеры их применения приведены в приложении 4.

Примеры установки щита проемообразователя приведены в приложении 5.

В технически обоснованных случаях допускается применение других способов и устройств крепления проемообразователей и вкладышей к поддону и бортам формы.

ПРИЛОЖЕНИЕ 1

Рекомендуемое

ПРИМЕРЫ КОНСТРУКЦИЙ ПРОЕМООБРАЗОВАТЕЛЕЙ И ВКЛАДЫШЕЙ

1. Конструкция проемообразователей с двусторонними уклонами

План формы

При формовании панели лицевой стороной вниз

При формовании панели лицевой стороной вверх

1 - проемообразователь оконного проема; 1.1 - щит; 1.2 - рамка; 2 - проемообразователь оконного и дверного проемов; 3 - вкладыш, образующий штрабу

Черт. 1

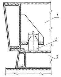
2. Конструкция проемообразователей и вкладышей с односторонними уклонами

2.1. Стационарный проемообразователь (вкладыш)

Черт. 2

2.2. Съемный проемообразователь (вкладыш)

Черт. 3

3. Конструкция вкладышей, образующих выемки (пазы, полки)

3.1. При установке на поддоне

Черт. 4

3.2. При установке на борту

Черт. 5

ПРИЛОЖЕНИЕ 2

Рекомендуемое

КОНСТРУКЦИЯ КАРКАСА ПРОЕМООБРАЗОВАТЕЛЕЙ И ВКЛАДЫШЕЙ

1. Для обеспечения геометрической точности формообразующих поверхностей проемообразователей и вкладышей, выполненных с каркасом, следует выполнять механическую обработку соответствующих поверхностей каркаса.

1.1. Каркас из швеллера

Вариант 1                                  Вариант 2

Черт. 6

1.2. Каркас из уголка

Черт. 7

1.3. Каркас из гнутого профиля

Вариант 1                                       Вариант 2

Черт. 8

ПРИЛОЖЕНИЕ 3

Рекомендуемое

УСТАНОВКА СТАЦИОНАРНЫХ ПРОЕМООБРАЗОВАТЕЛЕЙ И ВКЛАДЫШЕЙ В ФОРМЕ

1. Стационарные несменяемые элементы

1.1. Установка вкладыша на поддоне с приваркой по контуру снаружи

Черт. 9

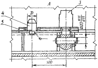
1.2. Установка вкладыша на поддоне с фиксацией гайки сваркой

1 - шпилька; 2 - гайка

Черт. 10

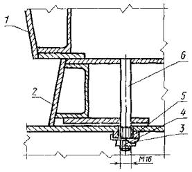
1.3. Установка разъемного проемообразователя с приваркой рамки с внутренней стороны

Черт. 11

Черт. 12

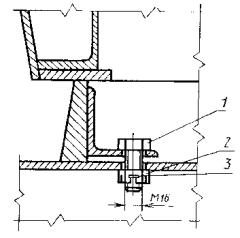
1.4. Установка вкладыша с приваркой к формовочной поверхности борта

Черт. 13

2. Стационарные сменные элементы

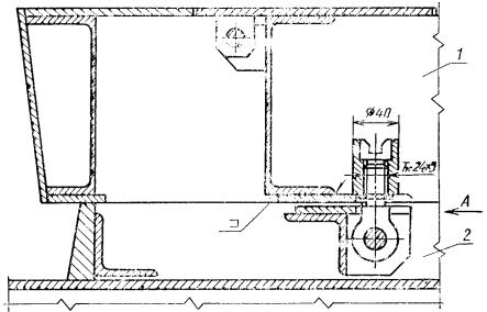
2.1. Установка вкладыша на поддоне на шпильках

1 - шпилька; 2 - платик; 3 - гайка; 4 - отгибная шайба

Черт. 14

2.2. Установка вкладыша на шпильках на поддоне с паровой полостью

1 - шпилька; 2 - направляющая; 3 - платик; 4 - гайка; 5 - отгибная шайба; 6 - поддон; 7 - вкладыш

Черт. 15

2.3. Установка рамки разъемного проемообразователя на шпильках

1 - щит; 2 - рамка; 3 - отгибная шайба; 4 - гайка; 5 - платик; 6 - шпилька

Черт. 16

1 - щит; 2 - рамка; 3 - отгибная шайба; 4 - гайка; 5 - платик; 6 - шпилька

Черт. 17

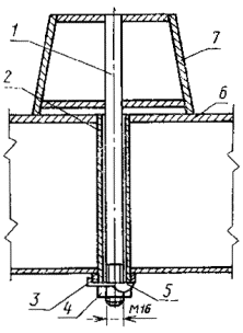
2.4. Установка рамки разъемного проемообразователя на болтах

1 - болт; 2 - гайка; 3 - шплинт

Черт. 18

2.5. Установка вкладыша на борту с креплением болтами

1 - болт; 2 - шайба отгибная; 3 - борт; 4 - вкладыш

Черт. 19

2.6. Установка вкладыша на борту с креплением на шпильках

1 - шпилька; 2 - гайка; 3 - отгибная шайба; 4 - борт; 5 - вкладыш

Черт. 20

ПРИЛОЖЕНИЕ 4

Рекомендуемое

УСТАНОВКА СЪЕМНЫХ ПРОЕМООБРАЗОВАТЕЛЕЙ И ВКЛАДЫШЕЙ В ФОРМЕ

1. Установка проемообразователей и вкладышей на поддоне

Конструкция и размеры элементов крепления съемных проемообразователей и вкладышей приведены на черт. 21 - 23.

Примеры применения фиксаторов приведены на черт. 24 - 26.

Фиксатор для съемных деталей

Черт. 21

Черт. 22

Платик

Черт. 23

Примеры применения фиксаторов

Черт. 24

Черт. 25

Черт. 26

2. Крепление вкладышей к бортам фиксаторами

Конструкция и размеры фиксаторов для съемных вкладышей приведены на черт. 27 и в табл. 1.

Примеры установки фиксаторов приведены на черт. 28 и в табл. 2.

1 - фиксатор; 2 - труба; 3 - скоба

Черт. 27

Таблица 1

мм

L

185

205

225

245

265

285

305

325

l

150

170

190

210

230

250

270

290

Примеры установки фиксаторов

Для бортов без теплоизоляции

Для бортов с теплоизоляцией

Черт. 28

Таблица 2

мм

В

До 100

Св. 100 до 120

Св. 120 до 140

Св. 140 до 165

Св. 165 до 185

Св. 185 до 205

Св. 205 до 225

Св. 225 до 245

L

150

170

190

210

230

250

270

290

ПРИЛОЖЕНИЕ 5

Рекомендуемое

УСТАНОВКА ЩИТА ПРОЕМООБРАЗОВАТЕЛЯ

1. Установка щита проемообразователя на штырях без применения стягивающих устройств

1 - щит; 2 - штырь; 3 - рамка

Черт. 29

2. Установка щита на штырях с креплением при помощи замка

1 - щит; 2 - рамка; 3 - замок; 4 - штырь; 5 - планка

Черт. 30

ИНФОРМАЦИОННЫЕ ДАННЫЕ

1. РАЗРАБОТАН и ВНЕСЕН Межотраслевым государственным объединением "Строммаш"

РАЗРАБОТЧИКИ

А.К. Шнейдер (руководитель темы); Ю.Д. Златоверов; В - П.П. Кириченко; Р.М. Колтовская; И.Н. Нагорняк

2. УТВЕРЖДЕН и ВВЕДЕН В ДЕЙСТВИЕ Постановлением Государственного строительного комитета СССР от 12.10.90 № 85

3. ВВЕДЕН ВПЕРВЫЕ

4. ССЫЛОЧНЫЕ НОРМАТИВНО-ТЕХНИЧЕСКИЕ ДОКУМЕНТЫ

Обозначение НТД, на который дана ссылка

Номер пункта

ГОСТ 25781-83

Вводная часть; 1

ГОСТ 25878-85

7

ГОСТ 27204-87

8; 10.3

 

 




ГОСТЫ, СТРОИТЕЛЬНЫЕ и ТЕХНИЧЕСКИЕ НОРМАТИВЫ.
Некоммерческая онлайн система, содержащая все Российские Госты, национальные Стандарты и нормативы.
В Системе содержится более 150000 файлов нормативно-технической документации, действующей на территории РФ.
Система предназначена для широкого круга инженерно-технических специалистов.

Рейтинг@Mail.ru Яндекс цитирования

Copyright © www.gostrf.com, 2008 - 2026