Крупнейшая бесплатная информационно-справочная система онлайн доступа к полному собранию технических нормативно-правовых актов РФ. Огромная база технических нормативов (более 150 тысяч документов) и полное собрание национальных стандартов, аутентичное официальной базе Госстандарта. GOSTRF.com - это более 1 Терабайта бесплатной технической информации для всех пользователей интернета. Все электронные копии представленных здесь документов могут распространяться без каких-либо ограничений. Поощряется распространение информации с этого сайта на любых других ресурсах. Каждый человек имеет право на неограниченный доступ к этим документам! Каждый человек имеет право на знание требований, изложенных в данных нормативно-правовых актах!

  


 

ГОСУДАРСТВЕННЫЙ СТАНДАРТ СОЮЗА ССР

ПОРОДЫ ГОРНЫЕ

МЕТОД ОПРЕДЕЛЕНИЯ ПРЕДЕЛА
ПРОЧНОСТИ ПРИ СРЕЗЕ СО СЖАТИЕМ

ГОСТ 21153.5-88

ГОСУДАРСТВЕННЫЙ КОМИТЕТ СССР ПО СТАНДАРТАМ

Москва

 

ГОСУДАРСТВЕННЫЙ СТАНДАРТ СОЮЗА ССР

ПОРОДЫ ГОРНЫЕ

Метод определения предела
прочности при срезе со сжатием

Rocks. Method for the determination
of cut strength limit

ГОСТ
21153.5-88

 

Срок действия с 01.07. 1976

до 01.07.94

Несоблюдение стандарта преследуется по закону

Настоящий стандарт распространяется на твердые горные породы с пределом прочности при одноосном сжатии не менее 5 МПа и устанавливает метод определения предела их прочности при срезе со сжатием цилиндрических или призматических или призматических образцов.

Метод предназначен для испытаний аналогичных по характеристикам или одинаковых объектов (породных образцов), проводимых для определения характеристик их свойств применительно к решению любых производственных и научно-исследовательских задач.

Стандарт не распространяется на мерзлые горные породы.

Сущность метода заключается в измерении разрушающей силы, приложенной к образцу, установленному в стальные наклонные матрицы испытательного устройства.

1. МЕТОД ОТБОРА ПРОБ

Отбор проб - по ГОСТ 21153.0-75 со следующими дополнениями:

размеры и объем проб должны обеспечивать изготовление образцов необходимого размера и количества, указанного в п.п. 3.4 и 3.8;

допускается взамен парафинирования производить консервацию проб негигроскопических пород битумированной бумагой по ГОСТ 515-77, полиэтиленовой пленкой по ГОСТ 10354-82 или другими водонепроницаемыми материалами, не вступающими во взаимодействие с горными породами.

При отборе проб дополнительно отбирают несколько кусков породы общей массой не менее 200 г для определения влажности пробы; куски дробят и сразу же помещают в бюксы, которые для надежной герметизации обматывают клейкой лентой. Определение влажности - по ГОСТ 5180-84.

2. ОБОРУДОВАНИЕ, ИНСТРУМЕНТЫ И МАТЕРИАЛЫ

Для проведения испытаний применяют оборудование, инструменты и материалы по ГОСТ 21153.0-75 со следующими дополнениями:

станки обдирочно-шлифовальный любой конструкции с плоским чугунным диском, плоскошлифовальный и токарный для изготовления образцов;

машины испытательные или прессы, отвечающие требованиям ГОСТ 8905-82 и ГОСТ 9753-81, максимальное усилие которых не менее чем на 20 % превышает предельную нагрузку на образец;

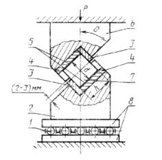
устройство испытательное, приведенное на чертеже, размещаемое на опорной плите испытательной машины (пресса), содержащее сменные разъемные матрицы с вкладышами  с разрезными обоймами для установки образца под углами наклона  и опорное приспособление в виде стальных плит с роликовой постелью. Режущие кромки вкладышей должны быть расположены в одной диаметральной (цилиндрические образцы) или срединной (призматические образцы) плоскости образца. Твердость вкладышей, плит и роликов 55 - 60 НRCэ;

фольгу медную толщиной 0,05 - 0,10 мм по ГОСТ 5638-75;

слесарный угольник по ГОСТ 3749-77;

шлифпорошок № 12-8 по ГОСТ 3647-80 - для доводки торцов образцов.

1 - роликовая постель; 2 - нижняя матрица;
3 - вкладыш; 4 - обоймы; 5 - фольга;
6 - верхняя матрица;
7 - образец; 8 - плиты

3. ПОДГОТОВКА К ИСПЫТАНИЮ

3.1. Для испытания изготовляют цилиндрические или призматические (с квадратным сечением) образцы.

3.2. Образцы выбуривают или вырезают на камнерезной машине из штуфов и кернов, их торцевые поверхности шлифуют.

3.3. Образцы из гигроскопических пород изготовляют без применения промывочной жидкости и до начала испытания хранят в эксикаторе.

Образцы выбирают по размерам, приведенным в табл. 1.

Таблица 1

Параметр образца

Размеры

предпочтительные

допускаемые

Диаметр (сторона квадрата), мм

42 ± 2

От 30 до 75 включ.

Отношение высоты h к диаметру (стороне квадрата) d

1,0 ± 0,1

3.4. Измерения производят штангенциркулем с погрешностью не более ± 0,1 мм. Диаметр (сторону квадрата) измеряют в трех местах по высоте образца (в середине и у торцов) в двух взаимно-перпендикулярных направлениях. Допускается разность диаметров (сторон квадрата) по этим измерениям не более 0,1 мм. За расчетный размер принимают среднее арифметическое значение результатов всех измерений. Средний диаметр образца должен быть меньше внутреннего диаметра обоймы не более чем на 0,2 мм.

3.5. Торцевые поверхности образца должны быть плоскими, параллельными друг другу и перпендикулярными к боковой поверхности.

Неплоскостность (выпуклость, вогнутость) проверяют линейкой штангенциркуля или боковой поверхностью слесарного угольника на отсутствие просвета и устраняют шлифованием.

Отклонение от параллельности измеряют индикатором, установленным на стойке по двум взаимно перпендикулярным направлениям; величина его должна быть не более 0,1 мм по диаметру (стороне квадрата).

Перпендикулярность проверяют слесарным угольником на отсутствие просвета в двух взаимно перпендикулярных направлениях.

3.6. Образующие боковых поверхностей образца должны быть прямолинейными и параллельными по всей высоте. Отклонения от прямолинейности и параллельности проверяют индикатором, установленным на стойке. Значения отклонений должны быть не более 0,2 мм.

3.7. Образцы одной выборки должны иметь одинаковые размеры. Допускаются отклонения значений диаметра (стороны квадрата) каждого образца от среднего арифметического значения по всем образцам выборки не более ± 0,1 мм и высоте не более ± 2,0 мм.

3.8. Количество образцов для испытания при каждом из углов наклона () должно быть не менее 6 при условии обеспечения надежности результатов  не менее 80 % и относительной погрешности  не более 30 %.

4. ПРОВЕДЕНИЕ ИСПЫТАНИЯ

4.1. Образец помещают в матрицу испытательного устройства. Между образцом и обоймами матрицы прокладывают фольгу.

4.2. Собранную с образцом матрицу вместе с опорным приспособлением устанавливают в центре опорной плиты испытательной машины (пресса), располагая оси роликов параллельно срезающим кромкам матрицы.

4.3. Образец нагружают равномерно со скоростью роста срезающих напряжений 1-5 МПа/с до полного разрушения по плоскости среза.

4.4. Значение разрушающей силы Р определяют в килоньютонах, зафиксированное силоизмерителем испытательной машины (пресса).

4.5. При необходимости определяют влажность испытанного образца. Для этого выбирают обломки образца, помещают их в бюксы не позже чем через 10 мин после выполнения испытаний. Дальнейшие операции - по ГОСТ 5180-84. Влажность фиксируют в журнале испытаний.

5. ОБРАБОТКА РЕЗУЛЬТАТОВ

5.1. Предел прочности при срезе () и нормальное сжимающее напряжение () в мегапаскалях для каждого образца вычисляют по формулам:

,  ,

где Р - разрушающая сила, кН;

 - угол между плоскостью среза и направлением действия разрушающей силы, град;

S = h × d - площадь плоскости среза образца, см2.

5.2. Обработку результатов испытаний образцов (n) при одном угле среза  производят в следующем порядке.

Вычисляют среднее арифметическое значение предела прочности , среднее квадратическое отклонение  и коэффициент вариации :

;

.

Определение фактической надежности  результатов испытаний и уточнение необходимого числа образцов n для достижения заданной надежности производят согласно приложению.

Вычисляют среднее арифметическое значение нормального сжимающего напряжения , среднее квадратическое отклонение  и коэффициент вариации :

;

;

.

5.3. Вычисления выполняют:

площади плоскости среза образца, частных и средних арифметического значений, а также среднего квадратического отклонения предела прочности при срезе и нормального сжимающего напряжения - до третьей значащей цифры;

коэффициента вариации - до целого числа.

5.4. Результаты испытаний представляют соответствующими парами средних значений предела прочности  и нормального сжимающего напряжения , а также коэффициентов вариации  и .

 

ПРИЛОЖЕНИЕ

Рекомендуемое

ОПРЕДЕЛЕНИЕ НАДЕЖНОСТИ И ПОГРЕШНОСТИ РЕЗУЛЬТАТОВ ИСПЫТАНИЯ, УТОЧНЕНИЕ НЕОБХОДИМОГО ЧИСЛА ОБРАЗЦОВ

Значения фактической надежности  результатов испытания устанавливают по табл. 2 по заданному максимальному значению относительной погрешности  в п. 3.8, вычисленному значению коэффициента вариации V и числе испытанных образцов n.

Если определенное таким образом значение надежности  меньше заданного, то испытывают дополнительное число образцов, которое устанавливают по табл. 2. После испытания обработку результатов повторяют для нового числа образцов в соответствии с п. 5.2.

При невозможности дополнительного числа образцов принимают заданное значение надежности  и по табл. 2 устанавливают фактическую погрешность  оценки средней прочности по пробе.

Таблица 2

Значение отношения

Надежность , %

число образцов, n, шт

6

7

8

9

10

11

12

0,4

63

66

70

74

76

79

81

0,6

80

84

87

89

91

92

94

0,8

90

92

94

96

96

98

98

1,0

94

96

97

98

99

99

99

1,2

96

98

99

99

100

100

100

1,4

98

99

99

100

100

100

100

1,6

99

99

100

100

100

100

100

 

ИНФОРМАЦИОННЫЕ ДАННЫЕ

1. РАЗРАБОТАН И ВНЕСЕН Министерством угольной промышленности СССР, Академией наук СССР, Министерством геологии СССР, Академией наук УССР, Академией наук Кирг.ССР, Министерством высшего и среднего специального образования СССР

ИСПОЛНИТЕЛИ

Ю.М. Карташов, Г.В. Михеев, Б.В. Матвеев, С.И. Войцеховская, В.А. Козлов, С.Е. Чирков, Ю.С. Макаров, И.А. Соломина, Л.Г. Медведев, Р.И. Тедер, К. А-К. Вайтекунас, В.В. Фромм, Б.М. Усаченко, В.В. Виноградов, В.П. Чередниченко, В.А. Мансуров, В.Н. Медведев, Г.Я. Новик, И.Ю. Буров, В.Н. Морозов, В.Д. Христолюбов.

2. УТВЕРЖДЕН И ВВЕДЕН В ДЕЙСТВИЕ Постановлением Государственного комитета СССР по стандартам от 15.03.88 № 547

3. Срок первой проверки - 1992 г.

Периодичность проверки - 5 лет

4. ВЗАМЕН ГОСТ 21153.5-75

5. ССЫЛОЧНЫЕ НОРМАТИВНО-ТЕХНИЧЕСКИЕ ДОКУМЕНТЫ

Обозначение НТД, на который дана ссылка

Номер раздела, пункта

ГОСТ 515-77

1

ГОСТ 3647-80

2

ГОСТ 3749-77

2

ГОСТ 5180-84

1, 4.5

ГОСТ 5638-75

2

ГОСТ 8905-82

2

ГОСТ 9753-81

2

ГОСТ 10354-82

1

ГОСТ 21153.0-75

1; 2

 

 

 




ГОСТЫ, СТРОИТЕЛЬНЫЕ и ТЕХНИЧЕСКИЕ НОРМАТИВЫ.
Некоммерческая онлайн система, содержащая все Российские Госты, национальные Стандарты и нормативы.
В Системе содержится более 150000 файлов нормативно-технической документации, действующей на территории РФ.
Система предназначена для широкого круга инженерно-технических специалистов.

Рейтинг@Mail.ru Яндекс цитирования

Copyright © www.gostrf.com, 2008 - 2026