Крупнейшая бесплатная информационно-справочная система онлайн доступа к полному собранию технических нормативно-правовых актов РФ. Огромная база технических нормативов (более 150 тысяч документов) и полное собрание национальных стандартов, аутентичное официальной базе Госстандарта. GOSTRF.com - это более 1 Терабайта бесплатной технической информации для всех пользователей интернета. Все электронные копии представленных здесь документов могут распространяться без каких-либо ограничений. Поощряется распространение информации с этого сайта на любых других ресурсах. Каждый человек имеет право на неограниченный доступ к этим документам! Каждый человек имеет право на знание требований, изложенных в данных нормативно-правовых актах!

  


 

ГОСУДАРСТВЕННЫЙ СТАНДАРТ СОЮЗА ССР

ПОРОДЫ ГОРНЫЕ

МЕТОДЫ ОПРЕДЕЛЕНИЯ КОЛЛЕКТОРСКИХ СВОЙСТВ

Метод определения коэффициента
открытой пористости жидкостенасыщением

ГОСТ 26450.1-85

ГОСУДАРСТВЕННЫЙ КОМИТЕТ СССР ПО СТАНДАРТАМ

Москва

РАЗРАБОТАНЫ Министерством геологии СССР, Министерством нефтяной промышленности, Министерством газовой промышленности

ИСПОЛНИТЕЛИ

В. И. Петерсилье, канд. г.-м. наук; Э. Г. Рабиц, канд. г.-м. наук; Л. А. Коцеруба, канд. г.-м. наук; А. Г. Ковалев, канд. г.-м. наук; Я. Р. Морозович, канд. г.-м. наук

ВНЕСЕНЫ Министерством геологии СССР

Зам. министра В. Ф. Рогов

УТВЕРЖДЕНЫ И ВВЕДЕНЫ В ДЕЙСТВИЕ Постановлением Государственного комитета СССР по стандартам от 27 февраля 1985 r. № 424

ГОСУДАРСТВЕННЫЙ СТАНДАРТ СОЮЗА ССР

ПОРОДЫ ГОРНЫЕ

Метод определения коэффициента
открытой пористости жидкостенасыщением

Rocks. Method for determination
of open porosity coefficient
by fluid saturation

ГОСТ
26450.1-85

Постановлением Государственного комитета СССР по стандартам от 27 февраля 1985 г. №424 срок действия установлен

с 01.07.86

до 01.07.91

Несоблюдение стандарта преследуется по закону

Настоящий стандарт распространяется на горные породы, насыщенные в природных условиях нефтью, газом или водой и устанавливает метод определения коэффициента открытой пористости образцов горных пород жидкостенасыщением.

Стандарт не распространяется на рыхлые горные породы.

Сущность метода заключается в определении объема пустотного пространства образца (по разности масс сухого и насыщенного жидкостью образца), его внешнего объема (по разности масс насыщенного жидкостью образца в воздухе и в насыщающей жидкости) и вычислении коэффициента пористости путем деления первого объема на второй.

1. МЕТОД ОТБОРА ОБРАЗЦОВ

1.1. Метод отбора образцов - по ГОСТ 26450.0-85.

2. ОБОРУДОВАНИЕ, ИНСТРУМЕНТЫ И РЕАКТИВЫ

2.1. Оборудование, инструменты и реактивы - по ГОСТ 26450.0-85 со следующим дополнением:

устройство для насыщения образцов (чертеж), конструкция которого предусматривает:

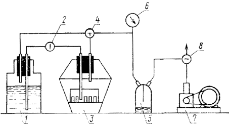
Принципиальная схема устройства для насыщения образцов

1 - сосуд для насыщающей жидкости; 2 - запорный кран; 3 - емкость для насыщения образцов; 4 - трехходовой кран; 5 - ловушка для предотвращения попадания жидкости в вакуумный насос; 6 - вакуумметр; 7 - вакуумный насос; 8 - запорный кран вакуум-насоса и заполнения системы атмосферным воздухом

возможность раздельного вакуумирования сухих образцов и насыщающей жидкости;

герметичность (при отсутствии следов жидкости установка должна быть герметична при остаточном давлении 2,0-10-4 МПа);

регулируемую подачу вакуумированной жидкости на дно сосуда с образцами для заполнения его снизу вверх;

одновременное насыщение не менее 25-30 образцов массой менее 60 г или 3-5 образцов массой менее 800 г;

возможность визуального контроля образцов и жидкости при вакуумировании и заполнении сосуда с образцами;

возможность медленного приведения давления в установке к атмосферному при выключенном источнике вакуумирования.

2.2. В качестве рабочей жидкости применяют керосин, дистиллированную воду или модель пластовой воды. В ведомости результатов указывают насыщающую жидкость.

2.2.1. Рабочая жидкость не должна:

вызывать набухания породы, отслаивания частиц, деформации образца;

вступать с веществом породы в химическое взаимодействие;

быть токсичной.

3. ПОДГОТОВКА К АНАЛИЗУ

3.1. Образцы правильной формы изготавливают из куска керна путем его бурения, обрезки, обточки и шлифовки; неправильной формы - путем откалывания, отпиливания и подшлифовки острых углов. Слабосцементированные сыпучие образцы укрепляют тонким слоем клея, оставляя участки поверхности для прохождения насыщающей жидкости.

3.2. Керосин очищают от смол дву-, трехкратной фильтрацией его через силикагель марки АСК, в адсорбционных колонках или делительных воронках, заполненных на 2/3 объема силикагелем. Кроме того, керосин может быть очищен перегонкой или с помощью бентонитовой глины. Плотность керосина определяют с погрешностью до 0,01 г/см3.

3.3. Модель пластовой воды приготавливают путем растворения в дистиллированной воде солей, преобладающих в составе пластовой воды. Качественный и количественный солевой состав рассчитывают на основании химического анализа пластовой воды.

4. ПРОВЕДЕНИЕ АНАЛИЗА

4.1. Для определения коэффициента открытой пористости образцы высушивают в сушильном шкафу при температуре (105±2) °С до постоянной массы M1 с погрешностью до 0,001 г - для образцов массой менее 20 г и с погрешностью до 0,01 г - для образцов массой более 20 г. При сушке образцов в термовакуумных шкафах температура сушки (70±2) °С, что рекомендуется для сильноглинистых пород.

4.2. Перед взвешиванием образцы охлаждают в эксикаторах над прокаленным хлористым кальцием или высокодисперсным силикагелем. В этих же эксикаторах образцы хранятся до насыщения рабочей жидкостью.

4.3. Насыщение образцов рабочей жидкостью проводят следующим образом.

4.3.1. Сухие взвешенные образцы устанавливают в кристаллизатор в один ряд и помещают в емкость 3 устройства для насыщения (см. чертеж).

4.3.2. В сосуд 1 заливают рабочую жидкость.

4.3.3. Вакуумируют раздельно образцы и рабочую жидкость. Жидкость вакуумируют до прекращения интенсивного выделения пузырьков газа. Время вакуумирования образцов выбирают в соответствии с рекомендуемым приложением 1.

4.3.4. По истечении времени вакуумирования перекрывают кран вакуум-насоса 8 и производят слив небольшого количества отвакуумированной жидкости через кран 2 таким образом, чтобы слой жидкости покрыл дно кристаллизатора на высоту 1,0 см для создания условий капиллярной пропитки.

4.3.5. Поднимают ступенями уровень жидкости по мере повышения уровня капиллярной пропитки. При повышении остаточного давления в системе включают на непродолжительное время вакуум-насос.

4.3.6. По окончании капиллярной пропитки поднимают уровень жидкости на высоту не менее 1,0 см над поверхностью образцов и вакуумируют до прекращения интенсивного выделения пузырьков газа.

4.3.7. Выключают вакуум-насос, медленно открывают кран 8 и извлекают кристаллизатор с образцами.

4.3.8. Оставляют образцы в жидкости для донасыщения при атмосферном давлении либо помещают в аппарат высокого давления и донасыщают при давлении 5,0-15,0 МПа. Время донасыщения образцов выбирают в соответствии с рекомендуемым приложением 1. После этого контролируют массу насыщенного образца взвешиванием в воздухе до получения постоянного значения (проводят контрольные взвешивания 2-3 образцов из партии).

4.3.9. При донасыщении образцов и при всех последующих операциях образцы выдерживают под уровнем жидкости, чтобы не было контакта их с атмосферой. Кристаллизатор закрывают крышкой. Если образцы насыщают моделью пластовой воды, кристаллизатор с образцами помещают в эксикатор для предотвращения испарения воды и, как следствие, изменения минерализации жидкости.

4.4. Взвешивание насыщенных образцов проводят с погрешностью до 0,001 г - для образцов с массой менее 20 г и с погрешностью до 0,01 г - для образцов с массой более 20 г.

4.4.1. После окончания процесса насыщения и донасыщения образцы взвешивают гидростатически, определяя массу образца, погруженного в жидкость – M2. Для этого над левой чашкой весов помещают мостик, на который ставят стакан с отвакуумированной рабочей жидкостью, которой насыщены образцы. Из кристаллизатора, где находятся насыщенные образцы, извлекают образец и помещают его в корзинку из тонкой проволоки или петлю из лески, которую подвешивают к дужке левой чашки весов. Образец при этом должен быть погружен в стакан с жидкостью под уровень последней и не должен касаться стенок и дна стакана в момент взвешивания. Уровень жидкости в стакане в момент достижения равновесия должен быть приведен к одной и той же отметке для всех образцов. Определяют массу образца, помещенного в жидкость с подвеской - (M2+а). Образец помещают обратно в кристаллизатор под уровень жидкости. По окончании гидростатического взвешивания каждой партии образцов определяют гидростатическую массу подвески (корзинки, лески) - а.

4.4.2. После завершения гидростатического взвешивания всей партии, проводят взвешивание насыщенных образцов в воздухе. Для этого образец вынимают из кристаллизатора и удаляют избыток жидкости с его поверхности. Эту операцию проводят с помощью смоченной в этой же жидкости фильтровальной бумаги или обкатывают образец на стекле, пока поверхность образца не потеряет блеск и не станет матовой. Определяют массу насыщенного жидкостью образца в воздухе - M3.

5. ОБРАБОТКА РЕЗУЛЬТАТОВ

5.1. Результаты взвешивания, определения плотности рабочей жидкости и вычисление открытой пористости записывают в журнал или специальную перфокарту в соответствии с рекомендуемым приложением 2.

5.2. Коэффициент открытой пористости п) в процентах вычисляют по формуле

,

где M1 - масса сухого образца горной породы, г;

M2 - масса насыщенного жидкостью образца горной породы в насыщающей жидкости, г;

M3 - масса насыщенного жидкостью образца горной породы в воздухе, г.

5.3. При определении коэффициента открытой пористости жидконасыщением вычисляют по результатам взвешивания образца объемную плотность (δп), г/см3, по формуле

,

где δж - плотность рабочей жидкости, г/см3

и кажущуюся минералогическую плотность (δк.м.п.), г/см3, по формуле:

.

5.4. Допустимые погрешности определения коэффициента открытой пористости методом жидкостенасыщения не должны превышать максимальные погрешности, расчет которых приведен в справочном приложении 3.

ПРИЛОЖЕНИЕ 1
Рекомендуемое

Таблица рекомендуемых режимов насыщения образцов для определения коэффициента открытой пористости жидкостенасыщением

Масса
образца, г

Проницаемость, мкм2

Время, ч

вакуумирования образцов

капиллярной пропитки под вакуумом

до насыщения

при атмосферном давлении

под давлением

От 20 до 60

10-2

2

0,2

10

0,5

10-3-10-2

3

0,5

24

1,0

10-4-10-3

4

0,5

48

1,5

10-4

6

1,0

72

2,0

От 300 до 800

10-2

3

0,5

24-48

1,0

10-3-10-2

4

1,0

48-72

2,0

10-4-10-3

5

2,0

72-96

3,0

10-4

8

2,0

96-192

4,0


ПРИЛОЖЕНИЕ 2
Рекомендуемое

Форма и пример записи результатов при определении коэффициента открытой пористости с примером записи результатов

Лабораторный номер образца

Масса сухого образца М1

Гидростатическое взвешивание

Масса жидкости в порах образца (M3- M1) г

Масса вытесненной жидкости (M3- M2) г

Открытая пористость Кп, %

Плотность рабочей жидкости δж г/см3

Объемная плотность δп, г/см3

Кажущуюся минералогическую плотность (δк.м.п.), г/см3

Масса насыщенного образца с подвесом в жидкости (M2+а), г

Масса повеса в жидкости а, г

Масса насыщенного образца в жидкости M2,г

Масса насыщенного жидкостью образца в воздухе M3,г

212

34,944

21,161

0,005

21,155

35,907

0,963

14,751

6,5

1,06

2,51

2,69

216

48,134

29,107

0,005

29,102

50,592

2,458

21,490

11,4

1,06

2,37

2,68

702

609,13

361,23

0,05

351,18

651,74

42,61

230,55

14,7

1,08

2,26

2,65

705

551,53

326,42

0,05

323,37

578,92

27,39

252,55

10,8

1,08

2,35

2,63


ПРИЛОЖЕНИЕ 3
Справочное

ПОГРЕШНОСТЬ ОПРЕДЕЛЕНИЯ КОЭФФИЦИЕНТА ОТКРЫТОЙ ПОРИСТОСТИ

1. Погрешность определения коэффициента открытой пористости слагается из:

погрешности взвешивания, г;

погрешности подготовки насыщенного образца к взвешиванию, г;

погрешности, вызванной неполнотой насыщения.

Суммарная относительная погрешность выражается формулой

,

где ΔКп - абсолютная погрешность определения пористости, %;

ΔКпп - относительная погрешность определения пористости;

ΔМ1 - погрешность взвешивания;

ΔМ31 - погрешность подготовки насыщенного образца к взвешиванию в воздухе;

φ - погрешность из-за неполноты насыщения.

1.1. Величина ΔМ мала, при взвешивании на технических весах 1-го класса не превышает ±0,02 г - удвоенного порога чувствительности этих весов.

1.2. Погрешность подготовки насыщенного образца к взвешиванию в воздухе зависит от опыта лаборанта. По экспериментальным данным, заключающимся в многократном повторении осушения поверхности и взвешивании одних и тех же образцов, эта погрешность не превышает погрешности взвешивания. Можно принять ΔМ31=ΔМ=±0,02 г.

1.3. Погрешность из-за неполноты насыщения может быть сменена в результате экспериментальных работ и выражается в виде:

,

где Vn - полный объем порового пространства;

ΔV - недонасыщенный объем.

Согласно экспериментальным данным при соблюдении режимов насыщения (см. приложение 1) погрешность из-за неполноты насыщения исчезающе мала (φ≈0).

2. Суммарная относительная погрешность определения коэффициента открытой пористости составляет:

при Кп>15%          - 2%,

при 5<Кп<15%      - от 2 до 5%,

при Кп<5%            - до 10%.

СОДЕРЖАНИЕ

1. Метод отбора образцов. 2

2. Оборудование, инструменты и реактивы.. 2

3. Подготовка к анализу. 2

4. Проведение анализа. 3

5. Обработка результатов. 4

Приложение 1 рекомендуемое Таблица рекомендуемых режимов насыщения образцов для определения коэффициента открытой пористости жидкостенасыщением.. 4

Приложение 2 рекомендуемое Форма и пример записи результатов при определении коэффициента открытой пористости с примером записи результатов. 5

Приложение 3 справочное Погрешность определения коэффициента открытой пористости. 6

 

 




ГОСТЫ, СТРОИТЕЛЬНЫЕ и ТЕХНИЧЕСКИЕ НОРМАТИВЫ.
Некоммерческая онлайн система, содержащая все Российские Госты, национальные Стандарты и нормативы.
В Системе содержится более 150000 файлов нормативно-технической документации, действующей на территории РФ.
Система предназначена для широкого круга инженерно-технических специалистов.

Рейтинг@Mail.ru Яндекс цитирования

Copyright © www.gostrf.com, 2008 - 2026