| |

ГОСУДАРСТВЕННЫЙ СТАНДАРТ СОЮЗА ССР
ЧАСТИ СОЕДИНИТЕЛЬНЫЕ ЧУГУННЫЕ,
ИЗГОТОВЛЕННЫЕ ЛИТЬЕМ В ПЕСЧАНЫЕ
ФОРМЫ ДЛЯ ТРУБОПРОВОДОВ
ТЕХНИЧЕСКИЕ УСЛОВИЯ
ГОСТ 5525-88
КОМИТЕТ СТАНДАРТИЗАЦИИ И МЕТРОЛОГИИ СССР
Москва
ГОСУДАРСТВЕННЫЙ СТАНДАРТ СОЮЗА ССР
|
ЧАСТИ СОЕДИНИТЕЛЬНЫЕ ЧУГУННЫЕ,
ИЗГОТОВЛЕННЫЕ ЛИТЬЕМ В ПЕСЧАНЫЕ
ФОРМЫ ДЛЯ ТРУБОПРОВОДОВ
Технические условия
Pig iron connecting parts manufactured
by pouring into sand moulds for pipelines.
Specifications
|
ГОСТ
5525-88
|
Срок действия с 01.01.90
до 01.01.95
1.1 Наименования и
обозначения раструбных (черт. 1) и
фланцевых (черт. 2) соединительных
частей устанавливаются в соответствии с табл. 1.
Таблица 1
|
Наименование
|
Эскиз
|
Обозначения на
схемах
|
Обозначения в
документах
|
Чертеж
|
|
1. Раструбное и фланцевое
соединение
|
|
|
|
1 и 2
|
|
2. Тройник фланцевый
|

|

|
ТФ
|
3
|
|
3. Тройник раструбный
|

|

|
ТР
|
4
|
|
4. Тройник раструб-фланец
|

|

|
ТРФ
|
5
|
|
5. Крест фланцевый
|

|

|
КФ
|
6
|
|
6. Крест раструбный
|

|

|
КР
|
7
|
|
7. Крест раструб - фланец
|

|

|
КРФ
|
8
|
|
8. Выпуск фланцевый
|

|

|
ВФ
|
9
|
|
9. Выпуск раструбный
|

|

|
ВР
|
10
|
|
10. Колено фланцевое
|

|

|
УФ
|
11
|
|
11. Колено раструбное
|

|

|
УР
|
12
|
|
12. Колено раструб - гладкий
конец
|

|

|
УРГ
|
13
|
|
13. Отвод раструбный
|

|

|
ОР
|
14
|
|
14. Отвод раструб - гладкий
конец
|

|

|
ОРГ
|
15
|
|
15. Переход фланцевый
|

|

|
ХФ
|
16
|
|
16. Переход раструб - фланец
|

|

|
ХРФ
|
17
|
|
17. Переход раструбный
|

|

|
ХР
|
18
|
|
18. Переход раструб - гладкий
конец
|

|

|
ХРГ
|
19
|
|
19. Патрубок фланец - раструб
|

|

|
ПФР
|
20
|
|
20. Патрубок фланец - гладкий
конец
|

|

|
ПФГ
|
21
|
|
21. Двойной раструб
|

|

|
ДР
|
22
|
|
22. Муфта надвижная
|

|

|
МН
|
23
|
|
23. Муфта свертная
|

|

|
МС
|
24
|
|
24. Заглушка фланцевая
|

|

|
ЗФ
|
25
|
|
25. Седелка фланцевая
|

|

|
СФ
|
26
|
|
26. Седелка с резьбой
|

|

|
СР
|
27
|
|
27. Пожарная подставка
раструбная
|

|

|
ППР
|
28
|
|
28. Тройник раструб-фланец с
пожарной подставкой
|

|

|
ППТРФ
|
29
|
|
29. Тройник фланцевый с
пожарной подставкой
|

|

|
ППТФ
|
30
|
|
30. Крест фланец - раструб с
пожарной подставкой
|

|

|
ППКРФ
|
31
|
|
31. Крест фланцевый с пожарной
подставкой
|

|

|
ППКФ
|
32
|
1.2. Размеры и масса
раструбов приведены в табл. 2 и на черт. 1. Размеры и масса фланцев приведены в
табл. 3 и на черт. 2. Форма и размеры соединительных частей приведены в табл.
4 - 24
и на черт. 3 - 32.
Примечания:
1. Размеры
соединительных частей и допускаемые отклонения на них предусмотрены для изделий без покрытия.
2. Соединительные части с условными проходами 350 и 450 мм при новом
проектировании не применять.
Раструбное соединение

Черт.
1
Фланцевое соединение

Черт.
2
Таблица 2
Размеры,
мм
|
Условный проход D0
|
Dн
|
Dр
|
D1
|
S2
|
b
|
c
|
f
|
h
|
l1
|
l2
|
l3
|
l4
|
P
|
R
|
R1
|
Масса раструба, кг
|
|
65
|
81
|
93
|
99
|
25
|
25
|
3
|
9,0
|
8
|
65
|
10
|
40
|
20
|
1,0
|
21,5
|
33,0
|
4,4
|
|
80
|
98
|
110
|
116
|
27
|
27
|
3
|
9,0
|
8
|
65
|
10
|
40
|
20
|
1,0
|
21,5
|
37,0
|
5,2
|
|
100
|
118
|
131
|
137
|
28
|
27
|
5
|
9,5
|
8
|
65
|
15
|
40
|
20
|
1,0
|
22,5
|
38,0
|
6,6
|
|
125
|
144
|
157
|
163
|
29
|
28
|
5
|
9,5
|
8
|
65
|
15
|
45
|
20
|
1,0
|
23,0
|
52,0
|
8,9
|
|
150
|
170
|
183
|
189
|
30
|
30
|
5
|
9,5
|
8
|
70
|
15
|
45
|
20
|
1,0
|
23,5
|
48,0
|
10,7
|
|
200
|
222
|
235
|
241
|
32
|
32
|
5
|
9,5
|
8
|
70
|
15
|
50
|
20
|
1,0
|
25,0
|
57,0
|
14,6
|
|
250
|
274
|
287
|
294
|
34
|
34
|
5
|
10,0
|
8
|
75
|
15
|
50
|
20
|
1,0
|
26,5
|
50
|
20,4
|
|
300
|
326
|
339
|
346
|
36
|
36
|
6
|
10,0
|
8
|
75
|
20
|
55
|
30
|
1,5
|
28,0
|
64
|
26,7
|
|
350
|
378
|
391
|
398
|
38
|
38
|
6
|
10,0
|
10
|
80
|
20
|
60
|
30
|
1,5
|
29,0
|
73
|
33,9
|
|
400
|
429
|
442
|
449
|
40
|
40
|
6
|
10,0
|
10
|
80
|
20
|
65
|
30
|
1,5
|
30,5
|
80
|
41,9
|
|
450
|
480
|
494
|
501
|
41
|
41
|
6
|
10,5
|
10
|
85
|
20
|
70
|
30
|
1,5
|
32,0
|
89
|
49,8
|
|
500
|
532
|
546
|
553
|
43
|
42
|
6
|
10,5
|
10
|
85
|
20
|
75
|
30
|
1,5
|
33,5
|
99
|
61,0
|
|
600
|
635
|
650
|
657
|
46
|
43
|
6
|
11,0
|
10
|
90
|
25
|
80
|
40
|
2,0
|
36,5
|
100
|
83,0
|
|
700
|
738
|
753
|
760
|
50
|
44
|
7
|
11,0
|
10
|
95
|
25
|
85
|
40
|
2,0
|
39,0
|
108
|
112,2
|
|
800
|
842
|
857
|
865
|
54
|
45
|
7
|
11,5
|
12
|
100
|
30
|
90
|
50
|
2,5
|
42,0
|
110
|
143,3
|
|
900
|
945
|
960
|
968
|
58
|
46
|
8
|
11,5
|
12
|
105
|
30
|
100
|
50
|
2,5
|
44,5
|
135
|
184,6
|
|
1000
|
1048
|
1064
|
1072
|
62
|
48
|
8
|
12,0
|
12
|
110
|
35
|
110
|
50
|
2,5
|
47,0
|
151
|
238,5
|
|
1200
|
1256
|
1273
|
1281
|
70
|
50
|
8
|
12,5
|
12
|
115
|
35
|
130
|
50
|
2,5
|
52,5
|
165
|
319,5
|
Примечания:
1. У
соединительных частей переход цилиндра в раструб можно выполнить в виде уступа
(вариант I) или же с
уклоном (вариант II).
2. Толщина стенок соединительных частей S1 больше толщины стенок
труб S.
Утолщение стенок достигается за счет уменьшения внутреннего диаметра, как
показано на чертеже штрих-пунктирной линией.
Таблица 3
Размеры, мм
|
D0
|
b
|
f
|
r
|
d
|
D1
|
D2
|
Резиновая
прокладка
|
D5
|
a
|
Болты
|
Масса фланца, кг
|
|
D3
|
D4
|
кол-во
|
диаметр
|
|
65
|
21
|
40
|
6
|
19
|
140
|
180
|
69
|
132
|
132
|
3
|
4
|
М16
|
3,30
|
|
80
|
22
|
43
|
6
|
19
|
160
|
200
|
80
|
138
|
138
|
3
|
4
|
М16
|
4,03
|
|
100
|
22
|
43
|
6
|
19
|
180
|
220
|
105
|
158
|
158
|
3
|
4
|
М16
|
4,53
|
|
125
|
24
|
43
|
6
|
19
|
210
|
250
|
130
|
188
|
188
|
3
|
8
|
М16
|
6,00
|
|
150
|
24
|
43
|
6
|
23
|
240
|
285
|
156
|
212
|
212
|
3
|
8
|
М20
|
7,38
|
|
200
|
26
|
45
|
8
|
23
|
295
|
340
|
206
|
268
|
268
|
3
|
8
|
М20
|
10,30
|
|
250
|
28
|
45
|
8
|
23
|
350
|
395
|
256
|
320
|
320
|
3
|
12
|
М20
|
13,30
|
|
300
|
28
|
45
|
8
|
23
|
400
|
445
|
306
|
370
|
370
|
4
|
12
|
М20
|
15,30
|
|
350
|
30
|
50
|
8
|
23
|
460
|
505
|
356
|
430
|
430
|
4
|
16
|
М20
|
20,10
|
|
400
|
32
|
50
|
10
|
26
|
515
|
565
|
406
|
482
|
482
|
4
|
16
|
M22
|
25,40
|
|
450
|
32
|
50
|
10
|
26
|
565
|
615
|
456
|
530
|
530
|
4
|
20
|
M22
|
27,60
|
|
500
|
34
|
50
|
10
|
26
|
620
|
670
|
506
|
585
|
585
|
4
|
20
|
M22
|
32,90
|
|
600
|
36
|
55
|
10
|
31
|
725
|
780
|
606
|
685
|
685
|
5
|
20
|
M27
|
43,00
|
|
700
|
40
|
55
|
10
|
31
|
840
|
895
|
710
|
800
|
800
|
5
|
24
|
M27
|
58,10
|
|
800
|
44
|
60
|
10
|
34
|
950
|
1015
|
810
|
905
|
905
|
5
|
24
|
M30
|
80,10
|
|
900
|
46
|
60
|
10
|
34
|
1050
|
1115
|
910
|
1005
|
1005
|
5
|
28
|
M30
|
93,50
|
|
1000
|
50
|
65
|
10
|
37
|
1160
|
1230
|
1010
|
1115
|
1115
|
5
|
28
|
М30
|
119,00
|
|
1200
|
56
|
70
|
15
|
43
|
1380
|
1455
|
1210
|
1330
|
1330
|
5
|
32
|
M40
|
167,00
|
Примечания:
1. Болтовые
отверстия на фланцах соединительных частей должны быть расположены так, чтобы
их не было ни на вертикальной, ни на горизонтальной оси фланца.
2. Толщина стенок соединительных частей S1
больше толщины стенок труб S. Утолщение стенок
достигается за счет уменьшения внутреннего диаметра, как показано на чертеже
штрих-пунктирной линией.
3. Допускается выполнение фланцев с выступами
согласно размерам Ds и а.
Тройник
фланцевый

Обозначение фланцевого
тройника со стволом условного прохода 400 мм и с отростком условного прохода
150 мм:
Тройник ТФ 400´150 ГОСТ 5525-88
Черт.
3
Тройник раструбный

Обозначение раструбного
тройника со стволом условного прохода 500 мм и с отростком условного прохода
150 мм:
Тройник ТР 500´150 ГОСТ 5525-88
Черт.
4
Тройник раструб - фланец

Обозначение тройника
раструба - фланца со стволом условного прохода 100 мм и с отростком условного
прохода 80 мм:
Тройник ТРФ 100´80 ГОСТ 5525-88
Черт.
5
Крест фланцевый

Обозначение фланцевого
креста со стволом условного прохода 600 мм и с отростком условного прохода 300
мм:
Крест
КФ 600´300 ГОСТ 5525-88
Черт.
6
Крест раструбный

Обозначение раструбного
креста со стволом условного прохода 600 мм и с отростком условного прохода 250
мм:
Крест
КР 600´250 ГОСТ 5525-88
Черт.
7
Крест раструб - фланец

Обозначение креста раструба
- фланца со стволом условного прохода 400 мм и с отростком условного прохода
125 мм:
Крест
КРФ 400´125 ГОСТ 5525-88
Черт.
8
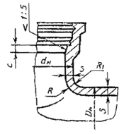
Примечание. На чертежах ось
ствола расположена горизонтально, ось отростков - вертикально.
Таблица 4
Размеры,
мм
|
Условный проход
ствола D0
|
Обозначение
размеров
|
Условный проход
отростка d0
|
Наружный диаметр
ствола Dн
|
Толщина стенки
ствола S
|
|
65
|
80
|
100
|
125
|
150
|
200
|
250
|
300
|
350
|
400
|
450
|
500
|
600
|
700
|
800
|
900
|
1000
|
1200
|
|
65
|
l
|
140
|
|
|
|
|
|
|
|
|
|
|
|
|
|
|
|
|
|
81
|
9
|
|
l1
|
140
|
|
|
|
|
|
|
|
|
|
|
|
|
|
|
|
|
|
|
l2
|
115
|
|
|
|
|
|
|
|
|
|
|
|
|
|
|
|
|
|
|
l3
|
115
|
|
|
|
|
|
|
|
|
|
|
|
|
|
|
|
|
|
|
S1
|
9
|
|
|
|
|
|
|
|
|
|
|
|
|
|
|
|
|
|
|
80
|
l
|
150
|
150
|
|
|
|
|
|
|
|
|
|
|
|
|
|
|
|
|
98
|
10
|
|
l1
|
150
|
150
|
|
|
|
|
|
|
|
|
|
|
|
|
|
|
|
|
|
l2
|
125
|
125
|
|
|
|
|
|
|
|
|
|
|
|
|
|
|
|
|
|
l3
|
115
|
125
|
|
|
|
|
|
|
|
|
|
|
|
|
|
|
|
|
|
S1
|
9
|
10
|
|
|
|
|
|
|
|
|
|
|
|
|
|
|
|
|
|
100
|
l
|
200
|
200
|
200
|
|
|
|
|
|
|
|
|
|
|
|
|
|
|
|
118
|
10
|
|
l1
|
150
|
175
|
200
|
|
|
|
|
|
|
|
|
|
|
|
|
|
|
|
|
l2
|
125
|
125
|
150
|
|
|
|
|
|
|
|
|
|
|
|
|
|
|
|
|
l3
|
125
|
125
|
150
|
|
|
|
|
|
|
|
|
|
|
|
|
|
|
|
|
S1
|
9
|
10
|
10
|
|
|
|
|
|
|
|
|
|
|
|
|
|
|
|
|
125
|
l
|
225
|
225
|
225
|
225
|
|
|
|
|
|
|
|
|
|
|
|
|
|
|
144
|
11
|
|
l1
|
175
|
175
|
175
|
225
|
|
|
|
|
|
|
|
|
|
|
|
|
|
|
|
l2
|
140
|
150
|
150
|
200
|
|
|
|
|
|
|
|
|
|
|
|
|
|
|
|
l3
|
140
|
150
|
150
|
200
|
|
|
|
|
|
|
|
|
|
|
|
|
|
|
|
S1
|
9
|
10
|
10
|
11
|
|
|
|
|
|
|
|
|
|
|
|
|
|
|
|
150
|
l
|
250
|
250
|
250
|
250
|
250
|
|
|
|
|
|
|
|
|
|
|
|
|
|
170
|
11
|
|
l1
|
200
|
200
|
200
|
200
|
250
|
|
|
|
|
|
|
|
|
|
|
|
|
|
|
l2
|
140
|
150
|
150
|
200
|
200
|
|
|
|
|
|
|
|
|
|
|
|
|
|
|
l3
|
150
|
150
|
150
|
200
|
200
|
|
|
|
|
|
|
|
|
|
|
|
|
|
|
S1
|
9
|
10
|
10
|
11
|
11
|
|
|
|
|
|
|
|
|
|
|
|
|
|
|
200
|
l
|
300
|
300
|
300
|
300
|
300
|
300
|
|
|
|
|
|
|
|
|
|
|
|
|
222
|
13
|
|
l1
|
225
|
225
|
225
|
225
|
225
|
300
|
|
|
|
|
|
|
|
|
|
|
|
|
|
l2
|
140
|
150
|
200
|
200
|
200
|
250
|
|
|
|
|
|
|
|
|
|
|
|
|
|
l3
|
200
|
200
|
200
|
200
|
200
|
250
|
|
|
|
|
|
|
|
|
|
|
|
|
|
S1
|
9
|
10
|
10
|
11
|
11
|
13
|
|
|
|
|
|
|
|
|
|
|
|
|
|
250
|
l
|
|
300
|
300
|
300
|
300
|
300
|
300
|
|
|
|
|
|
|
|
|
|
|
|
274
|
14
|
|
l1
|
|
250
|
250
|
250
|
250
|
275
|
300
|
|
|
|
|
|
|
|
|
|
|
|
|
l2
|
|
150
|
200
|
200
|
200
|
250
|
250
|
|
|
|
|
|
|
|
|
|
|
|
|
l3
|
|
200
|
200
|
250
|
250
|
250
|
250
|
|
|
|
|
|
|
|
|
|
|
|
|
S1
|
|
10
|
10
|
11
|
11
|
13
|
14
|
|
|
|
|
|
|
|
|
|
|
|
|
300
|
l
|
|
300
|
300
|
300
|
300
|
300
|
300
|
300
|
|
|
|
|
|
|
|
|
|
|
326
|
15
|
|
l1
|
|
275
|
275
|
275
|
275
|
300
|
300
|
300
|
|
|
|
|
|
|
|
|
|
|
|
l2
|
|
150
|
200
|
200
|
200
|
250
|
250
|
300
|
|
|
|
|
|
|
|
|
|
|
|
l3
|
|
250
|
250
|
250
|
250
|
250
|
250
|
300
|
|
|
|
|
|
|
|
|
|
|
|
S1
|
|
10
|
10
|
11
|
11
|
13
|
14
|
15
|
|
|
|
|
|
|
|
|
|
|
|
350
|
l
|
|
|
300
|
300
|
300
|
300
|
300
|
300
|
350
|
|
|
|
|
|
|
|
|
|
378
|
16
|
|
l1
|
|
|
300
|
300
|
300
|
300
|
325
|
325
|
350
|
|
|
|
|
|
|
|
|
|
|
l2
|
|
|
200
|
200
|
200
|
250
|
250
|
300
|
300
|
|
|
|
|
|
|
|
|
|
|
l3
|
|
|
250
|
300
|
300
|
300
|
300
|
300
|
300
|
|
|
|
|
|
|
|
|
|
|
S1
|
|
|
10
|
11
|
11
|
13
|
14
|
15
|
16
|
|
|
|
|
|
|
|
|
|
|
400
|
l
|
|
|
300
|
300
|
300
|
300
|
300
|
400
|
400
|
400
|
|
|
|
|
|
|
|
|
429
|
17
|
|
l1
|
|
|
325
|
325
|
325
|
350
|
350
|
350
|
375
|
400
|
|
|
|
|
|
|
|
|
|
l2
|
|
|
200
|
200
|
250
|
250
|
250
|
300
|
300
|
300
|
|
|
|
|
|
|
|
|
|
l3
|
|
|
300
|
300
|
300
|
300
|
300
|
300
|
350
|
350
|
|
|
|
|
|
|
|
|
|
S1
|
|
|
10
|
11
|
11
|
13
|
14
|
15
|
16
|
17
|
|
|
|
|
|
|
|
|
|
450
|
l
|
|
|
300
|
300
|
300
|
300
|
300
|
400
|
400
|
400
|
450
|
|
|
|
|
|
|
|
480
|
18
|
|
l1
|
|
|
350
|
350
|
350
|
375
|
375
|
400
|
400
|
400
|
450
|
|
|
|
|
|
|
|
|
l2
|
|
|
200
|
200
|
250
|
250
|
250
|
300
|
300
|
400
|
400
|
|
|
|
|
|
|
|
|
l3
|
|
|
300
|
350
|
350
|
350
|
350
|
350
|
350
|
350
|
400
|
|
|
|
|
|
|
|
|
S1
|
|
|
10
|
11
|
11
|
13
|
14
|
15
|
16
|
17
|
18
|
|
|
|
|
|
|
|
|
500
|
l
|
|
|
300
|
300
|
300
|
300
|
400
|
400
|
400
|
400
|
500
|
500
|
|
|
|
|
|
|
532
|
19
|
|
l1
|
|
|
375
|
375
|
375
|
400
|
400
|
425
|
425
|
425
|
450
|
500
|
|
|
|
|
|
|
|
l2
|
|
|
200
|
200
|
250
|
250
|
250
|
300
|
300
|
400
|
400
|
400
|
|
|
|
|
|
|
|
l3
|
|
|
350
|
350
|
350
|
350
|
350
|
350
|
400
|
400
|
400
|
400
|
|
|
|
|
|
|
|
S1
|
|
|
12
|
12
|
12
|
13
|
14
|
15
|
16
|
17
|
18
|
19
|
|
|
|
|
|
|
|
600
|
l
|
|
|
|
|
300
|
300
|
400
|
400
|
400
|
400
|
500
|
500
|
550
|
|
|
|
|
|
635
|
21
|
|
l1
|
|
|
|
|
450
|
450
|
450
|
475
|
475
|
475
|
500
|
500
|
550
|
|
|
|
|
|
|
l2
|
|
|
|
|
250
|
250
|
300
|
300
|
400
|
400
|
400
|
400
|
450
|
|
|
|
|
|
|
l3
|
|
|
|
|
400
|
400
|
400
|
400
|
450
|
450
|
450
|
450
|
450
|
|
|
|
|
|
|
S1
|
|
|
|
|
14
|
14
|
14
|
15
|
16
|
17
|
18
|
19
|
21
|
|
|
|
|
|
|
700
|
l
|
|
|
|
|
400
|
400
|
400
|
400
|
400
|
500
|
500
|
500
|
600
|
600
|
|
|
|
|
738
|
24
|
|
l1
|
|
|
|
|
500
|
500
|
500
|
525
|
525
|
525
|
550
|
550
|
550
|
600
|
|
|
|
|
|
l2
|
|
|
|
|
250
|
250
|
300
|
300
|
400
|
400
|
450
|
400
|
500
|
550
|
|
|
|
|
|
l3
|
|
|
|
|
450
|
450
|
450
|
450
|
500
|
500
|
500
|
500
|
500
|
550
|
|
|
|
|
|
S1
|
|
|
|
|
16
|
16
|
16
|
16
|
16
|
17
|
18
|
19
|
21
|
24
|
|
|
|
|
|
800
|
l
|
|
|
|
|
|
400
|
400
|
400
|
500
|
500
|
500
|
500
|
700
|
700
|
700
|
|
|
|
842
|
26
|
|
l1
|
|
|
|
|
|
550
|
550
|
575
|
575
|
575
|
600
|
600
|
625
|
625
|
700
|
|
|
|
|
l2
|
|
|
|
|
|
300
|
300
|
300
|
400
|
400
|
400
|
500
|
500
|
600
|
600
|
|
|
|
|
l3
|
|
|
|
|
|
500
|
500
|
550
|
550
|
550
|
550
|
550
|
550
|
550
|
600
|
|
|
|
|
S1
|
|
|
|
|
|
18
|
18
|
18
|
18
|
18
|
18
|
19
|
21
|
24
|
26
|
|
|
|
|
900
|
l
|
|
|
|
|
|
400
|
400
|
400
|
500
|
500
|
500
|
500
|
700
|
700
|
700
|
750
|
|
|
945
|
28
|
|
l1
|
|
|
|
|
|
600
|
625
|
625
|
625
|
650
|
650
|
650
|
675
|
675
|
700
|
750
|
|
|
|
l2
|
|
|
|
|
|
300
|
300
|
300
|
400
|
400
|
400
|
500
|
500
|
600
|
600
|
650
|
|
|
|
l3
|
|
|
|
|
|
550
|
550
|
600
|
600
|
600
|
600
|
600
|
600
|
600
|
600
|
650
|
|
|
|
S1
|
|
|
|
|
|
20
|
20
|
20
|
20
|
20
|
20
|
20
|
21
|
24
|
26
|
28
|
|
|
|
1000
|
l
|
|
|
|
|
|
|
500
|
500
|
500
|
500
|
500
|
700
|
700
|
700
|
700
|
800
|
800
|
|
1048
|
30
|
|
l1
|
|
|
|
|
|
|
675
|
675
|
675
|
700
|
700
|
700
|
725
|
750
|
800
|
800
|
800
|
|
|
l2
|
|
|
|
|
|
|
400
|
400
|
400
|
400
|
400
|
500
|
500
|
600
|
600
|
700
|
700
|
|
|
l3
|
|
|
|
|
|
|
600
|
650
|
650
|
650
|
650
|
650
|
650
|
650
|
700
|
700
|
700
|
|
|
S1
|
|
|
|
|
|
|
21
|
21
|
21
|
21
|
21
|
21
|
21
|
24
|
26
|
28
|
30
|
|
|
1200
|
l
|
|
|
|
|
|
|
|
500
|
500
|
500
|
700
|
700
|
700
|
700
|
800
|
800
|
1000
|
1000
|
1256
|
34
|
|
l1
|
|
|
|
|
|
|
|
800
|
800
|
800
|
800
|
825
|
825
|
850
|
900
|
900
|
900
|
1000
|
|
l2
|
|
|
|
|
|
|
|
400
|
400
|
400
|
400
|
500
|
500
|
600
|
600
|
700
|
700
|
850
|
|
l3
|
|
|
|
|
|
|
|
750
|
750
|
750
|
750
|
750
|
750
|
750
|
800
|
800
|
800
|
850
|
|
S1
|
|
|
|
|
|
|
|
24
|
24
|
24
|
24
|
24
|
24
|
24
|
26
|
28
|
30
|
34
|

Таблица 5
Размеры,
мм
|
Условный проход
отростка, d0
|
65
|
80
|
100
|
125
|
150
|
200
|
250
|
300
|
350
|
400
|
450
|
500
|
600
|
700
|
800
|
900
|
1000
|
1200
|
|
Наружный диаметр отростка
|
81
|
98
|
118
|
144
|
170
|
222
|
274
|
326
|
378
|
429
|
480
|
532
|
635
|
738
|
842
|
945
|
1048
|
1256
|
|
Радиус сопряжения
|
25
|
25
|
30
|
30
|
30
|
40
|
40
|
40
|
50
|
50
|
50
|
50
|
50
|
50
|
60
|
60
|
70
|
80
|
|
Высота фаски
|
7
|
8
|
9
|
10
|
11
|
12
|
13
|
14
|
15
|
17
|
19
|
20
|
22
|
25
|
28
|
31
|
35
|
40
|
Примечания:
1. Размеры
раструбов - по черт. 1.
2. Размеры
фланцев - по черт. 2.
3. При условных проходах ствола более 500 мм по согласованию
изготовителя с потребителем допускается изготовление тройников и крестов с
лазом размерами по черт. 9 и 10.
Таблица 6
Масса
тройников и крестов
|
Условный проход
ствола
D0, мм
|
Обозначение
соединительной части
|
Условный проход
отростка d0, мм
|
|
65
|
80
|
100
|
125
|
150
|
200
|
250
|
300
|
350
|
400
|
450
|
500
|
600
|
700
|
800
|
900
|
1000
|
1200
|
|
кг
|
|
65
|
ТФ
|
15,2
|
|
|
|
|
|
|
|
|
|
|
|
|
|
|
|
|
|
|
ТРФ
|
16,7
|
|
|
|
|
|
|
|
|
|
|
|
|
|
|
|
|
|
|
ТР
|
17,4
|
|
|
|
|
|
|
|
|
|
|
|
|
|
|
|
|
|
|
КФ
|
19,7
|
|
|
|
|
|
|
|
|
|
|
|
|
|
|
|
|
|
|
КРФ
|
21,2
|
|
|
|
|
|
|
|
|
|
|
|
|
|
|
|
|
|
|
КР
|
22,6
|
|
|
|
|
|
|
|
|
|
|
|
|
|
|
|
|
|
|
80
|
ТФ
|
18,6
|
20,0
|
|
|
|
|
|
|
|
|
|
|
|
|
|
|
|
|
|
ТРФ
|
19,9
|
21,3
|
|
|
|
|
|
|
|
|
|
|
|
|
|
|
|
|
|
ТР
|
20,5
|
22,0
|
|
|
|
|
|
|
|
|
|
|
|
|
|
|
|
|
|
КФ
|
23,1
|
25,9
|
|
|
|
|
|
|
|
|
|
|
|
|
|
|
|
|
|
КРФ
|
24,4
|
27,2
|
|
|
|
|
|
|
|
|
|
|
|
|
|
|
|
|
|
КР
|
25,6
|
28,8
|
|
|
|
|
|
|
|
|
|
|
|
|
|
|
|
|
|
100
|
ТФ
|
23,5
|
25,0
|
26,6
|
|
|
|
|
|
|
|
|
|
|
|
|
|
|
|
|
ТРФ
|
23,7
|
25,4
|
28,3
|
|
|
|
|
|
|
|
|
|
|
|
|
|
|
|
|
ТР
|
24,5
|
25,6
|
29,1
|
|
|
|
|
|
|
|
|
|
|
|
|
|
|
|
|
КФ
|
27,4
|
31,2
|
34,3
|
|
|
|
|
|
|
|
|
|
|
|
|
|
|
|
|
КРФ
|
28,1
|
31,6
|
36,0
|
|
|
|
|
|
|
|
|
|
|
|
|
|
|
|
|
КР
|
29,6
|
31,9
|
37,6
|
|
|
|
|
|
|
|
|
|
|
|
|
|
|
|
|
125
|
ТФ
|
31,5
|
32,8
|
33,6
|
37,6
|
|
|
|
|
|
|
|
|
|
|
|
|
|
|
|
ТРФ
|
31,7
|
33,6
|
34,4
|
41,7
|
|
|
|
|
|
|
|
|
|
|
|
|
|
|
|
ТР
|
32,3
|
34,3
|
35,9
|
43,8
|
|
|
|
|
|
|
|
|
|
|
|
|
|
|
|
КФ
|
36,1
|
38,7
|
40,4
|
48,3
|
|
|
|
|
|
|
|
|
|
|
|
|
|
|
|
КРФ
|
36,3
|
39,5
|
41,2
|
52,4
|
|
|
|
|
|
|
|
|
|
|
|
|
|
|
|
КР
|
37,4
|
40,8
|
44,1
|
56,6
|
|
|
|
|
|
|
|
|
|
|
|
|
|
|
|
150
|
ТФ
|
39,2
|
40,8
|
41,7
|
44,0
|
48,0
|
|
|
|
|
|
|
|
|
|
|
|
|
|
|
ТРФ
|
37,2
|
39,4
|
40,3
|
46,6
|
50,6
|
|
|
|
|
|
|
|
|
|
|
|
|
|
|
ТР
|
37,6
|
39,5
|
41,1
|
49,5
|
51,9
|
|
|
|
|
|
|
|
|
|
|
|
|
|
|
КФ
|
44,1
|
46,8
|
48,6
|
53,3
|
59,0
|
|
|
|
|
|
|
|
|
|
|
|
|
|
|
КРФ
|
42,0
|
45,4
|
47,2
|
55,9
|
63,9
|
|
|
|
|
|
|
|
|
|
|
|
|
|
|
КР
|
42,7
|
45,8
|
48,9
|
61,7
|
66,6
|
|
|
|
|
|
|
|
|
|
|
|
|
|
|
200
|
ТФ
|
62,4
|
63,6
|
64,4
|
66,7
|
68,5
|
78,3
|
|
|
|
|
|
|
|
|
|
|
|
|
|
ТРФ
|
51,2
|
53,6
|
60,6
|
62,9
|
64,7
|
80,7
|
|
|
|
|
|
|
|
|
|
|
|
|
|
ТР
|
51,9
|
54,4
|
62,5
|
65,4
|
67,5
|
81,9
|
|
|
|
|
|
|
|
|
|
|
|
|
|
КФ
|
67,1
|
69,6
|
71,3
|
75,7
|
79,4
|
98,9
|
|
|
|
|
|
|
|
|
|
|
|
|
|
КРФ
|
55,9
|
59,6
|
67,5
|
71,9
|
75,6
|
101
|
|
|
|
|
|
|
|
|
|
|
|
|
|
КР
|
57,4
|
61,0
|
70,4
|
76,1
|
80,2
|
104
|
|
|
|
|
|
|
|
|
|
|
|
|
|
250
|
ТФ
|
|
82,2
|
83,0
|
85,1
|
86,9
|
93,2
|
101
|
|
|
|
|
|
|
|
|
|
|
|
|
ТРФ
|
|
71,5
|
80,6
|
82,8
|
83,6
|
99,1
|
107
|
|
|
|
|
|
|
|
|
|
|
|
|
ТР
|
|
71,7
|
81,4
|
85,7
|
87,8
|
102
|
110
|
|
|
|
|
|
|
|
|
|
|
|
|
КФ
|
|
88,1
|
89,7
|
94,0
|
97,5
|
110
|
125
|
|
|
|
|
|
|
|
|
|
|
|
|
КРФ
|
|
77,4
|
86,5
|
91,4
|
94,0
|
116
|
132
|
|
|
|
|
|
|
|
|
|
|
|
|
КР
|
|
77,7
|
88,4
|
97,4
|
102
|
122
|
137
|
|
|
|
|
|
|
|
|
|
|
|
|
300
|
ТФ
|
|
100
|
101
|
103
|
105
|
111
|
116
|
120
|
|
|
|
|
|
|
|
|
|
|
|
ТРФ
|
|
90,7
|
102
|
105
|
106
|
123
|
128
|
143
|
|
|
|
|
|
|
|
|
|
|
|
ТР
|
|
91,7
|
104
|
107
|
109
|
124
|
131
|
155
|
|
|
|
|
|
|
|
|
|
|
|
КФ
|
|
106
|
108
|
112
|
115
|
127
|
137
|
147
|
|
|
|
|
|
|
|
|
|
|
|
КРФ
|
|
96,9
|
108
|
113
|
116
|
139
|
149
|
169
|
|
|
|
|
|
|
|
|
|
|
|
КР
|
|
98,2
|
112
|
117
|
121
|
142
|
155
|
192
|
|
|
|
|
|
|
|
|
|
|
|
350
|
ТФ
|
|
|
126
|
128
|
130
|
134
|
140
|
157
|
168
|
|
|
|
|
|
|
|
|
|
|
ТРФ
|
|
|
127
|
129
|
130
|
148
|
154
|
172
|
183
|
|
|
|
|
|
|
|
|
|
|
ТР
|
|
|
128
|
132
|
134
|
153
|
160
|
181
|
190
|
|
|
|
|
|
|
|
|
|
|
КФ
|
|
|
132
|
136
|
140
|
148
|
161
|
182
|
204
|
|
|
|
|
|
|
|
|
|
|
КРФ
|
|
|
134
|
138
|
141
|
162
|
175
|
196
|
216
|
|
|
|
|
|
|
|
|
|
|
КР
|
|
|
135
|
143
|
148
|
171
|
185
|
214
|
233
|
|
|
|
|
|
|
|
|
|
|
400
|
ТФ
|
|
|
153
|
156
|
157
|
162
|
167
|
202
|
213
|
226
|
|
|
|
|
|
|
|
|
|
ТРФ
|
|
|
155
|
156
|
174
|
179
|
185
|
204
|
214
|
243
|
|
|
|
|
|
|
|
|
|
ТР
|
|
|
156
|
157
|
175
|
180
|
186
|
209
|
224
|
252
|
|
|
|
|
|
|
|
|
|
КФ
|
|
|
159
|
163
|
166
|
178
|
187
|
226
|
247
|
273
|
|
|
|
|
|
|
|
|
|
КРФ
|
|
|
160
|
164
|
184
|
195
|
204
|
228
|
247
|
290
|
|
|
|
|
|
|
|
|
|
КР
|
|
|
162
|
167
|
186
|
196
|
208
|
239
|
267
|
307
|
|
|
|
|
|
|
|
|
|
450
|
ТФ
|
|
|
175
|
177
|
179
|
184
|
188
|
233
|
240
|
248
|
283
|
|
|
|
|
|
|
|
|
ТРФ
|
|
|
182
|
184
|
204
|
210
|
214
|
238
|
246
|
294
|
308
|
|
|
|
|
|
|
|
|
ТР
|
|
|
182
|
186
|
207
|
212
|
219
|
245
|
253
|
301
|
321
|
|
|
|
|
|
|
|
|
КФ
|
|
|
182
|
186
|
188
|
200
|
208
|
258
|
273
|
289
|
340
|
|
|
|
|
|
|
|
|
КРФ
|
|
|
188
|
192
|
214
|
223
|
234
|
265
|
279
|
334
|
364
|
|
|
|
|
|
|
|
|
КР
|
|
|
188
|
197
|
220
|
229
|
243
|
276
|
292
|
348
|
389
|
|
|
|
|
|
|
|
|
500
|
ТФ
|
|
|
206
|
208
|
209
|
214
|
261
|
272
|
274
|
283
|
337
|
359
|
|
|
|
|
|
|
|
ТРФ
|
|
|
217
|
219
|
243
|
247
|
251
|
280
|
286
|
339
|
349
|
370
|
|
|
|
|
|
|
|
ТР
|
|
|
219
|
221
|
245
|
249
|
254
|
283
|
297
|
351
|
362
|
376
|
|
|
|
|
|
|
|
КФ
|
|
|
213
|
216
|
219
|
229
|
281
|
293
|
306
|
322
|
386
|
430
|
|
|
|
|
|
|
|
КРФ
|
|
|
224
|
228
|
253
|
263
|
271
|
305
|
318
|
378
|
398
|
442
|
|
|
|
|
|
|
|
600
|
ТФ
|
|
|
|
|
273
|
277
|
338
|
343
|
353
|
357
|
425
|
434
|
498
|
|
|
|
|
|
|
ТРФ
|
|
|
|
|
324
|
328
|
360
|
365
|
430
|
437
|
448
|
455
|
520
|
|
|
|
|
|
|
ТР
|
|
|
|
|
329
|
334
|
367
|
374
|
446
|
453
|
462
|
477
|
525
|
|
|
|
|
|
|
КФ
|
|
|
|
|
285
|
287
|
357
|
367
|
379
|
394
|
470
|
489
|
583
|
|
|
|
|
|
|
КРФ
|
|
|
|
|
336
|
343
|
378
|
388
|
440
|
474
|
490
|
510
|
609
|
|
|
|
|
|
|
КР
|
|
|
|
|
338
|
345
|
384
|
395
|
481
|
499
|
517
|
544
|
630
|
|
|
|
|
|
|
700
|
ТФ
|
|
|
|
|
440
|
442
|
447
|
451
|
455
|
539
|
548
|
555
|
649
|
699
|
|
|
|
|
|
ТРФ
|
|
|
|
|
431
|
435
|
476
|
481
|
563
|
569
|
578
|
585
|
679
|
768
|
|
|
|
|
|
ТР
|
|
|
|
|
432
|
435
|
479
|
484
|
574
|
582
|
590
|
602
|
704
|
803
|
|
|
|
|
|
КФ
|
|
|
|
|
453
|
459
|
465
|
473
|
482
|
572
|
588
|
603
|
713
|
814
|
|
|
|
|
|
КРФ
|
|
|
|
|
443
|
450
|
495
|
503
|
590
|
603
|
618
|
633
|
743
|
883
|
|
|
|
|
|
КР
|
|
|
|
|
445
|
452
|
500
|
510
|
611
|
627
|
644
|
667
|
794
|
952
|
|
|
|
|
|
800
|
ТФ
|
|
|
|
|
|
562
|
566
|
570
|
672
|
675
|
681
|
689
|
901
|
930
|
1003
|
|
|
|
|
ТРФ
|
|
|
|
|
|
592
|
595
|
597
|
701
|
705
|
707
|
812
|
833
|
960
|
1033
|
|
|
|
|
ТР
|
|
|
|
|
|
592
|
597
|
608
|
712
|
718
|
724
|
831
|
853
|
985
|
1048
|
|
|
|
|
КФ
|
|
|
|
|
|
579
|
585
|
594
|
700
|
708
|
719
|
731
|
966
|
1024
|
1171
|
|
|
|
|
КРФ
|
|
|
|
|
|
609
|
615
|
617
|
729
|
738
|
739
|
857
|
897
|
1054
|
1201
|
|
|
|
|
КР
|
|
|
|
|
|
609
|
618
|
641
|
750
|
762
|
774
|
891
|
935
|
1103
|
1230
|
|
|
|
|
900
|
ТФ
|
|
|
|
|
|
672
|
678
|
680
|
801
|
809
|
811
|
814
|
1064
|
1090
|
1134
|
1254
|
|
|
|
ТРФ
|
|
|
|
|
|
737
|
744
|
745
|
867
|
874
|
876
|
996
|
1013
|
1155
|
1199
|
1320
|
|
|
|
ТР
|
|
|
|
|
|
736
|
742
|
753
|
876
|
881
|
888
|
1012
|
1030
|
1180
|
1214
|
1352
|
|
|
|
КФ
|
|
|
|
|
|
689
|
702
|
705
|
830
|
847
|
850
|
857
|
1123
|
1177
|
1262
|
1445
|
|
|
|
КРФ
|
|
|
|
|
|
755
|
768
|
770
|
896
|
912
|
915
|
1039
|
1071
|
1239
|
1327
|
1500
|
|
|
|
КР
|
|
|
|
|
|
753
|
764
|
786
|
916
|
927
|
939
|
1072
|
1107
|
1289
|
1357
|
1560
|
|
|
|
1000
|
ТФ
|
|
|
|
|
|
|
956
|
958
|
962
|
971
|
972
|
1253
|
1264
|
1297
|
1351
|
1523
|
1570
|
|
|
ТРФ
|
|
|
|
|
|
|
1056
|
1058
|
1062
|
1071
|
1073
|
1214
|
1225
|
1397
|
1451
|
1623
|
1670
|
|
|
ТР
|
|
|
|
|
|
|
1054
|
1065
|
1071
|
1079
|
1083
|
1230
|
1243
|
1412
|
1467
|
1655
|
1725
|
|
|
КФ
|
|
|
|
|
|
|
980
|
983
|
990
|
1010
|
1011
|
1295
|
1317
|
1392
|
1491
|
1695
|
1784
|
|
|
КРФ
|
|
|
|
|
|
|
1080
|
1083
|
1090
|
1110
|
1111
|
1256
|
1278
|
1481
|
1591
|
1794
|
1882
|
|
|
КР
|
|
|
|
|
|
|
1076
|
1097
|
1110
|
1124
|
1134
|
1288
|
1314
|
1511
|
1621
|
1860
|
1984
|
|
|
1200
|
ТФ
|
|
|
|
|
|
|
|
1311
|
1314
|
1318
|
1698
|
1707
|
1712
|
1729
|
1966
|
1989
|
2409
|
2603
|
|
ТРФ
|
|
|
|
|
|
|
|
1427
|
1430
|
1434
|
1435
|
1633
|
1638
|
1844
|
1885
|
2105
|
2146
|
2624
|
|
ТР
|
|
|
|
|
|
|
|
1430
|
1434
|
1440
|
1444
|
1640
|
1654
|
1860
|
1908
|
2137
|
2196
|
2935
|
|
КФ
|
|
|
|
|
|
|
|
1343
|
1348
|
1357
|
1736
|
1755
|
1765
|
1798
|
2085
|
2130
|
2591
|
2960
|
|
КРФ
|
|
|
|
|
|
|
|
1459
|
1464
|
1473
|
1473
|
1681
|
1691
|
1914
|
2012
|
2246
|
2328
|
3001
|
|
КР
|
|
|
|
|
|
|
|
1464
|
1472
|
1484
|
1494
|
1695
|
1721
|
1944
|
2042
|
2311
|
2428
|
2998
|
|
|
|
|
|
|
|
|
|
|
|
|
|
|
|
|
|
|
|
|
|
|
Выпуски
Выпуск фланцевый

Обозначение фланцевого
выпуска со стволом условного прохода 800 мм и отростком условного прохода 300
мм:
Выпуск
ВФ 800´300 ГОСТ 5525-88
Черт.
9
Выпуск раструбный

Обозначение раструбного
выпуска со стволом условного прохода 500 мм и с отростком условного прохода 100
мм:
Выпуск
ВР 500´100 ГОСТ 5525-88
Черт.
10
Таблица 7
Размеры, мм
|
Условный проход
|
d
|
Dн
|
dн
|
S
|
S1
|
S3
|
l
|
l1
|
l2
|
l3
|
l4
|
b
|
Масса выпуска, кг
|
|
ствола D0
|
отростка d0
|
фланцевого
|
раструбного
|
|
250
|
100
150
|
-
|
274
274
|
118
170
|
14
14
|
10
11
|
-
|
300
300
|
-
|
250
250
|
250
250
|
75
50
|
14
14
|
83,1
86,8
|
80,6
84,2
|
|
300
|
100
150
|
-
|
326
326
|
118
170
|
15
15
|
10
11
|
-
|
300
300
|
-
|
250
250
|
275
275
|
100
75
|
15
15
|
101
104
|
103
107
|
|
350
|
100
150
|
-
|
378
378
|
118
170
|
16
16
|
10
11
|
-
|
300
300
|
-
|
250
250
|
300
300
|
124
99
|
16
16
|
125
128
|
128
131
|
|
400
|
100
150
|
-
|
429
429
|
118
170
|
17
17
|
10
11
|
-
|
300
300
|
-
|
250
250
|
325
325
|
149
124
|
17
17
|
153
156
|
153
172
|
|
450
|
100
150
|
-
|
480
480
|
118
170
|
18
18
|
10
11
|
-
|
300
300
|
-
|
250
250
|
350
375
|
174
149
|
18
18
|
175
178
|
182
203
|
|
500
|
100
150
|
500
500
|
532
532
|
118
170
|
19
19
|
12
12
|
19
19
|
500
500
|
500
500
|
400
400
|
375
425
|
201
175
|
19
19
|
264
267
|
276
301
|
|
600
|
150
200
|
600
600
|
635
635
|
170
222
|
21
21
|
14
14
|
21
21
|
550
550
|
550
550
|
450
450
|
425
450
|
227
201
|
20
20
|
331
334
|
382
385
|
|
700
|
150
200
|
600
600
|
738
738
|
170
222
|
24
24
|
16
16
|
21
21
|
600
600
|
550
550
|
500
500
|
450
500
|
279
253
|
20
20
|
475
478
|
467
471
|
|
800
|
200
300
|
600
600
|
842
842
|
222
326
|
26
26
|
18
18
|
21
21
|
700
700
|
625
625
|
500
500
|
525
575
|
305
253
|
22
25
|
580
585
|
617
624
|
|
900
|
200
300
|
600
600
|
945
945
|
222
326
|
28
28
|
20
20
|
21
21
|
700
700
|
675
675
|
500
500
|
575
625
|
356
304
|
24
26
|
670
675
|
751
756
|
|
1000
|
300
400
|
600
600
|
1048
1048
|
326
429
|
30
30
|
21
21
|
21
21
|
700
700
|
725
725
|
500
500
|
675
700
|
326
304
|
26
26
|
918
927
|
1047
1055
|
|
1200
|
300
400
|
600
600
|
1256
1256
|
326
429
|
34
34
|
24
24
|
2
24
|
700
700
|
825
825
|
500
500
|
750
800
|
460
408
|
26
28
|
1215
1221
|
1388
1394
|
Деталь построения. Колена
фланцевые

Обозначение фланцевого
колена условного прохода 300 мм:
Колено УФ 300 ГОСТ 5525-88
Черт.
11
Колено раструбное

Обозначение раструбного
колена условного прохода 150 мм:
Колено УР 150 ГОСТ 5525-88
Черт.
12
Колено раструб - гладкий
конец

Обозначение колена раструба
- гладкого конца условного прохода 300 мм:
Колено УРГ 300 ГОСТ 5525-88
Черт.
13
Таблица 8
Размеры, мм
|
Условный проход D0
|
S
|
Dн
|
r
|
q
|
L
|
L1
|
l
|
l1
|
2q + 1
|
Q + l + l1
|
Масса колена, кг
|
|
фланцевого
|
раструбного
|
раструба -
гладкого конца
|
|
65
|
9
|
81
|
108
|
30
|
138
|
338
|
168
|
230
|
228
|
428
|
10,4
|
12,6
|
11,3
|
|
80
|
10
|
98
|
120
|
30
|
150
|
350
|
188
|
230
|
248
|
448
|
13,0
|
15,5
|
14,2
|
|
100
|
10
|
118
|
160
|
40
|
200
|
400
|
251
|
240
|
331
|
531
|
17,2
|
21,4
|
19,6
|
|
125
|
11
|
144
|
185
|
40
|
225
|
425
|
291
|
240
|
371
|
571
|
24,3
|
30,1
|
27,9
|
|
150
|
11
|
170
|
210
|
40
|
250
|
450
|
330
|
240
|
410
|
610
|
31,1
|
37,7
|
35,0
|
|
200
|
13
|
222
|
260
|
40
|
300
|
500
|
408
|
240
|
488
|
688
|
50,8
|
59,4
|
57,2
|
|
250
|
14
|
275
|
260
|
40
|
300
|
500
|
408
|
240
|
488
|
688
|
67,1
|
81,3
|
77,5
|
|
300
|
15
|
326
|
260
|
40
|
300
|
500
|
408
|
240
|
488
|
688
|
82,5
|
105
|
99,8
|
|
350
|
16
|
378
|
300
|
50
|
350
|
550
|
471
|
250
|
571
|
771
|
115
|
143
|
136
|
|
400
|
17
|
429
|
350
|
50
|
400
|
600
|
550
|
250
|
650
|
850
|
155
|
188
|
178
|
|
450
|
18
|
480
|
400
|
50
|
450
|
650
|
628
|
250
|
728
|
928
|
193
|
237
|
226
|
|
500
|
19
|
532
|
450
|
50
|
500
|
700
|
707
|
250
|
807
|
1007
|
245
|
301
|
284
|
|
600
|
21
|
635
|
490
|
60
|
550
|
850
|
770
|
360
|
890
|
1190
|
347
|
427
|
432
|
|
700
|
24
|
738
|
540
|
60
|
600
|
900
|
848
|
360
|
968
|
1268
|
494
|
602
|
607
|
|
800
|
26
|
842
|
640
|
60
|
700
|
1000
|
1005
|
360
|
1125
|
1425
|
704
|
831
|
830
|
|
900
|
28
|
945
|
680
|
70
|
750
|
1050
|
1068
|
370
|
1208
|
1508
|
893
|
1076
|
1067
|
|
1000
|
30
|
1048
|
730
|
70
|
800
|
1100
|
1147
|
370
|
1287
|
1587
|
1133
|
1872
|
1340
|
|
1200
|
34
|
1256
|
920
|
80
|
1000
|
1300
|
1445
|
380
|
1605
|
1905
|
1852
|
2137
|
2121
|
Примечания:
1. Размеры
раструбов - по черт. 1.
2. Размеры фланцев - по черт. 2
и 11.
Отводы
Отвод
раструбный

Обозначение раструбного
отвода с центральным углом в 10° и с условным проходом 400 мм:
Отвод ОР 10° 400 ГОСТ 5525-88
Черт.
14
Отвод раструб - гладкий
конец

Обозначение отвода раструба
- гладкого конца с центральным углом в 15°и с условным проходом 800 мм:
Отвод ОРГ 15° 800 ГОСТ 5525-88
Черт.
15
Таблица 9
Размеры, мм
|
Условный
|
S
|
Dн
|
q
|
l1
|
Отвод a
= 10°
|
Отвод a
= 15°
|
Отвод a
= 30
|
Отвод a
= 45°
|
L
|
2q + L
|
q + L + l1
|
Масса отвода, кг
|
|
проход D0
|
r
|
l
|
r
|
L
|
r
|
l
|
r
|
l
|
раструбного
|
раструба -
гладкого конца
|
|
65
|
9
|
81
|
30
|
75
|
918
|
85
|
645
|
85
|
323
|
86
|
215
|
89
|
168
|
228
|
278
|
12,6
|
8,9
|
|
80
|
10
|
98
|
30
|
75
|
1080
|
95
|
720
|
95
|
360
|
96
|
240
|
99
|
188
|
248
|
293
|
15,4
|
11,1
|
|
100
|
10
|
118
|
40
|
80
|
1440
|
126
|
960
|
127
|
480
|
129
|
320
|
132
|
251
|
331
|
371
|
21,4
|
15,7
|
|
125
|
11
|
144
|
40
|
80
|
1665
|
146
|
1110
|
147
|
555
|
149
|
370
|
153
|
291
|
371
|
411
|
30,1
|
22,6
|
|
150
|
11
|
170
|
40
|
85
|
1890
|
165
|
1260
|
166
|
630
|
169
|
420
|
174
|
330
|
410
|
455
|
37,7
|
28,8
|
|
200
|
13
|
222
|
40
|
85
|
2340
|
205
|
1560
|
206
|
780
|
209
|
520
|
215
|
408
|
488
|
533
|
59,4
|
47,5
|
|
250
|
14
|
274
|
40
|
90
|
2340
|
205
|
1560
|
206
|
780
|
209
|
520
|
215
|
408
|
488
|
538
|
81,3
|
65,0
|
|
300
|
15
|
326
|
40
|
95
|
2340
|
205
|
1560
|
206
|
780
|
209
|
520
|
215
|
408
|
488
|
543
|
105
|
84,4
|
|
350
|
16
|
378
|
50
|
100
|
2700
|
236
|
1800
|
238
|
900
|
241
|
600
|
248
|
471
|
571
|
621
|
143
|
116
|
|
400
|
17
|
429
|
50
|
100
|
3150
|
276
|
2100
|
277
|
1050
|
281
|
700
|
290
|
550
|
650
|
700
|
188
|
154
|
|
450
|
18
|
480
|
50
|
105
|
3600
|
315
|
2400
|
317
|
1200
|
322
|
800
|
331
|
628
|
728
|
783
|
237
|
198
|
|
500
|
19
|
532
|
60
|
105
|
4050
|
354
|
2700
|
356
|
1350
|
362
|
900
|
373
|
707
|
807
|
862
|
301
|
252
|
|
600
|
21
|
635
|
60
|
115
|
4410
|
386
|
2940
|
288
|
1470
|
394
|
980
|
406
|
770
|
890
|
945
|
427
|
360
|
|
700
|
24
|
738
|
60
|
120
|
4860
|
425
|
3240
|
428
|
1620
|
434
|
1080
|
447
|
848
|
968
|
1028
|
602
|
513
|
|
800
|
26
|
842
|
60
|
130
|
5750
|
504
|
3840
|
507
|
1920
|
515
|
1280
|
530
|
1005
|
1125
|
1195
|
831
|
720
|
|
900
|
28
|
945
|
70
|
135
|
6120
|
536
|
4080
|
539
|
2040
|
547
|
1360
|
563
|
1068
|
1208
|
1273
|
1076
|
930
|
|
1000
|
30
|
1048
|
70
|
145
|
6570
|
575
|
4380
|
578
|
2190
|
587
|
1460
|
604
|
1147
|
1287
|
1362
|
1372
|
1186
|
|
1200
|
34
|
1256
|
80
|
155
|
8280
|
725
|
5520
|
729
|
2760
|
740
|
1840
|
762
|
1445
|
1605
|
1680
|
2157
|
1910
|
Примечание. Размеры раструбов - по черт. 1
Переходы
Переход фланцевый Деталь построения

Черт.
16
Обозначение фланцевого
перехода условного прохода 200´100 мм:
Переход ХФ 200´100 ГОСТ 5525-88
Переход раструб - фланец

Черт. 17
Обозначение перехода
раструба - фланца условного прохода 200´100 мм:
Переход ХРФ 200´100 ГОСТ 5525-88
Переход раструбный

Обозначение раструбного
перехода условного прохода 200´100 мм:
Переход ХР 300´100 ГОСТ 5525-88
Черт.
18
Переход раструб - гладкий
конец

Обозначение перехода
раструба - гладкого конца прохода 200´100 мм:
Переход ХРГ 200´100 ГОСТ 5525-88
Черт.
19
Таблица 10
Размеры,
мм
|
Обозначения
размеров
|
Условный проход D0 (или d0)
|
|
65
|
80
|
100
|
125
|
150
|
200
|
250
|
300
|
350
|
400
|
450
|
500
|
600
|
700
|
800
|
900
|
1000
|
1200
|
|
D (или d)
|
63
|
78
|
98
|
122
|
148
|
196
|
246
|
296
|
346
|
395
|
444
|
494
|
593
|
690
|
790
|
889
|
988
|
1188
|
|
D (или Sd)
|
9
|
10
|
10
|
11
|
11
|
13
|
14
|
15
|
16
|
17
|
18
|
19
|
21
|
24
|
26
|
28
|
30
|
34
|
|
qD (или
qd)
|
30
|
30
|
40
|
40
|
40
|
40
|
40
|
40
|
50
|
50
|
50
|
60
|
60
|
60
|
60
|
70
|
70
|
80
|
|
fD (или fd)
|
38
|
43
|
43
|
43
|
43
|
45
|
45
|
45
|
50
|
50
|
50
|
50
|
55
|
55
|
60
|
65
|
70
|
75
|
|
LD
|
80
|
80
|
90
|
90
|
90
|
90
|
90
|
90
|
100
|
100
|
150
|
150
|
160
|
160
|
160
|
170
|
170
|
180
|
|
с
|
7
|
8
|
9
|
10
|
11
|
12
|
13
|
14
|
15
|
17
|
19
|
20
|
22
|
25
|
28
|
31
|
35
|
40
|
Примечания:
1. Размеры раструбов по черт. 1.
2. Размеры фланцев - по черт. 2.
Таблица 11
Размеры,
мм
|
Условный проход D0
|
Обозначение
размеров
|
Условный проход d0
|
|
65
|
80
|
100
|
125
|
150
|
200
|
250
|
300
|
350
|
400
|
450
|
500
|
600
|
700
|
800
|
900
|
1000
|
|
80
|
L
L1
L2
|
200
200
250
|
|
|
|
|
|
|
|
|
|
|
|
|
|
|
|
|
|
100
|
L
L1
L2
|
250
250
300
|
200
200
250
|
|
|
|
|
|
|
|
|
|
|
|
|
|
|
|
|
125
|
L
L1
L2
|
300
300
350
|
250
250
300
|
200
200
250
|
|
|
|
|
|
|
|
|
|
|
|
|
|
|
|
160
|
L
L1
L2
|
|
300
300
350
|
250
250
300
|
200
200
250
|
|
|
|
|
|
|
|
|
|
|
|
|
|
|
200
|
L
L1
L2
|
|
400
400
450
|
350
350
400
|
300
300
350
|
250
250
300
|
|
|
|
|
|
|
|
|
|
|
|
|
|
250
|
L
L1
L2
|
|
|
450
450
500
|
400
400
450
|
350
350
400
|
250
250
300
|
|
|
|
|
|
|
|
|
|
|
|
|
300
|
L
L1
L2
|
|
|
|
500
500
550
|
450
450
500
|
350
350
400
|
250
250
300
|
|
|
|
|
|
|
|
|
|
|
|
350
|
L
L1
L2
|
|
|
|
|
550
550
600
|
450
450
500
|
350
350
400
|
250
250
300
|
|
|
|
|
|
|
|
|
|
|
400
|
L
L1
L2
|
|
|
|
|
|
550
550
600
|
450
450
500
|
350
350
400
|
250
250
300
|
|
|
|
|
|
|
|
|
|
450
|
L
L1
L2
|
|
|
|
|
|
650
700
750
|
550
600
650
|
450
500
550
|
350
400
450
|
250
300
350
|
|
|
|
|
|
|
|
|
500
|
L
L1
L2
|
|
|
|
|
|
|
650
700
750
|
550
600
650
|
450
500
550
|
350
400
450
|
250
300
350
|
|
|
|
|
|
|
|
600
|
L
L1
L2
|
|
|
|
|
|
|
|
750
800
850
|
650
700
750
|
550
600
650
|
450
500
500
|
350
400
450
|
|
|
|
|
|
|
700
|
L
L1
L2
|
|
|
|
|
|
|
|
|
850
900
950
|
750
800
850
|
650
700
750
|
550
600
650
|
350
400
450
|
|
|
|
|
|
800
|
L
L1
L2
|
|
|
|
|
|
|
|
|
|
950
1000
1050
|
850
900
950
|
750
800
850
|
550
600
650
|
350
400
450
|
|
|
|
|
900
|
L
L1
L2
|
|
|
|
|
|
|
|
|
|
|
|
950
1000
1050
|
750
800
850
|
550
600
650
|
350
400
450
|
|
|
|
1000
|
L
L1
L2
|
|
|
|
|
|
|
|
|
|
|
|
|
950
1000
1050
|
750
800
850
|
550
600
650
|
350
400
450
|
|
|
1200
|
L
L1
L2
|
|
|
|
|
|
|
|
|
|
|
|
|
|
|
950
1000
1050
|
750
800
850
|
550
600
650
|
Таблица
12
Масса
переходов
|
Условный проход D0
|
Обозначение
перехода
|
Условный проход d0, мм
|
|
65
|
80
|
100
|
125
|
150
|
200
|
250
|
300
|
350
|
400
|
450
|
500
|
600
|
700
|
800
|
900
|
1000
|
|
кг
|
|
80
|
ХРФ
ХФ
ХРГ
ХР
|
11,35
11,25
8,3
12,5
|
|
|
|
|
|
|
|
|
|
|
|
|
|
|
|
|
|
100
|
ХРФ
ХФ
ХРГ
ХР
|
14,05
11,95
9,9
15,2
|
15,1
13,0
10,9
16,3
|
|
|
|
|
|
|
|
|
|
|
|
|
|
|
|
|
125
|
ХРФ
ХФ
ХРГ
ХР
|
18,65
15,75
12,6
19,8
|
19,6
16,7
13,6
20,8
|
19,2
16,3
14,1
21,3
|
|
|
|
|
|
|
|
|
|
|
|
|
|
|
|
150
|
ХРФ
ХФ
ХРГ
ХР
|
|
23,7
20,3
16,2
24,8
|
23,2
19,9
16,7
25,3
|
23,9
20,6
18,2
26,8
|
|
|
|
|
|
|
|
|
|
|
|
|
|
|
200
|
ХРФ
ХФ
ХРГ
ХР
|
|
34,5
30,2
24,6
35,7
|
33,9
29,6
25,1
36,0
|
34,7
30,4
26,3
37,6
|
34,6
30,3
26,6
37,9
|
|
|
|
|
|
|
|
|
|
|
|
|
|
250
|
ХРФ
ХФ
ХРГ
ХР
|
|
|
48,1
41,0
35,0
50,2
|
49,1
42,0
36,2
52,0
|
48,9
41,8
36,4
52,2
|
48,8
42,7
37,0
53,1
|
|
|
|
|
|
|
|
|
|
|
|
|
300
|
ХРФ
ХФ
ХРГ
ХР
|
|
|
|
66,4
55,0
48,4
69,3
|
66,0
54,6
48,5
69,3
|
66,2
54,8
49,4
70,5
|
63,6
52,2
49,1
70,7
|
|
|
|
|
|
|
|
|
|
|
|
350
|
ХРФ
ХФ
ХРГ
ХР
|
|
|
|
|
86,1
72,3
63,2
89,4.
|
87,4
73,6
64,9
91,7
|
84,4
71,0
65,5
91,9
|
79,2
65,4
63,4
90,6
|
|
|
|
|
|
|
|
|
|
|
400
|
ХРФ
ХФ
ХРГ
ХР
|
|
|
|
|
|
112
94,4
83,0
116
|
109
92,6
83,3
116
|
104
87,2
81,5
115
|
98
81,9
78,5
112
|
|
|
|
|
|
|
|
|
|
450
|
ХРФ
ХФ
ХРГ
ХР
|
|
|
|
|
|
138
116
115
149
|
137
115
115
151
|
131
109
113
150
|
126
104
110
148
|
119
96,6
105
144
|
|
|
|
|
|
|
|
|
500
|
ХРФ
ХФ
ХРГ
ХР
|
|
|
|
|
|
|
172
144
142
186
|
165
138
139
186
|
160
132
136
183
|
153
125
131
179
|
140
112
124
173
|
|
|
|
|
|
|
|
600
|
ХРФ
ХФ
ХРГ
ХР
|
|
|
|
|
|
|
|
244
204
205
266
|
238
199
202
263
|
232
192
196
265
|
219
179
189
253
|
205
166
181
247
|
|
|
|
|
|
|
700
|
ХРФ
ХФ
ХРГ
ХР
|
|
|
|
|
|
|
|
|
346
292
294
373
|
338
284
285
368
|
325
271
277
361
|
312
257
269
354
|
275
220
243
331
|
|
|
|
|
|
800
|
ХРФ
ХФ
ХРГ
ХР
|
|
|
|
|
|
|
|
|
|
463
400
388
494
|
449
385
380
487
|
434
371
372
480
|
397
334
346
457
|
364
291
314
430
|
|
|
|
|
900
|
ХРФ
ХФ
ХРГ
ХР
|
|
|
|
|
|
|
|
|
|
|
|
589
498
492
620
|
552
461
471
613
|
508
417
411
588
|
452
361
390
542
|
|
|
|
1000
|
ХРФ
ХФ
ХРГ
ХР
|
|
|
|
|
|
|
|
|
|
|
|
|
740
620
617
804
|
700
581
589
780
|
642
522
539
734
|
556
436
480
679
|
|
|
1200
|
ХРФ
ХФ
ХРГ
ХР
|
|
|
|
|
|
|
|
|
|
|
|
|
|
|
1073
920
917
1169
|
984
831
956
1112
|
889
737
788
1050
|
Патрубки
Патрубок фланец - раструб

Обозначение патрубка фланца
- раструба условного прохода 400 мм:
Патрубок ПФР 400 ГОСТ 5525-88
Черт.
20
Патрубок фланец - гладкий
конец

Обозначение короткого
патрубка фланца - гладкого конца условного прохода 200 мм:
Патрубок ПФГ 200 ГОСТ 5525-88
Обозначение того же патрубка
длинного:
Патрубок дл. ПФГ 200 ГОСТ 5525-88
Черт.
21
Таблица 13
Размеры,
мм
|
Условный проход D0
|
S
|
Dн
|
l
|
L
|
L1
|
Масса патрубка, кг
|
|
фланца-раструба
|
фланца - гладкого
конца
|
|
65
|
9
|
81
|
75
|
100
|
300 и 1200
|
9,2
|
8,1 и 22,5
|
|
80
|
10
|
98
|
75
|
100
|
300 и 1200
|
11,2
|
10,0 и 28,1
|
|
100
|
10
|
118
|
80
|
100
|
350 и 1200
|
13,6
|
13,1 и 34,0
|
|
126
|
11
|
144
|
80
|
100
|
350 и 1200
|
18,2
|
17,7 и 46,0
|
|
150
|
11
|
170
|
85
|
100
|
350 и 1200
|
22,1
|
21,3 и 55,2
|
|
200
|
13
|
222
|
85
|
100
|
350 и 1200
|
31,1
|
32,0 и 84,5
|
|
250
|
14
|
274
|
90
|
150
|
350 и 1200
|
46,2
|
42,3 и 113
|
|
300
|
15
|
326
|
95
|
150
|
400 и 1200
|
58,0
|
57,8 и 143
|
|
360
|
16
|
378
|
100
|
150
|
400 и 1200
|
73,8
|
72,8 и 178
|
|
400
|
17
|
429
|
100
|
150
|
400 и 1200
|
91,2
|
89,2 и 217
|
|
450
|
18
|
480
|
105
|
150
|
450 и 1200
|
106
|
113 и 255
|
|
500
|
19
|
532
|
105
|
150
|
450 и 1200
|
127
|
133 и 299
|
|
600
|
21
|
635
|
115
|
250
|
500 и 1200
|
200
|
190 и 395
|
|
700
|
24
|
738
|
120
|
250
|
500 и 1200
|
268
|
253 и 526
|
|
800
|
26
|
842
|
130
|
250
|
600 и 1200
|
345
|
370 и 660
|
|
900
|
28
|
945
|
135
|
300
|
600 и 1200
|
453
|
444 и 795
|
|
1000
|
30
|
1048
|
145
|
300
|
600 и 1200
|
566
|
536 и 953
|
|
1200
|
34
|
1256
|
155
|
300
|
600 и 1200
|
770
|
734 и 1302
|
Примечания:
1. Размеры
раструбов - по черт. 1.
2. Размеры
фланцев - по черт. 2.
3. По согласованию изготовителя с потребителем допускается
изготовление патрубков фланец - гладкий конец длиной 2000 мм - для труб с
условным проходом 100 - 300 и 2500 мм - для труб с условным проходом 350 - 1200
мм.
Двойные раструбы

Обозначение двойного
патрубка условного прохода 150 мм:
Раструб ДР 150 ГОСТ 5525-88
Черт.
22
Таблица 14
Размеры,
мм
|
Условный проход D0
|
D
|
Dн
|
l
|
L
|
Масса, кг
|
|
65
80
100
125
150
200
250
300
350
400
450
500
600
700
800
900
1000
1200
|
71
85
106
130
156
206
260
310
360
410
460
510
600
710
810
920
1020
1230
|
122
140
163
194
220
276
330
385
438
492
546
600
710
822
930
1040
1150
1370
|
20
20
20
20
20
20
20
20
20
20
20
30
30
30
30
40
40
50
|
170
170
180
180
190
190
200
210
220
220
230
240
260
270
290
310
330
350
|
9,5
11,0
14,8
18,9
23,2
31,7
42,5
55,1
66,0
76,0
93,8
115
156
210
259
345
415
658
|
Муфты надвижные

Обозначение надвижной муфты
условного прохода 300 мм:
Муфта МН 300 ГОСТ 5525-88
Черт.
23
Таблица 15
Размеры,
мм
|
Условный проход D0
|
D
|
S2
|
b
|
с
|
k
|
r
|
S
|
L
|
Масса, кг
|
|
65
80
100
125
150
200
250
300
350
400
450
500
600
700
800
900
1000
1200
|
99
116
137
163
189
241
294
346
398
449
501
553
657
760
865
968
1072
1290
|
26
27
28
29
30
32
34
36
38
40
41
43
46
50
54
58
62
70
|
25
27
27
28
30
32
34
36
38
40
41
42
43
44
45
46
48
50
|
72
72
75
75
80
80
85
89
94
94
99
99
109
113
123
127
137
147
|
8
8
8
8
8
8
8
28
10
10
10
10
10
10
12
12
12
12
|
21
22
23
23
24
25
26
28
31
32
33
34
36
38
41
43
45
52
|
9
10
10
11
11
13
14
15
16
17
18
19
21
24
26
28
30
34
|
260
260
265
265
280
285
300
305
320
325
340
350
370
390
410
430
450
490
|
10,2
12,0
15,2
19,5
24,2
33,0
46,9
57,1
76,5
91,0
108
133
178
249
310
397
486
679
|
Примечание. Размеры раструбов - по черт. 1.
Муфты свертные

Обозначение свертной муфты
условного прохода 200 мм:
Муфта МС 200 ГОСТ 5525-88
Черт.
24
Таблица 16
|
Условный проход D0
|
D
|
L
|
l
|
l1
|
l2
|
l3
|
H
|
h1
|
t
|
S
|
S1
|
d
|
Болты
|
|
Количество
|
Диаметр резьбы
|
|
65
|
99
|
260
|
18
|
112
|
157
|
169
|
43
|
20
|
1
|
9
|
15
|
18
|
6
|
М16
|
|
80
|
116
|
260
|
22
|
108,0
|
174
|
184
|
52
|
23
|
2
|
10
|
16
|
22
|
6
|
М20
|
|
100
|
137
|
265
|
22
|
110,5
|
200
|
212
|
56
|
29
|
6
|
10
|
16
|
22
|
6
|
М20
|
|
125
|
163
|
265
|
22
|
110,5
|
228
|
240
|
60
|
29
|
7
|
11
|
17
|
22
|
6
|
М20
|
|
150
|
189
|
280
|
22
|
118,0
|
254
|
270
|
66
|
35
|
13
|
11
|
17
|
22
|
6
|
М20
|
|
200
|
241
|
285
|
22
|
120,5
|
308
|
326
|
72
|
37
|
14
|
13
|
18
|
22
|
6
|
М20
|
|
250
|
294
|
300
|
25
|
125,0
|
365
|
385
|
83
|
43
|
17
|
14
|
19
|
25
|
6
|
M22
|
Заглушки фланцевые

Обозначение фланцевой
заглушки условного прохода 400 мм:
Заглушка ЗФ 400 ГОСТ 5525-88
Черт.
25
Седелки фланцевые
Для
D0 до 150 мм включ.

Для D0 более 150 мм

Обозначение седелки
фланцевой на трубу с внутренним диаметром 400 мм:
Седелка СФ 400 ГОСТ 5525-88
Черт.
26
Таблица 17
Размеры,
мм
|
Условный проход D0
|
b
|
D
|
D1
|
D2
|
d
|
r
|
h
|
Болты
|
Масса, кг
|
|
Количество
|
Диаметр резьбы
|
|
65
|
21,0
|
-
|
140
|
180
|
18
|
-
|
-
|
4
|
М16
|
3,75
|
|
80
|
21,0
|
-
|
160
|
200
|
18
|
-
|
-
|
4
|
М16
|
4,63
|
|
100
|
-
|
-
|
180
|
220
|
18
|
-
|
-
|
4
|
М16
|
5,74
|
|
125
|
22,5
|
-
|
210
|
250
|
18
|
-
|
-
|
8
|
М16
|
7,68
|
|
150
|
23,0
|
-
|
240
|
285
|
22
|
-
|
-
|
8
|
М20
|
10,1
|
|
200
|
24,5
|
-
|
295
|
340
|
22
|
-
|
-
|
8
|
М20
|
15,7
|
|
250
|
26,0
|
-
|
350
|
395
|
22
|
-
|
-
|
12
|
М20
|
22,2
|
|
300
|
27,5
|
-
|
400
|
445
|
22
|
-
|
-
|
12
|
М20
|
30,1
|
|
350
|
29,5
|
-
|
460
|
505
|
22
|
-
|
-
|
16
|
М20
|
40,8
|
|
400
|
30,0
|
388
|
515
|
565
|
25
|
808
|
22
|
16
|
M22
|
53,2
|
|
450
|
32,0
|
432
|
565
|
615
|
25
|
878
|
26
|
20
|
M22
|
67,1
|
|
500
|
33,0
|
482
|
620
|
670
|
25
|
890
|
32
|
20
|
M22
|
82,8
|
|
600
|
36,0
|
560
|
725
|
780
|
30
|
964
|
40
|
20
|
M27
|
122
|
|
700
|
38,5
|
660
|
840
|
895
|
30
|
1074
|
50
|
24
|
M27
|
173
|
|
800
|
41,5
|
758
|
950
|
1015
|
34
|
1100
|
60
|
24
|
М30
|
241
|
|
900
|
44,0
|
858
|
1050
|
1115
|
34
|
1218
|
75
|
28
|
М30
|
309
|
|
1000
|
47,0
|
966
|
1160
|
1230
|
37
|
1264
|
90
|
28
|
М30
|
404
|
Таблица
18
Размеры,
мм
|
Условный проход D0
|
h
|
l
|
d
|
l1
|
l2
|
l3
|
R
|
a
|
b
|
b1
|
с
|
k
|
d1
|
n
|
m
|
r
|
Бандажи
|
|
Количество
|
Диаметр резьбы
|
|
100
|
100
|
170
|
105
|
-
|
133
|
66
|
64
|
-
|
18
|
21
|
10
|
3,5
|
20
|
-
|
-
|
10
|
2
|
М16
|
|
125
|
100
|
200
|
115
|
-
|
159
|
70
|
77
|
-
|
19
|
22
|
8
|
3,5
|
20
|
-
|
-
|
10
|
2
|
М16
|
|
150
|
100
|
230
|
130
|
-
|
185
|
80
|
90
|
-
|
21
|
25
|
6
|
3,5
|
20
|
-
|
-
|
10
|
2
|
М16
|
|
200
|
100
|
280
|
140
|
150
|
225
|
90
|
117
|
28
|
23
|
27
|
-
|
4,5
|
20
|
24
|
20
|
12
|
2
|
М16
|
|
250
|
115
|
300
|
140
|
160
|
246
|
90
|
143
|
35
|
26
|
30
|
-
|
4,5
|
20
|
24
|
20
|
12
|
2
|
М16
|
|
300
|
120
|
320
|
140
|
170
|
264
|
90
|
169
|
43
|
28
|
34
|
-
|
4,5
|
20
|
24
|
20
|
12
|
2
|
М16
|
|
350
|
125
|
340
|
145
|
180
|
276
|
95
|
195
|
51
|
30
|
38
|
-
|
5,0
|
20
|
24
|
20
|
16
|
2
|
М16
|
|
400
|
130
|
360
|
145
|
190
|
288
|
95
|
221
|
59
|
32
|
42
|
-
|
5,0
|
20
|
24
|
25
|
16
|
2
|
М16
|
|
450
|
135
|
380
|
145
|
200
|
300
|
95
|
247
|
67
|
34
|
45
|
-
|
5,0
|
24
|
30
|
25
|
16
|
2
|
М20
|
|
500
|
140
|
390
|
150
|
210
|
315
|
95
|
273
|
75
|
36
|
48
|
-
|
5,0
|
24
|
30
|
25
|
20
|
2
|
М20
|
|
600
|
140
|
410
|
150
|
230
|
336
|
95
|
325
|
92
|
38
|
52
|
-
|
5,0
|
24
|
30
|
30
|
20
|
2
|
М20
|
|
700
|
145
|
420
|
155
|
250
|
356
|
95
|
378
|
110
|
40
|
54
|
-
|
5,0
|
24
|
30
|
30
|
20
|
2
|
М20
|
|
800
|
150
|
430
|
155
|
265
|
268
|
95
|
431
|
128
|
42
|
56
|
-
|
5,0
|
24
|
30
|
30
|
20
|
2
|
М20
|
|
900
|
155
|
440
|
160
|
280
|
380
|
100
|
484
|
146
|
44
|
58
|
-
|
5,0
|
24
|
30
|
30
|
20
|
2
|
М20
|
|
1000
|
155
|
450
|
160
|
290
|
390
|
100
|
537
|
160
|
46
|
60
|
-
|
5,0
|
24
|
30
|
30
|
20
|
2
|
М20
|
Примечание. Размеры фланцев - по черт. 2.
Седелки с резьбой
Для D0 до 150 мм включ. Для
D0 более 150 мм

Обозначение седелки с резьбой на трубу с внутренним
диаметром 300 мм:
Седелка ОР 300 ГОСТ 5525-88
Черт.
27
Пожарная подставка
раструбная

Обозначение пожарной
подставки раструбной со стволом условного прохода 200 мм:
Подставка ППР 200 ГОСТ 5525-88
Черт.
28
Таблица
19
Размеры, мм
|
Условный проход D0
|
h
|
l
|
d
|
l1
|
l2
|
l3
|
R
|
a
|
b
|
b1
|
с
|
k
|
d1
|
n
|
т
|
r
|
Бандажи
|
|
Количество
|
Диаметр резьбы
|
|
100
|
50
|
170
|
105
|
-
|
133
|
66
|
64
|
-
|
18
|
21
|
10
|
3,5
|
20
|
-
|
-
|
10
|
2
|
М16
|
|
125
|
60
|
200
|
115
|
-
|
159
|
70
|
77
|
-
|
19
|
22
|
8
|
3,5
|
20
|
-
|
-
|
10
|
2
|
М16
|
|
150
|
60
|
230
|
130
|
-
|
185
|
80
|
90
|
-
|
21
|
25
|
6
|
3,5
|
20
|
-
|
-
|
10
|
2
|
М16
|
|
200
|
70
|
280
|
140
|
150
|
225
|
90
|
117
|
28
|
23
|
27
|
-
|
4,5
|
20
|
24
|
20
|
12
|
2
|
М16
|
|
250
|
70
|
300
|
140
|
160
|
246
|
90
|
143
|
35
|
26
|
30
|
-
|
4,5
|
20
|
24
|
20
|
12
|
2
|
М16
|
|
300
|
80
|
320
|
140
|
170
|
264
|
90
|
169
|
43
|
28
|
34
|
-
|
4,5
|
20
|
24
|
20
|
12
|
2
|
М16
|
|
350
|
80
|
340
|
145
|
180
|
276
|
95
|
195
|
51
|
30
|
38
|
-
|
5,0
|
20
|
24
|
20
|
16
|
2
|
М16
|
|
400
|
80
|
360
|
145
|
190
|
288
|
95
|
221
|
59
|
32
|
42
|
-
|
5,0
|
20
|
24
|
25
|
16
|
2
|
М16
|
|
450
|
90
|
380
|
145
|
200
|
300
|
95
|
247
|
67
|
34
|
45
|
-
|
5,0
|
24
|
30
|
25
|
16
|
2
|
М20
|
|
500
|
90
|
390
|
150
|
210
|
315
|
95
|
273
|
75
|
36
|
48
|
-
|
5,0
|
24
|
30
|
25
|
20
|
2
|
М20
|
|
600
|
100
|
410
|
150
|
230
|
336
|
95
|
325
|
92
|
38
|
52
|
-
|
5,0
|
24
|
30
|
30
|
20
|
2
|
М20
|
|
700
|
100
|
420
|
155
|
250
|
355
|
95
|
378
|
110
|
40
|
54
|
-
|
5,0
|
24
|
30
|
30
|
20
|
2
|
М20
|
|
800
|
100
|
430
|
155
|
265
|
368
|
95
|
431
|
128
|
42
|
56
|
-
|
5,0
|
24
|
30
|
30
|
20
|
2
|
М20
|
|
900
|
100
|
440
|
160
|
280
|
380
|
100
|
484
|
146
|
44
|
58
|
-
|
5,0
|
24
|
30
|
30
|
20
|
2
|
М20
|
|
1000
|
100
|
450
|
160
|
290
|
390
|
100
|
537
|
160
|
46
|
60
|
-
|
5,0
|
24
|
30
|
30
|
20
|
2
|
М20
|
Примечание. Резьба седелки должна соответствовать размеру резьбы
ответвления, но не превышать 2".
Таблица
20
Размеры, мм
|
Условный проход
ствола D0
|
Dн
|
S
|
l
|
l1
|
Mассa, кг
|
|
100
|
118
|
10
|
200
|
225
|
38,0
|
|
125
|
144
|
11
|
200
|
250
|
48,0
|
|
150
|
170
|
11
|
200
|
250
|
52,5
|
|
200
|
222
|
13
|
250
|
275
|
75,0
|
|
250
|
274
|
14
|
250
|
300
|
97,0
|
|
300
|
326
|
15
|
250
|
325
|
121
|
Примечание. Размеры раструбов - по черт. 1.
Деталь построения фланца под
пожарный кран

Черт.
28a
Тройник раструб - фланец с
пожарной подставкой

Обозначение тройника
раструба - фланца с пожарной подставкой со стволом условного прохода 250 мм и с
отростком условного прохода 200 мм:
Тройник ППТРФ 250´200 ГОСТ 5525-88
Черт.
29
Тройник фланцевый с пожарной
подставкой

Обозначение фланцевого
тройника с пожарной подставкой со стволом условного прохода 300 мм и с
отростком условного прохода 250 мм:
Тройник ППТФ 300´250 ГОСТ 5525-88
Черт.
30
Таблица 21
Размеры, мм
|
Условный проход
|
Dн
|
dн
|
S
|
S1
|
l
|
l1
|
l2
|
Масса, кг
|
|
ствола D0
|
отростка d0
|
|
100
|
100
|
118
|
118
|
10
|
10
|
200
|
200
|
225
|
46,0
|
|
150
|
100
|
170
|
118
|
11
|
10
|
200
|
200
|
250
|
55,5
|
|
150
|
150
|
170
|
170
|
11
|
11
|
200
|
250
|
250
|
65,0
|
|
200
|
100
|
222
|
118
|
13
|
10
|
200
|
225
|
275
|
76,0
|
|
200
|
150
|
222
|
170
|
13
|
11
|
200
|
225
|
275
|
79,0
|
|
200
|
200
|
222
|
222
|
13
|
13
|
250
|
300
|
275
|
94,0
|
|
250
|
150
|
274
|
170
|
14
|
11
|
200
|
250
|
300
|
99,0
|
|
250
|
200
|
274
|
222
|
14
|
13
|
250
|
275
|
300
|
112
|
|
250
|
250
|
274
|
274
|
14
|
14
|
250
|
300
|
300
|
127
|
|
300
|
200
|
326
|
222
|
15
|
13
|
250
|
300
|
325
|
137
|
|
300
|
250
|
326
|
274
|
15
|
14
|
250
|
300
|
325
|
141
|
|
300
|
300
|
326
|
326
|
15
|
15
|
300
|
300
|
325
|
154
|
Примечания:
1. Размеры
раструбов - по черт. 1.
2. Размеры фланца под пожарный кран - по чертежу детали построения к
черт. 28.
Таблица 22
Размеры,
мм
|
Условный проход
|
Dн
|
dн
|
S
|
S1
|
l
|
l1
|
l2
|
Масса, кг
|
|
ствола D0
|
отростка d0
|
|
100
|
100
|
118
|
118
|
10
|
10
|
200
|
200
|
225
|
42
|
|
150
|
100
|
170
|
118
|
11
|
10
|
250
|
200
|
250
|
57
|
|
150
|
150
|
170
|
170
|
11
|
11
|
250
|
250
|
250
|
62
|
|
200
|
100
|
222
|
118
|
13
|
10
|
300
|
225
|
275
|
79
|
|
200
|
150
|
222
|
170
|
13
|
11
|
300
|
225
|
275
|
83
|
|
200
|
200
|
222
|
222
|
13
|
13
|
300
|
300
|
275
|
92
|
|
250
|
150
|
274
|
170
|
14
|
11
|
300
|
250
|
300
|
103
|
|
250
|
200
|
274
|
222
|
14
|
13
|
300
|
275
|
300
|
108
|
|
250
|
250
|
274
|
274
|
14
|
14
|
300
|
300
|
300
|
111
|
|
300
|
200
|
326
|
222
|
15
|
13
|
300
|
300
|
325
|
124
|
|
300
|
250
|
326
|
274
|
15
|
14
|
300
|
300
|
325
|
128
|
|
300
|
300
|
326
|
326
|
15
|
15
|
300
|
300
|
325
|
131
|
Примечания:
1. Размеры
фланцев тройника - по черт. 2.
2. Размеры фланца под пожарный кран - по чертежу детали построения к
черт. 28.
Крест раструб - фланец с
пожарной подставкой

Обозначение креста раструба
- фланца с пожарной подставкой со стволом условного прохода 200 мм и с
отростком условного прохода 150 мм:
Крест ППКРФ 200´150 ГОСТ 5525-88
Черт.
31
Крест фланцевый с пожарной
подставкой

Обозначение фланцевого
креста с пожарной подставкой со стволом условного прохода 250 мм и с отростком условного прохода
200 мм:
Крест ППКФ 250´200 ГОСТ 5525-88
Черт. 32
Таблица 23
Размеры, мм
|
Условный проход
|
Dн
|
dн
|
S
|
S1
|
l
|
l1
|
l2
|
Масса, кг
|
|
ствола D0
|
отростка d0
|
|
100
|
100
|
118
|
118
|
10
|
10
|
200
|
200
|
225
|
50,0
|
|
150
|
100
|
170
|
118
|
11
|
10
|
200
|
200
|
250
|
62,5
|
|
150
|
150
|
170
|
170
|
11
|
11
|
200
|
250
|
250
|
77,5
|
|
200
|
100
|
222
|
118
|
13
|
10
|
200
|
225
|
275
|
83,0
|
|
200
|
150
|
222
|
170
|
13
|
11
|
200
|
225
|
275
|
90,0
|
|
200
|
200
|
222
|
222
|
13
|
13
|
250
|
300
|
275
|
113
|
|
250
|
150
|
274
|
170
|
14
|
11
|
200
|
250
|
300
|
100
|
|
250
|
200
|
274
|
222
|
14
|
13
|
250
|
275
|
300
|
128
|
|
250
|
250
|
274
|
274
|
14
|
14
|
250
|
300
|
300
|
137
|
|
300
|
200
|
326
|
222
|
15
|
13
|
250
|
300
|
325
|
137
|
|
300
|
250
|
326
|
274
|
15
|
14
|
250
|
300
|
325
|
160
|
|
300
|
300
|
326
|
326
|
15
|
15
|
300
|
300
|
325
|
177
|
Примечания:
1. Размеры
раструбов - по черт. 1.
2 Размеры
фланцев креста - по черт. 2.
3. Размеры фланца под пожарный кран - по чертежу детали построения к
черт. 28.
Таблица 24
Размеры, мм
|
Условный проход
|
Dн
|
dн
|
S
|
S1
|
l
|
l1
|
l2
|
Масса, кг
|
|
ствола D0
|
отростка d0
|
|
100
|
100
|
118
|
118
|
10
|
10
|
200
|
200
|
225
|
53
|
|
125
|
125
|
144
|
144
|
11
|
11
|
225
|
225
|
250
|
75
|
|
150
|
100
|
170
|
118
|
11
|
10
|
250
|
200
|
250
|
63
|
|
150
|
150
|
170
|
170
|
11
|
11
|
250
|
250
|
250
|
79
|
|
200
|
150
|
222
|
170
|
13
|
11
|
300
|
225
|
275
|
94
|
|
200
|
200
|
222
|
222
|
13
|
13
|
300
|
300
|
275
|
111
|
|
250
|
150
|
274
|
170
|
14
|
11
|
300
|
250
|
300
|
111
|
|
250
|
200
|
274
|
222
|
14
|
13
|
300
|
275
|
300
|
124
|
|
250
|
250
|
274
|
274
|
14
|
14
|
300
|
300
|
300
|
131
|
|
300
|
200
|
326
|
222
|
15
|
13
|
300
|
300
|
325
|
140
|
|
300
|
250
|
326
|
274
|
15
|
14
|
300
|
300
|
325
|
148
|
|
300
|
300
|
326
|
326
|
15
|
15
|
300
|
300
|
325
|
154
|
Примечания:
1 Размеры
фланцев креста - по черт. 2.
2. Размеры фланца под пожарный кран - по чертежу детали построения к
черт. 28.
1.3. Допускаемые отклонения
устанавливаются:
1) по длине соединительной
части в соответствии с табл. 25.
Таблица 25
|
Вид отливки
|
Условный проход,
мм
|
Допускаемые
отклонения, мм
|
|
Соединительные части с
раструбами, с фланцем и раструбом, с фланцем и гладким концом
|
До 450 включ.
|
±20
|
|
Св. 450
|
+20
-30
|
|
Соединительные части с фланцами
|
Все диаметры
|
±10
|
2) по толщине стенки
соединительной части (S1) - (20,05S1), мм;
3) по толщине фланца
соединительной части (b) + (30,05b) мм;
4) по наружному диаметру и
гладкому концу соединительной части (Dн + (4,5
+ 0,0015D0) мм;
5) по внутреннему диаметру
раструба (Dр) ± (1,5 + 0,001D0) мм:
до 600 мм включ. ±5 мм;
6) по глубине раструба (l1 + l2) для условного прохода ствола:
до 600 мм включ. ±5;
свыше 600 мм ±10 мм;
7) по диаметру центровых
отверстий во фланцах (D1) + 1 мм;
8) по расстоянию между
центрами отверстий ±0,5 мм;
9) по смещению центра
окружности расположения центров болтовых отверстий относительно центра
внутреннего диаметра фланца для условного прохода ствола:
от 50 до 150 мм включ. - не
более 1 мм;
св. 150 до 500 мм включ. -
не более 1,5 мм;
св. 500 мм - не более 2 мм.
Примечания:
1. Плюсовой
допуск по толщине стенки соединительной части ограничивается допуском по массе.
2. На
отдельных участках толщина стенки соединительной части может быть меньше, но не
менее чем минимальная толщина стенки трубы класса Б того же диаметра, при
условии, что площадь такого участка не превышает 1/10 площади поперечного
сечения в свету.
3. Допускаемые отклонения по размерам наружного диаметра
цилиндрической части трубы или гладкого конца соединительной части (Dн),
а также по внутреннему диаметру раструба (Dp) не распространяются на
соединительные части с резиновым уплотнением.
1.4. Отклонения фактической
массы от теоретической не должно превышать:
для соединительных частей,
за исключением отливок, приведенных ниже, +8 %;
для колен соединительных
частей с двумя и более ответвлениями и нестандартных соединительных частей +12
%.
Примечания:
1.
Допускается в партии 5 % соединительных частей, утяжеленных более чем указано.
2. По
согласованию изготовителя с потребителем допускается увеличение максимальной
массы соединительных частей при условии соблюдения всех остальных требований
настоящего стандарта.
3. При подсчете массы изделий относительная масса чугуна принята
равной 7,25.
2.1. Соединительные части
изготовляют в соответствии с требованиями настоящего стандарта по
технологическим регламентам, утвержденным в установленном порядке.
Соединительные части должны
изготовляться из серого чугуна по ГОСТ 1412-85 и
иметь однородную плотность.
2.2. Характеристики
2.2.1. Предел прочности
разрыву металла соединительных частей при растяжении должен быть не менее 140
МПа (14 кгс/см2).
Твердость в центре толщины
стенки отливки не должна превышать 250 единиц по Бринеллю.
2.2.2. Наружная и внутренняя
поверхности соединительных частей должны быть чистыми и гладкими, без дефектов.
Допускаются мелкие дефекты, обусловленные способом производства.
На внутренней и наружной
поверхности соединительных частей допускается местный пригар песка толщиной не
более 2 мм.
2.2.3. Соединительные части
должны выдерживать гидравлическое давление, приведенное в табл. 26.
Таблица 26
|
Вид отливки
|
Условный проход,
мм
|
Испытательное
давление, МПа (кгс/см2)
|
|
Соединительные части
|
До 300 включ.
Св. 300
|
2,5 (25)
2,0 (20)
|
2.2.4. Допускается заварка
дефектов на соединительных частях, а также на обработанных фланцах, при условии,
что соединительные части будут подвергнуты в месте заварки зачистке и
повторному гидравлическому испытанию давлением, повышенным на 0,5 МПа (5 кгс/см2)
по сравнению с нормами, приведенными в табл. 26.
2.2.5. Торцы гладких концов
соединительных частей, а также торцевые поверхности фланцев должны быть
перпендикулярны к осям приведенных соединительных частей.
2.2.6. Оси болтовых
отверстий фланцев на противоположных концах соединительной части должны
составлять одну прямую линию. Отверстия могут быть просверлены или получены при
отливке.
2.2.7. Соединительные части
должны быть покрыты нефтяным битумом. Покрытие должно быть прочным, гладким, не
должно иметь видимых трещин, не должно быть липким, растворяться в воде или
придавать ей запах, размягчаться при температурах ниже +60 °С.
По требованию потребителя
соединительные части должны быть без покрытия.
2.3. Маркировка и упаковка -
по ГОСТ
10692-80 с дополнениями:
на каждой соединительной
части должны быть приведены товарный знак предприятия-изготовителя, условный
проход (мм) и год отливки. Маркировка наносится на наружной поверхности
соединительной части.
3.1. Изделия принимают
партиями. Партия должна состоять из изделий одной формы, одного размера, одной
величины испытательного давления и оформлена одним документом о качестве в
соответствии с ГОСТ
10692-80.
3.2. Осмотру, обмеру и
гидравлическому испытанию должны быть подвергнуто каждое изделие.
3.3. Механические испытания
чугуна изготовитель проводит в процессе производства от первого и последнего
ковша каждой новой шихты или плавки.
3.4. Механические испытания
и химический анализ на содержание углерода, кремния, марганца, фосфора и серы
проводят на одних и тех же образцах.
3.5. При получении
неудовлетворительных результатов испытаний хотя бы по одному из показателей по
нему проводят повторное испытание на удвоенной выборке. Результаты повторных
испытаний распространяются на всю партию.
4.1. Осмотр соединительных
частей проводят без применения увеличительных приборов.
4.2. Химический анализ
чугуна проводят по ГОСТ 22536.0-77 - ГОСТ
22536.6-77.
4.3. Гидравлическое
испытание соединительных частей проводят по ГОСТ
3845-75 с выдержкой под давлением в течение 15 с.
При испытании изделие обстукивают
стальным молотком.
4.4. Отбор образцов для
механических испытаний - по ГОСТ
24648-81.
Образцы для испытания на
растяжение (черт. 33) должны быть
механически обработаны таким образом, чтобы диаметр был равен 20 - 25 мм. Концы
образцов выполняются в соответствии с конструкцией испытательной машины.
4.5. Испытание на твердость
должно проводиться по ГОСТ 9012-59. При
разногласиях в оценке качества замеру твердости в центре толщины стенки отливки
подвергается 1 % изделий от партии.
Транспортирование и хранение
- по ГОСТ
10692-80.

Черт. 33
1. РАЗРАБОТАН И ВНЕСЕН Министерством черной металлургии СССР
РАЗРАБОТЧИКИ
В.И. Стрижак, В.М. Ворона, Г.А. Карпов, И.Г. Панюхно
2. УТВЕРЖДЕН И ВВЕДЕН В ДЕЙСТВИЕ Постановлением Государственного
комитета СССР по стандартам от 29.06.88 № 2516
3. ВЗАМЕН ГОСТ
5525-61
4. ССЫЛОЧНЫЕ НОРМАТИВНО-ТЕХНИЧЕСКИЕ ДОКУМЕНТЫ
5. Переиздание. Ноябрь 1991 г.
СОДЕРЖАНИЕ
|
|