Крупнейшая бесплатная информационно-справочная система онлайн доступа к полному собранию технических нормативно-правовых актов РФ. Огромная база технических нормативов (более 150 тысяч документов) и полное собрание национальных стандартов, аутентичное официальной базе Госстандарта. GOSTRF.com - это более 1 Терабайта бесплатной технической информации для всех пользователей интернета. Все электронные копии представленных здесь документов могут распространяться без каких-либо ограничений. Поощряется распространение информации с этого сайта на любых других ресурсах. Каждый человек имеет право на неограниченный доступ к этим документам! Каждый человек имеет право на знание требований, изложенных в данных нормативно-правовых актах!

  


 

ГОСУДАРСТВЕННЫЙ СТАНДАРТ СОЮЗА ССР

РЕЛЬСЫ ЖЕЛЕЗНОДОРОЖНЫЕ
УЗКОЙ КОЛЕИ ТИПОВ Р8, Р11, Р18 И Р24

КОНСТРУКЦИЯ И РАЗМЕРЫ

ГОСТ 6368-82

ИЗДАТЕЛЬСТВО СТАНДАРТОВ

Москва

ГОСУДАРСТВЕННЫЙ СТАНДАРТ СОЮЗА ССР

РЕЛЬСЫ ЖЕЛЕЗНОДОРОЖНЫЕ УЗКОЙ КОЛЕИ
ТИПОВ Р8, Р11, Р18 И Р24

Конструкция и размеры

Type R8, R11, R18 and R24 narrow-gauge
railway rails. Design and dimensions

ГОСТ
6368-82

Срок действия с 01.01.84

до 01.01.94

1. Настоящий стандарт распространяется на рельсы типов Р8, Р11, Р18 и Р24 (далее - рельсы), предназначенные для укладки на железных дорогах узкой колеи.

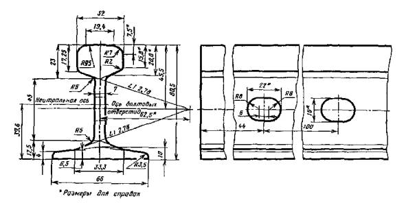
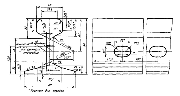
2. Размеры поперечного сечения рельсов, а также расположение и размеры отверстий для болтов должны соответствовать указанным на черт. 1-4.

Тип Р8

Черт. 1

Тип Р11

Черт. 2

Тип Р18

Черт. 3

Тип Р24

Черт 4

Расчетные значения, площадь поперечного сечения рельсов, масса и распределение металла по сечению профиля указаны в приложениях 1 и 2.

3. Предельные отклонения размеров рельсов должны соответствовать указанным в табл. 1.

Таблица 1

мм

Типы рельсов

Предельные отклонения

по высоте рельса

по ширине головки

по толщине шейки

по ширине подошвы

по высоте шейки

по размерам отверстий для болтов, по расстоянию от центра каждого отверстия до торца рельса

по расстоянию от центра отверстия до верхней грани головки или нижней грани подошвы

P8

+0,3

+0,3

+0,3

±2,0

Не регламентируются

±1,0

Не регламентируются

Р11

-1,0

-1,0

-1,0

Р18

+0,3

+0,3

+0,3

+0,3

±1,0

Р24

-1,0

-1,0

-1,0

-0,5

Примечание. Размеры рельсов, на которые не указаны предельные отклонения, контролируют по калибрам в валках при их расточке.

4. Несимметричность поперечного сечения головки и подошвы рельсов типов Р18 и Р24 относительно вертикальной оси шейки не должна превышать полусуммы предельных отклонений размеров соответствующих элементов профиля.

5. В зависимости от назначения рельсы изготовляют:

мерной длины;

кратной мерной длины;

мерной длины с остатком;

укороченной мерной длины для кривых участков пути;

немерной длины.

6. Длина рельсов должна быть указана в заказе в соответствии с табл. 2.

Таблица 2

Типы рельсов

Длина, м

мерная

немерная

укороченная мерная для кривых

мерная с остатком

Р8, P11

5, 6, 7

От 3 до 7

Не изготовляют

Остаток - рельсы немерной длины до 15 % массы партии

Р18, Р24

8

От 3 до 12

7,87

Не изготовляют

Примечания:

1. По требованию потребителя допускается изготовление рельсов типов Р18 и Р24 мерной длины других размеров, не указанных в таблице.

2. Для предприятия лесной и угольной промышленности рельсы типов Р18 и Р24 должны быть мерной длины.

7. Предельные отклонения по длине рельсов мерной длины не должны превышать:

±6 мм - для рельсов с фрезерованными торцами;

±20 мм - для рельсов без фрезеровки торцев (по согласованию между изготовителем и потребителем);

Примечание. Для предприятий лесной промышленности рельсы типов Р18 и Р24 должны изготавливаться с предельными отклонениями по длине ±6 мм - с 01.01.91.

(Измененная редакция, Изм. № 1).

8. На обоих концах рельса выполняют по два отверстия для болтов.

По требованию потребителя рельсы могут быть изготовлены без отверстий для болтов на одном или обоих концах.

9. Высоту шейки рельсов типов Р18 и Р24 проверяют с помощью шаблона по наклонным поверхностям рельсовой пазухи.

10. При прошивке отверстий для болтов контроль размеров производят со стороны входа пуансона.

11. Технические требования к рельсам типов Р18 и Р24 - по ГОСТ 5876, к рельсам типов Р8 и Р11 - по согласованным между изготовителем и потребителем техническим условиям.

ПРИЛОЖЕНИЕ 1

Справочное

Типы рельсов

Площадь поперечного сечения, см2

Расчетные значения

Масса, кг

Расстояние от центра тяжести до верха головки, см

Расстояние от центра тяжести до низа подошвы, см

Момент инерции относительно горизонтальной оси, см4

Момент инерции относительно вертикальной оси, см4

Момент сопротивления по верху головки, см3

Момент сопротивления по низу подошвы, см3

Момент сопротивления по боковой грани, см3

Р8

10,76

3,61

2,89

60,21

9,88

16,66

20,86

3,66

8,42

Р11

14,28

4,09

3,96

126,60

17,06

30,93

31,99

5,17

11,18

Р18

22,88

4,69

4,31

238,44

40,68

50,81

55,36

10,17

17,91

Р24

31,79

5,47

5,33

497,80

86,10

91,02

93,39

18,72

24,90

Примечание. При вычислении массы приняты номинальные размеры поперечного сечения рельсов и плотность стали, равная 7830 кг/см3.

ПРИЛОЖЕНИЕ 2

Справочное

Типы рельсов

Распределение металла по сечению рельса, % от площади сечения

в головке

в шейке

в подошве

Р8

34,17

25,08

40,75

Р11

42,92

23,30

33,78

Р18

43,86

18,98

37,16

Р24

44,47

21,24

34,29

ИНФОРМАЦИОННЫЕ ДАННЫЕ

1. РАЗРАБОТАН И ВНЕСЕН Министерствами черной металлургии СССР

РАЗРАБОТЧИКИ

Н. М. Воронцов, И. С. Гринь, Л. Ф. Кузнецов, Л. Д. Дрозд, Л. И. Иванисенко, Л. В. Климова

2. УТВЕРЖДЕН И ВВЕДЕН В ДЕЙСТВИЕ Постановлением Государственного комитета СССР по стандартам от 07.09.82 № 3527

3. Срок проверки - 1992 г.

4. ВЗАМЕН ГОСТ 6368-52

5. ССЫЛОЧНЫЕ НОРМАТИВНО-ТЕХНИЧЕСКИЕ ДОКУМЕНТЫ

Обозначение НТД, на который дана ссылка

Номер пункта

ГОСТ 5876-82

11

6. Переиздание (январь 1993 г.) с Изменением № 1, утвержденным в мае 1988 г. (ИУС 8-88)

7. Срок действия продлен до 01.01.94 (Постановление Госстандарта СССР от 20.05.88 № 1415)

 




ГОСТЫ, СТРОИТЕЛЬНЫЕ и ТЕХНИЧЕСКИЕ НОРМАТИВЫ.
Некоммерческая онлайн система, содержащая все Российские Госты, национальные Стандарты и нормативы.
В Системе содержится более 150000 файлов нормативно-технической документации, действующей на территории РФ.
Система предназначена для широкого круга инженерно-технических специалистов.

Рейтинг@Mail.ru Яндекс цитирования

Copyright © www.gostrf.com, 2008 - 2026