Крупнейшая бесплатная информационно-справочная система онлайн доступа к полному собранию технических нормативно-правовых актов РФ. Огромная база технических нормативов (более 150 тысяч документов) и полное собрание национальных стандартов, аутентичное официальной базе Госстандарта. GOSTRF.com - это более 1 Терабайта бесплатной технической информации для всех пользователей интернета. Все электронные копии представленных здесь документов могут распространяться без каких-либо ограничений. Поощряется распространение информации с этого сайта на любых других ресурсах. Каждый человек имеет право на неограниченный доступ к этим документам! Каждый человек имеет право на знание требований, изложенных в данных нормативно-правовых актах!

  


 

ТРУБЫ МЕТАЛЛИЧЕСКИЕ
И СОЕДИНИТЕЛЬНЫЕ ЧАСТИ
К НИМ

Часть 4

ТРУБЫ ИЗ ЧЕРНЫХ МЕТАЛЛОВ И СПЛАВОВ
ЛИТЫЕ И СОЕДИНИТЕЛЬНЫЕ ЧАСТИ К НИМ.
ОСНОВНЫЕ РАЗМЕРЫ.
МЕТОДЫ ТЕХНОЛОГИЧЕСКИХ ИСПЫТАНИЙ
ТРУБ

ГОСТ 8958-75*

Москва

ИПК ИЗДАТЕЛЬСТВО СТАНДАРТОВ

1998

ГОСУДАРСТВЕННЫЙ СТАНДАРТ СОЮЗА ССР

СОЕДИНИТЕЛЬНЫЕ ЧАСТИ ИЗ КОВКОГО ЧУГУНА
С ЦИЛИНДРИЧЕСКОЙ РЕЗЬБОЙ ДЛЯ ТРУБОПРОВОДОВ.
НИППЕЛИ ДВОЙНЫЕ

Основные размеры

Ductile iron fittings with
parallel thread for pipelines.
Double nipples. Basic dimensions

ГОСТ
8958-75*

Взамен
ГОСТ 8958-59

Постановлением Государственного комитета стандартов Совета Министров СССР от 14.11.75 № 2901 дата введения установлена

01.01.77

Ограничение срока действия снято по протоколу Межгосударственного Совета по стандартизации, метрологии и сертификации (ИУС 2-93)

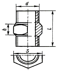
1. Основные размеры ниппелей должны соответствовать указанным на чертеже и в таблице.

Примечание. Чертеж не определяет конструкцию ниппеля.

Размеры в мм

Условный проход Dу

Резьба d

S

L

h

Масса без покрытия, кг, не более*

8

G 1/4 - B

17

36

7

0,029

10

G 3/8 - B

19

38

7

0,035

15

G 1/2 - B

24

44

7

0,065

20

G 3/4 - B

30

47

8

0,090

25

G 1 - B

36

53

8

0,140

32

G 11/4 - В

46

57

9

0,209

40

G 11/2 - B

50

59

9

0,210

50

G 2 - B

65

68

10

0,406

(65)

G 21/2 - В

80

75

11

0,529

(80)

G 3 - B

95

83

12

0,846

* Для справок.

Примечания:

1. Масса оцинкованных соединительных частей не должна превышать массу неоцинкованных более чем на 5 %.

2. Ниппели с Dy, указанными в таблице в скобках, применять не рекомендуется.

Примеры условных обозначений

Двойного ниппеля без покрытия с D 40 мм:

Ниппель 40 ГОСТ 8958-75

то же, с цинковым покрытием:

Ниппель Ц-40 ГОСТ 8958-75

(Измененная редакция, Изм. № 1).

2. Конструктивные размеры и технические требования - по ГОСТ 8944-75.

3. Отклонения размера S - по ГОСТ 6424-73.

 




ГОСТЫ, СТРОИТЕЛЬНЫЕ и ТЕХНИЧЕСКИЕ НОРМАТИВЫ.
Некоммерческая онлайн система, содержащая все Российские Госты, национальные Стандарты и нормативы.
В Системе содержится более 150000 файлов нормативно-технической документации, действующей на территории РФ.
Система предназначена для широкого круга инженерно-технических специалистов.

Рейтинг@Mail.ru Яндекс цитирования

Copyright © www.gostrf.com, 2008 - 2026