Крупнейшая бесплатная информационно-справочная система онлайн доступа к полному собранию технических нормативно-правовых актов РФ. Огромная база технических нормативов (более 150 тысяч документов) и полное собрание национальных стандартов, аутентичное официальной базе Госстандарта. GOSTRF.com - это более 1 Терабайта бесплатной технической информации для всех пользователей интернета. Все электронные копии представленных здесь документов могут распространяться без каких-либо ограничений. Поощряется распространение информации с этого сайта на любых других ресурсах. Каждый человек имеет право на неограниченный доступ к этим документам! Каждый человек имеет право на знание требований, изложенных в данных нормативно-правовых актах!

  


 

ГОСУДАРСТВЕННЫЙ СТАНДАРТ СОЮЗА ССР

БОКСЫ РАДИАЦИОННО-ЗАЩИТНЫЕ
С ПЕРЧАТКАМИ

типы

ГОСТ 28164-89

ГОСУДАРСТВЕННЫЙ КОМИТЕТ СССР ПО СТАНДАРТАМ

Москва

ГОСУДАРСТВЕННЫЙ СТАНДАРТ СОЮЗА ССР

БОКСЫ РАДИАЦИОННО-ЗАЩИТНЫЕ С ПЕРЧАТКАМИ

Типы

Radiation-shielding glove boxes.
Types

ГОСТ
28164-89

Срок действия с 01.07.90

до 01.07.95

Несоблюдение стандарта преследуется по закону

Настоящий стандарт распространяется на металлические и пластмассовые радиационно-защитные боксы с перчатками, с толщинами радиационной защиты из стали не более 2,5 мм или из органического стекла и других пластмасс не более 10 мм, оснащенные герметичными перчатками, предназначенные для работы с радиоактивными веществами в открытом виде по I, II и III классам работ, определяемым «Основными санитарными правилами работы с радиоактивными веществами и другими источниками ионизирующих излучений ОСП 72/87», утвержденными Главным Государственным санитарным врачом.

Стандарт не распространяется на радиационно-защитные боксы, предназначенные для применения на передвижных объектах, а также боксы, предназначенные для специальных целей.

Термины и определения основных понятий, используемых в стандарте, - по ГОСТ 16950.

1. Радиационно-защитные боксы с перчатками в зависимости от числа сторон обслуживания, геометрического профиля корпуса защитного бокса и размеров его должны быть следующих типов:

1БП - одностороннего обслуживания;

2БП - одностороннего обслуживания высокий;

3БП - одностороннего обслуживания с двухъярусным расположением перчаток;

4БП - двухстороннего обслуживания;

5БП - двухстороннего обслуживания высокий;

6БП - одностороннего обслуживания настольный;

7БП - одностороннего обслуживания настольный низкий.

2. Защитные боксы типов 1БП - 5БП следует разделять на виды:

1 - одномодульные;

2 - двухмодульные;

3 - трехмодульные и т.д.

Защитные боксы типов 6БП и 7БП следует выполнять одномодульными.

Примечания:

1. Под модулем защитного бокса понимают длину корпуса бокса, определенную оптимальным обслуживанием рабочего объема защитного бокса одним оператором при одностороннем обслуживании или двумя операторами при двухстороннем обслуживании.

2. Многомодульные боксы внутренних перегородок, как правило, не имеют.

3. Допускается в обоснованных случаях принимать длину корпуса защитного бокса кратной половине модуля.

3. Защитные боксы с перчатками должны изготавливаться из материалов:

коррозионно-стойкой (нержавеющей) стали (нж);

углеродистой стали с соответствующим покрытием (ст);

органического стекла (ос).

Примечание. Допускается изготовление защитных боксов из других материалов, характеристики которых соответствуют характеристикам указанных материалов.

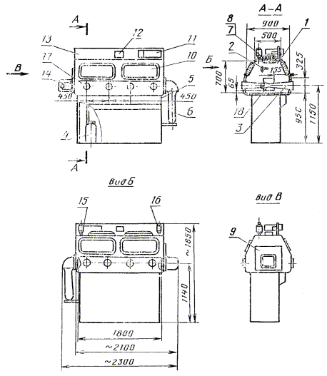
4. Типы и основные размеры защитных боксов должны соответствовать указанным на черт. 1 - 7 и в табл. 1.

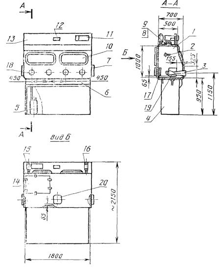
Защитный бокс 1БП1

1 - подставка; 2 - корпус; 3 - перчатки; 4 - окно; 5 - столешница.

Черт. 1

Защитный бокс 2БП1

1 - подставка; 2 - корпус; 3 - перчатки; 4 - окно; 5 - столешница.

Черт. 2

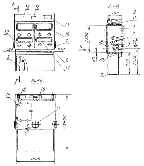
Защитный бокс 3БП1

1 - подставка; 2 - корпус; 3 - перчатки; 4 - окно; 5 - столешница.

Черт. 3

Защитный бокс 4БП1

1 - подставка; 2 - корпус; 3 - перчатки; 4 - окно; 5 - столешница.

Черт. 4

Защитный бокс 5БП1

1 - подставка; 2 - корпус; 3 - перчатки; 4 - окно; 5 - столешница.

Черт. 5

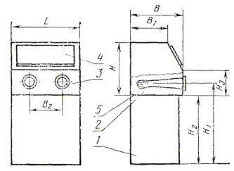
Защитный бокс 6БП1

1 - корпус; 2 - перчатки; 3 - окно; 4 - столешница.

Черт. 6

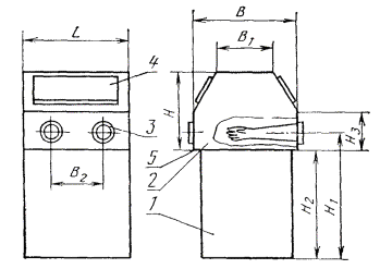
Защитный бокс 7БП1

1 - корпус; 2 - перчатки; 3 - окно; 4 - столешница.

Черт. 7

Таблица 1

Тип одномодульного защитного бокса

Модуль корпуса (внутренний размер), L

Глубина корпуса защитного бокса (внутренний размер), В

Глубина корпуса защитного бокса в его верхней части (внутренний размер), В1

Расстояние между перчатками, В2

Высота рабочей зоны защитного бокса (внутренний размер), Н

Высота установки перчаток от пола (от столешницы), Н1

Высота от пола до столешницы Н2

Высота от столешницы до изгиба передней стенки защитного бокса

нижнего, Н3

верхнего, Н4

1БП1

900

700

500

450

700

1150

950

325

-

2БП1

1000

700

3БП1

700

1250

-

 

4БП1

900

500

700

325

-

5БП1

1000

700

6БП1

700

500

240

350

500

(130)

-

240

-

7БП1

500

0

280

400

ПРИЛОЖЕНИЕ

Справочное

ПРИМЕРЫ КОНСТРУКЦИЙ ЗАЩИТНЫХ БОКСОВ, ИХ ДОПОЛНИТЕЛЬНЫЕ ПАРАМЕТРЫ И РАЗМЕРЫ И ЦЕПОЧКИ ИЗ НИХ БЕЗ ТРАНСПОРТЕРА ПРИ ТРЕХЗОНАЛЬНОЙ ПЛАНИРОВКЕ ПОМЕЩЕНИЯ

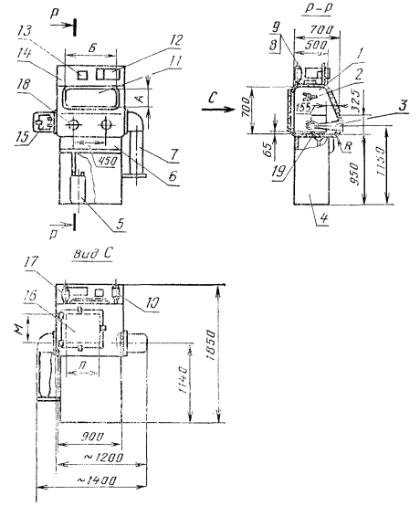
Защитный бокс 1БП1-нж

1 - корпус; 2 - душевик-распылитель; 3 - перчатки; 4 - подставка; 5 - сборник жидких отходов; 6 - вентильная панель; 7 - узел удаления твердых отходов; 8, 11 - окно по ГОСТ 23410; 9 - светильник; 10 - фильтр приточный; 12 - пульт управления; 13 - тягонапоромер; 14 - панель приборов; 15 - шлюз; 16 - монтажная дверь; 17 - фильтр вытяжной; 18 - обойма (d); 19 - 2 люка (К×Л).

Черт. 8

Защитный бокс 2БП2-нж

1 - корпус; 2 - душевик-распылитель; 3 - перчатки; 4 - подставка; 5 - сборник жидких отходов; 6 - вентильная панель; 7 - заглушка люка; 8, 10 - окно по ГОСТ 23410; 9 - светильник; 11 - пульт управления; 12 - тягонапоромер; 13 - панель приборов; 14 - монтажная дверь; 15 - фильтр вытяжной; 16 - фильтр приточный; 17 - дверка люка; 18 - обойма; 19 - 2 люка; 20 - люк для транспортера (К×Л)

Черт. 9

Защитный бокс 3БП2-нж

1 - корпус; 2 - душевик-распылитель; 3 - перчатки; 4 - подставка; 5 - сборник жидких отходов; 6 - вентильная панель; 7 - заглушка люка; 8, 10, 17 - окно по ГОСТ 23410; 9 - светильник; 11 - пульт управления; 12 - тягонапоромер; 13 - панель приборов; 14 - монтажная дверь; 15 - фильтр вытяжной; 16 - фильтр приточный; 18 - дверка люка; 19 - обойма; 20 - 2 люка; 21 - люк для транспортера

Черт. 10

Защитный бокс 4БП2-нж

1 - корпус; 2 - душевик-распылитель; 3 - перчатки; 4 - сборник жидких отходов; 5 - вентильная панель; 6 - узел удаления твердых отходов; 7, 10 - окно по ГОСТ 23410; 8 - светильник; 9 - монтажная дверь; 11 - пульт управления; 12 - тягонапоромер; 13 - панель приборов; 14 - шлюз; 15 - фильтр вытяжной; 16 - фильтр приточный; 17 - обойма; 18 - 2 люка

Черт. 11

Защитный бокс 6БП1-нж

1 - корпус; 2 - перчатки; 3 - шлюз; 4 - пульт управления; 5 - тягонапоромер; 6 - фильтр приточный; 7, 9 - окно по ГОСТ 23410; 8 - светильник; 10 - фильтр вытяжной; 11 - обойма; 12 - люк (К×Л; D)

Черт. 12

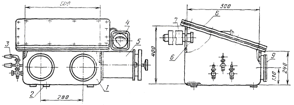
Защитный бокс 7БП1-ос

1 - корпус; 2 - узел слива; 3 - краны; 4 - тягонапоромер; 5 - шлюз; 6 - заслонка узла притока (вытяжки); 7 - фильтр приточный (вытяжной); 8 - корпус; 9 - обоймы для перчаток

Черт. 13

Таблица 2

Дополнительные параметры одномодульных радиационно-защитных боксов и размеры их составных частей

Наименование дополнительных параметров защитных боксов и размеров их частей

1БП1

2БП1

3БП1

4БП1

5БП1

6БП1

7БП1

Рабочий объем, м3

0,40

0,50

0,80

0,50

0,60

0,15

0,10

Площадь столешницы, м2

0,63

0,80

0,35

0,25

Проем смотрового окна А×Б, мм, не менее

290×600

200×600

500×500

Проем монтажной двери М×П, мм, не менее

500×600*

200×600 (через окно)

500×500 (через окно)

Проемы шлюзового и транспортного люков**, мм, не менее:

К×Л

250×250

200×200

-

D

-

180

-

Проем под перчатку d, мм, в корпусе из: стали

180

180

пластмассы

150

Толщина стенок корпуса, мм, не более:

из стали

2,5

из пластмассы

10,0

столешницы

10,0

Внутренний радиус гибки углов корпуса, мм, не менее:

из стали

17

из пластмассы

25

* В боксах типов 1БП - 5БП, устанавливаемых к стене, монтажные проемы могут быть выполнены в любом другом удобном месте корпуса с размерами, определяемыми его конструкцией. Вместо монтажных проемов могут использоваться проемы смотровых окон.

** При присоединении траспортера к боковой стенке транспортным люком может служить шлюзовой люк.

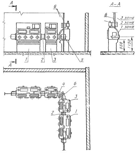
Цепочка из защитных боксов без транспортера при трехзональной планировке помещения

1 - защитный бокс 1БП2; 2 - шлюз промежуточный; 3 - защитный бокс 1БП1; 4 - шлюз промежуточный угловой; 5 - шлюз; 6 - зональная перегородка

Черт. 14

Пример условного обозначения радиационно-защитного бокса типа 2БП двухмодульного из коррозионно-стойкой (нержавеющей) стали:

Защитный бокс 2БП2-нж ГОСТ 28164-89

5. Общие технические требования к конструкции металлических защитных боксов - по ГОСТ 23309.

6. Примеры конструкций защитных боксов, цепочки из них без транспортера с трехзональной планировкой помещения и дополнительные параметры защитных боксов и размеры их составных частей приведены в приложении (черт. 8 - 14 и табл. 2).

ИНФОРМАЦИОННЫЕ ДАННЫЕ

1. УТВЕРЖДЕН И ВВЕДЕН В ДЕЙСТВИЕ Постановлением Государственного комитета СССР по стандартам от 22.06.89 № 1851

2. Срок проверки - 1993 г; периодичность проверки - 5 лет

3. Введен впервые

4. ССЫЛОЧНЫЕ НОРМАТИВНО ТЕХНИЧЕСКИЕ ДОКУМЕНТЫ

Обозначение НТД, на который дана, ссылка

Номер пункта

ГОСТ 16950-81

Вводная часть

ГОСТ 23309-73

5

ГОСТ 23410-78

Приложение

 

 




ГОСТЫ, СТРОИТЕЛЬНЫЕ и ТЕХНИЧЕСКИЕ НОРМАТИВЫ.
Некоммерческая онлайн система, содержащая все Российские Госты, национальные Стандарты и нормативы.
В Системе содержится более 150000 файлов нормативно-технической документации, действующей на территории РФ.
Система предназначена для широкого круга инженерно-технических специалистов.

Рейтинг@Mail.ru Яндекс цитирования

Copyright © www.gostrf.com, 2008 - 2026