Крупнейшая бесплатная информационно-справочная система онлайн доступа к полному собранию технических нормативно-правовых актов РФ. Огромная база технических нормативов (более 150 тысяч документов) и полное собрание национальных стандартов, аутентичное официальной базе Госстандарта. GOSTRF.com - это более 1 Терабайта бесплатной технической информации для всех пользователей интернета. Все электронные копии представленных здесь документов могут распространяться без каких-либо ограничений. Поощряется распространение информации с этого сайта на любых других ресурсах. Каждый человек имеет право на неограниченный доступ к этим документам! Каждый человек имеет право на знание требований, изложенных в данных нормативно-правовых актах!

  


 

ГОСУДАРСТВЕННЫЙ СТАНДАРТ СОЮЗА ССР

 

МАТЕРИАЛЫ ЭЛЕКТРОИЗОЛЯЦИОННЫЕ ТВЕРДЫЕ

МЕТОДЫ ОПРЕДЕЛЕНИЯ ВОСПЛАМЕНЯЕМОСТИ ПОД ВОЗДЕЙСТВИЕМ ИСТОЧНИКА ЗАЖИГАНИЯ

ГОСТ 28779-90

(МЭК 707-81)

 

ГОСУДАРСТВЕННЫЙ КОМИТЕТ СССР ПО УПРАВЛЕНИЮ КАЧЕСТВОМ ПРОДУКЦИИ И СТАНДАРТАМ
Москва

СОДЕРЖАНИЕ

1. ОБЛАСТЬ РАСПРОСТРАНЕНИЯ

2. ОСОБЕННОСТИ ИСПЫТАНИИ

3. ОПРЕДЕЛЕНИЕ

4. ИСПЫТУЕМЫЕ ОБРАЗЦЫ

5. КОНДИЦИОНИРОВАНИЕ

6 ИСПЫТАТЕЛЬНАЯ КАМЕРА

7 МЕТОД ВН (СГ). СТЕРЖЕНЬ НАКАЛЕННЫЙ. ГОРИЗОНТАЛЬНЫЙ ОБРАЗЕЦ

7.1.Источники зажигания

7.2.Испытательная  установка

7.3. Проведение испытания

7.4. Оценка результатов

8. МЕТОД FH (ПГ). ПЛАМЯ. ГОРИЗОНТАЛЬНЫЙ ОБРАЗЕЦ

8.1. Источник зажигания

8.2. Испытательная установка

8.3. Проведение испытания

8.4. Оценка результатов

9. МЕТОД FV (ПВ). ПЛАМЯ. ВЕРТИКАЛЬНЫЙ ОБРАЗЕЦ

9.1. Источник зажигания

9.2. Испытательная установка

9.3. Проведение испытания

9.4. Оценка результатов

10. ПРОТОКОЛ ИСПЫТАНИЙ

ГОСУДАРСТВЕННЫЙ СТАНДАРТ СОЮЗА ССР

МАТЕРИАЛЫ ЭЛЕКТРОИЗОЛЯЦИОННЫЕ ТВЕРДЫЕ

Методы определения воспламеняемости под воздействием источника зажигания

Solid electrical insulating materials.
Test methods for determination of flammability when exposed to an igniting source

ГОСТ
28779-90

(МЭК 707-81)

Дата введения 01.01.92

1. ОБЛАСТЬ РАСПРОСТРАНЕНИЯ

Настоящие методы испытаний применяются для предварительной оценки поведения твердых электроизоляционных материалов при воздействии источника зажигания.

Полученные результаты позволяют проверить постоянные свойства материала, оценить достигнутые успехи в разработке электроизоляционных материалов.

Данные методы предназначены для контроля качества и оценки материалов, но не могут быть использованы для определения пожарной опасности оборудования, так как на воспламеняемость электроизоляционных материалов, используемых в конкретном оборудовании, в большей степени влияют размеры самой изоляционной системы, конструкция и теплопередача к примыкающим металлическим частям.

Требования разделов 4, 5, 6, 8, 9, 10 настоящего стандарта являются обязательными, другие требования настоящего стандарта являются рекомендуемыми.

2. ОСОБЕННОСТИ ИСПЫТАНИИ

Особенностью настоящих методов испытания является установка испытуемых образцов в горизонтальном и вертикальном положении, что позволяет определить различные степени воспламеняемости материалов.

Горизонтальное положение образца (методы ВН (СГ) и FН (ПГ)) позволяет более точно определить распространение горения и (или) скорость распространения пламени.

Вертикальное положение образца (метод FV B)) позволяет более точно определить ограниченное распространение горения вследствие угасания пламени.

Примечание. Для методов ВН (СГ) и FН (ПГ) используют различные источники зажигания. Результаты, полученные по этим двум методам, не эквивалентны.

3. ОПРЕДЕЛЕНИЕ

Воспламеняемость - это способность материала или продукта гореть с образованием пламени. Испытания проводят на образцах определенных размеров по принятым критериям оценки, при использовании определенного источника зажигания.

4. ИСПЫТУЕМЫЕ ОБРАЗЦЫ

Для испытания по методу ВН (СГ) берут образцы следующих размеров:

длина - (125±5) мм;

ширина - (10,0±0,2) мм;

толщина - (4,0±0,2) мм.

Для испытания по методам FH (ПГ) и FV (ПВ) берут образцы следующих размеров:

длина - (125±5) мм;

ширина - (13,0+0,3) мм;

толщина - (3,0±0,2) мм.

Образцы могут быть получены разными способами: литьем под давлением, литьевым прессованием, инъекционным формованием, литьем или механической обработкой листов, труб, стержней или электроизоляционных деталей. Все ребра и поверхности образцов должны быть гладкими.

На образцы для испытания по методам ВН (СГ) и FH (ПГ) должны быть нанесены две маркировочные линии, проведенные перпендикулярно к продольной оси образца, на расстоянии 25 и 100 мм от поджигаемого края. Эти линии могут быть слегка процарапаны на поверхности образца.

Испытаниям подвергают серию из пяти образцов.

(Поправка, ИУС 4 2007)

Примечание. Воспламеняемость зависит от толщины материала. Поэтому в дополнение к указанным толщинам следует добавлять толщины 0,8; 1,6 и 6 мм часто встречающиеся на практике.

5. КОНДИЦИОНИРОВАНИЕ

Перед испытанием образцы подвергают кондиционированию в течение 48 ч в стандартных условиях (48 ч/23°С/50%) (СТ МЭК 212 «Стандартные условия, используемые до испытаний и во время испытаний твердых электроизоляционных материалов»).

6 ИСПЫТАТЕЛЬНАЯ КАМЕРА

Для проведения испытаний используют камеру объемом 1 м3 без воздушной тяги. Камера должна быть снабжена вентилятором для удаления продуктов горения, которые могут быть токсичными. Вентилятор должен отключаться на время испытания и включаться сразу после его проведения.

7 МЕТОД ВН (СГ). СТЕРЖЕНЬ НАКАЛЕННЫЙ. ГОРИЗОНТАЛЬНЫЙ ОБРАЗЕЦ

7.1.Источники зажигания

Накаленный стержень, изготовленный из карбида кремния, диаметром 8 мм, рабочей длиной около 100 мм, с металлизированными контактами на концах. Он должен быть нагрет до температуры (955±15)°С переменным током с применением регулировочного трансформатора или постоянным с использованием резистора.

Используя вольтметр и амперметр или ваттметр, необходимо поддерживать выходную мощность около 350 Вт.

Температуру накаленного стержня контролируют с помощью оптического пирометра или прикладыванием полоски серебряной фольги (массовая доля серебра - 99,8%) толщиной около 0,06мм.

7.2.Испытательная  установка

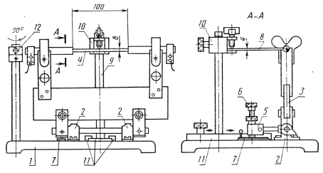
Испытательная установка, представленная на черт. 1, состоит из следующих основных частей:

1 - опорная плита; 2 - подшипники; 3 - держатель; 4 - накаливаемый стержень; 5 - противовес; 6 - опорный винт; 7 - поворотная пластина; 8 - испытуемый образец; 9 - держатель образца: 10 - зажим; 11 - подвижное основание; 12 - поворотный металлический стержень

Черт. 1

зажима для фиксации испытуемого образца в горизонтальном положении. Зажим смонтирован на вертикальном держателе с подвижным основанием, что позволяет испытывать образцы различной длины;

поворотного металлического стержня диаметром 8 мм, длиной 150 мм, предназначенного для установления перед испытанием переднего края зажатого образца плашмя. Этот стержень должен поворачиваться, вставая точно на место, занимаемое накаленным стержнем во время испытаний;

стержня из карбида кремния, смонтированного на держателе из электроизоляционного (керамического или асбестового) материала, способного вращаться в горизонтальной плоскости на двух подшипниках, закрепленных на опорной плите. При необходимости стержень из карбида кремния можно отвести в сторону от образца. Габариты опорной плиты около 275×250 мм;

противовеса, отрегулированного так, чтобы накаливаемый стержень оказывал усилие, прижимающее его к испытательному образцу, около 0,3 Н;

стопорного винта, установленного на поворотной пластине так, чтобы накаливаемый стержень мог оставаться в контакте с образцом пока последний не прогорит на расстояние, равное примерно 5 мм.

7.3. Проведение испытания

Держатель накаливаемого стержня наклоняют от его нормального положения вниз и располагают на этом месте металлический стержень. Испытуемый образец закрепляют, оставляя расстояние между зажимом и второй линией, намеченной на образце (см. п. 4), около 10 мм; прикрепляют держатель так, чтобы передний край образца касался металлического стержня.

Нагревают накаливаемый стержень, находящийся в повернутом наклонном положении, до температуры (955±15)°С. Когда температура достигнет нужного постоянного значения (при постоянных показаниях ваттметра или амперметра), необходимо привести металлический стержень в начальное положение и приподнять накаленный стержень так, чтобы он соприкасался с передним краем образца.

По истечении 3 мин накаленный стержень отводят от образца, повернув держатель. Во время испытания наблюдают поведение образца, хронометром отмечают время горения (в секундах) в момент, когда пламя достигнет первой отметки, расположенной на расстоянии 25 мм от края образца.

Если образец не загорится или если погаснет пламя, то необходимо наблюдать образец еще, по крайней мере, в течение 30 с после того, как был отведен накаленный стержень. Фиксируют любое свечение образца и измеряют длину зоны прогорания образца.

Если пламя достигло второй отметки на образце, то испытание прекращают и гасят пламя.

Скорость распространения пламени рассчитывают делением расстояния между двумя отметками (75 мм) на время, за которое пламя пройдет это расстояние.

7.4. Оценка результатов

Свойства образцов при испытаниях оценивают по следующим трем классам:

ВН (СГ) - стержень накаленный - горизонтальный образец; класс ВН (СГ) 1 - отсутствие видимого пламени во время испытаний; класс ВН (СГ) 2 - пламя гаснет, не достигнув второй отметки (100 мм); при этом указывают длину зоны прогорания (например ВН (СГ) 2 - 70 мм); класс ВН (СГ)3 - пламя достигает второй отметки (100 мм); при этом указывают скорость распространения пламени (например: ВН (СГ) 3 - 30 мм/мин).

Примечание. Если все образцы одного испытываемого материала нельзя отнести к одному классу то материалу присваивают самый высокий по цифровому значению класс.

8. МЕТОД FH (ПГ). ПЛАМЯ. ГОРИЗОНТАЛЬНЫЙ ОБРАЗЕЦ

8.1. Источник зажигания

Голубое пламя высотой (25±2) мм, образуемое лабораторной горелкой (Бунзена или Тиррила) с трубкой длиной 100 мм и внутренним диаметром (9,5±0,5) мм. На трубке горелки не должно быть концевых насадок, например, стабилизаторов пламени.

Питание - технический метан с регулятором пропускной способности и расходомером, предназначенным для получения равномерного газового потока.

Примечание. При замене метана природным газом с теплотворной, способностью 37 МДж/м3 получают одинаковые результаты.

8.2. Испытательная установка

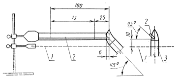
Испытательная установка, представленная на черт. 2, состоит из следующих основных частей:

регулируемого держателя с зажимами, позволяющего удержать образец и металлическую (проволочную) сетку в горизонтальном положении.

Испытуемый образец закрепляют так, чтобы его продольная ось была горизонтальной, а поперечная - наклонной под углом 45°;

металлической проволочной сетки размером 125×125 мм с 20 отверстиями на 25,4 мм (диаметр стальной проволоки, из которой изготовлена сетка 0,043 мм), закрепленной под образцом горизонтально на расстоянии 10 мм от самой низкой его кромки так, чтобы свободный конец образца находился прямо под краем сетки;

передвижного держателя для фиксации горелки в вертикальной плоскости, проходящей через нижний край образца так, чтобы трубка горелки находилась под углом 45° к горизонтальной поверхности образца.

1 - металлическая проволочная сетка; 2 - испытуемый образец; 3 - горелка

Черт. 2

8.3. Проведение испытания

Горелку, расположенную в отдалении от образца, зажигают и регулируют в вертикальном положении так, чтобы голубое пламя имело высоту (25±2) мм. Регулировкой подачи газа и воздуха получают голубое пламя с желтой каемкой высотой (25±2) мм. Затем подачу воздуха увеличивают до исчезновения желтой каемки, высоту пламени вновь измеряют и, если необходимо, корректируют.

Пламя подводят к свободному нижнему краю образца так, чтобы огонь воздействовал на образец на расстоянии около 6 мм. Ось горелки должна находиться в одной вертикальной плоскости с нижней кромкой образца под углом 45° к горизонтальной поверхности образца.

Образец подвергают воздействию пламени в течение 30 с без изменения положения горелки.

Если образец прогорает до отметки 25 мм за время менее 30 с, то горелку отводят от образца в тот момент, когда будет достигнута эта отметка.

Если образец продолжает гореть после воздействия пламени, то определяют время, необходимое для прохождения пламени от первой отметки (25 мм) до второй (100 мм).

Скорость распространения пламени определяют делением расстояния между двумя отметками (75 мм) на время прохождения пламени между ними.

8.4. Оценка результатов

Свойства образцов при испытаниях оценивают по следующим трем классам:

FH (ПГ). Пламя. Горизонтальный образец;

класс FH (ПГ) 1 - отсутствие видимого пламени во время испытаний;

класс FH (ПГ) 2 - пламя гаснет, не достигнув второй отметки (100 мм); при этом указывают длину зоны прогорания (например, FH(ПГ)2 - 70 мм);

класс FH (ПГ) 3 - пламя достигает второй отметки 100 мм; при этом указывают скорость распространения пламени (например, FH(ПГ)3 - 30 мм/мин).

Примечание. Если все образцы одного испытываемого материала нельзя отнести к одному классу, то материалу присваивают самый высокий по цифровому значению класс.

9. МЕТОД FV (ПВ). ПЛАМЯ. ВЕРТИКАЛЬНЫЙ ОБРАЗЕЦ

9.1. Источник зажигания

Голубое пламя высотой (20±2) мм, образуемое лабораторной горелкой (Бунзена или Тиррила) с трубкой длиной 100 мм и внутренним диаметром (9,5 ±0,5) мм. На трубке горелки не должно быть концевых насадок, например стабилизаторов пламени.

Питание - технический метан с регулятором пропускной способности и расходомером, предназначенным для получения равномерного газового потока.

Примечание. При замене метана природным газом с теплотворной способностью около 37 МДж/м3 получают одинаковые результаты.

9.2. Испытательная установка

Испытательная установка состоит из следующих основных частей:

передвижного держателя с зажимами, позволяющего удерживать образец в вертикальном положении. Образец зажимают за верхний конец на расстоянии 6 мм от края и фиксируют так, чтобы его продольная ось была вертикальной, а нижний конец находился в 10 мм от трубки горелки и в 300 мм над слоем сухой гигроскопической хирургической ваты (размером 50×50 мм, максимальной толщиной 6 мм в несжатом состоянии);

передвижного держателя, фиксирующего горелку на расстоянии 10 мм под нижним концом образца, соосно с продольной осью образца. Этот держатель позволяет наклонить горелку под углом 45° относительно вертикальной оси образца, сохраняя в течение испытания расстояние 10 мм между нижним концом образца и верхом трубки горелки.

9.3. Проведение испытания

Каждый образец закрепляют с помощью держателя за верхний конец. Горелку, расположенную в отдалении от образца, зажигают и регулируют в вертикальном положении так, чтобы голубое пламя имело высоту (20±2) мм. Регулировкой подачи газа и воздуха получают голубое пламя с желтой каемкой высотой (20±2) мм. Затем подачу воздуха увеличивают до исчезновения желтой каемки, высоту пламени вторично измеряют и, если необходимо, корректируют. После этого горелку ставят под центром нижнего конца образца и держат в таком положении в течение 10 с. Затем горелку отводят в сторону на расстояние не менее 150 мм и определяют продолжительность самостоятельного горения образца. Как только прекратится горение образца, горелку сразу снова подводят под образец. Спустя 10 с ее вновь отводят в сторону и отмечают продолжительность горения и тления образца.

Если с образца, подвергающегося воздействию пламени, срываются капли расплавленного или горящего материала, то во избежание их попадания в трубку горелки наклоняют горелку под углом 45° и слегка отводят ее в сторону от одного из нижних ребер образца на 13 мм.

Если с образца срываются капли расплавленного или горящего материала или если образец сгорает во время испытаний, то горелку держат рукой на постоянном расстоянии 10 мм между нижним краем образца и верхом трубки горелки в течение времени воздействия пламени. Необходимо воздействовать пламенем на основную часть образца, не принимая во внимание появляющиеся расплавленные волокнообразные части.

9.4. Оценка результатов

Свойства образцов при испытаниях оценивают по следующим трем классам, представленным в таблице:

FV(ПВ): Пламя - вертикальный образец.

Наименование показателя

Классы

FV (ПВ)0

FV (ПВ) 1

FV (ПВ) 2

Время горения после каждого воздействия пламени для каждого образца, с

≤ 10٭

≤ 30٭

≤ 30٭

Суммарное время горения при десяти приложениях пламени для каждой серий из пяти образцов, с

≤ 50

≤ 250

≤ 250

Время тления образца после вторичного удаления пламени, с

≤ 30

≤ 60

≤ 60

Горение и тление образца до крепящего зажима

Не допускается

Появление расплавленных капель или горящих частиц, вызывающих воспламенение ваты, находящейся в 300 мм под испытуемым образцом

Не допускается

Допускается

* Только для од воздействия пламени допускается превышение времени горения 10 или 30 с при условии, что суммарное время горения при десяти приложениях пламени для каждой серии из пяти образцов не превышает 50 или 250 с соответственно.

Примечание. Если хотя бы один из пяти образцов серии не соответствует требованиям, должна быть испытана другая серия из пяти образцов. Все образцы из второй серии должны удовлетворять соответствующим требованиям. Если какой-либо из образцов второй серии не удовлетворяет соответствующим требованиям, то материалу присваивают следующий высший по номеру класс.

(Поправка, ИУС 4 2007)

10. ПРОТОКОЛ ИСПЫТАНИЙ

Протокол испытаний должен содержать следующие сведения:

метод испытания (ВН, FH или FV) (СГ, ПГ, ПВ) по настоящему стандарту;

полное и точное обозначение испытуемого материала, включая тип изготовителя;

описание метода подготовки испытуемых образцов;

толщину образцов;

кондиционирование испытуемых образцов;

класс в соответствии с пп. 7.4; 8.4 или 9.4, необходимо указать отдельные результаты;

плавится ли образец без горения, образуются ли горящие капли или наблюдается необычное поведение образца;

продолжается ли тление после удаления источника пламени;

описание образующегося дыма;

любые отклонения от оговоренных условий, например другой газ.

ИНФОРМАЦИОННЫЕ ДАННЫЕ

1. ПОДГОТОВЛЕН И ВНЕСЕН Министерством электротехнической промышленности и приборостроения СССР

2. УТВЕРЖДЕН И ВВЕДЕН В ДЕЙСТВИЕ Постановлением Государственного комитета СССР по управлению качеством продукции и стандартам от 12.12.90 № 3116

 

Настоящий стандарт подготовлен методом прямого применения международного стандарта МЭК 707-81 «Методы определения воспламеняемости твердых электроизоляционных материалов под воздействием источника зажигания» и полностью ему соответствует

 

3. Введен впервые

 

4. ССЫЛОЧНЫЕ НОРМАТИВНО-ТЕХНИЧЕСКИЕ ДОКУМЕНТЫ

Требование п. 5 соответствует СТ МЭК 212-71

Требования пп. 7.1 - 7.3 соответствуют Рекомендации ИСО 181-81, разд. 4 и 6

 




ГОСТЫ, СТРОИТЕЛЬНЫЕ и ТЕХНИЧЕСКИЕ НОРМАТИВЫ.
Некоммерческая онлайн система, содержащая все Российские Госты, национальные Стандарты и нормативы.
В Системе содержится более 150000 файлов нормативно-технической документации, действующей на территории РФ.
Система предназначена для широкого круга инженерно-технических специалистов.

Рейтинг@Mail.ru Яндекс цитирования

Copyright © www.gostrf.com, 2008 - 2026