ГОСТ 28996-91
МЕЖГОСУДАРСТВЕННЫЙ СТАНДАРТ
ОБОРУДОВАНИЕ НЕФТЕПРОМЫСЛОВОЕ
УСТЬЕВОЕ
ТЕРМИНЫ И ОПРЕДЕЛЕНИЯ
ИПК
ИЗДАТЕЛЬСТВО СТАНДАРТОВ
Москва
МЕЖГОСУДАРСТВЕННЫЙ СТАНДАРТ
|
ОБОРУДОВАНИЕ
НЕФТЕПРОМЫСЛОВОЕ УСТЬЕВОЕ
Термины и определения
Oil-field wellhead equipment. Terms and definitions
|
ГОСТ
28996-91
|
Дата введения 01.07.92
Настоящий стандарт
устанавливает термины и определения понятий в области устьевого
нефтепромыслового оборудования нефтяных, газовых и прочих скважин.
Термины, установленные
настоящим стандартом, обязательны для применения во всех видах документации и
литературы в области нефтепромыслового оборудования, входящих в сферу работ по
стандартизации и использующих результаты этой работы.
1. Для каждого понятия
установлен один стандартизованный термин.
Недопустимые к применению
термины-синонимы приведены в круглых скобках после стандартизованного термина и
обозначены пометой «Ндп».
2. Заключенная в круглые
скобки часть термина может быть опущена при использовании термина в документах
по стандартизации.
Наличие квадратных скобок в
терминологической статье означает, что в нее включены два (три, четыре и более)
термина, имеющие общие терминоэлементы. В алфавитном указателе данные термины
приведены отдельно с указанием номера одной статьи.
3.
Приведенные определения можно, при необходимости, изменять, вводя в них
производные признаки, раскрывая значения используемых в них терминов, указывая
объекты, входящие в объем определяемого понятия. Изменения не должны нарушать объем
и содержание понятий, определенных в данном стандарте.
В случае, когда в термине
содержатся все необходимые и достаточные признаки понятия, определение не
приводится, и вместо него ставится прочерк.
4. В
стандарте приведены иноязычные эквиваленты стандартизованных терминов на
английском языке.
5. В стандарте приведены
алфавитные указатели терминов на русском и английском языках.
6. Термины и определения
общетехнических понятий, необходимые для понимания текста стандарта, приведены
в приложении 4.
7. Стандартизованные термины
набраны полужирным шрифтом, недопустимые - курсивом.
8. В приложении 1
приведены иллюстрации.
9. Правила образования
составных терминов приведены в приложении 2.
10. В
приложении 3 приведены схемы классификации устьевого нефтепромыслового оборудования.
ОСНОВНЫЕ ВИДЫ
УСТЬЕВОГО ОБОРУДОВАНИЯ
|
1 устьевое (нефтепромысловое)
оборудование (Ндп. оборудование устья; обвязка устья): Техническое
средство или совокупность технических средств, устанавливаемых на устье
скважины нефтяной или газовой залежи при ее строительстве, эксплуатации или
ремонте, предназначенных для выполнения одной или нескольких самостоятельных
функций, связанных с герметизацией устья.
Примечание. К
устьевому оборудованию не относятся наземные манифольды и трубопроводы,
присоединяемые к оборудованию после его установки на устье
|
wellhead equipment
|
|
2 устьевая обвязка: Устьевое
оборудование для обвязывания обсадных колонн и скважинных трубопроводов
|
wellhead completion equipment
|
|
3 колонная (устьевая)
обвязка (Ндп. оборудование обвязки обсадных колонн; колонная головка):
Часть устьевой обвязки, предназначенная для обвязывания двух и более
обсадных колонн и контроля давления в заколонном и межколонном пространстве
|
casing connections
|
|
4 двухколонная
[трехколонная, четырехколонная, пятиколонная] обвязка: -
|
dual-string [three-string, four-string, five-string] connections
|
|
5
однокорпусная колонная обвязка: Устьевая
колонная обвязка, в которой обсадные колонны обвязаны в одном корпусе
|
single-string connections
|
|
6 многокорпусная
колонная обвязка: Устьевая колонная обвязка, в которой колонны обвязаны в
двух или более корпусах
|
multiple-string connections
|
|
7 (устьевая) колонная
головка (Ндп. обсадная головка): Часть однокорпусной или
многокорпусной колонной обвязки без запорных устройств на боковых отводах,
содержащая трубодержатель и уплотнитель для одной обсадной колонны
|
casing head
|
|
8 однофланцевая
колонная головка (Ндп. нижняя колонная головка; двухрядная колонная
головка): Устьевая колонная головка с одним верхним присоединительным
стволовым фланцем, устанавливаемая на обсадной колонне
|
casing head housing
|
|
9 двухфланцевая
колонная головка (Ндп. промежуточная колонная головка; однорядная
колонная головка): Устьевая колонная головка с двумя соосными
присоединительными стволовыми фланцами, устанавливаемая на фланец устьевого
оборудования
|
casing spool
|
|
10 клиньевая колонная
головка: Устьевая колонная головка, в которой обвязываемая колонна
закрепляется на клиньевом трубодержателе
|
slip-type casing head
|
|
11 резьбовая колонная
головка: Устьевая колонная головка, в которой обвязываемая колонна
закрепляется на резьбовом трубодержателе
|
threaded casing head
|
|
12 превенторный блок (Ндп.
превенторная установка; противовыбросовая обвязка): Часть
противовыбросового оборудования, включающая превенторы и соединяющие их
детали, устанавливаемые на устье
|
blowout preventer stack
|
|
13 превентор: Устьевое
оборудование, обеспечивающее перекрытие контактным управляемым уплотнителем
стволового прохода.
|
blowout preventer
|
|
Примечание. В
стволовом проходе могут находиться неподвижные или движущиеся колонны труб
или тросы
|
|
|
14
плашечный превентор (Ндп. поршневой
превентор): Превентор, уплотнитель которого выполнен из частей-плашек,
перемещаемых перпендикулярно к продольной оси стволового прохода
|
ram-type blowout preventer
|
|
15
кольцевой превентор (Ндп. универсальный
превентор; автоматический превентор; армированный превентор): Превентор,
уплотнитель которого выполнен в виде кольца, концентричного стволовому
проходу
|
annular blowout preventer
|
|
16 одинарный превентор:
Превентор с одним уплотнителем
|
single blowout preventer
|
|
17 двойной превентор (Ндп.
сдвоенный превентор; спаренный превентор): Превентор с двумя
уплотнителями, каждый из которых имеет отдельный привод
|
double blowout preventer
|
|
18 тройной превентор (Ндп.
строенный превентор): Превентор с тремя уплотнителями, каждый из
которых имеет отдельный привод
|
triple blowout preventer
|
|
19 ручной превентор: Превентор
с ручным приводом уплотнителя
|
manual blowout preventer
|
|
20 гидравлический
превентор: Превентор с гидравлическим приводом уплотнителя
|
hydraulic blowout preventer
|
|
21 (устьевой)
герметизатор (Ндп. промывочная головка; уплотнительная головка): Устьевое
оборудование, обеспечивающее перекрытие стволового прохода контактным
нерегулируемым уплотнителем только с неподвижной или движущейся в нем колонной
труб, имеющее, как правило, боковые отводы для присоединения наземного
трубопровода или манифольда
|
wellhead seal
|
|
22 безотводный
(устьевой) герметизатор (Ндп. герметизирующая головка;
противовыбросовая катушка; сальниковая катушка; обратный сальник;
самоуплотняющая катушка): Устьевой герметизатор, не имеющий боковых
отводов для присоединения наземных трубопроводов и манифольдов
|
stripper head
|
|
23 роторный (устьевой)
герметизатор (Ндп. вращающийся превентор): Устьевой герметизатор,
уплотнитель которого имеет возможность вращения относительно корпуса
|
rotating head
|
|
24 устьевая арматура (Ндп. арматура устья; устьевое оборудование; оборудование устья): Устьевое
оборудование, обеспечивающее управление потоком скважинной среды в скважинном
трубопроводе или трубопроводах и затрубном пространстве, а также обвязывание
скважинного трубопровода или трубопроводов.
|
wellhead assembly
|
|
Примечание. В
отдельных случаях скважинный трубопровод может закрепляться вне устьевой
арматуры
|
|
|
25 фонтанная (устьевая)
арматура: Устьевая арматура фонтанной скважины.
|
flowing wellhead assembly
|
|
Примечание. В обоснованных случаях фонтанная
арматура также устанавливается на скважинах других видов: газлифтных,
контрольных
|
|
|
26 нагнетательная
(устьевая) арматура: Устьевая арматура нагнетательной скважины
|
injection wellhead assembly
|
|
27 насосная (устьевая)
арматура (Ндп. арматура периодически фонтанирующих скважин): Устьевая
арматура насосной скважины.
|
rumping wellhead assembly
|
|
Примечание. К насосной арматуре относится также
устьевая арматура насосных скважин с избыточным давлением на устье
|
|
|
28 штангонасосная
(устьевая) арматура (Ндп. глубиннонасосная арматура): Устьевая
насосная арматура скважин, эксплуатируемых скважинным штанговым насосом
|
sucker-rod pumping wellhead assembly
|
|
29 электронасосная
(устьевая) арматура: Устьевая насосная арматура скважин, эксплуатируемых
скважинным электроприводным насосом
|
electric pumping wellhead assembly
|
|
30 гидронасосная
(устьевая) арматура: Устьевая насосная арматура скважин, эксплуатируемых
скважинным гидроприводным насосом
|
hydraulic pumping wellhead assembly
|
|
31 одноствольная
(устьевая) арматура (Ндп. арматура для однорядного подъемника): Устьевая
арматура с одним стволовым проходом в устьевой елке
|
single completion wellhead assembly
|
|
32 однорядная
(одноствольная) арматура: Устьевая одноствольная арматура, обеспечивающая
подвешивание одного скважинного трубопровода
|
single completion single string wellhead assembly
|
|
33 двухрядная
(одноствольная) арматура (Ндп. арматура для двухрядного подъемника): Устьевая
одноствольная арматура, обеспечивающая подвешивание двух концентричных
скважинных трубопроводов, соосных стволовому проходу устьевой елки
|
single completion dual string wellhead assembly
|
|
34 двухствольная
(устьевая) арматура (Ндп. сдвоенная арматура; арматура для раздельной
эксплуатации): Устьевая арматура, обеспечивающая подвешивание двух
параллельных скважинных трубопроводов, соосных проходам двухствольной
устьевой елки
|
dual completion wellheac assembly
|
|
35 тройниковая
(устьевая) арматура: Устьевая арматура с тройниковой устьевой елкой
|
tee-type wellhead assembly
|
|
36 крестовая (устьевая)
арматура: Устьевая арматура с крестовой устьевой елкой
|
cross-type wellhead assembly
|
|
37 трубная обвязка (Ндп.
основание трубной головки; пьедестал фонтанной арматуры): Часть
устьевой обвязки, входящая в устьевую арматуру, обеспечивающая обвязывание
одного или нескольких скважинных трубопроводов с обсадной колонной и между
собой и возможность управления потоком скважинной среды в затрубном
пространстве
|
tubing connections
|
|
38 одноствольная
трубная обвязка: Трубная обвязка, обеспечивающая обвязывание одного или
нескольких концентричных скважинных трубопроводов
|
single completion tubing connections
|
|
39 однорядная
(одноствольная) трубная обвязка: Одноствольная трубная обвязка,
обеспечивающая обвязывание одного скважинного трубопровода
|
single completion single string tubing connections
|
|
40 двухрядная
(одноствольная) трубная обвязка: Одноствольная трубная обвязка,
обеспечивающая обвязывание двух концентричных скважинных трубопроводов
|
single completion dual string tubing connections
|
|
41 двухствольная
трубная обвязка: Трубная обвязка, обеспечивающая обвязывание двух
параллельных скважинных трубопроводов
|
dual completion tubing connections
|
|
42 трубная головка: Часть
трубной обвязки без запорных устройств на боковых отводах корпуса, включающая
трубодержатель и уплотнитель для одного или нескольких параллельных
скважинных трубопроводов
|
tubing head
|
|
43 одноствольная
трубная головка: Трубная головка, имеющая трубодержатель для одного
скважинного трубопровода
|
single-completion tubing head
|
|
44 двухствольная
трубная головка: Трубная головка, имеющая трубодержатель для двух
параллельных скважинных трубопроводов
|
dual-completion tubing head
|
|
45 клиньевая трубная
головка: Трубная головка с клиньевым трубодержателем
|
slip-type tubing head
|
|
46 резьбовая трубная
головка: Трубная головка с резьбовым трубодержателем
|
threaded tubing head
|
|
47 (устьевая) елка: Часть
устьевой арматуры, предназначенная для регулирования параметров потока скважинной
среды в скважинном трубопроводе, а также распределения или смешивания потоков
|
Christmas Tree
|
|
48 тройниковая
(устьевая) елка: Устьевая елка, боковые отводы которой соединены со
стволовой частью с помощью тройников
|
tee-type Christmas tree
|
|
49 крестовая (устьевая)
елка: Устьевая елка, боковые отводы которой соединены со стволовой частью
с помощью крестовин
|
cross-type Christmas tree
|
|
50 одноствольная
(устьевая) елка: Устьевая елка с одним стволовым проходом
|
single completion Christmas tree
|
|
51 двухствольная
(устьевая) елка: Устьевая елка с двумя параллельными стволовыми проходами
|
dual completion Christmas tree
|
|
52 фонтанная (устьевая)
елка: -
|
flowing well Christmas tree
|
|
53
нагнетательная (устьевая) елка: -
|
injection well Christmas tree
|
|
54
насосная (устьевая) елка: -
|
pumping well Christmas tree
|
|
55 устьевой шлюз: Устьевое
оборудование, предназначенное для шлюзования скважинного оборудования при его
спуске в скважину или подъеме из скважины на тросе, трубах или потоком
скважинной среды
|
-
|
|
56 тросовый (устьевой)
шлюз (Ндп. лубрикатор; скважинный лубрикатор; лубрикаторная
установка): Устьевой шлюз для оборудования, спускаемого в скважину на
тросе
|
wellhead wireline equipment
|
|
57 трубный (устьевой)
шлюз: Устьевой шлюз для оборудования, спускаемого в скважину на колонне
труб или штанг
|
-
|
|
58
(устьевой) оголовок: (Ндп. устьевая головка;
промывочная головка): Устьевое оборудование, закрывающее верхний конец
выступающей над устьем колонны труб, имеющее отводы для сообщения внутренней
полости колонны труб с наземными трубопроводами
|
-
|
|
59 бурильный (устьевой)
оголовок: Оголовок, устанавливаемый на бурильной колонне
|
-
|
|
60 обсадный (устьевой) оголовок:
Оголовок, устанавливаемый на обсадной колонне
|
-
|
|
61 трубный (устьевой)
оголовок: Оголовок, устанавливаемый на скважинном трубопроводе
|
-
|
|
62 (устьевой) вертлюг: Оголовок,
предназначенный для подачи скважинной среды во вращающуюся колонну труб и,
как правило, имеющий приспособления для ее подвешивания
|
hoisting swivel
|
|
63 буровой (устьевой)
вертлюг: Вертлюг, используемый в составе буровой установки для подачи
скважинной среды в колонну бурильных труб
|
hoisting drilling swivel
|
|
64 трубный (устьевой)
вертлюг: Вертлюг, предназначенный для подачи скважинной среды в колонну
насосно-компрессорных труб
|
hoisting water swivel
|
|
65 цементировочная
головка: Оголовок, имеющий съемную крышку для ввода в колонну труб
цементировочных разделительных пробок
|
cementing head
|
|
66 камерная
цементировочная головка: Цементировочная головка, имеющая устьевую камеру
для предварительного размещения цементировочных разделительных пробок перед
их вводом в колонку труб
|
chamber-type cementing head
|
|
67 бурильная
цементировочная головка: Цементировочная головка, устанавливаемая на
бурильной колонне
|
cementing drilling head
|
|
68 обсадная
цементировочная головка: Цементировочная головка, устанавливаемая на
обсадной колонне
|
cementing casing head
|
|
ПРИСПОСОБЛЕНИЕ УСТЬЕВОГО ОБОРУДОВАНИЯ
|
|
69 устьевая камера: Приспособление,
предназначенное для размещения скважинного оборудования до спуска в скважину
или после подъема
|
wellhead chamber
|
|
70 устьевая крестовина:
Приспособление для установки устьевого оборудования или его части,
имеющее боковые отводы для сообщения стволового прохода с наземными
трубопроводами
|
wellhead cross connection
|
|
71 уплотнительная
катушка [фланец, крестовина]: Часть трубной обвязки в виде фланцевой
катушки [фланца, крестовины], обеспечивающая уплотнение затрубного
пространства скважинного трубопровода с помощью контактного уплотнителя
|
pack-off spool flange, cross-connection
|
|
72 переводник трубной
головки: Часть елки в виде фланцевой катушки или переводного фланца, с
помощью которой она соединяется с трубной головкой.
|
tubing head adapter
|
|
Примечание. При расположении
трубодержателя скважинного трубопровода в переводнике трубной головки он
является также частью трубной обвязки
|
|
|
73 катушка-трубодержатель
(Ндп. катушка для подвески насосно-компрессорных труб; подвеска
фонтанных труб; катушка с планшайбой): Часть трубной обвязки в виде
фланцевой катушки с трубодержателем
|
tubing hanger spool
|
|
74 фланец-трубодержатель
(Ндп. планшайба): Часть трубной обвязки в виде переводного фланца
с трубодержателем
|
hanger flange
|
|
75 крестовина-трубодержатель:
Часть трубной обвязки в виде устьевой крестовины, содержащая
трубодержатель
|
-
|
|
76 колонный фланец: Приспособление
для установки устьевого оборудования, конструктивно выполненное в виде
фланца, присоединяемого к обсадной колонне
|
casing flange
|
|
77 приварной колонный
фланец: Колонный фланец, присоединяемый к обсадной колонне путем сварки
|
welded casing flange
|
|
78 резьбовой колонный
фланец: Колонный фланец, присоединяемый к обсадной колонне на резьбе
|
threaded casing flange
|
|
79 клиньевой колонный
фланец (Ндп. клиньевая головка): Колонный фланец, присоединяемый к
обсадной колонне с помощью клиньевого захвата
|
slip-type casing flange
|
|
УЗЛЫ УСТЬЕВОГО ОБОРУДОВАНИЯ
|
|
80 трубодержатель (Ндп.
трубная подвеска; подвеска фонтанных труб): Устройство для закрепления
в устьевом оборудовании верхнего конца обсадной колонны или скважинного
трубопровода
|
tubing ang casing hanger
|
|
81 клиньевой
трубодержатель: Трубодержатель для закрепления трубы на клиньевом захвате
|
slip-type tubing hanger
|
|
82 резьбовой
трубодержатель: Трубодержатель для закрепления трубы на резьбе
|
threaded tubing hanger
|
|
83 (устьевой)
уплотнитель: Уплотнительное устройство устьевого оборудования, герметизирующее
непосредственно по наружному диаметру трубу, трос или устьевой шток или
перекрывающее стволовой проход
|
casing head pack-off
|
|
84
контактный уплотнитель: Уплотнитель, осуществляющий
герметизацию за счет контакта сопрягаемых поверхностей
|
line wiper
|
|
85 бесконтактный
уплотнитель: Уплотнитель, осуществляющий герметизацию при отсутствии
контакта сопрягаемых поверхностей за счет наличия между ними вязкой среды,
отводимой в дренажную систему
|
control head
|
|
86 гидростатический
уплотнитель: Бесконтактный уплотнитель, вязкая среда в которой в виде
пластичного смазочного материала подается извне
|
grease control head
|
|
87 гидродинамический
[газодинамический] уплотнитель: Бесконтактный уплотнитель, в котором в
качестве вязкой среды используется жидкая [газовая] скважинная среда
|
flow control head
|
|
88 регулируемый
уплотнитель: Уплотнитель, в котором предусмотрена возможность
регулирования утечек
|
packing nut
|
|
89 нерегулируемый
уплотнитель: Уплотнитель, в котором не предусмотрена возможность
регулирования утечек
|
-
|
|
90 управляемый
уплотнитель: Регулируемый уплотнитель, в котором предусмотрена
возможность регулирования в процессе работы
|
-
|
|
91 неуправляемый
уплотнитель: Регулируемый уплотнитель, в котором не предусмотрена
возможность регулирования в процессе работы
|
-
|
|
92 устьевой сальник: Контактный
регулируемый неуправляемый уплотнитель
|
stuffing box
|
АЛФАВИТНЫЙ
УКАЗАТЕЛЬ ТЕРМИНОВ НА РУССКОМ ЯЗЫКЕ
арматура
гидронасосная 30
арматура
глубиннонасосная 28
арматура
двухрядная 33
арматура
двухствольная 34
арматура
для двухрядного подъемника 33
арматура
для однорядного подъемника 31
арматура
для раздельной эксплуатации 34
арматура
крестовая 36
арматура
нагнетательная 26
арматура
насосная 27
арматура
однорядная 32
арматура
одноствольная 31
арматура
одноствольная двухрядная 33
арматура
одноствольная однорядная 32
арматура
периодически фонтанирующих скважин 27
арматура
сдвоенная 34
арматура
тройниковая 35
арматура
устьевая 24
арматура
устьевая двухствольная 34
арматура
устьевая гидронасосная 30
арматура
устьевая крестовая 36
арматура
устьевая нагнетательная 26
арматура
устьевая насосная 27
арматура
устьевая одноствольная 31
арматура
устьевая тройниковая 35
арматура
устьевая фонтанная 25
арматура
устьевая штангонасосная 28
арматура
устьевая электронасосная 29
арматура
устья 24
арматура
фонтанная 25
арматура
штангонасосная 28
арматура
электронасосная 29
блок
превенторный 12
вертлюг 62
вертлюг
буровой 63
вертлюг
трубный 64
вертлюг
устьевой 62
вертлюг
устьевой буровой 63
вертлюг
устьевой трубный 64
герметизатор 21
герметизатор
безотводный 22
герметизатор
роторный 23
герметизатор
устьевой 21
герметизатор
устьевой безотводный 22
герметизатор
устьевой роторный 23
головка
герметизирующая 22
головка
клиньевая 79
головка
колонная 3
головка
колонная 7
головка
колонная двухрядная 8
головка
колонная двухфланцевая 9
головка
колонная клиньевая 10
головка
колонная нижняя 8
головка
колонная однорядная 9
головка
колонная однофланцевая 8
головка
колонная промежуточная 9
головка
колонная резьбовая 11
головка
колонная устьевая 7
головка
обсадная 7
головка
промывочная 21, 58
головка
трубная 42
головка
трубная двухствольная 44
головка
трубная клиньевая 45
головка
трубная одноствольная 43
головка
трубная резьбовая 46
головка
уплотнительная 21
головка
устьевая 58
головка
цементировочная 65
головка
цементировочная бурильная 67
головка
цементировочная камерная 66
головка
цементировочная обсадная 68
елка 47
елка
двухствольная 51
елка крестовая 49
елка
нагнетательная 53
елка насосная 54
елка
одноствольная 50
елка
тройниковая 48
елка
устьевая 47
елка
устьевая двухствольная 51
елка
устьевая крестовая 49
елка
устьевая нагнетательная 53
елка
устьевая насосная 54
елка
устьевая одноствольная 50
елка
устьевая тройниковая 48
елка
устьевая фонтанная 52
елка фонтанная 52
камера
устьевая 69
катушка для
подвески насосно-компрессорных труб 73
катушка
противовыбросовая 22
катушка
сальниковая 22
катушка самоуплотняющая 22
катушка с
планшайбой 73
катушка-трубодержатель 73
катушка
уплотнительная 71
крестовина-трубодержатель 75
крестовина
уплотнительная 71
крестовина
устьевая 70
лубрикатор 56
лубрикатор
скважинный 56
обвязка
двухколонная 4
обвязка
колонная 3
обвязка
колонная многокорпусная 6
обвязка колонная однокорпусная 5
обвязка пятиколонная 4
обвязка
противовыбросовая 12
обвязка трехколонная 4
обвязка трубная 37
обвязка
трубная двухрядная 40
обвязка трубная двухствольная 41
обвязка
трубная однорядная 39
обвязка трубная одноствольная 38
обвязка трубная одноствольная двухрядная 40
обвязка трубная одноствольная однорядная 39
обвязка устьевая 2
обвязка устьевая колонная 3
обвязка
устья 1
обвязка четырехколонная 4
оборудование
обвязки обсадных колонн 3
оборудование нефтепромысловое устьевое 1
оборудование
устьевое 1
оборудование
устьевое 24
оборудование
устья 1, 24
оголовок 58
оголовок
бурильный 59
оголовок
обсадный 60
оголовок
трубный 61
оголовок устьевой 58
оголовок устьевой бурильный 59
оголовок устьевой обсадный 60
оголовок устьевой трубный 61
основание
трубной головки 37
переводник трубной головки 72
планшайба 74
подвеска
трубная 80
подвеска
фонтанных труб 73, 80
превентор 13
превентор
автоматический 15
превентор
армированный 15
превентор вращающийся 23
превентор гидравлический 20
превентор двойной 17
превентор кольцевой 15
превентор одинарный 16
превентор плашечный 14
превентор
поршневой 14
превентор ручной 19
превентор
сдвоенный 17
превентор
спаренный 17
превентор
строенный 18
превентор тройной 18
превентор
универсальный 15
пьедестал
фонтанной арматуры 37
сальник
обратный 22
сальник устьевой 92
трубодержатель 80
трубодержатель клиньевой 81
трубодержатель резьбовой 82
уплотнитель 83
уплотнитель бесконтактный 85
уплотнитель газодинамический 87
уплотнитель гидродинамический 87
уплотнитель гидростатический 86
уплотнитель контактный 84
уплотнитель нерегулируемый 89
уплотнитель неуправляемый 91
уплотнитель регулируемый 88
уплотнитель
управляемый 90
уплотнитель
устьевой 83
установка
лубрикаторная 56
установка
превенторная 12
фланец
колонный 76
фланец
колонный клиньевой 79
фланец
колонный приварной 77
фланец
колонный резьбовой 78
фланец-трубодержатель 74
фланец
уплотнительный 71
шлюз тросовый 56
шлюз трубный 57
шлюз
устьевой 55
шлюз
устьевой тросовый 56
шлюз
устьевой трубный 57
АЛФАВИТНЫЙ УКАЗАТЕЛЬ
ТЕРМИНОВ НА АНГЛИЙСКОМ ЯЗЫКЕ
Annullar blowout preventer 15
Blowout preventer 13
Blowout preventer stack 12
Casing connections 3
Casing flange 76
Casing head 7
Casing head housing 8
Casing head pack-off 83
Casing spool 9
Cementing casing head 68
Cementing drilling head 67
Cementing head 65
Chamber-type cementing head 66
Christmas tree 47
Control head 85
Cross-type Christmas tree 49
Cross-type wellhead assembly 36
Double blowout preventer 17
Dual completion Christmas tree 51
Dual completion tubing connections 41
Dual-completion tubing head 44
Dual-completion wellhead assembly 34
Dual-string connections 4
Electric pumping wellhead assembly 29
Five-string connections 4
Flow control head 87
Flowing well Christmas tree 52
Flowing wellhead assembly 25
Four-string connections 4
Grease control head 86
Hanger flange 74
Hoisting drilling swivel 63
Hoisting swivel 62
Hoisting water swivel 64
Hydraulic blowout preventer 20
Hydraulic pumping wellhead assembly 30
Injection well Christmas tree 53
Injection wellhead assembly 26
Line wiper 84
Manual blowout preventer 19
Multiple-string connections 6
Packing nut 88
Pack-off cross-connection 71
Pack-off flange 71
Pack-off spool 71
Pumping well Christmas tree 54
Pumping wellhead assembly 27
Ram-type blowout preventer 14
Rotating head 23
Single blowout preventer 16
Single completion Christmas tree 50
Single completion dual string tubing connections 40
Single completion dual string wellhead assembly 33
Single completion single string tubing connections 39
Single completion single string wellhead assembly 32
Single completion tubing connections 38
Single completion tubing head 43
Single completion wellhead assembly 31
Single-string connections 5
Slip-type casing flange 79
Slip-type casing head 10
Slip-type tubing hanger 81
Slip-type tubing head 45
Stripper head 22
Stuffing box 92
Susker-rod pumping wellhead assembly 28
Tee-type Christmas tree 48
Tee-type wellhead assembly 35
Threaded casing flange 78
Threaded casing head 11
Threaded tubing hanger 82
Threaded tubing head 46
Three-string connections 4
Triple blowout preventer 18
Tubing and casing hanger 80
Tubing connections 37
Tubing hanger spool 73
Tubing head 42
Tubing head adapter 72
Welded casing flange 77
Wellhead assembly 24
Wellhead chamber 69
Wellhead completion equipment 2
Wellhead cross-connection 70
Wellhead equipment 1
Wellhead seal 21
Wellhead wireline equipment 56
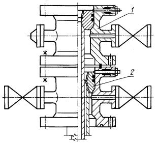
Справочное
Устьевая обвязка (2)

I - колонная обвязка; II - трубная обвязка; 1 - трубная головка (42); 2
- резьбовой трубодержатель (82); 3 - двухфланцевая колонная головка (9); 4 - клиньевой
трубодержатель (81);
5 - однофланцевая колонная головка (8)
Превенторный блок (12)

1
- устьевой герметизатор (21); 2 - кольцевой превентор (15); 3
- плашечный превентор (14); 4 - устьевая крестовина (70)
Тросовый устьевой шлюз (55)

1
- плашечный превентор (14); 2 - устьевая камера (69)
Кольцевой превентор (15)

1 - управляемый контактный уплотнитель (82, 86)
Плашечный превентор (14)

1 - управляемый
контактный уплотнитель (плашки) (84, 88)
Роторный
устьевой герметизатор (23) Безотводный
устьевой герметизатор (22)

1 -
нерегулируемый контактный уплотнитель (84, 89)
Тройниковая
двухствольная фонтанная арматура (34, 35)

I - трубная обвязка; II - елка
Крестовая одноствольная
нагнетательная арматура (26, 31, 36)

I - трубная обвязка; II - елка
Устьевая
арматура (24)
(без
подвешивания скважинного трубопровода)

1 - трубный оголовок (61); 2 - уплотнительная крестовина (71)
Одноствольная
трубная обвязка (38)

1
- катушка-трубодержатель (73)
Двухрядная
одноствольная трубная обвязка (40)

1
- трубная головка (42); 2 - резьбовой трубодержатель (82)
Однорядная одноствольная трубная обвязка (39)

1
- фланец-трубодержатель (74); 2 - уплотнительная крестовина (71)
Двухрядная одноствольная трубная обвязка (40)

1 - катушка-трубодержатель (73); 2
- крестовина-трубодержатель (75); 3 - устьевая крестовина (70)
Устьевой оголовок (58)

Приварной колонный фланец (77)

Резьбовой колонный фланец (78)

Камерная цементировочная
головка (66)

Клиньевой колонный фланец (79)

Справочное
1. Для характеристики
устьевого оборудования по различным признакам допускается применять комбинации
терминов, установленных в стандарте, например «тройниковая фонтанная устьевая
арматура».
2. Термины могут содержать дополнительные
терминоэлементы, отражающие область применения оборудования, например
«трубодержатель колонной головки», «регулируемый уплотнитель устьевого шлюза»,
«превентор противовыбросового оборудования».
3. Для характеристики
устьевого оборудования, включающего составные части разных видов, выделяемых по
одному признаку, допускается применять определение «комбинированный». Например,
многокорпусная колонная обвязка, включающая резьбовую и клиньевую колонные
головки, - «комбинированная колонная обвязка».
4. При необходимости
уточнения термина в зависимости от количества аналогичных составных частей
устьевого оборудования допускается вводить термины, учитывающие это
обстоятельство. Например наряду с термином «двухствольная елка», может
применяться термин «трехствольная елка»; наряду с термином «многокорпусная
колонная обвязка» может применяться термин «четырехкорпусная колонная обвязка»
и т.д.
Справочное
Схема 1

Схема 2

Схема 3

Схема 4

Схема 5

Схема 6

Схема 7

Схема 8

Схема 9

Схема 10

Схема 11

Рекомендуемое
1 нефтепромысловое
оборудование: Совокупность технических средств, используемых в процессе
всего периода разработки нефтяных и газовых месторождений, начиная от разведки
вплоть до завершения их разработки
2 устье скважины: Входное
отверстие ствола скважины
3 фонтанная [насосная;
нагнетательная; газлифтная; контрольная] скважина: Скважина нефтяной или
газовой залежи, оснащенная фонтанным [насосным; нагнетательным; газлифтным;
контрольно-измерительным] оборудованием
4 скважинная среда: Жидкость,
газ или их смеси, находящиеся или циркулирующие в скважине между забоем
и устьем
5 скважинный трубопровод:
Подвешенная в устьевом оборудовании колона насосно-компрессорных труб,
предназначенная для направления потока скважинной среды от устья к забою или от
забоя к устью
6 скважинное
оборудование: Оборудование, приборы, инструменты, приспособления,
предназначенные для использования в скважине
7 противовыбросовое
оборудование: Комплекс оборудования, предназначенный для герметизации устья
нефтяных и газовых скважин в процессе их строительства или ремонта с целью
обеспечения безопасного ведения работ, предупреждения выбросов и открытых
фонтанов, охраны недр и окружающей среды.
Примечание. Противовыбросовое оборудование включает устьевое
оборудование, манифольд, систему управления
8 шлюзование (скважинного
оборудования): Перемещение скважинного оборудования между атмосферой и
скважиной, имеющей избыточное давление на устье, через устьевую камеру,
попеременно сообщаемую со скважиной или атмосферой
9 трос: Непрерывное
гибкое тяговое изделие в виде проволоки, каната или грузонесущего кабеля
10 стволовой проход: Соосное
скважине или скважинному трубопроводу проходное отверстие устьевого
оборудования
11 обвязывание (устья): Соединение обсадных колонн и
(или) скважинных трубопроводов между собой через корпусные детали устьевого оборудования,
в которых закрепляются и уплотняются верхние концы колонн труб, а также
обеспечивается возможность контроля давления в пространстве между ними
12 манифольд: Система
трубопроводов с необходимой запорной регулирующей и обратной арматурой, собранная
по схеме, определяемой конкретным технологическим процессом
13 фланец: Часть
фланцевого или хомутового соединения в виде уплотняемого кольцевого бурта или
диска, соединяемая с аналогичной деталью с помощью соответственно крепежных
изделий или разъемного хомута
14 стволовой фланец: Присоединительный фланец стволового
прохода устьевого оборудования
15 фланцевая катушка: Соединительное
приспособление с одноразмерными или разноразмерными фланцами на концах
1. РАЗРАБОТАН И ВНЕСЕН Министерством тяжелого
машиностроения СССР
2. УТВЕРЖДЕН И ВВЕДЕН В ДЕЙСТВИЕ Постановлением
Государственного комитета СССР по управлению качеством продукции и стандартам
от 29.04.91 № 617
3. ВВЕДЕН ВПЕРВЫЕ
4. ПЕРЕИЗДАНИЕ. Август 2004 г.
СОДЕРЖАНИЕ