Крупнейшая бесплатная информационно-справочная система онлайн доступа к полному собранию технических нормативно-правовых актов РФ. Огромная база технических нормативов (более 150 тысяч документов) и полное собрание национальных стандартов, аутентичное официальной базе Госстандарта. GOSTRF.com - это более 1 Терабайта бесплатной технической информации для всех пользователей интернета. Все электронные копии представленных здесь документов могут распространяться без каких-либо ограничений. Поощряется распространение информации с этого сайта на любых других ресурсах. Каждый человек имеет право на неограниченный доступ к этим документам! Каждый человек имеет право на знание требований, изложенных в данных нормативно-правовых актах!

  


 

ГОСТ 30559-98

МЕЖГОСУДАРСТВЕННЫЙ СТАНДАРТ

Материалы для электродных
покрытий

ГЛИНОЗЕМ
НЕМЕТАЛЛУРГИЧЕСКИЙ

Технические условия

МЕЖГОСУДАРСТВЕННЫЙ СОВЕТ
ПО СТАНДАРТИЗАЦИИ, МЕТРОЛОГИИ И СЕРТИФИКАЦИИ

Минск

Предисловие

1 РАЗРАБОТАН Межгосударственным техническим комитетом по стандартизации МТК 99 «Алюминий», Всероссийским алюминиево-магниевым институтом (АО ВАМИ)

ВНЕСЕН Техническим секретариатом Межгосударственного Совета по стандартизации, метрологии и сертификации

2 ПРИНЯТ Межгосударственным Советом по стандартизации, метрологии и сертификации (протокол № 13-09 от 28.05.98)

За принятие проголосовали:

Наименование государства

Наименование национального органа по стандартизации

Азербайджанская Республика

Азгосстандарт

Республика Армения

Армгосстандарт

Республика Беларусь

Госстандарт Беларуси

Республика Казахстан

Госстандарт Республики Казахстан

Российская Федерация

Госстандарт России

Республика Таджикистан

Таджикгосстандарт

Туркменистан

Главная государственная инспекция Туркменистана

Республика Узбекистан

Узгосстандарт

Украина

Госстандарт Украины

3 Постановлением Государственного комитета Российской Федерации по стандартизации и метрологии от 27 апреля 1999 г. № 138 межгосударственный стандарт ГОСТ 30559-98 введен в действие непосредственно в качестве государственного стандарта Российской Федерации с 1 июля 2000 г.

4 ВЗАМЕН ГОСТ 6912.1-93 в части требований к неметаллургическому глинозему

5 ПЕРЕИЗДАНИЕ

ГОСТ 30559-98

МЕЖГОСУДАРСТВЕННЫЙ СТАНДАРТ

ГЛИНОЗЕМ НЕМЕТАЛЛУРГИЧЕСКИЙ

Технические условия

Alumina, nonmetallurgical.
Specifications

Дата введения 2000-07-01

1 Назначение и область применения

Настоящий стандарт распространяется на глинозем, представляющий собой кристаллический порошок оксида алюминия различных модификаций:

с высоким содержанием альфа-оксида алюминия - для производства электроизоляционных, электро- и радиокерамических изделий, специальных видов керамики, электрофарфора, огнеупоров, шлифовальных и абразивных материалов;

с низким содержанием альфа-оксида алюминия - для производства высокоглиноземистых цементов в качестве катализаторов и др.

2 Нормативные ссылки

В настоящем стандарте использованы ссылки на следующие стандарты:

ГОСТ 12.1.005-88 Система стандартов безопасности труда. Общие санитарно-гигиенические требования к воздуху рабочей зоны

ГОСТ 12.1.007-76 Система стандартов безопасности труда. Вредные вещества. Классификация и общие требования безопасности

ГОСТ 12.4.028-76 Система стандартов безопасности труда. Респираторы ШБ-1 «Лепесток». Технические условия

ГОСТ 342-77 Натрий фосфорнокислый пиро. Технические условия

ГОСТ 2211-65 Изделия, сырье и материалы огнеупорные. Метод определения плотности

ГОСТ 2226-88 Мешки бумажные. Технические условия

ГОСТ 6613-86 Сетки проволочные тканые с квадратными ячейками. Технические условия

ГОСТ 6912.2-93 Глинозем. Рентгенодифракционный метод определения альфа-оксида алюминия

ГОСТ 9337-79 Натрий фосфорнокислый 12-водный. Технические условия

ГОСТ 13583.5-93 Глинозем. Метод определения щелочности

ГОСТ 13646-68 Термометры стеклянные ртутные для точных измерений. Технические условия

ГОСТ 14192-96 Маркировка грузов

ГОСТ 22235-76 Вагоны грузовые магистральных железных дорог колеи 1520 мм. Общие требования по обеспечению сохранности при производстве погрузочно-разгрузочных и маневровых работ

ГОСТ 23201.0-78 Глинозем. Общие требования к методам спектрального анализа

ГОСТ 23201.1-78 Глинозем. Методы спектрального анализа. Определение диоксида кремния, оксида железа, оксида натрия и оксида магния

ГОСТ 23201.3-94 Глинозем. Методы разложения пробы и приготовления растворов

ГОСТ 23401-90 Порошки металлические. Катализаторы и носители. Определение удельной поверхности

ГОСТ 24104-88 Весы лабораторные общего назначения и образцовые. Общие технические условия

ГОСТ 25389-93 Глинозем. Метод подготовки пробы к испытанию

ГОСТ 25542.0-93 Глинозем. Общие требования к методам химического анализа

ГОСТ 25542.1-93 Глинозем. Методы определения диоксида кремния

ГОСТ 25542.2-93 Глинозем. Метод определения оксида железа

ГОСТ 25542.3-93 Глинозем. Методы определения оксида натрия и оксида калия

ГОСТ 25733-83 Глинозем. Метод кристаллооптического определения альфа-модификации оксида алюминия

ГОСТ 25734-96 Глинозем. Метод кристаллооптического определения размеров монокристаллов в неметаллургическом глиноземе

ГОСТ 26380-84 Контейнеры специализированные групповые. Типы, основные параметры и размеры

ГОСТ 26663-85 Пакеты транспортные. Формирование с применением средств пакетирования. Общие технические требования

ГОСТ 27798-93 Глинозем. Отбор и подготовка проб

ГОСТ 27799-93 Глинозем. Метод определения влаги

ГОСТ 27800-93 Глинозем. Метод определения потери массы при прокаливании

СТ СЭВ 543-77 Числа. Правила записи и округления

3 Марки

В зависимости от физико-химического состава выпускают марки глинозема, указанные в таблице 1.

Таблица 1

Марка

Код ОКП

Область применения

ГН

ГКИС

ГНК

ГЛМК

17 1123 0022

17 1123 0033

17 1123 0023

17 1123 0032

Производство специальных изделий радиоэлектроники, специальных видов керамики и огнеупоров

ГК-1

ГК-2

ГК-3

ГК-4

ГК-5

ГЭФ

17 1123 0051

17 1123 0052

17 1123 0053

17 1123 0054

17 1123 0055

17 1123 0061

Производство электрофарфора, радиоэлектроники, специальных видов керамики и огнеупоров

ГЭБ

17 1123 0021

Производство керамических изделий, шлифовальных и абразивных материалов

ГСК

17 1123 0025

Катализаторы для производства синтетического каучука

ГСМ

17 1123 0091

Получение высокоглиноземистых цементов и изделий огнеупорной промышленности

4 Технические требования

4.1 Неметаллургический глинозем выпускают в соответствии с требованиями настоящего стандарта.

4.2 По физико-химическим показателям глинозем должен соответствовать требованиям, установленным в таблице 2.

Таблица 2

Марка

Массовая доля примеси, %, не более

Потеря массы при прокаливании (300 - 1100 °С), %, не более

Массовая доля альфа-оксида алюминия, %

Массовая доля монозерен, слагающих агрегаты, %, не менее

SiO2

Fe2O3

Сумма Na2O + K2O в пересчете на Na2O

до 5 мкм

до 10 мкм

ГН

0,10

0,03

0,1

0,2

Не менее 94

90

-

ГКИС

0,10

0,04

0,1

0,2

»        »    92

95

-

ГНК

0,10

0,04

0,2

0,2

»        »    90

80

-

глмк

0,10

0,03

0,1

0,2

»        »    93

-

-

ГК-1

0,12

0,03

0,3

0,2

»        »    90

-

80

ГК-2

0,12

0,06

0,3

0,2

»        »    85

80

-

гк-3

0,12

0,06

0,3

0,2

»        »    85

70

-

ГК-4

0,12

0,06

0,3

0,2

»        »    90

-

80

ГК-5

0,12

0,06

0,4

0,15

»        »    85

-

80

ГЭФ

0,12

0,10

0,5

0,2

85 - 95

-

-

ГЭБ

0,08

0,02

0,3

0,4

Не менее 70

-

-

ГСК

-

0,04

0,5

1,5

Не более 30

-

-

ГСМ

0,2

0,15

1,5

0,5

-

-

-

4.3 В глиноземе марок ГК-1 и ГК-2, выпускаемых для электронной и электротехнической промышленности, массовая доля суммы отмываемых оксидов натрия и калия в пересчете на оксид натрия должна быть не более 0,1 %.

4.4 В глиноземе марки ГНК для огнеупорной промышленности массовая доля оксида магния должна быть не более 0,4 %.

4.5 Удельная поверхность глинозема марки ГСК должна быть 50 - 90 м2/г. Массовая доля фракции менее 20 мкм не должна быть более 20 %.

4.6 В глиноземе марки ГСМ массовая доля фракции менее 20 мкм устанавливается по согласованию с потребителем.

4.7 Массовая доля влаги в глиноземе всех марок не должна быть более 1,0 %.

Расчетную массовую долю влаги для определения массы партии глинозема марки ГСК принимают равной 0,5 %, а для марки ГСМ - величине, определенной изготовителем на момент отгрузки.

При определении массы партии глинозема остальных марок влажность не учитывают.

4.8 В глиноземе марки ГЛМК массовая доля оксида магния должна быть 0,2 - 0,4 %.

4.9 В глиноземе марки ГН содержание монозерен размером более 11 мкм не должно быть более 8 %.

4.10 В глиноземе всех марок не допускаются видимые невооруженным глазом посторонние включения, технологически не связанные с производством.

4.11 Маркировка

4.11.1 На упаковочных средствах должен быть нанесен штамп или закреплена этикетка (ярлык) с указанием:

1) завода-изготовителя;

2) номера партии;

3) марки глинозема;

4) обозначения настоящего стандарта.

4.11.2 Транспортная маркировка - по ГОСТ 14192. На упаковочные средства наносят манипуляционный знак «Беречь от влаги» по ГОСТ 14192.

4.11.3 При пакетировании мешков с глиноземом верхний ряд мешков в каждом пакете должен быть уложен так, чтобы была отчетливо видна маркировка. Дополнительно на мешки верхнего ряда пакета должна быть нанесена транспортная маркировка по ГОСТ 14192.

4.12 Упаковка

4.12.1 Глинозем упаковывают в пяти-, шестислойные мешки марки ПМ или БПМ по ГОСТ 2226, специализированные контейнеры типа СКБ-1 или СКЦ-1 по ГОСТ 26380 или мягкие разовые контейнеры типа МКР-1, ОС-1,0 по нормативной документации.

Допускается использовать мешки, выпускаемые по другой нормативной документации, с прочностными характеристиками не ниже, чем у мешков по ГОСТ 2226. Масса глинозема в мешке не более 50 кг. Горловины мешков зашивают машинным способом.

Вид упаковки - по согласованию потребителя с изготовителем.

4.12.2 Глинозем, поставляемый в районы Крайнего Севера и труднодоступные районы, упаковывают в соответствии с 4.12.1.

Допускается бумажные мешки вкладывать в использованные льно-джуто-кенафные мешки.

5 Требования безопасности

5.1 По степени воздействия на организм человека глинозем относят к 4-му классу опасности (вещества малоопасные) по ГОСТ 12.1.005 и ГОСТ 12.1.007.

5.2 Глиноземная пыль относится к аэрозолям, преимущественно фиброгенного действия, предельно допустимая концентрация глиноземной пыли в воздухе рабочей зоны составляет 6 мг/м3 по ГОСТ 12.1.005.

Воздушную среду рабочей зоны контролируют в соответствии с требованиями ГОСТ 12.1.005, ГОСТ 12.1.007. Анализ проб воздуха на содержание глиноземной пыли проводят по методикам, утвержденным Министерством здравоохранения.

5.3 Глинозем пожаро- и взрывобезопасен.

5.4 На предприятиях-производителях и потребителях глинозема должна быть разработана нормативная документация по безопасности труда на производстве, применении и хранении глинозема в соответствии с ГОСТ 12.1.007.

Для индивидуальной защиты органов дыхания от глиноземной пыли применяют респиратор ШБ-1 «Лепесток» по ГОСТ 12.4.028.

6 Приемка

6.1 Глинозем принимают партиями. Партией считают количество однородного по своим качественным показателям глинозема одной марки, изготовленного по непрерывному технологическому циклу, сопровождаемое одним документом о качестве, содержащим:

1) товарный знак или наименование предприятия-изготовителя;

2) наименование и марку продукции;

3) обозначение настоящего стандарта;

4) номер и дату выдачи документа;

5) массу партии нетто;

6) номер партии, номера транспортных средств;

7) результаты анализа или подтверждение соответствия глинозема требованиям настоящего стандарта;

8) штамп отдела технического контроля.

Масса партии не ограничена.

6.2 Для проверки соответствия качества глинозема требованиям настоящего стандарта проводят приемо-сдаточные испытания каждой партии по всем показателям качества из регламентируемых для данной марки.

6.3 Объем выборки - по ГОСТ 27798.

6.4 При несоответствии результатов испытаний глинозема требованиям настоящего стандарта хотя бы по одному из показателей проводят повторное испытание по этому показателю на вновь отобранной пробе от партии, упакованной в мешки или контейнеры.

От партии, отправленной насыпью, повторные испытания проводят из сокращенной пробы.

Результаты повторных испытаний распространяются на всю партию.

7 Методы испытаний

7.1 Отбор и подготовка проб - по ГОСТ 25389 и ГОСТ 27798.

Срок хранения арбитражной пробы - 2 месяца.

7.2 Определение массовой доли примесей в глиноземе - по ГОСТ 13583.5, ГОСТ 23201.0, ГОСТ 23201.1, ГОСТ 23201.3, ГОСТ 25542.0 - ГОСТ 25542.3.

7.3 Определение потери массы при прокаливании - по ГОСТ 27800, массовой доли влаги - по ГОСТ 27799.

7.4 Определение размера и содержания монозерен - по ГОСТ 25734.

7.5 Определение массовой доли альфа-оксида алюминия в глиноземе марки ГСК - по ГОСТ 6912.2, в глиноземе остальных марок - по ГОСТ 25733.

7.6 Определение удельной поверхности - по ГОСТ 23401. Допускается проводить определение подругой методике, по метрологическим характеристикам не уступающей стандартизованной. При разногласии определение проводят по ГОСТ 23401.

7.7 Определение фракционного состава

Метод основан на измерении поглощения светового потока частицами глинозема, осаждающимися с различной скоростью из водной суспензии, и применим для любых фракций глинозема крупностью от 63 до 0 мкм, при определении суммарного показателя для фракции от 10 до 0 мкм.

7.7.1 Аппаратура, реактивы и материалы

Фотоэлектроколориметр двухлучевой со световым фильтром № 3 (длина волны 400 нм). Допускается применять другие приборы с аналогичными характеристиками.

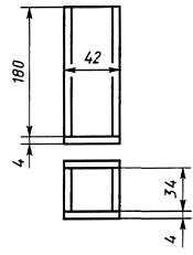
Кювета из органического или силикатного стекла вместимостью около 200 см3 и меткой на уровне 100 мм от поверхности зеркала суспензии до горизонтальной оси светового пучка (рисунок 1).

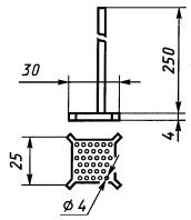
Мешалка перфорированная из алюминия, органического или силикатного стекла (рисунок 2).

Рисунок 1 - Кювета

Рисунок 2 - Мешалка

Весы лабораторные общего назначения по ГОСТ 24104, 2-го класса с пределом взвешивания 500 г или другие, обеспечивающие аналогичные технические и метрологические характеристики.

Сито с сеткой 0063 К по ГОСТ 6613.

Термометр ртутный стеклянный лабораторный с ценой деления 0,5 °С по ГОСТ 13646 или другой аналогичного класса точности, обеспечивающий измерение температуры от 0 до 100 °С.

Секундомер.

Натрий фосфорнокислый пиро по ГОСТ 342 или натрий фосфорнокислый по ГОСТ 9337.

Вода дистиллированная.

7.7.2 Подготовка к испытанию

7.7.2.1 Приготовление пробы

От пробы глинозема, приготовленной по ГОСТ 25389 методом квартования, выделяют пробу массой 20 г, просеивают через сито с сеткой 0063 вручную до постоянной массы остатка на сите.

Потери массы глинозема во время рассева не должны превышать 2 % массы навески. Остаток на сите взвешивают и определяют массовую долю фракции плюс 63 мкм, выраженную в процентах. Фракцию минус 63 мкм усредняют методом наката.

Для этого пробу помещают на лист чистой гладкой бумаги размером 10 × 10 см. Один край листа плавно поднимают до тех пор, пока материал, перемещаясь, не достигнет противоположного края бумаги. Точно так же перемещают материал в противоположном направлении, затем в двух других, перпендикулярно первым. Операцию перемещения материала повторяют не менее восьми раз. Из разных мест по длине образовавшегося валика отбирают три навески глинозема массой 0,08 - 0,12 г каждая.

Уменьшение массы пробы за счет отброса излишков материала не допускается.

7.7.2.2 Приготовление дисперсионной среды

1,9 г натрия пирофосфорнокислого или фосфорнокислого растворяют в 1 дм3 дистиллированной воды.

7.7.2.3 Определение плотности глинозема

Плотность глинозема определяют по ГОСТ 2211 или графику зависимости плотности глинозема от массовой доли в нем альфа-оксида алюминия (рисунок 3).

Рисунок 3

7.7.2.4 Расчет времени осаждения частиц

Время осаждения частиц глинозема τ, с, в выбранном интервале крупности вычисляют по формуле Стокса

                                                         (1)

где h - глубина осаждения, равная 0,1 м;

μ -  вязкость дисперсионной среды, Па·с;

g -  ускорение силы тяжести, равное 9,81 м/с2;

ρг - плотность глинозема, кг/м3;

ρж -   плотность дисперсионной среды, кг/м3;

di - диаметр частиц нижнего предела фракции, мкм.

Например, для фракции 63 - 20 мкм di = 20 мкм.

За плотность и вязкость дисперсионной среды принимают справочные данные по плотности и вязкости воды при температуре суспензии, измеренной перед началом анализа.

7.7.2.5 Фотоэлектроколориметр подготавливают к работе в соответствии с инструкцией по обслуживанию прибора.

7.7.3 Проведение испытания

7.7.3.1 Кювету заполняют дисперсионной средой до метки, соответствующей высоте 100 мм от зеркала жидкости до горизонтальной оси светового пучка, и устанавливают в правую часть кюветного отделения, предварительно удалив кюветодержатель. Значение светопропускания измеряют по шкале левого барабана.

Левую часть кюветного отделения прикрывают черной бумагой и измеряют светопропускание дисперсионной среды A. В кювету вносят навеску глинозема, отобранную по 7.7.2.1, и перемешивают 1 - 2 мин вертикальными перемещениями мешалки. Не вынимая мешалку из жидкости, определяй ориентировочное значение светопропускания A0. Затем повторно перемешивают суспензию, быстро вынимают мешалку, включают секундомер и в течение 5 - 6 с проводят точное измерение величины A0, соответствующей моменту начала осаждения частиц. Последующие измерения значений светопропускания A1,2 проводят через рассчитанные по 7.7.2.4 промежутки времени, измеряемые секундомером.

7.7.3.2 Измерение проводят на трех навесках одной и той же пробы, выделенной по 7.7.2.1 (три параллельных определения).

7.7.4 Обработка результатов

7.7.4.1 Массовую долю частиц глинозема отдельной фракции X, адсорбирующих световой поток в выбранном интервале крупности, %, вычисляют по формуле

                                                         (2)

где Vi -  относительный объем частиц глинозема определенной фракции, мкм3;

С -   массовая доля остатка на сите № 0063, %;

 -   сумма относительных объемов частиц фракций глинозема для диапазона 63 - 0 мкм, мкм3.

7.7.4.2 Относительный объем частиц глинозема определенной фракции Vi, вычисляют по формуле

                                            (3)

где di-1 -  диаметр частиц верхнего предела фракции, мкм;

di - диаметр частиц нижнего предела фракции, мкм;

Ai и Ai-1 -    светопропускание суспензии с частицами диаметром соответственно di и di-1.

7.7.4.3 За результат измерений принимают среднее арифметическое результатов трех параллельных определений, расхождения между которыми не должны превышать 10 % отн. Если расхождение превышает приведенное значение, определение повторяют.

Результат вычисляют до четырех значащих цифр и округляют до трех значащих цифр по СТ СЭВ 543.

7.7.4.4 Результаты измерений оформляют записью в журнале по форме, приведенной в приложении А.

Пример вычисления результатов испытания приведен в приложении Б.

8 Транспортирование и хранение

8.1 Глинозем транспортируют насыпью или в упакованном виде всеми видами транспорта в соответствии с правилами перевозки, действующими на данном виде транспорта.

8.2 Глинозем транспортируют насыпью по железной дороге в хоппер-цементовозах или спеццистернах. По согласованию изготовителя с потребителем и транспортными организациями при поставке по прямым договорам допускается использовать другие транспортные средства.

8.3 Упакованный глинозем транспортируют железнодорожным транспортом в соответствии с техническими условиями погрузки и крепления грузов и ГОСТ 22235 на открытых транспортных средствах.

Глинозем, упакованный в контейнеры, транспортируют повагонными отправками на открытых транспортных средствах.

8.4 При транспортировании железнодорожным транспортом глинозем, упакованный в мешки, формируют в транспортные пакеты по ГОСТ 26663. Средство скрепления пакетов - растягивающаяся пленка по НД. Масса пакета нетто до 1000 кг, габаритные размеры (максимальные) - 1200 × 1000 × 1800 мм.

8.5 Упакованный глинозем хранят в закрытых складских помещениях раздельно по маркам.

8.6 Транспортирование и хранение глинозема, отправляемого в районы Крайнего Севера и труднодоступные районы, в соответствии с 8.1 - 8.5.

8.7 Срок хранения глинозема не ограничен.

ПРИЛОЖЕНИЕ А

(рекомендуемое)

Оформление результатов измерения

1 Марка глинозема

2 Плотность глинозема

3 Температура суспензии

4 Плотность дисперсионной среды

Номер навески

Массовая доля навески

Измеряемый интервал крупности, мкм

Время осаждения, с

Ai, %

lgAi

Разности логарифмов lgAi - lgAi-1

dср, мкм

vi, мкм3

Массовая доля фракции, %

Погрешность определения

 

 

 

 

 

 

 

 

 

 

 

ПРИЛОЖЕНИЕ Б

(справочное)

Примеры вычисления результатов анализа

Пример 1. Определение массовой доли фракции

Необходимо рассчитать массовые доли фракций глинозема 63 - 20, 20 - 10 и 10 - 0 мкм. Для этого находят логарифмы измеренных значений светопропускания для каждой из трех выбранных фракций. Допустим, что светопропускание будет соответствовать следующим значениям:

для фракции 63 - 0 мкм A0 = 36;

       »          »       20 - 0      »   A1 = 60;

       »          »       10 - 0      »   A2 = 64;

       »          »               0      »   A = 72.

Логарифмы этих величин соответственно 1,556; 1,778; 1,805; 1,858.

Рассчитывают разность логарифмов светопропускания для диаметров частиц верхнего и нижнего пределов фракции в выбранном интервале крупности. В данном случае это:

для фракции 63 - 20 мкм lgA1 - lgA0 = 1,778 - 1,556 = 0,222;

        »         »       20 - 10 мкм lgA2 - lgA1 = 1,805 - 1,778 = 0,027;

        »         »       10 - 0 мкм lgA - lgA2 = 1,858 - 1,805 = 0,053.

Рассчитывают средний диаметр (dср) для каждой из выбранных фракций:

для фракции 63 - 20 мкм dср = (63 + 20)/2 = 41,5 мкм

        »         »       10 - 0 мкм dср = (10 + 0)/2 = 5 мкм.

Умножив значение dср на соответствующую разность логарифмов, находят относительную массу каждой фракции:

V63-20 = 41,5 × 0,222 = 9,21; V20-10 = 15 × 0,027 = 0,4; V10-0 = 0,53 × 5 = 0,26.

Значение относительных масс суммируют и определяют массовую долю каждой фракции с учетом массовой доли отсева (C).

При C = 5 % массовая доля в процентах для фракции 63 - 20 мкм составит

Для других фракций производят аналогичный расчет.

Пример 2. Определение массовой доли одной фракции

При определении массовой доли одной фракции обязательным является определение светопропускания для глинозема крупностью от 63 мкм до верхнего предела крупности выбранной фракции.

Например, для определения массовой доли фракции 20 - 0 мкм необходимо измерить значение светопропускания для фракции 63 - 0 мкм - А0; фракции 20 - 0 мкм - А1 и 0 мкм - А.

Дальнейший расчет проводят, как указано в примере 1.

Ключевые слова: глинозем неметаллургический, оксид алюминия, маркировка, упаковка, требования безопасности

СОДЕРЖАНИЕ

 

 




ГОСТЫ, СТРОИТЕЛЬНЫЕ и ТЕХНИЧЕСКИЕ НОРМАТИВЫ.
Некоммерческая онлайн система, содержащая все Российские Госты, национальные Стандарты и нормативы.
В Системе содержится более 150000 файлов нормативно-технической документации, действующей на территории РФ.
Система предназначена для широкого круга инженерно-технических специалистов.

Рейтинг@Mail.ru Яндекс цитирования

Copyright © www.gostrf.com, 2008 - 2026