Крупнейшая бесплатная информационно-справочная система онлайн доступа к полному собранию технических нормативно-правовых актов РФ. Огромная база технических нормативов (более 150 тысяч документов) и полное собрание национальных стандартов, аутентичное официальной базе Госстандарта. GOSTRF.com - это более 1 Терабайта бесплатной технической информации для всех пользователей интернета. Все электронные копии представленных здесь документов могут распространяться без каких-либо ограничений. Поощряется распространение информации с этого сайта на любых других ресурсах. Каждый человек имеет право на неограниченный доступ к этим документам! Каждый человек имеет право на знание требований, изложенных в данных нормативно-правовых актах!

  


 

ГОСТ 5381-93
(ИСО 5019-1-84, ИСО 5019-2-84,
ИСО 5019-5-84)

МЕЖГОСУДАРСТВЕННЫЙ СТАНДАРТ

ИЗДЕЛИЯ ВЫСОКООГНЕУПОРНЫЕ
ХРОМИТОПЕРИКЛАЗОВЫЕ

ТЕХНИЧЕСКИЕ УСЛОВИЯ

МЕЖГОСУДАРСТВЕННЫЙ СОВЕТ
ПО СТАНДАРТИЗАЦИИ, МЕТРОЛОГИИ И СЕРТИФИКАЦИИ
Минск

Предисловие

1 РАЗРАБОТАН Техническим комитетом «Огнеупоры Украины»

ВНЕСЕН Госстандартом Украины

2 ПРИНЯТ Межгосударственным советом по стандартизации, метрологии и сертификации (протокол № 3 от 17 февраля 1993 г.)

За принятие проголосовали:

Наименование государства

Наименование национального органа по стандартизации

Республика Армения

Армгосстандарт

Республика Беларусь

Госстандарт Беларуси

Республика Казахстан

Госстандарт Республики Казахстан

Республика Молдова

Молдовастандарт

Российская Федерация

Госстандарт России

Туркменистан

Главная государственная инспекция Туркменистана

Республика Узбекистан

Узгосстандарт

Украина

Госстандарт Украины

3 В настоящем стандарте учтены показатели и требования международных стандартов ИСО 5019-1-84 «Изделия огнеупорные. Размеры. Прямоугольный кирпич», ИСО 5019-2-84 «Изделия огнеупорные. Размеры. Сводовый кирпич», ИСО 5019-5-84 «Изделия огнеупорные. Размеры. Пятовый кирпич» в части размеров огнеупорных изделий

4 Постановлением Комитета Российской Федерации по стандартизации, метрологии и сертификации от 25 апреля 1996 г. № 297 межгосударственный стандарт ГОСТ 5381-93 введен в действие непосредственно в качестве государственного стандарта Российской Федерации с 1 января 1997 г.

5 ВЗАМЕН ГОСТ 5381-72

6 ПЕРЕИЗДАНИЕ. Июль 2003 г.

МЕЖГОСУДАРСТВЕННЫЙ СТАНДАРТ

ИЗДЕЛИЯ ВЫСОКООГНЕУПОРНЫЕ
ХРОМИТОПЕРИКЛАЗОВЫЕ

Технические условия

High refractory chromepericlase products.
Specifications

ГОСТ
5381-93

(ИСО 5019-1-84,
ИСО 5019-2-84,
ИСО 5019-5-84)

Дата введения 1997-01-01

Настоящий стандарт распространяется на высокоогнеупорные обожженные хромитопериклазовые изделия огнеупорностью не ниже 2000 °С, предназначенные для кладки металлургических и различных высокотемпературных тепловых агрегатов.

1 Марки

1.1 В зависимости от назначения хромитопериклазовые изделия подразделяются на марки, указанные в таблице 1.

Таблица 1

Марка изделия

Назначение

ХП1

Для сводов мартеновских печей, сводов малотоннажных дуговых электропечей и тепловых агрегатов с тяжелыми условиями службы

ХП2

Для сводов электросталеплавильных печей и других тепловых агрегатов, работающих при температурах 1700 °С - 1750 ºС

ХП3, ХП4

Для кладки тепловых агрегатов, работающих при температурах 1500 °С - 1700 ºС

ХП5

Для кладки тепловых агрегатов различных отраслей промышленности, работающих при температурах до 1500 °С

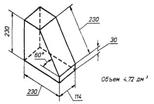
2 Форма и размеры

2.1 Форма и размеры изделий должны соответствовать указанным на рисунках 1 - 4, в таблице 2 и приложениях 1 - 3.

Кирпич прямой

Рисунок 1

Клин торцовый

Рисунок 2

Клин ребровый

Рисунок 3

Клин переходный

Рисунок 4

Таблица 2

Наименование изделия

Номер изделия

L

В

B1

S

S1

Объем, см3

Масса, кг

Кирпич

1

230

115

-

65

-

1720

4,80

прямой

2

300

150

-

65

-

2925

8,20

Клин торцовый

3

230

115

-

65

45

1460

4,10

двусторонний и

4

230

115

-

65

55

1590

4,45

односторонний

5

230

115

-

65

60

1653

4,60

 

6

200

120

-

70

62

1580

4,40

Клин ребровый

7

230

115

-

65

45

1460

4,10

двусторонний

8

230

115

-

65

55

1590

4,45

Клин

9

230

115

70

65

-

1380

3,85

переходный двусторонний

10

230

115

93

65

-

1550

4,35

2.2 Предельные отклонения по размерам должны соответствовать нормам, приведенным в таблице 3.

Таблица 3

Размер изделия

Предельные отклонения, мм, для изделий марок

ХП1, ХП2

ХП3, ХП4

ХП5

Длина (L)

±2

±3

±4

Ширина (В)

±2

±3

±3

Толщина (S) изделий длиной:

 

 

 

до 300 мм включ.

±1

±2

±3

свыше 300 мм

±2

+2

±3

2.3 Кривизна изделий не должна превышать значений, приведенных в таблице 4.

Таблица 4

Длина изделия

Кривизна, мм, для изделий марок

ХП1, ХП2

ХП3, ХП4

ХП5

До 300 мм включ.

±1

±2

±3

Свыше 300 мм

±1

±3

±4

2.4 Дополнительные формы и размеры изделий, а также предельные отклонения по размерам допускается устанавливать по соглашению сторон.

3 Технические требования

3.1 По физико-химическим показателям изделия должны соответствовать требованиям, приведенным в таблице 5.

Таблица 5

Наименование показателя

Норма для изделий марок

ХП1

ХП2

ХП3

ХП4

ХП5

Массовая доля, %:

 

 

 

 

 

MgO, не менее

46

46

42

42

42

Сr2О3, не менее

22

22

20

15

15

SiO2, не более

6

7

8

8

8

Открытая пористость, %, не более

20

22

23

24

25

Кажущаяся плотность, г/см3, не менее

2,95

2,95

2,95

-

-

Предел прочности при сжатии, Н/мм2, не менее

30

27,5

25

25

20

Температура начала размягчения, °С, не менее

1550

1520

1500

1500

1450

Термическая стойкость (1300 °С - вода), теплосмен, не менее

2

2

2

-

-

3.2 По показателям внешнего вида изделия должны соответствовать требованиям, приведенным в таблице 6.

Таблица 6

Наименование показателя

Норма для изделий марок

ХП1

ХП2

ХП3

ХП4

ХП5

Отбитость углов глубиной, мм, не более

5

8

Отбитость ребер глубиной, мм, не более

3

4

Посечки шириной свыше 0,30 до 0,50 включ., мм (отдельные длиной до 40 мм)

Допускаются

Трещины шириной свыше 0,50 мм

Не допускаются

3.3 Изделия в изломе должны иметь однородное строение, без пустот и расслоений.

3.4 Требования по показателям внешнего вида допускается устанавливать по соглашению сторон.

4 Правила приемки

4.1 Изделия поставляют партиями. Масса партии не должна превышать 225 т. Партия должна состоять из изделий одной марки.

4.2 Правила приемки - по ГОСТ 8179 с дополнением: для приемки изделий применяют план контроля 3; для приемки изделий, не прошедших предварительную разбраковку: нормальных размеров - номер 4, фасонных - номер 5.

4.3 При проверке соответствия качества изделий требованиям настоящего стандарта проводят приемосдаточные испытания в соответствии с требованиями таблицы 7.

Таблица 7

Наименование показателя

Периодичность отбора образцов и проб для проведения испытаний

Внешний вид и размеры

От каждой партии

Строение в изломе

То же

Массовая доля:

 

MgO, Cr2O3

От каждой второй партии

SiO2

От каждой четвертой партии

Открытая пористость

От каждой партии

Кажущаяся плотность

То же

Предел прочности при сжатии

»

Температура начала размягчения

От каждой четвертой партии

Термическая стойкость

То же

5 Методы испытаний

5.1 Отбор и подготовку проб для химического анализа проводят по ГОСТ 2642.0. Массовую долю MgO, Cr2O3, SiO2 определяют по ГОСТ 2642.8, ГОСТ 2642.9, ГОСТ 2642.3 или другими методами, обеспечивающими требуемую точность определения. При возникновении разногласий в оценке качества изделий определения проводят по ГОСТ 2642.8, ГОСТ 2642.9, ГОСТ 2642.3.

В указанных стандартах приведены нормы точности результатов количественных химических анализов.

5.2 Открытую пористость и кажущуюся плотность определяют по ГОСТ 2409 или ГОСТ 25714. Контрольный метод - по ГОСТ 2409.

5.3 Температуру начала размягчения определяют по ГОСТ 4070.

5.4 Предел прочности при сжатии определяют по ГОСТ 4071.1, ГОСТ 4071.2 или ГОСТ 25714. Контрольный метод - по ГОСТ 4071.1, ГОСТ 4071.2.

5.5 Определение открытой пористости, кажущейся плотности и предела прочности при сжатии по ГОСТ 25714 проводят на образцах удвоенного количества.

5.6 Термическую стойкость определяют по ГОСТ 7875.1.

5.7 Кривизну изделий определяют на поверочной плите (ГОСТ 10905) или аттестованной металлической плите шаблоном (щупом) шириной 10 мм и толщиной, превышающей на 0,1 мм установленную норму кривизны. Шаблон не должен входить в зазор между плитой и изделием.

5.8 Размеры изделия определяют металлической линейкой по ГОСТ 427 с ценой деления 1 мм или рулеткой по ГОСТ 7502 с ценой деления шкалы 1 мм или соответствующими шаблонами, обеспечивающими заданную точность измерения. Размеры изделий (длину, ширину, толщину) измеряют посредине каждой грани. За результат измерения принимают среднее значение. Результат каждого измерения не должен превышать допустимых предельных отклонений.

5.9 Глубину отбитости углов и ребер определяют по ГОСТ 15136.

5.10 Ширину посечек и трещин определяют с помощью измерительной лупы по ГОСТ 25706. Длину посечек измеряют металлической линейкой по ГОСТ 427 с ценой деления шкалы 1 мм.

5.11 Строение изделий в изломе определяют визуально.

6 Маркировка, упаковка, транспортирование и хранение

Маркировка, упаковка, транспортирование и хранение изделий - по ГОСТ 24717 с дополнением: изделия упаковывают в ящики типов 1-1, 1-2 по ГОСТ 10198, а также в пакеты. Габаритные размеры ящика - по ГОСТ 21140, пакета - по ГОСТ 24597.

Маркировку, упаковку, транспортирование и хранение изделий допускается осуществлять по соглашению сторон при условии гарантии сохранения эксплуатационных показателей продукции.

ПРИЛОЖЕНИЕ 1

(рекомендуемое)

Изделия огнеупорные

Размеры прямоугольного кирпича
(ИСО 5019-1-84)

Введение

В настоящем стандарте приведены наиболее употребляемые во многих странах размеры огнеупорных изделий, применяемых при футеровке печей. Данный перечень размеров нельзя считать полным.

Примечание. Размеры кирпича, изготовляемого в Северной Америке, очень близки к приведенным в таблице 8.

1 Объем и область применения

1.1 Эта часть ИСО 5019 устанавливает размеры двух серий прямоугольного огнеупорного кирпича.

1.2 Эти две серии кирпича могут применяться вместе с сериями сводового кирпича, размеры которого приведены в ИСО 5019-2 (приложение 2).

2 Ссылка

ИСО 5019-2-84 Изделия огнеупорные. Размеры. Часть 2. Сводовый кирпич.

3 Размеры прямоугольного огнеупорного кирпича

3.1 Интервал размеров прямоугольного огнеупорного кирпича приведен в таблице 8.

3.2 Предпочтительно применять кирпич серии 76 мм.

4 Допустимые отклонения

Допустимые отклонения размеров, приведенных в таблице 8, должны быть согласованы между поставщиком и потребителем.

Таблица 8 - Размеры прямоугольного огнеупорного кирпича (прямой, лещадка, плитка)

В миллиметрах

Тип кирпича

Серия 64 мм

Серия 76 мм

Прямоугольный1                   

А×В×С2

230×114×64

230×172×64

345×114×64

А×В×С

230×114×76

230×172×76

345×114×76

Лещадка                                    

А×В×С

230×114×32

А×В×С

230×114×38

Плитка                                        

А×В×С

230×230×64

А×В×С

230×230×76

1 В Северной Америке «прямоугольный» известен как «прямой».

2 Буквы, обозначающие размеры, относятся только к рисункам данной таблицы.

ПРИЛОЖЕНИЕ 2

(рекомендуемое)

Изделия огнеупорные

Размеры сводового кирпича
(ИСО 5019-2-84)

Введение

Применяются две взаимоисключающие системы определения размеров огнеупорного сводового кирпича с использованием постоянного, среднего размера и постоянного размера задней стороны.

Примечание - Размеры сводового кирпича с постоянным размером задней стороны, изготовляемого в Северной Америке, очень близки к приведенным в таблице 9.

1 Объем и область применения

1.1 Эта часть ИСО 5019 уточняет размеры двух серий огнеупорного сводового кирпича с постоянным размером задней стороны.

1.2 Эти серии кирпича могут применяться вместе с двумя сериями прямоугольного кирпича, размеры которого приведены в ИСО 5019-1 (приложение 1).

2 Ссылка

ИСО 5019-1-84 Изделия огнеупорные. Размеры. Часть 1. Прямоугольный кирпич.

3 Размеры

3.1 Размеры огнеупорного сводового кирпича должны соответствовать приведенным в таблице 9.

3.2 Предпочтительно применять кирпич серии 76 мм.

4 Допустимые отклонения

Допустимые отклонения размеров, приведенных в таблице 9, должны быть согласованы между поставщиком и потребителем.

Таблица 9 - Размеры огнеупорного сводового кирпича

В миллиметрах

Тип кирпича1

Кирпич с постоянным средним размером

Кирпич с постоянным размером задней стороны

Серия 64 мм

Серия 76 мм

Ребровой двусторонний клин2

A×B×C/D

A×B×C/D

A×B×C/D

230×114×67/61

230×114×69/59

230×114×72/56

230×114×76/52

230×114×79/73

230×114×81/71

230×114×84/68

230×114×88/64

230×114×76/70

230×114×76/64

230×114×76/52

230×114×76/38

Торцовый клин2*

A×B×C/D

230×114×66/62

230×114×69/59

230×114×72/56

230×114×76/52

A×B×C/D

230×114×78/74

230×114×81/71

230×114×84/68

230×114×88/64

A×B×C/D

230×114×76/70

230×114×76/64

230×114×76/57

230×114×76/52

Торцовый полуторный клиновой кирпич

A×B×C/D

A×B×C/D

A×B×C/D

230×172×66/62

230×172×69/59

230×172×72/56

230×172×76/52

230×172×78/74

230×172×81/71

230×172×84/68

230×172×88/64

230×172×76/70

230×172×76/64

230×172×76/57

230×172×76/52

Большой сводовый кирпич2

A×B×C/D

A×B×C/D

A×B×C/D

230×230×66/62

230×230×69/59

230×230×72/56

230×230×76/52

230×230×78/74

230×230×81/71

230×230×84/68

230×230×88/64

230×230×76/73

230×230×76/70

230×230×76/64

230×230×76/52

1) Буквы, обозначающие размеры, относятся только к рисункам данной таблицы.

2) В Северной Америке ребровой двусторонний клин известен как «арочный», торцовый клин - «клин», большой сводовый кирпич - «клиновой блок».

ПРИЛОЖЕНИЕ 3

(рекомендуемое)

Изделия огнеупорные

Размеры пятового кирпича
(ИСО 5019-5-84)

1 Объем и область применения

1.1 Эта часть ИСО 5019 устанавливает размеры двух пятовых кирпичей: применяемого с кирпичами горизонтального ряда кладки высотой 64 мм и применяемого с кирпичами горизонтального ряда кладки высотой 76 мм.

Примечание - Размеры пятового кирпича, изготовляемого в Северной Америке, очень близки приведенным на рисунках 5 и 6.

1.2 Эти пятовые кирпичи применяются вместе с соответствующими сериями сводового кирпича, размеры которого указаны в ИСО 5019-2 (приложение 2).

2 Ссылка

ИСО 5019-2-84 Изделия огнеупорные. Размеры. Часть 2. Сводовый кирпич.

3 Размеры

Размеры пятового кирпича, применяемого с кирпичом горизонтального ряда кладки высотой 64 мм, должны соответствовать указанным на рисунке 5.

Размеры пятового кирпича, применяемого с кирпичом горизонтального ряда кладки высотой 76 мм, должны соответствовать указанным на рисунке 6.

Предпочтительно применять кирпич серии 76 мм.

4 Допустимые отклонения

Допустимые отклонения размеров, указанных на рисунках 5 и 6, должны быть согласованы между поставщиком и потребителем.

Пятовой кирпич для применения с кирпичом горизонтального ряда кладки высотой 64 мм

Рисунок 5

Пятовой кирпич для применения с кирпичом горизонтального ряда кладки высотой 76 мм

Рисунок 6

ИНФОРМАЦИОННЫЕ ДАННЫЕ ССЫЛОЧНЫЕ НОРМАТИВНО-ТЕХНИЧЕСКИЕ ДОКУМЕНТЫ

Обозначение НТД, на который дана ссылка

Номер пункта, подпункта

Обозначение НТД, на который дана ссылка

Номер пункта, подпункта

ГОСТ 427-75

5.8, 5.10

ГОСТ 7875.1-94

5.6

ГОСТ 2409-95

5.2

ГОСТ 8179-98

4.2

ГОСТ 2642.0-86

5.1

ГОСТ 10198-91

6

ГОСТ 2642.3-97

5.1

ГОСТ 10905-86

5.7

ГОСТ 2642.8-97

5.1

ГОСТ 15136-78

5.9

ГОСТ 2642.9-97

5.1

ГОСТ 21140-88

6

ГОСТ 4070-2000

5.3

ГОСТ 24597-81

6

ГОСТ 4071.1-94

5.4

ГОСТ 24717-94

6

ГОСТ 4071.2-94

5.4

ГОСТ 25706-83

5.10

ГОСТ 7502-98

5.8

ГОСТ 25714-83

5.2, 5.4, 5.5

СОДЕРЖАНИЕ

 

 




ГОСТЫ, СТРОИТЕЛЬНЫЕ и ТЕХНИЧЕСКИЕ НОРМАТИВЫ.
Некоммерческая онлайн система, содержащая все Российские Госты, национальные Стандарты и нормативы.
В Системе содержится более 150000 файлов нормативно-технической документации, действующей на территории РФ.
Система предназначена для широкого круга инженерно-технических специалистов.

Рейтинг@Mail.ru Яндекс цитирования

Copyright © www.gostrf.com, 2008 - 2026