Крупнейшая бесплатная информационно-справочная система онлайн доступа к полному собранию технических нормативно-правовых актов РФ. Огромная база технических нормативов (более 150 тысяч документов) и полное собрание национальных стандартов, аутентичное официальной базе Госстандарта. GOSTRF.com - это более 1 Терабайта бесплатной технической информации для всех пользователей интернета. Все электронные копии представленных здесь документов могут распространяться без каких-либо ограничений. Поощряется распространение информации с этого сайта на любых других ресурсах. Каждый человек имеет право на неограниченный доступ к этим документам! Каждый человек имеет право на знание требований, изложенных в данных нормативно-правовых актах!

  


 

МЕЖГОСУДАРСТВЕННЫЙ СТАНДАРТ

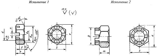
ГАЙКИ ШЕСТИГРАННЫЕ ПРОРЕЗНЫЕ И КОРОНЧАТЫЕ НИЗКИЕ КЛАССА ТОЧНОСТИ В

ГОСТ
5919-73

Конструкция и размеры

Hexagon thin slotted and castle nuts, accuracy class B. Construction and dimensions

Дата введения 01.01.74

Настоящий стандарт распространяется на низкие прорезные и корончатые шестигранные гайки класса точности В с диаметром резьбы от 6 до 48 мм.

Стандарт полностью соответствует СТ СЭВ 2663-89.

(Измененная редакция, Изм. № 2).

1. Конструкция и размеры гаек должны соответствовать указанным на чертеже и в таблице.

Таблица 1

мм

Номинальный диаметр резьбы d

6

8

10

12

(14)

16

(18)

20

(22)

24

(27)

30

(33)

36

(39)

42

48

Шаг резьбы

крупный

1,0

1,25

1,5

1,75

2,0

2,0

2,5

2,5

2,5

3,0

3,0

3,5

3,5

4,0

4,0

4,5

5,0

мелкий

-

1,0

1,25

1,25

1,5

1,5

1,5

1,5

1,5

2,0

2,0

2,0

2,0

3,0

3,0

3,0

3,0

Размер «под ключ» S

10

13

16

18

21

24

27

30

34

36

41

46

50

55

60

65

75

Высота h

6

7

8

10

11

12

13

13

15

15

17

18

20

20

22

23

25

Расстояние от опорной поверхности до основания прорези f и коронки т

3,5

4,0

5,0

6,0

7,0

7,0

8,0

8,0

9

9

11

11

13

13

13

14

16

dw, не менее

9,0

11,7

14,6

16,6

19,6

22,5

25,3

27,7

31,7

33,2

38,3

42,7

46,6

51,1

55,9

59,9

69,4

Диаметр описанной окружности e, не менее

10,9

14,2

17,6

19,9

22,8

26,2

29,6

33,0

37,3

39,6

45,2

50,9

55,4

60,8

66,5

71,3

82,6

Диаметр фаски da

не менее

6

8

10

12

14

16

18

20

22

24

27

30

33

36

39

42

48

не более

6,75

8,75

10,8

13,0

15,1

17,3

19,4

21,6

23,8

25,9

29,2

32,4

35,6

38,9

42,2

45,4

51,8

Диаметр коронки D

-

-

-

16

19

22

25

28

32

34

38

42

46

50

55

58

65

Число прорезей

6

8

Ширина прорези n

2,0

2,5

2,8

3,5

4,5

5,5

7,0

9,0

Размер шплинта (рекомендуемый) по ГОСТ 397

Исполнение 1

1,6×16

2×20

2,5×25

3,2×32

4×36

4×40

5×45

5×50

6,3×63

6,3×71

8×80

8×90

Исполнение 2

-

-

-

3,2×25

4×32

4×36

5×40

5×45

6,3×50

6,3×63

8×71

8×80

Примечания:

1. Размеры, заключенные в скобки, применять не рекомендуется.

2. Для изделий, спроектированных до 01.01.91, допускается применять гайки с размерами, указанными в приложении 2.

Пример условного обозначения гайки исполнения 1, диаметром резьбы d = 12 мм, с крупным шагом резьбы с полем допуска 6Н, класса прочности 04 без покрытия:

Гайка М12 - 6Н.04 ГОСТ 5919-73

То же, исполнения 2, с мелким шагом резьбы с полем допуска 6Н, с покрытием 01 толщиной 9 мкм:

Гайка 2М12×1,25 - 6Н.04.019 ГОСТ 5919-73

(Измененная редакция, Изм. № 1, 2, 3, 4).

2. Резьба - по ГОСТ 24705.

(Измененная редакция, Изм. № 3).

3. Допускается выполнение фаски со стороны прорези или коронки.

3а. Форма дна прорези может быть плоской, скругленной или с фаской.

(Введен дополнительно, Изм. № 2).

4. Технические требования - по ГОСТ 1759.0.

5. Теоретическая масса гаек указана в приложении 1.

ПРИЛОЖЕНИЕ 1

Справочное

Масса стальных гаек с крупным шагом резьбы

Таблица 2

Номинальный диаметр резьбы d, мм

Теоретическая масса 1000 шт. гаек, кг

Исполнение 1

Исполнение 2

6

2,473

-

8

4,789

-

10

9,055

-

12

13,129

11,096

14

20,186

16,940

16

26,078

22,490

18

37,303

32,850

20

46,315

40,960

22

66,578

59,630

24

76,349

67,810

27

116,110

103,260

30

152,560

132,570

33

200,715

175,525

36

248,870

218,480

39

313,540

271,320

42

378,210

324,160

48

570,480

486,140

ПРИЛОЖЕНИЕ 1. (Измененная редакция, Изм. № 4).

ПРИЛОЖЕНИЕ 2

Справочное

Таблица 3

мм

Номинальный диаметр резьбы d

10

12

14

22

Размер «под ключ» S

17

19

22

32

Диаметр описанной окружности e, не менее

18,7

20,9

23,9

35,0

dw, не менее

15,5

17,2

20,1

29,5

ПРИЛОЖЕНИЕ 2. (Введено дополнительно, Изм. № 4).

ИНФОРМАЦИОННЫЕ ДАННЫЕ

1. РАЗРАБОТАН И ВНЕСЕН Государственным комитетом СССР но стандартам

2. УТВЕРЖДЕН И ВВЕДЕН В ДЕЙСТВИЕ Постановлением Государственного комитета стандартов Совета Министров СССР от 23.01.73 № 141

3. Стандарт полностью соответствует СТ СЭВ 2663-89

4. ВЗАМЕН ГОСТ 5919-62

5. ССЫЛОЧНЫЕ НОРМАТИВНО-ТЕХНИЧЕСКИЕ ДОКУМЕНТЫ

Обозначение НТД, па который дана ссылка

Номер пункта

ГОСТ 397-79

1

ГОСТ 1759.0-87

4

ГОСТ 24705-2004

2

6. Ограничение срока действия снято по протоколу № 4-93 Межгосударственного совета по стандартизации, метрологии и сертификации (ИУС 4-94)

7. ИЗДАНИЕ 2006 г. с Изменениями № 1, 2, 3, 4, 5, утвержденными в сентябре 1979 г., декабре 1981 г., октябре 1984 г., марте 1989 г., марте 1990 г. (ИУС 10-79, 2-82, 1-85, 6-89, 7-90)

 

 




ГОСТЫ, СТРОИТЕЛЬНЫЕ и ТЕХНИЧЕСКИЕ НОРМАТИВЫ.
Некоммерческая онлайн система, содержащая все Российские Госты, национальные Стандарты и нормативы.
В Системе содержится более 150000 файлов нормативно-технической документации, действующей на территории РФ.
Система предназначена для широкого круга инженерно-технических специалистов.

Рейтинг@Mail.ru Яндекс цитирования

Copyright © www.gostrf.com, 2008 - 2026