Крупнейшая бесплатная информационно-справочная система онлайн доступа к полному собранию технических нормативно-правовых актов РФ. Огромная база технических нормативов (более 150 тысяч документов) и полное собрание национальных стандартов, аутентичное официальной базе Госстандарта. GOSTRF.com - это более 1 Терабайта бесплатной технической информации для всех пользователей интернета. Все электронные копии представленных здесь документов могут распространяться без каких-либо ограничений. Поощряется распространение информации с этого сайта на любых других ресурсах. Каждый человек имеет право на неограниченный доступ к этим документам! Каждый человек имеет право на знание требований, изложенных в данных нормативно-правовых актах!

  


 

ГОСТ 7875.0-94

МЕЖГОСУДАРСТВЕННЫЙ СТАНДАРТ

ИЗДЕЛИЯ ОГНЕУПОРНЫЕ

ОБЩИЕ ТРЕБОВАНИЯ К МЕТОДАМ
ОПРЕДЕЛЕНИЯ ТЕРМИЧЕСКОЙ СТОЙКОСТИ

МЕЖГОСУДАРСТВЕННЫЙ СОВЕТ
ПО СТАНДАРТИЗАЦИИ, МЕТРОЛОГИИ И СЕРТИФИКАЦИИ

Минск

Предисловие

1. РАЗРАБОТАН Всероссийским институтом огнеупоров (СПИО), Техническим комитетом ТК 9 «Огнеупоры»

ВНЕСЕН Госстандартом России

2. ПРИНЯТ Межгосударственным советом по стандартизации, метрологии и сертификации (отчет Технического секретариата № 4 от 21 июля 1994 г., по переписке)

Наименование государства

Наименование национального органа по стандартизации

Республика Азербайджан

Азгосстандарт

Республика Армения

Армгосстандарт

Республика Беларусь

Белстандарт

Республика Грузия

Грузстандарт

Республика Казахстан

Казгосстандарт

Республика Молдова

Молдовастандарт

Российская Федерация

Госстандарт России

Республика Узбекистан

Узгосстандарт

Украина

Госстандарт Украины

Кыргызстан

Кыргызстандарт

3. Постановлением Комитета Российской Федерации по стандартизации, метрологии и сертификации от 9 марта 1995 г. № 113 межгосударственный стандарт ГОСТ 7875.0-94 введен в действие непосредственно в качестве государственного стандарта Российской Федерации с 1 января 1996 г.

4. ВЗАМЕН ГОСТ 7875-83 в части общих требований к методам определения термической стойкости для огнеупорных изделий

5. ПЕРЕИЗДАНИЕ

ГОСТ 7875.0-94

МЕЖГОСУДАРСТВЕННЫЙ СТАНДАРТ

ИЗДЕЛИЯ ОГНЕУПОРНЫЕ

Общие требования к методам определения термической стойкости

Refractory products. Basic requirements for procedures
of thermal shock resistance determination

Дата введения 1996-01-01

1. Область применения

Настоящий стандарт устанавливает общие требования к методам определения термической стойкости обожженных, не взаимодействующих с водой огнеупорных изделий с общей пористостью менее 45 %.

2. Нормативные ссылки

В настоящем стандарте использованы ссылки на следующие стандарты:

ГОСТ 12.1.019-79 Система стандартов безопасности труда. Электробезопасность. Общие требования и номенклатура видов защиты.

ГОСТ 12.2.007.9-93 (МЭК 519-1-84) Безопасность электротермического оборудования. Часть 1. Общие требования.

ГОСТ 12.4.021-75 Система стандартов безопасности труда. Системы вентиляционные. Общие требования.

ГОСТ 427-75 Линейки измерительные металлические. Технические условия.

ГОСТ 7502-98 Рулетки измерительные металлические. Технические условия.

ГОСТ 7875.1-94 Изделия огнеупорные. Метод определения термической стойкости на кирпичах.

ГОСТ 7875.2-94 Изделия огнеупорные. Метод определения термической стойкости на образцах.

ГОСТ 8179-98 (ИСО 5022-79) Изделия огнеупорные. Отбор образцов и приемочные испытания.

ГОСТ 24104-88* Весы лабораторные общего назначения и образцовые. Общие технические условия.

* С 1 июля 2002 г. введен в действие ГОСТ 24104-2001.

ГОСТ 29329-92 Весы для статического взвешивания. Общие технические требования.

3. Определение

термическая стойкость огнеупорных изделий: Сопротивляемость разрушению, происходящему в результате резкой смены температур, при поочередном нагреве и охлаждении.

4. Подготовка образцов

4.1. Порядок отбора изделий и количество образцов для испытаний - по ГОСТ 8179.

4.2. Образцы, на поверхности которых после резки обнаружены трещины, пустоты или раковины, не испытывают, а заменяют другими из той же выборки.

4.3. Перед испытанием образцы высушивают при температуре 110 °С - 130 °С до постоянной массы. Массу считают постоянной, если после повторной сушки результат взвешивания отличается от предыдущего не более чем на 1 % по ГОСТ 7875.1 или на 0,1 % по ГОСТ 7875.2.

Кирпичи, хранившиеся после обжига в помещении, не сушат.

5. Аппаратура

5.1. Печь электрическая для нагрева образцов до температуры 1300 °С с двумя нагревателями из карбида кремния диаметром 25 - 30 мм.

Схема расположения образцов и термоэлектрического преобразователя в печи приведена в приложении А (рисунки 1-4).

Допускается применять большее число нагревателей меньшего диаметра при условии сохранения площади излучающей поверхности и мощности печи.

Рабочее пространство печи рассчитано на одновременное испытание трех-пяти образцов.

5.2. Преобразователь термоэлектрический для измерения температуры до 1300 °С с измерительным прибором 1-го или более высокого класса точности. Преобразователь устанавливают в печь в защитном чехле.

5.3. Устройство, регулирующее для поддержания температуры рабочего пространства печи во время выдержки в ней образцов в пределах ± 20 °С.

5.4. Весы для статического взвешивания по ГОСТ 24104 или ГОСТ 29329.

5.5. Секундомер или другой прибор для измерения времени с ценой деления не более 1 мин (механические, электрические часы и др.).

5.6. Бачок для охлаждения образцов проточной водой.

5.7. Линейка металлическая по ГОСТ 427 с ценой деления шкалы 1 мм, рулетка по ГОСТ 7502 или соответствующий шаблон (для образцов кубической формы).

5.8. Щипцы металлические (для образцов кубической формы).

6. Требования безопасности

6.1. Требования безопасности к электропечи, применяемой для испытания, должны соответствовать ГОСТ 12.2.007.9.

6.2. Эксплуатация электроустановок и электроприборов должна осуществляться в соответствии с ГОСТ 12.1.019, правилами технической эксплуатации и техники безопасности электроустановок потребителей.

6.3. Помещение, в котором проводят испытания, должно быть оборудовано вентиляцией в соответствии с ГОСТ 12.4.021.

ПРИЛОЖЕНИЕ А

(справочное)

Схема расположения образцов и термоэлектрического преобразователя в печи

1 - образец; 2 - футеровка печи; 3 - карбид-кремниевый электронагреватель; 4 - термоэлектрический преобразователь

Рисунок 1

Примечание - Размеры на рисунках даны для справок.

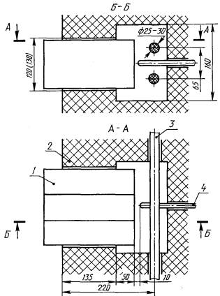
1 - образец; 2 - футеровка печи; 3 - карбид-кремниевый электронагреватель; 4 - термоэлектрический преобразователь

Рисунок 2

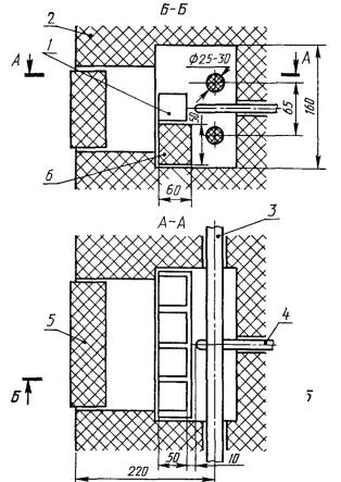
1 - образец; 2 - футеровка печи; 3 - карбид-кремниевый электронагреватель; 4 - термоэлектрический преобразователь; 5 - дверца печи; 6 - подставка

Рисунок 3

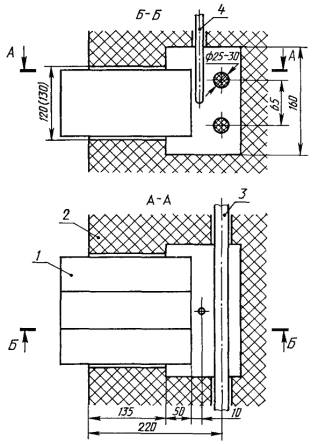
1 - образец; 2 - футеровка печи; 3 - карбид-кремниевый электронагреватель; 4 - термоэлектрический преобразователь; 5 - дверца печи; 6 - подставка

Рисунок 4

Ключевые слова: изделия огнеупорные, аппаратура, термическая стойкость

СОДЕРЖАНИЕ

 

 




ГОСТЫ, СТРОИТЕЛЬНЫЕ и ТЕХНИЧЕСКИЕ НОРМАТИВЫ.
Некоммерческая онлайн система, содержащая все Российские Госты, национальные Стандарты и нормативы.
В Системе содержится более 150000 файлов нормативно-технической документации, действующей на территории РФ.
Система предназначена для широкого круга инженерно-технических специалистов.

Рейтинг@Mail.ru Яндекс цитирования

Copyright © www.gostrf.com, 2008 - 2026