Крупнейшая бесплатная информационно-справочная система онлайн доступа к полному собранию технических нормативно-правовых актов РФ. Огромная база технических нормативов (более 150 тысяч документов) и полное собрание национальных стандартов, аутентичное официальной базе Госстандарта. GOSTRF.com - это более 1 Терабайта бесплатной технической информации для всех пользователей интернета. Все электронные копии представленных здесь документов могут распространяться без каких-либо ограничений. Поощряется распространение информации с этого сайта на любых других ресурсах. Каждый человек имеет право на неограниченный доступ к этим документам! Каждый человек имеет право на знание требований, изложенных в данных нормативно-правовых актах!

  


 

ГОСТ Р 50921-96

ГОСУДАРСТВЕННЫЙ СТАНДАРТ РОССИЙСКОЙ ФЕДЕРАЦИИ

КОКС КАМЕННОУГОЛЬНЫЙ С РАЗМЕРОМ КУСКОВ 20 мм И БОЛЕЕ

МЕТОД ОПРЕДЕЛЕНИЯ ПРОЧНОСТИ ПОСЛЕ РЕАКЦИИ С ДВУОКИСЬЮ УГЛЕРОДА

ГОССТАНДАРТ РОССИИ

Москва

Предисловие

1 РАЗРАБОТАН И ВНЕСЕН Восточным научно-исследовательским углехимическим институтом (ВУХИН)

2 УТВЕРЖДЕН И ВВЕДЕН В ДЕЙСТВИЕ Постановлением Госстандарта России от 9 июля 1996 г. № 443

3 ВВЕДЕН ВПЕРВЫЕ

ГОСУДАРСТВЕННЫЙ СТАНДАРТ РОССИЙСКОЙ ФЕДЕРАЦИИ

КОКС КАМЕННОУГОЛЬНЫЙ С РАЗМЕРОМ КУСКОВ 20 мм И БОЛЕЕ

Метод определения прочности после реакции с двуокисью углерода

Coal coke with size of pieces 20 mm and more. Method for determination of strength after reacion with carbon dioxide

Дата введения 1997-07-01

1. НАЗНАЧЕНИЕ И ОБЛАСТЬ ПРИМЕНЕНИЯ

Настоящий стандарт устанавливает метод определения прочности каменноугольного кокса после реакции с двуокисью углерода при температуре 1100 °С.

2. НОРМАТИВНЫЕ ССЫЛКИ

В настоящем стандарте использованы ссылки на следующие нормативные документы:

ГОСТ 2664-84 Кокс каменноугольный, пековый и термоантрацит. Правила приемки

ГОСТ 8050-85 Двуокись углерода газообразная и жидкая. Технические условия

ГОСТ 9293-74 Азот газообразный и жидкий. Технические условия

ГОСТ 23083-78 Кокс каменноугольный, пековый и термоантрацит. Методы отбора и подготовки проб

ГОСТ 24104-88 Весы лабораторные общего назначения и образцовые. Общие технические условия

3. ОБОЗНАЧЕНИЯ И СОКРАЩЕНИЯ

CSR - прочность кокса после реакции с двуокисью углерода.

4. СУЩНОСТЬ МЕТОДА

Метод заключается в механической обработке в цилиндрическом аппарате пробы кокса крупностью (20 ± 1) мм после выдерживания ее в потоке двуокиси углерода при температуре 1100 °С в течение 2 ч.

Показателем прочности кокса после реакции с двуокисью углерода является выраженное в процентах отношение массы фракции крупностью более 10 мм после 600 оборотов аппарата к массе пробы, загруженной в аппарат.

5. АППАРАТУРА

5.1. Электропечь с реактором

Реактор из нержавеющей стали высотой 230 мм, в котором толщина слоя пробы составляет 100 мм, а толщина подушки из металлических шариков - 80 мм. Подушка из шариков диаметром 3 мм отделена от пробы колосником из нержавеющей стали толщиной 2 - 4 мм с равномерно распределенными отверстиями. Материал шариков - нержавеющая сталь. Их диаметр и количество не ограничиваются.

Схема реактора приведена на рисунке 1. Электропечь должна обеспечивать температуру (1100 ± 5) °С в течение всего опыта.

Рисунок 1. - Реактор

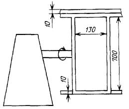
5.2. Цилиндрический аппарат для определения прочности кокса после реакции с двуокисью углерода

Схема аппарата приведена на рисунке 2.

Рисунок 2. - Цилиндрический аппарат для определения прочности кокса

5.3. Термопреобразователь платина-платинародиевый (Pt-PtRh).

5.4. Прибор для измерения расхода газа - стандартный ротаметр или реометр.

5.5. Дробилка зубчатая.

5.6. Набор сит с размером квадратных отверстий 21, 19, 15 и 10 мм.

5.7. Весы лабораторные общего назначения по ГОСТ 24104 с максимальной погрешностью взвешивания 0,1 г.

6. ОБЩИЕ УСЛОВИЯ ИСПЫТАНИЯ

6.1. Температура испытаний в центре реактора - 1100 °С.

6.2. Длительность реакции - 120 мин.

6.3. Двуокись углерода по ГОСТ 8050, чистота свыше 99,98 %.

6.4. Азот по ГОСТ 9293.

6.5. Скорость подачи газа - (83 + 1) см3/с при температуре 20 °С и давлении 760 мм рт. ст.

6.6. Масса испытуемого материала - (200 + 2) г.

6.7. Крупность испытуемого материала - (20 ± 1) мм.

6.8. Количество оборотов барабана - 600.

6.9. Частота вращения барабана - (20 + 1) мин-1.

7. ПОДГОТОВКА ПРОБЫ

Из отобранной по ГОСТ 23083 и ГОСТ 2669 объединенной пробы кокса сокращением получают пробу массой 20 кг. Пробу рассеивают на ситах с размером отверстий 25 и 60 мм. Из полученных классов крупности 25 - 60 и более 60 мм составляют пробу массой 10 кг, сохраняя в ней соотношение указанных классов крупности, как в общей пробе. Далее пробу измельчают до размера кусков 19 - 21 мм по схеме, приведенной на рисунке 3.

а - первая стадия; б - вторая стадия; в - третья стадия

Рисунок 3. - Схема измельчения пробы

Пробу кокса массой 10 кг измельчают на дробилке и рассеивают на ситах с квадратными отверстиями размером 19 и 21 мм. Кокс с размером кусков менее 19 мм отбрасывают, с размером кусков 19 - 21 мм сохраняют, а кокс с размером кусков более 21 мм снова направляют на дробилку и рассеивают на тех же ситах.

Измельчение проводят в три стадии

Дробилка (скорость подачи кокса, расстояние между зубцами и т.п.) должна быть отрегулирована так, чтобы суммарный выход класса крупности 19 - 21 мм при дроблении пробы кокса составлял 15 - 25 %. Рассев производят в 40 - 45 приемов (суммарное число).

Полученные части пробы смешивают и подсушивают при температуре 150 °С в течение 2 ч. После подсушивания пробу хранят в эксикаторе.

8. ПРОВЕДЕНИЕ ИСПЫТАНИЯ

Предварительно нагревают электропечь до температуры (1100 + 5) °С и поддерживают эту температуру в течение всего испытания.

Подсушенную пробу в количестве 200 г засыпают в реактор в последовательности, изображенной на рисунке 4.

Рисунок 4. - Схема заполнения реактора, установки крышки и выравнивания поверхности

Пробу медленно засыпают по палочке так, чтобы она не пылила. Для облегчения установки гильзы для термопары в середине засыпки делается углубление - кокс из середины выбирается к стенкам.

Реактор закрывают крышкой и дважды встряхивают с целью выравнивания поверхности кокса.

В гильзу вставляют термопару, включают подачу в реактор очищенного азота с расходом (83 + 1) см3/с по 6.5 и устанавливают реактор вертикально в электропечь.

После того как температура внутри реактора вновь поднимется до уровня 1100 °С, выдерживают его в электропечи в течение 10 мин. Далее вместо азота в реактор с той же скоростью подают двуокись углерода и выдерживают трубку в электропечи при температуре 1100 °С в течение 120 мин.

После окончания реакции снова подают азот, извлекают из печи реактор и охлаждают его в потоке азота до комнатной температуры. После охлаждения реактора пробу извлекают, помещают в испытательный аппарат, который вращают в течение 30 мин со скоростью 20 мин-1 (600 оборотов).

Затем пробу выгружают, взвешивают и рассеивают на ситах с размером отверстий 15 и 10 мм. Каждую фракцию кокса взвешивают отдельно и определяют их процентное содержание. Общая масса исходной пробы после реакции должна быть равна сумме масс, полученных после рассева фракций кокса.

9. ОБРАБОТКА РЕЗУЛЬТАТОВ

Показатель прочности кокса после реакции с двуокисью углерода, CSR, %, вычисляют по формуле

где С - масса кокса крупностью более 10 мм после обработки в аппарате, кг;

В - общая масса кокса после реакции и обработки в аппарате, кг.

Ключевые слова: кокс, метод испытания, размер кусков, прочность кокса

СОДЕРЖАНИЕ

 

 




ГОСТЫ, СТРОИТЕЛЬНЫЕ и ТЕХНИЧЕСКИЕ НОРМАТИВЫ.
Некоммерческая онлайн система, содержащая все Российские Госты, национальные Стандарты и нормативы.
В Системе содержится более 150000 файлов нормативно-технической документации, действующей на территории РФ.
Система предназначена для широкого круга инженерно-технических специалистов.

Рейтинг@Mail.ru Яндекс цитирования

Copyright © www.gostrf.com, 2008 - 2026