|
ГОСТ Р 51317.3.2-99
(МЭК 61000-3-2-95)
|
|
ГОСУДАРСТВЕННЫЙ
СТАНДАРТ РОССИЙСКОЙ ФЕДЕРАЦИИ
|
Совместимость технических
средств электромагнитная
ЭМИССИЯ ГАРМОНИЧЕСКИХ СОСТАВЛЯЮЩИХ ТОКА ТЕХНИЧЕСКИМИ СРЕДСТВАМИ С ПОТРЕБЛЯЕМЫМ ТОКОМ НЕ БОЛЕЕ 16 А (В ОДНОЙ ФАЗЕ)
Нормы и методы испытаний
ГОССТАНДАРТ РОССИИ
Москва
Предисловие
1 РАЗРАБОТАН И ВНЕСЕН Техническим
комитетом по стандартизации в области электромагнитной совместимости
технических средств (ТК 30)
2 ПРИНЯТ И ВВЕДЕН В ДЕЙСТВИЕ Постановлением
Госстандарта России от 24 декабря 1999 г. № 702-ст
3 Настоящий стандарт содержит аутентичный
текст международного стандарта МЭК 61000-3-2-95 «Электромагнитная совместимость
(ЭМС). Часть 3. Нормы. Раздел 2. Нормы эмиссии гармонических составляющих тока
(потребляемый ток оборудования ≤ 16 А в одной фазе)», включая Изменение №
1 (1997) и Изменение № 2 (1998), с дополнительными требованиями, отражающими
потребности экономики страны
4 ВВЕДЕН ВПЕРВЫЕ
Содержание
Введение
Стандарт МЭК 61000-3-2-95 является частью
стандартов МЭК серии 61000 согласно следующей структуре:
Часть 1 Основы
Общее рассмотрение (введение,
фундаментальные принципы)
Определения, терминологи
Часть 2 Электромагнитная
обстановка
Описание электромагнитной обстановки
Классификация электромагнитной обстановки Уровни электромагнитной совместимости
Часть 3 Нормы
Нормы помехоэмиссии
Нормы помехоустойчивости (в тех случаях, когда
они не являются предметом рассмотрения техническими комитетами,
разрабатывающими стандарты на продукцию)
Часть 4 Методы испытаний и
измерений
Методы измерений Методы испытаний
Часть 5 Руководства по
установке и помехоподавлению
Руководства по установке Руководства по
помехоподавлению
Часть 6 Общие стандарты
Часть 9 Разное
Каждая часть подразделяется на разделы,
которые могут быть опубликованы как международные стандарты либо как
технические отчеты.
Указанные стандарты и технические отчеты
будут опубликованы в хронологическом порядке и соответственно пронумерованы.
Настоящая
часть представляет собой международный стандарт, который устанавливает нормы
эмиссии гармонических составляющих тока от ТС с потребляемым током не более 16
А в одной фазе и является стандартом электромагнитной совместимости,
распространяющимся на группу однородной продукции.
ГОСУДАРСТВЕННЫЙ СТАНДАРТ РОССИЙСКОЙ ФЕДЕРАЦИИ
|
Совместимость
технических средств электромагнитная
|
|
ЭМИССИЯ ГАРМОНИЧЕСКИХ СОСТАВЛЯЮЩИХ ТОКА ТЕХНИЧЕСКИМИ СРЕДСТВАМИ С
ПОТРЕБЛЯЕМЫМ ТОКОМ НЕ БОЛЕЕ 16 А (В ОДНОЙ ФАЗЕ)
|
Нормы и методы испытаний
|
|
Electromagnetic compatibility of technical equipment. Harmonic current
emissions (equipment input current ≤ 16 A per phase). Limits and test methods
|
Дата
введения 2002-01-01
Настоящий
стандарт распространяется на электротехнические, электронные и радиоэлектронные изделия, аппараты,
приборы, устройства и оборудование с потребляемым током не более 16 А (в одной
фазе) (далее в тексте - технические средства), подключаемые к низковольтным
распределительным электрическим сетям.
Стандарт
устанавливает нормы эмиссии гармонических составляющих тока, потребляемого техническими
средствами (ТС) при испытаниях в регламентированных условиях.
Измерение
гармонических составляющих тока осуществляют в соответствии с приложениями А и Б.
При соблюдении норм, установленных настоящим
стандартом, должна обеспечиваться электромагнитная совместимость низковольтных
распределительных электрических сетей и подключаемых к ним ТС в части
гармонических составляющих потребляемого тока.
Установленные настоящим стандартом нормы должны быть
приведены в стандартах на ТС конкретного вида и технической документации на ТС.
Испытания в соответствии с настоящим
стандартом являются типовыми (испытаниями одного или нескольких образцов ТС,
изготовленных в соответствии с определенной технической документацией, имеющих
идентичные характеристики, с целью подтвердить соответствие требованиям
настоящего стандарта).
Примечание - Для
потребностей экономики страны определение испытаний - по
ГОСТ
16504-81.
Условия
проведения испытаний ТС некоторых видов установлены в приложении В,.
Настоящий
стандарт не распространяется на ТС с номинальным фазным напряжением меньше 220 В.
Нормы и методы испытаний, регламентированные
настоящим стандартом, устанавливают также для ТС, подключаемых к промышленным
электрическим сетям напряжением до 1000 В и создающих гармонические
составляющие тока, включая выпрямители, инверторы, преобразователи частоты,
регулируемые электроприводы, преобразователи переменного напряжения, агрегаты
бесперебойного питания и др., если иные нормы и методы испытаний не установлены
в государственных стандартах на группы ТС или ТС конкретного вида.
Специальные ТС,
не имеющие широкой сферы применения, схемно-конструктивные решения которых не
позволяют обеспечить соответствие требованиям (нормам) настоящего стандарта, могут
подлежать ограничениям в установке. Энергоснабжающие организации должны быть
извещены об установке указанных ТС, так как может потребоваться разрешение на
их подключение к электрической сети.
Рекомендации,
касающиеся этого вопроса, приведены в [1].
Требования настоящего стандарта являются
обязательными.
Содержание стандарта МЭК 61000-3-2-95 набрано
прямым шрифтом, дополнительные требования к стандарту МЭК 61000-3-2, отражающие
потребности экономики страны, - курсивом.
В настоящем стандарте использованы ссылки на [1]-[4]
и следующие стандарты:
ГОСТ Р 8.568-97
Государственная система обеспечения единства измерений. Аттестация
испытательного оборудования. Основные положения
ГОСТ Р МЭК
598-1-96 Светильники. Часть 1. Общие требования и методы испытаний
ГОСТ
8045-82 Светильники для наружного освещения. Общие технические условия
ГОСТ
8607-82 Светильники для освещения жилых и общественных помещений. Общие
технические условия
ГОСТ 9021-88 Телевизоры. Методы
измерения параметров
ГОСТ
13109-97 Электрическая энергия. Совместимость технических средств
электромагнитная. Нормы качества электрической энергии в системах
электроснабжения общего назначения.
ГОСТ 15049-81 Лампы
электрические. Термины и определения
ГОСТ
16504-81 Система государственных испытаний продукции. Испытания и контроль
качества продукции. Основные термины и определения
ГОСТ 16703-79
Приборы и комплексы световые. Термины и определения
ГОСТ
17616-82 Лампы электрические. Методы измерения электрических и световых
параметров
ГОСТ 17677-82 Светильники.
Общие технические условия
ГОСТ
22261-94 Средства измерений электрических и магнитных величин. Общие
технические условия
ГОСТ
23849-87 Аппаратура радиоэлектронная бытовая. Методы измерения
электрических параметров усилителей сигналов звуковой частоты
ГОСТ
24838-87 Аппаратура радиоэлектронная бытовая. Входные и выходные параметры
ГОСТ
30345.4-95 Безопасность бытовых и аналогичных электрических приборов.
Дополнительные требования к стиральным машинам
ГОСТ
30372-95/ТОСТ Р 50397-92 Совместимость технических средств электромагнитная
Термины и определения
В настоящем стандарте используют термины,
установленные в ГОСТ
13109-97, ГОСТ
16504-81, ГОСТ
30372-95/ГОСТ Р 50397-92, [2],
а также следующие:
3.1 Переносный электрический инструмент - электрический инструмент,
который при нормальных условиях применения держат в руках и используют
кратковременно (в течение нескольким минут).
3.2 Лампа - источник
оптического излучения, создаваемого в результате преобразования электрической
энергии (ГОСТ
15049-81).
3.3
Лампа со встроенным балластом - устройство, которое не может быть
размонтировано без его разрушения, состоящее из лампы, снабженной цоколем,
содержащим любые дополнительны элементы, необходимые для зажигания и стабильной
работы источника света.
3.4
Световой прибор - устройство, содержащее одну или несколько ламп и
светотехническую арматуру, перераспределяющее свет лампы (ламп) и (или)
преобразующее его структуру и предназначенное для освещения или сигнализации.
3.5
Полусветильник - ТС, сходное с лампой со встроенным балластом, но
сконструированное для использования заменяемых источника света и/или стартера.
3.6
Балласт - ТС, включаемое между электрической сетью и одной или несколькими разрядными
лампами, которое служит в основном для ограничения тока ламп(ы) до требуемого
значения Оно может содержать средства для преобразования напряжения и/или
частоты питания, коррекции коэффициента мощности и создания самостоятельно или
в совокупности со стартером условий необходимых для зажигания ламп(ы).
3.7
Шаговый преобразователь для светового оборудования - ТС, включаемое между
электрической сетью и одной или несколькими галогенными или иными лампами
накаливания, служащее для обеспечения питания ламп(ы) номинальным напряжением,
обычно на повышенной частоте Указанное ТС может содержать одну или несколько
отдельных частей и включать средства для регулирования силы света ламп(ы),
коррекции коэффициента мощности и подавления индустриальных радиопомех.
3.8
Световой блок - световое оборудование, состоящее из одной лампы со встроенным
балластом или одного устройства регулирования (балласта, полусветильника,
трансформатора или подобного устройства), действующего с одной или несколькими
лампами.
3.9 Стандартная лампа - лампа, отобранная с целью испытаний балластов,
которая в совокупности со стандартным балластом имеет электрические
характеристики, близкие к указанным в нормативной документации на лампу
конкретного типа.
3.10
Стандартный балласт - специальный балласт индуктивного типа, сконструированный
таким образом, чтобы являться эталоном при испытании балластов и отборе
стандартных ламп. Он должен характеризоваться стабильным отношением напряжения
к току, практически не подверженным изменениям при изменениях тока, температуры
и внешних магнитных полей.
3.11
Потребляемый ток - ток, потребляемый ТС или частью ТС из электрической сети
переменного тока.
3.12
Коэффициент мощности цепи - отношение измеренной потребляемой активной мощности
к произведению действующих значений питающего напряжения и потребляемого тока.
3.13
Активная мощность - среднее значение мгновенной мощности за один период.
3.14
Симметричное трехфазное ТС - ТС, фазные токи которого отличаются не более чем
на 20%.
3.15
Профессиональное ТС - ТС, применяемое в профессиональной деятельности, торговой
деятельности или в отраслях промышленности, которое не предназначено для
применения в быту. Назначение ТС должно быть установлено изготовителем.
3.16 Низковольтная
распределительная электрическая сеть - низковольтная распределительная
электрическая сеть энергоснабжающей организации (электрическая сеть общего
назначения) или низковольтная электрическая сеть потребителя электрической
энергии, предназначенная для питания различных приемников электрической энергии
в местах их размещения.
3.17 Гармоническая составляющая периодической
величины - составляющая порядка, выше чем первый, разложения в ряд Фурье периодической величины.
3.18 Порядок гармонической составляющей -
целое число, равное отношению частоты гармонической составляющей к основной
частоте.
3.19 Регулирование потребляемой мощности - регулирование
электрической мощности, потребляемой ТС, служащее для получения требуемых
характеристик функционирования.
3.20 Обобщенное управление фазой - процесс
изменения в пределах периода или полупериода питающего напряжения временного
интервала или интервалов, в течение которого(ых) осуществляется прохождение
тока.
3.21 Управление фазой -
процесс изменения, в пределах периода или полупериода питающего напряжения,
момента, в который начинается прохождение тока; при этом процессе проводимость
прекращается вблизи момента, когда ток принимает нулевое значение.
Примечание - Управление
фазой является частным случаем обобщенного управления фазой.
3.22 Угол задержки - фазовый угол, на который
начальный момент прохождения тока задерживается при использовании управления
фазой.
3.23 Управление полупериодами переменного
тока - процесс изменения отношения числа полупериодов прохождения тока к числу
полупериодов, в течение которых ток отсутствует.
3.24 Симметричное управление (при одной фазе)
-управление с помощью устройства, которое согласно своему назначению
функционирует одинаково при положительном и отрицательном полупериодах
переменного напряжения или тока.
Примечания
1 Обобщенное управление
фазой является симметричным, если форма тока одинакова при положительном и
отрицательном полупериодах.
2 Управление
полупериодами переменного тока является симметричным, если в пределах каждого
периода проводимости число положительных и отрицательных полупериодов
одинаково.
3.25 Несимметричное
управление (при одной фазе) - управление с помощью устройства, которое согласно
своему назначению функционирует различным образом при положительном и
отрицательном полупериодах переменного напряжения или тока.
Примечания
1 Обобщенное управление фазой является несимметричным, если форма тока
неодинакова при положительном и отрицательном полупериодах.
2 Управление полупериодами переменного тока является несимметричным, если
в пределах каждого периода проводимости число положительных и отрицательных
полупериодов неодинаково.
3.26 Оборудование информационных технологий - ТС, предназначенные для:
приема данных от внешнего источника (такого, как линия передачи данных или
клавиатура); выполнения некоторых операций над полученными данными (таких, как
вычисления, преобразование или запись данных, накопление, хранение и передача
данных); обеспечения ввода данных (на другое ТС или путем воспроизведения
данных или образования изображений).
Примечание - Настоящее определение включает ТС и системы, которые генерируют
множество электрических или электронных бинарных импульсных сигналов и
сконструированы для выполнения таких функций, как обработка слов, электронные
вычисления, обработка файлов, хранение, поиск, передача и воспроизведение
данных в виде образов.
Целью
настоящего стандарта является установление для ТС, относящихся к области
применения стандарта, норм эмиссии гармонических составляющих тока таким
образом, чтобы с учетом допустимой эмиссии от других ТС уровни гармонических
составляющих напряжения в системах электроснабжения не превышали уровней
электромагнитной совместимости, установленных в [3]
и ГОСТ
13109-97.
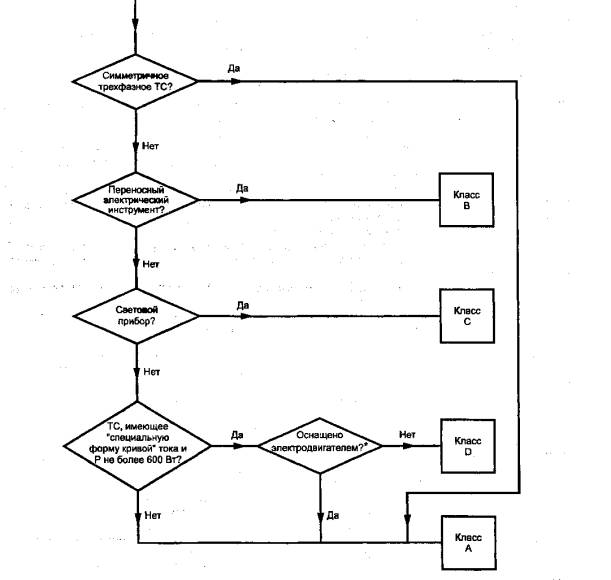
Для целей
ограничения гармонических составляющих тока ТС классифицируют следующим
образом:
-
класс А -г симметричные трехфазные ТС и ТС других видов, исключая относящиеся к
классам В, С и D;
-
класс В - переносные электрические инструменты;
-
класс С - световые приборы, включая устройства регулирования;
-
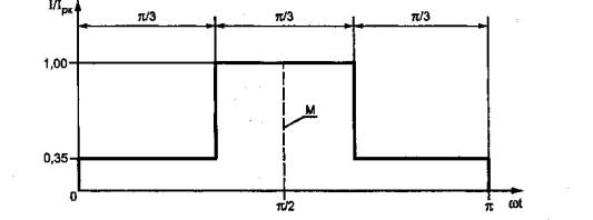
класс D - ТС с потребляемым током, характеризующимся «специальной формой
кривой», приведенной на рисунке 1, и активной мощностью, не превышающей 600 Вт,
измеренными при условиях, регламентированных в соответствующем разделе
приложения В.

Рисунок 1 - График для определения
«специальной формы кривой» потребляемого тока и отнесения ТС к классу D
Вне зависимости
от формы кривой потребляемого тока, ТС классов В и С, а также ТС, оснащенные
электродвигателями с управлением фазой, не относят к ТС класса D.
Примечание - Указанное исключение в будущем должно быть
пересмотрено в отношении ТС, оснащенных электродвигателями, с потребляемым
током, характеризующимся «специальной формой кривой», приведенной на рисунке 1.
ТС относят к классу D, если
при условиях испытаний, указанных в приложении
В, форма кривой потребляемого тока I, отнесенного к его амплитудному значению Ipk, в течение каждого полупериода находится в
пределах графика на рисунке 1 для 95 %
длительности каждого полупериода. Это означает, что формы кривой потребляемого
тока, характеризующиеся малыми выбросами за пределами графика, считаются
соответствующими графику. Центральная линия М должна совпадать с амплитудным
значением потребляемого тока.
Для определения
класса ТС может быть применен алгоритм, приведенный на рисунке 2.

* С управлением фазой
Рисунок 2 - Алгоритм классификации ТС
Требования и нормы, установленные в
настоящем разделе, применяют к входным зажимам электропитания ТС, предназначенных
для подключения к системам электроснабжения напряжением 220/380 и 240/415 В
частотой 50 или 60 Гц. Требования и нормы для других случаев не
рассматриваются.
Нижеследующие методы управления потребляемой
мощностью ТС не должны быть использованы в нормальных условиях эксплуатации:
- метод несимметричного
управления, за исключением случаев, когда применение указанного метода является
единственным практическим решением для обеспечения условий безопасности;
- метод однополупериодного
выпрямления потребляемого из электрической сети тока непосредственно на входных
зажимах ТС, за исключением случаев, когда этот метод является единственным
практическим решением для обеспечения условий безопасности или когда
управляемая активная мощность ТС не превышает 100 Вт, или когда ТС представляют
собой переносные устройства, используемые кратковременно (не более нескольких
минут), подключаемые к электрической сети двухпроводным гибким шнуром
(например, фены).
Допускается использовать методы
симметричного управления, при которых возникают симметричные составляющие
потребляемого тока низкого порядка (п ≤ 40), для управления мощностью
нагревательных элементов, если мощность указанных элементов при синусоидальном
потребляемом токе не превышает 200 Вт, или если нормы, установленные в таблице 3, не превышены.
ТС бытового
назначения с симметричным управлением потребляемой мощностью, используемые в
течение короткого интервала времени (например, фены), должны быть испытаны в
соответствии с нормами, установленными для ТС класса А.
ТС, использующие при указанных в
настоящем стандарте ограничениях методы несимметричного управления мощностью и
однополупериодное выпрямление тока, потребляемого из сети, должны удовлетворять
нормам, установленным в разделе 7.
Нормы эмиссии гармонических
составляющих потребляемого тока, установленные в разделе 7, применяют к линейным токам для всех видов
присоединений ТС к электрической сети (звезда, треугольник и др).
Условия проведения испытаний ТС некоторых
видов при измерении гармонических составляющих тока приведены в приложении В.
Для гармонических
составляющих тока порядка выше 19 допускается проводить обзор спектра. Если
указанный обзор показывает монотонное уменьшение огибающей спектра при
увеличении порядка гармонической составляющей, измерения ограничивают
гармоническими составляющими, порядок которых не превышает 19.
При измерениях не учитывают гармонические
составляющие тока, потребляемого ТС, уровень которых не превышает большего из
двух значений:
- 0,6 % от величины потребляемого
тока при измерении в соответствии с методами, установленными в настоящем
стандарте;
- 0,5 мА.
Если нормы гармонических составляющих
тока установлены в зависимости от тока основной частоты или активной мощности
ТС, ток основной частоты и активную мощность измеряют при тех же условиях, что
и уровни гармонических составляющих тока.
6.2.1
Установившийся режим
Нормы, установленные в настоящем
стандарте, применяют к гармоническим составляющим тока в установившемся режиме
работы ТС, измеряемым в соответствии с приложениями А, Б, В.
6.2.2
Переходный режим
Для гармонических составляющих тока ТС в
переходном режиме, измеренных в соответствии с приложениями А, Б и В,
применяют следующие требования:
- гармонические составляющие тока
длительностью не более 10 с, возникающие при ручном и автоматическом включении
и выключении ТС, не учитывают;
- нормы, установленные в
таблицах 1-3, применяют ко всем
гармоническим составляющим тока переходного режима длительностью более 10 с,
возникающим при испытаниях ТС в соответствии с приложением В. При этом для
каждой гармонической составляющей тока переходного режима четного порядка от 2
до 10 и нечетного порядка от 3 до 19 допускаются значения, превышающие в 1,5
раза нормы, установленные в таблицах 1-3 в течение не более 10 % времени любого периода наблюдений, равного 2,5 мин.
6.2.3 ТС,
установленные в стойках или шкафах
Если отдельные ТС установлены в стойках
или шкафах, они считаются индивидуально подключенными
к сети электропитания. Стойки и шкафы как целое испытаниям не подлежат.
7 Нормы гармонических составляющих тока
ТС должны удовлетворять приведенным в
настоящем разделе нормам эмиссии гармонических составляющих тока.
Гармонические составляющие потребляемого
тока ддя ТС класса А не должны превышать значений, установленных в таблице 1.
Таблица 1- Норма для ТС
класса А
|
Порядок гармонической составляющей n
|
Максимально допустимое значение гармонической составляющей тока, А
|
|
Нечетные гармонические составляющие:
|
|
|
3
|
2,30
|
|
5
|
1,14
|
|
7
|
0,77
|
|
9
|
0,40
|
|
11
|
0,33
|
|
13
|
0,21
|
|
15 ≤ n ≤ 39
|

|
|
Четные гармонические составляющие:
|
|
|
2
|
1,08
|
|
4
|
0,43
|
|
6
|
0,30
|
|
8 ≤ n ≤ 40
|

|
Для ТС класса В гармонические
составляющие потребляемого тока не должны превышать значений, приведенных в
таблице 1, умноженных на коэффициент 1,5.
7.3.1 Световое
оборудование
а) Активная потребляемая мощность
составляет более 25 Вт.
Для светового оборудования с активной
потребляемой мощностью, составляющей более 25 Вт, гармонические составляющие
тока не должны превышать относительных значений, приведенных в таблице 2.
Таблица
2 - Нормы для ТС класса С
|
Порядок гармонической составляющей n
|
Максимальное допустимое значение гармонической составляющей тока,
% от гармонической составляющей тока на основной частоте
|
|
2
|
2
|
|
3
|
30λ*
|
|
5
|
10
|
|
7
|
7
|
|
9
|
5
|
|
11≤ n ≤39
(только для нечетных гармоник)
|
3
|
*
λ – коэффициент мощности цепи
б) Активная
потребляемая мощность не превышает 25 Вт.
Световое оборудование с активной
потребляемой мощностью, не превышающей 25 Вт, должно удовлетворять одной из
приведенных ниже групп требований:
1) значения гармонических составляющих
тока на 1 Вт мощности ТС не должны превышать норм, установленных в таблице 3.
Примечание - Нижний предел мощности ТС,
равный 75 или 50 Вт, установленный для применения норм класса D (см.
7.4), в данном случае не
учитывают;
Таблица 3-Нормы для ТС класса D
|
Порядок гармонической составляющей n
|
Максимально допустимое значение гармонической составляющей тока на 1 Вт мощности ТС,
мА/Вт
|
Максимально допустимое значение гармонической составляющей тока, А
|
|
3
|
3,4
|
2,30
|
|
5
|
1,9
|
1,14
|
|
7
|
1,0
|
0,77
|
|
9
|
0,5
|
0,40
|
|
11
|
0,35
|
0,33
|
|
13 ≤ n ≤ 39
|
3,85
n
|
В соответствии с таблицей 1
|
2)
значение гармонической составляющей тока третьего порядка, выраженное в
процентах от гармонической составляющей тока на основной частоте, не должно
превышать 86 %, соответствующее значение гармонической составляющей пятого
порядка не должно превышать 61 % и, кроме того, форма кривой потребляемого тока
должна указывать, что прохождение тока начинается при 60 град или ранее, ток
достигает последнего пикового значения (при наличии нескольких пиковых значений
в течение полупериода) при 65 град или ранее, и прохождение тока не
прекращается до 90 град (за 0 град принято значение фазового угла,
соответствующего прохождению напряжения основной частоты через нуль).
7.3.2 Регулирующие
устройства
Устройства регулирования силы света
(автономные или встраиваемые в лампы или световые приборы) должны
соответствовать следующим требованиям.
Автономные
регулирующие устройства
Гармонические составляющие тока
автономных регулирующих устройств не должны превышать значений, приведенных в
таблице 1. При
использовании фазового управления потребляемой мощностью ламп накаливания угол задержки
не должен превышать 145 град, и регулирующее устройство должно быть испытано в
соответствии с условиями, приведенными в приложении В (п. 6).
Встраиваемые
регулирующие устройства
Для световых приборов с лампами
накаливания гармонические составляющие тока встраиваемых регулирующих устройств
не должны превышать значений, приведенных в таблице 1. При использовании фазового
управления угол задержки не должен превышать 145 град, и регулирующее
устройство должно быть испытано в соответствии с условиями, приведенными в приложении В
(п. 6).
Для световых приборов с газоразрядными
лампами значения гармонических составляющих тока встраиваемых регулирующих
устройств при условии максимальной нагрузки не должны превышать норм,
приведенных в таблице 2.
При любом положении управляющих элементов регулирующих устройств значения
гармонических токов не должны превышать значений при максимальной нагрузке.
Регулирующие устройства должны быть испытаны в соответствии с условиями,
приведенными в приложении В (В.5).
Нормы гармонических составляющих
потребляемого тока ТС класса D устанавливаются для номинальных условий нагрузки.
Гармонические составляющие тока и гармонические составляющие тока на 1 Вт
мощности ТС не должны превышать значений, установленных в таблице 3
Нормы, приведенные в таблице 3, применяют
для ТС всех видов с активной мощностью, составляющей более 75 Вт. Для ТС с
активной мощностью, не превышающей 75 Вт, нормы не устанавливают. Нижний предел
мощности ТС, составляющий 75 Вт, должен быть уменьшен до 50 Вт через четыре
года после даты введения настоящего стандарта в действие.
Отбор образцов ТС при испытаниях на
соответствие нормам, установленным в настоящем стандарте, осуществляют в
соответствии с требованиями, указанными ниже, если иные требования не
установлены в стандартах на группы ТС или ТС конкретного вида:
- при испытаниях опытных ТС отбирают не менее трех
образцов, если изготовлено более трех изделий, и все образцы, если изготовлено
три и менее изделий;
- количество
образцов, подвергаемых испытаниям на помехоустойчивость в условиях серийного
производства, устанавливают в ТУ на ТС конкретного типа или в программе
испытаний;
- для
сертификационных испытаний отбирают один образец. В обоснованных случаях по
решению органа по сертификации число образцов может быть увеличено. ТС
единичного выпуска (импорта) испытывают каждое в отдельности.
Нормы гармонических
составляющих тока, потребляемого ТС из сети электропитания, считают
выполненными, если все испытанные образцы удовлетворяют нормам настоящего
стандарта.
ПРИЛОЖЕНИЕ
А
(обязательное)
Схема измерений гармонических
составляющих тока и источник электропитания
А.1 Схема
измерений
При испытаниях
ТС измеренные значения гармонических составляющих тока должны быть сравнены с
нормами, установленными в разделе 7. Гармонические
составляющие тока испытуемого ТС (ИТС) должны быть измерены с использованием
схем измерений, приведенных на рисунке А.1 для
однофазных ТС и на рисунке А.2 для
трехфазных ТС. Применяемые средства измерений должны удовлетворять требованиям,
установленным в приложении Б.
Условия испытаний применительно к различным ИТС приведены в приложении В.
А.2 Источник
электропитания
При проведении
испытаний в соответствии с приложении В напряжение U на
сетевых зажимах ИТС должно удовлетворять установленным ниже требованиям.
А.2.1
Испытательное напряжение U должно соответствовать номинальному напряжению электропитания ИТС. Если
в соответствии с технической документацией на ИТС регламентирован диапазон
изменения напряжения электропитания, испытательное напряжение должно составлять
220 В для однофазных и 380 В для трехфазных систем электропитания. Отклонения
испытательного напряжения от установленного значения не должны превышать ± 2 %,
частоты питания от номинального значения ± 0,5 %.
А.2.2 В случае
трехфазной системы электропитания угол между напряжениями основной частоты для
каждой пары фаз должен быть (120 ± 1,5)
град.
А.2.3
Гармонические составляющие испытательного напряжения U не должны превышать:
-
0,9 % для гармонических составляющих 3 порядка;
-
0,4 % для гармонических составляющих 5 порядка;
-
0,3 % для гармонических составляющих 7 порядка;
-
0,2 % для гармонических составляющих 9 порядка;
-
0,2 % для четных гармонических составляющих порядка от 2 до 10;
- 0,1 % для гармонических составляющих
порядка от 11 до 40.
А.2.4
Амплитудное значение испытательного напряжения должно составлять от 1,4 до 1,42
действующего значения и находиться в пределах фазового угла 87-93 град от
момента прохождения напряжения через нуль. Указанное требование не применяют
при испытаниях ТС классов А и В.

S -
источник электропитания; Uo - напряжение холостого хода источника электропитания; ZS - внутреннее полное сопротивление источника электропитания;
М - средство измерений; Zm - входное полное сопротивление средства измерений; In - гармоническая составляющая линейного тока n-го порядка; U -
испытательное напряжение
Примечания
1 Значения Zs и ZM не определяют, но они должны быть достаточно низкими, чтобы
соответствовать требованиям к проведению испытаний. Относительно значения ZM см. В.2 б).
2 В некоторых особых случаях следует
принимать меры для исключения резонанса между внутренней индуктивностью
источника электропитания и емкостями элементов ИТС
Рисунок А.1 - Схема измерений для однофазных ТС

S -
источник электропитания; Uo - напряжение холостого хода источника электропитания; ZS - внутреннее полное сопротивление источника электропитания;
М - средство измерений; Zm - входное полное сопротивление средства измерений; L1, L2, L3 - фазные
провода; N -нейтральный провод; In - гармоническая
составляющая линейного тока n-го
порядка; U - испытательное напряжение (показано для примера между
фазами L1 и L2)
Примечания
1 Значения ZS и ZM не определяют, но они должны быть достаточно низкими, чтобы
соответствовать требованиям к проведению испытаний. Относительно значения ZM см. В.2 б).
2 В некоторых особых случаях следует
принимать меры для исключения резонанса между внутренней индуктивностью источника электропитания и емкостями
элементов ИТС.
Рисунок А. 2 - Схема измерений для трехфазных ТС
ПРИЛОЖЕНИЕ
Б
(обязательное)
Требования к средствам измерений
Б.1 Общие положения
Для проведения
испытаний могут быть применимы анализаторы формы сигнала любого типа, например,
средства измерений, использующие частотное преобразование входного сигнала,
имеющие в составе селективный
усилитель, гетеродин, пассивные фильтры и анализатор спектра, настроенный на
частоту измеряемой гармонической составляющей, и средства измерений,
использующие временное преобразование входного сигнала (цифровые фильтры или
дискретное преобразование Фурье).
Могут быть
применены показывающие и самопишущие средства измерений. Для обеспечения
воспроизводимости результатов испытаний средства измерений, использующие
частотное и временное преобразование входного сигнала, должны удовлетворять
требованиям, установленным в Б.2 - Б.5.
Примечание - В настоящем стандарте средства измерений,
использующие временное и частотное преобразование входного сигнала, полагаются
эквивалентными. Ни одно из указанных средств измерений не считается эталонным.
Применение в качестве эталонного цифрового средства измерений, использующего
дискретное преобразование Фурье при прямоугольном измерительном окне, имеющем
ширину, равную 16 периодам основной частоты сети, в настоящее время находится
на рассмотрении.
Средства измерений, применяемые при проведении испытаний, должны
соответствовать требованиям ГОСТ
22261-94 и быть поверены в соответствии с [4].
Испытательное оборудование должно быть аттестовано в соответствии с
требованиями ГОСТ Р
8.568-97.
Б.2 Требования, общие для
всех средств измерений:
а)
суммарная погрешность средства измерений М (см. рисунок А.1 или рисунок А.2) при измерении
гармонической составляющей тока в установившемся режиме не должна превышать
большего из двух значений:5 % от максимального допустимого значения
гармонической составляющей тока или 0,2 % от номинального значения тока,
потребляемого ИТС. Точность измерений может проверяться внутренней или внешней
калибровкой;
б)
входное полное сопротивление средства измерений М (см. рисунки А.1, А.2) должно быть таким, чтобы амплитудное
значение падения напряжения на входе средства измерений, обусловленное
потребляемым током ИТС, не превышало 0,15 В;
в)
если значения измеряемых гармонических составляющих тока изменяются во время
испытаний так, что установленные в настоящем стандарте нормы могут быть
потенциально превышены, оценка соответствия нормам должна проводиться на основе
сглаживания измеряемых значений гармонических составляющих тока,
соответствующего применению фильтра первого порядка с постоянной времени 1,5 с
±10
Примечания
1 При использовании
средства измерений с внешним шунтом, постоянная времени которого не превышает
10-5 с, дополнительную погрешность, вносимую этим шунтом, не
учитывают.
2 При использовании
средства измерений с внешним трансформатором тока суммарная погрешность
измерений гармонических составляющих тока не должна превышать значений,
установленных в Б.2 а).
3 Необходимо учитывать возможность перегрузки или интермодуляционных
искажений сигнала во входных каскадах средства измерений вследствие высокого
значения коэффициента формы потребляемого тока (отношения пикового значения к
действующему), а также вследствие значительной величины тока основной частоты в
сравнении с измеряемой гармоничной составляющей тока.
Б.3 Требования к средствам
измерений, использующим частотное преобразование сигнала
Б.3.1 Требования при
измерении гармонических составляющих тока, не изменяющихся по времени
Селективность
средства измерений, определяемая для каждого значения частоты fn
измеряемой гармонической составляющей n-го порядка, должна
удовлетворять требованиям, установленным в Б.3.1 а) - Б.3.1 в):
а)
минимальное ослабление одиночного сигнала в дБ, вводимого с частотой гармонической
составляющей, равной fn - fI или fn + fI, где fI - основная частота
напряжения сети (50 или 60 Гц), должно составлять:
при 2fI < fn ≤
12fI 30;
при 12 fI < fn ≤ 20 fI 20;
при 20 fI < fn ≤ 40 fI 15;
б)
ослабление любого сигнала с частотой, равной или меньшей 0,5 fn, должно быть не менее 50 дБ;
в)
ослабление сигнала основной частоты fI (50 или 60 Гц) должно быть
не менее 60 дБ.
Б.3.2 Дополнительные
требования для всех других случаев, в том числе при случайно изменяющихся
гармонических составляющих
Если
гармонические составляющие потребляемого тока ИТС изменяются во время
испытаний, должны быть выполнены требования, установленные в Б.3.2 а) - Б.3.2
б):
а)
при проведении измерений должно быть использовано средство измерений с полосой
пропускания от 3 до 10 Гц, так как при большей полосе пропускания могут быть
получены завышенные измеряемые значения;
б)
при сомнениях в результатах измерений в случае, когда нормы, установленные в
настоящем стандарте, превышены, должен быть использован измерительный прибор с
полосой пропускания (3 ± 0,5) Гц на уровне 3 дБ и ослаблением вводимого сигнала
с частотой (fn - 15) или (fn + 15)
Гц не менее 25 дБ.
Примечание - Селективные анализаторы формы
сигнала, как правило, имеют постоянную времени, существенно меньшую, чем
постоянная времени, установленная в Б.2 в) для измерения гармонических
составляющих тока, изменяющихся во время испытаний. Требуемая постоянная
времени 1,5 с ± 10 % может быть обеспечена путем введения фильтра низких частот
перед индикатором или регистрирующим устройством измерительного прибора.
Б.4 Требования к средствам измерений, использующим
временное преобразование сигнала на основе дискретного преобразования Фурье
Б.4.1 Требования
при измерении гармонических составляющих тока, не изменяющихся во времени:
а)
ширина измерительного окна цифрового средства измерений должна составлять от 4
до 30 периодов основной частоты с целым числом периодов:
б)
форма измерительного окна не регламентируется. Однако при прямоугольной форме
измерительного окна цифрового средства измерений частота квантования fk должна
быть связана с частотой fI таким образом, чтобы
максимальное отклонение между fI и величиной fk n, где n - число отсчетов за период основной частоты,
не превышало 0,03 % от fI в установившемся режиме
работы ТС. При использовании измерительного окна типа Хеннинга строгой
синхронизации не требуется;
в)
требования к пробелам и/или перекрытиям между смежными измерительными окнами не
устанавливают;
г)
затухание фильтров, предназначенных для подавления во входном сигнале
гармонических составляющих с частотами, находящимися вне измеряемой полосы
частот, должно быть не менее 50 дБ.
Б.4.2
Дополнительные требования для всех других случаев, в том числе при случайно
изменяющихся гармонических составляющих:
а) не
допускаются пробелы или перекрытия между смежными измерительными окнами
прямоугольной формы (рисунок Б.1). Должно быть обеспечено перекрытие на 50 % и отсутствие
пробелов между смежными измерительными окнами типа Хеннинга (рисунок Б.2).
Другие типы измерительных окон не допускаются;

m-1, m, m+1 -
последовательность измерительных окон; Tw ширина измерительного окна
Рисунок
Б.1 - Форма и расположение прямоугольных измерительных окон
б) при сомнении
в результатах измерений в случае, когда нормы, установленные в настоящем
стандарте, превышены, должно быть использовано средство измерений, имеющее
ширину окна, равную 16 периодам основной частоты сети при прямоугольном
измерительном окне и от 20 - 25 периодам основной частоты при измерительном
окне Хеннинга.
Примечание - Для обеспечения результатов
измерений, эквивалентных полученным с использованием аналогового средства
измерений с постоянной времени 1,5 с ± 10 % в соответствии с Б.2.3, должна быть
предусмотрена дополнительная программа обработки измерений в реальном масштабе
времени.

m-1, m, m+1 - последовательность измерительных окон; Tw -
ширина измерительного окна
Рисунок
Б.2 - Форма и расположение измерительных окон Хеннинга
Требования
к дополнительной обработке результатов измерений цифровыми средствами приведены
в приложении Е ГОСТ
13109-97.
Б.5 Требования к средствам измерений, использующим
временное преобразование сигнала на основе методов обработки иных, чём
дискретное преобразование Фурье (например, цифровых фильтров)
Результаты
измерений при использовании указанных средств измерений должны быть аналогичны
результатам, получаемым с использованием средств измерений, основывающихся на
частотном преобразовании входного сигнала, удовлетворяющих требованиям,
установленным в Б.З.
ПРИЛОЖЕНИЕ
В
(обязательное)
Условия типовых испытаний
B.1 Общие условия испытаний
В последующих
разделах указаны условия испытаний ТС некоторых видов при измерениях
гармонических составляющих потребляемого тока. Для ТС видов, не указанных в настоящем
приложении, органы управления ТС или автоматические программы, применяемые
пользователем, должны быть установлены таким образом, чтобы обеспечить в
нормальных условиях эксплуатации максимальное значение каждой последующей
измеряемой гармонической составляющей тока по очереди.
ТС испытывают в
том виде, как представлено изготовителем. Перед испытаниями, при необходимости,
изготовитель должен осуществить предварительную проверку электрических приводов
с тем, чтобы результаты соответствовали нормальной эксплуатации ТС.
ТС испытывают в комплекте,
установленном в технической документации на ТС. Режимы функционирования ТС при
испытаниях устанавливают из предусмотренных технической документацией на ТС.
Испытания на соответствие требованиям настоящего стандарта проводят при
нормальных климатических условиях:
- температуре
окружающего воздуха (25 ± 10) °С;
- относительной
влажности воздуха 30-80 %;
- атмосферном
давлении 84-106,7 кПа (630-800 мм рт. ст.),
если иные требования не
установлены в стандартах на группы ТС или ТС конкретного вида.
B.2 Условия
испытаний для телевизионных (ТВ) приемников
B.2.1 Общие условия
Должны быть
включены все вспомогательные цепи ТВ приемника, исключая внешние устройства,
получающие питание от приемника.
B.2.2 Условия измерений
Радиочастотный
испытательный сигнал от генератора испытательных сигналов по ТОСТ 9021-88, модулированный в
соответствии с В.2.2.1, подают на вход ТВ приемника ТВ приемник настраивают для
получения изображения с соответствующими параметрами яркости, контрастности и
уровня звука в соответствии с В.2.2.2.
B.2.2.1 Радиочастотный испытательный сигнал должен
иметь уровень 65 дБ (мкВ) при входном сопротивлении, равном 75 Ом, со
следующими параметрами модуляции:
а) ТВ приемники цветного изображения
Испытательный сигнал
должен представлять собой полный телевизионный сигнал с модулированными
несущими изображения и звука с параметрами:
- по
звуковому каналу - коэффициент модуляции 54 %., частота модуляции 1000 Гц;
- по
каналу изображения - цветовая модуляция должна представлять собой полный
цветовой видеосигнал цветных полос по ГОСТ 9021-88;
при этом
уровень белой полосы должен составлять 100 %, уровень черной полосы 0 %,
амплитуда по отношению к уровню белой полосы 75 %, насыщенность должна
составлять 100 %.
б) ТВ приемники черно-белого изображения
Испытательный
сигнал должен представлять собой полный телевизионный сигнал с модулированными
несущими изображения и звука с параметрами:
- по
звуковому каналу - в соответствии с В.2.2.1 а);
- по
каналу изображения - изображение должно представлять монохроматическую
испытательную таблицу с уровнями черных и белых полос в соответствии с В.2.2.1
.а) и средним содержанием полного изображения, равным 50 % от эталонного уровня
белой полосы.
В.2.2.2 Подготовка
ТВ приемников к испытаниям, настройка и регулировка - в соответствии с ГОСТ 9021-88.
Яркость
полос полного видеосигнала должна составлять: белой полосы испытательной
таблицы - 80 кд/м2; черной полосы - менее 2 кд/м2;
пурпурной полосы - 30 кд/м2. Яркость
измеряют с использованием яркометра.
Уровень звука
устанавливают таким образом, чтобы мощность, измеренная на зажимах
громкоговорителя на частоте 1000 Гц, составляла 1/8
номинальной выходной мощности. В случае стереофонического оборудования этот
уровень должен быть установлен в обоих каналах.
В.3Условия
испытаний для усилителей сигналов звуковой частоты
Усилители
сигналов звуковой частоты, потребляющие из электрической сети ток, который
изменяется менее чем на 15 % от максимального тока при изменении входного
сигнала от нуля до номинального значения, испытывают при отсутствии входного
сигнала.
Другие
усилители сигналов звуковой частоты испытывают при следующих условиях:
-
напряжение электропитания устанавливают равным номинальному (учитывая А.2.1);
-
органы управления, влияющие на частотную характеристику усилителя,
устанавливают в положение, обеспечивающее максимально широкую равномерную
частотную характеристику;
- в соответствии с
требованиями ГОСТ
23849-87, ГОСТ
24838-87 к входным зажимам
усилителя подключают генератор сигналов, к выходным зажимам - эквивалент нагрузки. При среднем положении регуляторов громкости или
усиления (при их наличии) уровень входного сигнала частотой 1000 Гц
устанавливают таким образом, чтобы мощность выходного сигнала составляла 1/8
номинальной выходной мощности.
В.4
Условия испытаний для видеомагнитофонов
Измерения проводят
в режиме воспроизведения при стандартной скорости ленты.
В.5
Условия испытании для светового оборудования
В.5.1 Общие условия
При измерениях
должно быть обеспечено спокойное состояние окружающего воздуха и его
температура в пределах от 20 до 27 °С. Во время измерений температура
окружающего воздуха не должна изменяться более чем на 1 °С.
В.5.2 Лампы
Лампы,
подлежащие испытаниям, должны проработать не менее 100 ч при номинальном
напряжении и быть включены перед началом измерений не менее чем за 15 мин. Во
время прогона и измерений лампы устанавливают в том же положении, что и в
условиях эксплуатации.
Примечание - Для ламп некоторых видов
длительность установления рабочего режима может превышать 15 мин. Сведения об
этом, приводимые в технической документации на лампу, должны быть учтены при
проведении испытаний.
При подготовке ламп к измерениям учитывают требования ГОСТ
17616-82.
В.5.3 Световые приборы
Световые
приборы испытывают в том виде, в каком они изготовлены, с использованием
стандартных ламп или ламп, имеющих характеристики, близкие к их номинальным
значениям. В случае сомнения испытания проводят с использованием стандартных
ламп.
При подготовке световых приборов к испытаниям учитывают требования ГОСТ
8045-82, ГОСТ
8607-82, ГОСТ 17677-82,
ГОСТ Р МЭК
598-1-96.
Если световой
прибор включает в себя более одной лампы, то при проведении испытаний все лампы
должны быть подключены и находиться в рабочем состоянии. Если световой прибор
предназначен для работы с лампами различных типов, измерения проводят с лампами
каждого типа для подтверждения соответствия установленным нормам.
Световые
приборы с лампами накаливания, не имеющие встроенных электронных
преобразователей или регуляторов силы света, полагают соответствующими нормам
гармонических составляющих потребляемого тока и их испытания не проводят.
Если отдельные испытания с применением
стандартных ламп показали, что балласты люминесцентных или других разрядных
ламп или шаговые преобразователи для галогенных или иных ламп накаливания
соответствуют установленным нормам на гармонические составляющие тока, то
полагают, что световой прибор в целом соответствует нормам, и его испытания не
проводят.
Если световой
прибор имеет встроенное регулирующее устройство для изменения силы света, то испытания
осуществляют при подключении всех ламп, предусмотренных конструкцией светового
прибора, для пяти установок регулирующего устройства, равномерно задаваемых в
интервале между максимальной и минимальной потребляемой мощностью для получения
исчерпывающих результатов.
В.5.4 Балласты и шаговые преобразователи
Балласты
люминесцентных и других разрядных ламп или шаговые преобразователи для
галогенных или иных ламп накаливания должны быть испытаны со стандартными
лампами или лампами, имеющими электрические характеристики, близкие к
номинальным значениям. В случае сомнения измерения должны проводиться со
стандартными лампами.
В случаях,
когда балласт может быть применен последовательно с конденсатором или без него
или когда балласт или шаговый преобразователь предназначены для применения с
лампами нескольких типов, в технической документации на балласт или шаговый
преобразователь должно быть указано, для каких типов электрических цепей и ламп
указанные ТС соответствуют нормам гармонических составляющих потребляемого
тока. Испытания проводят для указанных в технической документации электрических
цепей и типов ламп.
В.6
Условия испытаний для автономных и встроенных регулирующих устройств для ламп
накаливания
Регулирующие
устройства для изменения силы света испытывают с лампами накаливания, имеющими
предельно допустимую для регулирующего устройства мощность. Регулирование
осуществляют таким образом, чтобы угол задержки был равен (90 ± 5) град. Если
регулирование осуществляется ступенями, выбирают положение управляющего
элемента, при котором угол задержки наиболее близок к 90 град.
Автономные
(невстраиваемые) регулирующие устройства для изменения силы света с
максимальной мощностью, не превышающей 1000 Вт, временно испытаниям не
подвергают.
В.7
Условия испытаний для пылесосов
Пылесосы
испытывают при непрерывном режиме работы с пустым пылесборником или бумажным
фильтром, с трубой (при наличии), но без расширительной трубки и наконечника.
Регулирование
осуществляют таким образом, чтобы угол задержки был равен (90 ± 5) град. Если
регулирование осуществляется ступенями, выбирают положение управляющего
элемента, при котором угол задержки наиболее близок к 90 град.
В.8 Условия испытаний для
стиральных машин
Стиральные
машины испытывают в режиме выполнения нормальной программы стирки при
температуре воды 60 °С. Машину загружают номинальной массой одежды из хлопка
размерами 70×70 см сухим весом от 140 до 175 г/м2 в
соответствии с ГОСТ
30345.4-95.
Как правило,
при испытаниях достаточно измерить гармонические составляющие тока в процессе
полоскания белья. В случае сомнения испытания проводят в течение полной программы
стирки. Гармонические составляющие тока в переходном режиме измеряют при
проведении нескольких операций, включающих изменения направления вращения
барабана и ускорения при раскрутке барабана.
В.9
Условия испытаний для микроволновых печей
Микроволновые
печи испытывают в режиме 100 % номинальной мощности. Печь должна работать с
нагрузкой в виде питьевой воды массой (1000 ± 50) г, налитой в цилиндрический
стакан из боросиликатного стекла, имеющий максимальную толщину стенок 3 мм и
внешний диаметр 190 мм. Стакан с водой устанавливают в центре полки.
В.10 Условия испытаний для оборудования
информационных технологий (ОИТ)
При испытаниях
ОИТ состав элементов ОИТ должен быть выбран таким образом, чтобы потребляемый
ток был равен номинальному значению. Источник питания испытуемого ОИТ может
быть, при необходимости, нагружен дополнительной активной нагрузкой для
обеспечения номинального значения потребляемого тока.
Для ОИТ,
предназначенных в соответствии с технической документацией на ОИТ для
применения со специализированными системами электропитания, например,
трансформаторами, источниками бесперебойного питания, кондиционерами сетевого
питания и т.д., соответствие нормам настоящего стандарта должно быть
подтверждено применительно к входным разъемам указанных систем электропитания.
В.11 Условия
испытаний для индукционных нагревателей
Индукционные
нагреватели испытывают с эмалированным стальным сосудом, содержащим половину
объема воды при комнатной температуре, располагаемым в центре каждой зоны нагрева
по очереди. Управляющие элементы устанавливают на максимальный уровень нагрева.
Диаметр
основания сосуда должен быть равен диаметру зоны нагрева. Используют наименьший
сосуд, удовлетворяющий этому требованию. Максимальная вогнутость основания
сосуда должна составлять 30 D/1000, где D -
диаметр основания сосуда. Основание сосуда не должно быть выпуклым. Вогнутость
основания проверяют при комнатной температуре, используя пустой сосуд.
В. 12 Условия
испытаний для кондиционеров
Если управление
потребляемой мощностью кондиционера осуществляется с использованием
электронного устройства таким образом, что для получения необходимой
температуры воздуха изменяется скорость вращения двигателя вентилятора или
компрессора, измерение гармонических составляющих тока осуществляют после
перехода кондиционера в установившийся режим при следующих условиях:
- управляющие элементы устанавливают для
получения наименьшей температуры воздуха в режиме охлаждения и наибольшей
температуры в режиме отопления;
-
окружающая температура при испытаниях должна быть равной (30 ± 2) °С в режиме
охлаждения и (15 ± 2) °С в режиме отопления. Если в режиме отопления
номинальная потребляемая мощность может быть достигнута при более высокой
температуре окружающего воздуха, испытания проводят при данной температуре, но
не выше (18 ± 2) °С. Под внешней температурой понимается температура воздуха,
поступающего от элементов кондиционера, располагаемых внутри и вне помещения.
Если образующееся тепло передается не окружающему воздуху, а в иную среду,
например, воду, все установки управляющих элементов и показатели температуры
выбирают таким образом, чтобы мощность функционирующего кондиционера была равна
номинальной мощности.
Если
кондиционер не содержит силовых
электронных элементов (например, диодов, регулирующих устройств, тиристоров и
т.д.), его испытания на соответствие нормам гармонических составляющих тока не
проводят.
В.13 Условия
испытаний для ТС других видов
Условия
испытаний для ТС других видов будут указываться исходя из потребности.
ПРИЛОЖЕНИЕ Г
(информационное)
Библиография
[1] МЭК 61000-3-4-98 Электромагнитная совместимость
(ЭМС). Часть 3. Нормы. Раздел 4. Ограничение эмиссии гармонических токов в
низковольтных системах электроснабжения для оборудования с номинальным током,
большим 16 А
[2]
РД 50-713-92 Совместимость технических средств электромагнитная.
Электромагнитная обстановка. Виды низкочастотных кондуктивных помех и сигналов,
передаваемых по силовым линиям в системах электроснабжения общего назначения
[3]
РД 50-714-92 Совместимость технических средств электромагнитная.
Электромагнитная обстановка. Уровни электромагнитной совместимости в
низковольтных системах электроснабжения общего назначения в части
низкочастотных электромагнитных помех и сигналов, передаваемых по силовым
линиям
[4]
ПР
50.2.006-94
ГСИ Порядок проведения поверки средств измерений
Ключевые слова: электромагнитная совместимость;
технические средства, низковольтные распределительные электрические сети;
эмиссия гармонических составляющих потребляемого тока; нормы; методы испытаний