МИНИСТЕРСТВО ЭНЕРГЕТИКИ И ЭЛЕКТРИФИКАЦИИ
СССР
ГЛАВНОЕ
НАУЧНО-ТЕХНИЧЕСКОЕ УПРАВЛЕНИЕ ЭНЕРГЕТИКИ И ЭЛЕКТРИФИКАЦИИ
РЕКОМЕНДАЦИИ ПО ПРОЕКТИРОВАНИЮ
ОРГАНИЗАЦИИ ЭКСПЛУАТАЦИИ
ГЭС И ГАЭС
СЛУЖБА ПЕРЕДОВОГО ОПЫТА ПО «СОЮЗТЕХЭНЕРГО»
Москва 1990
РАЗРАБОТАНО: Производственным объединением по наладке, совершенствованию технологии и эксплуатации электростанций и сетей ПО «Союзтехэнерго»
ИСПОЛНИТЕЛИ: Н.Н. КОЖЕВНИКОВ, Т.И. ЗУБАРЕВА, Г.Н. БЕЗРУКОВА Л.В. САМРЕГА, И.Г. КОНОВ (ПО «Союзтехэнерго»), Н.А. СОНИЧЕВ, В.И. ПЛАТОВ, Б.Н. ВАСИЛЬЕВ, В.М. СЕРЕБРЯНСКИЙ, В.И. МУХИН (Гидропроект)
УТВЕРЖДЕНО: Главным научно-техническим управлением энергетики и электрификации 27.06.89 г.
Заместитель начальника А.П. БЕРСЕНЕВ
РЕКОМЕНДАЦИИ ПО ПРОЕКТИРОВАНИЮ
ОРГАНИЗАЦИИ ЭКСПЛУАТАЦИИ
ГЭС И ГАЭС
Срок действия установлен
с 01.03.89 г.
до 01.03.99 г.
Настоящие Рекомендации предназначены для использования на всех стадиях проектирования новых и реконструкции существующих ГЭС и ГАЭС (в дальнейшем - ГЭС), а также в процессе эксплуатации
действующих ГЭС.
Данные Рекомендации дополняют «Нормы технологического проектировании гидроэлектростанций и гидроаккумулирующих электростанций» (М.: Типография института «Гидропроект», 1986), а также межотраслевые материалы по НОТ с учетом специфики работы гидроэлектростанций.
При проектировании гидроэлектростанций малой мощности (менее 30 тыс. кВт) могут быть использованы настоящие Рекомендации для группы ГЭС мощностью свыше 30 до 100 тыс. кВт с соответствующей
корректировкой в зависимости от условий работы гидроэлектростанций и связей ее с энергосистемой.
С выходом настоящих Рекомендаций утрачивают силу «Отраслевые требования и нормативные материалы по научной организации труда, которые должны учитываться при проектировании новых и реконструкции действующих гидроэлектростанций» (М.: СПО Союзтехэнерго, 1980).
1.
ОБЩИЕ ПОЛОЖЕНИЯ
1.1. При проектировании гидроэлектростанций и отдельных их объектов следует предусматривать проведение мероприятий, предотвращающих вредное воздействие на работающих шума, вибрации, ультразвука, ионизирующих излучений, электрических полей высокого напряжения, вредных химических веществ, неблагоприятного микроклимата, электромагнитных волн радиочастот и др.
1.2. В период выполнения строительно-монтажных работ одновременно с эксплуатацией введенного оборудования все работы, связанные с окончанием строительно-монтажных работ в зоне действующего оборудования, проводятся по нарядам-допускам дирекции строящегося предприятия.
2.
УКАЗАНИЯ МЕР БЕЗОПАСНОСТИ
2.1. При проектировании гидроэлектростанций следует руководствоваться «Санитарными нормами проектирования промышленных предприятий» СН-245-71 (кроме пп. 13.1 - 13.10, утративших силу).
Допустимые значения физических и химических параметров следует принимать в соответствии с:
ГОСТ 12.1.005-76 «ССБТ. Воздух рабочей зоны. Общие санитарно-гигиенические требования»;
ГОСТ 12.1.012-78 «ССБТ. Вибрация. Общие требования безопасности»;
ГОСТ 12.1.003-83 «ССБТ. Шум. Общие требования безопасности»;
ГОСТ 12.1.001-83 «ССБТ. Ультразвук. Общие требования безопасности»;
ГОСТ 12.1.002-84 «ССБТ. Электрические поля промышленной частоты. Допустимые уровни напряженности и требования к проведению контроля на рабочих местах»;
ГОСТ 12.1.006-84 «ССБТ. Электромагнитные поля радиочастот. Допустимые уровни на рабочих местах и требования к проведению контроля»;
ГОСТ 12.1.045-84 «ССБТ. Электростатические поля. Допустимые уровни на рабочих местах и требования к проведению контроля» и другими стандартами системы безопасности труда, устанавливающими
допустимые нормы, соблюдение которых обеспечивает нормальные условия труда.
При организации эксплуатации ГЭС по вопросам охраны труда рекомендуется использовать «Перечень основных действующих нормативных документов по охране труда, обязательных для применения на предприятиях и в организациях Минэнерго СССР» (М.: Информэнерго, 1986).
2.2. При проектировании необходимо предусматривать средства коллективной защиты (классификация по ГОСТ
12.4.011-75), обеспечивающие безопасность труда при эксплуатации оборудования, а также при его транспортировке, монтаже (демонтаже) и ремонте. При этом следует руководствоваться требованиями ГОСТ
12.2.003-74.
2.3. При проектировании средств коллективной защиты в электроустановках следует руководствоваться требованиями ГОСТ
12.1.019-79 «ССБТ. Электробезопасность. Общие требования и номенклатура видов защиты», от ионизирующих излучений - ГОСТ
12.4.120-83 «ССБТ. Средства коллективной защиты от ионизирующих излучений. Общие технические требования», а также нижеприведенными положениями.
2.4. Основными источниками повышенного уровня шума (выше 85 дБА) на гидроэлектростанциях являются:
генераторы, электродвигатели и другие электрические машины с вращающимися частями;
силовые трансформаторы мощностью 100 МВ∙А и выше;
насосы различного назначения;
центробежные вентиляторы;
компрессоры;
турбины;
проточные части сооружений (водосбросы, трубоводопроводы);
металлорежущие станки при обработке прочной стали, наждачные станки;
воздушные выключатели.
Источником шума также является механизированный инструмент (пневмоинструмент, электрические дрели, сварочные агрегаты, шлифовальный инструмент и т.д.).
2.5. При проектировании новых и реконструкции действующих гидроэлектростанций должны разрабатываться мероприятия по обеспечению допустимых уровней звукового давления и уровней звука на рабочих местах производственных помещений.
2.6. Объекты с допустимыми уровнями шума 65 дБА и ниже (пульты управлений, лаборатории без собственных источников шума, административно-служебные помещения и др.) не следует размещать в непосредственной близости к помещениям и установкам с повышенным уровнем шума.
2.7. Оборудование с повышенным уровнем шума целесообразно устанавливать в отдельных звукоизолирующих помещениях или звукоизолирующих боксах.
2.8. Для снижения уровня шума оборудования необходимо использовать следующие средства:
звукопоглощающую облицовку или штучные поглотители;
виброизоляцию агрегатов от перекрытий;
звукоизолирующие и вибродемпфирующие покрытия на поверхности трубопроводов, излучающих шум, звукоизоляцию мест прокладки технологических коммуникаций, связывающих помещение с повышенным уровнем шума с другими помещениями;
звукоизолирующие кожухи, акустические экраны и выгородки.
2.9. Для предотвращения проникновения шума, уровень которого превышает нормы, на территорию ГЭС и прилегающую к ней территорию необходимо применять материалы и конструкции при проектировании кровли, наружных стен, остеклений, ворот и дверей, обеспечивающие снижение уровня шума, глушители шума в трактах газодинамических установок, излучающих шум в атмосферу (компрессоров, вентиляторов), звукоизолирующие облицовки каналов, излучающих шум в атмосферу, звукоизолирующие кожухи и экраны при открытом размещении оборудования с повышенным уровнем шума на территории ГЭС.
2.10. Для исключения вредного воздействия повышенного уровня шума на обслуживающий персонал следует использовать:
звукоизолирующие кабины для дежурного персонала, мастеров по ремонту;
комнаты отдыха;
индивидуальные средства защиты органов слуха.
Кроме того, следует ограничивать пребывание персонала в зонах с повышенным уровнем шума и определять в них в соответствии с ГОСТ 12.1.003-83 (приложение 1 к ГОСТ) относительную дозу шума с тем, чтобы суммарная доза шума в течение рабочего дня (рабочей смены) не превышала допустимого уровня.
Допустимые уровни шума на рабочих местах приведены в табл. 1.
2.11. Предельно допустимые концентрации (ПДК) вредных веществ в воздухе рабочей зоны применительно к помещениям гидроэлектростанций согласно ГОСТ
12.1.005-76 приведены в табл. 2.
Таблица 1
Допустимые уровни шума на рабочих местах
|
Рабочие места
|
Уровень звука и эквивалентный уровень звука, дБА
|
|
Центральный пульт управления, помещения для
инженерно-технического персонала цехов и служб
|
60
|
|
Щиты управления, кабины для наблюдения и дистанционного управления с речевой связью по
телефону
|
65
|
|
Помещения лабораторий без собственных источников шума, комнаты мастеров, машинописные
бюро
|
65
|
|
Помещения конструкторских бюро, для расчетчиков, программистов вычислительных машин, приема больных в здравпунктах, административно-управленческого персонала
|
50
|
|
Помещения лаборатории с собственными источниками шума для размещения агрегатов вычислительных машин с повышенным уровнем шума
|
80
|
|
Постоянные рабочие места и рабочие зоны в производственных помещениях и на территории предприятий
|
85
|
|
Примечание. Звуковые
давления в дБ, соответствующие данным уровня звука в дБА, указаны в ГОСТ 12.1.003.83
|
Таблица 2
Предельно допустимые концентрации вредных веществ в рабочей зоне
|
Вещество
|
Значение ПДК, мг/м3
|
Класс опасности
|
Агрегатное состояние
|
|
Окислы азота (в пересчете на О2)
|
2
|
2
|
П
|
|
Аммиак
|
20
|
4
|
П
|
|
Ацетон
|
200
|
4
|
П
|
|
Бензин-растворитель (в пересчете на С) и другие углеводороды алефтические предельные С1 - С10 (в пересчете на С)
|
300
|
4
|
П
|
|
Ксилол
|
50
|
3
|
П
|
|
Марганец (в пересчете на МnO2)
|
0,3
|
2
|
а
|
|
Никель и его окись, закись, сульфид (в пересчете на
Ni)
|
0,5
|
2
|
а
|
|
Медь
|
1
|
2
|
а
|
|
Свинец и его неорганические соединения
|
0,01
|
1
|
а
|
|
Ртуть металлическая
|
0,01
|
1
|
П
|
|
Спирт этиловый
|
1000
|
4
|
П
|
|
Спирт метиловый (метанол)
|
5+
|
3
|
П
|
|
Спирт пропиловый, амиловый, бутиловый, ацетопропиловый
|
10
|
3
|
П
|
|
Серная кислота, серный ангидрид
|
1
|
2
|
а
|
|
Сернистый ангидрид
|
10
|
3
|
П
|
|
Соляная кислота
|
5
|
2
|
П
|
|
Окись углерода
|
20
|
4
|
П
|
|
Окись железа с примесью окислов
марганца до 30 %
|
6
|
4
|
а
|
|
Масляный ангидрид
|
1
|
2
|
П
|
|
Примечание. П - пары и
(или) газы; а - аэрозоли; «+» - опасны при поступлении через кожу.
|
2.12. На гидроэлектростанциях образование опасных концентраций вредных веществ и аэрозолей возможно, как правило, при выполнении в помещениях различных ремонтных и эксплуатационных работ (пайки, сварки, малярных, пескоструйных, шлифовальных и т.д.), а также в помещениях аккумуляторных батарей, в помещениях с аппаратурой, содержащих ртуть, на складах горючесмазочных и лакокрасочных материалов, в химической лаборатории, помещениях масляного хозяйства.
Для снижения концентрации вредных веществ должна проектироваться
проточно-вытяжная или местная вытяжная вентиляция в соответствии с требованиями СН 245-71.
2.13. При проектировании системы освещения вновь строящихся и реконструируемых зданий и сооружений, мест производства работ вне зданий и наружного освещения гидроэлектростанций следует руководствоваться СНиП II-4-79
«Строительные нормы и правила. Нормы проектирования. Естественное и искусственное освещение».
3.
ОРГАНИЗАЦИЯ ТЕХНИЧЕСКОГО ОБСЛУЖИВАНИЯ
3.1.
Организационная структура управления
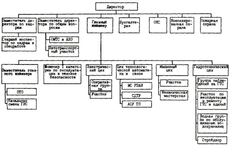
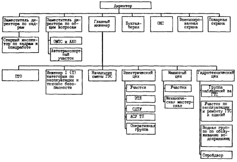
3.1.1. Организационная структура управления проектируемой ГЭС выбирается на основании действующих типовых организационных структур, утвержденных руководящими документами.
На рис. 1 - 5 приведены организационные структуры управления
гидроэлектростанций пяти групп по установленной мощности.
На рис. 1 показана организационная структура управления ГЭС, предполагающая организацию на ГЭС мощностью свыше 3000 тыс. кВт цеха технологической автоматики и связи (ТАиС). Аналогичная оргструктура может быть рекомендована также для ГЭС мощностью свыше 1000 до 3000 тыс. кВт. Вопрос об организации цеха ТАиС на ГЭС вышеуказанных мощностей рекомендуется рассматривать индивидуально для каждой конкретной ГЭС в зависимости от наличия на ней аппаратуры связи, каналов дальней и местной связи, релейной защиты и автоматики и т.п.
На рис. 2 - 4 представлены типовые организационные структуры управления гидроэлектростанций мощностью менее 3000 тыс. кВт.
3.1.2. При разработке организационной структуры управления конкретной проектируемой ГЭС необходимо учитывать местные условия, а
также степень существующей или планируемой в энергосистеме централизации функционирования. При централизации отдельных функций управления соответствующие структурные подразделения аппарата управления в организационной структуре не предусматриваются. В организационной структуре управления конкретной проектируемой ГЭС могут отсутствовать или быть объединены отдельные производственные и управленческие подразделения.

Рис. 1. Организационная структура управления ГЭС мощностью свыше 3000 тыс. кВт

Рис. 2. Организационная, структура управления ГЭС мощностью свыше 1000 до 3000 тыс. кВт

Рис. 3. Организационная структура управления ГЭС мощностью свыше 350 до 1000 тыс. кВт

Рис. 4. Организационная структура управления ГЭС мощностью свыше 100 до 350 тыс. кВт

Рис. 5. Организационная структура управления ГЭС мощностью свыше 30 до 100 тыс. кВт
Основные производственные функции, выполняемые отделами, цехами (участками) ГЭС, изложены в «Типовых положениях о структурных
подразделениях ГЭС и каскадов ГЭС». (М.: СПО Союзтехэнерго, 1986).
3.2.
Численность промышленно-производственного персонала
3.2.1. Численность промышленно-производственного персонала (ППП) проектируемых гидроэлектростанций различной установленной мощности определяется в соответствии с действующими нормативами численности персонала ГЭС и каскадов ГЭС, а также с учетом заданий постановлений Правительства по росту производительности труда на период ввода гидроузла в эксплуатацию.
Действующие нормативы численности ППП (эксплуатационного и ремонтного персонала ГЭС, среднегодовой численности привлеченного
персонала), а также руководителей специалистов и служащих (РСС) цехов и управления являются укрупненными.
Ниже приведена последовательность определения нормативной
численности персонала ГЭС любой установленной мощности в соответствии с действующими нормативами численности:
1. Установленная мощность ГЭС, тыс. кВт.
2. Количество установленных агрегатов, шт.
3. Единичная мощность агрегатов, тыс. кВт.
4. Табличная численность ППП (в зависимости от установленной мощности ГЭС), чел.
5. Поправочные коэффициенты, учитывающие особенности ГЭС.
6. Произведение поправочных коэффициентов (общий поправочный коэффициент).
7. Табличная численность ППП, умноженная на общий поправочный коэффициент, чел.
8. Дополнительная численность персонала, не учтенная нормативами, чел.
9. Нормативная численность персонала с учетом численности, приведенной в п. 8.
10. Численность непромышленного персонала (НПП), чел.
11. Суммарная численность ППП и НПП, чел.
12. Табличная численность персонала автотранспортного участка, чел. (в зависимости от численности, приведенной в п. II)
13. Поправочные коэффициенты к табличной численности персонала автотранспортного участка, учитывающие особенности расположения гидроузла
14. Нормативная численность персонала автотранспортного участка с учетом поправочных коэффициентов, чел. (п. 12 ´ п. 13)
15. Нормативная численность ППП с учетом персонала автотранспортного участка (без НПП), чел. (п. 9 + п. 14)
Примечания: 1. Численность НПП изменяется от 6 до
16 % численности ППП и определяется для каждой конкретной ГЭС индивидуально.
Если на стадии проектирования определен состав непромышленных объектов на
балансе гидроузла, то принимается расчетная численность НПП. Для периода
эксплуатации ГЭС численность НПП принимается по факту.
2. Для ГЭС, расположенных в районах Крайнего
Севера и местностях, приравненных к районам Крайнего Севера, на которые
распространяется действие указов Президиума Верховного Совета СССР от 10
февраля 1960 г. и от 26 сентября 1964 г., нормативная численность всего ППП ГЭС
(РСС и рабочих) может быть повышена:
для
района Крайнего Севера на 6,7 %;
для
местностей, приравненных к районам Крайнего Севера, на 4,5 % по сравнению с
нормативной.
Гидроэлектростанции, расположенные в
труднодоступных горных районах, целесообразно приравнивать к районам Крайнего
Севера.
3.2.2. К эксплуатационному персоналу относятся:
персонал управления;
общецеховой (начальники цехов, их заместители; ведущие инженеры, инженеры всех категорий, техники; начальники цеховых лабораторий (ЭТЛ, СДТУ); персонал химической лаборатории, метрологической
лаборатории; РСС и рабочие группы наблюдений за сооружением; кладовщики, телефонисты, уборщики и т.д.;
оперативный;
персонал лабораторий, занятый эксплуатационными испытаниями;
персонал, занятый эксплуатацией устройств связи;
персонал АСУ ТП.
К ремонтному персоналу относятся:
мастера производственных участков и рабочие по ремонту оборудования, зданий и сооружений;
персонал лабораторий, занятый ремонтом устройств вторичной коммутации и измерительных приборов;
персонал, занятый ремонтом устройств связи.
Если проектом рекомендуется подрядный или смешанный способ ремонта оборудования, предусматривающий привлечение персонала сторонних специализированных организаций (привлеченный персонал), то определяется среднегодовая численность привлеченного персонала, используемого при проведении капитальных ремонтов агрегатов, среднегодовая численность привлеченного персонала ГЭС, максимальная численность привлеченного персонала ГЭС, учитывающая численность привлеченного персонала, используемого при ремонте прочего оборудования. Все названные величины находятся в соответствии с «Методикой определения соотношений численности штатного и привлеченного персонала гидроэлектростанций» (М.: СПО Союзтехэнерго, 1987).
3.3.
Рекомендуемые штаты оперативного персонала
3.3.1. Определение численности оперативного персонала производится в следующей последовательности:
определяются границы рабочих мест и расстановка оперативного персонала применительно к проектируемой технологической схеме в компоновке гидроэлектростанций, в соответствии с рекомендуемыми штатами оперативного персонала, приведенными в табл. 3;
определяется списочная численность персонала по профессиям с учетом сменности и переходных коэффициентов, учитывающих режим работы электростанции, район расположения ГЭС.
На пиковых ГЭС, разгружаемых или работающих в режиме синхронных компенсаторов в период ночного провала графика нагрузки в ночную смену может предусматриваться сокращенный состав смены (без дежурных машинистов гидроагрегатов или с меньшим их количеством, без дежурного электромонтера ЦПУ).
Таблица 3
Рекомендуемые штаты оперативного персонала
|
Наименование
рабочих мест
|
Количество рабочих мест*2 (для одной
смены) для групп ГЭС мощностью, тыс. кВт
|
|
|
Св. 3000
|
Св. 1000 до 3000 вкл. с количеством агрегатов
|
Св. 350 до 1000 вкл. с количеством агрегатов
|
Св. 250 до 350 вкл. с числом агрегатов 7 и более
|
Св. 100 до 250 вкл.
|
Св. 30 до 100 вкл.
|
|
|
7 и более
|
6 и менее
|
|
|
8 и более
|
7 и менее
|
|
|
Начальник смены
ГЭС (дежурный инженер ГЭС)
|
1
|
1
|
1
|
1
|
1
|
1
|
1
|
1*3
|
|
|
Начальник смены
машинного зала
|
1
|
1*4
|
-
|
-
|
-
|
|
-
|
-
|
|
|
Дежурный машинист
гидроагрегатов.
|
2 - 5*5
|
2 - 5*3
|
1 - 2
|
2 - 4*5
|
1
|
1 - 2*5
|
-*6
|
-
|
|
|
Дежурный инженер
ОРУ
|
1*7
|
1*7
|
1*7
|
-
|
-
|
-
|
-
|
-
|
|
|
Дежурный электромонтер
ЦПУ
|
0 - 1
|
0 - 1
|
0 - 1
|
-*8
|
-*8
|
-
|
-
|
-
|
|
|
Старший дежурный
электромонтер (СДЭМ)
|
0 - 1*9
|
0 - 1*9
|
1*10
|
1*10
|
0 - 1
|
-
|
-
|
-
|
|
*1 Штаты оперативного персонала определены
для периода нормальной эксплуатации.
Указанная
в табл. 3
численность оперативного персонала входит в общую нормативную численность ППП.
*2 Одно рабочее
место комплектуется пятью человеками, а для районов Крайнего Севера и
приравненным к ним - шестью человеками.
*3 Как правило,
ГЭС должна проектироваться с телеуправлением с дежурством на дому, при этом
рабочее место комплектуется тремя человеками.
*4
Предусматривается на ГЭС мощностью более 1000 тыс. кВт с количеством агрегатов
16 и более.
*5 Для ГЭС с
агрегатами мощностью более 250 тыс. кВт один машинист обслуживает 4 агрегата
мощностью 70 - 250 тыс. кВт - 5 агрегатов, 25 - 70 тыс. кВт - 6 агрегатов, 10 -
25 тыс. кВт - 7 агрегатов, до 10 тыс. кВт - 8 агрегатов.
*6 Может быть
предусмотрен дежурный машинист в дневную смену и в рабочие дни недели.
*7 При наличии
нескольких территориально разобщенных ОРУ может быть предусмотрена
дополнительно должность еще одного дежурного инженера или дежурного
электромонтера ОРУ.
*8 На базовых ГЭС
каскада может быть введена должность дежурного электромонтера ЦПУ; на ГЭС
мощностью свыше 500 тыс. кВт может быть предусмотрен дежурный электромонтер ЦПУ
в дневную смену.
*9 Должность СДЭМ
может быть введена при наличии системы непосредственно водяного охлаждения
обмоток статора генератора сложных систем возбуждения (тиристорное возбуждение,
регуляторы возбуждения сильного действия и пр.).
*10 При наличии четырех ВЛ и более вместо
СДЭМ может быть предусмотрена должность дежурного инженера ОРУ.
При одиночном дежурстве на ГЭС мощностью св. 100 до 350 тыс. кВ и св. 30 до 100 тыс. кВт дежурным должен быть старший электромонтер с выходом в дневную смену или другое время для участия в оперативных переключениях в устройствах высокого напряжения.
3.3.2. При проектировании ГЭС мощностью менее 200 тыс. кВт с количеством агрегатов не более 5 рекомендуется организовывать их работу с дежурством оперативного персонала на дому.
В этих случаях проектом определяется необходимость дополнительного оснащения ГЭС автоматическими средствами обнаружения и тушения пожара в зависимости от конкретных условий (компоновка помещений и оборудования, удаленность обслуживающего персонала, наличие пожарного депо и пр.).
При наличии в схеме ГЭС транзитных системных или межсистемных ВЛ напряжением 220 кВ и выше перевод ГЭС на работу с дежурством на дому не рекомендуется.
3.4.
Примерное штатное расписание промышленно-производственного персонала
3.4.1. Действующие нормативы численности ППП ГЭС являются укрупненными. Распределение работников по производственным подразделениям и рабочим местам производится при проектировании ГЭС на стадии технического проекта. Одновременно с распределением численности персонала составляется примерное штатное расписание для периода постоянной эксплуатации с указанием группы производственных процессов. При необходимости допускается совмещение профессий рабочих.
В табл. 4 приведено примерное штатное расписание ориентировочное распределение численности персонала гидроэлектростанции по структурным подразделениям (отделам, цехам, группам, участкам), составленное с учетом опыта эксплуатации целого ряда передовых действующих ГЭС соответствующих групп мощности и «Типовых положений о структурных подразделениях ГЭС и каскадов ГЭС».
3.4.2. Действительное штатное расписание для периода промышленной эксплуатации составляется индивидуально для конкретной проектируемой ГЭС с учетом ее отличительных особенностей. Распределение ГЭС по структурным подразделениям производится в пределах ее нормативной численности.
Таблица 4
Примерное штатное расписание и ориентировочное распределение численности персонала гидроэлектростанции по структурным подразделениям*1
|
Структурное подразделение, должность, профессия
|
Группа производственных процессов
|
Количество штатных единиц для групп ГЭС мощностью, тыс. кВт
|
|
Св. 3000
|
Св. 1000 до 3000 вкл.
|
Св. 350 до 1000 вкл.
|
Св. 100 до 350 вкл.
|
Св. 30 до 100 вкл.
|
|
УПРАВЛЕНИЕ
|
|
Директор
|
|
1
|
1
|
1
|
1
|
-
|
|
Начальник ГЭС (старший мастер)
|
|
-
|
-
|
-
|
-
|
1
|
|
Главный инженер
|
|
1
|
1
|
1
|
-
|
-
|
|
Заместитель главного инженера (он же начальник ПТО)
|
|
Вводится на ГЭС мощностью свыше
2000
тыс. кВт или при числе установленных агрегатов более 15
|
|
Заместитель директора по кадрам
|
|
1
|
1
|
-
|
-
|
-
|
|
Заместитель директора по общим вопросам
|
|
1
|
1
|
-
|
-
|
-
|
|
Инженер I (II) категории по эксплуатации и технике безопасности
|
|
1
|
1
|
1
|
-
|
-
|
|
Старший инспектор по кадрам, гражданской обороне, мобилизационной и спецработе
|
|
1
|
1
|
1
|
-
|
-
|
|
Начальник штаба ГО
Юрисконсульт
|
|
Вводятся на ГЭС в зависимости от конкретных условий по распоряжению Минэнерго СССР
|
|
Секретарь-машинистка
|
|
1
|
1
|
1
|
-
|
-
|
|
Производственно-технический отдел (ПТО), (группа)
|
|
+
|
+
|
+
|
+
|
-
|
|
Начальник отдела
|
|
1
|
1
|
1
|
1
|
-
|
|
Заместитель начальника отдела
|
|
1
|
1
|
-
|
-
|
-
|
|
Инженер I (II) категории
|
|
1
|
1
|
-
|
-
|
-
|
|
Инженер по электротехническому оборудованию
|
|
1
|
1
|
1
|
1
|
-
|
|
Инженер по гидротурбинному оборудованию
|
|
1
|
1
|
1
|
1
|
-
|
|
Инженер по гидротехническим сооружениям
|
|
1
|
1
|
1
|
1
|
-
|
|
Инженер I (II) категории по рационализации и изобретениям
|
|
1
|
1
|
-
|
-
|
-
|
|
Инженер-экономист I (II) категории
|
|
1
|
1
|
-
|
-
|
-
|
|
Инженер-экономист
|
|
1
|
1
|
1
|
1
|
-
|
|
Оператор множительных машин
|
Iб
|
1
|
1
|
1
|
1
|
-
|
|
Конструкторская группа при ПТО
|
|
|
|
|
|
|
|
Инженер-конструктор
|
|
1 - 2
|
1 - 2
|
1
|
1
|
-
|
|
Техник
|
|
1
|
1
|
-
|
-
|
-
|
|
Отдел (группа) материально-технического
снабжения и административно-хозяйственного обслуживания (ОМТС и АХО)
|
|
+
|
+
|
+
|
+
|
-
|
|
Начальник отдела
|
|
1
|
1
|
1
|
1
|
-
|
|
Заместитель начальника отдела
|
|
1
|
1
|
-
|
-
|
-
|
|
Инженер I (II) категории по оборудованию и запчастям
|
|
1
|
1
|
1
|
1
|
-
|
|
Инженер-экономист
|
|
1
|
1
|
-
|
-
|
-
|
|
Товаровед
|
|
1
|
1
|
-
|
-
|
-
|
|
Заведующий складом
|
|
1
|
1
|
1
|
1
|
-
|
|
Агент-экспедитор по снабжению
|
|
1
|
1
|
-
|
-
|
-
|
|
Инспектор-делопроизводитель
|
|
1
|
1
|
-
|
-
|
-
|
|
Секретарь-стенографистка (она же телеграфистка, если на ГЭС имеется телетайп)
|
|
1
|
1
|
-
|
-
|
-
|
|
Машинистка I (II) категории
|
|
1 - 3
|
1 - 3
|
1 - 2
|
1
|
-
|
|
Рабочие ОМТС и АХО
|
|
|
|
|
|
|
|
Кладовщик
|
Iа
|
1
|
1
|
1
|
1
|
-
|
|
Грузчик
|
Iб
|
1 - 2
|
1 - 2
|
1
|
1
|
-
|
|
Уборщик служебных помещений
|
Iб
|
1 - 2
|
1 - 2
|
1
|
1
|
-
|
|
Отдел капитального строительства (ОКС)
|
|
|
|
|
|
|
|
Начальник отдела
|
|
1
|
1
|
1
|
-
|
-
|
|
Инженер
|
|
1
|
1
|
1
|
-
|
-
|
|
Экономист
|
|
1
|
1
|
1
|
-
|
-
|
|
Бухгалтерия
|
|
|
|
|
|
|
|
Главный бухгалтер
|
|
1
|
1
|
1
|
1
|
-
|
|
Бухгалтер I (II) категории
|
|
1
|
1
|
1
|
1
|
-
|
|
Бухгалтер
|
|
1 - 3
|
1 - 2
|
-
|
-
|
-
|
|
Кассир
|
|
1
|
1
|
1
|
1
|
-
|
|
ПРОИЗВОДСТВЕННЫЕ ПОДРАЗДЕЛЕНИЯ ГИДРОЭЛЕКТРОСТАНЦИИ
|
|
Электрический цех
|
|
+
|
+
|
-
|
-
|
-
|
|
Начальник цеха
|
|
1
|
1
|
-
|
-
|
-
|
|
Заместитель начальника цеха по ремонту и эксплуатации силового электротехнического оборудования
|
|
1
|
1
|
-
|
-
|
-
|
|
Заместитель начальника цеха по вторичным цепям (он же начальник электротехнической лаборатории)
|
|
1
|
1
|
-
|
-
|
-
|
|
Техник по документации
|
|
1
|
1
|
-
|
-
|
-
|
|
Кладовщик
|
Iа
|
1
|
1
|
-
|
-
|
-
|
|
Уборщик производственных помещений
|
Iб
|
1
|
1
|
-
|
-
|
-
|
|
Участок по ремонту и эксплуатации генераторов
|
|
+
|
+
|
-
|
-
|
-
|
|
Старший мастер (мастер)
|
Iв
|
1 - 2
|
1 - 2
|
-
|
-
|
-
|
|
Электрослесарь
|
Iв
|
15 - 20
|
10 - 15
|
-
|
-
|
-
|
|
Газоэлектросварщик
|
IIг
|
1 - 2
|
1 - 2
|
-
|
-
|
-
|
|
Участок по ремонту и эксплуатации трансформаторов
|
|
+
|
+
|
-
|
-
|
-
|
|
Старший мастер (мастер)
|
IIд
|
1 - 2
|
1 - 2
|
-
|
-
|
-
|
|
Электрослесарь
|
IIд
|
15 - 20
|
10 - 15
|
-
|
-
|
-
|
|
Регенераторщик масла
|
IIIа
|
1 - 2
|
1 - 2
|
-
|
-
|
-
|
|
Участок по ремонту и эксплуатации оборудования собственных нужд
|
|
+
|
+
|
-
|
-
|
-
|
|
Старший мастер (мастер)
|
Iв
|
1 - 2
|
1 - 2
|
-
|
-
|
-
|
|
Электрослесарь
|
Iв
|
2 - 4
|
1 - 2
|
-
|
-
|
-
|
|
Электромонтер-кабельщик
|
IIIа
|
5 - 8
|
3 - 5
|
-
|
-
|
-
|
|
Электромонтер по обслуживанию электрооборудования
|
Iб
|
10 - 15
|
8 - 10
|
-
|
-
|
-
|
|
Аккумуляторщик
|
IIIа
|
1 - 2
|
1 - 2
|
-
|
-
|
-
|
|
Участок по ремонту и эксплуатации оборудования открытых распределительных устройств ОРУ
|
|
+
|
+
|
-
|
-
|
-
|
|
Старший мастер (мастер)
|
IIд
|
1 - 2
|
1 - 2
|
-
|
-
|
-
|
|
Электрослесарь
|
IIд
|
10 - 15
|
8 - 10
|
-
|
-
|
-
|
|
Электротехническая лаборатория (ЭТЛ)
|
|
+
|
+
|
-
|
-
|
-
|
|
Начальник лаборатории (он же заместитель начальника цеха по вторичным цепям)
|
Iа
|
-
|
-
|
-
|
-
|
-
|
|
Группа релейной защиты и автоматики ГЭС
|
|
+
|
+
|
-
|
-
|
-
|
|
Инженер I (II) категории
|
Iб
|
1 - 2
|
1 - 2
|
-
|
-
|
-
|
|
Инженер
|
Iб
|
2 - 4
|
2 - 4
|
-
|
-
|
-
|
|
Электромонтер
|
Iб
|
10 - 15
|
5 - 10
|
-
|
-
|
-
|
|
Группа релейной защиты и автоматики ОРУ
|
|
+
|
+
|
-
|
-
|
-
|
|
Инженер I (II) категории
|
Iб
|
1 - 2
|
1 - 2
|
-
|
-
|
-
|
|
Инженер
|
IIд
|
2 - 4
|
2 - 4
|
-
|
-
|
-
|
|
Электромонтер
|
IIд
|
10 - 15
|
5 - 10
|
-
|
-
|
-
|
|
Группа измерений
|
|
+
|
+
|
-
|
-
|
-
|
|
Инженер I (II) категории
|
Iа
|
1 - 2
|
1 - 2
|
-
|
-
|
-
|
|
Инженер
|
Iа
|
2 - 4
|
2 - 4
|
-
|
-
|
-
|
|
Электромонтер
|
Iа
|
10 - 15
|
5 - 10
|
-
|
-
|
-
|
|
Группа высоковольтных испытаний
|
|
+
|
+
|
-
|
-
|
-
|
|
Инженер I (II) категории
|
IIд
|
1 - 2
|
1 - 2
|
-
|
|
-
|
|
Инженер
|
IIд
|
2 - 4
|
1 - 2
|
-
|
-
|
-
|
|
Электромонтер
|
IIд
|
10 - 15
|
5 - 10
|
-
|
-
|
-
|
|
Масло
химическая лаборатория
|
|
+
|
+
|
-
|
-
|
-
|
|
Инженер I (II) категории
|
IIIа
|
1
|
1
|
-
|
-
|
-
|
|
Инженер
|
IIIа
|
1 - 2
|
1 - 2
|
-
|
-
|
-
|
|
Лаборант химического анализа
|
IIIа
|
1 - 2
|
1 - 2
|
-
|
-
|
-
|
|
Участок средств диспетчерского
и технологического управления (СДТУ)
|
|
+
|
+
|
-
|
-
|
-
|
|
Старший мастер (мастер)
|
Iа
|
1 - 2
|
1 - 2
|
-
|
-
|
-
|
|
Инженер I (II) категории
|
Iа
|
1 - 2
|
1 - 2
|
-
|
-
|
-
|
|
Инженер
|
Iа
|
2 - 4
|
2 - 4
|
-
|
-
|
-
|
|
Электромонтер-линейщик
|
IIд
|
10 - 15
|
5 - 10
|
-
|
-
|
-
|
|
Электромонтер станционных устройств
|
Iа
|
5 - 10
|
5 - 10
|
-
|
-
|
-
|
|
Электромонтер-кабельщик
|
IIIа
|
5 - 10
|
5 - 10
|
-
|
-
|
-
|
|
Телефонист
|
Iа
|
2 - 4
|
2 - 4
|
-
|
-
|
-
|
|
Группа оперативного персонала*3
|
|
|
|
|
|
|
|
Машинный цех
|
|
+
|
+
|
-
|
-
|
-
|
|
Начальник цеха
|
|
1
|
1
|
-
|
-
|
-
|
|
Заместитель начальника цеха по ремонту оборудования
|
|
1
|
1
|
-
|
-
|
-
|
|
Техник по документации
|
|
1
|
1
|
-
|
-
|
-
|
|
Кладовщик
|
Iа
|
1
|
1
|
-
|
-
|
-
|
|
Уборщик производственных помещений
|
Iб
|
1
|
1
|
-
|
-
|
-
|
|
Участок по ремонту и эксплуатации механической части генераторов
|
|
+
|
+
|
-
|
-
|
-
|
|
Старший мастер (мастер)
|
Iв
|
1 - 2
|
1 - 2
|
-
|
-
|
-
|
|
Слесарь
|
Iв
|
10 - 15
|
8 - 10
|
-
|
-
|
-
|
|
Газоэлектросварщик
|
IIг
|
2 - 3
|
2 - 3
|
-
|
-
|
-
|
|
Участок по ремонту и эксплуатации оборудования гидротурбин
|
|
+
|
+
|
-
|
-
|
-
|
|
Старший мастер (мастер)
|
Iв
|
1 - 2
|
1 - 2
|
-
|
-
|
-
|
|
Слесарь
|
Iв
|
10 - 15
|
8 - 10
|
-
|
-
|
-
|
|
Участок по ремонту и эксплуатации вспомогательного оборудования ГЭС
|
|
+
|
+
|
-
|
-
|
-
|
|
Старший мастер (мастер)
|
Iв
|
1 - 2
|
1 - 2
|
-
|
-
|
-
|
|
Слесарь
|
Iв
|
10 - 15
|
8 - 10
|
-
|
-
|
-
|
|
Газоэлектросварщик
|
IIг
|
1 - 2
|
1 - 2
|
-
|
-
|
-
|
|
Машинист насосных установок
|
IIг
|
1 - 2
|
1 - 2
|
-
|
-
|
-
|
|
Участок по ремонту и эксплуатации
оборудования сантехники, вентиляции
и отопления
|
|
+
|
+
|
-
|
|
-
|
|
Старший мастер (мастер)
|
IIв
|
1 - 2
|
1 - 2
|
-
|
-
|
-
|
|
Слесарь
|
IIв
|
8 - 10
|
5 - 8
|
-
|
-
|
-
|
|
Слесарь-сантехник
|
IIг
|
4 - 6
|
2 - 4
|
-
|
-
|
-
|
|
Газоэлектросварщик
|
IIг
|
1 - 2
|
1 - 2
|
-
|
-
|
-
|
|
Участок по ремонту и эксплуатации механического оборудования гидротехнических сооружений (ГТС)
|
|
+
|
+
|
-
|
-
|
-
|
|
Старший мастер (мастер)
|
IIд
|
1 - 2
|
1 - 2
|
-
|
-
|
-
|
|
Слесарь
|
IIд
|
8 - 10
|
5 - 8
|
-
|
-
|
-
|
|
Газоэлектросварщик
|
IIг
|
1 - 2
|
1 - 2
|
-
|
-
|
-
|
|
Машинист крана
|
IIа
|
2 - 4
|
2 - 4
|
-
|
-
|
-
|
|
Электромеханик по подъемным механизмам, лифтам
|
Iв
|
2 - 3
|
1 - 2
|
-
|
-
|
-
|
|
Такелажник
|
Iб
|
1 - 2
|
1-2
|
-
|
-
|
|
|
Механическая мастерская
|
|
+
|
+
|
-
|
-
|
-
|
|
Старший мастер (мастер)
|
Iб
|
1 - 2
|
1
|
-
|
-
|
-
|
|
Слесарь
|
Iб
|
5 - 8
|
3 - 5
|
-
|
-
|
-
|
|
Станочник
|
Iб
|
5 - 8
|
3 - 5
|
-
|
-
|
-
|
|
Кузнец
|
IIб
|
1
|
1
|
-
|
-
|
-
|
|
Газоэлектросварщик
|
IIг
|
1 - 2
|
1 - 2
|
-
|
-
|
-
|
|
Гидротехнический цех*4
|
|
+
|
+
|
+
|
+
|
-
|
|
Начальник цеха
|
|
1
|
1
|
1
|
1
|
-
|
|
Заместитель начальника цеха по надзору за сооружениями
|
|
1
|
1
|
1
|
1
|
-
|
|
Техник по документации
|
|
1
|
1
|
1
|
1
|
-
|
|
Кладовщик
|
Iа
|
1
|
1
|
1
|
1
|
-
|
|
Уборщик производственных помещений
|
Iб
|
1
|
1
|
1
|
1
|
-
|
|
Группа наблюдений за гидротехническими сооружениями
|
|
+
|
+
|
+
|
+
|
-
|
|
Руководитель группы (он же заместитель
начальника цеха по надзору за сооружениями)
|
|
-
|
-
|
-
|
-
|
-
|
|
Инженер-геодезист I (II) категории
|
IIд
|
1 - 2
|
1 - 2
|
1
|
1
|
-
|
|
Инженер
|
IIд
|
2 - 4
|
2 - 4
|
1 - 2
|
1 - 2
|
-
|
|
Инженер-гидротехник I (II) категории
|
IIд
|
1 - 2
|
1 - 2
|
1
|
1
|
-
|
|
Техник
|
IIд
|
1 - 2
|
1 - 2
|
1
|
1
|
-
|
|
Пьезометрист-обходчик
|
IIд
|
6 - 8
|
4 - 6
|
2 - 4
|
2 - 4
|
-
|
|
Слесарь по контрольно-измерительной аппаратуре (КИА)
|
Iб
|
4 - 6
|
2 - 4
|
1
|
1
|
-
|
|
Участок по эксплуатации и ремонту гидротехнических сооружений и производственных зданий
|
|
+
|
+
|
+
|
+
|
-
|
|
Старший мастер (мастер) - руководитель участка
|
IIд
|
1
|
1
|
1
|
1
|
-
|
|
Группа по обслуживанию зданий и сооружений
|
|
+
|
+
|
+
|
+
|
-
|
|
Мастер
|
Iд
|
1
|
1
|
1
|
1
|
-
|
|
Каменщик-бетонщик
|
IIг
|
2 - 4
|
1 - 3
|
1
|
1
|
-
|
|
Штукатур-маляр
|
IIд, IIIа
|
2 - 4
|
1 - 3
|
1
|
1
|
-
|
|
Кровельщик
|
IIд
|
1
|
1
|
1
|
1
|
-
|
|
Слесарь
|
Iб
|
2 - 4
|
1 - 2
|
1
|
1
|
-
|
|
Такелажник
|
Iб
|
1 - 2
|
1 - 2
|
1
|
1
|
-
|
|
Облицовщик-плиточник
|
IIд
|
2 - 4
|
1 - 2
|
1
|
1
|
-
|
|
Дорожный рабочий
|
IIд
|
2 - 4
|
2 - 4
|
1 - 2
|
1 - 2
|
-
|
|
Транспортный рабочий
|
IIд
|
2 - 4
|
2 - 4
|
1 - 2
|
1 - 2
|
-
|
|
Ремонтно-строительная группа
|
|
+
|
+
|
+
|
+
|
-
|
|
Мастер
|
Iб
|
1
|
1
|
1
|
1
|
|
|
Штукатур-маляр
|
IIд, IIIа
|
2 - 4
|
1 - 2
|
1
|
1
|
-
|
|
Каменщик-бетонщик
|
IIг
|
2 - 4
|
1 - 2
|
1
|
1
|
-
|
|
Слесарь
|
Iб
|
2 - 4
|
1 - 2
|
1
|
1
|
-
|
|
Газоэлектросварщик
|
IIг
|
1
|
1
|
1
|
1
|
-
|
|
Группа по благоустройству и озеленению территории гидроузла
|
|
+
|
+
|
+
|
+
|
-
|
|
Рабочий бригадир по озеленению
|
Iд
|
1
|
1
|
1
|
1
|
-
|
|
Рабочий по благоустройству и озеленению
|
IIд
|
3 - 5
|
2 - 3
|
1 - 2
|
1 - 2
|
-
|
|
Уборщик по механизированной уборке территории
|
IIа
|
2 - 3
|
1 - 2
|
1
|
1
|
-
|
|
Водная группа по обслуживанию водохранилища
|
|
+
|
+
|
+
|
-
|
-
|
|
Мастер
|
IIд
|
1
|
1
|
0 - 1
|
-
|
-
|
|
Капитан
|
IIд
|
1 - 2
|
1
|
0 - 1
|
-
|
-
|
|
Матрос
|
IIд
|
2 - 4
|
2 - 4
|
0 - 1
|
-
|
-
|
|
Водолаз
|
IIд
|
3 - 4
|
3 - 4
|
3
|
-
|
-
|
|
Моторист
|
IIд
|
1 - 2
|
1 - 2
|
1
|
-
|
-
|
|
Стройдвор
|
|
+
|
+
|
+
|
+
|
-
|
|
Старший мастер (мастер)
|
Iб
|
1 - 2
|
1 - 2
|
1
|
1
|
-
|
|
Столяр
|
Iб
|
2 - 4
|
2 - 4
|
1
|
1
|
-
|
|
Штукатур-маляр
|
IIд, IIIа
|
2 - 4
|
2 - 4
|
1 - 2
|
1 - 2
|
-
|
|
Каменщик-бетонщик
|
IIг
|
2 - 4
|
1 - 2
|
1
|
1
|
-
|
|
Плотник
|
Iб
|
1 - 2
|
1 - 2
|
1
|
1
|
-
|
|
Маляр-краскотерщик
|
IIIа
|
1 - 2
|
1 - 2
|
1
|
1
|
-
|
|
Газоэлектросварщик
|
IIг
|
1
|
1
|
1
|
1
|
-
|
|
Электромашинный цех*4
|
|
-
|
-
|
+
|
+
|
-
|
|
Начальник цеха
|
|
-
|
-
|
1
|
1
|
-
|
|
Заместитель начальника цеха
|
|
-
|
-
|
1
|
1
|
-
|
|
Техник по документации
|
|
-
|
-
|
1
|
1
|
-
|
|
Кладовщик
|
Iа
|
-
|
-
|
1
|
1
|
-
|
|
Уборщик производственных помещений
|
Iб
|
-
|
-
|
1
|
1
|
-
|
|
Участок по эксплуатации и ремонту основного электротехнического оборудования
|
|
-
|
-
|
+
|
+
|
-
|
|
Старший мастер (мастер)
|
IIд
|
-
|
-
|
1 - 2
|
1
|
-
|
|
Электрослесарь
|
IIд
|
-
|
-
|
4 - 8
|
2 - 4
|
-
|
|
Газоэлектросварщик
|
IIг
|
-
|
-
|
1 - 2
|
1
|
-
|
|
Регенераторщик масла
|
IIIа
|
|
-
|
1
|
1
|
-
|
|
Электромонтер-кабельщик
|
IIIа
|
-
|
-
|
2 - 3
|
1 - 2
|
-
|
|
Электромонтер по обслуживанию электрооборудования
|
Iб
|
-
|
-
|
4 - 8
|
2 - 4
|
-
|
|
Аккумуляторщик
|
IIIа
|
-
|
-
|
1
|
1
|
-
|
|
Инженер-химик
|
IIIа
|
-
|
-
|
1
|
1
|
-
|
|
Лаборант химического анализа
|
IIIа
|
-
|
-
|
1
|
1
|
-
|
|
Участок по эксплуатации и ремонту устройств релейной защиты, автоматики, измерений, средств связи и АСУ
|
|
-
|
-
|
+
|
+
|
-
|
|
Инженер I (II) категории
|
Iб
|
-
|
-
|
1 - 2
|
1 - 2
|
-
|
|
Инженер
|
Iб
|
-
|
-
|
1 - 2
|
1 - 2
|
-
|
|
Электромонтер
|
IIд
|
-
|
-
|
4 - 8
|
2 - 4
|
-
|
|
Электромонтер-кабельщик
|
IIIа
|
-
|
-
|
4 - 8
|
2 - 4
|
-
|
|
Электромонтер-линейщик
|
IIд
|
-
|
-
|
4 - 8
|
2 - 4
|
-
|
|
Телефонист
|
Iа
|
-
|
-
|
1 - 2
|
1 - 2
|
-
|
|
Участок по эксплуатации и ремонту основного гидротурбинного оборудования
|
|
-
|
-
|
+
|
+
|
-
|
|
Старший мастер (мастер)
|
Iв
|
-
|
-
|
1 - 2
|
1
|
-
|
|
Слесарь
|
Iв
|
-
|
-
|
4 - 8
|
2 - 4
|
-
|
|
Газоэлектросварщик
|
IIг
|
-
|
-
|
1 - 2
|
1 - 2
|
-
|
|
Участок по эксплуатации и ремонту вспомогательного оборудования и механического оборудования гидротехнических сооружений
|
|
-
|
-
|
+
|
+
|
-
|
|
Мастер
|
Iв
|
-
|
-
|
1
|
1
|
-
|
|
Слесарь
|
Iв
|
-
|
-
|
4 - 8
|
2 - 4
|
-
|
|
Газоэлектросварщик
|
IIг
|
-
|
-
|
1
|
1
|
-
|
|
Электромеханик по подъемным механизмам, лифтам
|
Iв
|
-
|
-
|
1 - 2
|
1 - 2
|
-
|
|
Машинист крана
|
IIа
|
-
|
-
|
2
|
1 - 2
|
-
|
|
Слесарь-сантехник
|
IIд
|
-
|
-
|
2 - 4
|
2 - 4
|
-
|
|
Такелажник
|
Iв
|
-
|
-
|
1 - 2
|
1
|
-
|
|
Станочник
|
Iб
|
-
|
-
|
1
|
1
|
-
|
|
Группа оперативного персонала*3
|
|
|
|
|
|
|
|
Цех технологической автоматики и связи (ТАиС)*5
|
|
|
|
|
|
|
|
Начальник цеха
|
|
1
|
1
|
-
|
-
|
-
|
|
Заместитель начальника цеха по техническому обслуживанию и ремонту устройств РЗАИ (он же начальник местной службы РЗАИ)
|
|
1
|
1
|
-
|
-
|
-
|
|
Заместитель начальника цеха по техническому обслуживанию и ремонту АСУ ТП (он же начальник участка АСУ ТП)
|
|
1
|
1
|
-
|
-
|
-
|
|
Техник по документации
|
|
1
|
1
|
-
|
-
|
-
|
|
Кладовщик
|
Iа
|
1
|
1
|
-
|
-
|
-
|
|
Уборщик производственных помещений
|
Iб
|
1
|
1
|
-
|
-
|
-
|
|
Местная служба релейной защиты, автоматики и измерений (МС РЗАИ)
|
|
|
|
|
|
|
|
Начальник службы (он же заместитель начальника цеха по РЗАИ)
|
|
-
|
-
|
-
|
-
|
-
|
|
МС РЗАИ включает в себя:
|
|
|
|
|
|
|
|
1. Электротехническую лабораторию
|
|
|
|
|
|
|
|
Ведущий инженер-руководитель ЭТЛ
|
Iб
|
1
|
1
|
-
|
-
|
-
|
|
а) группа релейной защиты и автоматики ГЭС
|
|
|
|
|
|
|
|
Инженер I (II) категории
|
Iб
|
1 - 2
|
1 - 2
|
-
|
-
|
-
|
|
Инженер
|
Iб
|
2 - 4
|
2 - 4
|
-
|
-
|
-
|
|
Электромонтер
|
Iб
|
10 - 15
|
5 - 10
|
-
|
-
|
-
|
|
б) группа релейной защиты и автоматики ОРУ
|
|
|
|
|
|
|
|
Инженер I (II) категории
|
Iб
|
1 - 2
|
1 - 2
|
-
|
-
|
-
|
|
Инженер
|
IIд
|
2 - 4
|
2 - 4
|
-
|
-
|
-
|
|
Электромонтер
|
IIд
|
10 - 15
|
5 - 10
|
-
|
-
|
-
|
|
в) группа измерений
|
|
|
|
|
|
|
|
Инженер I (II) категории
|
Iа
|
1 - 2
|
1 - 2
|
-
|
-
|
-
|
|
Инженер
|
Iа
|
2 - 4
|
2 - 4
|
-
|
-
|
-
|
|
Электромонтер
|
Iа
|
10 - 15
|
5 - 10
|
-
|
-
|
-
|
|
г) группа высоковольтных испытаний
|
|
|
|
|
|
|
|
Инженер I (II) категории
|
IIд
|
1 - 2
|
1 - 2
|
-
|
-
|
-
|
|
Инженер
|
IIд
|
2 - 4
|
1 - 2
|
-
|
-
|
-
|
|
Электромонтер
|
IIд
|
10 - 15
|
5 - 10
|
-
|
-
|
-
|
|
2. Химическую лабораторию
|
|
|
|
|
|
|
|
Инженер I (II) категории
|
IIIа
|
1
|
1
|
-
|
-
|
-
|
|
Инженер
|
IIIа
|
1 - 2
|
12
|
-
|
-
|
-
|
|
Лаборант химического анализа
|
IIIа
|
1 - 2
|
1 - 2
|
-
|
-
|
-
|
|
3. Метрологическую лабораторию*6
|
|
+
|
+
|
-
|
-
|
-
|
|
Участок средств диспетчерского и технологического управления (СДТУ)
|
|
|
|
|
|
|
|
Старший инженер-руководитель участка СДТУ
|
Iа
|
1
|
1
|
-
|
-
|
-
|
|
Мастер
|
Iа
|
1
|
1
|
-
|
-
|
-
|
|
Инженер I (II) категории
|
Iа
|
1 - 2
|
1 - 2
|
-
|
-
|
-
|
|
Инженер
|
Iа
|
2 - 4
|
2 - 4
|
-
|
-
|
-
|
|
Электромонтер-линейщик
|
IIд
|
10 - 15
|
5 - 10
|
-
|
-
|
-
|
|
Электромонтер станционных устройств
|
Iа
|
5 - 10
|
5 - 10
|
-
|
-
|
-
|
|
Электромонтер-кабельщик
|
IIIа
|
5 - 10
|
5 - 10
|
-
|
-
|
-
|
|
Телефонист
|
Iа
|
2 - 4
|
2 - 4
|
-
|
-
|
-
|
|
Участок средств автоматизированной системы управления технологическими процессами (АСУ ТП)*7
|
|
|
|
|
|
|
|
Участок электромашинного оборудования
|
|
|
|
|
|
+
|
|
Старший мастер
|
IIд
|
-
|
-
|
-
|
-
|
1
|
|
Мастер
|
IIд
|
-
|
-
|
-
|
-
|
1
|
|
Инженер
|
Iа
|
-
|
-
|
-
|
-
|
1
|
|
Электрослесарь
|
IIд
|
-
|
-
|
-
|
-
|
2 - 5
|
|
Электромонтер
|
IIд
|
-
|
-
|
-
|
-
|
2 - 5
|
|
Слесарь
|
|
-
|
-
|
-
|
-
|
2 - 4
|
|
Газоэлектросварщик
|
IIг
|
-
|
-
|
-
|
-
|
1
|
|
Станочник
|
Iб
|
-
|
-
|
-
|
-
|
1
|
|
Кладовщик
|
Iа
|
-
|
-
|
-
|
-
|
1
|
|
Уборщик производственных помещений
|
Iб
|
-
|
-
|
-
|
-
|
1
|
|
Участок гидротехнических сооружений
|
|
-
|
-
|
-
|
-
|
+
|
|
Мастер
|
IIа
|
-
|
-
|
-
|
-
|
1
|
|
Пьезометрист-обходчик
|
IIд
|
-
|
-
|
-
|
-
|
1 - 2
|
|
Штукатур-бетонщик
|
IIг
|
-
|
-
|
-
|
-
|
1
|
|
Штукатур-маляр
|
IIд, IIIа
|
-
|
-
|
-
|
-
|
1
|
|
Плотник
|
Iб
|
-
|
-
|
-
|
-
|
1
|
|
Рабочий по благоустройству и озеленению
|
IIд
|
-
|
-
|
-
|
-
|
1 - 2
|
|
Моторист
|
IIд
|
-
|
-
|
-
|
-
|
1
|
|
Кладовщик
|
Iа
|
-
|
-
|
-
|
-
|
1
|
|
Уборщик производственных помещений
|
Iб
|
-
|
-
|
-
|
-
|
1
|
|
Группа оперативного персонала*3
|
|
-
|
-
|
-
|
-
|
+
|
|
Автотранспортный участок
|
|
|
|
|
|
|
|
Заведующий гаражом
|
Iа
|
1
|
1
|
1
|
0 - 1
|
-
|
|
Диспетчер
|
Iа
|
1
|
1
|
-
|
-
|
-
|
|
Механик
|
Iв
|
3 - 5
|
3 - 5
|
1 - 2
|
1
|
-
|
|
Слесарь
|
Iв
|
3 - 5
|
3 - 5
|
1 - 2
|
1 - 2
|
1
|
|
Водитель
|
Iб
|
15 - 25
|
15 - 25
|
7 - 10
|
2 - 3
|
1 - 2
|
|
Кладовщик
|
Iа
|
1
|
1
|
1
|
1
|
1
|
|
Уборщик производственных помещений
|
Iб
|
1
|
1
|
1
|
1
|
1
|
*1 Поскольку нормативная численность
персонала проектируемых ГЭС зависит от целого ряда особенностей (состава
оборудования, сооружений, района расположения и пр.) значения ее могут меняться
в довольно широких пределах даже в одном диапазоне установленных групп
мощностей. Поэтому и пределы изменения численности персонала отдельных
должностей и профессий, указанные в табл. 4, могут быть скорректированы в
сторону уменьшения или увеличения, исходя из значения нормативной численности
персонала конкретной проектируемой ГЭС.
*2 Знаком «+»
отмечены должности и структурные подразделения, которые предусмотрены
действующими типовыми организационными структурами управления ГЭС.
*3 Рекомендуемые
штаты оперативного персонала ГЭС приведены в табл. 3. В группу оперативного
персонала входит весь оперативный персонал ГЭС за исключением начальника смены
ГЭС (дежурного инженера ГЭС), который административно подчинен главному
инженеру или начальнику.
*4 На ГЭС
мощностью свыше 100 - 120 тыс. кВт вместо цехов предусматриваются участки.
*5 Вопрос о
целесообразности организации цеха ТАиС на ГЭС мощностью свыше 1000 тыс. кВт
рекомендуется рассматривать индивидуально для каждой конкретной ГЭС в
зависимости от количества аппаратуры связи, каналов дальней и местной связи,
средств релейной защиты, автоматики и условий их эксплуатации. При организации
цеха ТАиС соответствующие производственные подразделения в электроцехе не
предусматриваются.
*6 Штаты
метрологической службы определяются в соответствии с нормативно-техническими
документами, указанными в п. 3.6 настоящих Рекомендаций.
*7 Численность
персонала участка АСУ ТП и его состав определяются дополнительно в соответствии
с Руководящими документами Минэнерго СССР.
3.5.
Номенклатура и площади служебных и вспомогательных производственных помещений
3.5.1. При проектировании служебных и вспомогательных производственных помещений необходимо обеспечивать условия для нормального и эффективного функционирования систем управления предприятием, рациональное размещение производственных помещений и служб для лучшей организации производства, а также создание благоприятных условий труда для персонала ГЭС.
3.5.2. Номенклатура и площадь помещений ГЭС каждой группы по установленной мощности должны соответствовать принятой технологии работ, организационной структуре управления и численности персонала ГЭС с учетом привлеченного персонала.
Помещения для руководителей, специалистов и служащих электрического и машинного (электромашинного) цехов (участков), цеховых лабораторий - ЭТЛ, СДТУ и т.п., как правило, размещаются в служебно-производственном корпусе (СПК) или в районе монтажной площадки; в здании СПК размещаются также столовая (буфет), здравпункт с процедурными кабинетами, помещения технической библиотеки и технического архива, кабинеты технической учебы и техники безопасности, общественных организаций, общестанционные бытовые помещения (гардеробные, душевые, умывальные и пр.).
Общецеховые кладовые и другие вспомогательные помещения электрического и машинного (электромашинного) цехов (участков) целесообразно располагать в зоне монтажной площадки здания ГЭС.
Общецеховую кладовую и часть вспомогательных помещений гидротехнического цеха (участка) следует располагать на стройдворе.
Для водной группы гидротехнического цеха при наличии большого количества плавсредств рекомендуется сооружение вблизи причалов-стоянок судов небольшого здания, в котором разместятся помещения водной группы (мастерская по ремонту снаряжения, комната отдыха и приема пищи и пр.).
3.5.3. При проектировании бытовых и жилых помещений будущей ГЭС необходимо учитывать численность ППП, находящегося в штате ГЭС, а также максимальную численность персонала специализированных сторонних организаций (привлеченный персонал), участвующего в проведении капитальных ремонтов гидроагрегатов.
Помещения подрядных организаций, предназначенные для размещения ремонтного оборудования, инструмента, снаряжения и запчастей, следует располагать в зависимости от цеховой принадлежности или в зоне монтажной площадки, или на хоздворе.
Номенклатура и площади служебных и вспомогательных производственных помещений для пяти групп ГЭС по установленной мощности приведены в табл. 5.
Санитарно-бытовые помещения и эксплуатационные условия в служебных и вспомогательных помещениях ГЭС проектируются с соблюдением требований СНиП II-92-76, СНиП II-А.9-71, СНиП II-А.8.72, СНиП II-33-75.
3.6.1. В табл. 6 - 11 приведены примерные перечни оборудования, аппаратуры, приборов, инструмента для эксплуатационных подразделений: электротехнической лаборатории, участка связи, маслохимической лаборатории, мастерской точной механики, группы контроля за состоянием гидротехнических сооружений, водолазной группы.
Электротехническая лаборатория и группа контроля за состоянием гидротехнических сооружений организуются на всех ГЭС независимо от мощности; маслохимическая лаборатория - на ГЭС мощностью свыше 100 тыс. кВт; водолазную группу целесообразно предусматривать на ГЭС мощностью свыше 350 тыс. кВт.
Метрологическая лаборатория и мастерская точной механики предусматривается на ГЭС большой мощности или с большим числом агрегатов, на которых разрешен ремонт и поверка приборов с правом выставления клейма.
Организация метрологической службы должна осуществляться с соблюдением требований, изложенных в «Методических указаниях по расчету численности подразделений ведомственных метрологических служб» (М.: Издательство стандартов, 1982), «Методических указаниях по определению потребности поверочных подразделений в производственных ресурсах» (М.: Издательство стандартов, 1985), «Методических указаниях по определению потребности поверочных и ремонтных
подразделений метрологических служб системы Минэнерго СССР в средствах проверки, помещениях и персонале» (М.: СПО Союзтехэнерго, 1980).
Таблица 5
Номенклатура и площади служебных и вспомогательных
производственных помещений*
|
Наименование помещения
|
Площадь помещений (м2) для групп ГЭС мощностью, тыс. кВт
|
|
Св. 3000
|
Св. 1000 до 3000 вкл.
|
Св. 350 до 1000 вкл.
|
Св. 100 до 350 вкл.
|
Св. 30 до 100 вкл.
|
|
Помещения управленческого персонала
|
|
|
|
|
|
|
Кабинет директора
|
40
|
40
|
30
|
30
|
25
|
|
Кабинет заместителя директора
|
20
|
20
|
20
|
-
|
-
|
|
Кабинет главного инженера
|
40
|
30
|
20
|
-
|
-
|
|
Приемная
|
18
|
18
|
18
|
18
|
-
|
|
Технический архив
|
40
|
40
|
30
|
30
|
30
|
|
Техническая библиотека и технический
кабинет
|
80
|
50
|
30
|
30
|
|
Кабинет начальника производственно-технического отдела
|
20
|
20
|
16
|
-
|
-
|
|
Производственно-технический отдел
|
Определяется из расчета 6 м2 на человека, но не менее 36 м2
|
|
Конструкторское бюро
|
24
|
18
|
-
|
-
|
-
|
|
Бухгалтерия
|
Определяется из расчета 4 м2 на человека, но не менее 20 м2
|
|
Касса
|
15
|
10
|
-
|
-
|
-
|
|
Отдел кадров
|
20
|
20
|
20
|
20
|
-
|
|
Отдел снабжения и АХО
|
Определяется из расчета 4 м2 на человека, но не менее 20 м2
|
|
Отдел капитального строительства
|
Определяется из расчета 4 м2 на человека, но не менее 20 м2
|
|
Кабинет техники безопасности
|
24
|
24
|
24
|
24
|
-
|
|
Класс программированного обучения
|
50
|
40
|
30
|
20
|
-
|
|
Комната копировально-множительной техники
|
20
|
20
|
20
|
20
|
-
|
|
Партком
|
12
|
12
|
30
|
24
|
20
|
|
Завком
|
12
|
12
|
|
Рабочая комната завкома
|
12
|
12
|
|
Комитет ВЛКСМ
|
12
|
12
|
|
|
|
|
Кабинет политпросвещения
|
24
|
24
|
20
|
-
|
-
|
|
Кабинет ГО
|
40
|
30
|
20
|
15
|
-
|
|
Зал собраний (или красный уголок)
|
250
|
150
|
100
|
50
|
24
|
|
Киноаппаратная
|
15
|
-
|
-
|
-
|
-
|
|
Радиоузел
|
20
|
20
|
16
|
-
|
-
|
|
Кладовая для канцелярских товаров
|
10
|
10
|
10
|
10
|
-
|
|
Кладовые для уборщиц помещений
|
10
|
8
|
8
|
4
|
4
|
|
Бюро пропусков
|
16
|
16
|
16
|
12
|
-
|
|
Гардеробные
|
В соответствии со СНиП
II-92-76
|
|
Столовая, буфет
|
|
Здравпункт
|
|
Помещения электрического и машинного (электромашинного) цехов (участков)
|
|
|
|
|
|
|
Комната начальника цеха
|
18
|
18
|
18
|
16
|
-
|
|
Комната заместителя начальника цеха
|
18
|
18
|
16
|
-
|
-
|
|
Комната ИТР цеха
|
Определяется из расчета 6 м2 на человека
|
|
Комната технической учебы
|
80
|
50
|
40
|
25
|
20
|
|
Помещения для персонала подрядных организаций
|
50
|
30
|
25
|
20
|
-
|
|
Кладовая материалов и запчастей
|
60
|
50
|
40
|
30
|
18
|
|
Помещения для хранения такелажных приспособлений
|
40
|
30
|
25
|
18
|
18
|
|
Кладовые для уборщиц помещений
|
Не менее 4 м2
|
|
Красный уголок (совместно с машинным (электромашинным) цехом)
|
36
|
36
|
24
|
20
|
18
|
|
Комната отдыха и приема пищи для работающих в машинном зале
|
24
|
20
|
18
|
16
|
12
|
|
Помещения ЭТЛ:
|
|
|
|
|
|
|
комната начальника ЭТЛ
|
18
|
16
|
12
|
-
|
-
|
|
лаборатория группы релейной защиты и
автоматики здания ГЭС
|
60 - 70
|
60 - 70
|
50
|
40
|
30
|
|
лаборатория группы релейной защиты и автоматики ОРУ
|
40 - 50
|
40 - 50
|
40
|
30
|
20
|
|
лаборатория группы измерений
|
40
|
40
|
30
|
20
|
-
|
|
лаборатория группы высоковольтных
испытаний
|
40
|
40
|
30
|
15
|
-
|
|
мастерская точной механики
|
40
|
40
|
20
|
-
|
-
|
|
метрологическая лаборатория**
|
-
|
-
|
-
|
-
|
-
|
|
кладовые при лабораториях
|
5´16
|
5´16
|
5´12
|
4´10
|
2´10
|
|
Помещения, необходимые для эксплуатации
КРУЭ (комплектное распределительное устройство элегазовое):
|
|
|
|
|
|
|
помещение для монтажного персонала
|
20
|
20
|
20
|
20
|
20
|
|
лаборатория для наладчиков
|
30
|
30
|
30
|
30
|
30
|
|
помещение для хранения запасных частей
|
На каждые 10 ячеек 10 м2
|
|
помещение для хранения элегаза***
|
8
|
8
|
8
|
8
|
8
|
|
ремонтная мастерская***
|
60
|
60
|
60
|
60
|
60
|
|
Помещения маслохозяйства:
|
|
|
|
|
|
|
маслохимическая лаборатория
|
40
|
35
|
26
|
20
|
-
|
|
склад реактивов
|
12
|
10
|
8
|
-
|
-
|
|
помещение для высоковольтных испытаний масла
|
25
|
18
|
12
|
-
|
-
|
|
комната для мойки и сушки химической посуды
|
10
|
8
|
8
|
-
|
-
|
|
комната руководителя лаборатории
|
8
|
8
|
8
|
-
|
-
|
|
кладовая
|
10
|
10
|
-
|
-
|
-
|
|
Помещения участка (группы) СДТУ:
|
|
|
|
|
|
|
комната начальника участка
|
18
|
16
|
-
|
-
|
-
|
|
комната ИТР участка
|
Определяется из расчета 6 м2
на человека
|
|
комната инженера при КРОСС (регулировочная)
|
18
|
15
|
-
|
-
|
-
|
|
мастерская участка СДТУ
|
35
|
30
|
20
|
18
|
15
|
|
кладовая при мастерской
|
12
|
12
|
10
|
10
|
10
|
|
кладовая для уборщиц помещений
|
4
|
4
|
Совмещается с общестанционными
|
|
Помещения при главном щите управления:
|
|
|
|
|
|
|
комната отдыха и приема пищи персонала смены
|
15
|
12
|
12
|
12
|
12
|
|
гардероб
|
В соответствии со СНиП
II-92-76
|
|
умывальная
|
для 3 чел.
|
для 3 чел.
|
для 2 чел.
|
для 1 чел.
|
для 1 чел.
|
|
санузел
|
|
Помещения машинного (электромашинного) цеха:
|
|
|
|
|
|
|
комната начальника цеха
|
18
|
18
|
18
|
-
|
-
|
|
комната ИТР цеха
|
Определяется из расчета 6 м2
на человека
|
|
комната технической учебы
|
60
|
50
|
-
|
-
|
-
|
|
Помещения для персонала подрядных организаций
|
20
|
20
|
20
|
15
|
15
|
|
Кладовая материалов и запчастей
|
60
|
50
|
40
|
30
|
20
|
|
Кладовая горюче-смазочных материалов недельного запаса
|
12
|
10
|
10
|
8
|
-
|
|
Помещения для хранения баллонов с газом и пустых баллонов
|
2´10
|
2´8
|
2´6
|
2´4
|
-
|
|
Помещение для хранения такелажных приспособлений
|
40
|
40
|
30
|
20
|
20
|
|
Помещение для хранения приспособлений и подмостей для капитальных ремонтов
|
60
|
50
|
50
|
50
|
-
|
|
Кладовые для уборщиц помещений
|
Не менее 4 м2
|
|
Помещения гидротехнического цеха, (участка)
|
|
|
|
|
|
|
Комната начальника цеха
|
18
|
18
|
16
|
16
|
-
|
|
Комната ИТР цеха
|
Определяется из расчета 6 м2 на человека
|
|
Комната технической учебы
|
40
|
30
|
-
|
-
|
-
|
|
Помещения группы наблюдений:
|
|
|
|
|
|
|
помещение геодезистов
|
20
|
16
|
-
|
-
|
-
|
|
помещение камеральной обработки
|
18
|
16
|
-
|
-
|
-
|
|
помещение прибористов и обходчиков
|
Определяется из расчета 4 м2 на человека, но не менее 20 м2
|
|
Комната отдыха и приема пищи
|
24
|
20
|
18
|
16
|
12
|
|
Помещение для сушки мокрой одежды и обуви
|
30
|
24
|
20
|
16
|
12
|
|
Кладовая для уборщиц помещений
|
Не менее 4 м2
|
|
Помещение для персонала подрядных организаций
|
30
|
30
|
20
|
20
|
20
|
|
Кладовая
|
60
|
50
|
40
|
30
|
20
|
|
Красный уголок
|
24
|
24
|
-
|
-
|
-
|
|
Помещение водолазов
|
|
|
|
|
|
|
Комната отдыха
|
15
|
15
|
15
|
-
|
-
|
|
Помещение для сушки водолазного снаряжения
|
12
|
12
|
10
|
-
|
-
|
|
Кладовая водолазного снаряжения
|
16
|
12
|
10
|
-
|
-
|
|
Мастерская по ремонту снаряжения
|
24
|
15
|
10
|
-
|
-
|
|
Помещение для декомпрессионной камеры
|
32
|
32
|
32
|
-
|
-
|
|
Медпункт
|
16
|
12
|
10
|
-
|
-
|
* Рекомендуемые размеры площадей являются
ориентировочными и для каждой конкретной ГЭС могут быть несколько изменены в
соответствии с местными условиями и принятой организационной структурой
управления.
** Помещение и
площади метрологической службы определяются в соответствии с
нормативно-техническими документами, указанными в п. 3.6 настоящих Рекомендаций.
*** Помещение для
хранения элегаза и ремонтная мастерская злегазового оборудования должны быть
оборудованы изолированными вентиляционными установками с приточно-вытяжной
вентиляцией.
Таблица 6
Примерный перечень оборудования, аппаратуры, приборов и инструмента электротехнической лаборатории
|
Наименование оборудования
|
Тип
|
Количество (шт.) для групп ГЭС мощностью, тыс. кВт
|
|
Св. 3000
|
Св. 1000 до 3000 вкл.
|
Св. 350 до 1000 вкл.
|
Св. 100 до 350 вкл.
|
Св. 30 до 100 вкл.
|
|
Универсальный передвижной стенд
|
УПС-62
|
1
|
1
|
1
|
1
|
-
|
|
Стенд для проверки и настройки
автосинхронизаторов
|
-
|
1
|
1
|
1
|
1
|
-
|
|
Передвижной стенд для проверки и
наладки регуляторов скорости
|
-
|
1
|
1
|
1
|
1
|
-
|
|
Стенд лабораторный релейный
|
СР, VI-М
|
1
|
1
|
1
|
1
|
1
|
|
Стенд лабораторный измерительный
|
СИ
|
1
|
1
|
1
|
1
|
1
|
|
Основное устройство для проверки защит
|
У-5053
|
2
|
2
|
2
|
2
|
1
|
|
Устройство для проверки сложных защит
|
У-5052
|
2
|
2
|
2
|
2
|
1
|
|
Устройство для проверки простых реле
|
УПР-3
|
2
|
2
|
2
|
2
|
1
|
|
Устройство для проверки коммутационной аппаратуры
|
УПКА-1
|
2
|
2
|
2
|
2
|
-
|
|
Аппарат для испытания цепей вторичной коммутации
|
ивк
|
2
|
2
|
2
|
2
|
-
|
|
Комплект устройств для прогрузки автоматов 0,4 кВ
|
-
|
2
|
2
|
2
|
2
|
-
|
|
Устройство для проверки электрооборудования 0,4 кВ
|
УП-04
|
2
|
2
|
2
|
2
|
-
|
|
Установка для проверки электроизмерительных щитовых приборов
|
У-300
|
1
|
1
|
1
|
1
|
1
|
|
Установка для проверки ваттметров, счетчиков, преобразователей мощности
|
У-1134М
|
1
|
1
|
1
|
1
|
-
|
|
Установка для точного измерения сопротивлений
|
У-39
|
1
|
1
|
1
|
1
|
-
|
|
Установка для проверки манометрических термометров
|
-
|
1
|
1
|
1
|
1
|
-
|
|
Комплект приборов для ремонта и проверки работы радиоприборов
|
-
|
1
|
1
|
1
|
1
|
-
|
|
Прибор для проверки транзисторов
|
12-42
|
1
|
1
|
1
|
1
|
-
|
|
Электротехническая лаборатория
|
ЭТЛ-35
|
1
|
1
|
1
|
1
|
-
|
|
Стационарная установка для
измерения tg δ масла
|
-
|
1
|
1
|
1
|
1
|
1
|
|
Аппарат
|
АИМ-70
|
1
|
1
|
1
|
1
|
-
|
|
Аппарат
|
АИМ-80
|
1
|
1
|
1
|
1
|
-
|
|
Токоискатель низкого напряжения
|
-
|
2
|
2
|
1
|
1
|
1
|
|
Прибор для измерения контура заземления
|
ИС-08
|
2
|
2
|
1
|
1
|
-
|
|
Испытательная установка с
компенсацией
|
СИУК-246/41
|
1
|
1
|
1
|
1
|
-
|
|
Прибор для определения мест повреждения кабеля
|
ПКП-3М, Р5-10
|
1
|
1
|
1
|
1
|
1
|
|
Трансформатор тока измерительный образцовый
|
И-523
|
1
|
1
|
1
|
-
|
-
|
|
Трансформатор напряжения измерительный образцовый
|
И-510
|
1
|
1
|
1
|
-
|
-
|
|
Трансформатор напряжения однофазный
|
НОМ-3, НОМ-10
|
2
|
2
|
1
|
1
|
1
|
|
Трансформатор измерительный
|
-
|
2
|
2
|
2
|
2
|
2
|
|
Трансформатор испытательный для испытания ошиновки высоковольтной аппаратуры и низкой стороны силовых трансформаторов
|
ИОМ-32-70/500
|
1
|
1
|
1
|
1
|
|
|
Трансформатор нагрузочный для проверки выключателей
|
-
|
2
|
2
|
1
|
1
|
1
|
|
Универсальный трансформатор тока
|
УТТ-6М1
|
3
|
3
|
3
|
-
|
-
|
|
Силовой трехфазный трансформатор с изолированной нейтралью напряжением 35/0,4 кВ или резонансный трансформатор, или комплектная установка для высоковольтных испытаний генераторов
|
-
|
1
|
1
|
1
|
1
|
1
|
|
Трансформатор
|
ТМ-320/35
|
1
|
1
|
1
|
1
|
1
|
|
Регулировочный автотрансформатор
|
-
|
1
|
1
|
1
|
1
|
1
|
|
Трансформатор тока измерительный
(15
- 600) А
|
УТТ-5
|
2
|
2
|
2
|
2
|
1
|
|
Трансформатор
напряжения измерительный (380/3-500)/(100-100/3) В
|
УТН-1
|
2
|
2
|
2
|
2
|
1
|
|
Регулятор напряжения
|
ЛАТР-2М
|
4
|
4
|
2
|
2
|
2
|
|
Конденсатор на 70 кВ, 0,2 мкф
|
КБГ
|
2
|
2
|
2
|
2
|
1
|
|
Комбинированный магазин шунтов и сопротивлений
|
Р-155
|
2
|
2
|
2
|
2
|
1
|
|
Мост для измерения диэлектрических потерь
|
Р-5026
|
2
|
2
|
1
|
1
|
-
|
|
Измеритель сопротивления заземления
|
М-416
|
2
|
2
|
1
|
1
|
-
|
|
Стабилизатор напряжения переменного тока
|
СО-5
|
4
|
4
|
2
|
2
|
2
|
|
Генератор звуковой частоты
|
ГЧ-В4
|
1
|
1
|
1
|
1
|
-
|
|
Генератор технической частоты 30 - 60 Гц
|
ГТЧ-1
|
1
|
1
|
1
|
1
|
-
|
|
Генератор стандартных сигналов
|
ГЧ-102
|
1
|
1
|
1
|
1
|
-
|
|
Реостаты сопротивления ползунковые
|
РСП
|
10
|
10
|
6
|
6
|
4
|
|
Указатель высокого напряжения
|
-
|
4
|
4
|
3
|
2
|
2
|
|
Прибор для определения степени увлажнения изоляции обмоток силовых трансформаторов
|
-
|
2
|
2
|
1
|
1
|
1
|
|
Осциллограф светолучевой (комплект)
|
К-115; Н041
|
2
|
2
|
2
|
1
|
1
|
|
Осциллограф электронный лучевой импульсный
|
С1-72
|
1
|
1
|
1
|
1
|
-
|
|
Осциллограф запоминающий
|
С1-8
|
1
|
1
|
1
|
1
|
-
|
|
Осциллограф
|
С1-68
|
2
|
2
|
1
|
1
|
1
|
|
Осциллограф портативный
|
С1-69
|
4
|
4
|
2
|
2
|
2
|
|
Универсальный осциллограф
|
С1-74
|
2
|
2
|
1
|
1
|
1
|
|
Комплект измерительных приборов переменного тока (амперметры, вольтметры, ваттметры, омметры)
|
-
|
1
|
1
|
1
|
1
|
1
|
|
Комплект измерительных приборов постоянного тока (амперметры, вольтметры, ваттметры, омметры)
|
-
|
1
|
1
|
1
|
1
|
1
|
|
Образцовые электроизмерительные приборы класса
точности 0,2
|
-
|
1 компл.
|
1 компл.
|
1 компл.
|
1 компл.
|
1 компл.
|
|
Образцовые манометры с
пределами измерении 0 - 4 кгс/см2, 0 - 6 кгс/см2, 0 - 10 кгс/см2, 0 - 25 кгс/см2,
0 -
40 кгс/см2, 0 - 100 кгс/см2
|
-
|
1 компл
|
1 компл.
|
1 компл.
|
1 компл.
|
1 компл.
|
|
Комбинированные приборы
|
Ц-4313, Ц-4341, Ц-4323, Ц-4352, Ц-4311
|
4
|
4
|
2
|
2
|
1
|
|
Амперметр с пределами измерений 0,2 - 10 А
|
Э-514
|
10
|
10
|
5
|
5
|
4
|
|
Вольтметр с
пределами измерений 15 - 600 В
|
Э-515, М253
|
6
|
6
|
3
|
3
|
2
|
|
Киловольтметр
|
-
|
1
|
1
|
1
|
1
|
1
|
|
Мегаомметр универсальный
|
-
|
1
|
1
|
1
|
1
|
1
|
|
Мегаомметр электронный
|
Ф-2
|
1
|
1
|
1
|
1
|
1
|
|
Омметр магнитоэлектрический
|
-
|
1
|
1
|
1
|
1
|
1
|
|
Частотомер
|
Ф-205
|
1
|
1
|
1
|
1
|
1
|
|
Частотомер переносный
|
-
|
1
|
1
|
1
|
1
|
-
|
|
Индикатор полярности
|
-
|
1
|
1
|
1
|
1
|
-
|
|
Мост постоянного тока
|
-
|
1
|
1
|
1
|
1
|
1
|
|
Мост переменного тока
|
-
|
1
|
1
|
1
|
1
|
1
|
|
Миллиамперметры
|
-
|
5
|
5
|
3
|
3
|
2
|
|
Милливольтметры
|
-
|
5
|
5
|
3
|
3
|
2
|
|
Тахометр магнитный ручной
|
ио-30
|
1
|
1
|
1
|
1
|
-
|
|
Секундомер электрический
|
П-142М, Ф-209
|
2
|
2
|
2
|
2
|
2
|
|
Секундомер ручной двухстрелочный
|
С-П-1б
|
2
|
2
|
1
|
1
|
1
|
|
Клещи ваттметровые
|
Д-90
|
1
|
1
|
1
|
1
|
1
|
|
Клещи электроизмерительные
|
Ц-90, Ц-91
|
1
|
1
|
1
|
1
|
1
|
|
Комплект инструмента релейщика служб РЗА
|
-
|
15
|
10
|
6
|
6
|
3
|
|
Термометр сопротивления для измерения температуры
обмотки и стали генератора
|
-
|
2
|
2
|
2
|
2
|
1
|
|
Термометр сопротивления для измерения температуры
баббита
|
-
|
2
|
2
|
2
|
2
|
1
|
|
Термометры ртутные лабораторные с различными пределами измерений
|
ТЛ-4
|
6
|
6
|
4
|
4
|
3
|
|
Машина сверлильная электрическая, диаметр сверления до 9 мм
|
-
|
3
|
3
|
3
|
3
|
2
|
|
Пылесос бытовой
|
-
|
2
|
2
|
1
|
1
|
1
|
|
Термостат
|
-
|
2
|
2
|
1
|
1
|
-
|
|
Грузопоршневой манометр
|
МП-60
|
1
|
1
|
1
|
1
|
1
|
|
Токарно-часовой станок на цангах для заточки мелких деталей
к приборам
|
-
|
1
|
1
|
1
|
1
|
1
|
|
Настольный точильно-шлифовальный станок, диаметр шлифовального круга 150 мм
|
-
|
1
|
1
|
1
|
1
|
1
|
|
Верстак на одно рабочее место
|
-
|
3
|
3
|
2
|
2
|
2
|
|
Тиски слесарные
|
-
|
3
|
3
|
2
|
2
|
2
|
|
Паяльник электрический
|
-
|
10
|
8
|
6
|
4
|
2
|
Таблица 7
Примерный перечень контрольно-измерительных приборов участка связи
|
Наименование оборудования
|
Тип
|
Количество (шт.) для групп ГЭС мощностью, тыс. кВт
|
|
Св. 3000
|
Св. 1000 до 3000 вкл.
|
Св. 350 до 1000 вкл.
|
Св. 100 до 350 вкл.
|
Св. 30 до 100 вкл.
|
|
Комбинированный прибор (ампервольтметр переносный)
|
-
|
10
|
10
|
6
|
2
|
-
|
|
Электронно-счетный универсальный
частотомер, диапазон измерения до
50 мГц
|
-
|
2
|
2
|
1
|
1
|
-
|
|
Измерительный прибор-генератор
фиксированных тональных частот и
указатель уровней
|
П-321
|
2
|
2
|
1
|
1
|
-
|
|
Измерительный пульт с генератором ТЧ или ВЧ до 600 Гц
|
ЕГ-41Т или SМР-5, СД-5, ТРТ-2, МР-7
|
2
|
2
|
2
|
2
|
-
|
|
Генератор звуковой частоты
|
ЗГ-102
|
2
|
2
|
1
|
1
|
-
|
|
Генератор стандартных сигналов на
верхний предел 400 мГц
|
-
|
2
|
2
|
1
|
1
|
-
|
|
Осциллограф для измерения сигналов телемеханики
|
С1-68
|
2
|
2
|
1
|
1
|
-
|
|
Осциллограф для измерения переменного тока до 10 мГц
|
С1-55
|
2
|
2
|
1
|
1
|
-
|
|
Осциллограф портативный, полоса частот 0 - 35 мГц
|
С1-65
|
1
|
1
|
1
|
1
|
-
|
|
Прибор для отыскания кабельных пар
|
ИКП-2М
|
2
|
2
|
2
|
2
|
1
|
|
Кабеле
искатель с повышенной помехозащищенностью
|
КИ-ЧП
|
1
|
1
|
1
|
1
|
-
|
|
Измеритель индуктивностей и емкостей высокочастотный
|
Е7-9
|
1
|
1
|
1
|
1
|
-
|
|
Указатель уровня измерительный, универсальный до 620 кГц
|
12КSN060
|
1
|
1
|
1
|
1
|
-
|
|
Комбинированный прибор
|
Ц-4341
|
2
|
2
|
2
|
2
|
-
|
|
Мегаомметр универсальный, выходные напряжения 100 - 500 В
|
М-4100/3
|
3
|
3
|
2
|
1
|
1
|
|
Вольтметр универсальный ламповый
|
В7-26, В3-38
|
1
|
1
|
1
|
1
|
-
|
Таблица 8
Примерный перечень оборудования, аппаратуры и приборов маслохимической лаборатории
|
Наименование оборудования
|
Тип
|
Количество (шт.) для групп ГЭС мощностью, тыс. кВт
|
|
Св. 3000
|
Св. 1000 до 3000 вкл.
|
Св. 350 до 1000 вкл.
|
Св. 100 до 350 вкл.
|
Св. 30 до 100 вкл.
|
|
Аппарат для возгонки нефти
|
-
|
1
|
1
|
1
|
1
|
-
|
|
Прибор для определения температуры вспышки нефтепродуктов
|
ПТВ-1
|
2
|
2
|
2
|
1
|
-
|
|
Аппарат для бидистилляции воды с
электрообогревом производительностью 2 л/ч
|
БВЭ-2М
|
2
|
2
|
2
|
1
|
-
|
|
Баня масляная (корпус нагревательного прибора из трубы Dу 100 мм, Н = 90 мм) на 220 В
|
-
|
2
|
2
|
2
|
1
|
-
|
|
Баня водяная № 2 на 220 В
|
-
|
2
|
2
|
2
|
1
|
-
|
|
Барометр ртутный для определения атмосферного давления в лаборатории
|
-
|
2
|
2
|
2
|
1
|
-
|
|
Весы Вестфаля для определения массы масла
|
-
|
1
|
1
|
1
|
-
|
-
|
|
Вискозиметр для определения кинематической вязкости масла (набор вискозиметров Пашкевича)
|
-
|
2 компл.
|
2 компл.
|
2 компл
|
-
|
-
|
|
Кенотронный аппарат
|
АПП-80
|
1
|
1
|
1
|
1
|
-
|
|
Дефлегматор елочный
|
-
|
1
|
1
|
1
|
1
|
-
|
|
Хроматограф
|
лхм-8МД
|
1
|
1
|
-
|
-
|
-
|
|
Нефтеденсиметры
|
Б
|
2
|
2
|
2
|
2
|
-
|
|
Насос водоструйный Ведцеля
|
-
|
1
|
1
|
1
|
1
|
-
|
|
Насос стеклянный водоструйный лабораторный
|
-
|
1
|
1
|
1
|
1
|
-
|
|
Нефтеотстойник системы Лисенко для определения содержания воды и механических примесей в нефтепродуктах вместимостью 1000 мл
|
-
|
1
|
1
|
1
|
1
|
-
|
|
Набор денсиметров общего назначения
|
1
|
1
|
1
|
1
|
1
|
-
|
|
Пикнометр с меткой для жидкостей
ЦМК вместимостью 10 мм
|
-
|
1
|
1
|
1
|
1
|
-
|
|
Преобразовательный прибор и трубы диаметром 150 мм, высотой 200 мм для определения скорости деэмульсации
|
-
|
1
|
1
|
1
|
1
|
-
|
|
Прибор для окисления масла стеклянный
|
-
|
1
|
1
|
1
|
1
|
-
|
|
Реометр лабораторный, пределы измерения от 0 до 0,100 л/мин
|
-
|
1
|
1
|
1
|
1
|
-
|
|
Реометр лабораторный, пределы измерения от 0 до 0,200 л/мин
|
-
|
1
|
1
|
1
|
1
|
-
|
|
Редуктор кислородный баллонный
|
ДКП-2
|
2
|
2
|
2
|
1
|
-
|
|
Редуктор давления гидравлический, струйный
|
РАГС
|
1
|
1
|
1
|
1
|
-
|
|
Сосуд цилиндрический из стекла
для охлаждения смеси В = 170 мм, Н = 250 мм
|
СЦ-5
|
1
|
1
|
1
|
1
|
-
|
|
Термостат
|
ТС-15М
|
1
|
1
|
1
|
1
|
-
|
|
Фотоэлектрокалориметр
|
ФЭК-56М
|
1
|
1
|
1
|
1
|
-
|
|
РН-метр
|
РН-121
|
1
|
1
|
1
|
1
|
-
|
|
Газоанализатор
|
ВТИ-2
|
2
|
2
|
2
|
2
|
-
|
|
Аппарат для дистилляции воды
|
-
|
1
|
1
|
1
|
1
|
-
|
|
Холодильник металлический кольцевой
|
-
|
1
|
1
|
1
|
1
|
-
|
|
Шкаф сушильный
|
сНОл
|
1
|
1
|
1
|
1
|
-
|
|
Электрическая плита с закрытой спиралью на 220 В
|
-
|
2
|
2
|
2
|
1
|
-
|
|
Холодильник со вставной трубкой для охлаждения и конденсации
паров при перегонке жидкостей
(Либиха). Длина вставной трубки
600 мм, длина корпуса 380 мм
|
-
|
2
|
2
|
2
|
1
|
-
|
|
Регулятор напряжения однофазный
|
ЛАТР-1М, ЛАТР-2М
|
2
|
2
|
2
|
2
|
-
|
|
Весы аналитические
|
ВЛТ-200
|
1
|
1
|
1
|
1
|
-
|
|
Весы технические класса точности I
|
ВЛТ-1кг-I
|
2
|
2
|
2
|
1
|
-
|
|
Стол с мойкой 1500´900´700 мм
|
-
|
1
|
1
|
1
|
1
|
-
|
|
Стол титровальный с отделкой
линолеумом 520´2225´1820 мм
|
-
|
1
|
1
|
1
|
1
|
-
|
|
Стол на кронштейнах с отделкой
линолеумом 500´400´1500 мм
|
-
|
1
|
1
|
1
|
1
|
-
|
|
Стол двухтумбовый канцелярский
|
-
|
1
|
1
|
1
|
1
|
-
|
|
Раковина лабораторная
|
-
|
1
|
1
|
1
|
1
|
-
|
|
Шкаф лабораторный низкий деревянный 850´920´700 мм, изготовленный но специальному чертежу (вытяжной)
|
-
|
2
|
2
|
2
|
1
|
-
|
|
Шкаф лабораторный деревянный 500´600´790 мм
|
-
|
3
|
3
|
3
|
2
|
-
|
|
Табурет лабораторный высокий
|
-
|
1
|
1
|
1
|
1
|
-
|
|
Шкаф книжный
|
-
|
1
|
1
|
1
|
1
|
-
|
|
Шкаф аптечный
|
-
|
1
|
1
|
1
|
1
|
-
|
|
Сейф
|
-
|
1
|
1
|
1
|
1
|
-
|
Таблица 9
Примерный перечень оборудования мастерской точной механики
|
Наименование оборудования
|
Тип
|
Количество (шт.) для групп ГЭС мощностью, тыс. кВт
|
|
Св. 3000
|
Св. 1000 до 3000 вкл.
|
Св. 350 до 1000 вкл.
|
Св. 100 до 350 вкл.
|
Св. 30 до 100 вкл.
|
|
Фрезерный часовой станок
|
-
|
1
|
1
|
-
|
-
|
-
|
|
Станок настольный токарный
|
16КО4В, 16СО4А, 16ТО4А
|
1
|
1
|
1
|
-
|
-
|
|
Часовой прецизионный токарный станок с набором цанг от 0,4 до 35 мм
|
СН 193Н
|
1
|
1
|
-
|
-
|
-
|
|
Сверлильный станок настольный повышенной точности для сверления отверстий до 6 мм
|
2Н106П
|
1
|
1
|
1
|
-
|
-
|
|
Гравировальный станок
|
-
|
1
|
1
|
-
|
-
|
-
|
|
Станок для намотки катушек
|
снз, СРН-0,5Н
|
1
|
1
|
1
|
-
|
-
|
|
Заточный станок
|
ИЭ-9703
|
1
|
1
|
1
|
-
|
-
|
|
Комплект ультразвуковой установки для очистки деталей
|
-
|
1
|
1
|
1
|
-
|
-
|
|
Дрель электрическая, наибольший диаметр сверл 9 мм
|
-
|
2
|
2
|
1
|
-
|
-
|
|
Комплект часового инструмента
|
-
|
2
|
2
|
1
|
-
|
-
|
Таблица 10
Примерный перечень контрольно-измерительных приборов группы контроля за состоянием гидротехнических сооружений
|
Наименование оборудования
|
Тип
|
Количество (шт.) для групп ГЭС мощностью, тыс. кВт
|
|
Св. 3000
|
Св. 1000 до 3000 вкл.
|
Св. 350 до 1000 вкл.
|
Св. 100 до 350 вкл.
|
Св. 30 до 100 вкл.
|
|
Нивелир «Карл Цейс»
|
Ni 007, Ni 002,
H2
|
2
|
2
|
1
|
1
|
1
|
|
Нивелир обычной точности
|
НТС
|
1
|
1
|
1
|
1
|
1
|
|
Рейки инварные
|
-
|
2 компл.
|
2 компл.
|
1 компл.
|
1 компл.
|
1 компл.
|
|
Рейки нивелирные трехметровые
|
РН-3-3000
|
5
|
5
|
3
|
2
|
2
|
|
Рейки нивелирные четырехметровые
|
РН-4-4000
|
5
|
5
|
3
|
2
|
2
|
|
Теодолит высокоточный
|
Т-5
|
1
|
1
|
1
|
1
|
1
|
|
Теодолит обычной точности
|
Т-15, Т-30
|
1
|
1
|
1
|
1
|
1
|
|
Линейка стальная 500 мм
|
ЛСМ
|
10
|
10
|
5
|
5
|
3
|
|
Линейка Дробышева
|
лд
|
1
|
1
|
1
|
1
|
1
|
|
Линейка масштабная
|
ЛПМ-1
|
3
|
3
|
2
|
2
|
2
|
|
Зонт геодезический полевой
|
МГЗ
|
2
|
2
|
2
|
2
|
2
|
|
Термометр опрокидывающийся (ТУ-25-11-762-72)
|
-
|
10
|
10
|
8
|
6
|
4
|
|
Рама для термометров глубоководных опрокидывающихся
|
РОТ-48
|
10
|
10
|
8
|
6
|
4
|
|
Гидрометрическая лебедка «Луга»
|
ГЛЛ-52
|
1
|
1
|
1
|
1
|
1
|
|
Блок-счетчик 0-17 (ТУ-06-67-56)
|
-
|
2
|
2
|
2
|
2
|
2
|
|
Водонос (для отбора проб воды на глубине)
|
1ТЦ-19
|
4
|
4
|
4
|
4
|
4
|
|
Вертушка с часовым счетчиком
|
ГР-21М, ГР-99
|
4
|
4
|
3
|
3
|
2
|
|
Термометр полупроводниковый
|
МТ-54
|
5
|
5
|
4
|
4
|
2
|
|
Прибор ультразвуковой
|
«Бетон»-3М
|
1
|
1
|
1
|
1
|
1
|
|
Геодезический транспортир
|
-
|
3
|
3
|
2
|
2
|
2
|
|
Лента мерная двадцатиметровая
|
-
|
3
|
3
|
2
|
2
|
2
|
|
Башмаки под рейки
|
-
|
6
|
6
|
4
|
4
|
2
|
|
Рулетка десятиметровая
|
-
|
8
|
8
|
5
|
5
|
3
|
|
Рулетка двадцатиметровая
|
-
|
10
|
10
|
6
|
6
|
4
|
|
Рулетка тридцатиметровая
|
-
|
10
|
10
|
6
|
6
|
4
|
|
Рулетка пятидесятиметровая
|
-
|
6
|
6
|
2
|
2
|
2
|
|
Отвес регулируемый
|
ОР-2
|
2
|
2
|
2
|
2
|
2
|
|
Прибор для наблюдения на обратных отвесах
|
-
|
2
|
2
|
2
|
2
|
2
|
|
Психрометр
|
-
|
1
|
1
|
1
|
1
|
1
|
|
Анемометр
|
-
|
1
|
1
|
1
|
1
|
1
|
|
Струна рояльная диаметром
1,55
- 1,70 мм
|
-
|
3000 м
|
3000 м
|
2000 м
|
2000 м
|
1500 м
|
|
Бинокль большого увеличения
|
БП-12´40, БПЦ-12´40
|
1
|
1
|
1
|
1
|
1
|
|
Фонарь шахтерский
|
ЗШНКП-10Б
|
10
|
10
|
5
|
5
|
5
|
|
Лупа телескопическая с рукояткой
|
ЛПШ-474
|
3
|
3
|
2
|
2
|
2
|
|
Лупа со складной ручкой
|
ЛШ-4, Л-5, ЛПШ-455
|
3
|
3
|
2
|
2
|
2
|
|
Пробоотборник
|
-
|
4
|
4
|
4
|
4
|
4
|
|
Инварная рулетка длиной
50 -
75 м
|
-
|
2
|
2
|
1
|
1
|
1
|
|
Мост сопротивлений (для измерения температур по сопротивлениям датчиков)
|
Р-333
|
4
|
4
|
3
|
3
|
2
|
|
Секундомер однострелочный, обычный
|
СОПНР-2А-3
|
3
|
3
|
2
|
2
|
2
|
|
Секундомер ручной двухстрелочный
|
С-П-1б
|
1
|
1
|
1
|
1
|
1
|
|
Ртутные термометры технические угловые с пределами измерения от -30 °С до +50 °С с ценой деления:
|
У-2
|
|
|
|
|
|
|
0,1 - 0,2
|
|
20
|
20
|
10
|
10
|
10
|
|
0,5 - 1,0
|
|
20
|
20
|
10
|
10
|
10
|
|
Оправа защитная для технических термометров
|
-
|
2
|
2
|
2
|
2
|
2
|
|
Спиртовой термометр с пределами измерений от -90 °С до +35 °С
|
-
|
20
|
20
|
10
|
10
|
10
|
|
Мензурки отливные
|
100, 250,
500, 1000
|
30
|
30
|
30
|
30
|
30
|
|
Манометр технический с пределами измерений от 0 до 10 кгс/см2
|
ОБМ1-160
|
30
|
30
|
30
|
30
|
30
|
|
Пружинные динамометры с мерным
тросиком
|
-
|
4
|
4
|
3
|
3
|
2
|
|
Планиметр полярный
|
пп-м
|
1
|
1
|
1
|
1
|
1
|
|
Частотомер
|
ЦСД-4, ПЦП-1М, ПСП-5
|
5
|
5
|
5
|
5
|
3
|
|
Влагомер
|
-
|
2
|
2
|
2
|
2
|
2
|
|
Оптический отвес двусторонний
|
Одо
|
2
|
2
|
2
|
2
|
2
|
|
Штанген-щелемер
|
-
|
3
|
3
|
3
|
3
|
3
|
|
Штриховальный прибор
|
-
|
1
|
1
|
1
|
1
|
1
|
|
Кульман чертежный
|
-
|
1
|
1
|
1
|
1
|
1
|
Таблица 11
Примерный перечень оборудования водолазной группы
|
Наименование оборудования
|
Тип
|
Количество (шт.) для групп ГЭС мощностью, тыс. кВт
|
|
Св. 3000
|
Св. 1000 до 3000 вкл.
|
Св. 350 до 1000 вкл.
|
Св. 100 до 350 вкл.
|
Св. 30 до 100 вкл.
|
|
Компрессор ручной
|
АВ-5/2
|
1
|
1
|
1
|
-
|
-
|
|
Портативный компрессор высокого давления (для зарядки аквалангов)
|
«Старт 2М»
|
1
|
1
|
1
|
-
|
-
|
|
Портативный блок очистки воздуха высокого давления
|
ПБО-200
|
2
|
2
|
2
|
-
|
-
|
|
Декомпрессионная камера
|
ПДК-2
|
1
|
1
|
1
|
-
|
-
|
|
Водолазная станция на базе автомобиля ЗИЛ-131 в комплекте с декомпрессионной камерой*
|
ПРС-ВА
|
1
|
1
|
1
|
-
|
-
|
|
Воздухосборник вместимостью 3 м2 на давление 2,5 МПа
|
-
|
2
|
2
|
2
|
-
|
-
|
|
Немагнитная водолазная телефонная станция
|
нвтс
|
2
|
2
|
2
|
-
|
-
|
|
Телефонная станция рекомпрессионная
|
ТСР-1
|
2
|
2
|
2
|
-
|
-
|
|
Универсальный подводный светильник
|
ППС-1000, ППС-66
|
2
|
2
|
2
|
-
|
-
|
|
Ручной подводный фонарь
|
РПФ-55
|
2
|
2
|
2
|
-
|
-
|
|
Комплект вентилируемого водолазного снаряжения трехболтового № 48
|
-
|
4
|
4
|
4
|
-
|
-
|
|
Гидрокостюм
|
«Садко-2»; ГК-6
|
4
|
4
|
4
|
-
|
-
|
|
Гидрокомбинезон
|
ГК СВУ-А
|
4
|
4
|
4
|
-
|
-
|
|
Акваланг
|
АВМ-3
|
4
|
4
|
4
|
-
|
-
|
|
Фильтр воздушный специальный
|
ФВС-55
|
2
|
2
|
2
|
-
|
-
|
|
Облегченная водолазная помпа
|
ОВП
|
2
|
2
|
2
|
-
|
-
|
|
Трехцилиндровая водолазная помпа с электроприводом
|
ЭП-3
|
2
|
2
|
2
|
-
|
-
|
|
Водолазный катер**
|
РВН-376У
|
1
|
1
|
1
|
-
|
-
|
|
Лодка металлическая
|
«Прогресс-4»
|
1
|
1
|
1
|
-
|
-
|
|
Подвесной мотор
|
«Вихрь-30М»
|
2
|
2
|
2
|
-
|
-
|
|
Понтон водолазный
|
-
|
1
|
1
|
1
|
-
|
-
|
|
Подводная телевизионная установка
|
-
|
2
|
2
|
2
|
-
|
-
|
|
Кабель (кабель-сигнал)
|
кст
|
400 м
|
400 м
|
400 м
|
-
|
-
|
|
Держатель для электрокислородной
резки
|
ЭКД-4-60
|
2
|
2
|
2
|
-
|
-
|
|
Баллоны для сжатого воздуха
|
-
|
4
|
4
|
4
|
-
|
-
|
|
* При обслуживании водолазной группой нескольких ГЭС.
** При обслуживании водолазной группой каскада ГЭС и при наличии судоходных шлюзов.
|
3.6.2. Гидроэлектростанции, на которых не организуются какие-либо эксплуатационные подразделения из-за малой загрузки, обслуживаются соответствующими функциональными службами или службами объединенного каскада или энергетического управления.
3.6.3. Приведенные в табл. 6 - 11 перечни средств оснащения лабораторий и технологических групп являются ориентировочными. На стадии технического и рабочего проектов они уточняются и дополняются генпроектировщиком для конкретных условий проектируемой (или реконструируемой) ГЭС и являются основой для составления заказных спецификаций.
3.7.
Примерный перечень средств оргтехники для РСС
3.7.1. Средства составления, хранения, поиска и обработки документов:
электрическая пишущая машинка;
пишущая машинка с большой кареткой;
портативная пишущая машинка;
ручная машина для вскрытия конвертов и резки бумаги;
строковая картотека;
ручной сшиватель с широким захватом;
нумератор;
электрифицированный сшиватель;
настольно-справочная картотека;
контрольно-сроковая картотека;
картотека-папка;
библиотечные стеллажи;
механический пюпитр;
диктофон.
3.7.2. Средства размножения и копирования документов:
светокопировальный аппарат;
электрофотографический аппарат;
гектограф;
бумагорезательная машина;
листорезательная машина,
3.7.3. Средства связи и сигнализации:
концентратор административно-производственной связи;
телефонный концентратор;
диктофон;
оперативно-переговорное устройство (ОПУ);
аппаратура производственной громкоговорящей связи (ПСГ);
телетайп;
радиостанция;
телефонный аппарат;
устройство пожарной сигнализации;
магнитофон.
3.7.4. Средства вычислительной техники:
микрокалькулятор;
вычислительная малогабаритная машина;
комплект оборудования телекоммутационного абонентского пункта (ТАП);
дисплей (видеотерминал),
3.7.5. Средства для чертежно-конструкторских работ:
чертежный прибор координатной системы;
чертежный пантографный прибор;
чертежный копировальный 24-предметный набор;
чертежный копировальный 14-предметный набор;
фильмостат;
эпидиаскоп.
3.8.
Организация автохозяйства
3.8.1. На гидроэлектростанциях мощностью свыше 1000 МВт организуется собственное автохозяйство; на гидроэлектростанциях меньшей мощности предусматривается централизованное обслуживание автотранспортом через базы объединенного каскада или энергоуправлений. При значительном удалении от централизованных баз собственное автохозяйство может быть организовано и на ГЭС мощностью менее 1000 МВт.
3.8.2. В табл. 12 приведены номенклатура и площади помещений собственных автохозяйств на крупных ГЭС. На гидроэлектростанциях с централизованным обслуживанием автотранспортом предусматриваются только стоянки для оперативного автотранспорта.
Примерный перечень транспортных средств, необходимых для оснащения гидроэлектростанций, представлен в табл. 13. При централизованном обслуживании автотранспортом выделенные ГЭС транспортные средства передаются в централизованное автохозяйство за исключением оперативного автотранспорта (легковые машины, автобусы).
Таблица 12
Номенклатура и площади помещений собственных автохозяйств на крупных ГЭС
|
Наименование
помещения
|
Площадь помещений (м2) для групп ГЭС мощностью, тыс. кВт
|
|
Св. 3000
|
Св. 1000 до 3000 вкл.
|
Св. 350 до 1000 вкл.
|
|
Стоянка для автомашин
|
Из расчета на одну легковую машину - 30 м2, на одну грузовую машину
или автобус - 80 м2
|
|
Мастерская гаража
|
На каждые 10 машин - 20 м2
|
На каждые 10 машин - 20 м2
|
На каждые 10 машин - 20 м2
|
|
Инструментальная
|
20
|
18 - 20
|
18
|
|
Мойка для автомашин
|
По нормам на одну
машину
|
По нормам на одну
машину
|
По нормам на одну
машину
|
|
Кладовая
|
20 - 24
|
16 - 20
|
12 - 16
|
|
Комната заведующего гаражом
|
20 - 22
|
18 - 20
|
12 - 16
|
|
Диспетчерская
|
18 - 20
|
16 - 18
|
12
|
|
Склад
|
По нормам СНиП II-П.3170
|
По нормам СНиП II-П.3-70
|
По нормам СНиП II-П.3-70
|
|
Бензораздаточные
колонки
|
Определяется в зависимости от марок применяемого топлива
|
|
Бытовые помещения гаража
|
По нормам СНиП II.92-76
|
По нормам СНиП II.92-76
|
По нормам СНиП II.92-76
|
|
Кладовая для уборщиков помещений
|
Не менее 4 м2
|
Не менее 4 м2
|
Не менее 4 м2
|
Таблица 13
Примерный перечень транспортных средств, необходимых для оснащения гидроэлектростанций
|
Наименование транспортного средства
|
Количество (шт.)* для групп ГЭС мощностью, тыс. кВт
|
|
Св. 3000
|
Св. 1000 до 3000 вил.
|
Св. 350 до 1000 вкл.
|
Св. 100 до 350 вкл.
|
Св. 30 до 100 вкл.
|
|
Автобус для перевозки станционного персонала
|
6
|
6
|
4
|
2
|
2
|
|
Легковой автомобиль
|
3
|
3
|
2
|
2
|
1
|
|
Автомобиль бортовой грузоподъемностью 3 - 5 т
|
4
|
4
|
3
|
2
|
1
|
|
Автомобиль-самосвал грузоподъемностью 3 - 5 т
|
2
|
2
|
2
|
1
|
1
|
|
Автомобиль-фургон
|
1
|
1
|
1
|
-
|
-
|
|
Автомобиль повышенной проходимости
|
2
|
2
|
1
|
-
|
-
|
|
Мотоцикл с коляской
|
2
|
2
|
1
|
-
|
-
|
|
Прицеп бортовой двухосный
|
2
|
2
|
-
|
-
|
-
|
|
Прицеп одноосный
|
2
|
2
|
1
|
1
|
-
|
|
Автокран грузоподъемностью 3 т
|
1
|
1
|
-
|
-
|
-
|
|
Автокран грузоподъемностью 5 - 10 т
|
1
|
1
|
-
|
-
|
-
|
|
Автогидроподъемник
|
1
|
1
|
1
|
-
|
-
|
|
Автопогрузчик грузоподъемностью 5 т
|
1
|
1
|
1
|
-
|
-
|
|
Автовышка телескопическая
|
2
|
2
|
-
|
-
|
-
|
|
Кран специальный с телескопической стойкой
|
1
|
1
|
-
|
-
|
-
|
|
Бензовоз
|
1
|
1
|
-
|
-
|
-
|
|
Прицеп-цистерна
|
1
|
1
|
-
|
-
|
-
|
|
Экскаватор 0,25 м со сменным оборудованием
|
1
|
1
|
-
|
-
|
-
|
|
Трактор с навесным оборудованием
|
1
|
1
|
-
|
-
|
-
|
|
Мототележка на базе трактора с комплектом навесного оборудования
|
1
|
1
|
-
|
-
|
-
|
|
Тележка на резиновом ходу грузоподъемностью
1000
кг
|
3
|
3
|
2
|
1
|
1
|
|
Электрокар грузоподъемностью 200 кг
|
3
|
3
|
-
|
-
|
-
|
|
Электрокар грузоподъемностью 1000 кг
|
3
|
3
|
-
|
-
|
-
|
|
Мотороллер грузовой с кузовом или фургоном
|
2
|
2
|
1
|
-
|
-
|
|
Снегоочиститель
|
1
|
1
|
-
|
-
|
-
|
|
Мотогазонокосилка
|
2
|
2
|
2
|
2
|
2
|
|
Ручная газонокосилка
|
2
|
2
|
2
|
2
|
2
|
|
Машина поливоуборочная
|
1
|
1
|
1
|
-
|
-
|
|
Универсальная транспортировочная машина на базе трехколесного мотороллера
|
2
|
2
|
-
|
-
|
-
|
|
* Указано предельное количество транспортных
средств.
|
Примерный перечень оборудования мастерской гаража приведен в табл. 14.
4.
ОРГАНИЗАЦИЯ РЕМОНТА
4.1. Основные положения и порядок организации ремонта оборудования, зданий и сооружений гидроэлектростанций, планирования и финансирования ремонтных работ, подготовки к ремонту, производства ремонтных работ, приемки из ремонта, оценки качества отремонтированного оборудования, зданий и сооружений и выполненных ремонтных работ, а также номенклатура и объем работ при капитальном ремонте гидроагрегатов и трансформаторов установлены «Правилами организации технического обслуживания и ремонта оборудования, зданий и сооружений электростанций и сетей» (М.: СПО Союзтехэнерго,
1984).
4.2. Для выполнения ремонтных работ на гидроэлектростанциях должны быть предусмотрены соответствующие мастерские.
Помещения мастерских должны быть оснащены подвесным краном (3 - 5 т) или электротельфером; в мастерской по всей длине следует, как правило, предусматривать проезд для электрокара. К каждому станку должен быть обеспечен подъезд напольного транспорта или подача грузов подвесным краном.
Освещение мастерских, как правило, должно быть естественное. На рабочих местах необходимо предусмотреть и местное освещение в соответствии с нормами.
4.3. Мастерские рекомендуется размещать следующим образом:
механическую мастерскую в здании ГЭС, а также в пристройке к зданию ГЭС или в отдельном корпусе - в максимальном приближении к монтажной площадке и на одной с ней отметке;
сварочную мастерскую - в непосредственной близости к механической мастерской;
кузницу - в производственном корпусе или на стройдворе;
столярную мастерскую - на стройдворе гидротехнического цеха;
мастерскую гаража - при гараже;
мастерскую по ремонту оборудования ОРУ - на территории, примыкающей к ОРУ;
электромастерскую, мастерскую по ремонту трансформаторов, слесарную мастерскую машинного цеха - на отметке машинного зала в районе монтажной площадки.
Таблица 14
Примерный перечень оборудования мастерской гаража
|
Наименование оборудования
|
Тип
|
Количество (шт.) для групп ГЭС мощностью, тыс. кВт
|
|
Св. 3000
|
Св. 1000 до 3000 вкл.
|
Св. 350 до 1000 вкл.
|
Св. 100 до 350 вкл.
|
Св. 30 до 100 вкл.
|
|
Домкрат гидравлический гаражный
|
П-304
|
4
|
4
|
2
|
1
|
-
|
|
Гайковерт для гаек колес грузовых
автомобилей и автобусов
|
ИЗОЗ-М
|
2
|
2
|
1
|
-
|
-
|
|
Электродрель
|
ИЭ-1033
|
2
|
2
|
1
|
1
|
-
|
|
Приспособление для снятия и установки коробки передач грузовых автомобилей
|
2471
|
1
|
1
|
-
|
-
|
-
|
|
Электровулканизатор для ремонта
покрышек и камер
|
6140
|
1
|
1
|
-
|
-
|
-
|
|
Солидолонагнетатель с электроприводом и бункером
|
390
|
1
|
1
|
1
|
-
|
-
|
|
Прибор для шлифовки клапанных гнезд
|
ЦКБ 2447
|
1
|
1
|
-
|
-
|
-
|
|
Прибор для проверки автомобильного электрооборудования
|
Э-214
|
1
|
1
|
-
|
-
|
-
|
|
Прибор для проверки контрольно-измерительных приборов
|
Э-204
|
1
|
1
|
-
|
-
|
-
|
|
Прибор для проверки якорей генераторов и стартеров
|
Э-202
|
1
|
1
|
-
|
-
|
-
|
|
Прибор для проверки установки автомобильных фар
|
НИИАТ-Э6
|
1
|
1
|
-
|
-
|
-
|
|
Нагрузочная вилка
|
ЛЭ-2
|
1
|
1
|
-
|
-
|
-
|
|
Выпрямитель
|
ВСА-5А
|
2
|
2
|
-
|
-
|
-
|
|
Комплект изделий для очистки и проверки свечей зажигания
|
Э-203
|
1
|
1
|
1
|
-
|
-
|
|
Комплект приборов и инструментов для технического обслуживания аккумуляторных батарей
|
Э-401
|
1
|
1
|
1
|
-
|
-
|
|
Комплект инструмента для технического обслуживания электрооборудования на автомобиле
|
2443
|
4
|
4
|
-
|
-
|
-
|
|
Комплект шоферского инструмента
|
2360
|
Определяется в зависимости от количества
транспортных средств
|
|
Комплект инструмента слесаря-монтажника
|
2216Б
|
4
|
4
|
3
|
2
|
-
|
|
Комплект инструмента регулировщика-карбюраторщика
|
2445
|
2
|
2
|
1
|
1
|
-
|
|
Машина швейная ремесленного типа
|
-
|
1
|
1
|
-
|
-
|
-
|
|
Верстак слесарный
|
-
|
2
|
2
|
1
|
1
|
-
|
|
Шкаф инструментальный
|
-
|
3
|
3
|
1
|
-
|
-
|
|
Стеллаж секционный
|
-
|
2
|
2
|
1
|
1
|
-
|
4.4. При проектировании подземных ГЭС или ГЭС, приравненных к таковым, механические мастерские, основная мастерская электроцеха должны быть, как правило, вынесены за пределы здания ГЭС, в помещения с дневным освещением.
В зависимости от специфики проектируемого оборудования на ГЭС могут быть организованы и другие мастерские - мастерские специального назначения (мастерская по ремонту устройств возбуждения, мастерская постоянного тока и др.). Вопросы организации таких мастерских на ГЭС должны решаться в каждом конкретном случае при проектировании .
4.5. Номенклатура и площади мастерских для пяти групп ГЭС по установленной мощности выбираются в соответствии с табл. 15. Площади должны выбираться в указанных пределах в зависимости от количества и размеров гидроагрегатов и другого основного оборудования.
При выполнении капитальных ремонтов оборудования ГЭС силами привлеченного персонала специализированных предприятий номенклатура и площади мастерских по согласованию с заказчиком могут быть несколько уменьшены.
4.6. Электроремонтная мастерская предназначена для выполнения всех видов ремонта электротехнического оборудования ГЭС малой мощности или выполнения большого объема мелких ремонтных работ, ремонта оборудования собственных нужд и кабельного хозяйства на гидроэлектростанциях большой мощности.
4.7. Мастерская по ремонту генераторов предназначена для выполнения различных электрослесарных работ при ремонтах генераторов и их вспомогательного оборудования, ремонта ошиновки, генераторных выключателей.
4.8. Мастерскую по ремонту оборудования ОРУ следует предусматривать в случае значительной удаленности ОРУ от здания ГЭС и целесообразности сосредоточения ремонтных работ на территории подстанции.
Мастерская, предназначенная для ремонта высоковольтной аппаратуры ОРУ, должна примыкать к ограде ОРУ. Со стороны ОРУ в мастерскую должен быть предусмотрен только один запирающийся въезд для
автомашины. В случае наличия при ОРУ трансформаторной мастерской
электроремонтную мастерскую целесообразно разместить на территории первой. При мастерской необходимо предусматривать площадку для размещения узлов высоковольтного оборудования, ремонтируемого агрегатно-узловым способом.
Таблица 15
Номенклатура и площади мастерских
|
Наименование мастерской
|
Площадь мастерской (м2) для групп ГЭС мощностью, тыс. кВт
|
|
Св. 3000
|
Св. 1000 до 3000 вкл.
|
Св. 350 до 1000 вкл.
|
Св. 100 до 350 вкл.
|
Св. 30 до 100 вкл.
|
|
Мастерские электроцеха
|
|
|
|
|
|
|
Мастерская участка по ремонту генераторов
|
100
|
100
|
60
|
-
|
-
|
|
комната мастера
|
20
|
18
|
12
|
-
|
-
|
|
кладовые
|
24
|
20
|
12
|
-
|
-
|
|
Мастерская по ремонту электродвигателей:
|
|
|
|
|
|
|
разборочно-сборочное отделение
|
20
|
20
|
-
|
-
|
-
|
|
оплеточное отделение
|
12
|
12
|
-
|
-
|
-
|
|
обмоточное отделение
|
20
|
20
|
-
|
-
|
-
|
|
сушильно-пропиточное отделение
|
25
|
25
|
-
|
-
|
-
|
|
испытательное отделение
|
10
|
10
|
-
|
-
|
-
|
|
кладовая
|
20
|
15
|
-
|
-
|
-
|
|
Мастерская участка по ремонту трансформаторов
|
60
|
60
|
60
|
-
|
-
|
|
комната мастера
|
20
|
16
|
12
|
-
|
-
|
|
кладовые
|
40
|
20
|
2´12
|
-
|
-
|
|
Мастерская участка по ремонту оборудования ОРУ
|
100
|
100
|
60
|
-
|
-
|
|
кладовая
|
15
|
15
|
15
|
-
|
-
|
|
комната мастера
|
12
|
12
|
12
|
-
|
-
|
|
комната отдыха и приема пищи
|
10
|
10
|
10
|
-
|
-
|
|
Электроремонтная мастерская
|
60
|
50
|
50
|
80
|
25
|
|
кладовая
|
20
|
20
|
20
|
20
|
(Совмещается со слесарной
мастерской)
|
|
комната мастера
|
20
|
12
|
12
|
-
|
|
|
комната отдыха и приема пищи
|
10
|
10
|
-
|
-
|
-
|
|
Мастерские машинного цеха
|
|
|
|
|
|
|
Механическая мастерская (станочное отделение)
|
100
|
100
|
90
|
80
|
50
|
|
комната мастера
|
20
|
20
|
16
|
10
|
-
|
|
комната отдыха и приема пищи
|
12
|
12
|
-
|
-
|
-
|
|
инструментальная (общестанционная)
|
40
|
40
|
30
|
30
|
10
|
|
кладовая
|
20
|
18
|
15
|
15
|
10
|
|
помещения для готовой продукции и металла
|
100
|
100
|
100
|
-
|
-
|
|
Сварочная мастерская
|
30
|
30
|
30
|
25
|
20
|
|
Кузница
|
50
|
50
|
40
|
-
|
-
|
|
Слесарная мастерская
|
100
|
100
|
60
|
25
|
25
|
|
кладовая
|
20
|
20
|
-
|
-
|
(Совмещается с электроремонтной мастерской)
|
|
Мастерская для слесарей и электромехаников гидромеханического участка
|
60
|
60
|
40
|
-
|
-
|
|
кладовая
|
20
|
20
|
20
|
-
|
-
|
|
Мастерская сантехнического оборудования
|
30
|
30
|
30
|
-
|
-
|
|
кладовая
|
10
|
10
|
10
|
-
|
-
|
|
Площадки или помещения для ремонта и окраски затворов и сороудерживающих
решеток
|
Определяются по специальному проекту в зависимости от объема и характера работ по антикоррозионной
защите
|
|
Мастерские гидротехнического цеха
|
|
|
|
|
|
|
Столярная мастерская (станочное отделение)
|
150
|
100
|
100
|
100
|
-
|
|
склад готовой продукции
|
50
|
30
|
20
|
-
|
-
|
|
сушилка для древесины
|
35
|
35
|
30
|
30
|
-
|
|
комната мастера
|
20
|
18
|
16
|
-
|
-
|
|
кладовая
|
30
|
30
|
20
|
12
|
-
|
|
Слесарная мастерская
|
36
|
36
|
24
|
-
|
-
|
|
кладовая
|
10
|
10
|
10
|
-
|
-
|
|
Колерная:
|
|
|
|
|
|
|
краскоприготовительная
|
30
|
30
|
30
|
20
|
20
|
|
помещение для хранения красок и лаков
|
45
|
20
|
20
|
|
Растворный узел
|
Размеры растворного узла, склады цемента и инертных материалов корректируются в зависимости от предполагаемого объема работ по ремонту сооружений
|
|
Битумохранилище
|
50
|
50
|
40
|
-
|
-
|
|
Известковая яма
|
10
|
10
|
9
|
-
|
-
|
Мастерская предназначена для выполнения следующих работ по ОРУ:
переборка камер воздушных выключателей;
испытание фарфоровой и другой изоляции;
выполнение всевозможных слесарных работ, связанных с ремонтом
электрооборудования ОРУ.
4.9. Трансформаторная мастерская предназначена для ремонта повышающих трансформаторов.
На гидроэлектростанциях большой мощности при трансформаторной
мастерской или монтажной площадке должно быть предусмотрено помещение (мастерская) для участка по ремонту трансформаторов.
Трансформаторная мастерская или мастерская участка по ремонту
трансформаторов должна быть обеспечена оборудованием для сушки трансформаторов в собственном баке, для дегазации масла, устройством домкратного типа для подпрессовки обмоток, гидравлическими домкратами
соответствующей грузоподъемности.
По пути передвижения трансформаторов в трансформаторную мастерскую следует предусматривать устройство соответствующих анкеров, рымов или других приспособлений, специальные площадки под домкраты для перестановки катков трансформаторов, а также самоходные тележки с электролебедкой для передвижения по железнодорожной колее.
4.10. Мастерская по ремонту электродвигателей предусматривается только для ГЭС мощностью свыше 1000 тыс. кВт при условии невозможности организации ремонта электродвигателей на других предприятиях энергоуправления.
Для проведения капитального ремонта электродвигателей на ГЭС мощностью ниже 1000 тыс. кВт рекомендуется привлекать сторонние специализированные предприятия или предприятия энергосистемы.
Мастерская предназначена для восстановительных ремонтов низковольтных электродвигателей.
4.11. Механическая мастерская машинного цеха одновременно является и общестанционной механической мастерской, выполняющей работы по металлической обработке, изготовлению металлоизделий по заказам всех цехов ГЭС.
Сварочная мастерская машинного цеха является общестанционной и предназначена для производства сварочных работ на всех объектах гидроэлектростанций. На ГЭС мощностью менее 350 МВт вместе мастерской может быть организован сварочный пост.
Кузница, предназначенная для производства кузнечно-прессовых работ, предусматривается только на крупных гидроэлектростанциях
или на ГЭС с большим числом агрегатов, а также на ГЭС, расположенных в удаленных горных или северных районах.
Общецеховая слесарная мастерская машинного цеха предназначена для слесарей и персонала, занятого ремонтом гидроагрегатов и вспомогательного оборудования, гидромеханического оборудования, грузоподъемных кранов и сантехнического оборудования. На крупных
гидроэлектростанциях может быть предусмотрена отдельная мастерская для участка, обслуживающего гидромеханическое оборудование, а также для сантехников.
4.12. Столярная мастерская гидротехнического цеха является общестанционной мастерской, обеспечивающей выполнение заказов всех цехов.
Внутри помещения должен быть предусмотрен подвесной кран с ручным управлением. Станочное оборудование должно быть снабжено отсосами пыли и стружки.
Слесарная мастерская гидротехнического цеха предназначена для выполнения всевозможных ремонтов арматуры, контрольно-измерительной аппаратуры, точки и правки инструментов, кровельных и различных слесарных работ по мелкому ремонту стройоборудования и инструмента. Размещается на стройдворе.
Для инструмента и материалов должны быть предусмотрены металлические шкафы.
Колерная гидротехнического цеха включает краскоприготовительную и кладовую для красок, лаков и сыпучих отделочных материалов. Кладовые для сыпучих материалов и для красок с лаками должны быть раздельными; колерная размещается на стройдворе.
При помещениях водолазной группы следует предусматривать
мастерскую для ремонта водолазного снаряжения.
4.13. В табл. 16 приведена примерная номенклатура оборудования для оснащения различных мастерских на ГЭС. На стадии технического и рабочего проектов она уточняется и дополняется генпроектировщиком для конкретных условий проектируемой (или реконструируемой) ГЭС и является основой для составления заказных спецификаций. При этом номенклатура оборудования для ремонтных мастерских должна составляться с учетом способа проведения капитальных ремонтов оборудования.
Таблица 16
Примерная номенклатура оборудования для оснащения различных мастерских
|
Наименование оборудования
|
Тип
|
Количество (шт.) для групп ГЭС мощностью, тыс. кВт
|
|
Св. 3000
|
Св. 1000 до 3000 вкл.
|
Св. 350 до 1000 вкл.
|
Св. 100 до 350 вкл.
|
Св. 30 до 100 вкл.
|
|
Механическая мастерская
|
|
|
|
|
|
|
|
Токарно-винторезный станок
|
16К20, 1К20, 1А616
|
3
|
3
|
2
|
2
|
1
|
|
Широкоуниверсальный фрезерный станок
|
6Р82
|
1
|
1
|
1
|
1
|
1
|
|
Универсальный радиально-сверлильный станок
|
2М550
|
0 - 1
|
0 - 1
|
-
|
-
|
-
|
|
Вертикально-сверлильный станок
|
2Н118
|
1
|
1
|
1
|
1
|
1
|
|
Универсально-заточный станок
|
3Б841, 3В641
|
1
|
1
|
1
|
1
|
1
|
|
Точильно-шлифовальный станок
|
3Б634
|
1
|
1
|
1
|
1
|
1
|
|
Ножовочный станок
|
872М, Н-1
|
1
|
1
|
1
|
1
|
1
|
|
Универсально-шлифовальный станок
|
-
|
1
|
1
|
-
|
-
|
-
|
|
Станок для испытания наждачных кругов
|
-
|
1
|
1
|
1
|
1
|
1
|
|
Поперечно-строгальный станок
|
7307Е
|
1
|
1
|
1
|
1
|
1
|
|
Гидравлический пресс
|
П6326, ГАРО, 2153-М2
|
1
|
1
|
1
|
1
|
1
|
|
Комбинированные пресс-ножницы
|
НБ 5220, С2294
|
1
|
1
|
1
|
1
|
1
|
|
Кузница
|
|
|
|
|
|
|
|
Камерная электропечь сопротивления
|
П30, СН3-5,10
|
1
|
1
|
-
|
-
|
-
|
|
Пневмомолот ковочный
|
411МБ, МА4129
|
1
|
1
|
-
|
-
|
-
|
|
Горн кузнечный на один огонь
|
П-1369
|
1
|
1
|
1
|
-
|
-
|
|
Кузнечный вентилятор
|
ОКС-3361А, 9ВД-2
|
1
|
1
|
1
|
-
|
-
|
|
Наковальня двурогая
|
-
|
1
|
1
|
1
|
-
|
-
|
|
Ванна для охлаждения инструмента
|
-
|
1
|
1
|
1
|
-
|
-
|
|
Ванна трехсекционная для закалки деталей
|
-
|
1
|
1
|
-
|
-
|
-
|
|
Ларь для кузнечного инструмента
|
-
|
1
|
1
|
-
|
-
|
-
|
|
Ларь для угля
|
-
|
1
|
1
|
1
|
-
|
-
|
|
Ящик для песка
|
-
|
1
|
1
|
1
|
-
|
-
|
|
Стеллаж для деталей и узлов
|
-
|
1
|
1
|
1
|
-
|
-
|
|
Верстак слесарный на одно рабочее место
|
-
|
1
|
1
|
1
|
-
|
-
|
|
Комплект кузнечного инструмента
|
-
|
1
|
1
|
1
|
-
|
-
|
|
Тиски кузнечные
|
|
1
|
1
|
1
|
|
|
|
Сварочная мастерская
|
|
|
|
|
|
|
|
Передвижной сварочный преобразователь
|
-
|
1
|
1
|
1
|
1
|
-
|
|
Однопостовый сварочный преобразователь
|
пСг, псм
|
1
|
1
|
1
|
1
|
1
|
|
Однопостовый сварочный трансформатор
|
тс, тд
|
1
|
1
|
1
|
1
|
1
|
|
Передвижной сварочный трансформатор
|
-
|
1
|
1
|
1
|
1
|
1
|
|
Генератор ацетиленовый
|
АСДН-Ша-1,25
|
1
|
1
|
1
|
-
|
-
|
|
Стол для электросварочных
работ
|
ССН-3
|
1
|
1
|
1
|
1
|
1
|
|
Шкаф вытяжной
|
-
|
1
|
1
|
1
|
1
|
1
|
|
Шкаф для инструмента
|
-
|
1
|
1
|
1
|
1
|
-
|
|
Печь для сушки электродов
|
-
|
1
|
1
|
1
|
1
|
1
|
|
Слесарная мастерская
|
|
|
|
|
|
|
|
Настольно-сверлильный станок
|
-
|
2
|
2
|
1
|
1
|
1
|
|
Точильно-заточный станок для инструмента
|
К-1036
|
1
|
1
|
1
|
1
|
1
|
|
Трубогибочный станок
|
ТГМ38-159
|
1
|
1
|
1
|
1
|
1
|
|
Листогибочный станок
|
-
|
1
|
1
|
1
|
1
|
1
|
|
Верстак слесарный на два рабочих места*
|
-
|
10
|
10
|
8
|
8
|
6
|
|
Шкаф для хранения инструмента*
|
-
|
10
|
10
|
8
|
8
|
6
|
|
Стеллаж секционный
|
-
|
10
|
10
|
8
|
6
|
4
|
|
Листогибочные вальцы
|
-
|
1
|
1
|
1
|
-
|
-
|
|
Листовые ножницы по металлу
|
-
|
1
|
1
|
1
|
1
|
1
|
|
Мастерская гидромеханического участка
|
|
|
|
|
|
|
|
Настольно-сверлильный станок
|
-
|
1
|
1
|
1
|
-
|
-
|
|
Точильно-заточный станок для инструмента
|
К-1036
|
1
|
1
|
1
|
-
|
-
|
|
Верстак слесарный на два рабочих места
|
-
|
4
|
4
|
3
|
-
|
-
|
|
Шкаф для хранения инструмента
|
-
|
2
|
2
|
1
|
-
|
-
|
|
Стеллаж секционный
|
-
|
3
|
3
|
2
|
-
|
-
|
|
Мастерская сантехнического оборудования
|
|
|
|
|
|
|
|
Настольно-сверлильный станок
|
-
|
1
|
1
|
1
|
-
|
-
|
|
Точильный станок двусторонний
|
3Б631А, 3Б632
|
1
|
1
|
1
|
-
|
-
|
|
Трубогибочный станок
|
ТГМ38-159
|
1
|
1
|
1
|
-
|
-
|
|
Верстак слесарный на два рабочих места
|
-
|
2
|
2
|
2
|
-
|
-
|
|
Шкаф для хранения инструмента
|
-
|
2
|
2
|
2
|
-
|
-
|
|
Стеллаж секционный
|
-
|
1
|
1
|
1
|
-
|
-
|
|
Тиски слесарные
|
-
|
1
|
1
|
1
|
-
|
-
|
|
Тиски слесарные поворотные
|
-
|
1
|
1
|
1
|
-
|
-
|
|
Электроремонтная мастерская
|
|
|
|
|
|
|
|
Настольно-сверлильный станок
|
-
|
1
|
1
|
1
|
1
|
-
|
|
Точильно-заточный станок для инструмента
|
К-1036
|
1
|
1
|
1
|
1
|
-
|
|
Верстак слесарный на два рабочих места
|
-
|
4
|
4
|
3
|
3
|
-
|
|
Шкаф для хранения инструмента
|
-
|
3
|
3
|
2
|
2
|
-
|
|
Стеллаж секционный
|
-
|
3
|
3
|
2
|
2
|
-
|
|
Таль электрическая
|
-
|
2
|
2
|
1
|
1
|
-
|
|
Мастерская участка по ремонту генераторов
|
|
|
|
|
|
|
|
Настольно-сверлильный станок
|
-
|
1
|
1
|
1
|
-
|
-
|
|
Точильно-заточный станок для инструмента
|
К-1036
|
1
|
1
|
1
|
-
|
-
|
|
Верстак слесарный на два рабочих места
|
-
|
4
|
4
|
3
|
-
|
-
|
|
Шкаф для хранения инструмента
|
-
|
3
|
3
|
2
|
-
|
-
|
|
Стеллаж секционный
|
-
|
3
|
3
|
2
|
-
|
-
|
|
Таль электрическая
|
-
|
2
|
2
|
1
|
-
|
-
|
|
Мастерская участка по ремонту трансформаторов
|
|
|
|
|
|
|
|
Настольно-сверлильный станок
|
-
|
1
|
1
|
1
|
-
|
-
|
|
Точильно-заточный станок для инструмента
|
-
|
1
|
1
|
1
|
-
|
-
|
|
Верстак слесарный на два рабочих места
|
-
|
4
|
4
|
3
|
-
|
-
|
|
Шкаф для хранения инструмента
|
-
|
3
|
3
|
2
|
-
|
-
|
|
Стеллаж секционный
|
-
|
3
|
3
|
2
|
-
|
-
|
|
Таль электрическая
|
-
|
2
|
2
|
1
|
-
|
-
|
|
Мастерская участка по ремонту оборудования ОРУ
|
|
|
|
|
|
|
|
Настольно-сверлильный станок
|
-
|
1
|
1
|
1
|
-
|
-
|
|
Точильно-заточный станок для инструмента
|
-
|
1
|
1
|
1
|
-
|
-
|
|
Стол монтажный
|
-
|
5
|
5
|
4
|
-
|
-
|
|
Верстак слесарный на два рабочих места
|
-
|
5
|
5
|
4
|
-
|
-
|
|
Шкаф для хранения инструмента
|
-
|
3
|
3
|
2
|
-
|
-
|
|
Стеллаж секционный
|
-
|
4
|
4
|
3
|
-
|
-
|
|
Таль электрическая
|
-
|
1
|
1
|
1
|
-
|
-
|
|
Мастерская по ремонту электродвигателей
|
|
|
|
|
|
|
|
Печь для обжига обмотки
|
-
|
1
|
1
|
-
|
-
|
-
|
|
Камера сушильная
|
-
|
1
|
1
|
-
|
-
|
-
|
|
Ванна пропиточная
|
-
|
1
|
1
|
-
|
-
|
-
|
|
Стол намотчика двигателей
|
-
|
1
|
1
|
-
|
-
|
-
|
|
Намоточный автомат
|
-
|
1
|
1
|
-
|
-
|
-
|
|
Станок для намотки статорных катушек
|
-
|
1
|
1
|
-
|
-
|
-
|
|
Оплеточный станок
|
-
|
1
|
1
|
-
|
-
|
|
|
Стенд для проверки электродвигателей на XX
|
-
|
1
|
1
|
-
|
-
|
-
|
|
Трансформатор для индукционного
нагрева подшипников
|
-
|
1
|
1
|
-
|
-
|
-
|
|
Трансформатор паяльно-сварочный
|
-
|
1
|
1
|
-
|
-
|
-
|
|
Столярная мастерская
|
|
|
|
|
|
|
|
Лесопильная рама
|
РД 50-3
|
1
|
1
|
-
|
-
|
-
|
|
Круглопильный станок
|
Ц-6-2
|
1
|
1
|
1
|
1
|
-
|
|
Строгальный рейсмусный станок по дереву
|
СР4-3, СР6-7
|
1
|
1
|
-
|
-
|
-
|
|
Фрезерный станок по дереву
|
Ф-С, ФШ-4
|
1
|
1
|
-
|
-
|
-
|
|
Ленточно-пильный станок
|
ЛС-ВО-4
|
1
|
1
|
1
|
-
|
-
|
|
Долбежный станок
|
-
|
1
|
1
|
-
|
-
|
-
|
|
Фуговальный станок
|
ОФ-4-4
|
1
|
1
|
1
|
1
|
-
|
|
Токарный станок по дереву
|
ТВ-40
|
1
|
1
|
1
|
1
|
-
|
|
Универсальный деревообрабатывающий станок
|
УДС
|
1
|
1
|
1
|
-
|
-
|
|
Заточный станок для пил
|
-
|
1
|
1
|
1
|
1
|
-
|
|
Пила электроциркульная
|
ЭП-4-3
|
1
|
1
|
1
|
1
|
-
|
|
Вайма для сборки оконных рам, дверных полотен, форточек
|
ВГК-2
|
1
|
1
|
1
|
-
|
-
|
|
Рубанок электрический
|
ИЭ-5705
|
2
|
2
|
2
|
1
|
-
|
|
Электросверлилка
|
ИЭ-1022А
|
1
|
1
|
1
|
1
|
-
|
|
Электроклееварка
|
КМ-40
|
1
|
1
|
1
|
1
|
-
|
|
Сушильный агрегат для древесины
|
-
|
1
|
1
|
1
|
1
|
-
|
|
Циклон НИИОГАЗ (для механизации забора стружки и опилок) диаметром 500 и 700 мм
|
-
|
1
|
1
|
1
|
-
|
-
|
|
Верстак столярный
|
-
|
2 - 4
|
2 - 4
|
2 - 3
|
1 - 2
|
-
|
|
Шкаф инструментальный
|
-
|
2 - 4
|
2 - 4
|
3
|
1
|
-
|
|
Слесарная мастерская гидротехнического цеха
|
|
|
|
|
|
|
|
Настольно-сверлильный станок
|
-
|
1
|
1
|
1
|
-
|
-
|
|
Точильно-заточный станок для инструмента
|
-
|
1
|
1
|
1
|
-
|
-
|
|
Верстак слесарный на два рабочих места
|
-
|
4
|
4
|
3
|
-
|
-
|
|
Шкаф для хранения инструмента
|
-
|
4
|
4
|
3
|
-
|
-
|
|
Стеллаж секционный
|
-
|
4
|
4
|
3
|
-
|
-
|
|
Колерная гидротехнического цеха
|
|
|
|
|
|
|
|
Краскотерка
|
СО-1, СО-116
|
3
|
3
|
1
|
1
|
1
|
|
Мельница центробежная
|
СО-53
|
1
|
1
|
1
|
1
|
1
|
|
Мешалка для красочных составов
|
С-365, СО-11
|
2
|
2
|
1
|
-
|
-
|
|
Вибросито
|
СО-3
|
2
|
2
|
1
|
1
|
1
|
|
Весы настольные циферблатные
|
-
|
1
|
1
|
1
|
1
|
1
|
|
Насос-эмульсатор
|
С-58
|
1
|
1
|
1
|
-
|
-
|
|
Электроклееварка
|
С-409
|
2
|
2
|
1
|
1
|
1
|
|
Мелотерка с пальцевым ротором
|
СО-53
|
1
|
1
|
1
|
1
|
1
|
|
Красконагнетальный бак
|
-
|
1
|
1
|
1
|
1
|
1
|
|
Бетонорастворный узел
|
|
|
|
|
|
|
|
Бетономешалка
|
С-399
|
1
|
1
|
-
|
-
|
-
|
|
Растворомешалка
|
С-220А
|
1
|
1
|
1
|
-
|
-
|
|
Автоматический весовой дозатор для цемента
|
АВДУ-425
|
1
|
1
|
-
|
-
|
-
|
|
Автоматический весовой дозатор для жидкости
|
АВДЖ-425
|
1
|
1
|
-
|
-
|
-
|
|
Автоматический весовой дозатор для инертных материалов
|
АВДИ-425
|
1
|
1
|
-
|
-
|
-
|
|
Известегасилка
|
С-322
|
1
|
1
|
1
|
-
|
-
|
|
Тарельчатый питатель
|
СМ-86А
|
1
|
1
|
1
|
-
|
-
|
|
Центробежный насос
|
С-374
|
1
|
1
|
1
|
-
|
-
|
|
Мембранный приводной насос
|
2МП-8/15
|
1
|
1
|
1
|
-
|
-
|
|
Малогабаритная передвижная бетонорастворомешалка
|
-
|
1
|
1
|
1
|
1
|
1
|
|
* Количество оборудования указано с учетом
оснащения помещений для персонала подрядных организаций.
|
4.14. Общестанционные складские помещения размещаются на отдельной территории, примыкающей к стройдвору; при этом следует учитывать, что общестанционные склады не должны быть удалены от здания ГЭС на значительное расстояние.
Перечень и площади складских помещений для гидроэлектростанций различных групп по установленной мощности приведены в табл. 17.
4.15. Виды и назначение энергоразводок для различных помещений и ремонтных площадок здания ГЭС, бетонных и земляных плотин, каналов приведены в табл. 18.
Ко всем силовым сборкам подводятся заземляющие шины, соединенные с заземляющим контуром здания ГЭС, с достаточным количеством зажимов для подсоединения сварочных агрегатов и заземления передвижной электроаппаратуры.
На агрегатных щитах управления, возбуждения, щитах постоянного тока и собственных нужд, а также вблизи КРУ должны быть установлены розетки трехфазного и однофазного тока или автоматы для подключения электроинструмента и испытательных стендов.
На открытых распределительных устройствах силовые сборки должны устанавливаться на каждом присоединении.
Площадки для очистки и окраски металлоконструкций (затворов, сороудерживающих решеток и пр.) должны быть обеспечены сжатым воздухом и силовыми сборками трехфазного тока.
4.16. В табл. 19 приведен примерный перечень средств малой механизации и ориентировочное их количество для гидроэлектростанций различных групп по установленной мощности, необходимое при производстве работ.
Таблица 17
Перечень и площади складских помещений
|
Наименование помещения
|
Площадь помещения (м) для групп ГЭС мощностью, тыс. кВт
|
|
Св. 3000
|
Св. 1000 до 3000 вкл.
|
Св. 350 до 1000 вкл.
|
Св. 100 до 350 вкл.
|
Св. 30 до 100 вкл.
|
|
Склад ГСМ
|
80
|
60
|
30
|
30
|
-
|
|
Склад оборудования и материалов (теплый)
|
1000*
|
500*
|
400*
|
100*
|
-
|
|
Склад холодный
|
1000*
|
800*
|
500*
|
200*
|
100
|
|
Навес для хранения труб, металлопроката, пиломатериалов, извести, мела, песка
|
800*
|
500*
|
300*
|
200*
|
100
|
|
Открытая площадка для хранения грузов
|
1200
|
1000*
|
500
|
300
|
150
|
|
Склад баллонов
|
60*
|
50*
|
50*
|
30*
|
-
|
|
Склад монтажных приспособлений
|
150
|
150
|
100
|
50
|
-
|
|
Склад лаков и красок из расчета трехмесячного запаса
|
80
|
70
|
50
|
50
|
-
|
|
Склад цемента и инертных материалов
|
100
|
100
|
60
|
-
|
-
|
|
Склад плавсредств
|
40
|
30
|
-
|
-
|
-
|
|
Навес для хранения подмостей и инвентарных лесов
|
60
|
60
|
50
|
-
|
-
|
|
Бытовые помещения при складах:
|
|
|
|
|
|
|
помещения для кладовщиков
|
15
|
10
|
9
|
9
|
-
|
|
комната отдыха и приема пищи для грузчиков
|
20
|
18
|
14
|
14
|
-
|
|
* Площадь следует уточнять в зависимости от
параметров оборудования и его количества.
|
Таблица 18
Виды и назначение энергоразводок для различных помещений и ремонтных площадок здания ГЭС, бетонных и земляных плотин, каналов
|
Наименование
объекта, помещения
|
Вид энергоразводки
|
Назначение
|
Примечание
|
|
Здание ГЭС
|
Телефонная и поисковая
связь
|
-
|
На всех основных
отметках здания ГЭС
|
|
Район «стаканов» генераторов
|
Ремонтное освещение при
напряжении питания 12 или 36 В. Сжатый воздух
давлением 0,6 - 0,8 МПа. Техническая вода. Централизованная разводка сварочного тока или
сварочная сборка*. Электросиловая сборка 380/220 В
|
Для обеспечения ремонтных работ на статоре, роторе, верхнем НП и воздухоохладителях генератора. Для обеспечения работ на подпятнике и тормозной системе генератора
|
|
|
Шахта турбины
|
Ремонтное освещение при напряжении питания 12 или 36 В. Сжатый воздух давлением 0,6 - 0,8 МПа. Техническая вода. Централизованная разводка сварочного тока или сварочная сборка
|
Для обеспечения ремонтных работ на направляющем подшипнике турбины, кинематической
системе НА, сервомоторах, крышке турбины
и уплотнении вала
|
Разводку технической воды предусматривать только при установке
в шахте турбины подшипника на масляной
смазке
|
|
Лаз в спиральную
камеру
|
Ремонтное освещение при
напряжении питания 12 или 36 В. Сжатый воздух давлением 0,6 - 0,8 МПа. Централизованная разводка сварочного тока или Сварочная сборка
|
Для обеспечения ремонтных работ в спиральной
камере, по лопаткам НА
и закладным частям
|
|
|
Лаз в конус отсасывающей трубы (под
РК)
|
Ремонтное освещение при напряжении питания 12 или 36 В. Сжатый воздух давлением 0,6 - 0,8 МПа. Централизованная разводка сварочного тока или сварочная сборка
|
Для обеспечения ремонтных работ на РК и его камере
|
|
|
Монтажная площадка со стороны ВБ и НБ
|
Ремонтное освещение при напряжении питания 12 или 36 В. Сжатый воздух давлением 0,6 - 0,8 МПа. Техническая вода. Централизованная разводка сварочного тока или сварочные сборки**. Электросиловая сборка 380/220 В
|
Для обеспечения ремонтных работ на узлах гидроагрегата, находящихся на монтажной площадке
|
|
|
Места установки оборудования по охлаждению обмоток статора
|
Ремонтное освещение при напряжении питания 12 или 36 В. Сжатый воздух давлением 0,6 - 0,8 МПа. Техническая вода. Централизованная разводка сварочного тока или сварочные сборки. Электросиловая сборка 380/220 В
|
Для выполнения ремонтных работ на оборудовании охлаждения обмоток статора
|
|
|
Место установки оборудования ТВС
|
Ремонтное освещение при напряжении питания 12 или 36 В. Сжатый воздух давлением 0,6 - 0,8
МПа. Централизованная разводка сварочного тока или сварочная сборка
|
Для обеспечения ремонтных работ на оборудовании ТВС агрегата
|
|
|
Компрессорная
|
Ремонтное освещение при
напряжении питания 12 или 36 В. Сжатый воздух
давлением 0,6 - 0,8 МПа. Централизованная разводка сварочного тока или сварочная сборка. Электросиловая сборка 380/220 В
|
Для обеспечения ремонтных работ на компрессорном оборудовании
|
|
|
Помещение (площадка) ЗРУ
|
Сжатый воздух давлением
0,6
- 0,8 МПа.
Централизованная разводка сварочного тока или сварочная сборка
|
Для обеспечения ремонтных работ на оборудовании ЗРУ
|
|
|
Мастерские машинного и электрического цехов
|
Сжатый воздух давлением
0,6
- 0,8 МПа. Техническая вода. Электрическая сборка 380/220 В
|
Для обеспечения выполнения работ в мастерских
|
|
|
Место установки маслоохладителей трансформаторов
|
Сжатый воздух давлением
0,6
- 0,8 МПа. Техническая вода. Электросиловая сборка 380/220 В
|
Для обеспечения ремонтных работ на охладителях трансформаторов
|
|
|
Щитовые помещения механического оборудования (решетки, затворы)
|
Сжатый воздух давлением
0,6
- 0,8 МПа. Техническая вода. Электросиловая сборка 380/220 В
|
Для обеспечения ремонтных работ на щитах механического оборудования
|
|
|
Станционные насосные
|
Ремонтное освещение при
напряжении питания 12 или 36 В. Сжатый воздух
давлением 0,6 - 0,8 МПа.
Электросиловая сборка
380/220 В
|
Для обеспечения ремонтных работ на насосном
оборудовании
|
|
|
Бетонные плотины:
в галереях
|
Сжатый воздух давлением
0,6
- 0,8 МПа. Электросиловая сеть 380/220 В. Электроосвещение при напряжении питания 12 - 24 В. Телефонная и поисковая
связь
|
Для обеспечения эксплуатационно-ремонтного обслуживания галерей и установленного в них
оборудования
|
|
|
на гребне
|
Электросиловая сеть 380/220 В. Электроосвещение при напряжении питания 220 В, Телефонная и поисковая
связь
|
Для обеспечения ремонтных работ на гребне и водосливных гранях плотины
|
|
|
Ремонтные площадки кранов ВБ и НБ
|
Электросиловая сборка 380/220 В. Сжатый воздух давлением 0,6 - 0,8 МПа. Электроосвещение при напряжении питания 220 В
|
Для обеспечения ремонтных работ на кранах
ВБ и НБ
|
|
|
Земляные плотины
|
Поливочный водопровод. Телефонная связь внутристанционной сети
|
Для обеспечения работ по
уходу и ремонту на откосах плотин
|
|
|
Деривационные каналы
|
Телефонная связь внутристанционной сети
|
|
|
|
Примечание. НП - направляющий подлинник; НА - направляющий аппарат; РК - рабочее колесо; ТВС - техническое водоснабжение.
* Одна разводка на два агрегата.
** По одной разводке на каждую сторону.
|
Таблица 19
Примерный перечень средств малой механизации и ориентировочное их количество
|
Наименование
оборудования
|
Тип
|
Единица измерения
|
Количество (шт.) для групп ГЭС мощностью, тыс. кВт
|
|
Св. 3000
|
Св. 1000 до 3000 вкл.
|
Св. 350 до 1000 вкл.
|
Св. 100 до 350 вкл.
|
Св. 30 до 100 вкл.
|
|
Грузоподъемные механизмы
|
|
|
|
|
|
|
|
|
Блоки роликовые и полиспастные различной грузоподъемности (от 0,5 до 20 т)
|
-
|
шт.
|
20
|
18
|
16
|
10
|
8
|
|
Стропы разные диаметром
8,5
- 22 мм
|
-
|
шт.
|
По две штуки каждого типоразмера
|
|
Крюки чалочные грузоподъемностью от 0,5 до 5 т
|
-
|
шт.
|
10
|
10
|
8
|
6
|
4
|
|
Приспособления (восьмерка) для подъема деталей массой 300 - 2500 кг
|
-
|
шт.
|
30
|
25
|
20
|
12
|
10
|
|
Приспособление для подвески
блоков к двутавровой балке
|
-
|
шт.
|
4
|
3
|
2
|
2
|
1
|
|
Домкраты гидравлические различной грузоподъемности от 3 до 100 т
|
дгс
|
шт.
|
18
|
14
|
12
|
8
|
6
|
|
Домкрат винтовой грузоподъемностью до 1 т
|
-
|
шт.
|
4
|
4
|
2
|
2
|
2
|
|
Лебедки ручные различной
грузоподъемностью от 0,5 до 3 т
|
|
шт.
|
8
|
6
|
4
|
3
|
3
|
|
Лебедка ручная грузоподъемностью 300 - 500 кг
|
-
|
шт.
|
2
|
2
|
2
|
2
|
1
|
|
Лебедки электрические различной грузоподъемности
от 0,5
до 3
т
|
-
|
шт.
|
2
|
2
|
2
|
2
|
1
|
|
Тали ручные различной грузоподъемности (от 0,5 до 3 т)
|
-
|
шт.
|
10
|
8
|
6
|
5
|
4
|
|
Тали электрические различной грузоподъемности (от 1 до 3 т)
|
-
|
шт.
|
7
|
6
|
5
|
4
|
3
|
|
Люлька с электроприводом
для отделки фасадов
|
-
|
шт.
|
1
|
1
|
1
|
1
|
1
|
|
Люлька самоподьемная грузоподъемностью 600 кг
|
-
|
шт.
|
1
|
1
|
1
|
-
|
-
|
|
Платформа гидравлическая подъемная
|
-
|
шт.
|
1
|
1
|
1
|
-
|
-
|
|
Тележка ручная грузоподъемностью 1 т
|
-
|
шт.
|
3
|
2
|
2
|
2
|
1
|
|
Тележка ручная с подъемной платформой грузоподъемностью 250 кг
|
-
|
шт.
|
2
|
2
|
2
|
1
|
-
|
|
Тележка транспортная грузоподъемностью 1 т
|
-
|
шт.
|
2
|
2
|
1
|
1
|
-
|
|
Электрокар
|
-
|
шт.
|
1
|
1
|
1
|
1
|
1
|
|
Пневмо- и электроинструмент
|
|
|
|
|
|
|
|
|
Гайковерт пневматический
|
ПСГ-1
|
шт.
|
5
|
4
|
3
|
2
|
2
|
|
Гайковерт электрический
|
ИЭ-3104
|
шт.
|
4
|
3
|
2
|
2
|
1
|
|
Машина сверлильная пневматическая
|
ИП-1011, 1016, 1021 1103
|
шт.
|
5
|
4
|
3
|
2
|
2
|
|
Машина сверлильная электрическая
|
ИЭ-1008, 1015, 1016, 1017, 1024, ОЭС-841
|
шт.
|
8
|
6
|
4
|
3
|
2
|
|
Машина шлифовальная пневматическая
|
ИП-2002, 2003, 2019
|
шт.
|
6
|
5
|
4
|
3
|
2
|
|
Машина шлифовальная электрическая
|
ИЭ-2002, 2004, 2005, 8201 УШЭМ-180
|
шт.
|
2
|
2
|
2
|
1
|
1
|
|
Пневмомолоток
|
КМП-13
|
шт.
|
2
|
2
|
2
|
1
|
1
|
|
Турбина пневматическая для зачистки заусенцев
швов
|
-
|
шт.
|
2
|
2
|
1
|
1
|
1
|
|
Щетка угловая реверсивная
пневматическая
|
-
|
шт.
|
2
|
2
|
2
|
2
|
1
|
|
Ножницы пневматические
|
-
|
шт.
|
2
|
2
|
1
|
1
|
1
|
|
Преобразователь частоты
|
пчс
|
шт.
|
2
|
2
|
2
|
1
|
1
|
|
Ножовка пневматическая
|
-
|
шт.
|
1
|
1
|
1
|
1
|
1
|
|
Передвижная компрессорная станция с компрессором ДК-9
|
-
|
шт.
|
1
|
1
|
1
|
0
|
0
|
|
Компрессор для пневмоинструмента
|
-
|
шт.
|
2
|
2
|
1
|
1
|
1
|
|
Соединение штепсельное
|
ИЭ-9901, 9902, 9903
|
шт.
|
10
|
10
|
8
|
6
|
4
|
|
Провод для электроинструмента
|
ШРПС, КРПТ
|
1 м погонной
длины
|
200
|
200
|
150
|
100
|
60
|
|
Рукав резиновый для пневмоинструмента
|
-
|
1 м погонной
длины
|
200
|
200
|
150
|
100
|
60
|
|
Оборудование для электродуговой и газовой сварки и термообработки
|
|
|
|
|
|
|
|
|
Выпрямитель сварочного тока (тиристорный)
|
ВКСМ-1000-1, ВДМ-1601
|
шт.
|
6
|
5
|
4
|
2
|
1
|
|
Дроссель сварочный
|
РСТЭ-24
|
шт.
|
2
|
2
|
1
|
1
|
1
|
|
Реостат балластный
|
РБ-200, РБ-300
|
шт.
|
10
|
6
|
4
|
2
|
1
|
|
Редуктор кислородный
|
ДКД-8-65, КГД-60, РК-53-БМ
|
шт.
|
10
|
8
|
6
|
4
|
2
|
|
Редуктор пропан-бутановый
|
ПБО-5, ПРД-25, ДПР-64
|
шт.
|
6
|
6
|
4
|
4
|
2
|
|
Вентиль кислородный
|
ВК-63
|
шт.
|
6
|
6
|
4
|
3
|
1
|
|
Пистолет для контактно-точечной сварки
|
ПТД-2
|
шт.
|
2
|
2
|
1
|
1
|
0
|
|
Паяльник электрический
|
-
|
шт.
|
10
|
10
|
8
|
6
|
3
|
|
Резак для газовой резки металла
|
-
|
шт.
|
12
|
10
|
6
|
6
|
4
|
|
Резак для воздушно-дуговой резки металла
|
РВД
|
шт.
|
4
|
3
|
3
|
2
|
1
|
|
Электрододержатель безопасный
|
-
|
шт.
|
10
|
8
|
6
|
4
|
2
|
|
Набор инструмента для электросварщика
|
-
|
компл.
|
10
|
8
|
6
|
4
|
2
|
|
Горелки газовые различные
|
-
|
шт.
|
10
|
8
|
6
|
4
|
4
|
|
Ключ универсальный для газосварщика
|
-
|
шт.
|
10
|
8
|
5
|
3
|
2
|
|
Приспособление для вулканизации местных повреждений
сварочного кабеля
|
-
|
шт.
|
2
|
2
|
1
|
1
|
1
|
|
Клещи для сварки проводов
|
-
|
шт.
|
3
|
3
|
2
|
1
|
1
|
|
Щитки для сварщика
|
-
|
шт.
|
10
|
8
|
6
|
4
|
3
|
|
Очки для сварщика
|
-
|
шт.
|
10
|
8
|
6
|
4
|
3
|
|
Кабель для электродуговой
сварки
|
-
|
1 м погонной
длины
|
500
|
500
|
400
|
300
|
200
|
|
Рукав для газовой сварки металлов
|
-
|
1 м погонной
длины
|
300
|
300
|
200
|
100
|
60
|
|
Баллоны стальные для сжиженных газов
|
-
|
шт.
|
50
|
40
|
30
|
12
|
6
|
|
Тележка для перевозки
баллонов
|
-
|
шт.
|
4
|
4
|
2
|
2
|
1
|
|
Передвижной сварочный агрегат
|
САГ
|
шт.
|
2
|
2
|
1
|
1
|
1
|
|
Оборудование для ремонта электротехнического оборудования
|
|
|
|
|
|
|
|
|
Передвижная электромеханическая мастерская
|
-
|
компл.
|
1
|
1
|
-
|
-
|
-
|
|
Прибор для определения виткового и корпусного замыкания
|
ВКЗ-2
|
шт.
|
3
|
3
|
2
|
2
|
1
|
|
Набор монтерского инструмента
|
МИ-64
|
компл.
|
15
|
10
|
6
|
4
|
4
|
|
Набор слесарно-монтерского
инструмента
|
-
|
компл.
|
20
|
15
|
10
|
10
|
6
|
|
Клещи изолирующие для снятия предохранителей
|
-
|
шт.
|
10
|
8
|
6
|
4
|
2
|
|
Клещи для холодной сварки скруток алюминиевых проводов
|
-
|
шт.
|
2
|
2
|
1
|
1
|
1
|
|
Пресс-клещи для опрессовки медных наконечников
|
ПК-2
|
шт.
|
2
|
2
|
2
|
1
|
1
|
|
Аппарат для индукционного
нагрева подшипников (Ленинградский электромеханический завод)
|
-
|
шт.
|
2
|
2
|
1
|
1
|
1
|
|
Трубогиб с ручным гидроприводом
|
ТГР-3/4, ТГР-2
|
шт.
|
2
|
2
|
1
|
1
|
1
|
|
Шиногиб ручной на ребро
|
-
|
шт.
|
1
|
1
|
1
|
1
|
1
|
|
Шиногиб ручной на плоскость
|
-
|
шт.
|
1
|
1
|
1
|
1
|
1
|
|
Съемник гидравлический универсальный
|
-
|
шт.
|
3
|
3
|
2
|
2
|
1
|
|
Лестница для подъема на железобетонные опоры, раскладывающаяся до 12 м
|
-
|
шт.
|
2
|
2
|
1
|
1
|
1
|
|
Подмости телескопические, высота подъема 6 м
|
ПТ-6
|
шт.
|
2
|
2
|
1
|
1
|
1
|
|
Когти монтерские с ремнями
|
-
|
компл.
|
2
|
2
|
1
|
1
|
1
|
|
Электрокалорифер
|
-
|
шт.
|
8
|
6
|
4
|
2
|
2
|
|
Пылесос
|
-
|
шт.
|
5
|
4
|
3
|
2
|
1
|
|
Прожектор
|
ПЭС-35
|
шт.
|
10
|
10
|
6
|
4
|
2
|
|
Оборудование для ремонта гидротехнических сооружений
|
|
|
|
|
|
|
|
|
Вибраторы глубинные и поверхностные
|
ИВ-2, 17, 27
|
шт.
|
4
|
3
|
3
|
2
|
-
|
|
Бетонолом пневматический
|
ИП-4602
|
шт.
|
2
|
2
|
2
|
1
|
1
|
|
Перфоратор пневматический
|
-
|
шт.
|
2
|
2
|
2
|
1
|
1
|
|
Электротрамбовка для уплотнения грунта
|
ИЭ-4503
|
шт.
|
2
|
2
|
1
|
1
|
-
|
|
Молоток отбойный
|
МО-6К
|
шт.
|
6
|
6
|
4
|
3
|
2
|
|
Пескоструйный аппарат (Новомосковский котельно-механический завод)
|
-
|
шт.
|
1
|
1
|
1
|
1
|
-
|
|
Аппарат переносный пескоструйный (Волжское ПОТО
«Энерготехмаш»)
|
-
|
шт.
|
1
|
1
|
1
|
1
|
-
|
|
Растворонасос
|
СО-69
|
шт.
|
2
|
1
|
1
|
1
|
-
|
|
Растворонасос
|
НГР-250/50А
|
шт.
|
2
|
1
|
1
|
1
|
-
|
|
Насос грязевой подачей
10 м3/ч
|
ГНОМ
|
шт.
|
5
|
3
|
2
|
2
|
1
|
|
Насос грязевой подачей
40 м3/ч
|
ГНОМ
|
шт.
|
2
|
1
|
1
|
1
|
|
|
Мотопомпа
|
М-600
|
шт.
|
2
|
2
|
1
|
-
|
-
|
|
Котел битумоплавильный
|
-
|
шт.
|
2
|
2
|
1
|
1
|
1
|
|
Бадья опрокидывающаяся для бетона (Волжское
ПОТО «Энерготехмаш»)
|
-
|
шт.
|
4
|
4
|
3
|
3
|
2
|
|
Электрокалорифер
|
-
|
шт.
|
4
|
4
|
3
|
3
|
2
|
|
Оборудование и приспособления для ремонта зданий
|
|
|
|
|
|
|
|
|
Агрегат смесительный для штукатурных работ
|
СО-57
|
шт.
|
2
|
1
|
1
|
1
|
-
|
|
Агрегат окрасочный
|
СО-75
|
шт.
|
1
|
1
|
1
|
1
|
-
|
|
Краскопульт
|
С-574, С-4916, СО-20
|
шт.
|
4
|
4
|
3
|
2
|
1
|
|
Краскораспылитель
|
СО-71
|
шт.
|
4
|
4
|
3
|
2
|
1
|
|
Трамбовка электрическая
|
ИЭ-4503
|
шт.
|
1
|
1
|
1
|
1
|
-
|
|
Растворонасос
|
СО-69
|
шт.
|
2
|
2
|
1
|
1
|
-
|
|
Молоток отбойный
|
МО-44, МО-10П, ИЭ-4204
|
шт.
|
2
|
2
|
2
|
1
|
1
|
|
Молоток рубильный
|
М-4, М-5
|
шт.
|
1
|
1
|
1
|
-
|
-
|
|
Пила дисковая электрическая
|
ИЭ-5104
|
шт.
|
3
|
2
|
2
|
1
|
1
|
|
Шуруповерт электрический
|
ИЭ-36а
|
шт.
|
3
|
3
|
2
|
2
|
1
|
|
Электросверло по дереву
|
ИЭ-1801
|
шт.
|
4
|
4
|
3
|
2
|
2
|
|
Рубанок электрический
|
ИЭ-5701, 5705
|
шт.
|
3
|
2
|
1
|
1
|
-
|
|
Машина для шлифовки бетонных и мозаичных полов
|
СО-36
|
шт.
|
1
|
1
|
1
|
1
|
-
|
|
Машина паркетно-строгальная
|
СО-760А
|
шт.
|
1
|
1
|
1
|
-
|
-
|
|
Плиткорез роликовый для
керамических плиток
|
-
|
шт.
|
1
|
1
|
1
|
-
|
-
|
|
Плиткорез рычажный для
глазурованных плиток
|
-
|
шт.
|
1
|
1
|
1
|
-
|
-
|
|
Приспособление для прорезки стыков линолеума
|
-
|
шт.
|
1
|
1
|
1
|
1
|
-
|
|
Приспособление для вырезки канавок в стыках линолеума
|
-
|
шт.
|
1
|
1
|
1
|
1
|
-
|
|
Приспособление для сваривания линолеума
|
-
|
шт.
|
1
|
1
|
1
|
1
|
-
|
|
Приспособление для шлифовки стен
|
-
|
шт.
|
1
|
1
|
1
|
1
|
-
|
|
Приспособление для окраски труб
|
-
|
шт.
|
2
|
2
|
1
|
1
|
-
|
|
Приспособление для окраски тыльной стороны
труб
|
-
|
шт.
|
3
|
2
|
1
|
1
|
-
|
|
Валики малярные
|
-
|
шт.
|
30
|
30
|
20
|
20
|
10
|
|
Вышка-столик для отделочных работ
|
-
|
шт.
|
2
|
2
|
1
|
1
|
1
|
|
Леса подвесные, складывающиеся в пакет
|
-
|
шт.
|
2
|
2
|
1
|
1
|
-
|
|
Весы торговые до 200 кг
|
-
|
шт.
|
2
|
2
|
2
|
1
|
1
|
|
Оборудование и приспособления разного назначения
|
|
|
|
|
|
|
|
|
Вулканизатор для вулканизации листовой резины толщиной от 2 до 8 мм
|
-
|
шт.
|
2
|
2
|
1
|
1
|
1
|
|
Вулканизатор для вулканизации резинового шнура диаметром 6 - 18 мм
|
-
|
шт.
|
2
|
2
|
1
|
1
|
1
|
|
Приспособление для гибки
труб, листового и сортового проката
|
ДП-180
|
шт.
|
2
|
2
|
1
|
1
|
1
|
|
Труборез переносный для труб диаметром 32 - 108 мм
|
ПТМ-32-60, ПТМ-76-108
|
шт.
|
2
|
2
|
1
|
1
|
1
|
|
Насос гидравлический, ручной на давление нагнетания 150 кгс/см3
|
ГМ-017
|
шт.
|
3
|
3
|
2
|
1
|
1
|
|
Шприц ручной поршневой
для смазки подшипников
|
ШТР-250
|
шт.
|
4
|
3
|
2
|
2
|
1
|
|
Динамометр общего назначения 0 - 35 тс
|
-
|
шт.
|
4
|
3
|
2
|
2
|
2
|
5.
ОРГАНИЗАЦИИ ЭКСПЛУАТАЦИИ В ПУСКОВОЙ ПЕРИОД
5.1.
Численность промышленно-производственного персонала
5.1.1. Численность ППП ГЭС для первого года временной эксплуатации определяется по действующим нормативам численности с учетом снижения их за счет планируемого повышения производительности труда, в зависимости от количества гидроагрегатов, введенных в эксплуатацию на конец года. Если первые гидроагрегаты вводятся в работу в конце пускового года, то за первый год временной эксплуатации принимается последующий год.
5.1.2. Численность ППП ГЭС для последующих лет временной эксплуатации определяется по тем же нормативам в зависимости от количества введенных в эксплуатацию гидроагрегатов к концу данного года.
5.1.3. На период освоения гидроагрегатов впервые вводимой серии численность ППП ГЭС может быть увеличена по сравнению с нормативной. Продолжительность периода доводки оборудования и пределы увеличения численности персонала должны определяться Минэнерго СССР индивидуально для каждой вводимой гидроэлектростанции.
5.2.
Пример штатного расписания первого года эксплуатации
5.2.1. Штатное расписание первого года временной эксплуатации составляется в соответствии с организационной структурой управления ГЭС, принятой для периода нормальной эксплуатации. Примерное штатное расписание для первого года эксплуатации приведено в табл. 20.
При этом предполагается выполнить полный объем строительно-монтажных работ, предусмотренных пусковым комплексом, а также ввести автоматику, предусмотренную проектом.
5.2.2. Распределение работников по отделам и производственным подразделениям ГЭС в конкретных условиях производится директором ГЭС в пределах нормативной численности ППП, рассчитанной для условий ввода первого агрегата.
Таблица 20
Примерное штатное расписание для первого года эксплуатации
|
Наименование
структурных подразделений
должностей, профессий
|
Количество штатных единиц для групп ГЭС мощностью, тыс. кВт
|
|
Св. 3000
|
Св. 1000 до 3000 вкл.
|
Св. 350 до 1000 вкл.
|
Св. 100 до 350 вкл.
|
Св. 30 до 100 вкл.
|
|
АУП
|
|
|
|
|
|
|
Директор
|
1
|
1
|
1
|
1
|
-
|
|
Начальник ГЭС
|
-
|
-
|
-
|
-
|
1
|
|
Главный инженер
|
1
|
1
|
1
|
-
|
-
|
|
Заместитель директора по кадрам
|
1
|
1
|
-
|
-
|
|
|
Заместитель директора по общим вопросам
|
1
|
1
|
-
|
-
|
-
|
|
Инженер I (II) категории по эксплуатации и технике безопасности
|
1
|
1
|
1
|
1
|
-
|
|
Старший инспектор по
кадрам, ГО и спецработе
|
1
|
1
|
1
|
-
|
-
|
|
Юрисконсульт
|
1
|
1
|
1
|
-
|
-
|
|
Секретарь-машинистка
|
1
|
1
|
1
|
-
|
-
|
|
ПТО
|
|
|
|
|
|
|
Начальник отдела
|
1
|
1
|
1
|
1
|
-
|
|
Заместитель начальника отдела
|
1
|
1
|
-
|
-
|
-
|
|
Инженер I (II) категории
|
1
|
1
|
-
|
-
|
-
|
|
Инженер по электротехническому оборудованию
|
1
|
1
|
1
|
1
|
-
|
|
Инженер по гидротурбинному оборудованию
|
1
|
1
|
1
|
1
|
-
|
|
Инженер по гидротехническим сооружениям
|
1
|
1
|
1
|
1
|
-
|
|
Инженер I (II) категории по рационализации и изобретательству
|
1
|
1
|
-
|
-
|
-
|
|
Инженер-экономист I (II) категории
|
1
|
1
|
-
|
-
|
-
|
|
Инженер-экономист
|
1
|
1
|
1
|
1
|
-
|
|
Оператор множительных машин
|
1
|
1
|
1
|
1
|
-
|
|
Инженер-конструктор
|
1
|
1
|
1
|
1
|
-
|
|
Техник
|
1
|
1
|
1
|
1
|
-
|
|
ОМТС и АХО
|
|
|
|
|
|
|
Начальник отдела
|
1
|
1
|
1
|
1
|
-
|
|
Заместитель начальника отдела
|
1
|
1
|
-
|
-
|
-
|
|
Инженер I (II) категории по оборудованию и запчастям
|
1
|
1
|
1
|
1
|
-
|
|
Заведующий хозяйством
|
1
|
1
|
1
|
1
|
-
|
|
Агент-экспедитор по снабжению
|
1
|
1
|
-
|
-
|
-
|
|
Инспектор-делопроизводитель
|
1
|
1
|
-
|
-
|
-
|
|
Телеграфистка
|
1
|
1
|
-
|
-
|
-
|
|
Машинистка I (II) категории
|
1
|
1
|
1
|
1
|
-
|
|
Кладовщик
|
1
|
1
|
1
|
1
|
-
|
|
Грузчик
|
1
|
1
|
-
|
-
|
-
|
|
Уборщик служебных помещений
|
1
|
1
|
1
|
1
|
-
|
|
Бухгалтерия
|
|
|
|
|
|
|
Ведущий бухгалтер
|
1
|
1
|
1
|
1
|
-
|
|
Бухгалтер I (II) категории
|
1
|
1
|
-
|
-
|
-
|
|
Бухгалтер
|
1
|
1
|
1
|
1
|
-
|
|
Кассир
|
1
|
1
|
1
|
1
|
-
|
|
окC
|
|
|
|
|
|
|
Начальник отдела
|
Численный состав отдела определяется
с учетом годового объема строительно-монтажных работ и среднегодовой стоимости комплектующего оборудования
|
|
Машинистка
|
|
|
|
|
|
|
Архивариус
|
|
|
|
|
|
|
Ведущий инженер по технической инспекции
|
|
|
|
|
|
|
Инженер I (II) категории по технической инспекции
|
|
|
|
|
|
|
Инженер по технической
инспекции
|
|
|
|
|
|
|
Инженер I (II) категории по подготовке зоны затопления
|
|
|
|
|
|
|
Инженер по контролю за установкой КИА
|
|
|
|
|
|
|
Инженер-геодезист
|
|
|
|
|
|
|
Техник-геодезист
|
|
|
|
|
|
|
Рабочий геодезической группы
|
|
|
|
|
|
|
Инженер-сметчик I (II) категории
|
|
|
|
|
|
|
Инженер-сметчик
|
|
|
|
|
|
|
Ведущий инженер по комплектации оборудования
|
|
|
|
|
|
|
Инженер I (II) категории по оборудованию
|
|
|
|
|
|
|
Инженер по оборудованию
|
|
|
|
|
|
|
Техник
|
|
|
|
|
|
|
Заведующий складом
|
|
|
|
|
|
|
Бухгалтер I (II) категории по оборудованию
|
|
|
|
|
|
|
Рабочий склада
|
|
|
|
|
|
|
Производственные подразделения
|
|
|
|
|
|
|
Электрический цех
|
|
|
|
|
|
|
Начальник цеха
|
1
|
1
|
-
|
-
|
-
|
|
Заместитель начальника цеха по ремонту и эксплуатации силового электротехнического оборудования
|
1
|
1
|
-
|
-
|
-
|
|
Заместитель начальника цеха по вторичным цепям (он же начальник
ЭТЛ)
|
1
|
1
|
-
|
-
|
-
|
|
Техник по документации
|
1
|
1
|
-
|
-
|
-
|
|
Кладовщик
|
1
|
1
|
-
|
-
|
-
|
|
Уборщик производственных помещений
|
1
|
1
|
-
|
-
|
-
|
|
Участок по эксплуатации и ремонту генераторов
|
|
|
|
|
|
|
Старший мастер (мастер)
|
1
|
1
|
-
|
-
|
-
|
|
Электрослесарь
|
8 - 10
|
5 - 8
|
-
|
-
|
-
|
|
Газоэлектросварщик
|
1
|
1
|
-
|
-
|
-
|
|
Участок по эксплуатации и ремонту трансформаторов
|
|
|
|
|
|
|
Старший мастер (мастер)
|
1
|
1
|
-
|
-
|
-
|
|
Электрослесарь
|
8 - 10
|
5 - 8
|
-
|
-
|
-
|
|
Регенераторщик масла
|
1
|
1
|
-
|
-
|
-
|
|
Участок по эксплуатации и ремонту оборудования собственных нужд
|
|
|
|
|
|
|
Старший мастер (мастер)
|
1
|
1
|
-
|
-
|
-
|
|
Электрослесарь
|
2 - 3
|
1 - 2
|
-
|
-
|
-
|
|
Электромонтер-кабельщик
|
2 - 4
|
1 - 3
|
-
|
-
|
-
|
|
Электромонтер по обслуживанию электрооборудования
|
5 - 8
|
4 - 5
|
-
|
-
|
-
|
|
Аккумуляторщик
|
1
|
1
|
-
|
-
|
-
|
|
Участок по эксплуатации и ремонту оборудования ОРУ
|
|
|
|
|
|
|
Старший мастер (мастер)
|
1
|
1
|
-
|
-
|
-
|
|
Электрослесарь
|
5 - 8
|
4 - 5
|
-
|
-
|
-
|
|
Электротехническая лаборатория
|
|
|
|
|
|
|
Начальник лаборатории (он же заместитель начальника цеха по вторичным цепям)
|
|
|
|
|
|
|
Группа релейной защиты и автоматики ГЭС
|
|
|
|
|
|
|
Инженер I (II) категории
|
1
|
1
|
-
|
-
|
-
|
|
Инженер
|
2 - 3
|
2 - 3
|
-
|
-
|
-
|
|
Электромонтер
|
7 - 10
|
4 - 7
|
-
|
-
|
-
|
|
Группа релейной защиты и автоматики ОРУ
|
|
|
|
|
|
|
Инженер I (II) категории
|
1
|
1
|
-
|
-
|
-
|
|
Инженер
|
2 - 3
|
2 - 3
|
-
|
-
|
-
|
|
Электромонтер
|
7 - 10
|
4 - 7
|
-
|
-
|
-
|
|
Группа измерений
|
|
|
|
|
|
|
Инженер I (II) категории
|
1
|
1
|
-
|
-
|
-
|
|
Инженер
|
2 - 3
|
2 - 3
|
-
|
-
|
-
|
|
Электромонтер
|
7 - 10
|
4 - 7
|
-
|
-
|
-
|
|
Группа высоковольтных испытаний
|
|
|
|
|
|
|
Инженер I (II) категории
|
1
|
1
|
-
|
-
|
-
|
|
Инженер
|
2 - 3
|
1 - 2
|
-
|
-
|
-
|
|
Электромонтер
|
5 - 6
|
3 - 6
|
-
|
-
|
-
|
|
Химическая лаборатория
|
|
|
|
|
|
|
Инженер I (II) категории
|
1
|
1
|
-
|
-
|
-
|
|
Лаборант
|
1
|
1
|
-
|
-
|
-
|
|
Участок средств диспетчерского и технологического управления
|
|
|
|
|
|
|
Старший мастер (мастер)
|
1
|
1
|
-
|
-
|
-
|
|
Инженер I (II) категории
|
1
|
1
|
-
|
-
|
-
|
|
Инженер
|
2 - 3
|
2 - 3
|
-
|
-
|
-
|
|
Электромонтер-линейщик
|
7 - 10
|
4 - 7
|
-
|
-
|
-
|
|
Электромонтер стационарных устройств
|
3 - 7
|
3 - 7
|
-
|
-
|
-
|
|
Электромонтер-кабельщик
|
3 - 7
|
3 - 7
|
-
|
-
|
-
|
|
Телефонист
|
1 - 3
|
1 - 3
|
-
|
-
|
-
|
|
Машинный цех
|
|
|
|
|
|
|
Начальник цеха
|
1
|
1
|
-
|
-
|
-
|
|
Заместитель начальника цеха по ремонту оборудования
|
1
|
1
|
-
|
-
|
-
|
|
Техник по документации
|
1
|
1
|
-
|
-
|
-
|
|
Уборщик производственных помещений
|
1
|
1
|
-
|
-
|
-
|
|
Кладовщик
|
1
|
1
|
-
|
-
|
-
|
|
Участок по эксплуатации и ремонту основного гидросилового оборудования
|
|
|
|
|
|
|
Старший мастер (мастер)
|
1
|
1
|
-
|
-
|
-
|
|
Слесарь
|
5 - 8
|
4 - 6
|
-
|
-
|
-
|
|
Участок по эксплуатации и ремонту регуляторного оборудования гидротурбин
|
|
|
|
|
|
|
Старший мастер (мастер)
|
1
|
1
|
-
|
-
|
-
|
|
Слесарь
|
5 - 8
|
4 - 6
|
-
|
-
|
-
|
|
Участок по эксплуатации и ремонту вспомогательного оборудования гидротурбин
|
|
|
|
|
|
|
Старший мастер (мастер)
|
1
|
1
|
-
|
-
|
-
|
|
Слесарь
|
5 - 8
|
4 - 6
|
-
|
-
|
-
|
|
Машинист насосных установок
|
1 - 2
|
1 - 2
|
-
|
-
|
-
|
|
Участок по эксплуатации и ремонту оборудования сантехники, вентиляции и отопления
|
|
|
|
|
|
|
Старший мастер (мастер)
|
1
|
1
|
-
|
-
|
-
|
|
Слесарь
|
4 - 6
|
3 - 5
|
-
|
-
|
-
|
|
Слесарь-сантехник
|
2 - 4
|
2 - 3
|
-
|
-
|
-
|
|
Участок по эксплуатации и ремонту механического оборудования ГТС
|
|
|
|
|
|
|
Старший мастер (мастер)
|
1
|
1
|
-
|
-
|
-
|
|
Слесарь
|
4 - 6
|
3 - 5
|
-
|
-
|
-
|
|
Газоэлектросварщик
|
1
|
1
|
-
|
-
|
-
|
|
Машинист крана
|
2
|
2
|
-
|
-
|
-
|
|
Электромеханик по подъемным механизмам, лифтам
|
1 - 2
|
1 - 2
|
-
|
|
-
|
|
Такелажник
|
1
|
1
|
-
|
-
|
-
|
|
Механическая мастерская
|
|
|
|
|
|
|
Старший мастер (мастер)
|
1
|
1
|
-
|
-
|
-
|
|
Слесарь
|
2 - 4
|
1 - 3
|
-
|
-
|
-
|
|
Станочник
|
2 - 4
|
1 - 3
|
-
|
-
|
-
|
|
Газоэлектросварщик
|
1 - 2
|
1 - 2
|
-
|
-
|
-
|
|
Гидротехнический цех
|
|
|
|
|
|
|
Начальник цеха
|
1
|
1
|
1
|
1
|
-
|
|
Заместитель начальника цеха по надзору за сооружениями
|
1
|
1
|
1
|
1
|
-
|
|
Техник по документации
|
1
|
1
|
1
|
1
|
-
|
|
Кладовщик
|
1
|
1
|
1
|
1
|
-
|
|
Уборщик производственных помещений
|
1
|
1
|
1
|
1
|
-
|
|
Группа наблюдений за гидротехническими сооружениями
|
|
|
|
|
|
|
Руководитель группы (он
же заместитель начальника цеха)
|
|
|
|
|
|
|
Инженер
|
1
|
1
|
1
|
1
|
-
|
|
Инженер-гидротехник I (II) категории
|
1
|
1
|
1
|
1
|
-
|
|
Пьезометрист-обходчик
|
1 - 2
|
1 - 2
|
1
|
1
|
-
|
|
Участок по эксплуатации и ремонту гидротехнических сооружений и производственных зданий
|
|
|
|
|
|
|
Мастер
|
1
|
1
|
1
|
1
|
-
|
|
Штукатур-маляр
|
1
|
1
|
1
|
1
|
-
|
|
Такелажник
|
1
|
1
|
1
|
1
|
-
|
|
Облицовщик-плиточник
|
1
|
1
|
1
|
1
|
-
|
|
Водная группа
|
|
|
|
|
|
|
Мастер
|
1
|
1
|
1
|
-
|
-
|
|
Капитан
|
1
|
1
|
1
|
-
|
-
|
|
Матрос
|
2
|
2
|
2
|
-
|
-
|
|
Водолаз
|
2
|
2
|
2
|
-
|
-
|
|
Моторист
|
1
|
1
|
1
|
-
|
-
|
|
Электромашинный цех
|
|
|
|
|
|
|
Начальник цеха
|
-
|
-
|
1
|
1
|
-
|
|
Заместитель начальника цеха
|
-
|
-
|
1
|
1
|
-
|
|
Техники по документации
|
-
|
-
|
1
|
1
|
-
|
|
Кладовщик
|
-
|
-
|
1
|
1
|
-
|
|
Уборщик
производственных помещений
|
-
|
-
|
1
|
1
|
-
|
|
Участок по эксплуатации и ремонту основного электротехнического оборудования
|
|
|
|
|
|
|
Старший мастер (мастер)
|
-
|
-
|
1
|
1
|
-
|
|
Электрослесарь
|
-
|
-
|
3 - 5
|
2 - 3
|
-
|
|
Газоэлектросварщик
|
-
|
-
|
1
|
1
|
-
|
|
Регенераторщик масла
|
-
|
-
|
1
|
1
|
-
|
|
Электромонтер-кабельщик
|
-
|
-
|
1 - 2
|
1
|
-
|
|
Электромонтер по обслуживанию электрооборудования
|
-
|
-
|
3 - 5
|
2 - 3
|
-
|
|
Аккумуляторщик
|
-
|
-
|
1
|
1
|
-
|
|
Участок по эксплуатации и ремонту устройств релейной зашиты, автоматики, измерений, средств связи и химическая лаборатория
|
|
|
|
|
|
|
Инженер I (II) категории
|
-
|
-
|
1
|
1
|
-
|
|
Инженер
|
-
|
-
|
1
|
1
|
-
|
|
Электромонтер
|
-
|
-
|
3 - 5
|
2 - 3
|
-
|
|
Электромонтер-кабельщик
|
-
|
-
|
3 - 5
|
2 - 3
|
-
|
|
Электромонтер-линейщик
|
-
|
-
|
3 - 5
|
2 - 3
|
-
|
|
Лаборант химического анализа
|
-
|
-
|
1
|
1
|
-
|
|
Телефонист
|
-
|
-
|
1
|
1
|
-
|
|
Участок по эксплуатации и ремонту основного гидротурбинного оборудования
|
|
|
|
|
|
|
Старший мастер (мастер)
|
-
|
-
|
1
|
1
|
-
|
|
Слесарь
|
-
|
-
|
3 - 5
|
2 - 3
|
-
|
|
Участок по эксплуатации и ремонту вспомогательного
оборудования и механического оборудования
|
|
|
|
|
|
|
Мастер
|
-
|
-
|
1
|
1
|
-
|
|
Слесарь
|
-
|
-
|
3 - 5
|
2 - 3
|
-
|
|
Газоэлектросварщик
|
-
|
-
|
1
|
1
|
-
|
|
Станочник
|
-
|
-
|
1
|
1
|
-
|
|
Электромеханик по подъемным механизмам, лифтам
|
-
|
-
|
1
|
1
|
-
|
|
Машинист крана
|
-
|
-
|
2
|
1
|
-
|
|
Слесарь-сантехник
|
-
|
-
|
1 - 2
|
1 - 2
|
-
|
|
Такелажник
|
-
|
-
|
1
|
1
|
-
|
|
Группа оперативного персонала
|
Штаты оперативного персонала ГЭС приведены в табл. 3
|
|
Цех технологической
автоматики и связи*
|
|
|
|
|
|
|
Начальник цеха
|
1
|
1
|
-
|
-
|
-
|
|
Заместитель начальника цеха по техническому обслуживанию и ремонту устройств РЗАИ
|
1
|
1
|
-
|
-
|
-
|
|
Техник по документации
|
1
|
1
|
-
|
-
|
-
|
|
Кладовщик
|
1
|
1
|
-
|
-
|
-
|
|
Уборщик производственных помещений
|
1
|
1
|
-
|
-
|
-
|
|
Местная служба релейной защиты, автоматики и измерений
|
|
|
|
|
|
|
Начальник службы (он же заместитель начальника цеха по РЗАИ)
|
|
|
|
|
|
|
Электротехническая лаборатория
|
|
|
|
|
|
|
Ведущий инженер-руководитель ЭТЛ
|
1
|
1
|
-
|
-
|
-
|
|
Группа релейной защиты и автоматики ГЭС
|
|
|
|
|
|
|
Инженер I (II) категории
|
1
|
1
|
-
|
-
|
-
|
|
Инженер
|
2 - 3
|
2 - 3
|
-
|
-
|
-
|
|
Электромонтер
|
7 - 10
|
4 - 7
|
-
|
-
|
-
|
|
Группа релейной защиты и автоматики ОРУ
|
|
|
|
|
|
|
Инженер I (II) категории
|
1
|
1
|
-
|
-
|
-
|
|
Инженер
|
2 - 3
|
2 - 3
|
-
|
-
|
-
|
|
Электромонтер
|
7 - 10
|
4 - 7
|
-
|
-
|
-
|
|
Группа измерений
|
|
|
|
|
|
|
Инженер I (II) категории
|
1
|
1
|
-
|
-
|
-
|
|
Инженер
|
2 - 3
|
2 - 3
|
-
|
-
|
-
|
|
Электромонтер
|
7 - 10
|
4 - 7
|
-
|
-
|
-
|
|
Группа высоковольтных испытаний
|
|
|
|
|
|
|
Инженер I (II) категории
|
1
|
1
|
-
|
-
|
-
|
|
Инженер
|
2 - 3
|
1 - 2
|
-
|
-
|
-
|
|
Электромонтер
|
5 - 8
|
3 - 6
|
-
|
-
|
-
|
|
Химическая лаборатория
|
|
|
|
|
|
|
Инженер I (II) категории
|
1
|
1
|
-
|
-
|
-
|
|
Лаборант химического анализа
|
1
|
1
|
-
|
-
|
-
|
|
Участок средств диспетчерского и технологического управления
|
|
|
|
|
|
|
Старший мастер - руководитель участка СДТУ
|
1
|
1
|
-
|
-
|
-
|
|
Мастер
|
1
|
1
|
-
|
-
|
-
|
|
Инженер I (II) категории
|
1
|
1
|
-
|
-
|
-
|
|
Инженер
|
1 - 2
|
1 - 2
|
-
|
-
|
-
|
|
Электромонтер-линейщик
|
5 - 8
|
3 - 6
|
-
|
-
|
-
|
|
Электромонтер станционных устройств
|
3 - 6
|
3 - 6
|
-
|
-
|
-
|
|
Электромонтер-кабельщик
|
3 - 6
|
3 - 6
|
-
|
-
|
-
|
|
Телефонист
|
1 - 2
|
1 - 2
|
-
|
-
|
-
|
|
Участок электромашинного оборудования
|
|
|
|
|
|
|
Старший мастер
|
-
|
-
|
-
|
-
|
1
|
|
Мастер
|
-
|
-
|
-
|
-
|
1
|
|
Инженер
|
-
|
-
|
-
|
-
|
1
|
|
Электрослесарь
|
-
|
-
|
-
|
-
|
2 - 3
|
|
Электромонтер
|
-
|
-
|
-
|
-
|
2 - 3
|
|
Газоэлектросварщик
|
-
|
-
|
-
|
-
|
1
|
|
Лаборант химического анализа
|
-
|
-
|
-
|
-
|
1
|
|
Кладовщик
|
-
|
-
|
-
|
-
|
1
|
|
Уборщик производственных помещений
|
-
|
-
|
-
|
-
|
1
|
|
Участок гидротехнических сооружений
|
|
|
|
|
|
|
Мастер
|
-
|
-
|
-
|
-
|
1
|
|
Штукатур-маляр
|
-
|
-
|
-
|
-
|
1
|
|
Кладовщик
|
-
|
-
|
-
|
-
|
1
|
|
Уборщик производственных помещений
|
-
|
-
|
-
|
-
|
1
|
|
Автотранспортный участок
|
|
|
|
|
|
|
Заведующий гаражом
|
1
|
1
|
1
|
-
|
-
|
|
Диспетчер
|
1
|
1
|
-
|
-
|
-
|
|
Механик
|
1 - 2
|
1 - 2
|
1
|
1
|
1
|
|
Слесарь
|
2 - 3
|
2 - 3
|
1 - 2
|
1 - 2
|
1
|
|
Водитель
|
8 - 12
|
8 - 12
|
5 - 3
|
3 - 6
|
2 - 4
|
|
Кладовщик
|
1
|
1
|
1
|
1
|
1
|
|
Уборщик производственных помещений
|
1
|
1
|
1
|
1
|
1
|
|
* При организации цеха технологической
автоматики и связи соответствующие подразделения в составе электрического
цеха не предусматриваются.
|
5.3.
Комплектование и подготовка кадров
5.3.1. Комплектование кадров в целях обеспечения необходимой подготовки персонала для эксплуатации оборудования вновь вводимых гидроэлектростанций начинается за 6 мес до пуска первого агрегата. К моменту пуска первого агрегата штат персонала ГЭС должен быть укомплектован в соответствии с расчетной нормативной численностью персонала, необходимой для обслуживания гидроэлектростанции при одном введенном агрегате.
Комплектование руководящего состава цехов и служб, старших мастеров и инженеров рекомендуется производить из числа специалистов, имеющих опыт работы по эксплуатации гидроэлектростанций.
Штат слесарей, электрослесарей, электромонтеров, монтеров связи комплектуется из выпускников ПТУ, рабочих строительных и монтажных организаций.
5.3.2. Подготовка руководителей цехов, служб и других ведущих специалистов производится по индивидуальным планам-программам. Для ознакомления с проектом ГЭС и конструкцией оборудования организуется цикл лекций с привлечением специалистов проектной организации, заводов-изготовителей оборудования, строительных, монтажных и наладочных организаций.
Руководители цехов, служб и другие ведущие специалисты цехов в период подготовки командируются на родственные гидроэлектростанции для изучения опыта эксплуатации этих ГЭС.
5.3.3. Рабочие, зачисленные на должности слесарей, электрослесарей, электромонтеров и монтеров связи, для стажировки используются на монтажных и наладочных работах. Для их подготовки организуются трехмесячные курсы по отдельным специальностям, на которых изучаются ПТЭ, ПТБ, конструкция и схемы оборудования, организация и технология ремонта оборудования. По окончании курсов проводятся экзамены, по результатам которых устанавливаются разряды и выдаются удостоверения по ТЕ, в которые заносятся результаты проверки ПТЭ.
5.4.
Подготовка оперативного персонала
5.4.1. Начальников смен ГЭС рекомендуется назначать из числа специалистов, имеющих опыт работы по эксплуатации ГЭС. На должности начальников смен машинного зала и дежурных инженеров ОРУ могут назначаться молодые специалисты.
Штат дежурных машинистов гидроагрегатов и электромонтеров ГЩУ комплектуется из рабочих, имеющих опыт работы на других ГЭС, а также оканчивающих техникумы и ПТУ энергетического профиля.
5.4.2. Для подготовки начальников смен ГЭС, начальников смен машинного зала и дежурных инженеров ОРУ организуются трех четырехмесячные курсы для изучения ПТЭ, ПТБ, конструкции оборудования, схем первичной и вторичной коммутации, устройств защиты, автоматики и управления, связи, организации диспетчерского управления, водного хозяйства и сооружений. По окончании курсов проводится проверка знаний, экзамен по ТБ для выдачи удостоверений, а затем кандидаты на должности руководящего оперативного персонала направляются на двух трехмесячную стажировку на родственные ГЭС.
5.4.3. Для подготовки дежурных машинистов гидроагрегатов и дежурных электромонтеров ГЩУ организуются двух-трехмесячные курсы. В программу курсов включается изучение ПТЭ, ПТБ, конструкции оборудования, схем первичной и вторичной коммутации. По окончании курсов проводится проверка знаний, экзамен по ТБ с выдачей удостоверений, а затем отобранные кандидаты направляются на стажировку на родственные ГЭС на 1 мес.
5.4.4. За 1 мес. до пуска первого агрегата оперативный персонал работает в течение двух недель на монтаже гидроагрегата рабочими, а за две недели до пуска устанавливается регулярное дежурство всех смен и вахт для обеспечения работы строительно-монтажных бригад на участках пускового комплекса по нарядам-допускам.
Для оперативного персонала подготавливаются временные рабочие места:
для начальника смены ГЭС в помещении ГЩУ, а при неготовности ГЩУ - в помещении щитового блока ОРУ или на временном рабочем месте начальника смены машинного зала; временное рабочее место начальника смены ГЭС оборудуется всеми видами оперативной связи, в том числе и оперативной связью с диспетчером энергосистемы;
временное рабочее место начальника смены машинного зала располагается в машинном зале между первым и вторым агрегатами (по порядку пуска); для рабочего места оборудуется застекленная кабина со звукоизоляцией;
временное рабочее место дежурного инженера ОРУ оборудуется в здании щитового блока.
5.5.
Подготовка помещений, мастерских, лабораторий
5.5.1. К моменту пуска первого агрегата должны быть завершены строительно-монтажные работы и выполнено оснащение всех мастерских и лабораторий, предусмотренных проектом организации эксплуатации ГЭС, в полном объеме.
6.
РЕКОМЕНДАЦИИ ПО УЧЕТУ МЕСТНЫХ УСЛОВИЙ ПРОЕКТИРУЕМОЙ ГИДРОЭЛЕКТРОСТАНЦИИ
6.1. При проектировании ГЭС в районах Крайнего Севера и местностях, приравненных к ним, в труднодоступных горных районах и удаленных на большие расстояния от РЭУ (ПЭО), складских и ремонтных баз энергосистемы рекомендуется предусматривать:
организационную структуру управления ГЭС на одну группу по остановленной мощности выше той, к какой относится ГЭС фактически;
увеличенные площади мастерских и складских помещений (в том числе закрытых складов), гаража (в том числе крытых боксов);
большее количество станочного оборудования для оснащения мастерских и гаража (в том числе механизмов по снегоуборке);
увеличенную численность персонала, необходимого для проведения ремонтов оборудования.
6.2. Для гидроэлектростанций, расположенных на реках со сплавом леса и в местностях с концентрацией торфяных болот, необходимо предусматривать:
повышенное количество сороудерживающих устройств и средств, необходимых для переработки плавающей древесины и отходов от нее, торфяных островов;
дополнительную численность персонала, необходимого для борьбы с торфяными плавучими островами.
6.3. Для гидроэлектростанций подземного типа рекомендуется предусматривать:
организационную структуру управления ГЭС на одну группу по установленной мощности выше той, к какой относится ГЭС фактически;
увеличенную (за счет сокращенного рабочего дня) численность
эксплуатационного и ремонтного персонала;
спецкабинеты при здравпунктах для принятия персоналом кварцевых облучений и прочих процедур.
СОДЕРЖАНИЕ