|
|
|
РОССИЙСКОЕ АКЦИОНЕРНОЕ ОБЩЕСТВО ЭНЕРГЕТИКИ И ЭЛЕКТРИФИКАЦИИ «ЕЭС РОССИИ» ДЕПАРТАМЕНТ НАУЧНО-ТЕХНИЧЕСКОЙ ПОЛИТИКИ И РАЗВИТИЯ
РЕКОМЕНДАЦИИ ПО ОПРЕДЕЛЕНИЮ НОРМАТИВНЫХ РЕЖИМНЫХ ХАРАКТЕРИСТИК СИСТЕМ ТЕПЛОСНАБЖЕНИЯ И НОРМАТИВНОЙ ГИДРАВЛИЧЕСКОЙ ЭНЕРГЕТИЧЕСКОЙ ХАРАКТЕРИСТИКИ ТЕПЛОВЫХ СЕТЕЙ (в трех частях) РД 153-34.0-20.529-2001 Москва 2002
СОДЕРЖАНИЕ Разработано Открытым акционерным обществом «Фирма по наладке, совершенствованию технологии и эксплуатации электростанций и сетей ОРГРЭС» Исполнители Я.И. КАПЛИНСКИЙ, Е.М. ШМЫРЕВ, Г.Я. ТРЕТИЛЕВИЧ, Л.В. ЮХИНА, Е.И. ЧУНЧИНОВ Утверждено Департаментом научно-технической политики и развития РАО «ЕЭС России» 15.10.2001 г. Первый заместитель начальника А.П. ЛИВИЙСКИЙ
Срок первой проверки настоящего РД - 2006 г., периодичность проверки - один раз в 5 лет. Ключевые слова: нормативная режимная характеристика, удельный расход сетевой воды, удельный расход электроэнергии на транспорт тепловой энергии, разность температур сетевой воды.
Дата введения 2002-04-01 год-месяц-число
Настоящие Рекомендации включают в себя доступные для пользователей технологические алгоритмы и примеры расчетов нормативных режимных характеристик открытых и закрытых систем теплоснабжения по показателям «удельный расход сетевой воды в системах теплоснабжения», «разность температур сетевой воды в подающей и обратной линиях систем теплоснабжения» и нормативной гидравлической энергетической характеристики тепловых сетей по показателю «удельный расход электроэнергии на транспорт тепловой энергии в тепловых сетях». Рекомендации разработаны на основании «Методических указаний по составлению энергетических характеристик для систем транспорта тепловой энергии (в трех частях): РД 153-34.0-20.523-98» (М: СПО ОРГРЭС, 1999) и позволяют осуществить их практическое использование. Рекомендации предназначены для организаций РАО «ЕЭС России», эксплуатирующих тепловые сети, - предприятий тепловых сетей и цехов тепловых сетей электростанций. Часть I
|
|||||||||||||||||||||||||||||||||||||||||||||||||||||||||||||||||||||||||||||||||||||||||||||||||||||||||||||||||||||||||||||||||||||||||||||||||||||||||||||||||||||||||||||||||||||||||||||||||||||||||||||||||||||||||||||||||||||||||||||||||||||||||||||||||||||||||||||||||||||||||||||||||||||||||||||||||||||||||||||||||||||||||||||||||||||||||||||||||||||||||||||||||||||||||||||||||||||||||||||||||||||||||||||||||||||||||||||||||||||||||||||||||||||||||||||||||||||||||||||||||||||||||||||||||||||||||||||||||||||||||||||||||||||||||||||||||||||||||||||||||||||||||||||||||||||||||||||||||||||||||||||||||||||||||||||||||||||||||||||||||||||||||||||||||||||||||||||||||||||||||||||||||||||||||||||||||||||||||||||||||||||||||||||||||||||||||||||||||||||||||||||||||||||||||||||||||||||||||||||||||||||||||||||||||||||||||||||||||||||||||||||||||||||||||||||||||||||||||||||||||||||||||||||||||||||||||||||||||||||||||||||||||||||||||||||||||||||||||||||||||||||||||||||||||||||||||||||||||||||||
|
Камера присоединения к тепловой сети |
Системы отопления (вентиляции) |
Системы горячего водоснабжения |
|||||||||||||||||
|
Непосредственное присоединение |
Независимое присоединение |
Средненедельная тепловая нагрузка, Гкап/ч |
Схема присоединения СГВ |
Наличие |
Количество последовательно соединенных секций в подогревательной установке |
Коэффициент эффективности водоподогревателя |
|||||||||||||
|
Расчетная тепловая нагрузка, Гкал/ч |
Расчетная тепловая нагрузка на отопление и вентиляцию, Гкал/ч |
Количество последовательно соединенных секций в отопительном подогревателе |
Коэффициент эффективности отопительного подогревателя |
Расчетная температура в подающем трубопроводе за подогревателем |
ВР |
СМШ |
ПОС |
ПАР |
РТ перед СГВ |
Циркуляция в СГВ |
|||||||||
|
в I ступени |
во II ступениb |
I ступени |
II ступени |
||||||||||||||||
|
на отопление |
на вентиляцию |
||||||||||||||||||
|
137 |
|
|
0,605 |
6 |
0,6 |
95 |
0,18! |
|
+ |
|
|
+ |
|
5 |
6 |
0,6 |
0,4 |
||
|
137А-1 |
0,312 |
|
|
|
|
|
0,051 |
+ |
|
|
|
+ |
+ |
|
|
|
|
||
|
137А-2 |
0,198 |
0,081 |
|
|
|
|
0,015 |
+ |
|
|
|
+ |
|
|
|
|
|
||
|
137А-3 |
0,071 |
0,034 |
|
|
|
|
0,007 |
+ |
|
|
|
|
|
|
|
|
|
||
|
42 |
0,123 |
|
|
|
|
|
0,006 |
|
|
|
+ |
|
|
4 |
|
0,6 |
|
||
|
14 |
0,353 |
|
|
|
|
|
0,018 |
|
|
|
+ |
+ |
|
4 |
|
0,6 |
|
||
|
ЦТП-18 |
|
|
6,320 |
8 |
0,7 |
120 |
1,351 |
|
+ |
|
|
|
|
6 |
7 |
0,6 |
0,4 |
||
|
ЦТП-19 |
0,694 |
0,180 |
|
|
|
|
0,211 |
|
|
+ |
|
|
|
|
|
|
|
||
|
38 |
0,082 |
|
|
|
|
|
0,020 |
+ |
|
|
|
|
|
|
|
|
|
||
|
144-1 |
0,411 |
0,123 |
|
|
|
|
0,022 |
+ |
|
|
|
|
|
|
|
|
|
||
|
144-2 |
0,127 |
|
|
|
|
|
0,062 |
+ |
|
|
|
+ |
|
|
|
|
|
||
|
ЦТП-37 |
|
|
2,389 |
5 |
0,55 |
105 |
|
|
|
|
|
|
|
|
|
|
|
||
|
287-1 |
0,119 |
0,089 |
|
|
|
|
0,017 |
+ |
|
|
|
+ |
|
|
|
|
|
||
|
287-2 |
0,087 |
0,117 |
|
|
|
|
0,010 |
+ |
|
|
|
|
|
|
|
|
|
||
|
287-3 |
0,091 |
|
|
|
|
|
0,021 |
+ |
|
|
|
|
+ |
|
|
|
|
||
|
135-1 |
0,812 |
0,154 |
|
|
|
|
0,034 |
+ |
|
|
|
+ |
+ |
|
|
|
|
||
|
135-2 |
0,913 |
|
|
|
|
|
0,031 |
+ |
|
|
|
+ |
+ |
|
|
|
|
||
|
549 |
0,792 |
0,012 |
|
|
|
|
|
|
|
|
|
|
|
|
|
|
|
||
|
ЦТП-39 |
|
|
4,379 |
7 |
0,7 |
95 |
0,635 |
|
+ |
|
|
+ |
+ |
3 |
6 |
0,65 |
0.55 |
||
|
1087 |
0,405 |
0,090 |
|
|
|
|
0,020 |
|
|
|
+ |
+ |
|
4 |
|
0,65 |
|
||
|
1088 |
0,302 |
0,092 |
|
|
|
|
0,058 |
|
|
|
+ |
+ |
+ |
3 |
3 |
0,7 |
0,55 |
||
|
ЦТП-41 |
10,354 |
0,371 |
|
|
|
|
2,040 |
|
|
+ |
|
+ |
|
6 |
7 |
0,65 |
0.55 |
||
|
1202-1 |
0,451 |
|
|
|
|
|
0,081 |
|
+ |
|
|
|
+ |
4 |
7 |
0,6 |
0,5 |
||
|
1202-2 |
0,627 |
|
|
|
|
|
0,120 |
|
+ |
|
|
+ |
+ |
5 |
7 |
0,6 |
0,5 |
||
|
ЦТП-3 |
12,745 |
|
|
|
|
|
4,287 |
|
|
+ |
|
|
+ |
7 |
6 |
0,6 |
0,55 |
||
Примечание - В графе «Схема присоединения СГВ» приводятся следующие сокращения: «ВР» - «непосредственный водорээбор; «СМШ»-«смешанная схема»; "ПОС» - последовательная схема»; «ПАР» - «параллельная схема»
По каждой насосной станции:
- функциональное назначение насосной станции (подкачка на подающей линии, подкачка на обратной линии, подмешивание);
- зависимость выводного располагаемого напора насосной станции от расхода сетевой воды (не менее двух точек выводной характеристики или количество и тип работающих насосов, частота вращения, фактический диаметр рабочего колеса и потери напора в коммуникациях насосной станции при каком-либо расходе воды);
- наличие регулятора давления и значение давления в импульсной точке, местоположение клапана и датчика.
Пример расчета режимных характеристик составлен для открыто-закрытой системы теплоснабжения, в которой потребители присоединены по наиболее распространенным схемам горячего водоснабжения, отражающим автоматизацию СГВ на тепловых пунктах, наличие циркуляции в СГВ, эксплуатационное состояние водоподогревателей.
В примерной системе теплоснабжения существует как непосредственная, так и независимая схемы присоединения систем отопления. В независимой схеме расчетные значения температуры воды в местных системах различны.
Присоединение потребителей в системе теплоснабжения осуществляется посредством ЦТП и ИТП.
В примерной системе теплоснабжения сооружены насосные станции, предназначенные для подкачки сетевой воды в подающем и обратном трубопроводах. В системе теплоснабжения работают два источника тепловой энергии: мощная ТЭЦ номинальной тепловой мощностью 400 Гкал/ч с двумя выводами подающих и обратных трубопроводов - основной источник, у которого поддерживается давление в обратной линии тепловой сети, и районная котельная номинальной тепловой мощностью 200 Гкал/ч с одним выводом подающего и обратного трубопроводов.
Ниже приводятся исходные данные для примерной системы теплоснабжения, соответствующие требованиям раздела 3 части I настоящих Рекомендаций.
Исходные данные по потребителям в примерной системе теплоснабжения подбирались согласно разделу 3.3 части I настоящего РД. В состав этих данных входили характеристики потребителей всей системы теплоснабжения независимо от того, какая организация обслуживает их тепловые пункты.
Все исходные данные по потребителям и их тепловым пунктам примерной системы теплоснабжения сводились в таблицу характеристик потребителей, образцом которой является таблица 3.1.
Суммарные расходы тепловой энергии на горячее водоснабжение и отопление (вентиляцию) совокупности потребителей находятся из распечатки исходных данных по потребителям, заложенных в основу гидравлических расчетов на ПЭВМ, или суммированием тепловых нагрузок потребителей, внесенных в таблицу 3.1. Эти суммарные данные приведены в таблицах распределения потребителей по схемам присоединения тепловых нагрузок (таблицы 4.1, 4.2 и 4.3); обозначения тепловых нагрузок в указанных таблицах приведены в разделе 1 части I настоящих Рекомендаций.
Таблица распределения потребителей по схемам присоединения СГВ в закрытой части примерной системы теплоснабжения
|
Схема присоединения потребителей |
Средненедельная тепловая нагрузка на горячее водоснабжение, Гкал/ч |
Расход тепловой энергии на циркуляцию воды в СГВ, Гкал/ч |
|
|
Автоматизированные СГВ (РТ установлен) |
При наличии циркуляции в СГВ, присоединенной к ЦТП |
|
|
|
При наличии циркуляции в СГВ, присоединенной к ИТП |
|
|
|
|
При отсутствии циркуляции в СГВ |
|
- |
|
|
Неавтоматизированные СГВ (РТ отсутствует) |
При наличии циркуляции в СГВ, присоединенной к ЦТП |
|
|
|
При наличии циркуляции в СГВ, присоединенной к ИТП |
|
|
|
|
При отсутствии циркуляции в СГВ |
|
- |
|
|
Итого. |
|
|
|
Таблица распределения потребителей по схемам присоединения СГВ в открытой части примерной системы теплоснабжения
|
Схема присоединения потребителей |
Средненедельная тепловая нагрузка на горячее водоснабжение, Гкал/ч |
Расход тепловой энергии на циркуляцию воды в СГВ, Гкал/ч |
|
|
Автоматизированные СГВ (РТ установлен) |
При наличии циркуляции в СГВ |
|
|
|
При отсутствии циркуляции в СГВ |
|
- |
|
|
Неавтоматизированные СГВ (РТ отсутствует) |
При наличии циркуляции в СГВ |
|
|
|
При отсутствии циркуляции в СГВ |
|
- |
|
|
Итого. |
|
|
|
Таблица распределения потребителей по схемам присоединения систем отопления (вентиляции) в примерной системе теплоснабжения
|
Схема присоединения потребителей |
Расчетная тепловая нагрузка на отопление (вентиляцию), Гкал/ч |
|
Непосредственная |
|
|
Независимая |
|
|
Итого. |
|
Расходы тепловой энергии на циркуляцию воды в СГВ у потребителей, присоединенных посредством ЦТП, в закрытой части примерной системы теплоснабжения определялись по формулам:
= 0,25
; (4.1)
=0,25
; (4.2)
Расходы тепловой энергии на циркуляцию воды в СГВ у потребителей, присоединенных посредством ИТП в закрытой и открытой частях системы теплоснабжения, определялись по формулам:
=0,2
; (4.3)
=0,2
;
=0,2
;
=0,2
;
В приведенных формулах коэффициенты 0,25 и 0,2 представляют собой нормативные коэффициенты КТП, учитывающие потери тепловой энергии трубопроводами СГВ. Эти коэффициенты регламентируются приложением 2 «Методика определения расчетной тепловой производительности водоподогревателей отопления и горячего водоснабжения» СП 41-101-95 [3].
Исходные данные по источникам тепловой энергии в примерной системе теплоснабжения подбирались согласно разделу 3.1 части I настоящих Рекомендаций.
4.2.1 График температур сетевой волы в подаюшей линии, утвержденный ЭСО (АО-энерго)
Этот график должен быть проверен. При ограниченной мощности источников тепловой энергии он должен быть скорректирован и изменения его должны быть согласованы с ЭСО.
В примерной системе теплоснабжения график температур сетевой воды в подающей линии задан качественным в диапазоне между точками его спрямления и срезки. При расчетной температуре наружного воздуха для отопления tНВ.Р = -26°С расчетная номинальная температура воды в подающей линии составляет t1Р = 150°С, расчетная номинальная температура в обратной линии для отопительно-вентиляционной нагрузки составляет t2Р = 70°С.
Температура сетевой воды в точке излома и в диапазоне спрямления температурного графика принята t1Р = 70°С исходя из условий обеспечения необходимой температуры воды в СГВ.
Температура наружного воздуха, соответствующая точке излома температурного графика, равна tНВ.И = +2,5 °С.
Значения температуры сетевой воды по графику качественного регулирования могут быть определены путем решения с помощью ПЭВМ задачи А - «Т1t2t3».
Решением задачи А определяются значения температуры сетевой воды в подающей линии тепловой сети Т1, в обратной линии систем отопления Т2 и в их подающей линии Т3 в зависимости от температуры наружного воздуха Тn при графике качественного регулирования. Задача решается при любых значениях расчетных температур сетевой воды: Т1Р, Т2Р, и Т3Р.
Следует иметь в виду, что во всех используемых программах расчета эксплуатационных удельных расходов сетевой воды могут применяться обозначения только буквами латинского алфавита, а в скобках приводятся обозначения, используемые в тексте настоящих Рекомендаций.
Необходимые исходные данные (значения в скобках - для примерной системы теплоснабжения):
ТV(TBH.P) - расчетная температура воздуха внутри помещений, °С (ТV = 18);
Тпр(THB.P) - расчетная температура наружного воздуха для отопления, °С (Тцр = -26);
Т1p (t1P) - номинальная расчетная температура сетевой воды в подающей линии тепловой сети, °С (Т1p= 150);
Т2p (t2P) - номинальная расчетная температура воды в обратной линии систем отопления, °С (Т2p = 70);
Т3p(t3P) - номинальная расчетная температура воды в подающей линии систем отопления, oС (Т3р = 95);
Тn(tHB) - температура наружного воздуха (°С), при которой определяются значения температуры воды по качественному графику Т1, Т2 и Т3 (Тn = -3).
При указанных исходных значениях температуры воды и воздуха ответом задачи служат значения: Т1 = 85,9'С; Т2 = 47,7°С; Т3 = 59,7°С. Дополнительно в решение задачи входит и средняя температура нагревательного прибора ТSP = 53,7вС.
Значения температуры наружного воздуха, соответствующие точкам излома и срезки температурного графика качественного регулирования, как и любые значения температуры наружного воздуха, соответствующие заданной температуре сетевой воды в подающей линии по качественному графику, могут быть определены путем решения с помощью ПЭВМ задачи В - «Тnиtnc».
Решение задачи В определяет температуру наружного воздуха Тn (°С), соответствующую заданной температуре сетевой воды в подающей линии по качественному графику Т1/ В частности, значения температуры Т1 могут соответствовать значениям температуры сетевой воды в подающей линии в точках излома и срезки температурного графика качественного регулирования.
Необходимые исходные данные (значения в скобках - для примерной системы теплоснабжения):
ТV(tBH.P) - расчетная температура воздуха внутри помещений, °С (ТV = 18);
Тпр (tHB.P) - расчетная температура наружного воздуха для отопления, °С (Тпр = -26);
T1p(t1P) - номинальная расчетная температура сетевой воды в подающей линии тепловой сети, °С (Т1р = 150);
Т3р(t3P) - номинальная расчетная температура воды в подающей линии систем отопления, °С (Т3p = 95);
Т2p (t2P) - номинальная расчетная температура воды в обратной линии систем отопления, °С (Т2Р = 70);
Т1(t1) - заданная температура воды в подающей линии тепловой сети по качественному графику (°С), которой соответствует искомая температура наружного воздуха Тn(Т1 = 70).
При указанных исходных значениях температуры воды и воздуха ответом задачи служит значение tHB = 2,4°С.
Температура сетевой воды в
точке срезки температурного графика определяется
соотношением реально располагаемой
мощности источников тепловой энергии
и присоединенной расчетной тепловой нагрузки.
Реально
располагаемая тепловая мощность источников тепловой энергии в примерной системе теплоснабжения составляет
= 525 Гкал/ч.
Фактическая тепловая нагрузка потребителей и тепловые потери в примерной системе теплоснабжения слагаются из следующих значений расходов тепловой энергии:
- фактически
возможного расхода тепловой энергии на отопление и вентиляцию (расчетный расход
тепловой энергии на отопление и вентиляцию при расчетной температуре
наружного воздуха составляет
= 506 Гкал/ч (см. таблицу
4.3 части I
Рекомендаций);
- средненедельного теплового потребления СГВ и расхода тепловой энергии на циркуляцию воды в этих системах:
1,1
+
= 1,1 (36,88 + 26,13) + 7,11 + 2,44 ≈ 19 Гкал/ч (см. таблицы
4.1 и 4.2
части I Рекомендаций);
(необходимость введения коэффициента 1,1 к средненедельной тепловой нагрузке горячего водоснабжения обосновывается в разделах 6.2, 6.3 и 6.5);
- тепловых потерь через теплоизоляционную конструкцию трубопроводов тепловой сети; значение их может быть оценено в 9% фактической тепловой нагрузки совокупности потребителей (см. п. 5.4.6 части I Рекомендаций);
- тепловых потерь с нормативной утечкой сетевой воды в системе теплоснабжения; значение их может быть оценено в 1,5% фактической тепловой нагрузки совокупности потребителей.
В примерной системе теплоснабжения не происходит отключения нагрузки горячего водоснабжения при дефиците тепловой мощности источников тепловой энергии, т.е. значение ее сохраняется постоянным на протяжении всего отопительного сезона. Тепловые потери в системе теплоснабжения являются неизбежными и значение их также должно учитываться на протяжении отопительного периода. Ограниченная тепловая мощность источников тепловой энергии должна поэтому обеспечивать нагрузку горячего водоснабжения, тепловые потери и какую-то долю отопительно-вентиляционной нагрузки.
В этих условиях максимально возможный расход тепловой энергии на отопление и вентиляцию QОТ.В в примерной системе теплоснабжения составляет:
QОТ.В =
: (1 + 0,09 + 0,015)
- (
+
) = 525 : 1,105 - 79 = 396 Гкал/ч.
Учитывая, что в холодный период системы отопления будут перегреваться (примерно на 3-5%) за счет снижения расхода сетевой воды на горячее водоснабжение и увеличения его на отопление, фактически возможная отопительно-вентиляционная нагрузка может быть обеспечена лишь в размере
396 : 1,04 ≈ 381 Гкал/ч.
Таким образом, при
качественном методе регулирования отопительной нагрузки
отопительно-вентиляционная нагрузка может быть обеспечена в необходимом размере
только до относительного значения этой нагрузки QОТ.В :
= 381 : 506 ≈ 0,75.
При этом температура наружного воздуха в точке срезки графика TНВ.С составляет:
TНВ.С = tВН - (tBH - tBH.P) . 0,75 = 18 - (18 + 26) . 0,75 = -15°С.
Температура сетевой воды в подающей линии в точке срезки температурного графика качественного регулирования с номинальной расчетной температурой воды в этой линии t1P = 150°С равна t1C = 120°С.
При
расчетной температуре наружного воздуха tHB.P = -26°С фактическая температура сетевой воды в подающей линии
определяется из
условия постоянства расхода тепловой энергии на отопление и вентиляцию и
тепловой мощности источников тепловой энергии
в диапазоне срезки температурного графика. Ее значение находится по формуле
= tHB.P +
(t1P - tНВ.Р) = -26 +
0,75 . (150 + 26) = 106°С.
Точка перевода неавтоматизированного (без РТ) водоразбора с одной линии на другую принимается по эксплуатационным данным. При заданном температурном графике в примерной системе теплоснабжения для неавтоматизированного водоразбора точка его перевода с одной линии на другую принята при tНВ = -3°С. В этой точке температура сетевой воды в подающей линии по нормативному температурному графику равна 86°С, а в обратной линии температура воды составляет 47,5°С (по качественному графику с t2Р = 70°С). Отметим, что максимальная температура потребляемой воды на входе в СГВ при непосредственном водоразборе согласно нормам не должна превышать 70°С, а минимальная не должна опускаться ниже 60°С.
Температура разбираемой воды в неавтоматизированных СГВ в точке перевода водоразбора с одной линии на другую не может удовлетворять нормативным требованиям. Эту точку приходится выбирать из условий минимизации отклонения температуры сетевой воды в подающей линии от максимальной нормативной для водоразбора (70°С), с одной стороны, и отклонения температуры сетевой воды в обратной линии от минимальной нормативной для водоразбора (60°С), с другой стороны.
На ТЭЦ его значение равно 1,8 кгс/см2 (геодезическая отметка ТЭЦ - 80 м). Оно необходимо для проведения гидравлических расчетов системы теплоснабжения и выявления гидравлических условий безопасной эксплуатации потребителей.
Для всех источников тепловой энергии в примерной системе теплоснабжения должен быть задан располагаемый напор на входе в тепловую сеть, который представляет собой зависимость располагаемого напора на выводах источников тепловой энергии от расхода сетевой воды в подающих трубопроводах и необходим для последующих гидравлических расчетов системы теплоснабжения. Эта зависимость принимается по эксплуатационным данным в течение отопительного сезона или определяется на основании характеристик сетевых насосов и потерь напора в оборудовании и коммуникациях тракта сетевой воды на источниках тепловой энергии.
Выводной располагаемый напор задается двумя парами точек, каждая из которых представляет собой расход сетевой воды в подающей линии и соответствующий ему располагаемый напор. Выбираются эксплуатационные значения двух расходов воды -расчетного и максимально отличающегося от него и соответствующие им значения располагаемых напоров.
В примерной системе теплоснабжения на ТЭЦ выводной располагаемый напор задан следующими значениями: G = 7000 т/ч и ΔН = 110 м; G = 5800 т/ч и ΔН = 120 м.
Для котельной эти значения составляют: G = 2500 т/ч и ΔН = 55 м; G = 2200 т/ч и ΔН = 60 м.
Приведенные гидравлические характеристики источников тепловой энергии соответствуют исходным данным, необходимым при проведении стандартных гидравлических расчетов системы теплоснабжения.
Исходные данные по тепловой сети примерной системы теплоснабжения подбирались согласно разделу 3 части I Рекомендаций. В состав исходных данных входили указанные в разделе 3.2 части I настоящих Рекомендаций величины по всей тепловой сети - от источников тепловой энергии до потребителей (независимо от того, на чьем балансе находятся участки тепловой сети).
Указывался внутренний диаметр трубопроводов на участках. Местные сопротивления для участков трубопроводов, принадлежащих ЭСО, принимались по коэффициенту местных сопротивлений, как это делается при проведении стандартных гидравлических расчетов; для трубопроводов распределительных сетей (вплоть до камер присоединения потребителей) местные сопротивления учитывались коэффициентом местных потерь, принятым 0,4 (можно принимать по местным условиям 0,3-0,5). Значение эквивалентной шероховатости для трубопроводов, принадлежащих ЭСО, принималось по результатам испытаний тепловой сети на гидравлические потери (возможна и оценка эквивалентной шероховатости по эксплуатационным данным). Эквивалентная шероховатость трубопроводов участков тепловой сети, не принадлежащих ЭСО, принималась по значению ее для трубопроводов, прилегающих к камерам присоединения ответвлений к тепловой сети ЭСО. Если существуют эксплуатационные материалы, то эквивалентную шероховатость распределительных сетей следует принимать с их учетом.
На схему тепловой сети наносились потребители всей тепловой сети, присоединенные через ИТП, включая ИТП потребителей, присоединенных к ЦТП, которые обеспечивают нагрузку горячего водоснабжения и в которых отопительно-вентиляционная нагрузка включена по непосредственной схеме. Нагрузка горячего водоснабжения в этих ЦТП суммировалась вручную.
Индивидуальные тепловые пункты потребителей, присоединенных за ЦТП с независимой схемой включения отопительно-вентиляционной нагрузки безотносительно от наличия нагрузки горячего водоснабжения, на схеме тепловой сети не показывались. Отопительная нагрузка потребителей этих ЦТП суммировалась вручную.
Во всех камерах тепловой сети указывались отметка местности и высота присоединенных к ним систем отопления; высота систем указывалась наибольшая, преимущественно в камерах, расположенных в верхних точках тепловой сети.
На схеме тепловой сети показывались все насосно-подкачиваюшие станции; при наличии подмешивающих или дроссельных станций они также должны быть нанесены на схему сети.
Все указанные исходные данные по примерной тепловой сети в Рекомендациях не приводятся, так как они представляют собой материал, используемый при стандартных гидравлических расчетах системы теплоснабжения с использованием ПЭВМ, периодически проводимых в подавляющем большинстве предприятий тепловых сетей.
В примерной системе теплоснабжения были проведены испытания тепловой сети на тепловые потери. В результате получено соотношение фактических и нормативных тепловых потерь по испытанным трубопроводам тепловой сети, равное 0,8 (если испытания не проводились, то значение указанного соотношения принимается равным 1).
Исходные данные по насосным станциям примерной системы теплоснабжения принимались согласно разделу 3.4 части I настоящих Рекомендаций. В состав исходных данных по насосным станциям входили характеристики насосов и регуляторов всех насосных станций на сетевой воде, расположенных в тепловой сети и обслуживаемых как предприятием тепловых сетей, так и организациями - потребителями тепловой энергии.
В примерной тепловой сети сооружены две насосно-подкачивающие станции - на подающей и обратной линиях, принадлежащие ЭСО.
Станция № 1 на подающей
линии оборудована двумя рабочими насосами марки СЭ 800-100 с колесом диаметром
415 мм и электродвигателями с частотой вращения 1500 1/мин. При расходе на станции 1500 м3/ч потери напора в
коммуникациях насосной станции составляют 12 м (определены на основании
эксплуатационных измерений). При значениях расхода воды 1200 и 1500 м3/ч
развиваемый насосами напор равен соответственно 117 и 109 м. Таким образом,
выводная характеристика насосной станции определяется двумя точками: G = 1200 м3/ч
и ΔН = 117 -
.12 =
109,5 м;
G = 1500 м3/ч и ΔН = 109 - 12 = 97 м. Регулятор давления «после себя» установлен на выводе подающего трубопровода из насосной; давление в импульсной точке, расположенной за клапаном, составляет 10,8 кгс/см2.
Станция № 2 на обратной линии оборудована двумя рабочими насосами марки СЭ 800-55 с диаметром колеса 428 мм и частотой вращения 3000 1/мин. По эксплуатационным данным выводная характеристика насосной станции определяется двумя точками: G = 700 м3/ч и ΔН = 46 м; G = 900 м3/ч и ΔН = 36 м. Регулятор давления «до себя» установлен на стороне нагнетания насосов, а импульсная точка с давлением 2,0 кгс/см расположена на их стороне всасывания.
Как следует из материала исходных данных по насосным станциям, они соответствуют данным, необходимым при проведении стандартных гидравлических расчетов системы теплоснабжения.
Температура сетевой воды в подающей линии совокупности потребителей необходима для определения эксплуатационных удельных расходов теплоносителя по всем видам тепловых нагрузок. Оценка указанной температуры сетевой воды производится путем последовательного выполнения ряда расчетов.
Соотношения нагрузок горячего водоснабжения и отопления (вентиляции) а у совокупности потребителей для отдельных частей системы теплоснабжения находятся по следующим формулам:
- для закрытой части системы теплоснабжения с автоматизированными СГВ
; (5.1)
- для закрытой части системы теплоснабжения с неавтоматизированными СГВ
; (5.2)
- для открытой части системы теплоснабжения с автоматизированными СГВ
; (5.3)
- для открытой части системы теплоснабжения с неавтоматизированными СГВ
. (5.4)
Для примерной системы теплоснабжения соотношения нагрузок горячего водоснабжения и отопления, определенные на основании таблиц 4.1, 4.2 и 4.3 части I Рекомендаций, составляют:
;
;
;
.
В целом по открыто-закрытой системе теплоснабжения отношение средненедельной нагрузки горячего водоснабжения к расчетной отопительно-вентиляционной нагрузке аΣ составляет:
аΣ=аЗ,А+аЗ.НА+аОЧ.А+аОЧ.НА. (5.5)
Для примерной системы теплоснабжения это отношение равно:
аΣ = 0,06 + 0,02 + 0,02 + 0,04 = 0,14.
Приближенная оценка
показателя гидравлической устойчивости системы теплоснабжения Z0Ц при характерных температурах наружного воздуха
,
и
>
>
производится на основе соотношения нагрузок горячего
водоснабжения и отопления (см. раздел
5.1 части I
Рекомендаций) по эмпирическим формулам, разработанным
для систем теплоснабжения со средними показателями гидравлической устойчивости:
при
Z0Ц = 1,05 + 3(аЗ.А
+ АЗ.НА) + 1,1аО.А + 1,ЗаОН.А; (5.6)
при
>
>
Z0Ц = 1,05 + 2аЗА + 3,5а3.на
+0,9аО.А + 1,4аО.НА; (5,7)
при
Z0Ц = 1,05 + 1,6аЗА +
3,8аЗ.НА + 0,8(аО.А + а0.НА). (5.8)
Для примерной системы теплоснабжения значения Z0Ц составляют:
при
= +2,5°С Z0Ц = 1,05 + 3(0,06 + 0,02) +1,1 . 0,02
+1,3 . 0,04 = 1,36;
при
>
>
= -3 Z0Ц = 1,05 + 20,06 + 3,5 . 0,02 + 0,9 .
0,02 +1,4 . 0,04 -1,31;
при
= -15°С Z0Ц = 1,05 +1,6 . 0,06 + 3,8 .
0,02 + 0,8(0,02 + 0,04) -1,27.
При качественном режиме регулирования отопительно-вентиляционной тепловой нагрузки относительный расход тепловой энергии на отопление в зависимости от температуры наружного воздуха определяется по формуле
(5.9)
Для примерной системы теплоснабжения значения qх при характерных значениях температуры наружного воздуха составляют:
при
=+10оС ![]()
при
=+2,5оС ![]()
при
>
>
=-3оС ![]()
при
![]()
при
=-26оС ![]()
5.4.1 Доля тепловых
потерь на этапе оценки
=
при любой характерной температуре наружного воздуха находится по
приближенной полуэмпирической формуле
=
, (5.10)
где М - суммарная материальная характеристика подающего и обратного трубопроводов тепловой сети при подземной и надземной их прокладке, м2;
- поправочный коэффициент на
отличие расчетной (номинальной) средней температуры
сетевой воды в подающей и обратной
линиях в конкретной системе теплоснабжения от расчетной (номинальной) средней
температуры ее при наиболее распространенном температурном графике t1P = 150°С и t2P = 70°С;
КИСП - полученное при тепловых испытаниях отношение фактических и нормативных среднегодовых тепловых потерь по испытанным участкам тепловой сети;
QХИ - суммарная тепловая нагрузка совокупности потребителей на отопление, вентиляцию и горячее водоснабжение (средненедельная нагрузка) в точке излома нормативного графика температур сетевой воды в подающей линии, Гкал/ч.
5.4.2 Материальная характеристика тепловой сети М (м2) находится в процессе гидравлического расчета сети на ПЭВМ или определяется по формуле
М = ΣdHl, (5.11)
где dH - наружный диаметр трубопровода подающей или обратной линии на каком-либо участке тепловой сети независимо от его принадлежности и вида прокладки, м;
l - длина трубопровода подающей или обратной линии сети на том же участке, м.
Если на всех участках тепловой сети наружные диаметры и длины трубопроводов подающей и обратной линии lT совпадают, то материальная характеристика тепловой сети М может определяться по формуле
М = 2ΣdHlT, (5.11a)
где dH - наружный диаметр трубопровода на каком-либо участке тепловой сети, м;
lT - длина любого трубопровода по трассе сети на участке, м.
Суммирование производится по всем участкам тепловой сети от источников тепловой энергии до камер присоединения потребителей.
В тепловой сети примерной системы теплоснабжения М = 109850 м2.
5.4.3 Поправочный
коэффициент
находится по формуле
=
. (5.12)
Например, при расчетных
значениях температуры сетевой воды в какой-либо системе теплоснабжения t1P = 130°С и
t2P = 70°С
значение
было бы равно 0,9.
В соответствии с исходными
данными (раздел
4.2.1) расчетные температурные параметры
примерной системы теплоснабжения t1P = 150°С и t2P = 70°С; поэтому значение
=1.
5.4.4 Значение Кисп находится по формуле
КИСП=
, (5.13)
где
и
- тепловые потери
испытанных участков тепловой сети
подземной и надземной прокладок, полученные в результате тепловых испытаний и приведенные к среднегодовым условиям работы сети, ккал/ч;
и
- нормативные
тепловые потери тех же участков тепловой сети,
также приведенные к среднегодовым условиям ее работы, ккал/ч.
Согласно разделу 4.3 части I Рекомендаций для примерной системы теплоснабжения значение Кисп принимается равным 0,8.
Если тепловые испытания в системе теплоснабжения не проводились, то Кисп принимается равным 1.
5.4.5 Суммарная тепловая нагрузка QΣ.И находится по формуле
, (5.14)
где
- суммарная
средненедельная нагрузка на горячее
водоснабжение в закрытой и открытой частях системы теплоснабжения при всех
схемах включения СГВ независимо от наличия циркуляции воды и РТ в них, Гкал/ч;
qИ - относительный расход тепловой энергии на отопление в точке излома температурного графика: qИ = 0,35 (см. раздел 5.3 части I Рекомендаций). В соответствии с таблицами 4.1; 4.2 и 4.3 части I Рекомендаций значение QΣ.И в примерной системе теплоснабжения, определенное по формуле (5.14), равно
QΣ.И = 0,35 . 506,37 + (36,88 + 26,13) = 240,2 Гкал/ч.
5.4.6 Доля тепловых
потерь в потреблении тепловой энергии
в примерной системе
теплоснабжения, определенная по формуле (5.10), по приближенной оценке составляет
![]()
Средние значения понижения температуры сетевой воды в подающей
линии тепловой сети
(средневзвешенные по
расходам сетевой воды у потребителей) при характерных значениях температуры
наружного воздуха находятся по приближенной полуэмпирической формуле
, (5.15)
где
- номинальный перепад температур сетевой воды
в системе теплоснабжения для отопительно-вентиляционнои нагрузки при расчетной
температуре наружного воздуха, °С;
-
оценочная доля тепловых потерь в
потреблении тепловой энергии (см. раздел
5.4 части I
Рекомендаций);
qX - относительный расход тепловой энергии на отопление в условиях качественного режима регулирования отопительной нагрузки при характерных температурах наружного воздуха (см. раздел 5.3 части 1 Рекомендаций);
аΣ - отношение средненедельной нагрузки горячего водоснабжения к расчетной номинальной тепловой нагрузке на отопление и вентиляцию в системе теплоснабжения (см. раздел 5.1 части I Рекомендаций);
ZОЦ - оценочное значение показателя гидравлической устойчивости системы теплоснабжения (см. раздел 5.2 части I Рекомендаций), Для примерной системы теплоснабжения указанные величины имеют следующие значения:
= 80°С (см. раздел
4.2.1);
= 0,09 (см. раздел
5.4); аΣ = 0,14 (см. раздел
5.1);
при
= +2,5°С qX =
0,35 (см. раздел
5.3); ZОЦ - 1,36 (см. раздел
5.2);
при
= -3°С qX =0,48;
ZОЦ = 1,31;
при
= -15°С qX
=0,75; ZОЦ = 1,27.
Результаты расчета значений
для примерной системы
теплоснабжения сведены в таблицу 5.1.
|
Характерная температура наружного воздуха tHB.X,oC |
Температура сетевой вол |
||
|
по заданному графику температур
качественного регулирования в подающей линии |
оценочное среднее значение ее понижения з
подающей линии, |
оценочное значение в подающей линии
совокупности потребителей |
|
|
|
70,0 |
1,8≈2 |
68,0 |
|
|
86,0 |
2,4≈2,5 |
83,5 |
|
|
120.0 |
3,5 |
116,5 |
|
|
106,0 |
3,0 |
103,0 |
Оценочные значения
температуры сетевой воды в подающей линии совокупности потребителей
(°С) находятся по
формуле
=
. (5.16)
Заданные значения
нормативной температуры сетевой воды в подающей линии
рассмотрены в разделе
4.2 части I
Рекомендаций. Эти значения повторены в таблице
5.1. Там же даны и искомые значения
оценочной температуры сетевой воды в подающей линии совокупности потребителей
. Все указанные температуры сетевой воды следует
определять как минимум для трех характерных значений температуры наружного
воздуха:
- в точке излома
температурного графика
;
- при промежуточной
температуре наружного воздуха
>
>![]()
- в точке срезки
температурного графика
.
Если в диапазоне срезки
нормативного температурного графика температура сетевой воды в подающей линии
постоянна, этими значениями температуры наружного воздуха можно ограничиться.
Если график температур сетевой воды в подающей линии в этом диапазоне построен
исходя из постоянной мощности источников тепловой энергии (как это принято для примерной системы теплоснабжения), то необходимо
определение среднего значения понижения температуры воды в подающей линии и при
расчетной температуре наружного воздуха. Допустимо находить значение
при
как полусумму средних
значений понижения температуры воды в промежуточной точке (
>
>
)и в точке срезки
температурного графика (
).
Окончательные результаты оценки температуры сетевой воды в подающей линии совокупности потребителей в примерной системе теплоснабжения даны в таблице 5.1.
Значение температуры сетевой воды в подающей линии
совокупности потребителей
в точке излома температурного графика необходимо для определения
удельных расходов сетевой воды на отопление при непосредственной и независимой
схемах его неавтоматизированного присоединения и удельных расходов на горячее водоснабжение при всех автоматизированных и
неавтоматизированных схемах его присоединения посредством водоводяных
подогревателей. Значения температуры сетевой воды в подающей линии
совокупности потребителей на протяжении
отопительного периода необходимы для определения удельных расходов
сетевой воды на горячее водоснабжение при автоматизированных смешанной и параллельной схемах включения
подогревателей и при
неавтоматизированном непосредственном водоразборе в диапазоне отбора сетевой
воды только из подающей линии.
Температура воды
используется и при
определении доли отбора из обеих линий при автоматизированном водоразборе на протяжении отопительного сезона.
Значение температуры сетевой воды в обратной линии систем отопления необходимо для оценки долей водоразбора из обеих линий при автоматизированном непосредственном водоразборе и для определения удельного расхода сетевой воды на горячее водоснабжение при неавтоматизированном водоразборе из обратной линии.
Температуру сетевой воды в
обратной линии систем отопления совокупности потребителей допустимо определять
на основе качественного графика температур воды, но с учетом пониженной температуры воды в подающей линии за счет тепловых
потерь
и увеличенного
относительного расхода сетевой воды на отопление и вентиляцию
этого расхода при
понижении температуры наружного воздуха связан с уменьшением расхода воды в
тепловой сети за счет сокращения расхода сетевой воды на автоматизированные
подогреватели СГВ, сокращения водоразбора из подающей линии и с увеличением
водоразбора из обратной линии, что вызывает перераспределение расхода воды у
потребителей.
Приближенная
оценка относительных расходов сетевой воды на неавтоматизированные системы
отопления и вентиляции
при характерных
значениях температуры наружного воздуха
,
и
>
>
производится на
основе соотношения нагрузок горячего водоснабжения и отопления (см. раздел
5.1 части I Рекомендаций) по эмпирическим формулам, разработанным для систем
теплоснабжения со средними показателями
гидравлической устойчивости:
при
= 1; (5.17)
при
>
>
= 1+ аЗ.А
+0,4(аОЧ.А + аОЧ.НА); (5.18)
при
= 1 + 1,3 аЗ.А +
0,8(аОЧ.А + аОЧ.НА). (5.19)
Для примерной системы
теплоснабжения значения
составляют:
при
=+2,5°С
=1;
при
>
>
= -3°С
= 1 + 0,06 + 0,4 (0,02 + 0,04) = 1,08;
при
= - 15°С
= 1 + 1,3 .
0,06 + 0,8 (0,02 + 0,04) = 1,13.
Как указывалось выше, в
системах теплоснабжения с постоянным отпуском тепловой энергии в диапазоне
срезки температурного графика следует выявлять режим системы и при
. В этом случае значение
можно принять как
среднее между его значениями при
>
>
и
. Для примерной системы теплоснабжения при
= -26°С значение
равно (1,08 + 1,13) :
2 = 1,11. Все найденные значения
для примерной системы
теплоснабжения приведены в таблице
5.2.
Оценочная фактическая
температура сетевой воды в обратной линии систем отопления совокупности
потребителей
в диапазоне
качественного регулирования и на срезке температурного графика находится при
характерных значениях температуры наружного воздуха по формуле
, (5.20)
где
- оценочная
температура сетевой воды в подающей линии совокупности потребителей, °С (см. таблицу
5.1);
t1К - температура воды в подающей линии тепловой сети, соответствующая графику качественного регулирования, °С;
t2К - температура сетевой воды в обратной линии систем отопления, соответствующая графику качественного регулирования, °С;
t3K - температура воды в подающей линии систем отопления, соответствующая графику качественного регулирования, °С;
tHB.X - характерная температура наружного воздуха, "С;
KOT - повышенный удельный расход сетевой воды на непосредственно присоединенные системы отопления (см. раздел 6.1 части I Рекомендаций);
- относительный расход сетевой воды на
неавтоматизированные системы отопления и вентиляции (см. таблицу
5.2).
Значения t1К, t2К и t3K, соответствующие температурному графику качественного регулирования, принимаются из справочной литературы путем интерполяции между соответствующими табличными значениями или путем решения задачи А «Т1, t2, t3» с помощью ПЭВМ (см. раздел 4.2.1.1 части I Рекомендаций).
Для примерной системы
теплоснабжения значения температур воды по графику качественного регулирования
и результаты расчета температуры
при четырех
характерных значениях температуры наружного воздуха приведены в таблице 5.2.
|
Характерная температура наружного воздуха tHB.X оС |
Температура сетевой воды по графику качественного регулирования, оС |
Оценочная температура воды в подающей
линии совокупности |
Относительный расход сетевой воды на
неавтоматиэированные отопление и вентиляцию |
Оценочная фактическая температура
сетевой воды в обратной линии систем отопления |
||
|
t1К |
t2К |
t3K |
||||
|
|
70,0 |
50,5 |
41,5 |
68,0 |
1,00 |
41,5 |
|
|
86,0 |
59,5 |
47,5 |
83,5 |
1,08 |
50,0 |
|
|
120,0 |
78,5 |
60,0 |
116,5 |
1,13 |
65,0 |
|
|
150,0 |
95 |
70,0 |
103,0 |
1,11 |
51,0 |
Определение значения
может быть
осуществлено с помощью ПЭВМ путем решения задачи С «Dirxt2» при У =
(п. 8.1.1.1 части I
Рекомендаций).
Эксплуатационный удельный расход сетевой воды на системы отопления (и вентиляции) при их непосредственном присоединении оказывается повышенным в связи с понижением температуры сетевой воды в подающей линии совокупности потребителей за счет тепловых потерь подающими трубопроводами тепловой сети.
Повышенный удельный расход
сетевой воды на отопление
на предварительном
этапе определяется по формуле
где коэффициент КОТ, больший единицы, постоянен в течение всего отопительного сезона. Его значение определяется в точке излома температурного графика.
Коэффициент увеличения расхода сетевой воды на непосредственно присоединенные системы отопления определяется по формуле
(6.2)
где значения температуры
воды в подающей линии тепловой сети t1И и воды до и
после систем отопления tЗИ и t2И принимаются по качественному графику в точке излома
заданного нормативного температурного графика, а температура сетевой воды в
подающей линии совокупности потребителей принимается равной ее оценочному
значению
также в точке излома
нормативного температурного графика и выбирается из таблицы
5.1 части I Рекомендаций.
Для примерной системы
теплоснабжения в точке излома нормативного температурного графика, совпадающего
с качественным, при
= +2,5°С
значения температуры сетевой воды составляют: t1И = 70°С; t2И = 41,5°С; tЗИ = 50,5°С, а
температура сетевой воды в подающей линии совокупности потребителей
= 68,0°С.
Для примерной системы теплоснабжения
![]()
и при номинальном удельном расходе сетевой воды на отопление при графике t1P = 150°С и t1P = 70°С, равном 12,5 м3/Гкал, значение эксплуатационного (повышенного) удельного расхода на непосредственно присоединенную отопительно-вентиляционную нагрузку по формуле (6.1) составляет
-1,09-12,5 = 13,6 м3/Гкал.
Как уже указывалось, эксплуатационный удельный расход сетевой воды на отопление и вентиляцию, а следовательно, и расход сетевой воды на непосредственно присоединенные системы отопления и вентиляции постоянны в течение всего отопительного сезона.
Целью расчетов, проводимых
в этом разделе, являются определение эксплуатационного удельного расхода
сетевой воды на горячее водоснабжение при автоматизированных системах горячего
водоснабжения
; оценка коэффициента КЦА,
определяющего расход сетевой воды на циркуляцию воды в этих системах, и
выявление доли отбора сетевой воды из подающей и обратной линий ρП.А и ρО.А.
Согласно п. 3.10 СНиП 2.04.01-85 [1] при непосредственном водоразборе средненедельный расход сетевой воды на горячее водоснабжение, а следовательно, и его средненедельная тепловая нагрузка определяются при средней температуре воды в СГВ 65°С. В то же время согласно п. 2.2а СНиП 2.04.01-85 [1] минимальная температура воды в этих СГВ должна составлять 60°С. Таким образом, при непосредственном водоразборе СНиП 2.04.01-85 [1] регламентируется температура сетевой воды на входе в СГВ 70оС и на ее выходе 60°С.
При
указанных нормативных значениях температуры воды в автоматизированных системах
СГВ при непосредственном водоразборе часть подаваемой тепловой энергии расходуется
на компенсацию тепловых потерь трубопроводами СГВ. При температуре воды на входе в СГВ
= 70°С и расходе воды
на нее, определяемом средней
температурой
= 65"С, нормами
устанавливается увеличение расхода подаваемой в СГВ тепловой энергии сверх
средненедельной нагрузки горячего водоснабжения в размере
= 0,08 средненедельной тепловой
нагрузки горячего водоснабжения.
Таким
образом, в СГВ согласно нормам должен поступать расход тепловой энергии, равный 1,08
.
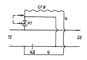
Схема теплового пункта с автоматизированным водоразбором и циркуляцией дана в приложении Б части I Рекомендаций.
Для
предотвращения недопустимо большого расхода
циркуляционной воды в автоматизированной
СГВ (с РТ, управляющим подмешиванием воды из обратной линии) РТ при всех режимах водоразбора должен
обеспечивать обязательное подмешивание воды из обратной линии; таким образом
при настройке регулятора на поддержание
нормативной температуры воды на входе в СГВ
= 70°С он должен получать воду из подающей линии с температурой, большей
70°С.
При отсутствии подмешивания в точке излома температурного графика и отборе воды только из подающей линии сети РТ открывается и циркуляционная линия превращается в перемычку между подающим и обратным трубопроводами теплового пункта.
Таким образом, для нормальной работы автоматизированных СГВ с циркуляцией воды в них необходимо поддерживать температуру сетевой воды в диапазоне спрямления температурного графика не ниже 75-80°С.
В примерной системе теплоснабжения минимальная температура воды в
подающей линии тепловой сети - в
точке излома температурного
графика по предварительной оценке составляет
= 68°С; поэтому РТ в
СГВ с циркуляцией должны быть настроены
максимум на
= 63°С, т.е.
температура воды на входе в СГВ
понижается на 7°С по сравнению с нормативной. На столько же понижается и
средняя температура воды в СГВ
, оказывающаяся
равной в этом случае не 65, а
58°С. Таким образом, на входе в СГВ с циркуляцией горячей воды температура сетевой воды
составляет 63°С, средняя температура воды в СГВ равна 58°С, а температура ее на выходе из СГВ (температура циркуляционной воды,
поступающей на тепловой пункт) 53°С.
В этих условиях дополнительный расход тепловой энергии на компенсацию тепловых потерь трубопроводами СГВ составляет
≈0,1 средненедельной нагрузки
горячего водоснабжения, а в СГВ поступает расход тепловой энергии, равный
1,1 средненедельной тепловой нагрузки горячего водоснабжения. Этот расход
тепловой энергии, косвенно заложенный в нормативных документах, не
включает в себя расход тепловой энергии на систему циркуляции горячей воды в
СГВ, который нормируется СНиП
2.04.07-86* [2] и СП 41-101-95 [3].
В
автоматизированных СГВ без циркуляционных линий целесообразно принять на их
входе такую же температуру воды, что и в системах с циркуляцией, т.е.
= 63°С. В этих
условиях добавочный расход тепловой энергии на компенсацию тепловых потерь
трубопроводами СГВ также равен 10%, а поступающий в СГВ общий расход тепловой энергии равен 1,1
средненедельной тепловой нагрузки горячего водоснабжения.
Расчетный
удельный расход сетевой воды на горячее водоснабжение в автоматизированных
системах с непосредственным водоразбором
независимо от наличия циркуляции воды в них определяется по реальному значению температуры воды, среднему
в СГВ, т.е. по формуле
. (6.3)
При водоразборе из подающей линии расход сетевой воды на циркуляцию в автоматизированных СГВ нагружает обе линии тепловой сети; при водоразборе из обратной линии этот расход не нагружает тепловую сеть. Значение циркуляционного расхода при водоразборе из подающей линии, учитываемое в расходах воды по обеим линиям сети при ее гидравлическом расчете, изменяется в зависимости от значений температуры воды в тепловой сети так же, как доля водоразбора из подающей линии.
В
автоматизированных СГВ отношение расхода сетевой воды на систему циркуляции
(при ее наличии) при режиме средненедельной нагрузки горячего водоснабжения
к средненедельному
расходу воды на горячее водоснабжение
определяется по формуле
где 0,8 - значение снижения расхода воды на циркуляцию воды в СГВ за счет роста нагрузки горячего водоснабжения от нуля до средненедельной;
КТП - коэффициент, учитывающий потери тепловой энергии трубопроводами СГВ; согласно СП 41-101-95 [3] при ИТП КТП = 0,2;
-
понижение температуры воды в системе циркуляции (°С), принимается согласно п. 8.2 СНиП 2.04.01-85 [1] равной 10°С.
Значение КЦА для рассматриваемых условий (при ИТП) составляет, таким образом, (КЦА)ИТП.≈0,8. Для ЦТП с автоматизированным непосредственным водоразбором и системой циркуляции (КЦА)ИТП ≈ 0,9
При гидравлическом расчете
обе линии тепловой сети нагружаются расходом
где величина ρП.А определяется в соответствии с разделом
6.2.6 части I Рекомендаций, значение
находится из формулы
(6.4).
Доли водоразбора из подающей и обратной линий рПД и рол при любой характерной температуре наружного воздуха в автоматизированных СГВ находятся по формулам:
Значения
и
в формуле
(6.5) принимаются по таблице
5.2 части I Рекомендаций.
При
= 63°С (см. раздел
6.2.3 части I
Рекомендаций) доли водоразбора из обеих
линий приведены в таблице 6.1.
|
Температура, X |
Доля водораэбора |
|
|
|
|
|
|
|
0,81 |
0,19 |
|
|
0,39 |
0,61 |
|
|
0 |
1,0 |
|
|
0,23 |
0,77 |
Целью расчетов, проводимых в этом разделе, является определение удельного расхода сетевой воды на горячее водоснабжение при неавтоматизированных СГВ (при отсутствии или неработающем РТ) и расхода сетевой воды на циркуляцию при ее наличии.
При неавтоматизированных
СГВ водоразбор осуществляется или только из подающей, или только из обратной
линий. Предельными нормативными
значениями температуры воды,
допустимыми на входе в СГВ при непосредственном водоразборе согласно СНиП 2.04.01-85 [1], являются
= 60°С и
= 75°С; однако при
отборе воды на горячее водоснабжение только из одного трубопровода невозможно
уложиться в указанные границы на протяжении всего отопительного сезона.
Схема теплового пункта с неавтоматизированным водоразбором и циркуляцией дана в приложении Б части I Рекомендаций (рисунок Б.2).
Выбор температуры воды в подающей линии, при которой водоразбор переводится с одной линии
на другую, ограничивается условиями
безопасности пользования горячей
водой (при t1 >
), с одной стороны, и возможностью вообще использовать горячую воду (при t2 <
) - с другой.
Компромиссом может являться такая температура наружного воздуха, при
которой температура воды в подающей
линии минимально бы превышала допустимую
и соответствующая ей температура воды в обратной линии в наименьшей степени
отличалась бы от нормативной.
Для примерной системы
теплоснабжения принимается температура наружного воздуха, при которой
осуществляется перевод водоразбора с одной линии на другую, равная
= -3°С. При этом значения температуры воды в тепловой сети
составляют: t1К = 86,0°С;
=83,5°С;
= 50,0°С (см. таблицу
5.2 части I Рекомендаций).
Средние значения
температуры воды в СГВ при неавтоматизированном водоразборе принимаются, как и при автоматизированном, на
5°С ниже температуры сетевой воды на входе в системы: при водоразборе только из
подающей линии
=
-5, только из
обратной
=
-5. Значения средних
температур воды в СГВ при неавтоматизированном непосредственном водоразборе для
примерной системы теплоснабжения приведены в таблице
6.2. Значения
температур
и
в примерной системе
теплоснабжения приняты по таблице
6.1 части I Рекомендаций. При водоразборе только из подающей линии
= 0,
= 1, а
эксплуатационный удельный расход сетевой воды на горячее водоснабжение gВР.НА.П (м3/Гкал) определяется по формуле
(6.7)
При водоразборе только из
обратной линии
= 0,
= 1, а
эксплуатационный удельный расход сетевой воды на горячее водоснабжение gВР.НА.П (м3/Гкал)
определяется по той же формуле:
При
= -3°С достаточно
определить значение удельного расхода сетевой воды на горячее водоснабжение при
отборе ее только из подающей линии gВР.НА.П, не
проводя расчет этого удельного расхода при отборе только из обратной линии,
поскольку повышенный расход сетевой воды на горячее водоснабжение при отборе
только из обратной линии оказывает примерно то же влияние на гидравлический
режим системы теплоснабжения, что и меньший расход, но отбираемый из подающей
линии.
Значения эксплуатационного удельного расхода сетевой воды при неавтоматизированном водоразборе в примерной системе теплоснабжения приведены в таблице 6.2.
|
емпература, °С |
Удельный расход сетевой воды на горячее водоснабжение, м3/Гкап |
|
|
gВР.НА.П |
gВР.НА.О |
|
|
|
17,2 |
- |
|
|
13,6 |
- |
|
|
- |
18,2 |
|
|
- |
24,4 |
При наличии циркуляции в
неавтоматизированной СГВ с непосредственным водоразбором значение
циркуляционного расхода воды учитывается в расходе сетевой воды наотопление потребителя. У таких потребителей
эксплуатационный удельный расход сетевой воды на отопление
(м3/Гкал)
равен
=(1+0,7 аОЧ.НА)
, (6.9)
где коэффициент (1 + 0,7 аОЧ.НА) учитывает необходимость увеличения расхода сетевой воды на системы отопления, покрывающего тепловые потери в СГВ и в то же время обеспечивающего нормальный расход тепловой энергии на системы отопления. Величина аОЧ.НА расшифрована в разделе 5.1 части I Рекомендаций; для примерной системы теплоснабжения аОЧ.НА = 0,04.
Эксплуатационный
удельный расход сетевой воды на отопление у потребителей с неавтоматизированным
непосредственным водоразбором и циркуляцией воды в СГВ
в примерной системе
теплоснабжения составляет
= (1 + 0,7.0,04).13,6
= 14,0м3/Гкал.
Целью расчета является определение эксплуатационного удельного расхода сетевой воды на неавтоматизированные подогреватели независимо присоединенных систем отопления (вентиляции).
Приводимая методика расчета эксплуатационного удельного расхода сетевой воды на отопительные подогреватели применяется для тепловых пунктов, в которых нагрузка горячего водоснабжения отсутствует или присоединена посредством параллельной или смешанной схем включения подогревателей горячего водоснабжения. При последовательной схеме включения подогревателей горячего водоснабжения определение эксплуатационного удельного расхода сетевой воды производится совместно на отопление и горячее водоснабжение (см. раздел 6.6 части I Рекомендаций) и отдельно на отопительный подогреватель не осуществляется.
Расчет эксплуатационного удельного расхода сетевой воды на отопительные подогреватели производится для каждого теплового пункта с указанным оборудованием.
Расчет эксплуатационного удельного расхода сетевой воды на подогреватели независимо присоединенных систем отопления выполняется в точке излома температурного графика.
При независимой схеме присоединения систем отопления (вентиляции) потребителей определение эксплуатационного удельного расхода сетевой воды на отопление производится по специально разработанной ОАО «Фирма ОРГРЭС» методике в соответствии с приложением Г части I Рекомендаций, задача 1 «indepgip», пример 1 «indgip #». Расчет производится с помощью ПЭВМ.
При
расчете эксплуатационных удельных расходов сетевой воды используются
температура сетевой воды в подающей линии в точке излома нормативного графика температур, утвержденного ЭОС,
, оценочное среднее значение понижения температуры воды
в этой линии в точке излома
температурного графика
(см. таблицу
5.1 части 1 Рекомендаций) и значение относительного расхода сетевой воды на
отопление
. равное единице.
В
результате расчетов находится эксплуатационное значение удельного расхода
сетевой воды на каждый отопительный подогреватель
при независимом присоединении систем
отопления (вентиляции) - gip =
Определенное таким
образом значение удельного расхода сетевой воды на неавтоматизированные
подогреватели систем отопления (вентиляции) постоянно в течение отопительного
сезона.
Основными исходными данными для определения эксплуатационного удельного расхода сетевой воды на неавтоматизированные отопительные подогреватели в точке излома температурного графика являются:
- коэффициент эффективности mi и число последовательно включенных секций отопительного подогревателя ni;
-расчетные
значения температуры воды в независимо присоединенных системах отопления (во
втором контуре) t1ip, t2ip и t3ip и расчетная температура наружного воздуха для
отопления ![]()
- температура сетевой воды в подаюшей линии в точке излома
нормативного температурного графика
, заданная ЭОС, и температура наружного воздуха в точке
излома нормативного температурного графика
;
.
- среднее значение понижения температуры сетевой воды в подающей линии в точке
излома нормативного температурного графика за счет тепловых потерь
.
Способ нахождения коэффициента эффективности отопительного подогревателя mi, зависящего от эксплуатационного состояния его поверхности нагрева, приведен в приложении В.
При незначительном количестве отопительных подогревателей в системе теплоснабжения целесообразно выделять данные по тепловым пунктам с такими подогревателями при отсутствии нагрузки горячего водоснабжения или при присоединении ее на тепловых пунктах по параллельной и смешанной схемам в специальную расчетную таблицу (таблица 6.3).
|
Разложение потребителя |
Характеристика отопительного подогревателя |
Эксплуатационный удельный расход сетевой воде на отопление gip, м3/Гкал |
|||
|
Адрес |
Номер на расметной схеме |
t1ip,оС |
mi |
ni |
|
|
1 |
2 |
3 |
4 |
5 |
6 |
|
|
271 |
95 |
0,6 |
4 |
15,9 |
|
|
453 |
95 |
0,6 |
5 |
14,8 |
|
|
805 |
120 |
0,6 |
8 |
16,3 |
В состав потребителей примерной системы теплоснабжения с независимой схемой присоединения отопительно-вентиляционной нагрузки входят все такие потребители с любой схемой присоединения нагрузки горячего водоснабжения на их тепловых пунктах (кроме последовательной), а также потребители без этой нагрузки.
Отопительные подогреватели потребителей, присоединенных по независимой схеме в ЦТП или в ИТП, рассчитываются одинаково (с использованием задачи 1 «indepgip»).
Ниже приводится пример подбора исходных данных для потребителя с независимым присоединением отопительной нагрузки, необходимых для определения эксплуатационного значения расчетного удельного расхода сетевой воды на отопительные подогреватели gip (м3/Гкал), производимого с помощью ПЭВМ согласно задаче 1 «indepgip».
Для расчета эксплуатационного удельного расхода сетевой воды на отопление при его независимом присоединении для одного из потребителей примерной системы теплоснабжения в память ПЭВМ при решении задачи 1 «indepgip» должны быть введены следующие исходные данные (последние три цифровые значения приведены для этого потребителя):
ТV(tBH) - расчетная температура воздуха внутри помещений, °С (ТV = 18);
Тпр(tHB.P) - расчетная температура наружного воздуха для отопления, °С (Тпр = -26);
Т2iP(t2ip) - номинальная расчетная температура воды в обратной линии систем отопления, °С (Т2iP = 70);
Т3iP(t3ip) - номинальная расчетная температура воды в подающей линии систем отопления, °С (Т3iP = 95);
Тnu(
) - температура наружного воздуха в точке излома нормативного
температурного графика системы теплоснабжения, °С (Тnu =
2,5);
Т1u
- температура сетевой воды в подающей линии по нормативному
температурному графику системы теплоснабжения в точке его излома, °С (Т1u = 70°С - см. раздел 4.2.1 части I Рекомендаций);
DT1p1u(
) - среднее значение понижения температуры сетевой воды в подающей линии тепловой сети за счет тепловых потерь в точке излома
нормативного температурного графика, °С
(DT1p1u = 2°С - см. таблицу 5.1 части
1 Рекомендаций);
Т1iP(t1ip) - расчетная температура воды в подающей линии перед системами отопления (во втором контуре за отопительным подогревателем), °С (Т1iP = 130°С);
mi - коэффициент эффективности отопительного подогревателя mi = 0,60;
ni - количество последовательно соединенных секций отопительного подогревателя ni = 6.
В
результате расчета эксплуатационный удельный расход сетевой воды на независимо
присоединенные системы отопления оказывается равным gip=
= 23,5м3/Гкал.
Целью расчета является определение эксплуатационного удельного расхода сетевой воды на горячее водоснабжение потребителей, которое обеспечивается водоводяными подогревателями, включенными на тепловых пунктах по параллельной и смешанной схемам (gВП м3/Гкал).
Расчет эксплуатационного удельного расхода сетевой воды на подогреватели горячего водоснабжения, включенные по параллельной и смешанной схемам, производится для каждого теплового пункта с такими подогревателями.
Расчет эксплуатационного удельного расхода сетевой воды на горячее водоснабжение осуществляется как для СГВ с циркуляцией воды в них, так и для систем без циркуляции воды. Системы горячего водоснабжения могут быть присоединены как в ИТП, так и в ЦТП.
Для неавтоматизированных
подогревателей (без РТ) расчет производится только при условиях точки излома
температурного графика, для автоматизированных подогревателей (с РТ) расчет
выполняется при трех-четырех значениях температуры наружного воздуха: в точке излома графика
, в точке его срезки
, при промежуточной температуре наружного воздуха
>
>
и при расчетной его температуре
(только при постоянном отпуске тепловой энергии в
системе теплоснабжения в диапазоне
срезки температурного графика).
При указанных схемах присоединения СГВ посредством водоподогревателей определение эксплуатационного удельного расхода сетевой воды на горячее водоснабжение осуществляется на ПЭВМ с использованием приложения Г части I Рекомендаций.
Определение эксплуатационных значений удельных расходов сетевой воды на горячее водоснабжение, обеспечиваемое посредством водоподогревателей, без использования ПЭВМ и специально разработанных алгоритмов по своей чрезвычайной трудоемкости практически невозможно.
Согласно пп. 2.2, б и 8.2 СНиП 2.04.01-85 [1] средненедельный расход сетевой
воды на горячее водоснабжение и его часовая
средненеделъная тепловая нагрузка в закрытых системах теплоснабжения
определяются при средней температуре воды в СГВ
= 55°С. При этом нормативная температура воды на входе в системы должна быть не ниже
= 60°С, а температура
циркуляционной воды, поступающей из СГВ на тепловой пункт, должна составлять
50°С (на выходе из системы).
По
предварительной оценке минимальная температура
воды в подающей линии тепловой
сети примерной системы теплоснабжения составляет 68°С (см. таблицу
5.1 части I Рекомендаций), поэтому
температура нагретой в подогревателях водопроводной воды может достигать
нормативного значения 60°С (см. также п. 2 приложения 4 СП 41-101-95 [3]). При этом часть теплосодержания водопроводной воды на
выходе из теплового пункта расходуется
на компенсацию тепловых потерь трубопроводами СГВ. Эта доля определяется
соотношением
и для закрытой системы составляет
= 0,1 часового
средненедельного расхода тепловой энергии на горячее водоснабжение. Согласно СП 41-101-95 [3] эта величина должна учитываться во всех СГВ,
присоединенных посредством водоподогревателей, независимо от того,
предусмотрена или нет система циркуляции воды в них.
Таким образом, для СГВ, присоединенных на тепловых пунктах посредством водоводяных подогревателей, нормативно предопределяется увеличение средненедельной тепловой нагрузки горячего водоснабжения на 10% по сравнению с определенной согласно СНиП 2.04.01-85 [1] и в расчетах средненедельная нагрузка горячего водоснабжения, определенная согласно этим СНиП, должна приниматься с коэффициентом 1,1.
Расчетный удельный расход
водопроводной воды, поступающей в СГВ при любой тепловой нагрузке горячего
водоснабжения, включая средненедельную, равен
=
=20 м3/Гкал
В СГВ, где предусмотрена система циркуляции воды, нормативный коэффициент, учитывающий потери тепловой энергии трубопроводами СГВ, КТП регламентируется СП 41-101-95 [3]. Этот коэффициент определяется отношением значения тепловых потерь к средненедельной нагрузке горячего водоснабжения и принимается обычно
при ИТП т КТП =0,25 при ЦТП
6.5.4.1 Задачи, решаемые при расчете эксплуатационного удельного расхода сетевой воды на горячее водоснабжение при параллельной схеме
Расчет эксплуатационных удельных расходов сетевой воды на горячее водоснабжение при параллельной схеме включения водоподогревателей у потребителей производится с помощью ПЭВМ путем решения следующих задач (см. приложение Г части I Рекомендаций):
- определение
эксплуатационного удельного расхода сетевой воды на горячее водоснабжение при
автоматизированных и неавтоматизированных СГВ без циркуляции воды в них в
диапазоне температур сетевой воды в подающей линии 70°С ≤
< 90°С, которая
подразделяется на две отдельные задачи в зависимости от количества секций в
подогревателе горячего водоснабжения:
при количестве секций n ≤ 6 - задача 3 «par 70^6», пример 3 «par 70^6#»;
при количестве секций n ≥ 7 - задача 4 «par 70^7», пример 4 «par70^7#»;
- определение
эксплуатационного удельного расхода сетевой воды на горячее водоснабжение при
автоматизированных СГВ без циркуляции воды в них при температурах сетевой воды
в подающей линии
≥ 90°С - задача
5 «раr 90», пример 5
«раr 90#»;
- определение
эксплуатационного удельного расхода сетевой воды на горячее водоснабжение при
автоматизированных и неавтоматизированных СГВ с циркуляцией воды в них в
диапазоне температур сетевой воды в подающей линии 70°С≤
<90°С - задача 6 «parcir 70», пример 6 «parcr 70#»;
- определение
эксплуатационного удельного расхода сетевой воды на горячее водоснабжение при
автоматизированных СГВ с циркуляцией воды в них при температурах сетевой воды в
подающей линии
≥ 90°С - задача 7 «par90», пример 7 «раг90#».
Для
автоматизированных СГВ (при наличии РТ на тепловых пунктах) определение
эксплуатационного удельного расхода сетевой воды на горячее водоснабжение gВП при параллельной
схеме включения подогревателей производится при трех характерных температурах
наружного воздуха в диапазоне качественного регулирования: при
,
>
>
и
. В условиях постоянства температуры сетевой воды в подающей
линии сети в диапазоне температур наружного воздуха
≥
≥
определение величины gВП не производится.
При постоянстве отпуска тепловой энергии в указанном диапазоне определение
удельных расходов сетевой воды на горячее водоснабжение дополнительно
производится и при расчетной температуре наружного воздуха
. Расчет удельного расхода сетевой воды на горячее
водоснабжение при
=+10°С не
производится, поскольку его значение совпадает со значением gВП в точке излома температурного графика
.
Для неавтоматизированных
СГВ (при отсутствии РТ на тепловых пунктах) определение эксплуатационного удельного
расхода сетевой воды на горячее водоснабжение gВП при параллельной схеме включения подогревателей
производится только при одной характерной температуре наружного воздуха,
соответствующей точке излома температурного графика
. На протяжении отопительного сезона значение удельного
расхода gВП остается постоянным и равным его значению при
. При проведении расчетов для неавтоматизированных СГВ
используются только задачи 3, 4 и 6.
В результате расчетов определяются значения gt = gВП для параллельной схемы включения подогревателей горячего водоснабжения при указанных характерных температурах наружного воздуха.
6.5.4.2 Исходные данные, необходимые для определения эксплуатационных удельных расходов сетевой воды на параллельно присоединенные подогреватели горячего водоснабжения
Основными исходными данными для определения эксплуатационных удельных расходов сетевой воды на автоматизированные и неавтоматизированные подогреватели горячего водоснабжения, включенные по параллельной схеме, при отсутствии циркуляции в СГВ являются:
- коэффициент эффективности m и число секций подогревателя n;
- значения температуры
сетевой воды в подающей линии тепловой сети по нормативному температурному
графику
, при которых определяются эксплуатационные значения
удельного расхода сетевой воды;
- средние значения понижения
температуры сетевой воды в подающей линии тепловой сети за счет тепловых потерь
ΔtТП1 при
значениях температуры воды в этой линии
, при которых определяются эксплуатационные значения
удельного расхода сетевой воды.
Способ нахождения коэффициента эффективности подогревателя, включенного по параллельной схеме, который зависит от эксплуатационного состояния его поверхности нагрева, приведен в приложении В части I Рекомендаций.
При наличии циркуляции в СГВ основными исходными данными для определения эксплуатационных значений удельного расхода сетевой воды на автоматизированные и неавтоматизированные подогреватели горячего водоснабжения, включенные по параллельной схеме, являются:
- отношение тепловых потерь в СГВ к средненедельной тепловой нагрузке горячего водоснабжения КТП;
- коэффициенты эффективности m1 и m2 и количество последовательно соединенных секций водоподогревателя n1 и n2 раздельно по первой и второй ступеням подогревательной установки (до и после точки врезки циркуляционной линии);
-температуры сетевой воды в
подающей линии тепловой сети по нормативному температурному графику
, при которых определяются эксплуатационные значения
удельного расхода сетевой воды;
- средние значения
понижения температуры сетевой воды в подающей линии тепловой сети за счет
тепловых потерь ΔtТП1 при значениях температуры воды в этой линии
при которых
определяются эксплуатационные значения удельного расхода сетевой воды.
В состав потребителей с параллельной схемой включения подогревателей горячего водоснабжения входят все потребители с этой схемой независимо от схемы включения систем отопления на их тепловых пунктах. Все потребители с этой схемой подразделяются на потребителей с наличием или отсутствием РТ воды на входе в СГВ и с наличием или отсутствием циркуляции воды в СГВ.
Расчет эксплуатационного значения удельного расхода сетевой воды на параллельно включенные подогреватели горячего водоснабжения производится для каждого теплового пункта с таким подогревателем.
6.5.4.3 Образцы подбора исходных данных для ряда потребителей в примерной системе теплоснабжения с параллельной схемой присоединения подогревателя горячего водоснабжения и результаты расчета значений gВП=gt
В качестве примера выбраны
потребитель, характеризуемый наличием РТ и отсутствием циркуляции воды в СГВ, и
потребитель, характеризуемый наличием РТ и циркуляции воды в СГВ. Для первого
потребителя исходные данные подбирались для расчета эксплуатационного удельного расхода сетевой воды на горячее
водоснабжение при
=-3°С, для второго потребителя - при
= -26°С.
Для
расчета эксплуатационного значения удельного расхода сетевой воды на горячее водоснабжение
при параллельной схеме его
присоединения при
= -3°С для первого
потребителя в память ПЭВМ при решении
задачи 3 «par 70^6» должны быть введены следующие исходные
данные:
Тgp(
) -расчетная температура нагретой воды на входе в СГВ, °С (Тgp = 60);
ТХ(tХВ) - температура холодной водопроводной воды, оС (Тх =5);
-
температура сетевой воды в подающей линии по нормативному температурному
графику при Тn = -3, при которой определяется
удельный расход сетевой воды, °С (Т'1 = 86, см. раздел
4.2.1.4 части I Рекомендаций);
DT1p1(
) - среднее значение понижения температуры сетевой воды в подающей линии
тепловой сети за счет тепловых
потерь при температуре воды в подающей линии Т1 = = 86 (при Тn - -3), °С (DT1p1 = 2,5, см. таблицу
5.1 части I Рекомендаций);
Ао - коэффициент, зависящий от Т1 (Ао = 0,56, см. приложение Г части I Рекомендаций);
m - коэффициент эффективности подогревателя горячего водоснабжения (m = 0,70);
n - количество последовательно соединенных секций подогревателя (n = 3).
В результате расчета
эксплуатационный удельный расход сетевой воды на горячее водоснабжение при
= -3°С оказался
равным gt = gВП = 36,7 м3/Гкал.
Для расчета
эксплуатационного удельного расхода сетевой
воды на горячее водоснабжение при параллельной схеме его присоединения при
= -26°С для второго потребителя в память ПЭВМ при решении задачи 7 «раrcir 90» должны быть введены следующие исходные
данные:
Тgp(
) - расчетная температура нагретой воды на входе
в СГВ, °С (Тgp = 60);
ТХ(tХВ) - температура холодной водопроводной воды, °С (Тх =5);
ТC(
) - расчетная температура циркуляционной воды на входе в подогревательную
установку, °С (ТC = 50);
- температура сетевой воды в
подающей линии по нормативному температурному графику
при Тпр = -26,
при которой определяется удельный расход сетевой воды, °С(T1 = 106 -см. раздел
4.2.1.3 части I Рекомендаций);
DT1p1(
) - среднее значение понижения температуры
сетевой воды в подающей линии тепловой сети
за счет тепловых потерь при температуре сетевой воды в подающей линии Т1
= 106 (при Тпр =
-26), ºС (DT1p1= 3,0-см. таблицу
5.1 части I
Рекомендаций);
Кip(KTП) - коэффициент тепловых потерь, определяющий расход тепловой энергии на циркуляцию воды в СГВ, - отношение тепловых потерь в системе горячего водоснабжения к средненедельной тепловой нагрузке горячего водоснабжения потребителя (Кip = 0,2);
m1 - коэффициент эффективности первой ступени подогревателя горячего водоснабжения (m1 = 0,5);
m2 - коэффициент эффективности второй ступени подогревателя горячего водоснабжения (m2 = 0,4);
n1 - количество последовательно соединенных секций подогревателя первой ступени (n1=3);
n2- количество последовательно соединенных секций подогревателя второй ступени (n2 = 3).
В результате расчета
эксплуатационный удельный расход сетевой воды на горячее водоснабжение при
= -26°С оказался
равным gt = gВП = 20,5 м3/Гкал.
Для примерной системы теплоснабжения образцы расчетов эксплуатационного удельного расхода сетевой воды на параллельно включенные подогреватели горячего водоснабжения в зависимости от их автоматизации и наличия циркуляции в СГВ приведены в сводной таблице 6.4 раздела 6.7 части I Рекомендаций.
Определение эксплуатационного удельного расхода сетевой воды на горячее водоснабжение при смешанной схеме включения водоподогревателей производится при следующих схемах СГВ и тепловых пунктов:
- при автоматизированных и неавтоматизированных СГВ;
- при наличии и отсутствии циркуляции воды в СГВ;
- при непосредственной и независимой схемах присоединения систем отопления;
- при использовании смешанной схемы в ИТП и ЦТП.
6.5.5.1 Задачи, решаемые при расчете эксплуатационного удельного расхода сетевой воды на горячее водоснабжение при смешанной схеме
Расчет эксплуатационного удельного расхода сетевой воды на горячее водоснабжение при смешанной схеме включения подогревателей и непосредственной схеме присоединения систем отопления производится с помощью ПЭВМ, при этом решаются следующие задачи (см. приложение Г части 1 Рекомендаций):
- определение эксплуатационного удельного расхода сетевой воды на горячее водоснабжение при автоматизированных и неавтоматизированных СГВ с циркуляцией воды в них и при ее отсутствии в диапазоне спрямления температурного графика - задача 8 «mixdir 70», пример 8 «mixdir 70#»;
- определение
эксплуатационного удельного расхода сетевой воды на горячее водоснабжение при автоматизированных
СГВ с циркуляцией воды в них и при ее отсутствии в диапазонах температур
наружного воздуха, прилегающих к
-5°С (при 0,4 ≤ q ≤ 0,6)-задача 9 «mixdir», пример 9 «mixdir 5#»;
- определение эксплуатационного удельного расхода сетевой воды на горячее водоснабжение при автоматизированных СГВ с циркуляцией воды в них в диапазоне срезки температурного графика - задача 10 «mixdircp», пример 10 «mixdircp#»;
- определение температуры наружного воздуха, при которой для автоматизированных СГВ без циркуляции воды эксплуатационный удельный расход сетевой воды на горячее водоснабжение равен нулю - задача 11 «mxdigt0», пример 11 «mxdigt0 #».
Расчет эксплуатационного удельного расхода сетевой воды на горячее водоснабжение при смешанной схеме включения подогревателей и независимой схеме присоединения систем отопления при наличии или отсутствии циркуляции в СГВ производится с помощью ПЭВМ, при этом решаются следующие задачи (см. приложение Г части I Рекомендаций):
- определение эксплуатационного удельного расхода сетевой воды на горячее водоснабжение при автоматизированных и неавтоматизированных СГВ в диапазоне спрямления температурного графика - задача 12 «mxind 70», пример 12 «mxind 70#»;
- определение
эксплуатационного удельного расхода сетевой воды на горячее водоснабжение при автоматизированных СГВ в диапазонах
температур наружного воздуха, прилегающих
к
-5°С (при 0,4
≤ q ≤ 0,6) - задача 13 «mxind
5», пример 13 «mxind
5#»;
- определение эксплуатационного удельного расхода сетевой воды на горячее водоснабжение при автоматизированных СГВ в диапазоне срезки температурного графика -задача 14 «mxindcp», пример 14 «mxindср #»;
- определение температуры наружного воздуха, при которой для автоматизированных СГВ эксплуатационный удельный расход сетевой воды на горячее водоснабжение равен нулю - задача 15 «mxingt0», пример 15 «mxingt0 #».
Как и при параллельной схеме, при смешанной схеме
включения автоматизированных СГВ определение
эксплуатационного удельного расхода сетевой воды на горячее водоснабжение gВП производится при
трех характерных температурах наружного воздуха
в диапазоне качественного регулирования:
,
>
>
и
, В условиях
постоянства температуры сетевой воды в подающей линии в диапазоне температур
наружного воздуха
≥
≥
определение значения величины gВП производится. Это объясняется тем, что эксплуатационный удельный
расход сетевой воды на горячее водоснабжение при
мало отличается от
его значения при
и практически расчет
удельного расхода сетевой воды на горячее водоснабжение при
можно не производить,
приняв значение gВП при
равным его значению при
.
При
постоянстве отпуска тепловой энергии в диапазоне наружного воздуха
≥
≥
определение
удельного расхода сетевой воды на горячее водоснабжение дополнительно производится и при расчетной
температуре наружного воздуха
.
Независимо от режима
отпуска тепловой энергии в диапазоне температур наружного воздуха
≥
≥
значение
эксплуатационного удельного расхода сетевой воды на горячее водоснабжение при
= +10°С мало отличается от его значения при
. Поэтому расчет удельного расхода сетевой воды на горячее водоснабжение при
= +10°С можно не производить, приняв значение gВП при
= +10°С равным его
значению при
.
В
зависимости от конкретного набора исходных данных возможны случаи, при которых нельзя
определить значения gВП в диапазоне срезки
температурного графика. Это объясняется тем, что вторая ступень
подогревательной установки прекращает работать при
>
из-за достижения
значения температуры водопроводной воды
= 60°С при этой
. Ее значение находится при решении задач 11 и 15. В этом случае задачи 10 и 14 решать не следует
и значения gВП в диапазоне срезки
температурного графика должны быть приняты равными нулю.
Для неавтоматизированных
СГВ при смешанной схеме включения подогревателей определение эксплуатационного
удельного расхода сетевой воды на горячее водоснабжение производится только при
одной характерной температуре наружного воздуха - в точке излома температурного
графика
. На протяжении отопительного сезона значение удельного
расхода сетевой воды на горячее водоснабжение сохраняется постоянным и равным
его значению при
. При проведении расчетов для неавтоматизированных СГВ
используются только задачи 8 и 12.
В результате расчетов определяются значения gt = gВП каждого потребителя со смешанной схемой включения подогревателей горячего водоснабжения при указанных характерных температурах наружного воздуха.
6.5.5.2 Исходные данные, необходимые для определения эксплуатационного удельного расхода сетевой воды на горячее водоснабжение при смешанной схеме включения подогревателей
Основными исходными данными для определения эксплуатационного удельного расхода сетевой воды на автоматизированные и неавтоматизированные подогреватели горячего водоснабжения, включенные по смешанной схеме, являются:
- коэффициенты эффективности подогревателей горячего водоснабжения первой и второй ступеней m1 и m2, а при независимой схеме присоединения систем отопления и смешанной схеме присоединения СГВ также и коэффициент эффективности отопительного подогревателя mi; в этом случае необходимы и расчетные температуры воды во втором контуре t1ip, t2ip и t3ip. Способ нахождения коэффициентов m1, m2 и mi, указан в приложении В части I Рекомендаций;
- количество последовательно соединенных секций в подогревателях горячего водоснабжения первой и второй ступеней n1 и n2, а при независимой схеме присоединения систем отопления и количество последовательно соединенных секций в отопительном подогревателе ni;
- расчетная температура
наружного воздуха для отопления
;
- характерные значения
температуры наружного воздуха
при которых
предполагается делать расчет эксплуатационных удельных расходов сетевой воды на
горячее водоснабжение gВП для автоматизированных схем включения подогревателей; при
неавтоматизированных схемах расчет производится только в точке излома
температурного графика
;
- температуры сетевой воды
в подающей линии
по заданному
нормативному графику температур при характерных значениях температуры наружного
воздуха, при которых предполагается определять gВП для автоматизированных схем включения подогревателей;
- средние значения понижения
температуры сетевой воды в подающей линии
при характерных
значениях температуры наружного воздуха, при которых предполагается определять gВП (см таблицу
5.1 части I
Рекомендаций);
- отношение
средненедельной нагрузки горячего водоснабжения, принятой с коэффициентом 1,1,
к расчетной отопительной (и вентиляционной) нагрузке аP =
для каждого
потребителя;
- относительный
расход сетевой воды на отопление в системе теплоснабжения
(см. раздел
5.7 части I
Рекомендаций);
- коэффициент КТП, определяющий расход тепловой энергии на циркуляцию воды в СГВ (КТП = 0,2 при ИТП; 0,25 при ЦТП и КТП = 0 при отсутствии циркуляции);
- при
непосредственно присоединенных системах
отопления - номинальный расчетный удельный расход сетевой воды при
режиме качественного регулирования
и коэффициент КОТ,
учитывающий повышение расхода сетевой
воды на отопление при понижении температуры сетевой воды в подающей линии за счет тепловых
потерь; значение КОТ принимается согласно разделу
6.1 части I Рекомендаций;
- при независимой
схеме присоединения систем отопления - расчетный эксплуатационный удельный
расход сетевой воды на отопление
определяемый
для данного потребителя в точке излома
температурного графика согласно разделу
6.4 части I Рекомендаций.
Необходимо еще раз подчеркнуть, что при неавтоматизированных подогревателях горячего водоснабжения все исходные данные должны быть выявлены только для точки излома температурного графика; при автоматизированных подогревателях исходные данные должны быть определены для всех характерных значений температуры наружного воздуха.
В состав потребителей со смешанной схемой включения подогревателей горячего водоснабжения входят все потребители с этой схемой независимо от схемы включения систем отопления на тепловом пункте. Все потребители со смешанной схемой подразделяются на потребителей с наличием или отсутствием РТ водопроводной воды на входе в СГВ. При наличии циркуляции воды в СГВ потребители распределяются также и по виду теплового пункта (ИТП или ЦТП).
Расчеты эксплуатационного удельного расхода сетевой воды на подогреватели горячего водоснабжения, включенные по смешанной схеме, производятся для каждого теплового пункта с такой схемой включения подогревателей.
6.5.5.3 Образцы подбора исходных данных для ряда потребителей примерной системы теплоснабжения со смешанной схемой присоединения подогревателей горячего водоснабжения и результаты расчета значений gВП=gt
В
качестве примера выбраны потребитель с
непосредственным присоединением систем
отопления в ЦТП, характеризуемый отсутствием РТ и наличием циркуляции воды в СГВ, и потребитель с независимым
присоединением систем отопления в ЦТП, характеризуемый наличием РТ и
отсутствием циркуляции воды в СГВ. Для первого потребителя исходные данные
подбирались для расчета эксплуатационного удельного расхода сетевой воды на
горячее водоснабжение при
= +2,5°С, для второго
потребителя - при
. Для расчета эксплуатационного удельного расхода
сетевой воды на горячее водоснабжение при смешанной схеме его присоединения и
непосредственном присоединении систем отопления при
= +2,5°С для первого
потребителя в память ПЭВМ при решении задачи 8 «mixdir 70» должны быть введены
следующие исходные данные:
TV(TBH) - расчетная температура воздуха внутри помещений, °С (ТV = 18);
Тпр(tHB.P) - расчетная температура наружного воздуха для отопления, °С (Тпр = -26);
Т1P(t1P) -номинальная расчетная температура сетевой воды в подающей линии системы теплоснабжения, °С (Т1P = 150);
Т2Р(t2Р) - номинальная расчетная температура сетевой воды в обратной линии системы теплоснабжения, °С (Т2Р = 70);
Т3Р (t3P) - номинальная расчетная температура сетевой воды в подающей линии систем отопления, °С (Т3P = 95);
Тgp(
) - расчетная температура нагретой воды на входе в СГВ, °С (Тgp = 60);
ТХ(tХВ) - температура холодной водопроводной воды, oС (ТX = 5);
- температура циркуляционной воды на входе в
подогревательную установку, oC(ТС=50)
- расчетный номинальный удельный расход
сетевой воды на отопле ние и вентиляцию при непосредственном их присоединении,
м3/Гкал (gор = 12,5);
Коt(КOT) - коэффициент увеличения расхода сетевой воды на непосредственно присоединенные системы отопления за счет выстывания сетевой воды в подающей линии (Коt = 1,09);
Тn(
) ~ температура наружного воздуха, при которой производится
расчет эксплуатационного удельного расхода сетевой воды на горячее
водоснабжение, °С (Тn = 2,5 - см. раздел
4.2.1 части I
Рекомендаций);
- температура сетевой воды в подающей линии
по нормативному температурному графику системы теплоснабжения, соответствующая
температуре наружного воздуха Тn = 2,5,
при которой производится расчет эксплуатационного удельного расхода сетевой
воды, °С (Т1 = 70 - см. раздел
4.2.1 части I
Рекомендаций);
DTtp1(ΔtТП1) - среднее значения понижения температуры сетевой воды в подающей линии тепловой сети за счет тепловых потерь при температуре наружного воздуха Тn = 2,5, °С (DTtp1 = 2 - см. таблицу 5.1 части I Рекомендаций);
- относительный расход сетевой воды на
отопление в системе теплоснабжения при температуре наружного воздуха Тn = 2,5 (У = 1 -
см. раздел
5.7 части I
Рекомендаций);
Кtp(КТП) - коэффициент тепловых потерь, определяющий расход тепловой энергии на циркуляцию воды в СГВ - отношение тепловых потерь в системе горячего водоснабжения к средненедельной тепловой нагрузке горячего водоснабжения (Кtp = 0,25);
а(аР) - отношение средненедельной нагрузки горячего водоснабжения, принятое с коэффициентом 1,1, к расчетной отопительной (и вентиляционной) нагрузке потребителя (а = 0,18);
m1 - коэффициент эффективности первой ступени подогревателя горячего водоснабжения (m1 = 0,70);
m2 - коэффициент эффективности второй ступени подогревателя горячего водоснабжения (m2 = 0,60);
n1 - количество последовательно соединенных секций подогревателя первой ступени (n1 = 5);
n2- количество последовательно соединенных секций подогревателя второй ступени (n2 = 6).
В результате расчета
эксплуатационный удельный расход сетевой воды на горячее водоснабжение при
= 2,5°С оказывается
равным gt = gВП = 34,1 м3/Гкал.
Для расчета
эксплуатационного удельного расхода сетевой воды на горячее водоснабжение при
смешанной схеме его присоединения и независимом присоединении систем отопления
при
= -3°С для второго
потребителя в память ПЭВМ при решении задачи 13 «mixind 5» должны быть введены следующие исходные данные (данные по
отопительному подогревателю приняты для потребителя 453 из таблицы
6.3 части I Рекомендаций):
TV(TBH) - расчетная температура воздуха внутри помещений, °С (ТV = 18);
Тпр(tHB.P) - расчетная температура наружного воздуха для отопления, °С (Тпр = -26);
Т2iР(t2iР) - номинальная расчетная температура воды в обратной линии независимо присоединенных систем отопления, °С (Т2iР - 70);
Т3iР(t3iP) - номинальная расчетная температура воды в подающей линии независимо присоединенных систем отопления, °С (Т3iР - 95);
Тgp(
) - расчетная
температура нагретой воды на входе в СГВ, °С (Тgp = 60);
ТХ(tХВ) - температура холодной водопроводной воды, °С (ТX = 5);
- расчетная температура циркуляционной
воды на входе в подогревательную установку, °С (ТC = 50);
Тп(tHB) - температура наружного воздуха, при которой производится расчет эксплуатационного удельного расхода сетевой воды на горячее водоснабжение, °С (Тп = -3 - см. раздел 4.2.1.4 части I Рекомендаций);
- температура сетевой воды в подающей линии
по нормативному температурному графику системы теплоснабжения, соответствующая
температуре наружного воздуха Тn = -3, при
которой производится расчет эксплуатационного удельного расхода сетевой воды,
°С (T1 = 86 - см. раздел
4.2.1.4 части I
Рекомендаций);
DTtp1(
) - среднее значение понижения
температуры сетевой воды в подающей линии тепловой сети за счет тепловых потерь
при температуре наружного воздуха Тn = -3, °С
(DTtp1 = 3 - см. таблицу
5.1 части I
Рекомендаций);
- относительный расход сетевой воды на
отопление в системе теплоснабжения при температуре наружного воздуха ТH = -3 (У = 1,08 - см. раздел
5.7 части I
Рекомендаций);
Т1iP(t1iP) -расчетная температура воды в подающей линии перед системами отопления (во втором контуре после отопительного подогревателя), °С (Т1iP = 95);
- эксплуатационный (расчетный)
удельный расход сетевой воды на отопительный подогреватель, м3/Гкал (gip = 14,8 - см. таблицу
6.3 части I Рекомендаций);
mi - коэффициент эффективности отопительного подогревателя (тi = 0,60);
ni - количество последовательно соединенных секций отопительного подогревателя (ni = 5);
Кtp(KTП) - коэффициент тепловых потерь, определяющий расход тепловой энергии на циркуляцию воды в СГВ, - отношение тепловых потерь в системе горячего водоснабжения к средненедельной тепловой нагрузке горячего водоснабжения (Кtp = 0);
а(аР) - отношение средненедельной нагрузки горячего водоснабжения, принятой с коэффициентом 1,1, к расчетной отопительной (и вентиляционной) нагрузке для второго потребителя (а = 0,13);
m1 - коэффициент эффективности первой ступени подогревателя горячего водоснабжения (m1 = 0,70);
m2 - коэффициент эффективности второй ступени подогревателя горячего водоснабжения (m2 = 0,60);
n1 - количество последовательно соединенных секций подогревателя первой ступени (n1 = 6);
n2-количество последовательно соединенных секций подогревателя второй ступени (n2 = 4).
В
результате расчета эксплуатационный удельный расход сетевой воды на горячее
водоснабжение при
= -3°С оказывается равным gt = gВП = 5,8 м3/Гкал.
Для примерной системы теплоснабжения образцы расчетов эксплуатационного удельного расхода сетевой воды на подогреватели горячего водоснабжения, включенные по смешанной схеме, в зависимости от их автоматизации, наличия циркуляции в СГВ и схемы присоединения систем отопления приведены в сводной таблице 6.4 раздела 6.7 части I Рекомендаций.
Проектная последовательная схема включения водоподогревателей горячего водоснабжения должна быть оборудована РТ, устанавливаемым на входе в СГВ, и РР, устанавливаемым на байпасе подогревателя второй ступени.
При отсутствии этих регуляторов при эксплуатации теплового пункта его режим и метод определения удельного расхода сетевой воды отличны от имеющих место при проектной схеме. В связи с этим неавтоматизированная последовательная схема включения подогревателей (без РТ и РР) ниже именуется «последовательной» схемой.
Определение эксплуатационного удельного расхода сетевой воды на тепловой пункт при последовательной схеме включения водоподогревателей горячего водоснабжения производится при:
- непосредственной и независимой схемах присоединения систем отопления;
- автоматизированных и неавтоматизированных СГВ;
- наличии и отсутствии циркуляции воды в СГВ,
- использовании последовательной схемы в ИТП и ЦТП.
Эксплуатационный удельный расход сетевой воды на тепловой пункт с последовательной схемой включения подогревателей горячего водоснабжения определяется только в точке излома температурного графика и является постоянным на протяжении всего отопительного сезона.
Эксплуатационный удельный расход сетевой воды при последовательной схеме определяется совместно на отопление и горячее водоснабжение. Удельный расход сетевой воды на тепловой пункт с последовательной схемой включения подогревателей горячего водоснабжения представляет собой расход ее на 1 Гкал расчетной отопительной нагрузки (gtdp или gtip, мэ/Гкал). Эксплуатационный удельный расход сетевой воды на горячее водоснабжение при последовательной схеме включения подогревателей отдельно не определяется.
Определение эксплуатационного удельного расхода сетевой воды на тепловой пункт при последовательной схеме включения водоподогревателей горячего водоснабжения производится по каждому тепловому пункту с такой схемой.
Соображения по значению тепловых нагрузок в СГВ при последовательной схеме аналогичны рассмотренным в разделах 6.5.2 и 6.5.3 части I Рекомендаций.
Расчет эксплуатационного удельного расхода сетевой воды на тепловой пункт при последовательной схеме включения водоподогревателей производится с помощью ПЭВМ, при этом решаются следующие задачи (см. приложение Г части I Рекомендаций):
.- определение эксплуатационного удельного расхода сетевой воды на тепловой пункт при непосредственной схеме присоединения систем отопления и автоматизированных СГВ (при наличии РТ) - задача 16 «posldir», пример 16 «posldir#»;
-определение эксплуатационного удельного расхода сетевой воды на тепловой пункт при непосредственной схеме присоединения систем отопления и неавтоматизированных СГВ - задача 17 «posdirn», пример 17 «posdirn#»;
-определение эксплуатационного удельного расхода сетевой воды на тепловой пункт при независимой схеме присоединения систем отопления и автоматизированных СГВ - задача 18 «poslind», пример 18 «poslind#»;
-определение эксплуатационного удельного расхода сетевой воды на тепловой пункт при независимой схеме присоединения систем отопления и неавтоматизированных СГВ - задача 19 «posindn», пример 19 «posindn#».
Необходимые исходные данные для определения эксплуатационного удельного расхода сетевой воды при последовательной схеме для каждой из перечисленных задач имеют некоторые отличия. Ниже приводятся перечни необходимых исходных данных для каждой из задач, в обозначениях которых дано их значение для примерной системы теплоснабжения (в скобках)
6.6.3.1 Необходимые исходные данные при непосредственной схеме присоединения систем отопления и автоматизированной СГВ (задача 16 «posldir», пример 16 «posldir#»)
TV(TBH) - расчетная температура воздуха внутри помещений, оС (ТV = 18);
Тпр(tHB.P) - расчетная температура наружного воздуха для отопления, °С (ТПр = -26);
Т1P(t1p) - номинальная расчетная температура сетевой воды в подающей линии тепловой сети, °С (Т1Р = 150);
Т2Р(12Р) - номинальная расчетная температура сетевой воды в обратной линии систем отопления, °С (Т2P = 70);
ТЗР(1ЗР) - номинальная расчетная температура сетевой воды в подающей линии систем отопления, °С (Т3Р = 95);
Тgp(
) - расчетная температура нагретой воды на входе в СГВ, оС
(Тgp = 60);
ТХ(tХВ) - температура холодной водопроводной воды, °С (ТX = 5);
- расчетная температура циркуляционной воды
на входе в подогревательную установку, °С (ТCP = 50);
Tnu(tHB.И) - температура наружного воздуха в точке излома нормативного графика температур сетевой воды в подающей линии, при которой производится определение удельного расхода сетевой воды на тепловой пункт, °С (Тnu = +2,5 - см. раздел 4.2.1 части I Рекомендаций);
Т1u
- температура
сетевой воды в подающей линии по нормативному температурному графику системы
теплоснабжения при температуре наружного воздуха Тnu, °С (Т1u = 70 -
см. раздел
4.2.1 части I
Рекомендаций);
DTtp1u(ΔtТП1) - среднее значение понижения сетевой воды в подающей линии тепловой сети за счет тепловых потерь при температуре наружного воздуха Тnu, оС (DTtp1u = 2 - см. таблицу 5.1 части I Рекомендаций);
Кip(KTП) - отношение суммы тепловых потерь в СГВ к средненедельной тепловой нагрузке горячего водоснабжения (Кtр = 0,25);
а(аР) - отношение срелненедельной тепловой нагрузки горячего водоснабжения на тепловом пункте, принятой с коэффициентом 1,1, к расчетному расходу тепловой энергии на отопление (и вентиляцию) (а = 0,12);
m1 - коэффициент эффективности первой ступени подогревательной установки горячего водоснабжения (m1 = 0,70);
n1 - количество последовательно соединенных секций в первой ступени подогревательной установки горячего водоснабжения (n1 = 4).
В результате расчета
эксплуатационный удельный расход сетевой воды на тепловой пункт при
+2,5оС
оказывается равным
= 16,7м3/Гкал.
Для примерной системы теплоснабжения образцы расчетов эксплуатационных удельных расходов сетевой воды на тепловой пункт с автоматизированной последовательной схемой включения подогревателей горячего водоснабжения и непосредственной схемой присоединения систем отопления приведены в сводной таблице 6.4 раздела 6.7 части I Рекомендаций.
6.6.3.2 Необходимые исходные данные при непосредственной схеме присоединения систем отопления и неавтоматизированной СГВ (задача 17 «poslind», пример 17 «poslind#»)
TV(TBH) - расчетная температура воздуха внугри помещений, °С (ТV = 18);
Тпр(tHB.P) - расчетная температура наружного воздуха для отопления, °С (Тпр = -26);
Т1P(t1p) - номинальная расчетная температура сетевой воды в подающей линии тепловой сети, °С (Т1Р = 150);
Т2Р(12Р) - номинальная расчетная температура сетевой воды в обратной линии систем отопления, °С (Т2Р = 70);
ТЗР(1ЗР) -номинальная расчетная температура сетевой воды в подающей линии систем отопления, °С (ТЗР = 95);
ТХ(tХВ) - температура холодной водопроводной воды, °С (ТX = 5);
Tnu(tHB.И) - температура наружного воздуха в точке излома нормативного графика температур сетевой воды в подающей линии, при которой производится определение удельного расхода сетевой воды на тепловой пункт, оС (Тnu = +2,5 - см. раздел 4.2.1 части I Рекомендаций);
Т1u
- температура
сетевой воды в подающей линии по нормативному температурному графику системы
теплоснабжения при температуре наружного воздуха Тnu, °С (Т1u = 70 - см. раздел
4.2.1 части I
Рекомендаций);
DTtp1u(ΔtТП1)И - среднее значение понижения температуры сетевой воды в подающей линии тепловой сети за счет тепловых потерь при температуре наружного воздуха Тnu °С'(DTtp1u - 2 - см. таблицу 5.1 части I Рекомендаций);
Кtp(KTП) - отношение суммы тепловых потерь в СГВ к средненедельной тепловой нагрузке горячего водоснабжения (Кtp = 0);
а(аР) - отношение средненедельной тепловой нагрузки горячего водоснабжения на тепловом пункте, принятой с коэффициентом 1,1, к расчетному расходу тепловой энергии на отопление (и вентиляцию) (а = 0,09);
m1 - коэффициент эффективности первой ступени подогревательной установки горячего водоснабжения (m1 = 0,70);
m2 - коэффициент эффективности второй ступени подогревательной установки горячего водоснабжения (m2 = 0,60);
n1 - количество последовательно соединенных секций в первой ступени подогревательной установки горячего водоснабжения (n1 = 5);
n2 - количество последовательно соединенных секций во второй ступени подогревательной установки горячего водоснабжения (n2 = 4).
В результате расчета
эксплуатационный удельный расход сетевой воды на тепловой пункт при
= +2,5оС
оказывается равным
= 15,3м3/Гкал.
Для примерной системы теплоснабжения образцы расчетов эксплуатационных удельных расходов сетевой воды на тепловой пункт с неавтоматизированной последовательной схемой включения подогревателей горячего водоснабжения и непосредственной схемой присоединения систем отопления приведены в сводной таблице 6.4 раздела 6.7 части I Рекомендаций.
6.6.3.3 Необходимые исходные данные при независимой схеме присоединения систем отопления и автоматизированной СГВ (задача 18 «poslind», пример 18 «poslind#»)
TV(TBH) - расчетная температура воздуха внутри помещений, °С (ТV = 18);
Тпр(tHB.P) - расчетная температура наружного воздуха для отопления, °С (Tпр = -26);
ТЗiР(1ЗiР) - номинальная расчетная температура воды в подающей линии независимо при соединенных систем отопления, оС (ТЗiР = 95);
Т2iР(12iР) - номинальная расчетная температура воды в обратной линии независимо присоединенных систем отопления, °С { Т2iР = 70);
Тgp(
) - расчетная температура нагретой воды на входе в СГВ, °С (Тgp = 60);
ТХ(tХВ) - температура холодной водопроводной воды, оС (ТX = 5);
- расчетная температура циркуляционной воды
на входе в подогревательную установку, °С (ТCP. = 50);
Tnu(tHB.И) - температура наружного воздуха в точке излома нормативного графика температур сетевой воды в подающей линии, при которой производится определение удельного расхода сетевой воды на тепловой пункт, °С (Тnu = +2,5 - см. раздел 4.2.1 части I Рекомендаций);
Т1u
- температура
сетевой воды в подающей линии по нормативному температурному графику системы
теплоснабжения при температуре наружного воздуха Тnu, °С (Т1u = 70 - см. раздел
4.2.1 части I
Рекомендаций);
DT1p1u(
)И -
среднее значение понижения температуры сетевой воды в подающей линии тепловой
сети за счет тепловых потерь при температуре наружного воздуха Тnu, °С (DT1p1u = 2 - см. таблицу
5.1 части I
Рекомендаций);
Т1iP(t1ip) - расчетная температура сетевой воды в подающей линии второго контура (за отопительным подогревателем), °С (Т1iP = 95);
mi - коэффициент эффективности отопительного подогревателя (mi, = 0,65);
ni- количество последовательно соединенных секций в отопительном подогревателе (ni = 5);
Кtp(KTП) - отношение суммы тепловых потерь в СГВ к средненеделъной тепловой нагрузке горячего водоснабжения (Кtp = 0,2);
а(аР) - отношение средненедельной тепловой нагрузки горячего водоснабжения на тепловом пункте, принятой с коэффициентом 1,1, к расчетному расходу тепловой энергии на отопление (и вентиляцию) (а = 0,16);
m1 - коэффициент эффективности первой ступени подогревательной установки горячего водоснабжения (m1 = 0,70);
n1 - количество последовательно соединенных секций в первой ступени подогревательной установки горячего водоснабжения (n1 = 3).
В результате расчета
эксплуатационный удельный расход сетевой воды на тепловой пункт при
= +2,5°С оказывается
равным
= 16,9 м3/Гкал.
Для примерной системы теплоснабжения образцы расчетов эксплуатационных удельных расходов сетевой воды на тепловой пункт с автоматизированной последовательной схемой включения подогревателей горячего водоснабжения и независимой схемой присоединения систем отопления приведены в сводной таблице 6.4 раздела 6.7 части I Рекомендаций.
6.6.3.4 Необходимые исходные данные при независимой схеме присоединения систем отопления и неавтоматизированной СГВ (задача 19 «posindn», пример 19 «posindn#»
TV(TBH) - расчетная температура воздуха внутри помещений, °С (ТV = 18);
Тпр(tHB.P) - расчетная температура наружного воздуха для отопления, °С (Тпр = -26);
ТЗiР(1ЗiР) - номинальная расчетная температура воды в подающей линии независимо присоединенных систем отопления, °С (ТЗiР = 95);
Т2iР(12iР) - номинальная расчетная температура воды в обратной линии независимо присоединенных систем отопления, °С (Т2iР = 70);
ТХ(tХВ) - температура холодной водопроводной воды, °С (Тх = 5);
Tnu(tHB.И) - температура наружного воздуха в точке излома нормативного графика температур сетевой воды в подающей линии, при которой производится определение удельного расхода сетевой воды на тепловой пункт, °С (Tnu = +2,5 - см. раздел 4.2.1 части I Рекомендаций);
T1u(t1И) - температура сетевой воды в подающей линии по нормативному температурному графику системы теплоснабжения при температуре наружного воздуха Тnu, oС (T1u = 70 - см. раздел 4.2.1 части I Рекомендаций);
DTtp1u(ΔtТП1)И - среднее значение понижения температуры сетевой воды в подающей линии тепловой сети за счет тепловых потерь при температуре наружного воздуха Тnu, °С (DTtp1u = 2 - см. таблицу 5.1 части I Рекомендаций);
Т1iP(t1iP) - расчетная температура сетевой воды в подающей линии второго контура (за отопительным подогревателем), °С (Т1iP = 95);
mi - коэффициент эффективности отопительного подогревателя (mi = 0,65);
ni - количество последовательно соединенных секций в отопительном подогревателе (ni = 4);
Кtp(KTП) - отношение суммы тепловых потерь в СГВ к средненедельной тепловой нагрузке горячего водоснабжения (Кtp = 0,25);
а(аР) - отношение средненедельной тепловой на1рузки горячего водоснабжения на тепловом пункте, принятой с коэффициентом 1,1, к расчетному расходу тепловой энергии на отопление (и вентиляцию) (а = 0,16);
m1 - коэффициент эффективности первой ступени подогревательной установки горячего водоснабжения (m1 = 0,70);
m2 - коэффициент эффективности второй ступени подогревательной установки горячего водоснабжения (m2 = 0,60);
n1 - количество последовательно соединенных секций в первой ступени подогревательной установки горячего водоснабжения (n1 = 6);
n2 - количество последовательно соединенных секций во второй ступени подогревательной установки горячего водоснабжения (n2 = 4).
В результате расчета
эксплуатационный удельный расход сетевой воды при
= +2,5°С оказывается
равным
= 19,9мэ/Гкал.
Для примерной системы теплоснабжения образцы расчетов эксплуатационных удельных расходов сетевой воды на тепловой пункт с неавтоматизированной последовательной схемой включения подогревателей горячего водоснабжения и независимой схемой присоединения систем отопления приведены в сводной таблице 6.4 раздела 6.7 части I Рекомендаций.
Примеры расчетов эксплуатационных удельных расходов сетевой воды для схем тепловых пунктов с водоподогревателями сведены в таблицу 6.4. Эти примеры соответствуют различным схемам включения подогревателей отопления и горячего водоснабжения. Кроме индивидуальных особенностей тепловых пунктов, в таблице 6.4 использованы температурные параметры примерной системы теплоснабжения или зависящие от них величины. Перечень указанных температурных параметров с указанием источников приведен ниже.
TV(TBH)=18oC (
>-30oC)
Тпр(tHB.P) = -26°С (см. раздел 4.2 части I Рекомендаций);
Т1P(t1P) = 150°С (см. раздел 4.2 части I Рекомендаций);
Т2P(t2P) = 70°С (см. раздел 4.2 части I Рекомендаций);
Т3P(t3P) = 95°С;
Тgp(
) = 60°С (см. раздел
6.5.2 части I
Рекомендаций);
ТХ(tХВ) = 5°С (см. раздел 6.5.2 части I Рекомендаций);
= 50°С (см. раздел
6.5.2 части I
Рекомендаций);
Т2Ip = 70°C
Т3iP = 95°С;
Tnu(tHB.И) = +2,5°С (см. раздел 4.2 части I Рекомендаций);
= +70°С (см. раздел
4.2 части I
Рекомендаций);
DTtp1u(ΔtТП1)И = 2°С (см. таблицу 5.1 части I Рекомендаций);
= 12,5 м3/Гкал
(при графике Т1Р = 150и Т2Р =70°С);
Коt(КOT) = 1,09 (см. раздел 6.1 части I Рекомендаций).
|
|
|
DTtp1 |
|
Параллельная схема Ао |
Параллельная схема с циркуляцией |
|
|
А01 |
А02 |
|||||
|
+2,5 |
70 |
2,0 |
1 |
0,54 |
0,46 |
0,56 |
|
-3 |
86 |
2,5 |
1,08 |
0,56 |
0,49 |
0,63 |
|
-15 |
120 |
3,5 |
1,13 |
0,56 |
0,49 |
0,63 |
|
-26 |
106 |
3,0 |
1,11 |
0,56 |
0,49 |
0,63 |
|
|
||||||
Таблица 6.4 соответствует системе теплоснабжения с максимальным разнообразием схем тепловых пунктов.
Если в системе теплоснабжения нет автоматизированных СГВ или в них отсутствует циркуляция воды, то соответствующие графы 8 или 9 могут быть исключены. Если в системе теплоснабжения количество тепловых пунктов с независимой схемой присоединения систем отопления, но без СГВ невелико, графы 15-17 могут быть исключены и вместо них может быть использована таблица 6.3 части I Рекомендаций.
|
Минимально необходимые исходные данные |
|||||||||||||
|
Расположение потребителя |
Расчетные тепловые нагрузки, Гкал/ч |
Оборудование СГВ |
Подогреватели горячего водоснабжения |
||||||||||
|
Адрес |
Обозначение на расчетной схеме |
|
1,1 |
|
|
|
Наличие РТ |
КТП |
Схема присоединения |
m1 |
m2 |
n1 |
n2 |
|
1 |
2 |
3 |
4 |
5 |
6 |
7 |
8 |
9 |
10 |
11 |
12 |
13 |
14 |
|
|
ТК-27 |
|
|
|
|
|
|
|
|
|
|
|
|
|
|
34 |
|
|
|
|
|
|
|
|
|
|
|
|
|
|
954-3 |
|
|
|
|
|
|
0 |
ПАР |
0,55 |
|
4 |
|
|
|
1456 |
|
|
|
|
|
+ |
0 |
ПАР |
0,55 |
|
7 |
|
|
|
ТК-52 |
|
|
|
|
|
+ |
0 |
ПАР |
0,55 |
|
3 |
|
|
|
462 |
|
|
|
|
|
+ |
0,2 |
ПАР |
0,6 |
0,5 |
2 |
2 |
|
|
471-1 |
|
|
|
|
|
|
0,2 |
ПАР |
0,6 |
0,5 |
3 |
2 |
|
|
280 |
|
|
|
|
|
|
0,2 |
ПАР |
0,6 |
0,5 |
3 |
3 |
|
|
ТК-254 |
0,134 |
0,026 |
0,187 |
|
0,139 |
|
0 |
СМШ |
0,65 |
0,55 |
5 |
4 |
|
|
ТК-38 |
0,052 |
0,011 |
0,071 |
|
0,155 |
+ |
0 |
СМШ |
0,6 |
0,5 |
2 |
3 |
|
|
352 |
0,158 |
0,033 |
0,235 |
|
0,140 |
|
0,2 |
СМШ |
0,6 |
0,5 |
3 |
3 |
|
|
638 |
0,911 |
0,319 |
1,354 |
0,236 |
0,200 |
+ |
0,25 |
СМШ |
0,7 |
0,6 |
4 |
4 |
|
|
ТК-273 |
0,273 |
0,067 |
0,325 |
|
0,206 |
|
0 |
СМШ |
0,6 |
0,5 |
4 |
5 |
|
|
УЗ.35 |
5,635 |
2,365 |
8,311 |
|
0,285 |
+ |
0,25 |
СМШ |
0,66 |
0,55 |
6 |
7 |
|
|
ТК-49 |
0,397 |
0,116 |
0,524 |
|
0,221 |
+ |
0,2 |
СМШ |
0,5 |
0,45 |
4 |
6 |
|
|
184-2 |
1,998 |
0,792 |
2,318 |
|
0,342 |
|
0,25 |
СМШ |
0,6 |
0,45 |
4 |
3 |
|
|
184-3 |
0,191 |
0,042 |
0,250 |
|
0,168 |
|
0,2 |
СМШ |
0,5 |
0,4 |
2 |
4 |
|
|
ТК-13 |
0,105 |
0,021 |
0,134 |
|
0,157 |
+ |
0 |
СМШ |
0,5 |
0.45 |
5 |
3 |
|
|
ТК-13А |
0,330 |
0,088 |
0,425 |
|
0,207 |
+ |
0,2 |
СМШ |
0,7 |
0,5 |
7 |
5 |
|
|
ТХ-18-1 |
0,298 |
0,077 |
0,351 |
|
0,219 |
|
0,2 |
СМШ |
0,65 |
0,6 |
4 |
6 |
|
|
ТК-18/3 |
4,327 |
1,804 |
6,894 |
0,952 |
0,230 |
|
0,25 |
СМШ |
0,7 |
0,6 |
4 |
3 |
|
|
227-1 |
0,051 |
0,011 |
0,112 |
|
0,098 |
|
0 |
СМШ |
0,5 |
0,4 |
4 |
8 |
|
|
227-2 |
0,754 |
0,257 |
0,989 |
|
0,260 |
+ |
0,25 |
СМШ |
0,5 |
0,4 |
6 |
3 |
|
|
145 |
|
|
|
|
|
|
|
|
|
|
|
|
|
|
163 |
|
|
|
|
|
|
|
|
|
|
|
|
|
|
165-1 |
0,049 |
0,011 |
0,080 |
|
0.138 |
+ |
0 |
ПОС |
0,6 |
|
3 |
|
|
|
165-2 |
0,124 |
0,025 |
0,171 |
|
0,146 |
+ |
0,2 |
ПОС |
0,6 |
|
3 |
|
|
|
314 |
6,873 |
3,003 |
9,355 |
1,741 |
0,271 |
+ |
0,25 |
ПОС |
0,5 |
|
4 |
|
|
|
298 |
0,063 |
0,014 |
0,095 |
|
0,147 |
+ |
0 |
ПОС |
0,6 |
|
2 |
|
|
|
79-1 |
0,327 |
0,087 |
0,408 |
|
0,213 |
+ |
0,2 |
ПОС |
0,6 |
|
4 |
|
|
|
80-2 |
3,620 |
1,490 |
4,254 |
0,125 |
0,340 |
+ |
0,2 |
ПОС |
0,7 |
|
5 |
|
|
|
9ЗА |
0,132 |
0,026 |
0,218 |
|
0,119 |
|
0 |
ПОС |
0,65 |
0,45 |
3 |
3 |
|
|
93Б |
0.070 |
0,014 |
0,135 |
|
0,104 |
|
0 |
ПОС |
0,5 |
0,4 |
3 |
2 |
|
|
4 |
0,064 |
0,013 |
0,159 |
|
0,082 |
|
0,2 |
ПОС |
0,6 |
0,5 |
4 |
3 |
|
|
47-1 |
0,325 |
0,086 |
0,407 |
|
0,211 |
|
0,2 |
ПОС |
0,6 |
0,5 |
3 |
4 |
|
|
47-2 |
2,891 |
1,188 |
3,251 |
|
0,365 |
|
0,25 |
ПОС |
0,7 |
0,55 |
4 |
5 |
|
|
112-3 |
5,734 |
2,420 |
7,315 |
0,354 |
0,316 |
|
0,25 |
ПОС |
0,6 |
0,45 |
5 |
7 |
|
|
112-4 |
0,310 |
0,080 |
0,482 |
|
0,166 |
|
0,2 |
ПОС |
0,65 |
0,5 |
4 |
6 |
|
|
1241 |
0,061 |
0,011 |
0,138 |
|
0,080 |
|
0 |
ПОС |
0,5 |
0,4 |
4 |
5 |
|
Результаты работы |
||||||||||
|
Отопительный подогреватель |
Эксплуатационный удельный расход сетевой воды на горячее водоснабжение, м3/Гкал |
Эксплуатационный удельный расход сетевой воды на отопление при tНВ.И, м3/Г'кап |
||||||||
|
m1 |
n1 |
Т1р |
Номер задачи |
в |
Номер задачи |
gtdp |
gip или gtip |
|||
|
при tНВ.И =-2,5оС |
при tНВ.И = -3оС (между tНВ.И и tНВ.С) |
при tНВ.С = -15оС |
при tНВ.Р =-26оС |
|||||||
|
15 |
16 |
17 |
18 |
19 |
20 |
21 |
22 |
23 |
24 |
25 |
|
0,65 |
8 |
130 |
|
|
|
|
|
1 |
|
18,4 |
|
0,5 |
4 |
95 |
|
|
|
|
|
1 |
|
17,3 |
|
|
|
|
3 |
82,4 |
|
|
|
|
|
|
|
0,5 |
3 |
95 |
4; 5 |
40,6 |
21,1 |
11,7 |
14,2 |
1 |
|
20,8 |
|
|
|
|
3; 5 |
129.7 |
50,1 |
21,1 |
28,0 |
|
|
|
|
|
|
|
6; 7 |
112,9 |
41,5 |
18,6 |
24,0 |
|
|
|
|
|
|
|
6 |
85,8 |
|
|
|
|
|
|
|
0,65 |
4 |
95 |
6 |
65,5 |
|
|
|
1 |
|
15,4 |
|
|
|
|
8 |
29,2 |
|
|
|
|
|
|
|
|
|
|
8; 9; 10 |
60,9 |
18,8 |
4.4 |
10,2 |
|
|
|
|
|
|
|
8 |
67,8 |
|
|
|
|
|
|
|
|
|
|
8; 9; 10 |
44,2 |
15,5 |
3,6 |
9,1 |
|
|
|
|
0,5 |
4 |
95 |
12 |
20,1 |
|
|
|
1 |
|
17,3 |
|
0,65 |
5 |
120 |
12; 13; 14 |
27,9 |
8,3 |
0 |
2,4 |
1 |
|
19,9 |
|
|
|
|
8; 9; 10 |
41,7 |
16,0 |
4,3 |
9,6 |
|
|
|
|
|
|
|
8 |
68,4 |
|
|
|
|
|
|
|
|
|
|
8 |
80,7 |
|
|
|
|
|
|
|
|
|
|
8; 9; 10 |
47,2 |
11,9 |
0,1 |
6,1 |
|
|
|
|
0,5 |
4 |
95 |
12:13:14 |
32,3 |
8,4 |
0 |
3,0 |
1 |
|
17,3 |
|
0,5 |
4 |
105 |
12 |
27,2 |
|
|
|
1 |
|
20,8 |
|
0,6 |
6 |
130 |
12 |
41,4 |
|
|
|
1 |
|
23,5 |
|
|
|
|
8 |
24,4 |
|
|
|
|
|
|
|
|
|
|
8; 9; 10 |
71,1 |
21,1 |
4,4 |
11,4 |
|
|
|
|
0,5 |
4 |
105 |
|
|
|
|
|
1 |
|
20,8 |
|
0,65 |
8 |
95 |
|
|
|
|
|
1 |
|
13,6 |
|
|
|
|
|
|
|
|
|
16 |
16,4 |
|
|
|
|
|
|
|
|
|
|
16 |
17,6 |
|
|
|
|
|
|
|
|
|
|
16 |
21,9 |
|
|
|
|
|
|
|
|
|
|
16 |
17,3 |
|
|
0.65 |
5 |
105 |
|
|
|
|
|
18 |
|
28,6 |
|
0,5 |
6 |
120 |
|
|
|
|
|
18 |
|
26,9 |
|
|
|
|
|
|
|
|
|
17 |
16,1 |
|
|
0,5 |
4 |
95 |
|
|
|
|
|
19 |
|
19,4 |
|
|
|
|
|
|
|
|
|
17 |
15,7 |
|
|
|
|
|
|
|
|
|
|
17 |
19,9 |
|
|
0,65 |
4 |
120 |
|
|
|
|
|
19 |
|
38,5 |
|
0,5 |
5 |
95 |
|
|
|
|
|
19 |
|
25,2 |
|
|
|
|
|
|
|
|
|
17 |
18,2 |
|
|
|
|
|
|
|
|
|
|
17 |
15,2 |
|
В таблице 6.4 заполнение графы 1 «Адрес» необязательно.
Расчеты по таблице 6.4 рекомендуется производить не последовательно по ее строкам, а по задачам. В этом случае значения температуры воды в системе теплоснабжения для каждого потребителя неизменны и при переходе к расчету следующего потребителя приходится изменять лишь значения а, КТП, n1, и n2; значения m1 и m2 обычно принимаются одинаковыми (усредненными) для больших групп потребителей. После решения одной из задач переходят к следующей. Такой подход существенно сокращает трудоемкость и время расчетов.
Перечень задач, встречающихся при расчете тепловых пунктов с водоводяными подогревателями, приведен в таблице 6.5.
|
Схема присоединения систем отопления |
Схема присоединения СГВ |
Характерная температура наружного воздуха Тn. oС |
Температура сетевой воды в подающей линии Т1. oС |
Номер задачи |
Наименование задачи и примера |
Результат решения задачи |
|
Непосредственная или независимая |
ПАР без циркуляции n < 6 |
Тnu и Тnc<Тn<Тnu |
70-90 |
3 |
par 70^6 par 70^6# |
gt |
|
ПАР без циркуляции n > 7 |
Тnu и Тnc<Тn<Тnu |
70-90 |
4 |
par 70^7 раг 70^7# |
gt |
|
|
ПАР без циркуляции |
Тnc и Тnp |
>90 |
5 |
par 90 par 90# |
gt |
|
|
ПАР с циркуляцией |
Тnu и Тnc<Тn<Тnu |
70-90 |
6 |
parcip 70 parcip 70# |
gt |
|
|
ПАР с циркуляцией |
Тnc и Тnp |
>90 |
7 |
parcip 90 parcip 90# |
gt |
|
|
Непосредственная |
СМШ |
Тnu |
70-80 |
8 |
mixdir 70 mxdir 70# |
gt |
|
СМШ |
Тnc<Тn<Тnu |
80-100 |
9 |
mixdir 5 mixdir 5# |
gt |
|
|
СМШ |
Тnc и Тnp |
> 100 |
10 |
mixdircp mixdircp # |
gt |
|
|
СМШ |
- |
- |
11 |
mxdigto mxdigto # |
Тn(gt=0) |
|
|
ПОС автоматизированная |
Тnu |
70-80 |
16 |
posldir posldir # |
gtdp |
|
|
ПОС автоматизированная |
var |
var |
20 |
posidx Posidx # |
X |
|
|
ПОС неавтоматизированная |
Тп„ |
70-80 |
17 |
posdim posdim # |
gtdp |
|
|
ПОС неавтоматизированная |
var |
var |
21 |
posdnx posdnx # |
X |
|
|
Независимая |
Без СГВ |
Тnu |
70-80 |
1 |
indepgip indepgip # |
gip |
|
Без СГВ |
var |
var |
2 |
indepxt2 indxt2 # |
x, t2 |
|
|
СМШ |
Тnu |
70-80 |
12 |
mixind 70 mxind 70# |
gt |
|
|
СМШ |
Тnc<Тn<Тnu |
90-100 |
13 |
mixind 5 mixind 5# |
gt |
|
|
СМШ |
Тnc и Тnp |
> 100 |
14 |
mixindcp mxindcp # |
gt` |
|
|
СМШ |
- |
- |
15 |
mxingto mxingto # |
Tn(gt=0) |
|
|
ПОС автоматизированная |
Тnu |
70-80 |
18 |
poslind poslind # |
gtip |
|
|
ПОС неавтоматизированная |
Тnu |
70-80 |
19 |
posindn pоsindn # |
gtip |
Гидравлические расчеты системы теплоснабжения при характерных значениях температуры наружного воздуха производятся для определения:
- расходов сетевой воды по подающей линии системы теплоснабжения, т.е. суммарного значения расходов сетевой воды в подающей линии на выводах всех источников тепловой энергии в системе теплоснабжения;
- расходов сетевой воды по системам теплопотребления совокупности потребителей;
- относительных расходов сетевой воды на системы отопления и вентиляции совокупности потребителей;
- расходов сетевой воды по насосным станциям на подающей и обратной линиях тепловой сети, принадлежащей ЭСО.
Расходы сетевой воды по подающей линии системы теплоснабжения, найденные в результате гидравлических расчетов при характерных значениях температуры наружного воздуха, служат основой для определения нормативного удельного расхода сетевой воды по подающей линии на транспорт тепловой энергии, являющегося одной из режимных характеристик системы теплоснабжения.
Расходы сетевой воды по системам теплопотребления совокупности потребителей служат основой для определения нормативной разности температур сетевой воды в подающей и обратной линиях системы теплоснабжения и нормативной температуры сетевой воды в обратной линии системы теплоснабжения.
Относительные расходы сетевой воды на системы отопления и вентиляции, находимые в результате гидравлических расчетов системы теплоснабжения, служат основой для определения фактических расходов тепловой энергии на эти системы.
Расходы сетевой воды по насосным станциям на подающей и обратной линиях тепловой сети, принадлежащей ЭСО, служат основой для определения энергозатрат на привод насосов в них и являются необходимыми для определения гидравлической энергетической характеристики тепловой сети.
При постоянстве температуры сетевой воды в подающей линии тепловой сети в диапазоне срезки нормативного температурного графика гидравлические расчеты системы теплоснабжения осуществляются при трех характерных значениях температуры наружного воздуха:
-температуре наружного воздуха в точке излома (спрямления) нормативного температурного графика tНВ.И ;
- промежуточной температуре наружного воздуха, соответствующей точке перевода неавтоматизированного непосредственного водоразбора с одной линии на другую (в примерной системе теплоснабжения при tНВ = -3°С); если неавтоматизированный водоразбор в системе теплоснабжения отсутствует, то гидравлический расчет выполняется при q » 0,5, что для условий средней полосы эквивалентно tНВ = (-1)÷(-6)°С;
- температуре наружного воздуха в точке срезки нормативного температурного графика tНВ.C
При постоянстве отпуска тепловой энергии в диапазоне срезки нормативного температурного графика гидравлический расчет системы теплоснабжения дополнительно выполняется и при расчетной температуре наружного воздуха для отопления tНВ.Р.
Гидравлический расчет системы теплоснабжения при tНВ = +10°С не производится, поскольку расходы сетевой воды по подающей и обратной линиям практически совпадают с расходами, найденными при tНВ.И.
При температуре наружного воздуха tНВ.И осуществляется однолинейный гидравлический расчет системы теплоснабжения по подающей и обратной линиям тепловой сети без учета гидравлических сопротивлений потребителей. В результате его определяются гидравлические сопротивления неавтоматизированных систем отопления и вентиляции, а также неавтоматизированных подогревательных установок горячего водоснабжения при параллельной, смешанной и последовательной схемах их включения.
При остальных значениях температуры наружного воздуха выполняются двухлинейные гидравлические расчеты системы теплоснабжения - совместно подающей и обратной линий тепловой сети и указанных категорий потребителей с учетом найденного их гидравлического сопротивления. При этом эксплуатационные удельные расходы сетевой воды у потребителей на непосредственный водоразбор и на автоматизированные подогреватели горячего водоснабжения принимаются в соответствии с разделом 6 части I Рекомендаций.
При двухлинейных гидравлических расчетах используются выводные гидравлические характеристики источников тепловой энергии и насосных станций (зависимости располагаемого напора на их выводах от расхода сетевой воды). При однолинейном гидравлическом расчете разность напоров в подающей и обратной линиях на выводах основного источника тепловой энергии, у которого поддерживается давление в системе теплоснабжения, должна соответствовать его выводной гидравлической характеристике.
Гидравлические расчеты системы теплоснабжения производятся по распространенным программам для ПЭВМ. Эти программы должны учитывать важнейшие особенности тепловых нагрузок и расходов сетевой воды в системах теплоснабжения.
По неавтоматизированной отопителыю-вентиляционной нагрузке, присоединенной по непосредственной схеме, эксплуатационные удельные расходы сетевой воды при гидравлическом расчете должны приниматься с учетом коэффициента КOT (см. раздел 6.1 части I Рекомендаций), постоянного при всех характерных значениях температуры наружного воздуха. По неавтоматизированной отопительно-вентиляционной нагрузке, присоединенной по независимой схеме, расходы сетевой воды на подогреватели при гидравлическом расчете должны приниматься с учетом ее эксплуатационных удельных расходов у потребителей (см. раздел 6.4 части I Рекомендаций), постоянных при всех характерных значениях температуры наружного воздуха.
Все тепловые нагрузки горячего водоснабжения вводятся в гидравлический расчет в размере средненедсльной величины с коэффициентом 1,1 независимо от схемы присоединения СГВ на тепловом пункте и ее автоматизации.
При автоматизированном непосредственном водоразборе удельный расход сетевой воды на горячее водоснабжение постоянен в течение отопительного сезона для всех таких потребителей (см. раздел 6.2.4 части I Рекомендаций), но доли водоразбора из каждой линии тепловой сети для этих потребителей зависят от характерного значения температуры наружного воздуха (см. раздел 6.2.6 части 1 Рекомендаций). Удельный расход сетевой воды на циркуляцию ее в СГВ при автоматизированном водоразборе должен учитываться при гидравлическом расчете согласно положениям раздела 6.2.5 части I Рекомендаций.
При неавтоматизированном
непосредственном водоразборе в гидравлический расчет должны входить
эксплуатационные удельные расходы сетевой воды на горячее водоснабжение,
принимаемые для всех таких потребителей согласно разделу
6.3.4 части I Рекомендаций, которые различны для каждого характерного
значения температуры наружного воздуха. При этом заданная для
автоматизированного водоразбора доля отбора воды из каждой линии не должна
влиять на потребителей с неавтоматизированным водоразбором, у которых при
отборе из подающей линии
,
, а при отборе из обратной линии
,
(см. раздел
6.3.4 части I
Рекомендаций). При наличии циркуляции воды в СГВ с
неавтоматизированным непосредственным водоразбором гидравлический расчет
производится при повышенных удельных расходах сетевой воды на отопление у таких
потребителей, определенных согласно разделу
6.3.5 части I Рекомендаций.
При автоматизированных подогревателях горячего водоснабжения, включенных по параллельной и смешанной схемам, в гидравлическом расчете должны учитываться эксплуатационные удельные расходы сетевой воды на горячее водоснабжение, определенные согласно разделу 6.5 части I Рекомендаций для каждого характерного значения температуры наружного воздуха. Для последовательной схемы удельные расходы, определенные согласно разделу 6.6 части I Рекомендаций, не изменяются в течение отопительного сезона.
При неавтоматизированных подогревателях горячего водоснабжения гидравлический расчет производится сначала при tНВ.И при соответствующих эксплуатационных удельных расходах сетевой воды на горячее водоснабжение, когда выявляются гидравлические сопротивления подогревательных установок. Гидравлические расчеты системы теплоснабжения при остальных характерных значениях температуры наружного воздуха (при наличии водоразбора и автоматизированных подогревателей в системе) выполняются с учетом этих гидравлических сопротивлений.
Если в закрытой системе теплоснабжения горячее водоснабжение удовлетворяется только посредством неавтоматизированных подогревателей водопроводной воды, то гидравлический расчет системы производится только однолинейный при tНВ.И.
После проведения гидравлических расчетов системы теплоснабжения при всех характерных значениях температуры наружного воздуха выписываются следующие их результаты:
- расход сетевой воды по подающей линии системы теплоснабжения G1Σ = G1CT;
- расход сетевой воды по обратной линии системы теплоснабжения G2Σ = G2CT
- расход сетевой воды на автоматизированный водоразбор из подающей линии в системе теплоснабжения GВР.А.П;
- расход сетевой воды на неавтоматизированный водоразбор из подающей линии в системе теплоснабжения GВР.НА.П;
- относительный расход сетевой воды по системе теплоснабжения на неавтоматизированные системы отопления и вентиляции и неавтоматизированные подогревательные установки горячего водоснабжения УОТ.В.
Расходы сетевой воды по подающей и обратной линиям системы теплоснабжения равны расходам ее в соответствующих линиях всех источников тепловой энергии, подающих тепловую энергию в тепловую сеть. Относительный расход сетевой воды на указанные неавтоматизированные системы теплопотребления при tНВ.И равен единице и поэтому из гидравлического расчета не определяется. Его значение при tНВ = + 10°С также практически равно единице.
Расход сетевой воды по подающей линии системы теплоснабжения,
полученный в результате ее гидравлического
расчета при характерном значении температуры наружного воздуха tНВ.И, необходим для
проверки правильности оценочного значения среднего значения понижения температуры сетевой воды в подающей линии сети при tНВ.И за счет тепловых потерь - (
)И (см. таблицу
5.1 части I Рекомендаций).
Если дальнейшие расчеты (см. раздел
9 части I Рекомендаций) покажут, что значение (
)И принято правильным, что
практически почти всегда имеет место, то результаты проведенных гидравлических
расчетов соответствуют нормативному режиму
всех элементов системы теплоснабжения.
При этом найденные в результате гидравлических расчетов расходы сетевой воды по подающей линии при всех характерных
значениях температуры наружного воздуха предопределяют значения
нормативных разностей температур сетевой
воды в подающей и обратной линиях совокупности потребителей, а расходы сетевой воды по обеим линиям
- значения нормативных разностей температур
сетевой воды в подающей и обратной линиях системы теплоснабжения.
Расходы сетевой воды на автоматизированный и неавтоматизированный водоразбор в дальнейшем используются при определении нормативных разностей температур сетевой воды в подающей и обратной линиях совокупности потребителей.
Относительные расходы сетевой воды на неавтоматизированные системы отопления и вентиляции, полученные как результат проведенных гидравлических расчетов, необходимы для определения фактического теплопотребления этих систем на протяжении отопительного сезона.
Проведенный гидравлический расчет примерной системы теплоснабжения показал следующие результаты (таблица 7.1).
|
Характерная температура наружного воздуха 1нвх,°С |
Расход сетевой воды в подающей линии G1Σ, м3/ч, |
Расход сетевой воды в обратной линии, G2Σ, м3/ч |
Автоматизированный водораэбор из подающей пинии GВР.А.П, м3/ч |
Неавтоматизированный водоразбор из подающей пинии GВР.НА.П, м3/ч |
Относительный расход сетевой воды на неавтоматизированные системы отоппения, УО.В |
|
tНВ.И = +2,5 |
9275 |
8765 |
125 |
355 |
1 |
|
tНВ = -3 |
8865 |
8430 |
60 |
280 |
1,06 |
|
tНВ.С = -15 |
8325 |
7795 |
0 |
0 |
1,09 |
|
tНВ.Р = -26 |
8505 |
7840 |
35 |
0 |
1,08 |
Отпуск тепловой энергии в системе теплоснабжения должен обеспечивать следующие тепловые нагрузки:
- расход тепловой энергии
на системы отопления и вентиляции при непосредственной и независимой схемах их
присоединения
и ![]()
- средненедельный расход
тепловой энергии на подогревательные установки горячего водоснабжения,
включающий в себя и расход тепловой энергии на циркуляцию воды в присоединенных
и
;
-средненедельный расход
тепловой энергии на непосредственный водоразбор, включающий в себя и расход
тепловой энергии на циркуляцию воды в СГВ,
и
;
- тепловые потери трубопроводов тепловой сети через теплоизоляционную конструкцию и с нормативной утечкой в системе теплоснабжения QТП и QУТ.
Теплопотребление как непосредственно, так и независимо присоединенных неавтоматизированных систем отопления зависит от температуры наружного воздуха и относительного расхода тепловой энергии на эти системы X на протяжении отопительного сезона. Для обоих видов присоединения систем отопления учет температуры наружного воздуха осуществляется посредством величины qX. Значение относительного расхода тепловой энергии X, равное отношению фактического теплопотребления систем отопления к расходу тепловой энергии, необходимому при качественном режиме ее отпуска, зависит от отклонений температуры сетевой воды перед системами отопления от графика качественного регулирования и от относительного расхода сетевой воды УОТ.В, поступающей к ним из тепловой сети. Величина УОТ.В представляет собой средний относительный расход сетевой воды в системе теплоснабжения и характеризует отклонения расхода воды на системы отопления от номинального расчетного, соответствующего качественному режиму отпуска тепловой энергии. Значение УОТ.В находится в результате гидравлического расчета системы теплоснабжения.
Фактическое
теплопотребление систем отопления (вентиляции) при характерных значениях
температуры наружного воздуха и при относительных расходах сетевой воды,
полученных в результате гидравлических расчетов,
и
находится по
формулам:
=ХНЕП qX.
; (8.1)
= ХНЕЗ qX
. (8.2)
Значения qX при
характерных значениях температуры наружного воздуха принимаются согласно разделу
5.3 части I
Рекомендаций, значения
и
в примерной системе
теплоснабжения приведены в базовой таблице
4.3 части I
Рекомендаций.
При непосредственном присоединении систем отопления относительный расход тепловой энергии при отклонениях от качественного режима регулирования ХНЕП Для каждого значения температуры наружного воздуха находится по формуле
где
- оценочное значение температуры сетевой воды в подающей линии совокупности потребителей,
учитывающее понижение ее из-за тепловых потерь трубопроводами тепловой сети, °С
(см. таблицу
5.1 части I Рекомендаций);
tНВ.Х - характерная температура наружного воздуха, °С;
t1К, t3К и t2К- температура сетевой воды в подающей линии тепловой сети, в подающей линии систем отопления и в их обратной линии по качественному графику температур при данной характерной температуре наружного воздуха, °С;
КОТ - коэффициент увеличения расхода сетевой воды на непосредственно присоединенные системы отопления, обусловленный понижением температуры сетевой воды в подающей линии совокупности потребителей за счет тепловых потерь трубопроводами тепловой сети, КОТ = 1,09 (см. раздел 6.1 части I Рекомендаций);
УОТ.В - средний по совокупности потребителей (по системе теплоснабжения) относительный расход сетевой воды на неавтоматизированные системы отопления при данном характерном значении температуры наружного воздуха, найденном по результатам гидравлического расчета систем теплоснабжения при этой температуре наружного воздуха (см. таблицу 7.1 части I Рекомендаций).
Определение относительного расхода тепловой энергии при непосредственном присоединении систем отопления (вентиляции) выполняется для пяти характерных значений температуры наружного воздуха.
Результаты расчета значений ХНЕП для примерной системы теплоснабжения вместе с принятыми исходными данными приведены в таблице 8.1.
|
Характерная температура наружного воздуха tНВ.Х, оС |
Температура сетевой воды в подающей линии совокулнхти потребитепей ' tНВ.Х, °С |
Температура сетевой воды по качественному графику, оС |
Относительный расход сетевой воды на отопление УОТ.В |
Относительный расход тепловой энергии на отопление при непосредственной схеме его присоединения ХНЕП |
||
|
t1К |
t3К |
t2К |
||||
|
tНВ = +10 |
68 |
47 |
37 |
32 |
1 |
1,62 |
|
tНВ.И = +2,5 |
68 |
70 |
50,5 |
41,5 |
1 |
1 |
|
tНВ = -3 |
83,5 |
86 |
59,5 |
47,5 |
1,06 |
1,02 |
|
tНВ.С = -15 |
116,5 |
120 |
78,5 |
60 |
1,09 |
1,04 |
|
tНВ.Р = -26 |
103 |
150 |
95 |
70 |
1,08 |
0,78 |
8.1.1.1 Определение относительного расхода тепловой энергии на отопление при непосредственной схеме его присоединения может быть осуществлено более просто с использованием ПЭВМ. С этой целью решается задача С «Dirtxt2», которая позволяет найти не только относительный расход тепловой энергии, но и температуру сетевой воды в обратной линии непосредственно присоединенных систем отопления при отклонениях температуры сетевой воды в подающей линии от качественного графика и расхода сетевой воды от расчетного (УОТ.В ≈ 1).
Результаты решения задачи С «Dirtxt2» могут быть использованы вместо расчетов по формулам (5.20) и (8.3) части I Рекомендаций.
Решение задачи С определяет относительный расход тепловой энергии на
непосредственно присоединенные системы отопления ХНЕП(Х), а также температуру воды в обратной линии этих
систем
(Т20)
при любых значениях температуры воды в подающей линии тепловой сети и при любых
значениях относительного расхода сетевой воды на эти системы.
Необходимые исходные данные:
TV(TBH) - расчетная температура воздуха внутри помещений, °С (ТV = 18);
Тпр(tHB.P) - расчетная температура наружного воздуха для отопления, °С (Тпр = -26);
Т1P(t1P) - номинальная расчетная температура сетевой воды в подающей линии тепловой сети, °С (Т1Р = 150);
Т2P(t2P) - номинальная расчетная температура воды в обратной линии систем отопления, °С (Т2Р = 70);
Т3P(tiP) - номинальная расчетная температура воды в подающей линии систем отопления, °С (Т3P = 95);
Коt(КOT) - коэффициент увеличения расхода сетевой воды на непосредственно присоединенные системы отопления за счет выстывания сетевой воды в подающей линии - (Коt = 1,09 - см. раздел 6.1 части I Рекомендаций);
Тn(
) - температура наружного воздуха, при которой находится
относительный расход тепловой энергии, °С (Тn= -26);
- температура сетевой воды в подающей линии
тепловой сети по нормативному температурному графику, °С (Т1 = 106-см. таблицу
5.1 части I Рекомендаций);
DTtp1(
) - значение понижения температуры воды
в подающей линии тепловой сети за счет тепловых потерь при температуре
наружного воздуха Тn, °С (DTtp1 = 3 - см. таблицу
5.1 части I
Рекомендаций);
- относительный расход сетевой воды на
системы отопления при Тn, равный
(У = 1,08-см. таблицу
7.1 части I
Рекомендаций).
В исходных данных в скобках
приведены значения величин для примерной системы теплоснабжения при tHB.P = -26°С,
которые позволяют путем решения задачи С «Dirxt2» найти
значения X и Т20 при этой
температуре наружного воздуха. В результате расчета получено; ХНЕП = 0,78;
=50,1°С.
Расчет относительного расхода тепловой энергии на отопление при независимой схеме его присоединения ХНЕЗ производится на основании приложения Г части I Рекомендаций путем решения задачи 2 «indepxt2» (пример 2 «indxt2 #»), с помощью которой определяется ХНЕЗ для всех схем тепловых пунктов, кроме пунктов с последовательной схемой включения подогревателей горячего водоснабжения.
Определение относительного расхода тепловой энергии при независимой схеме выполняется для пяти характерных значений температуры наружного воздуха. Его значение слабо зависит от индивидуальных характеристик отопительных подогревателей. Расчет относительного расхода тепловой энергии при независимой схеме присоединения систем отопления может производиться при усредненных значениях расчетных температур воды во втором контуре, усредненном количестве секций водоподогревателей и усредненных коэффициентах их эффективности или для группы подогревателей с преобладающими характеристиками.
Полученные в результате расчета значения ХНЕЗ распространяются на суммарную отопительную нагрузку всех потребителей с независимой схемой присоединения систем отопления, за исключением тепловых пунктов с последовательно включенными подогревателями горячего водоснабжения. Необходимые исходные данные:
TV(TBH) - расчетная температура воздуха внутри помещений, °С (ТV = 18);
Тпр(tHB.P) - расчетная температура наружного воздуха для отопления, оС (Тпр = -26);
Т1iP(t1iP) - расчетная температура воды в подающей линии перед системами отопления (во втором контуре), °С (Т1iP = 95);
Т2iP(t2iP) - номинальная расчетная температура воды в обратной линии систем отопления, °С (Т2iP = 70);
Т3iP(t3iP) - номинальная расчетная температура воды в подающей линии систем отопления, °С (Т3iP = 95);
Тn(
) - температура наружного воздуха, при которой производится
определение относительного расхода тепловой энергии, °С (Тn = -26);
- температура сетевой воды в подающей линии
по нормативному температурному графику системы теплоснабжения при температуре
наружного воздуха Тn, оС
(Т1 = 106 - см. таблицу
5.1 части I Рекомендаций);
DTtp1(ΔtТП1) - среднее значение понижения температуры воды в подающих трубопроводах тепловой сети за счет тепловых потерь через их теплоизоляционную конструкцию при температуре наружного воздуха Тn, °С (DTtp1 = 3 - см. таблицу 5.1 части I Рекомендаций);
Аoi - коэффициент, зависящий от Т, (Аoi, = 0,69 - см. раздел 2.2 приложения Г части I Рекомендаций);
- относительный расход сетевой воды на
отопление, определенный по результатам гидравлического расчета системы
теплоснабжения (У = 1,08 - см. таблицу
7.1 части I
Рекомендаций);
- расчетный удельный расход сетевой воды,
определенный в точке излома нормативного температурного графика для данного
теплового пункта, м3/Гкал (gip = 14,2);
mi - коэффициент эффективности отопительного подогревателя (mi = 0,6);
ni - количество последовательно соединенных секций отопительного подогревателя (ni = 6).
В
исходных данных в скобках приведены значения величин для примерной системы
теплоснабжения при
= -26°С, которые
позволяют путем решения задачи 2 «indepxt2» найти значение X при этой температуре наружного
воздуха. В результате расчета получено: ХНЕЗ = 0,78.
Результаты расчета значений ХНЕЗ для примерной системы теплоснабжения вместе с принятыми исходными данными приведены в таблице 8.2.
|
Характерная температура наружного воздуха |
Температура сетевой воды в подающей линии по нормативному температурному графику Т °С (см. таблицу 5.1) |
Понижение температуры сетевой воды в подающей линии за счет тепловых потерь DTtp1(ΔtТП1) (см. таблицу 5.1) |
Относительный расход сетевой воды на отопление УОТ.В |
Коэффициент Аoi |
Относительный расход тепловой энергии на отопление при независимой схеме его присоединения, ХНЕЗ |
|
|
70 |
2 |
1 |
0,62 |
1,62 |
|
|
70 |
2 |
1 |
0,62 |
1 |
|
|
86 |
2,5 |
1,06 |
0,69 |
1,03 |
|
|
120 |
3,5 |
1,09 |
0,69 |
1,04 |
|
|
106 |
3 |
1,08 |
0,69 |
0,78 |
8.1.3.1 Общие положения
Относительный расход тепловой энергии на отопление при его непосредственном присоединении и последовательной схеме включения подогревателей горячего водоснабжения при любой характерной температуре наружного воздуха определяется с помощью ПЭВМ путем решения задач 20 и 21 для автоматизированных и неавтоматизированных СГВ. При этом находится значение относительного расхода тепловой энергии X (см. приложение Г части I Рекомендаций).
Величина X слабо зависит от индивидуальных характеристик тепловых пунктов с указанными схемами присоединения местных систем. Расчет относительного расхода тепловой энергии поэтому может производиться для наиболее характерного теплового пункта с преобладающими конструктивными данными (а, Кip, m1, n1, m2, n2), по которому предварительно находится эксплуатационный удельный расход сетевой воды «gtdp».
Полученные в результате расчета значения X распространяются на суммарную отопительную нагрузку потребителей с автоматизированной и неавтоматизированной последовательной схемой включения подогревателей горячего водоснабжения и непосредственным присоединением систем отопления во всей системе теплоснабжения.
Ввиду меньшей распространенности независимого присоединения систем отопления при последовательной схеме и незначительного отличия значения X при такой схеме теплового пункта от схемы с непосредственным присоединением нецелесообразно определять относительный расход тепловой энергии на независимо присоединенные системы отопления; допустимо принимать значения X у них равными значениям при непосредственном присоединении систем отопления.
8.1.3.2 Определение относительного расхода тепловой энергии на отопление для автоматизированной последовательной схемы включения водоподогревателей горячего водоснабжения и непосредственной схемы присоединения систем отопления при характерных значениях температуры наружного воздуха - задача 20 «posldx», пример 20 «posldx #»
Необходимые исходные данные для расчета относительного расхода тепловой энергии:
TV(TBH) - расчетная температура воздуха внутри помещений, °С (ТV = 18);
Тпр(tHB.P) - расчетная температура наружного воздуха для отопления, оС (Тпр = -26);
Т1P(t1P) - номинальная расчетная температура сетевой воды в подающей линии тепловой сети, °С (Т1P = 150);
Т2P(t2P) - номинальная расчетная температура воды в обратной линии систем отопления, °С (Т2P = 70);
Т3P(t3P) - номинальная расчетная температура воды в подающей линии систем отопления, °С (Т3P = 95);
Тgp(
) - расчетная температура нагретой воды на входе в СГВ, °С
(Тgp= 60);
ТХ(tХВ) - температура холодной водопроводной воды, °С (ТХ = 5);
- расчетная температура циркуляционной воды
на входе в подогревательную установку, °С (Тср = 50);
Тn(
) - температура наружного воздуха, при которой производится
определение относительного расхода тепловой энергии, °С (Тn = +10);
а(аР) - отношение средненедельной нагрузки горячего водоснабжения, принятое с коэффициентом 1,1, к расчетной отопительной нагрузке потребителя (а = 0,12);
m1 - коэффициент эффективности первой ступени подогревательной установки горячего водоснабжения (m1 = 0,70);
n1 - количество последовательно соединенных секций в первой ступени подогревательной установки (n1 = 4);
- температура сетевой воды в подающей линии
по нормативному температурному графику системы теплоснабжения при температуре
наружного воздуха Тn, °С (Т1
= 70 - см. таблицу
5.1 части I
Рекомендаций);
DTtp1(ΔtТП1) - среднее значение понижения температуры воды в подающей линии тепловой сети за счет тепловых потерь при характерной температуре наружного воздуха Тn, °С (DTtp1 = 2 - см. таблицу 5.1 части I Рекомендаций);
Кtp(KTП) - коэффициент тепловых потерь, определяющий расход тепловой энергии на циркуляцию воды в СГВ - отношение тепловых потерь в СГВ к средненедельной тепловой нагрузке горячего водоснабжения потребителя (Кtp = 0,25);
gtdp - эксплуатационный удельный расход сетевой воды на тепловой пункт с автоматизированной схемой включения подогревателей горячего водоснабжения и непосредственной схемой присоединения систем отопления, определяемый в точке излома нормативного температурного графика, м3/Гкал (gtdp = 16,7 м3/Гкал - задача 16 «роsldir»).
В исходных данных в скобках
приведены значения величин для примерной системы теплоснабжения при
= +10°С, которые
позволяют путем решения задачи 20 «posldx» найти значение X при этой
температуре наружного воздуха. В результате расчета получено: Х(ХНЕЗ) = 1,61.
8.1.3.3 Определение относительного расхода тепловой энергии на отопление для неавтоматизированной последовательной схемы включения подогревателя горячего водоснабжения и непосредственной схемы присоединения систем отопления при характерных значениях температуры наружного воздуха - задача 21 «posdnx», пример 21 «posdnx#»
Необходимые исходные данные для расчета относительного расхода тепловой энергии;
TV(TBH) - расчетная температура воздуха внутри помещений, °С (ТV = 18);
Тпр(tHB.P) - расчетная температура наружного воздуха для отопления, °С (Тпр = -26);
Т1P(t1P) - номинальная расчетная температура сетевой воды в подающей линии тепловой сети, оС (Т1P = 150);
Т2P(t2P) - номинальная расчетная температура воды в обратной линии систем отопления, °С (Т2P = 70);
Т3iP(t3iP) - номинальная расчетная температура воды в подающей линии систем отопления, °С (Т3P = 95);
ТХ(tХВ) - температура холодной водопроводной воды, °С (ТX =5);
Кtp(КТП) - коэффициент тепловых потерь, определяющий расход тепловой энергии на циркуляцию воды в СГВ - отношение тепловых потерь в СГВ к средненедельной тепловой нагрузке горячего водоснабжения потребителя (Кtp = 0);
а(аР) - отношение средненедельной нагрузки горячего водоснабжения, принятое с коэффициентом 1,1, к расчетной отопительной нагрузке потребителя (а = 0,09);
m1 - коэффициент эффективности первой ступени подогревательной установки горячего водоснабжения (m1 = 0,70);
m2 - коэффициент эффективности второй ступени подогревательной установки горячего водоснабжения (m2 = 0,60);
n1 - количество последовательно соединенных секций в первой ступени подогревательной установки горячего водоснабжения (n1 = 5);
n2 - количество последовательно соединенных секций во второй ступени подогревательной установки горячего водоснабжения (n2 = 4);
Тn(
) - характерная температура наружного воздуха, при которой
производится определение относительного расхода тепловой энергии, °С (Тn = +10);
- температура сетевой воды в подающей линии
по нормативному температурному графику системы теплоснабжения при температуре
наружного воздуха Тп, °С (Т1=
70);
DTtp1(ΔtТП1) - среднее значение понижения температуры воды в подающей линии тепловой сети за счет тепловых потерь при характерной температуре наружного воздуха Тn, oC (DTtp1 = 2);
gtdp - эксплуатационный удельный расход сетевой воды на тепловой пункт с неавтоматизированной последовательной схемой включения подогревателей горячего водоснабжения и непосредственной схемой присоединения систем отопления, определяемый в точке излома нормативного температурного графика, м3/Гкал (gtdp = 15,3 м3/Гкал, задача 17 «posdirn»);
|
Характерная темгература наружного
воздуха |
Суммарный фактический расход тепловой
энергии на отопление (вентиляцию) при непосредственной и независимой схемах
присоединения |
Расход тепловой энергии в закрытой части примерной системы теплоснабжения |
|||||
|
Средненедельный расход тепловой энергии
на горячее водоснабжение, 1,1 |
Расход тепловой энергии на циркуляцию
воды |
Суммарный расход тепловой энергии на горячее водоснабжение и циркуляцию воды в автоматизированных и неавтоматизированных СГВ, присоединенных к ЦТП И ИТП, 1,1 |
|||||
|
при наличии циркуляции воды в
автоматизированных и неавтоматизированных СГВ, присоединенных к ЦТП. 1,1 |
при наличии циркуляции воды в
автоматизированных и неавтоматизированных СГВ, присоединенных к ИТП, 1,1 |
при отсутствии циркуляции воды в автоматизированных и неавтоматизированных СГВ 1,1 |
в автоматизированных и
неавтоматизированных СГВ, присоединенных к ЦТП |
в автоматиэированных и неавтоматизированных СГВ, присоединенных к ИТП.
|
|||
|
1 |
2 |
3 |
4 |
5 |
6 |
7 |
8 |
|
|
147,7 |
1,1(18,81+2,02)=22,91 |
1,1(5,35 +4,18)=10,48 |
1,1(3,70+2,82)=7,17 |
4,70 + 0,50 = 5,20 |
1,07 + 0,84 = 1,91 |
47,7 |
|
|
177,2 |
22,91 |
10,48 |
7,17 |
5,20 |
1,91 |
47,7 |
|
|
247,9 |
22,91 |
10,48 |
7,17 |
5,20 |
1,91 |
47,7 |
|
|
395,0 |
22,91 |
10,48 |
7,17 |
5,20 |
1,91 |
47,7 |
|
|
395,0 |
22,91 |
10,48 |
7,17 |
5,20 |
1,91 |
47,7 |
|
Характерная температура наружного воздуха, |
Расход тепловой энергии в открытой части примерной системы теплоснабжения |
Расход тепловой энергии совокупностью потребителей в примерной системе теплоснабже-ния QΣ, Гкал/ч |
Тепловые потери в примерной системе теплоснабжения, Гкал/ч |
Отпуск тепловой энергии в примерной системе теплоснабжения от источников тепловой энергии
.Гкал/ч |
|||||
|
Средненедвпьный расход тепловой энергии на горячее водоснабжение, Гкал/ч |
Расход тепловой энергии на циркуляцию воды в автоматизированных и не автоматизированных СГВ,
.Гкал/ч |
Суммарный расход тепловой энергии на горячее водоснабжение и циркуляцию воды в автоматизированных и неавтомати-зированных СГВ 1,1 |
через тегшоизопяцинную конструкцию трубопроводов
|
с нормативной утечкой сетевой воды в системе теплоснабжения
|
|||||
|
при наличия циркуляции воды в автоматизированных и неавтоматизирован-ных СГВ 1,1 |
при отсутствии циркуляции воды в
автоматизированных и неавтоматизпродан- 1,1 |
Суммарный расход тепловой энергии на
горячее водоснабжение лри наличии и отсутствии циркуляции воды в СГВ 1,1 |
|||||||
|
1 |
9 |
10 |
11 |
12 |
13 |
14 |
15 |
16 |
17 |
|
|
1,1(1,28 + 7,91)= 13,41 |
1,1(3,05+10,89)= 15,33 |
13,41+15,33= 28,74 |
0,86 + 1,38 = 2,44 |
31,2 |
226,6 |
20,4 |
3,4 |
250,4 |
|
|
13,41 |
15,33 |
28,74 |
2,44 |
31,2 |
256,1 |
23,1 |
3,8 |
283,0 |
|
|
13,41 |
15,33 |
28,74 |
2,44 |
31,2 |
326,8 |
29,4 |
4,9 |
361,1 |
|
|
13,41 |
15,33 |
28,74 |
2,44 |
31,2 |
473,9 |
42,6 |
7,1 |
523,6 |
|
|
13,41 |
15,33 |
28,74 |
2.44 |
31,2 |
473,9 |
42,6 |
7,1 |
523,6 |
- относительный расход сетевой воды на
отопление, определенный по результатам гидравлического расчета системы
теплоснабжения (У = 1).
В исходных данных в скобках
приведены значения величин для примерной системы теплоснабжения при
= +10°С, которые
позволяют путем решения задачи 21 «posdnx» найти значение X при этой
температуре наружного воздуха. В результате расчета получено: Х(ХНЕЗ) = 1,62.
Значения расхода тепловой энергии на отопление (вентиляцию) в примерной системе теплоснабжения при непосредственной и независимой схемах присоединения, найденные по формулам (8.1) и (8.2) части I Рекомендаций, приведены в таблице 8.3.
Значения средненедельного расхода тепловой энергии на горячее водоснабжение при любых схемах его присоединения к тепловой сети не зависят от температуры наружного воздуха. Как уже указывалось в разделах 6.2, 6.3, 6.5 и 6.6 части I Рекомендаций, значения средненедельной нагрузки горячего водоснабжения в открытой и закрытой частях системы теплоснабжения должны приниматься с коэффициентом 1,1.
Значения расхода тепловой энергии на циркуляцию воды в СГВ (при ее наличии) зависят от вида теплового пункта - ИТП или ЦТП. Расход тепловой энергии на циркуляцию принимается: KTП = 0,2 при ИТП и KTП = 0,25 при ЦТП.
Исходными данными для определения расхода тепловой энергии на горячее водоснабжение и на циркуляцию воды в СГВ служат базовые таблицы 4.1 и 4.2 части I Рекомендаций, представляющие распределение потребителей по схемам присоединения СГВ в закрытой и открытой частях примерной системы теплоснабжения.
Обозначения составляющих
расхода тепловой энергии на горячее водоснабжение приведены в таблицах
4.1 и 4.2
и разделе
I части I Рекомендаций. В разделе I указан также
и порядок определения суммарных расходов тепловой энергии на горячее
водоснабжение и циркуляцию воды в СГВ:
,
- в закрытой части
примерной системы теплоснабжения;
,
- в открытой части
примерной системы теплоснабжения.
Все эти составляющие расхода тепловой энергии на СГВ и на циркуляцию воды в них в примерной системе теплоснабжения приведены в таблице 8.3 части I Рекомендаций.
Расход тепловой энергии совокупностью потребителей в системе теплоснабжения при всех характерных значениях температуры наружного воздуха слагается из расхода тепловой энергии на отопление (вентиляцию), средненедельной нагрузки горячего водоснабжения с коэффициентом 1,1 и расхода тепловой энергии на циркуляцию в СГВ. Расход тепловой энергии совокупностью потребителей QΣ (Гкал/ч) определяется по формуле
QΣ =
1,1
+
+
+1,1
+
. (8.4)
Составляющие расхода тепловой энергии совокупностью потребителей и ее общее тепжяготребление в примерной системе теплоснабжения представлены в таблице 8.3 части I Рекомендаций.
Отпуск тепловой энергии в системе теплоснабжения от ее источников тепловой энергии слагается из теплопотребления совокупности потребителей, тепловых потерь через изоляцию трубопроводов тепловой сети и тепловых потерь с нормативной утечкой сетевой воды в системе теплоснабжения.
Доля тепловых потерь
трубопроводов тепловой сети через их теплоизоляционную конструкцию практически
постоянна в течение отопительного сезона и может быть принята для примерной
системы теплоснабжения в размере 9% (
= 0,09 -см. п. 5.4.6 раздела 5.4 части I Рекомендаций)
теплопотребления совокупности потребителей QΣ.
Тепловые потери с
нормативной утечкой сетевой воды практически могут быть оценены по значению
нормативной утечки сетевой воды, которое, как правило, не достигает 1% среднего
расхода сетевой воды в системе теплоснабжения. При этом тепловые потери не
превышают 1,5% расхода тепловой энергии на теплопотребление совокупности
потребителей QΣ при характерных значениях температуры наружного воздуха.
Однопроцентным расходом утечки в системе теплоснабжения можно пренебречь, а
тепловые потери с нормативной утечкой сетевой воды в примерной системе
теплоснабжения
могут быть оценены в
1,5% расхода тепловой энергии на теплопотребление совокупности потребителей при
каждом характерном значении температуры наружного воздуха.
Значения тепловых потерь через теплоизоляционную конструкцию трубопроводов тепловой сети и тепловых потерь с нормативной утечкой в примерной системе теплоснабжения при характерных значениях температуры наружного воздуха приведены в таблице 8.3 части I Рекомендаций. В этой же таблице приводятся и значения отпуска тепловой энергии в примерной системе теплоснабжения:
= QΣ +
+
Гкал/ч . (8.5)
В таблице
8.3 значения величины QΣ.
(графа 14) являются суммой значений, приведенных в графах 2, 8 и 13. Значения
величины
(графа 15) являются
произведением значений QΣ (графа 14) на
= 0,09. Значения
величины
(графа 16) приняты в размере 0,015 значений QΣ (графа
14). Наконец, значения величины
(графа 17) являются
суммой значений, приведенных в графах 14,15 и 16.
Правильность определенного
в разделе
5.5 части I
Рекомендаций оценочного значения понижения температуры
сетевой воды в подающей линии тепловой сети в точке излома температурного
графика (
)И определяется путем сопоставления его с
окончательным значением этого понижения при
, находимым по приближенной формуле
=
оС, (9.1)
где
принимается по таблице
8.3 (графа 15) при температуре наружного
воздуха ![]()
G1Σ принимается по таблице 7.1 части I Рекомендаций при той же температуре наружного воздуха;
с - удельная
теплоемкость воды
.
Плотность воды g принимается равной 1000кг/м3.
С учетом этих несущественных допущений по физическим свойствам воды приведенная формула приобретает следующий вид:
=
(9.2)
Если в точке излома
температурного графика
оказывается
≤1оС, что практически происходит в
подавляющем большинстве систем теплоснабжения, то все найденные на этапе оценки
значения показателей режима совокупности потребителей и системы теплоснабжения
в целом (см. раздел 2 части I Рекомендаций) являются нормативными и следует переходить к определению
удельного расхода сетевой воды на отпуск тепловой энергии в подающей линии
тепловой сети. Если эта разность оказывается больше 1оС, что
является исключительным случаем, то следует заново повторить некоторые этапы
работы:
- определить окончательные
значения понижения температуры сетевой воды в подающей линии
, и температуры ее у совокупности потребителей
при характерных
значениях температуры наружного воздуха по формулам (9.1) и (5.16) части I Рекомендаций; при этом значения
принимаются из таблицы 8.3, а значения G1Σ - из таблицы
7.1 части I Рекомендаций; в формуле (5.16) значения
, заменяются на
;
- определить окончательные значения удельного расхода сетевой воды на все виды тепловых нагрузок согласно методике, изложенной в разделе 6 части I Рекомендаций;
- провести гидравлические
расчеты системы теплоснабжения при окончательных значениях удельного расхода
сетевой воды согласно разделу 7
части I
Рекомендаций; при этом полученные при характерных
значениях температуры наружного воздуха значения расхода сетевой воды в
подающей линии системы теплоснабжения являются нормативными
;
- определить расход
тепловой энергии на отопление и в системе теплоснабжения согласно разделу
8 части I
Рекомендаций; при этом полученные при характерных
значениях температуры наружного воздуха значения расхода тепловой энергии в
системе теплоснабжения являются нормативными (
);
- определить понижение
температуры сетевой воды в подающей линии ΔtТП1 согласно разделу
9 части I
Рекомендаций, которое гарантированно не будет
отличаться от значения
, в точке излома температурного графика более чем на 1°С;
- определить нормативные значения удельного расхода сетевой воды на отпуск тепловой энергии в подающей линии тепловой сети при характерных значениях температуры наружного воздуха.
Для примерной системы
теплоснабжения точное значение
в точке излома
температурного графика (см. таблицу
5.1 части I
Рекомендаций) составляет 1,8°С; принято для
дальнейших расчетов
≈ 2°С:
=![]()
Таким образом,
использованное в расчетах значение
= 2°С не подлежит
корректировке, проведенные расчеты являются правильными, найденные значения
показателей режима совокупности потребителей являются нормативными и появляется
возможность непосредственно перейти к определению значений нормативного
удельного расхода сетевой воды в подающей линии тепловой сети примерной системы
теплоснабжения.
Нормативные значения
удельного среднечасового расхода сетевой воды
(м3/Гкал)
в подающей линии тепловой сети на отпуск тепловой энергии при характерных
значениях температуры наружного воздуха определяются в системе теплоснабжения
по формуле
=
(10.1)
где G1Σ - расход
сетевой воды по подающей линии тепловой сети, м3/ч (см. таблицу
7.1 части I
Рекомендаций), который принимается нормативным (
);
γi - плотность сетевой воды в подающей линии тепловой сети системы теплоснабжения, кг/м ; принимается по значениям температуры сетевой воды по нормативному температурному графику.
QСТ - отпуск тепловой энергии в системе теплоснабжения, Гкал/ч (см. графу
17 таблицы
8.3), который принимается нормативным (
).
Исходные данные для определения нормативного удельного расхода сетевой воды повторены для примерной системы теплоснабжения в таблице 10.1; там же приведены и нормативные значения удельного среднечасового расхода сетевой воды в подающей линии тепловой сети при характерных значениях температуры наружного воздуха для примерной системы теплоснабжения.
Нормативные значения удельного расхода сетевой воды по подающей линии тепловой сети представляют собой режимную характеристику примерной системы теплоснабжения по показателю «удельный расход сетевой воды в системе теплоснабжения».
Данные последней графы таблицы 10.1 являются нормативной режимной характеристикой примерной системы теплоснабжения по этому показателю.
|
Характерная температура наружного воздуха |
Нормативный расход сетевой воды в подающей линии тепловой сети
|
Нормативный
отпуск тепловой энергии в
системе теплоснабжения |
Температура сетевой воды в подающей линии по нормативному
трафику |
Плотность сетевой воды в подающей линии γ1, кг/м3 |
Нормативное
значение удельного расхода сетевой воды в подающей линии тепловой сети |
|
|
9275 |
250,4 |
70 |
978 |
36,2 |
|
|
9275 |
263,0 |
70 |
978 |
32,1 |
|
|
8865 |
361,1 |
86 |
968 |
23,8 |
|
|
8325 |
523,6 |
120 |
945 |
15,0 |
|
|
8505 |
523,6 |
106 |
955 |
15,5 |
На заключительной стадии работы составляются три графика показателей нормативного режима системы теплоснабжения:
- нормативный график
температур сетевой воды в подающей
линии системы теплоснабжения
= f(
) заданный ЭСО; если в диапазоне температур наружного воздуха
≥
≥
значения температуры сетевой воды не совпадают с заданными, то на графике
наносятся откорректированные значения температуры воды в этом диапазоне; для
сравнения показывается и график температур качественного регулирования (см.
таблицу
5.1 части I Рекомендаций);
- нормативный график
расходов сетевой воды в подающей и
обратной линиях тепловой сети системы теплоснабжения
= f(
),
= f(
), (см. таблицу
7.1 части I Рекомендаций); при этом принимается, что
=
и
=
;
-
нормативный график расходов тепловой энергии у совокупности потребителей и в
системе теплоснабжения
= f(
) и
= f(
) (см. графы 14 и 17 таблицы
8.3 части I Рекомендаций); разность значений величин по этим графикам при какой-либо температуре наружного воздуха представляет собой значение нормативных
тепловых потерь через изоляцию трубопроводов тепловой сети и с нормативной утечкой сетевой воды в системе
теплоснабжения:
+
.
Графики показателей нормативного режима примерной системы теплоснабжения показаны на рисунках 1-3.
Главный
результат работы иллюстрируется графиком удельного расхода сетевой воды
в подающей линии тепловой сети на отпущенную 1 Гкал
= f(
) - рисунок 4.
Все графики строятся по
пяти точкам - характерным значениям температуры
наружного воздуха. Графики между
= + 10 и
, а также между
и
строятся в виде прямых линий.
График
нормативной режимной характеристики примерной системы теплоснабжения
= f(
) показан на рисунке 4.


Рисунок 2 -
Нормативные графики расхода сетевой воды в подающей
i и обратной
линиях примерной
системы теплоснабжения

Рисунок
3 - нормативные графики расхода тепловой энергии в примерной системе
теплоснабжения
, у совокупности ее потребителей
и значения
тепловых потерь в ней
и ![]()

Разработанные Рекомендации представляют собой один из промежуточных этапов решения задачи определения нормативного удельного расхода сетевой воды в системах теплоснабжения, основывающийся на ограниченном опыте определения удельного расхода сетевой воды для немногочисленных систем теплоснабжения. Практически при решении задачи для каждой последующей системы теплоснабжения методические основы Рекомендаций дорабатывались с целью их уточнения и упрощения. Вместе с тем настоящие Рекомендации в изложенном выше виде уже позволяют технически грамотно найти удельный расход сетевой воды, хотя и требуют существенного объема расчетов.
При дальнейшем накоплении опыта определения нормативных удельных расходов сетевой воды в закрытых и открытых системах теплоснабжения не исключено, что аналитическая обработка промежуточных и окончательных результатов расчетов по ряду крупных объектов позволит еще более упростить методические основы Рекомендаций и сократить объем необходимых расчетов в полтора-два раза.
В первую очередь для систем теплоснабжения следует проанализировать выявляемые значения понижения температуры сетевой воды в трубопроводах тепловой сети, связанные с тепловыми потерями через их теплоизоляционную конструкцию. Не исключено, что такой анализ приведет к упрощению методики оценки понижения этой температуры.
Продвижение по этому направлению можно также предвидеть на пути перехода от индивидуальных характеристик тепловых пунктов в закрытых системах теплоснабжения к их обобщенным характеристикам - соотношению тепловых нагрузок горячего водоснабжения при различных схемах его присоединения и их доли во всей тепловой нагрузке системы теплоснабжения. Анализ расходов сетевой воды на горячее водоснабжение в течение отопительного сезона, зависящих от указанных соотношений и от доли автоматизированной нагрузки горячего водоснабжения, может выявить некоторые закономерности изменения удельных расходов сетевой воды в системах теплоснабжения, что полностью или частично позволит отказаться от расчета подогревательных установок на ИТП.
Для открытых и закрытых систем теплоснабжения необходим углубленный анализ значений относительных расходов сетевой воды в точке излома температурного графика в зависимости от распределения тепловых нагрузок в системах по их видам и изменений относительных расходов воды в течение отопительного сезона в зависимости от обобщенных показателей гидравлической устойчивости. Накопленная статистика значений удельных расходов сетевой воды в системах теплоснабжения, соответствующих широкому диапазону указанных характеристик систем, возможно, даст основание существенно сократить гидравлические расчеты систем теплоснабжения при определении их режимных характеристик. В то же время при наличии в тепловой сети насосных станций гидравлический расчет ее (полный или частичный) может оказаться необходимым для определения гидравлической энергетической характеристики тепловой сети.
Приведенные предположения дают основания считать разработанные Рекомендации не окончательно завершенным материалом и открывают пути их дальнейшего совершенствования и упрощения, в частности, возможен отказ от проверки (см. раздел 9 части I Рекомендаций) и тем более пересчета оценочных значений показателей режима системы теплоснабжения.


ТС - тепловая сеть; СО - система отопления; СГВ - система горячего водоснабжения; Ц - циркуляционная линия; FT - регулятор температуры смешанной воды; ЦЦ - циркуляционная диафрагма
Рисунок Б.1 - Схема теплового пункта при установке РТ
Примечание - Циркуляционная
диафрагма подбирается по потерям
в ней 2-3 м и расходу сетевой воды 1,1 ![]()

Рисунок Б.2 - Схема теплового пункта яри отсутствии РТ
Примечания
1. Циркуляционные диафрагмы подбираются по потерям в них 2-3 м и расходу
сетевой воды 1,1
.
2. При водоразборе из подающей линии запорные органы 1 и 3 должны быть открыты, 2 и 4 - закрыты.
3. При водоразборе из обратной линии запорные органы 2 и 4 должны быть открыты, 1 и 3 - закрыты
Обшие положения
В.1 Коэффициент эффективности водоводяного подогревателя m равен отношению фактического коэффициента теплопередачи водоводяного подогревателя к его теоретическому значению при тех же скоростях (расходах) греющей и нагреваемой воды и тех же значениях температуры ее на входе в подогреватель.
В.2 С целью использования коэффициента эффективности водоводяного подогревателя m для последующего расчета режимных характеристик системы теплоснабжения определение значения m, соответствующего средненедельной нагрузке горячего водоснабжения, должно производиться в дневное время. Определение значения коэффициента m в ночной, утренний и вечерний периоды суток для подогревателей горячего водоснабжения не допускается; для отопительных подогревателей определение значения коэффициента m возможно в любой период суток.
В.3 Экспериментальное определение коэффициента эффективности водоводяного подогревателя не требует проведения специальных испытаний и производится во время периодических обходов тепловых пунктов, совершаемых обычно в дневное время.
В.4 Определение значения коэффициента m производится раздельно для каждого функционального подогревательного блока теплового пункта - для первой и второй ступеней нагрева при смешанной и последовательной схемах их включения, для первой и второй ступеней нагрева при параллельной схеме включения с циркуляцией воды в СГВ, для одной ступени параллельной схемы без циркуляции воды в СГВ и для отопительного подогревателя.
Определение коэффициентов m для отдельных подогревательных блоков на каждом тепловом пункте может производиться при обходах пунктов в различные дни и часы.
В.5 Для построения режимных характеристик системы теплоснабжения достаточно определить значение коэффициента m лишь для ограниченного количества функциональных подогревательных блоков в системе (до 10% их количества), учитывая их распространенность в системе и межремонтный период работы.
Непосредственное определение значения коэффициента эффективности водоводяных подогревателей
В.6 Определение значения коэффициента m основывается на измерении значений только температуры воды на входе и выходе функционального подогревательного блока. Температура воды на входе и выходе подогревательных блоков горячего водоснабжения может измеряться при условии, что в течение 3-5 мин значения ее не отклоняются более чем на ±0,5°С, т.е. при практически стационарном режиме. Для отопительного подогревателя это условие выполняется практически всегда.
В.7 Измерение значений температуры воды производится при исправных гильзах для термометров. Для измерений используются проверенные термометры со шкалой 0-50 и 50-100оС и ценой деления 0,2-0,5°С (использование установленных на подогревательном блоке технических термометров не допускается). Измерение температуры воды производится с точностью, соответствующей цене деления.
В.8 При соблюдении
условий, указанных в пп.
В.6 и В.7 данного приложения, для каждого подогревательного блока на его «горячем» конце записываются значения температуры
греющей воды на входе ее в подогревательный блок
и нагреваемой воды на выходе ее из
блока
а на «холодном» конце блока - греющей
воды на выходе из подогревательного блока
и нагреваемой воды на входе в него
- всего четыре значения температуры воды на каждый подогревательный
блок.
Кроме того, записывается число последовательно включенных секций длиной 4 м каждая в подогревательном блоке n. При длине секций 2 м каждая количество их делится пополам.
В.9 На основании измеренных значений температуры определяются следующие отношения разностей значений температуры для подогревательного блока:
-отношение значения
понижения температуры греющей воды
к значению повышения температуры нагреваемой воды в блоке ![]()
(В.1)
- отношение ΔtХОЛ разности значений температуры греющей и нагреваемой воды на «холодном» конце блока ΔtХОЛ к разности значений температуры греющей и нагреваемой воды на «горячем» конце блока ΔtГОР:
(В.2)
По
значениям указанных отношений находятся значения
и lnq.
В.10 Значение коэффициента эффективности m подогревательного блока на тепловом пункте определяется по формуле
(В.3)
где значения с для различных функциональных блоков принимаются по таблице:
|
Температура сетевой воды в подающей линии сети t1 во время измерений, оС |
Значения с для различных функционалmных подогревательных блоков |
|||
|
Первая ступень смешанной и последовательной схем или параллельной схемы с циркуляцией в СГВ |
Вторая ступень смешанной и последовательной схем или параллельной схемы с циркуляцией в СГВ |
Параллельная схема |
Отопительный подогреватель |
|
|
t1 ≤ 70 |
0,46 |
0,58 |
0,54 |
0,62 |
|
t1 > 70 |
0,49 |
0,63 |
0,56 |
0,69 |
В.11 Если при измерениях температуры
воды окажется, что
.≈
или
ΔtХОЛ ≈
т.е. р ≈ 1 и q ≈ 1, то
определение значения коэффициента m станет
невозможным. При |
-
|<5оС, а также при ΔtХОЛ (или
)<5оC производить измерения
температуры воды не следует. В этом случае
необходимо искусственно изменить расход сетевой воды через подогревательный
блок путем приоткрытая (прикрытия) задвижек на линии сетевой или водопроводной
воды.
Пример определения коэффициента эффективности блока водоводяного подогревателя
Коэффициент эффективности блока водоводяного подогревателя с 5 последовательно включенными секциями длиной 4 м каждая находится для второй ступени смешанной схемы присоединения СГВ.
Результаты измерений температуры греющей и нагреваемой воды:
= 78,0°С;
= 58,2°С;
= 43,8°С;
= 32,4°С.
Значения отношений перепадов температур составляют:
![]()
![]()
Значения
и lnq равны:
![]()
lnq = ln0,58 = -0,.54

Г.1.1 Обшие положения
Г.1.1.1 Расчет тепловых пунктов с водоводяными подогревателями производится с целью определения эксплуатационного удельного расхода сетевой воды в течение отопительного сезона на системы тешюпотребления, присоединенные на тепловом пункте посредством водоводяных подогревателей (на системы отопления и горячего водоснабжения). Кроме того, для автоматизированной смешанной схемы определяется температура наружного воздуха, при которой водопроводная вода в первой ступени догревается до 60°С и расход сетевой воды на горячее водоснабжение при отсутствии циркуляции воды в СГВ оказывается равным пулю.
Г.1.1.2 Эксплуатационный удельный расход сетевой воды на отопление относится к 1 Гкал/ч расчетной тепловой нагрузки независимо присоединенных систем отопления при параллельной и смешанной схемах включения подогревателей и отсутствии нагрузки горячего водоснабжения на тепловом пункте, а также при последовательной схеме включения подогревательной установки горячего водоснабжения с непосредственной и независимой схемами присоединения систем отопления, где удельный расход сетевой воды на отопление и горячее водоснабжение определяется совместно.
Эксплуатационный удельный расход сетевой воды па горячее водоснабжение относится к 1 Гкал/ч расчетной нагрузки (средненедельной нагрузки горячего водоснабжения, принимаемой с коэффициентом 1,1) при параллельной и смешанной схемах включения подогревателей, т.е. эксплуатационный удельный расход сетевой воды при гидравличе-ском'расчете должен быть умножен на расчетное значение нагрузки горячего водоснабжения (средненедельной с коэффициентом 1,1).
Г.1.1.3 Расчет тепловых пунктов с водоводяными подогревателями производится для независимой схемы присоединения систем отопления, смешанной, параллельной и последовательной схем присоединения подогревателей горячего водоснабжения. В основу расчета тепловых пунктов с этими схемами закладывается реальное значение коэффициента эффективности водоводяных подогревателей и количество последовательно соединенных секций в них.
Наряду с характеристиками водоводяных подогревателей для независимого присоединения систем отопления учитываются расчетные температурные параметры последних. Отопительный подогреватель предполагается неавтоматизированным, т.е. на подводе сетевой воды к нему не установлены какие-либо клапаны, изменяющие расход сетевой воды.
Для всех схем включения подогревателей горячего водоснабжения учитываются наличие или отсутствие автоматического регулирования температуры нагретой воды на входе в СГВ, наличие или отсутствие циркуляции воды в СГВ и вид теплового пункта, к которому присоединены СГВ,- ИТП или ЦТП.
Г.1.1.4 Расчет тепловых пунктов с водоводяными подогревателями производится по разработанным алгоритмам на ПЭВМ с использованием стандартной программы решения уравнений «Wnmath» в операционной системе «Windows 95 (98)».
Решение задач, включенных в данное приложение, передается энергоснабжающим организациям на магнитном носителе по их требованию при предварительном покрытии технических расходов на подготовку и пересылку дискеты для ПЭВМ.
Г.1.1.5 Для определения эксплуатационного удельного расхода сетевой воды для тепловых пунктов с различными схемами включения водоводяных подогревателей выполняются следующие действия:
- вызов из памяти директории «БОЙЛЕР» (или «Jacob») или использование дискеты с программой расчета тепловых пунктов;
- выход на блок исходных данных для определенной задачи, соответствующей схеме включения водоподогревателей и диапазону температур сетевой воды (наружного воздуха);
- внесение исходных данных по конкретной задаче;
- получение результата расчета.
Для получения результатов расчета необходимо нажать левую клавишу мыши на «Action» и затем на «Evaluate Selection»; при этом курсор не должен находиться в заголовке, или одновременно нажать «Shift» и «Enter».
Г.1.1.6 Полученные в результате расчета значения эксплуатационного удельного расхода сетевой воды на отопление и горячее водоснабжение следует округлять до десятых долей числа.
Для независимой схемы присоединения систем отопления с неавтоматизированным подогревателем решается одна задача - определение эксплуатационного (расчетного) удельного расхода сетевой воды на отопление в точке излома нормативного температурного графика системы теплоснабжения Tnu - задача 1 «indepgip» (пример 1 «indgip #»).
Г.1.2.1 Определение эксплуатационного удельного расхода сетевой воды на отопление при независимой схеме присоединения систем отопления в точке излома нормативного температурного графика Тпu - задача 1 «indepgip», пример 7 «indgip #»
Г. 1.2.1.1 Необходимые исходные данные:
ТV - расчетная температура воздуха внутри помещений, °С; обычно TV = 18°С (при Тпр < -30°С TV = 20°С);
Тпр - расчетная температура наружного воздуха для отопления, °С;
Т2ip - номинальная расчетная температура воды в обратной линии независимо присоединенных систем отопления, °С; обычно Т2ip = 70°С;
Т3ip - номинальная расчетная температура воды в подающей линии независимо присоединенных систем отопления, °С; обычно Т2ip лежит в пределах от 95 до 105°С;
Tnu - температура наружного воздуха, соответствующая точке излома нормативного температурного графика системы теплоснабжения, °С;
T1u - температура сетевой воды в подающей линии по нормативному температурному графику системы теплоснабжения в точке его излома, °С;
DTtp1u - среднее значение понижения температуры сетевой воды в подающей линии тепловой сети за счет тепловых потерь в точке излома нормативного температурного графика, °С;
Т1ip - расчетная температура воды в подающей линии перед независимо присоединенными системами отопления (во втором контуре), °С; обычно Т1ip лежит в пределах от 95 до 130°С;
mi - коэффициент эффективности отопительного подогревателя;
ni - количество последовательно соединенных секций отопительного подогревателя.
Ответом служит значение эксплуатационного удельного расхода сетевой воды на отопление, определенное в точке излома температурного графика системы теплоснабжения - gip, м /Гкал.
Для данного теплового пункта это значение постоянно на протяжении всего отопительного сезона.
Г.1.2.1.2 Учет особенностей тепловых пунктов и порядок расчета
Значение эксплуатационного удельного расхода сетевой воды не зависит от вида теплового пункта - ИТП или ЦТП; поэтому в исходных данных вид теплового пункта не отражается. Оно не зависит также от схемы присоединения и вида системы горячего водоснабжения, присоединенной на том же тепловом пункте (кроме последовательной схемы).
Расчетная температура воды в подающей линии перед системами отопления Т1ip решающим образом влияет на значение расчетного удельного расхода сетевой воды gip.
Не менее важными показателями, определяющими значение gip, являются количество последовательно соединенных секций и коэффициент эффективности отопительного подогревателя nj и mi.
Г.1.2.1.3 Порядок расчета
При определении эксплуатационного удельного расхода сетевой воды для каждого последующего подогревателя в исходных данных задачи 1 изменяются значения Т1i, ni и mi. Значения всех остальных исходных данных для всех других отопительных подогревателей в системе теплоснабжения одинаковы.
Исходные данные и результаты расчета рекомендуется вносить в таблицу 6.3 части I Рекомендаций (при отсутствии в системе теплоснабжения тепловых пунктов с последовательной схемой и независимым присоединением систем отопления) или в таблицу 6.4 части I Рекомендаций.
Г. 1.2.1.4 Пример расчета gip при независимой схеме присоединения систем отопления
Определение эксплуатационного удельного расхода сетевой воды на отопительный подогреватель в точке излома температурного графика Тnu иллюстрируется следующим примером (пример 1 «indgip #»).
Исходные данные:
TV = 18; Тпр = -26; T2ip = 70; T3ip = 95; Tnu = 2,5; T1u = 70; DTtp1u = 2; Т1ip = 130; mi = 0,8; ni = 6.
Ответ: gip = 19,3 м3/Гкал.
При параллельной схеме включения подогревателя горячего водоснабжения решаются следующие задачи:
- определение эксплуатационного удельного расхода сетевой воды на горячее водоснабжение при СГВ без циркуляции воды в диапазоне значений температуры сетевой воды в подающей линии 70°С ≤ Т1 < 90°С, которая подразделяется на две отдельные задачи в зависимости от количества секций в водоводяном подогревателе горячего водоснабжения:
при количестве секций n ≤ 6 - задача 3 «par 70^6» (пример «par 70^6#»);
при количестве секций n ≥ 7 - задача 4 «par 70^7» (пример «par 70^7#»);
- определение эксплуатационного удельного расхода сетевой воды на горячее водоснабжение при автоматизированной СГВ без циркуляции воды при значениях температуры сетевой воды в подающей линии Т1 ≥ 90°С - задача 5 «par 90» (пример «par 90#»);
- определение эксплуатационного удельного расхода сетевой воды на горячее водоснабжение при СГВ с циркуляцией воды в диапазоне температур сетевой воды в подающей линии 70°С ≤ T1 < 90°С - задача 6 «parcir 70» (пример «рагсг 70#»);
- определение эксплуатационного удельного расхода сетевой воды на горячее водоснабжение при автоматизированной СГВ с циркуляцией воды при значениях температуры сетевой воды в подающей линии T1 ≥ 90°С - задача 7 «parcir 90» (пример «рагсг 90#»).
Г.1.3.1 Определение эксплуатационного удельного расхода сетевой воды на горячее водоснабжение при параллельной схеме включения подогревателя горячего водоснабжения (без циркуляции воды в СГВ) в диапазоне температур сетевой воды в подающей линии 70°С ≤ Ti < 90°С - задачи 3 «par 70^6» и 4 «par 70^7», примеры 3 «par 70^6#» и 4 «par 70^7#»
1.1.3.1.1 Необходимые исходные данные
Tgp-расчетная температура нагретой воды на входе в СГВ, °С; обычно Tgp = 60°C;
ТX - температура холодной водопроводной воды, °С;обычно ТX = 5°С;
T1 - температура сетевой воды в подающей линии по нормативному температурному графику, при которой определяется удельный расход сетевой воды, °С;
DTtp1 - среднее значение понижения температуры сетевой воды в подающей линии тепловой сети за счет тепловых потерь при температуре воды в подающей линии Т1°С;
Ао - коэффициент, зависящий от Т1, (при Т1 ≤ 80°С Ао = 0,54; при Т1 > 80°С Ао = 0,56);
m - коэффициент эффективности подогревателя горячего водоснабжения;
n - количество последовательно соединенных секций подогревателя.
Ответом служит значение эксплуатационного удельного расхода сетевой воды на горячее водоснабжение gt.
Г.1.3.1.2 Учет особенностей тепловых пунктов и порядок расчета
Практически задача «par 70^6» решается при значении «mn» < 4, задача «par 70^7» -при значении «mn» ≥ 4.
Задачи 3 и 4 решаются обычно при определении эксплуатационного удельного расхода сетевой воды на горячее водоснабжение для автоматизированных и неавтоматизированных СГВ в точке излома температурного графика. Они могут решаться и не в точке излома температурного графика, но только при автоматизированных параллельно включенных подогревателях.
При определении эксплуатационного удельного расхода сетевой воды в какой-либо системе теплоснабжения для каждого последующего теплового пункта с параллельной схемой включения подогревателя горячего водоснабжения в исходных данных задач 3 и 4 изменяются значения m и n. Значения всех остальных исходных данных для всех параллельно включенных подогревателей горячего водоснабжения в системе теплоснабжения одинаковы.
Исходные данные и результат расчета рекомендуется вносить в таблицу 6.4 части I Рекомендаций.
Г. 1.3.1.3 Пример расчета gt при параллельной схеме без циркуляции воды в СГВ
Определение эксплуатационного удельного расхода сетевой воды на горячее водоснабжение при параллельной схеме включения подогревателя горячего водоснабжения (без циркуляции воды в СГВ) при n ≤ 6 в диапазоне температур сетевой воды в подающей линии 70°С ≤ T1 < 90°С в точке излома температурного графика иллюстрируется следующим примером (пример 3 «par 70^6#»).
Исходные данные:
Tgp = 60; ТX = 5; Т1 = 70; DTtp1 = 2; Ао = 0,54; m = 0,6; n = 6.
Ответ: gt = 43,6 м3/Гкал.
Определение эксплуатационного удельного расхода сетевой воды на горячее водоснабжение при параллельной схеме включения автоматизированного подогревателя горячего водоснабжения (без циркуляции воды в СГВ) при n ≥ 7 в диапазоне температур сетевой воды в подающей линии 70°С ≤ T1 < 90°С не в точке излома температурного графика иллюстрируется следующим примером (пример 4 «par 70^7#»).
Исходные данные:
Tgp = 60; Тх = 5; Ti = 86; DTtp1 = 2,5; Ао = 0,56; m = 0,6; n = 5.
Ответ: gt = 27,6 м3/Гкал.
Г.1.3.2.1 Необходимые исходные данные
Перечень исходных данных, необходимых для решения задачи 5 «par 90», приведен в разделе Г.3.1.1 настоящего приложения, за исключением коэффициента Ао.
Так же, как и в разделе Г.1.3.2.2 настоящего приложения, ответом служит значение эксплуатационного удельного расхода сетевой воды на горячее водоснабжение gt.
Г.1.3.2.2 Учет особенностей тепловых пунктов и порядок расчета
Задача «par 90» решается независимо от количества последовательно соединенных секций в подогревателе.
При определении эксплуатационного удельного расхода сетевой воды в какой-либо системе теплоснабжения при выбранной характерной температуре наружного воздуха для каждого последующего теплового пункта с параллельной схемой включения подогревателя горячего водоснабжения в исходных данных задачи 5 изменяются значения m и n. Значения всех остальных исходных данных для всех параллельно включенных подогревателей в системе теплоснабжения одинаковы (при выбранной характерной температуре наружного воздуха).
Исходные данные и результат расчета рекомендуется вносить в таблицу 6.4 части I Рекомендаций.
Г.1.3.2.3 Пример расчета gt при параллельной схеме без циркуляции воды в СГВ
Определение эксплуатационного удельного расхода сетевой воды на горячее водоснабжение при параллельной схеме включения автоматизированного подогревателя горячего водоснабжения (без циркуляции воды в СГВ) при значениях температуры сетевой воды в подающей линии Т1 ≥ 90°С иллюстрируется следующим примером (пример 5 «par 90#»).
Исходные данные:
Tgp = 60; ТX = 5; T1 = 120; DTtp1 = 3,5; m = 0,6; n = 5.
Ответ: gt= 13,1 м3/Гкал.
Г.1.3.3 Определение эксплуатационного удельного расхода сетевой воды на горячее водоснабжение при параллельной схеме включения подогревателя горячего водоснабжения (с ииркуляиией воды в СГВ) в диапазоне температур сетевой воды в подающей линии 70оС Т1 ≤ 90оС - задача 6 «parcir 70», пример 6 «раrсr 70#»
Г.1.3.3.1 Схема теплового пункта
Секции подогревателя до точки присоединения циркуляционной линии по водопроводной воде принимаются как первая ступень подогревателя, секции после точки присоединения - как вторая ступень.
Г.1.3.3.2 Необходимые исходные данные
Tgp - расчетная температура нагретой воды на входе в СГВ, °С; обычно Tgp = 60°С;
Тх - температура холодной водопроводной воды, оС; обычно ТX = 5°С;
ТC - температура циркуляционной воды на входе в подогревательную установку, °С; обычно ТC = 50°С;
T1- температура сетевой воды в подающей линии по нормативному температурному графику, при которой определяется удельный расход сетевой воды, °С;
DTtp1 - среднее значение понижения температуры сетевой воды в подающей линии тепловой сети за счет тепловых потерь при температуре сетевой воды в подающей линии Т1, °C
A01 коэффициент для первой ступени подогревателя, зависящий от T1 (при T1 ≤ 80°C AО1 = 0,46; при Т1 > 80°С AО1 = 0,49);
А02 - коэффициент для второй ступени подогревателя, зависящий от T1 (при Т1 > 80°С А02 = 0,58; при T1 > 80°С А02 = 0,63);
Кtp - отношение значения тепловых потерь в СГВ к средненедельной тепловой нагрузке горячего водоснабжения; для ИТП нормируется значением 0,2; при отсутствии циркуляции воды в СГВ Кtp = 0;
m1 - коэффициент эффективности первой ступени подогревателя горячего водоснабжения;
m2 - коэффициент эффективности второй ступени подогревателя горячего водоснабжения;
n1 - количество последовательно соединенных секций подогревателя первой ступени;
n2 - количество последовательно соединенных секций подогревателя второй ступени.
Ответом служит значение эксплуатационного удельного расхода сетевой воды на горячее водоснабжение gt.
Г.1.3.3.3 Учет особенностей тепловых пунктов
Определение эксплуатационного удельного расхода сетевой воды на параллельно включенный подогреватель производится независимо от количества секций в нем.
Задача 6 может решаться в точке излома температурного графика для определения эксплуатационного расхода сетевой воды как для автоматизированной, так и для неавтоматизированной СГВ с циркуляцией воды в ней при параллельной схеме включения подогревателя. Если задача 6 решается при значениях температуры сетевой воды больших, чем в точке излома графика, то это допустимо лишь при автоматизированной системе горячего водоснабжения.
При определении эксплуатационного удельного расхода сетевой воды в какой-либо системе теплоснабжения при выбранной характерной температуре наружного воздуха для каждого последующего теплового пункта с параллельной схемой присоединения СГВ с циркуляцией воды в ней в исходных данных задачи 6 изменяются значения Кtp, m1, m2, n1 и n2. Значения всех остальных исходных данных для всех СГВ с циркуляцией воды, присоединенных посредством параллельно включенных подогревателей в системе теплоснабжения, одинаковы.
Исходные данные и результат расчета рекомендуется вносить в таблицу 6.4 части I Рекомендаций.
Г.1.3.3.4 Пример расчета gt при параллельной схеме с циркуляцией воды в СГВ Определение эксплуатационного удельного расхода сетевой воды на горячее водоснабжение при параллельной схеме включения автоматизированного подогревателя горячего водоснабжения (с циркуляцией воды в СГВ) в диапазоне температур сетевой воды в подающей линии 70 ≤ T1 < 90°С в точке излома температурного графика иллюстрируется следующим примером (пример 6 «рагсг 70#»).
Исходные данные:
Tgp = 60; ТX = 5; ТC = 50; Т1 = 70; DTtp1 = 2; A01 = 0,46; А02 = 0,58; Кtp = 0,2; m1 = 0,8; m2 = 0,6; n1 = 3; n2 = 2.
Ответ: gt = 63,5 м3/Гкал.
Г.1.3.4.1 Необходимые исходные данные
Перечень исходных данных, необходимых для решения задачи 7 «parcir 90», приведен в разделе Г.1.3.3.2 данного приложения, за исключением коэффициентов A01 и А02. Ответом в задаче 7 служит значение эксплуатационного удельного расхода сетевой воды на горячее водоснабжение gt.
Г.1.3.4.2 Порядок расчета
При расчете последующего теплового пункта при выбранной характерной температуре наружного воздуха в исходных данных задачи 7 изменяются значения тех же величин, что указаны в разделе Г.1.3.3.3 настоящего приложения. Исходные данные и результат расчета рекомендуется заносить в таблицу 6.4 части I Рекомендаций.
Г.1.3.4.3 Пример расчета величины gt для параллельной схемы с циркуляцией воды в СГВ
Определение эксплуатационного удельного расхода сетевой воды на горячее водоснабжение при параллельной схеме включения автоматизированного подогревателя горячего водоснабжения (с циркуляцией воды в СГВ) при температуре сетевой воды в подающей линии T1 ≥ 90°С иллюстрируется следующим примером (пример 7 «рагсг 90#»).
Исходные данные:
Tgp = 60; ТХ = 5; ТС = 50; Т1 = 120; DTtp1 = 3,5; Кtp = 0,2; m1 = 0,8; m2 = 0,6; n1 = 3; n2 = 2.
Ответ: gt = 14,3 м3/Гкал.
При смешанной схеме включения подогревательной установки горячего водоснабжения и непосредственной схеме присоединения систем отопления решаются следующие задачи:
- определение эксплуатационного удельного расхода сетевой воды на горячее водоснабжение (независимо от наличия или отсутствия циркуляции воды) в диапазоне спрямления температурного графика - задача 8 «mixdir 70» (пример 8 «mxdir 70#»);
- определение эксплуатационного удельного расхода сетевой воды на горячее водоснабжение при автоматизированной СГВ (независимо от наличия или отсутствия циркуляции воды в ней) в диапазонах температур наружного воздуха, прилегающих к Тn ≈ 5°С (0,4 ≤ q ≤ 0,6) - задача 9 «mixdir 5» (пример 9 «mixdir 5#);
- определение эксплуатационного удельного расхода сетевой воды на горячее водоснабжение при автоматизированной СГВ с циркуляцией воды в ней в диапазоне срезки температурного графика - задача 10 «mixdircp» (пример 10 «mxdircp#»);
- определение температуры наружного воздуха, при которой для автоматизированной СГВ без циркуляции воды расход сетевой воды на горячее водоснабжение равен нулю - задача 11 «mxdigt0» (пример 11 «mxdigt0#»).
Г.1.4.1.1 Необходимые исходные данные
TV - расчетная температура воздуха внутри помещений, °С; обычно TV = 18°С (при Тпр < -30°С TV = 20°С);
Тпр - расчетная температура наружного воздуха для отопления, °С;
T1P - номинальная расчетная температура сетевой воды в подающей линии тепловой сети, °С; обычно T1P = 150°С;
Т2P - номинальная расчетная температура сетевой воды в обратной линии систем отопления, °С; обычно Т2P = 70°С;
Т3P - номинальная расчетная температура сетевой воды в подающей линии систем отопления, оС; обычно Т3P = 95 или 105°С;
gop - расчетный удельный расход сетевой воды на отопление при нормативном температурном графике системы теплоснабжения (м3/Гкал); при T1P = 150°С и Т2P = 70°С gop = 12,5 м3/Гкал;
Кot - коэффициент повышения удельного расхода сетевой воды на отопление, связанный с понижением температуры сетевой воды в подающей линии у потребителей за счет тепловых потерь подающими трубопроводами тепловой сети через их теплоизоляционную конструкцию;
Tgp - расчетная температура нагретой воды на входе в СГВ, °С; обычно Tgp = 60°С;
ТX - температура холодной водопроводной воды, °С; обычно ТX = 5°С;
ТC - расчетная температура циркуляционной воды на входе в подогревательную установку, °С; обычно ТC = 50°С;
Тn - температура наружного воздуха, при которой производится определение эксплуатационного удельного расхода сетевой воды на горячее водоснабжение, °С; лежит в пределах от +10°С до Тn;
T1 - температура сетевой воды в подающей линии по нормативному температурному графику системы теплоснабжения при температуре наружного воздуха Тn, °С; обычно лежит в пределах от 70 до 80°С;
DTtp1 - среднее значение понижения температуры сетевой воды в подающей линии тепловой сети за счет тепловых потерь при температуре наружного воздуха Тn, оС;
У - относительный расход сетевой воды на отопление, определенный согласно разделу 5.8 части I Рекомендаций;
а - отношение средненедельной тепловой нагрузки горячего
водоснабжения на тепловом пункте, принятой с коэффициентом 1,1, к расчетному
расходу тепловой энергии на отопление (и вентиляцию),
; обычно значение а не превышает 0,25; если система
вентиляции присоединена до подогревателя второй ступени, ее тепловая нагрузка
не учитывается, если после - она входит в значение
;
KtP - отношение значения тепловых потерь в СГВ к средненедельной тепловой нагрузке горячего водоснабжения; для ИТП нормируется значением 0,2, для ЦТП - 0,25; при отсутствии циркуляционной линии KtP = 0;
m1 - коэффициент эффективности первой ступени подогревательной установки горячего водоснабжения;
m2 - коэффициент эффективности второй ступени подогревательной установки горячего водоснабжения;
n1 - количество последовательно соединенных секций в первой ступени подогре-. вательной установки горячего водоснабжения;
n2 - количество последовательно соединенных секций во второй ступени подогревательной установки горячего водоснабжения.
Ответом служит значение эксплуатационного удельного расхода сетевой воды на горячее водоснабжение gt.
Г.1.4.1.2 Учет особенностей тепловых пунктов
Задача 8 решается обычно при определении эксплуатационного удельного расхода сетевой воды на горячее водоснабжение для автоматизированных и неавтоматизированных СГВ в точке излома температурного графика. Эта задача может решаться и не в точке излома графика, но только при автоматизированной системе горячего водоснабжения.
Коэффициент КОТ показывает, насколько необходимо увеличить расчетный расход сетевой воды на отопление, т.е. значение удельного расхода воды gop, чтобы компенсировать понижение температуры сетевой воды в подающей линии, обусловленное тепловыми потерями подающих трубопроводов тепловой сети. Коэффициент КОТ ( принимается усредненным для всей системы теплоснабжения; его определение рассмотрено в разделе 6.1 части I Рекомендаций.
Определение значения gt для тепловых пунктов со смешанной схемой в диапазоне спрямления температурного графика следует производить только при температуре наружного воздуха Тnu. Температура сетевой воды в подающей линии по нормативному температурному графику в этом диапазоне может лежать в пределах 70°С ≤ T1 ≤ 80°C.
Эксплуатационный
удельный расход сетевой воды на горячее водоснабжение при
= +10°С для автоматизированной СГВ при
смешанной схеме практически равен значению gt, определенному при Tnu.
Значение У при расчете следует принимать равным единице.
Г.1.4.1.3 Порядок расчета
При определении эксплуатационного удельного расхода сетевой воды в какой-либо системе теплоснабжения для каждого последующего теплового пункта со смешанной схемой включения подогревательной установки горячего водоснабжения в исходных данных задачи 8 изменяются значения а, KtP; mi; m2; n1 и n2- Значения всех остальных исходных данных для всех тепловых пунктов со смешанной схемой включения подогревательной установки горячего водоснабжения и непосредственным присоединением систем отопления в системе теплоснабжения одинаковы (при выбранной для расчета характерной температуре наружного воздуха). Переход к расчету при другой характерной температуре наружного воздуха для автоматизированной СГВ связан с изменением значений Tn, T1, DTtp1 и У.
Исходные данные и результат расчета рекомендуется вносить в таблицу 6.4 части 1 Рекомендаций.
Г.
1.4.1.4 Пример расчета величины gt для смешанной схемы и
непосредственного присоединения систем отопления при ![]()
Определение эксплуатационного удельного расхода сетевой воды на горячее водоснабжение при смешанной схеме включения подогревательной установки горячего водоснабжения и непосредственной схеме присоединения систем отопления в диапазоне спрямления нормативного температурного графика иллюстрируется следующим Примером (пример 8 «mxdir 70#»),
Исходные данные:
TV= 18; Тпр = -26; Т1p = 150; Т2р = 70; Т3р = 95; gop = 12,5; Коt, = 1,09; Tgp = 60; ТX = 5; ТC = 50; Тn = Тnu = 2,5; T1 = 70; DTtp1 = 2; У = 1; Ktp = 0,25; а = 0,15; m1 = 0,8; m2 = 0,6; n1 = 5; n2 = 6.
Ответ: gt = 33,7 м3/Гкал.
Г.1.4.2.1 Необходимые исходные данные
Перечень исходных данных, необходимых для решения задачи 9 «mixdir 5», приведен в разделе Г. 1.4.1.1 данного приложения. Ряд исходных данных в задаче 9 «mixdir 5» имеет несколько иное значение, чем в задаче 8 «mixdir 70»: температура наружного воздуха Тn, при которой осуществляется определение эксплуатационного удельного расхода сетевой воды на горячее водоснабжение, лежит в пределах от 0 до ~ -10°С, а температура сетевой воды Т1 по нормативному температурному графику системы теплоснабжения - в пределах от 80 до 100°С.
Так же, как и в разделе Г.1.4.1.1 настоящего приложения, ответом служит значение эксплуатационного удельного расхода сетевой воды на горячее водоснабжение gt.
Г.1.4.2.2 Учет особенностей тепловых пунктов
Учет особенностей тепловых пунктов в части величины Kot не отличается от рассмотренного в разделе Г.1.4.1.1 данного приложения.
Значение коэффициента Kot, принимается постоянным для расчетов при любых значениях температуры наружного воздуха.
Значение температуры наружного воздуха Тn, при которой производится расчет тепловых пунктов, должно лежать в пределах 0,4 ≤ q ≤ 0,6, что для средней полосы эквивалентно примерно 0°С > Тn > -10°С. Если нет каких-либо дополнительных показаний, рекомендуется производить расчет тепловых пунктов при Тn = -5°С. Если в системе теплоснабжения есть неавтоматизированный непосредственный водоразбор, то расчет выполняется для точки перевода его с одной линии на другую. Для примерной системы теплоснабжения согласно разделу 6.3.3 части I Рекомендаций расчет gt проводился при Тn = -3°С.
На предварительном этапе
расчетов рекомендуется принимать относительный расход сетевой воды на отопление
У =
согласно разделу 5.8 части I Рекомендаций. Если производится окончательный этап расчетов, значение
относительного расхода У принимается
по результатам предварительного гидравлического расчета системы теплоснабжения.
Г.1.4.2.3 Порядок расчета
Порядок расчета при решении задачи 9 «mixdir 5» аналогичен рассмотренному в разделе Г.1.4.1.3 данного приложения при решении задачи 8 «mixdir 70».
Г.1.4.2.4 Пример расчета величины gt для автоматизированной смешанной схемы и непосредственного присоединения систем отопления при 0,4 ≤ q ≤ 0,6
Определение
эксплуатационного удельного расхода сетевой воды на горячее водоснабжение при
смешанной схеме включения автоматизированной подогревательной установки
горячего водоснабжения и непосредственной схеме присоединения систем отопления
в диапазоне значений относительного расхода тепловой энергии на отопление 0,4
≤ q ≤ 0,6 (при
- -5°C) иллюстрируется следующим примером (пример 9 «mixdir 5#»).
Исходные данные:
TV= 18; Тпр = -26; Т1p = 150; Т2р = 70; Т3р = 95; gop = 12,5; Коt, = 1,09; Tgp = 60; ТX = 5; ТC = 50; Тn = -3; T1 = 86; DTtp1 = 2,5; У = 1,08; KtP = 0,25; а = 0,15; m1 = 0,8; m2 = 0,6; n1 = 5; n2 = 6.
Ответ: gt = 22,8 м3/Гкал.
Г.1.4.3.1 Необходимые исходные данные
Перечень исходных данных, необходимых для решения задачи 10 «mixdircp», приведен в разделе Г.1.4.1.1 настоящего приложения.
Так же, как и в разделе Г.1.4.1.1, ответом служит значение эксплуатационного удельного расхода сетевой воды на горячее водоснабжение gt.
Г.1.4.3.2 Учет особенностей тепловых пунктов
Учет особенностей тепловых пунктов в части величины Kot не отличается от рассмотренного в разделе Г. 1.4.1.2 настоящего приложения.
Значения температуры наружного воздуха Тn, при которых производится расчет эксплуатационного удельного расхода сетевой воды на горячее водоснабжение в диапазоне срезки температурного графика, следует принимать равными Тn = Тnc и Тn = Тпр - т.е. расчеты осуществляются в точке срезки температурного графика и при расчетной температуре наружного воздуха. Значение У следует принимать на предварительном этапе расчетов согласно разделу 5.8 части I Рекомендаций; на окончательном этапе - из результатов гидравлического расчета на предварительном этапе.
Следует подчеркнуть, что расчет эксплуатационного удельного расхода сетевой воды в диапазоне срезки температурного графика на уровне 135-140°С производится только для тех тепловых пунктов, в которых осуществляется циркуляция воды в СГВ; если значения температуры сетевой воды по нормативному температурному графику при значениях температуры наружного воздуха Тnс и Тпр оказываются ниже 135°С, то определение эксплуатационного удельного расхода сетевой воды при этих значениях температуры наружного воздуха следует производить и при отсутствии циркуляции воды в СГВ.
Г.1.4.3.3 Порядок расчета
Порядок расчета при решении задачи 10 «mixdircp» аналогичен рассмотренному в разделе Г.1.4.1.3 настоящего приложения.
Г.1.4.3.4 Пример расчета величины gt для смешанной схемы и непосредственного присоединения систем отопления в диапазоне срезки температурного графика
Определение эксплуатационного удельного расхода сетевой воды на горячее водоснабжение при смешанной схеме включения автоматизированной подогревательной установки горячего водоснабжения и непосредственной схеме присоединения систем отопления (с циркуляцией воды в СГВ) в диапазоне срезки температурного графика иллюстрируется следующим примером (пример 10 «mxdircp #»).
Исходные данные:
TV= 18; Тпр = -26; Т1p = 150; Т2р = 70; Т3р = 95; gop = 12,5; Коt, = 1,09; Tgp = 60; ТX = 5; ТC = 50; Тn = Тnс = -15; T1 = 120; DTtp1 = 3,5; У = 1,13; Ktp = 0,25; а = 0,15; m1 = 0,8; m2 = 0,6; n1 = 6; n2 = 7.
Ответ: gt = 1,8 м3/Гкал.
Г.1.4.4.1 Постановка задачи
Необходимость в решении такой задачи возникает из-за того, что для указанных в заголовке условий температура водопроводной воды на выходе из подогревателя первой ступени достигает 60°С (а следовательно, и gt становится равным нулю) в большинстве случаев при температуре наружного воздуха большей, чем в точке срезки температурного графика Тnс. Поэтому для указанных условий прежде чем определять эксплуатационный удельный расход сетевой воды на горячее водоснабжение в точке срезки графика, целесообразно найти ту температуру наружного воздуха, при которой gt оказывается равным нулю. Если эта температура оказывается большей, чем Тnс, или лежит в ее окрестности, то удельный расход сетевой воды на горячее водоснабжение при смешанной схеме без циркуляции воды в СГВ в точке срезки графика следует принять равным нулю. Если найденная температура наружного воздуха намного ниже Тnc, то значение gt должно находиться и в точке срезки температурного графика путем решения задачи 10 «mixdircp».
В то же время если температура сетевой воды в подающей линии по нормативному температурному графику из-за недостатка тепловой мощности источников тепловой энергии оказывается при Тпр существенно ниже, чем при Тnc, то определение эксплуатационного удельного расхода сетевой воды следует производить и при Тпр независимо от наличия циркуляции воды в СГВ.
Если температура сетевой воды в подающей линии в диапазоне срезки графика не превышает 120°С, в решении задачи 11 «mxdigt 0» обычно нет необходимости; если эта температура при Тnc превышает 120°С, то, как правило, следует решать задачу 11 и действовать согласно разделу Г.1.4.4.1 настоящего приложения.
Г.1.4.4.2 Необходимые исходные данные
ТV - расчетная температура воздуха внутри помещений, °С; обычно ТV = 18°С (при Тлр < -30°С ТV = 20°С);
Тпр - расчетная температура наружного воздуха для отопления, °С;
T1Р - номинальная расчетная температура сетевой воды в подающей линии тепловой сети, °С; обычно T1Р = 150°С;
Т2Р - номинальная расчетная температура сетевой воды в обратной линии систем отопления, °С; обычно Т2Р = 70°С;
Т3Р - номинальная расчетная температура сетевой воды в подающей линии систем отопления, °С; обычно Т3Р = 95 или 105°С;
gop - расчетный удельный расход сетевой воды на отопление при нормативном температурном графике системы теплоснабжения, м3/Гкал; при T1Р = 150°С и Т2Р = 70°С gop = 12,5 м3/Гкал;
Коt, - коэффициент повышения удельного расхода сетевой воды на отопление, связанный с понижением температуры сетевой воды в подающей линии у потребителей за счет тепловых потерь подающими трубопроводами тепловой сети через их теплоизоляционную конструкцию;
Т2Р - расчетная температура нагретой воды на входе в СГВ, °С; обычно Т2Р = 60°С;
ТX - температура холодной водопроводной воды, °С; обычно ТX = 5°С;
DTtp1 - среднее значение понижения температуры сетевой воды в подающей линии тепловой сети за счет тепловых потерь при температуре наружного воздуха Тnc, °С;
У - относительный расход сетевой воды на отопление, определенный согласно разделу 5.8 части I Рекомендаций, при температуре наружного воздуха Тnc;
а -
отношение средненедельной тепловой нагрузки горячего водоснабжения на тепловом
пункте, принятой с коэффициентом 1,1, к расчетному расходу тепловой энергии на
отопление (и вентиляцию); а =
; обычно значение а не превышает 0,25;
m1 - коэффициент эффективности первой ступени подогревательной установки горячего водоснабжения;
n1 - количество последовательно соединенных секций в первой ступени подогревательной установки горячего водоснабжения.
Ответом в этой задаче служит значение температуры наружного воздуха Тn, при котором эксплуатационный удельный расход сетевой воды на горячее водоснабжение становится равным нулю.
Г. 1.4.4.3 Порядок расчета
Задача 11 «mxdigt 0» решается до определения эксплуатационного удельного расхода сетевой воды на горячее водоснабжение в точке срезки нормативного температурного графика, которое осуществляется путем решения задачи 10 «mixdircp».
Г.1.4.4.4 Пример расчета температуры наружного воздуха, при которой расход сетевой воды па горячее водоснабжение равен нулю
Определение температуры наружного воздуха, при которой расход сетевой воды на горячее водоснабжение равен нулю, при смешанной схеме включения автоматизированного подогревателя горячего водоснабжения без циркуляции воды в СГВ и непосредственной схеме присоединения систем отопления иллюстрируется следующим примером (пример 11 «mxdigt 0#»).
Исходные данные:
TV= 18; Тпр = -26; Т1p = 150; Т2р = 70; Т3р = 95; gop = 12,5; Коt, = 1,09; Tgp = 60; ТX - 5;DTtp1 = 5; У = 1,13; а = 0,15; m1 = 0,8; n1 = 6;
Ответ: Тn = -11,1°С ≈ -11oС. Поскольку Тn > Тnс (Тn = -11oС; Тnс = -15°С), производить расчет gt при Тnc не имеет смысла: при Tnc gt = 0.
При некоторых сочетаниях исходных данньк в рассматриваемой схеме теплового пункта температура водопроводной воды на входе в подогреватель второй ступени превышает 60°С даже при наличии циркуляции воды в СГВ. При этом эксплуатационный удельный расход сетевой воды на горячее водоснабжение gt, очевидно, равен нулю.
В связи с этим перед определением значения gt в точке срезки Тnс следует предварительно найти температуру наружного воздуха Тn, при которой gt оказывается равным нулю. Если Тn > Тnс, то расчет значения gt при Тnс производиться не должен.
Необходимые исходные данные для решения примера 11 @ «mxdigt0@» те же, что и для решения задачи 11 «mxdigt0», но требуется внесение еще двух дополнительных исходных данных, помещаемых между ТX и DTtp1:
ТC - расчетная температура циркуляионной воды на входе в подогревательную установку, °С; обычно ТC = 50°С;
Кtp - отношение тепловых потерь в системе горячего водоснабжения к средненедельной тепловой нагрузке горячего водоснабжения; для ИТП Кtp = 0,2; для ЦТП Кtp = 0,25.
Г.1.4.5.1 Пример расчета температуры наружного воздуха, при которой расход сетевой воды на горячее водоснабжение равен нулю
Определение температуры наружного воздуха, при которой расход сетевой воды на горячее водоснабжение равен нулю, при смешанной схеме включения автоматизированного подогревателя горячего водоснабжения с циркуляцией воды в СГВ и непосредственной схеме присоединения систем отопления иллюстрируется следующим примером (пример 11@ «mxdigt0@»).
Исходные данные приняты согласно разделу Г.1.4.4.4 настоящего приложения с дополнением ТC = 50°С, Кtp = 0,2. Температура сетевой воды в подающей линии в точке срезки графика Т1C = 140°С, при указанных условиях Тnс = -22,3°С.
Температура наружного воздуха Тn, при которой gt = 0, оказалась равной примерно -18°С. Поскольку Тn > Тnc (Тn = -18°С; Тnc = -22°С), производить расчет при Тnс не следует: при Tnc gt = 0.
При смешанной схеме включения подогревательной установки горячего водоснабжения (безотносительно от наличия или отсутствия циркуляции воды в СГВ) и независимой схеме присоединения систем отопления (с неавтоматизированным отопительным подогревателем) решаются следующие задачи:
- определение эксплуатационного удельного расхода сетевой воды на горячее водоснабжение в диапазоне спрямления температурного графика - задача 12 «mixind 70» (пример 12 «mxind 70#»);
- определение эксплуатационного удельного расхода сетевой воды на горячее водоснабжение при автоматизированной СГВ в диапазоне значений температуры наружного воздуха, прилегающих к Тn = -5°С (0,4 ≤ q ≤ 0,6) - задача 13 «mixind 5» (пример 13 «mixind 5#»);
- определение эксплуатационного удельного расхода сетевой воды на горячее водоснабжение при автоматизированной СГВ в диапазоне срезки температурного графика-задача 14 «mixindcp» (пример 14 «mxindcp #»);
- определение температуры наружного воздуха, при которой для автоматизированной СГВ расход сетевой воды на горячее водоснабжение равен нулю - задача 15 «mxingt 0» (пример 15 «mxingt 0#»).
Г.1.5.1.1 Необходимые исходные данные
ТV - расчетная температура воздуха внутри помещений, °С; обычно ТV = 18°С (при Тпр<-30°С ТV = 20°С);
Тпр - расчетная температура наружного воздуха для отопления, °С;
T2iP - номинальная расчетная температура воды в обратной линии независимо присоединенных систем отопления, °С, обычно T2iP = 70°С;
Т3iР - номинальная расчетная температура воды в подающей линии независимо присоединенных систем отопления, QC; обычно Т3iР лежит в пределах от 95 до 105°С;
Tgp - расчетная температура нагретой воды на входе в СГВ, "С; обычно Tgp = 60°С;
ТX - температура холодной водопроводной воды, °С; обычно ТX = 5°С;
ТC - температура циркуляционной воды на входе в подогревательную установку, °С; обычно ТC = 50°С;
Тn - температура наружного воздуха, при которой производится определение эксплуатационного удельного расхода сетевой воды на горячее водоснабжение, °С;
T1 - температура сетевой воды в подающей линии по нормативному температурному графику системы теплоснабжения при температуре наружного воздуха Тn, °С; обычно T1 лежит в пределах от 70 до 80°С;
DTtp1 - среднее значение понижения температуры сетевой воды в подающей линии тепловой сети за счет тепловых потерь при температуре наружного воздуха Тn, °С;
У - относительный расход сетевой воды на отопление, определенный на предварительном этапе согласно разделу 5.8 части I Рекомендаций; если производится окончательный этап расчетов, значение У принимается по результатам предварительного гидравлического расчета системы теплоснабжения; при расчете в точке излома температурного графика У = 1;
Т1iр- расчетная температура воды в подающей линии перед независимо присоединенными системами отопления (во втором контуре), °С; обычно Т1iр лежит в пределах от 95 до 130°С;
gip - расчетный удельный расход сетевой воды на отопление при независимой схеме его присоединения, определенный в точке излома температурного графика решением задачи 1 «indepgip», м3/Гкал;
mi - коэффициент эффективности отопительного подогревателя;
ni - количество последовательно соединенных секций отопительного подогревателя;
KtP - отношение тепловых потерь в СГВ к средненедельной тепловой нагрузке горячего водоснабжения; для ИТП нормируется значением 0,2, для ЦТП - 0,25, при отсутствии циркуляционной линии KtP = 0;
а - отношение средненедельной тепловой нагрузки горячего
водоснабжения на тепловом пункте, принятой с коэффициентом 1,1, к расчетному
расходу тепловой энергии на отопление (и вентиляцию), а =
; обычно значение а не превышает 0,25;
m1 - коэффициент эффективности первой ступени подогревательной установки горячего водоснабжения;
m2 - коэффициент эффективности второй ступени подогревательной установки горячего водоснабжения;
n1 - количество последовательно соединенных секций в первой ступени подогревательной установки горячего водоснабжения;
п2 - количество последовательно соединенных секций во второй ступени подогревательной установки горячего водоснабжения.
Ответом служит значение эксплуатационного удельного расхода сетевой воды на горячее водоснабжение gt.
Г.1.5.1.2 Учет особенностей тепловых пунктов
Учет особенностей тепловых пунктов в части смешанной схемы включения подогревательной установки горячего водоснабжения производится аналогично рассмотренному в разделе Г.1.4.1.2 данного приложения за исключением коэффициента Коt, который при независимой схеме присоединения систем отопления в расчет не принимается.
Учет особенностей тепловых пунктов в части независимой схемы присоединения систем отопления производится аналогично рассмотренному в разделе Г.1.2.1.2. Значение эксплуатационного удельного расхода сетевой воды на отопление gip, определенное в точке излома температурного графика, является расчетным; оно сохраняется на всем диапазоне изменения температур наружного воздуха. При его определении путем решения задачи 1 «indepgip» используются те же технические характеристики отопительного подогревателя, которые заданы в разделе Г.1.5.1.1 настоящего приложения.
Г.1.5.1.3 Порядок расчета
При определении эксплуатационного удельного расхода сетевой воды в какой-либо системе теплоснабжения для каждого последующего теплового пункта со смешанной схемой включения подогревательной установки горячего водоснабжения и независимой схемой присоединения систем отопления в исходных данных задачи 12 изменяются значения Т1ip; gip; mi; ni; KtP, а; m1; т2, n1 и n2 Значения всех остальных исходных данных для всех тепловых пунктов с указанными схемами присоединения отопления и горячего водоснабжения в системе теплоснабжения одинаковы (при выбранной для расчета характерной температуре наружного воздуха). Переход к расчету при другой характерной температуре наружного воздуха для автоматизированной СГВ связан с изменением значений Тn, T1; DTtp1 и У.
Исходные данные и результаты расчета рекомендуется вносить в таблицу 6.4 части I настоящих Рекомендаций.
Г.1.5.1.4 Пример расчета величины gt для смешанной схемы включения подогревательной установки горячего водоснабжения и независимой схемы присоединения систем отопления
Определение удельного расхода сетевой воды на горячее водоснабжение при смешанной схеме включения подогревательной установки горячего водоснабжения и независимой схеме присоединения систем отопления в диапазоне спрямления температурного графика иллюстрируется следующим примером (пример 12 «mxind 70 #»).
Исходные данные:
TV= 18; Тпр = -26; Т2р = 70; Т3р = 95; Tgp = 60; ТX - 6; ТC = 50; Тn = 2,5; T1 = 70; DTtp1 = 2; У = 1; Т1p = 130, gip = 19,3; mi = 0,6; ni = 6; KtP = 0,25; а = 0,2; m1 = 0,8; m2 = 0,6; n1 = 5; n2 = 6.
Ответ: gt = 28,5 м3/Гкал.
Г.1.5.2.1 Необходимые исходные данные
Перечень исходных данных, необходимых для решения задачи 13 «mixind 5», приведен в разделе Г.1.5.1.1 настоящего приложения.
Эксплуатационный удельный расход сетевой воды на отопление при независимой схеме его присоединения gip принимается из результатов его расчета в точке излома температурного графика (задача 1 «indepgip»).
Ответом служит значение эксплуатационного удельного расхода сетевой воды на горячее водоснабжение gt.
Г.1.5.2.2 Учет особенностей тепловых пунктов
Учет особенностей тепловых пунктов в части смешанной схемы включения подогревателей горячего водоснабжения производится аналогично рассмотренному в разделе Г.1.4.2.2 данного приложения, за исключением коэффициента Коt который в расчет не принимается.
Учет особенностей тепловых пунктов в части независимой схемы присоединения систем отопления производится аналогично рассмотренному в разделе Г.1.5.1.2 настоящего приложения.
Г.1.5.2.3 Порядок расчета
Порядок расчета при решении задачи 13 «mixind 5» аналогичен рассмотренному в разделе Г.1.5.1.3 настоящего приложения при решении задачи 12 «mixind 70».
Г.1.5.2.4 Пример расчета величины gt для смешанной схемы включения подогревательной установки горячего водоснабжения и независимой схемы присоединения систем отопления
Определение удельного
расхода сетевой воды на горячее водоснабжение при смешанной схеме включения
автоматизированной подогревательной установки горячего водоснабжения и
независимой схеме присоединения систем отопления в диапазоне значений
относительного расхода тепловой энергии на отопление 0,4 ≤ q ≤
0,6 (при
≈ -5°С)
иллюстрируется следующим примером (пример 13 «mixind 5#»).
Исходные данные:
TV= 18; Тпр = -26; Т2iр = 70; Т3iр = 95; Tgp = 60; ТX - 5; ТC = 50; Тn = -3; T1 = 86; DTtp1 = 2,5; У = 1,08; Т1ip = 130; gip = 19,3; mi =0,8; ni = 6; KtP = 0,25;а = 0,15; m1 = 0,8; m2 = 0,6; n1 = 5; n2 = 6.
Ответ: gt = 7,9 м3/Гкал.
Г.1.5.3.1 Необходимые исходные данные
Перечень исходных данных, необходимых для решения задачи 14 «mixindcp», приведен в разделе Г.1.5.1.1 данного приложения. Значение gip принимается из результатов расчета удельного расхода сетевой воды на отопление в точке излома температурного графика согласно указаниям раздела Г.1.5.1.2 настоящего приложения.
Ответом служит значение эксплуатационного удельного расхода сетевой воды на горячее водоснабжение gt.
Г.1.5.3.2 Порядок расчета
Порядок расчета тепловых пунктов при решении задачи 14 «mixindcp» аналогичен указанному в разделе Г.1.5.1.3 данного приложения для задачи 12 «mixind 70».
Независимо от наличия циркуляции воды в СГВ при значениях температуры сетевой воды в подающей линии в диапазоне срезки графика, больших 120°С, рекомендуется предварительно решить задачу 15 «mxingt 0», чтобы убедиться в том, что температура наружного воздуха, при которой расход сетевой воды на горячее водоснабжение становится равным нулю, оказывается ниже температуры Тnс. Если это условие не выполняется, то значение gt при Тnс принимается равным нулю.
Г.1.5.3.3 Пример расчета величины gt для смешанной схемы включения подогревательной установки горячего водоснабжения и независимой схемы присоединения систем отопления в диапазоне срезки температурного графика
Определение удельного расхода сетевой воды на горячее водоснабжение при смешанной схеме включения автоматизированного подогревателя горячего водоснабжения и независимой схеме присоединения систем отопления в диапазоне срезки температурного графика при расчетной температуре наружного воздуха иллюстрируется следующим примером (пример 14 «mxindcp#»).
Исходные данные:
TV= 18; Тпр = -26; Т2iр = 70; Т3iр = 95; Tgp = 60; ТX - 5; ТC = 50; Тn = -26; T1 = 106; DTtp1 = 3,0; У = 1,11; Т1ip = 130; gip = 19,3; mi =0,8; ni = 6; KtP = 0,25; а = 0,2; m1 = 0,8; m2 = 0,6; n1 = 5; n2 = 6.
Ответ: gt = 2,0 м3/Гкал.
При некоторых сочетаниях исходных данных в рассматриваемой схеме теплового пункта температура водопроводной воды на выходе из подогревателя первой ступени достигает 60°С (а следовательно, и gt становится равным нулю) при температуре наружного воздуха большей, чем в точке срезки температурного графика. Поэтому перед определением эксплуатационного удельного расхода сетевой воды на горячее водоснабжение в точке срезки графика Тnс целесообразно предварительно найти ту температуру наружного воздуха Тn, при которой gt оказывается равным нулю. Если Тn лежит в окрестности Тnc или оказывается существенно больше, то расчет значения gt при Тnс производиться не должен.
В то же время если температура сетевой воды в подающей линии по нормативному температурному графику из-за недостатка тепловой мощности источников тепловой энергии оказывается при Тпр существенно ниже, чем при Тnс, то определение эксплуатационного удельного расхода сетевой воды следует производить и при Тпр независимо от наличия циркуляции воды в СГВ.
Если температура сетевой воды в подающей линии в диапазоне срезки графика не превышает 120°С, в решении задачи 15 «mxingt 0» обычно нет необходимости; если эта температура при Тnс превышает 120°С, то, как правило, следует решать задачу 14 «mixindcp».
Г.1.5.4.1 Необходимые исходные данные
ТV - расчетная температура воздуха внутри помещений, °С; обычно ТV = 18°С (при Тпр < -30°С ТV = 20°С);
Тпр - расчетная температура наружного воздуха для отопления, °С;
Т1p - номинальная расчетная температура сетевой воды в подающей линии тепловой сети, °С; обычно Т1p = 150°С;
Т2р - номинальная расчетная температура сетевой воды в обратной линии систем отопления, °С; обычно Т2р = 70°С;
Т3р - номинальная расчетная температура сетевой воды в подающей линии систем отопления, °С; обычно Т3р = 95 или 105°С;
Tgp- расчетная температура нагретой воды на входе в СГВ, °С; обычно Tgp = 60°С;
ТX - температура холодной водопроводной воды, °С; обычно ТX = 5°С;
ТC - температура циркуляционной воды на входе в подогревательную установку, °С; обычно ТC = 50°С;
DTtp1 - среднее значение понижения температуры сетевой воды в подающей линии тепловой сети за счет тепловых потерь при температуре наружного воздуха Тnс, °С;
У - относительный расход сетевой воды на отопление, определенный согласно разделу 5.8 части I Рекомендаций при температуре наружного воздуха Тnс;
Т1ip - расчетная температура воды в подающей линии перед независимо присоединенными системами отопления (во втором контуре), °С; обычно Т1ip лежит в пределах от 95 до 130°С;
Т2iр - расчетная температура воды в обратной линии независимо присоединенных систем отопления, оС, обычно Т2iр = 70°С;
Т3iр - расчетная температура воды в подающей линии независимо присоединенных систем отопления, °С, обычно Т3iр лежит в пределах от 95 до 105°С;
gip - расчетный удельный расход сетевой воды на отопление при независимой схеме его присоединения, определенный в точке излома температурного графика решением задачи 1 «indepgip», м3/Гкал;
mi - коэффициент эффективности отопительного подогревателя;
ni - количество последовательно соединенных секций отопительного подогревателя;
KtP - отношение величины тепловых потерь в системе горячего водоснабжения к средненедельной тепловой нагрузке горячего водоснабжения; для ИТП нормируется величиной 0,2, для ЦТП - 0,25, при отсутствии циркуляционной линии KtP = 0;
а - отношение
средненедельной тепловой нагрузки горячего водоснабжения на тепловом пункте, принятой
с коэффициентом 1,1, к расчетному расходу тепловой энергии на отопление (и
вентиляцию), а -
; обычно значение а не превышает 0,25;
m1 - коэффициент эффективности первой ступени подогревательной установки горячего водоснабжения;
n1 - количество последовательно соединенных секций в первой ступени подогревательной установки горячего водоснабжения.
Ответом в этой задаче служит температура наружного воздуха Тn, при которой эксплуатационный удельный расход сетевой воды на горячее водоснабжение становится равным нулю.
Г.1.5.4.2 Порядок расчета
Задача 15 «mxingt 0» решается до определения эксплуатационного удельного расхода сетевой воды на горячее водоснабжение в точке срезки нормативного температурного графика, которое осуществляется путем решения задачи 14 «mixindcp».
Г.1.5.4.3 Пример расчета температуры наружного воздуха, при которой расход сетевой воды на горячее водоснабжение равен нулю
Определение температуры наружного воздуха, при которой расход сетевой воды на горячее водоснабжение равен нулю, при смешанной схеме включения автоматизированной подогревательной установки горячего водоснабжения и независимой схеме присоединения систем отопления воздуха иллюстрируется следующим примером (пример 15 «mxingt 0 #»).
Исходные данные:
TV= 18; Тпр = -26; Т1p = 150; Т2р = 70; Т3р = 95; Tgp = 60; ТX = 5; ТC = 50; DTtp1 = 3,5; У = 1,13; Т1iр = 130; Т2iр = 70; Т3iр = 95; gip = 19,3; mi =0,8; ni = 6; KtP = 0,25; а = 0,2; m1 = 0,8; n1 = 5;
Ответ: Tn = -9,4°C ≈ -9°C. Поскольку Tn = -9°C > Tnc = -15°C, производить расчет gt при Tnc не имеет смысла - при Tnc gt = 0.
При последовательной схеме включения подогревательной установки горячего водоснабжения и непосредственной схеме присоединения систем отопления решаются следующие задачи:
- определение эксплуатационного удельного расхода сетевой воды на отопление и горячее водоснабжение (на тепловой пункт) при автоматизированном тепловом пункте (при установленных РТ и РР) в точке излома температурного графика - задача 16 «posldir», пример 16 «posldir #»;
- определение эксплуатационного удельного расхода сетевой воды на отопление и горячее водоснабжение (на тепловой пункт) при неавтоматизированном тепловом пункте (при отсутствии регуляторов РТ и РР) в точке излома температурного графика - задача 17 «posdim», пример 17 «posdirn #».
Следует иметь в виду, что указанные задачи могут быть использованы при предвключенной схеме присоединения СГВ, для чего достаточно принять значение n1 = 0.
Г. 1.6.1.1 Общие положения
В задаче 16 определяется эксплуатационный удельный расход сетевой воды на тепловой пункт при непосредственной схеме присоединения систем отопления и автоматизированной последовательной схеме включения подогревательной установки горячего водоснабжения, которая является стандартной последовательной схемой с наличием авторегуляторов РТ и PP.
Эксплуатационный удельный расход сетевой воды на тепловой пункт с автоматизированной последовательной схемой включения подогревателя горячего водоснабжения определяется только в точке излома температурного графика и является постоянным на протяжении всего отопительного сезона.
Эксплуатационный удельный расход сетевой воды определяется совместно на отопление и горячее водоснабжение. Удельный расход сетевой воды на тепловой пункт с автоматизированной последовательной схемой включения подогревательной установки горячего водоснабжения представляет собой расход ее на 1 Гкал расчетной отопительной нагрузки (м3/Гкал). Удельный расход сетевой воды на горячее водоснабжение при последовательной схеме включения подогревателей отдельно не определяется.
Автоматизированная последовательная схема включения подогревательной установки горячего водоснабжения характеризуется постоянством расхода сетевой воды на тепловой пункт при средненедельной нагрузке горячего водоснабжения на протяжении всего отопительного сезона.
Г.1.6.1.2 Необходимые исходные данные
ТV - расчетная температура воздуха внутри помещений, °С; обычно ТV = 18°С (приТпр<-30°С ТV = 20оС);
Тпр - расчетная температура наружного воздуха для отопления, °С;
T1p - номинальная расчетная температура сетевой воды в подающей линии тепловой сети, °С; обычно T1p = 150°С;
Т2P - номинальная расчетная температура сетевой воды в обратной линии систем отопления, °С; обычно Т2P = 70°С;
Т3P - номинальная расчетная температура сетевой воды в подающей линии систем отопления, °С; обычно Т3P = 95 или 105°С;
Tgp - расчетная температура нагретой воды на входе в СГВ, °С; обычно Tgp = 60°С;
ТX - температура холодной водопроводной воды, °С; обычно ТX = 5°С;
Tcp, - расчетная температура циркуляционной воды на входе в подогревательную установку, °С; обычно Tcp = 50°С;
Тnu - температура наружного воздуха в точке излома нормативного графика температур сетевой воды в подающей линии, при которой производится определение эксплуатационного удельного расхода сетевой воды на тепловой пункт, °С;
T1u - температура сетевой воды в подающей линии по нормативному температурному графику системы теплоснабжения при температуре наружного воздуха Тnu, °C; обычно T1u лежит в пределах от 70 до 80°С;
DTtp1 - среднее значение понижения температуры сетевой воды в подающей линии тепловой сети за счет тепловых потерь при температуре наружного воздуха Тnu °С;
Кtp - отношение тепловых потерь в системе горячего водоснабжения к средненедельной тепловой нагрузке горячего водоснабжения; для ИТП нормируется значением 0,2, для ЦТП - 0,25; при отсутствии циркуляционной линии Кtp = 0;
а -
отношение средненедельной тепловой нагрузки горячего водоснабжения на тепловом
пункте, принятой с коэффициентом 1,1, к расчетному расходу тепловой энергии на
отопление (и вентиляцию), а=
; обычно значение а не превышает 0,25;
m1 - коэффициент эффективности первой ступени подогревательной установки горячего водоснабжения;
n1 - количество последовательно соединенных секций в первой ступени подогревательной установки горячего водоснабжения.
Ответом служит значение эксплуатационного удельного расхода сетевой воды на отопление (на тепловой пункт) gtdp.
Г.1.6.1.3 Порядок расчета
При определении эксплуатационного удельного расхода сетевой воды на тепловые пункты в какой-либо системе теплоснабжения для каждого последующего теплового пункта с автоматизированной последовательной схемой включения подогревательной установки горячего водоснабжения в исходных данных задачи 16 изменяются значения a; Кtp; m1 и n1, Значения всех остальных исходных данных для всех тепловых пунктов с рассматриваемой схемой в системе теплоснабжения одинаковы.
Исходные данные и результат расчета рекомендуется вносить в таблицу 6.4 части I Рекомендаций.
Г.1.6.1.4 Пример расчета величины gtdp для автоматизированной последовательной схемы при непосредственной схеме присоединения систем отопления
Определение эксплуатационного удельного расхода сетевой воды на тепловой пункт в точке излома температурного графика при автоматизированной последовательной схеме включения подогревательной установки горячего водоснабжения и непосредственной схеме присоединения систем отопления иллюстрируется следующим примером (пример 16 «posldir #»).
Исходные данные:
TV= 18; Тпр = -26; Т1p = 150; Т2р = 70; Т3р = 95; Tgp = 60; ТX = 5; Тcp = 50; Тnu = 2,5; T1u = 70; DTtp1 = 2; Кtp = 0,2; У = 1; а = 0,15; m1 = 0,6; n1 = 4.
Ответ: gtdp = 17,4 м3/Гкал (1 м3 на 1 Гкал расчетной отопительной нагрузки).
Г.1.6.2.1 Общие положения
В задаче 17 определяется эксплуатационный удельный расход сетевой воды на тепловой пункт при непосредственной схеме присоединения систем отопления и неавтоматизированной последовательной схеме включения подогревательной установки горячего водоснабжения, которая отличается от стандартной последовательной схемы отсутствием РТ и PP.
При последовательной схеме включения подогревательной установки горячего водоснабжения принимается, что байпас второй ступени подогревателя по сетевой воде перекрыт и вся сетевая вода, поступающая на тепловой пункт, протекает через вторую ступень подогревательной установки горячего водоснабжения.
Эксплуатационный удельный расход сетевой воды на тепловой пункт с последовательной схемой включения подогревательной установки горячего водоснабжения определяется только в точке излома температурного графика и является постоянным на протяжении всего отопительного сезона.
Эксплуатационный удельный расход сетевой воды определяется совместно на отопление и горячее водоснабжение. Удельный расход сетевой воды на тепловой пункт с неавтоматизированной последовательной схемой включения подогревательной установки горячего водоснабжения представляет собой расход ее на 1 Гкал расчетной отопительной нагрузки (м3/Гкал). Удельный расход сетевой воды на горячее водоснабжение при последовательной схеме включения подогревателей отдельно не определяется.
Г.1.6.2.2 Необходимые исходные данные
ТV - расчетная температура воздуха внутри помещений, °С; обычно ТV = 18°С (при Тпр<-30°С ТV = 20°С);
Тпр - расчетная температура наружного воздуха для отопления, °С;
Т1р- номинальная расчетная температура сетевой воды в подающей линии тепловой сети, °С; обычно Т1р лежит в пределах от 95 до 130°С;
T2P - номинальная расчетная температура сетевой воды в обратной линии систем отопления, °С, обычно T2P = 70°С;
Т3Р - номинальная расчетная температура воды в подающей линии систем отопления, QC; обычно Т3iР лежит в пределах от 95 до 105°С;
ТX - температура холодной водопроводной воды, °С; обычно ТX = 5°С;
Тnu - температура наружного воздуха в точке излома нормативного графика температур сетевой воды в подающей линии, при которой производится определение эксплуатационного удельного расхода сетевой воды на тепловой пункт, °С;
T1u - температура сетевой воды в подающей линии по нормативному температурному графику системы теплоснабжения при температуре наружного воздуха Тnu, °С; обычно T1u лежит в пределах от 70 до 80°С;
DTtp1 - среднее значение понижения температуры сетевой воды в подающей линии тепловой сети за счет тепловых потерь при температуре наружного воздуха Тnu, °С;
KtP - отношение тепловых потерь в системе горячего водоснабжения к средненедельной тепловой нагрузке горячего водоснабжения; для ИТП нормируется значением 0,2, для ЦТП - 0,25, при отсутствии циркуляционной линии KtP = 0;
а - отношение средненедельной тепловой нагрузки горячего
водоснабжения на тепловом пункте, принятой с коэффициентом 1,1, к расчетному
расходу тепловой энергии на отопление (и вентиляцию), а =
; обычно значение а не превышает 0,25;
m1 - коэффициент эффективности первой ступени подогревательной установки горячего водоснабжения;
m2 - коэффициент эффективности второй ступени подогревательной установки горячего водоснабжения;
ni - количество последовательно соединенных секций в первой ступени подогревательной установки горячего водоснабжения;
п2 - количество последовательно соединенных секций во второй ступени подогревательной установки горячего водоснабжения.
Ответом служит значение эксплуатационного удельного расхода сетевой воды на отопление (на тепловой пункт) gtdp.
Г.1.6.2.3 Порядок расчета
При определении эксплуатационного удельного расхода сетевой воды на тепловые пункты в какой-либо системе теплоснабжения для каждого последующего теплового пункта с последовательной схемой включения подогревательной установки горячего водоснабжения в исходных данных задачи 17 изменяются значения a; Кtр; m1; n1, m2 и n2- Значения всех остальных исходных данных для всех тепловых пунктов с рассматриваемой схемой в системе теплоснабжения одинаковы.
Исходные данные и результат расчета рекомендуется вносить в таблицу 6.4 части I Рекомендаций.
Г.1.6.2.4 Пример расчета величины gtdp для неавтоматизированной последовательной схемы при непосредственной схеме присоединения систем отопления
Определение эксплуатационного удельного расхода сетевой воды на тепловой пункт в точке излома температурного графика при неавтоматизированной последовательной схеме включения подогревательной установки горячего водоснабжения и непосредственной схеме присоединения систем отопления иллюстрируется следующим примером (пример 17 «posdirn #»).
Исходные данные:
TV= 18; Тпр = -26; Т1p = 150; Т2р = 70; Т3р = 95; ТX = 5; Tnu = 2,5; Т1u = 70; DTtp1 = 2; У = 1; KtP = 0,25; а = 0,12; m1 = 0,7; m2 = 0,6; n1 = 4; n2 = 6.
Ответ: gtdp =17,1 м3/Гкал (1 м3 на 1 Гкал расчетной отопительной нагрузки).
Г.1.6.3.1 Общие положения
При определении эксплуатационного удельного расхода сетевой воды для автоматизированной и неавтоматизированной последовательных схем включения подогревательных установок горячего водоснабжения и непосредственной схеме присоединения систем отопления удельный расход определяется совместно на отопление и горячее водоснабжение и относится к 1 Гкал/ч расчетной отопительной нагрузки.
При рассматриваемых схемах существует возможность разделить эксплуатационный
удельный расход сетевой воды на
тепловой пункт на эксплуатационный удельный расход на отопление и
эксплуатационный удельный расход на горячее водоснабжение. При таком подходе эксплуатационный удельный
расход сетевой воды на отопление относится к 1 Гкал/ч расчетной отопительной
нагрузки и определяется так же, как при непосредственной схеме присоединения
систем отопления, т.е. по формуле (6.1) части I Рекомендаций
= КОТ
.
Эксплуатационный удельный расход сетевой воды на горячее водоснабжение gt находится с помощью ПЭВМ по алгоритмам для автоматизированной и неавтоматизированной последовательных схем включения подогревателей. Эксплуатационный удельный расход gt относится в этом случае к 1 Гкал/ч расчетной тепловой нагрузки горячего водоснабжения, т.е. к часовой средненедельной его нагрузке, принятой с коэффициентом 1,1.
Результаты расчета расхода сетевой воды на тепловой пункт по обоим методам одинаковы.
Г.1.6.3.2 Необходимые исходные данные для определения эксплуатационного удельного расхода сетевой воды на горячее водоснабжение gt
При автоматизированной последовательной схеме в исходные данные для расчета задачи 16 «posldir» (см. раздел Г.1.6.1.2 настоящего приложения) дополнительно вносится величина Kot - коэффициент повышения удельного расхода сетевой воды на отопление, компенсирующий тепловые потери подающих трубопроводов тепловой сети и единый для всех потребителей системы теплоснабжения.
При неавтоматизированной последовательной схеме в исходные данные для расчета задачи 17 «posdirn» также дополнительно вносится коэффициент Kot.
Необходимые исходные данные для определения эксплуатационного удельного расхода сетевой воды на горячее водоснабжение при автоматизированной последовательной схеме и непосредственном присоединении систем отопления приведены в . примере 16@ «posldir@», при неавтоматизированной последовательной схеме - в примере 17@ «posdim@».
Г.1.6.3.3 Примеры расчета величины gt для автоматизированной и неавтоматизированной последовательных схем включения подогревателей горячего водоснабжения и непосредственной схемы присоединения систем отопления
Автоматизированная последовательная схема:
TV= 18; Тпр = -26; Т1p = 150; Т2р = 70; Т3р = 95; Tgp = 60; ТX = 5; ТC = 50; Тnu = 2,5; Коt, = 1,09; T1u = 70; DTtp1 = 2; У = 1; KtP = 0,2; а = 0,15; m1 = 0,6; n1 = 4.
Ответ: gt = 25,3 м3/Гкал.
Неавтоматизированная последовательная схема.
TV= 18; Тпр = -26; Т1p = 150; Т2р = 70; Т3р = 95; ТX = 5; Тnu = 2,5; T1u = 70; Коt, = 1,09; DTtp1 = 2; KtP = 0,25; а = 0,12; m1 = 0,7; m2 = 0,6; n1 = 4; n2 = 6.
Ответ: gt = 28,6 м3/Гкал.
При последовательной схеме включения подогревательной установки горячего водоснабжения и независимой схеме присоединения систем отопления решаются следующие задачи:
- определение эксплуатационного удельного расхода сетевой воды на отопление и горячее водоснабжение (на тепловой пункт) при автоматизированном тепловом пункте (при установленных регуляторах РТ и РР) в точке излома температурного графика - задача 18 «poslind», пример 18 «poslind#»;
- определение эксплуатационного удельного расхода сетевой воды на отопление и горячее водоснабжение (на тепловой пункт) при неавтоматизированном тепловом пункте (при отсутствии регуляторов РТ и РР) в точке излома температурного графика -задача 19 «posindn», пример 19 «posindn #».
Общие положения, изложенные в разделе Г.1.6.1.1 настоящего приложения для непосредственной схемы присоединения систем отопления, остаются в силе и для независимой схемы их присоединения.
Г. 1.7.1.1 Необходимые исходные данные
TV - расчетная температура воздуха внутри помещений, °С; обычно TV = 18°С (при Тпр < -30°С TV = 20°С);
Тпр - расчетная температура наружного воздуха для отопления, °С;
Т3ip - номинальная расчетная температура сетевой воды в подающей линии независимо присоединенных систем отопления, оС; обычно Т3ip = 95 или 105°С;
Т2ip - номинальная расчетная температура сетевой воды в обратной линии независимо присоединенных систем отопления, °С; обычно Т2ip = 70°С;
Tgp -расчетная температура нагретой воды на входе в СГВ, °С; обычно Tgp = 60°С;
ТX - температура холодной водопроводной воды, °С; обычно ТX = 5°С;
Тср - расчетная температура циркуляционной воды на входе в подогревательную установку, °С; обычно Тср = 50°С;
Tnu - температура наружного воздуха в точке излома нормативного графика температур сетевой воды в подающей линии, при которой производится определение эксплуатационного удельного расхода сетевой воды на тепловой пункт, °С;
T1u - температура сетевой воды в подающей линии по нормативному температурному графику системы теплоснабжения при температуре наружного воздуха Tnu, °С; обычно T1u лежит в пределах от 70 до 80°С;
DTtp1u - среднее значение понижения температуры сетевой воды в подающей линии тепловой сети за счет тепловых потерь при температуре наружного воздуха Tnu, °С;
Т1ip - расчетная температура сетевой воды в подающей линии второго контура (за отопительным подогревателем), °С; Т1ip обычно лежит в пределах 95-130°С;
mi - коэффициент эффективности отопительного подогревателя;
ni - количество последовательно соединенных секций в отопительном подогревателе;
Кtp - отношение тепловых потерь в СГВ к средненеделыюй тепловой нагрузке горячего водоснабжения; для ИТП нормируется значением 0,2, для ЦТП - 0,25; при отсутствии циркуляционной линии Кtp = 0;
а - отношение средненедельной тепловой нагрузки горячего
водоснабжения на тепловом пункте, принятой с коэффициентом 1,1, к расчетному
расходу тепловой энергии на отопление (и вентиляцию), а =
; обычно значение а не превышает 0,25;
m1 - коэффициент эффективности первой ступени подогревательной установки горячего водоснабжения;
n1 - количество последовательно соединенных секций в первой ступени подогревательной установки горячего водоснабжения.
Ответом служит значение эксплуатационного удельного расхода сетевой воды на отопление (на тепловой пункт) gtip.
Г.1.7.1.2 Порядок расчета
При определении эксплуатационного удельного расхода сетевой воды на тепловые пункты в какой-либо системе теплоснабжения для каждого последующего теплового пункта с последовательной схемой включения подогревательной установки горячего водоснабжения в исходных данных задачи 18 изменяются значения Т1ip; mi; n1; Кtp, a; m1 и n1. Значения всех остальных исходных данных для всех тепловых пунктов с рассматриваемой схемой в системе теплоснабжения одинаковы.
Исходные данные и результат расчета рекомендуется вносить в таблицу 6.4 части I Рекомендаций.
Г.1.7.1.3 Пример расчета величины gtip для автоматизированной последовательной схемы при независимой схеме присоединения систем отопления
Определение эксплуатационного удельного расхода сетевой воды на тепловой пункт в точке излома температурного графика при автоматизированной последовательной схеме включения подогревательной установки горячего водоснабжения и независимой схеме присоединения систем отопления иллюстрируется следующим примером (пример 18 «poslind#»).
Исходные данные:
TV= 18; Тпр = -26; Т3iр = 95; Т2iр = 70; Tgp = 60; Tgp = 60; ТX = 5; Тcp = 50; Тnu = 2,5; T1u = 70; DTtp1u = 2; Т1iр = 120; mi = 0,6; ni = 4; KtP = 0,2; а = 0,2; m1 = 0,6; n1 = 4;
Ответ: gtip = 28,6 мэ/Гкал (1 м3 на 1 Гкал расчетной отопительной нагрузки).
Общие положения, изложенные в разделе Г.1.6.2.1 настоящего приложения для непосредственной схемы присоединения систем отопления, остаются в силе и для независимой схемы их присоединения.
1.1.7.2.1 Необходимые исходные данные
ТV - расчетная температура воздуха внутри помещений, °С; обычно ТV = 18°С (при Тпр < -30°С ТV = 20°С);
Tnp - расчетная температура наружного воздуха для отопления, oС;
Т3ip - номинальная расчетная температура сетевой воды в подающей линии независимо присоединенных систем отопления, °С; обычно Т3ip = 95 или 105°С;
Т2ip - номинальная расчетная температура сетевой воды в обратной линии независимо присоединенных систем отопления, °С; обычно Т2ip = 70°С;
ТX - температура холодной водопроводной волы, °С; обычно ТX = 5°С;
Tnu - температура наружного воздуха в точке излома нормативного графика температур сетевой воды в подающей линии, при которой производится определение эксплуатационного удельного расхода сетевой воды на тепловой пункт, °С;
Т1u - температура сетевой воды в подающей линии по нормативному температурному графику системы теплоснабжения при температуре наружного воздуха Tnu oС; обычно лежит в пределах от 70 до 80°С;
DTtp1u - среднее значение понижения температуры сетевой воды в подающей линии тепловой сети за счет тепловых потерь при температуре наружного воздуха Tnu, °C;
Т1iр - расчетная температура сетевой воды в подающей линии второго контура (за отопительным подогревателем), °С; Т1iр обычно лежит в пределах 95-130°С;
mi - коэффициент эффективности отопительного подогревателя;
ni - количество последовательно соединенных секций в отопительном подогревателе;
Кtp - отношение тепловых потерь в СГВ к средненедельной тепловой нагрузке горячего водоснабжения; для ИТП нормируется значением 0,2, для ЦТП - 0,25; при отсутствии циркуляционной линии Кtp = 0;
а - отношение средненедельной тепловой нагрузки горячего
водоснабжения на тепловом пункте, принятой с коэффициентом 1,1, к расчетному
расходу тепловой энергии на отопление (и вентиляцию), а =
; обычно значение а не превышает 0,25;
m1 - коэффициент эффективности первой ступени подогревательной установки горячего водоснабжения;
m2 - коэффициент эффективности второй ступени подогревательной установки горячего водоснабжения;
n1 - количество последовательно соединенных секций в первой ступени подогревательной установки горячего водоснабжения;
n2 - количество последовательно соединенных секций во второй ступени подогревательной установки горячего водоснабжения.
Ответом служит значение эксплуатационного удельного расхода сетевой воды на отопление (на тепловой пункт) gtip.
Г.1.7.2.2 Порядок расчета
Порядок расчета при независимой схеме присоединения систем отопления и неавтоматизированной последовательной схеме присоединения подогревательной установки горячего водоснабжения аналогичен рассмотренным для автоматизированной последовательной схемы се присоединения (см. раздел Г.1.7.1.2 настоящего приложения). Дополнительно при неавтоматизированной схеме для последующего теплового пункта изменяются значения m2 и n2.
Г.1.7.2.3 Пример расчета величины gtip для неавтоматизированной последовательной схемы при независимой схеме присоединения систем отопления
Определение эксплуатационного удельного расхода сетевой воды на тепловой пункт при неавтоматизированной последовательной схеме включения подогревательной установки горячего водоснабжения и независимой схеме присоединения систем отопления в точке излома температурного графика иллюстрируется следующим примером (пример 19 «posindn#»).
Исходные данные:
TV= 18; Тпр = -26; Т3iр = 95; Т2iр = 70; ТX = 5; Тnu = 2,5; T1u = 70; DTtp1 = 2; Т1ip = 95; mi = 0,6; ni = 4; KtP = 0,2; а = 0,2; m1 = 0,6; m2 = 0,5; n1 = 4; n2 = 6.
Ответ; gtip = 21,7 мэ/Гкал (1 мэ на 1 Гкал расчетной отопительной нагрузки).
Неавтоматизированные схемы присоединения СГВ или, что то же самое, неавтоматизированные схемы включения подогревательной установки горячего водоснабжения характеризуются отсутствием РТ.
Неавтоматизированными могут быть следующие схемы включения подогревателей горячего водоснабжения:
- параллельная схема без циркуляция воды в СГВ;
- параллельная схема с циркуляцией воды в СГВ;
- смешанная схема без циркуляции воды в СГВ при непосредственном присоединении систем отопления;
- смешанная схема с циркуляцией воды в СГВ при непосредственном присоединении систем отопления;
- смешанная схема без циркуляции воды в СГВ при независимом присоединении систем отопления;
- смешанная схема с циркуляцией воды в СГВ при независимом присоединении систем отопления;
- последовательная схема при непосредственном присоединении систем отопления;
- последовательная схема при независимом присоединении систем отопления.
Расчет всех указанных схем присоединения неавтоматизированных СГВ с целью определения эксплуатационного удельного расхода сетевой воды на горячее водоснабжение gt производится только для условий точки излома нормативного температурного графика системы теплоснабжения. При этом решаются следующие задачи:
- задачи 3 и 4 «par 70^6» и «par 70^7»;
Полученные в результате расчетов значения gt, gtdp и gtip служат основой для выявления гидравлических сопротивлений тепловых пунктов с неавтоматизированными подогревателями горячего водоснабжения, которые используются при гидравлических расчетах системы теплоснабжения. Значение полученных гидравлических сопротивлений постоянно на протяжении отопительного сезона.
Относительный расход тепловой энергии на независимо присоединенные системы отопления ХНЕЗ определяется для тепловых пунктов с параллельной и смешанной схемой присоединения СГВ, а также при отсутствии этой нагрузки. Значение ХНЕЗ находится с учетом конструктивных особенностей отопительного подогревателя и расчетной температуры сетевой воды перед подогревателем (во втором контуре).
Относительный расход тепловой энергии на отопление ХНЕП находится также при последовательной схеме включения подогревателей горячего водоснабжения и при непосредственной схеме присоединения систем отопления. Значение ХНЕП при этой схеме теплового пункта близко к значению ХНЕЗ для немногочисленных тепловых пунктов с последовательной схемой и независимым присоединением систем отопления. Поэтому определять отдельно относительный расход тепловой энергии на отопление при его независимом присоединении и последовательной схеме включения подогревателей горячего водоснабжения нецелесообразно.
Значения относительного расхода тепловой энергии на отопление необходимы для определения расхода ее на отопление и вентиляцию в системе теплоснабжения на протяжении отопительного сезона.
Г.2.2.1 Необхолимые исхолные данные
TV - расчетная температура воздуха внутри помещений, °С; обычно TV = 18°С (при Тпр <-30оС TV = 20°С);
Тпр - расчетная температура наружного воздуха для отопления, °С;
T1ip - усредненная расчетная температура сетевой воды в подающей линии перед независимо присоединенными системами отопления (во втором контуре), °С; обычно лежит в пределах от 95 до 130°С;
Т2ip - номинальная расчетная температура сетевой воды в обратной линии независимо присоединенных систем отопления, °С; обычно Т2ip = 70°С;
Т3ip - номинальная расчетная температура сетевой воды в подающей линии независимо присоединенных систем отопления, °С; обычно Т3ip лежит в пределах от 95 до 105°С;
mi - усредненный коэффициент эффективности отопительного подогревателя;
ni - усредненное количество последовательно соединенных секций отопительного подогревателя;
gip - расчетный удельный расход сетевой воды, определенный в точке излома температурного графика для теплового пункта с усредненными характеристиками, м3/Гкал;
Тn - характерная температура наружного воздуха, при которой производится определение относительного расхода тепловой энергии, °С;
T1 - температура сетевой воды в подающей линии по нормативному температурному графику системы теплоснабжения при температуре наружного воздуха Тn, °С;
DTtp1 - среднее значение понижения температуры сетевой воды в подающей линии тепловой сети за счет тепловых потерь при температуре наружного воздуха Тn, °С;
Aoi - коэффициент, зависящий от T1, (при T1 ≤ 80°C Aoi = 0,62; при T1 > 80°C Aoi = 0,69);
У = УОТ.В - средний относительный расход сетевой воды на отопление, определенный по результатам гидравлического расчета системы теплоснабжения.
Ответом служит усредненное значение относительного расхода тепловой энергии на независимо присоединенные системы отопления X = ХНЕЗ, т.е. отношение фактического расхода ее на отопление (и вентиляцию) к расходу, необходимому при температуре наружного воздуха Тn в соответствии с режимом качественного регулирования. Дополнительно по результатам расчета может быть найдена температура обратной воды за отопительным подогревателем.
Г.2.2.2 Учет особенностей тепловых пунктов
Поскольку в системе теплоснабжения имеются тепловые пункты с различными значениями T1ip; mi; и ni; для отопительного подогревателя, определение значения относительного расхода тепловой энергии на независимо присоединенные системы отопления X должно производиться для теплового пункта, характеризуемого усредненными значениями T1ip; mi; ni и gip (см. таблицу 6.4 части I Рекомендаций). При этом допустимо пользоваться значением У, являющимся усредненным относительным расходом сетевой воды на отопление в системе теплоснабжения (см. таблицу 7.1 части I Рекомендаций).
В то же время усреднение характеристик тепловых пунктов с отопительными подогревателями весьма затруднено. Допустимо для определения значения ХНЕЗ использовать характеристики типового теплового пункта, который является наиболее распространенным в системе теплоснабжения и который выявляется при обзоре таблицы 6.4 части I Рекомендаций. Найденный для типового теплового пункта относительный расход тепловой энергии распространяется на суммарную отопительную нагрузку всех тепловых пунктов с независимо присоединенными системами отопления.
Г.2.2.3 Порялок расчета
Предварительно для выявленных распространенных значений T1ip (чаше всего 95°С), mi и ni путем решения задачи 1 «indepgip» для типового теплового пункта находится значение эксплуатационного удельного расхода сетевой воды на отопительный подогреватель gip, постоянного при всех характерных значениях температуры наружного воздуха. Затем при тех же характеристиках типового теплового пункта путем решения задачи 2 «indepxt 2» для каждой характерной температуры наружного воздуха определяется значение X = ХНЕЗ .
Г.2.2.4 Пример расчета относительного расхода тепловой энергии на независимо присоединенные системы отопления
Г.2.2.4.1 Исходные данные для определения значения gip на типовой тепловой пункт и решение задачи 1 «indepgip»
Исходными данными для определения значения gip для рассматриваемой системы теплоснабжения являются:
TV= 18; Тпр = -26; Т2iр = 70; Т3iр = 95; T1u = 70; DTtp1u = 2; Т1ip = 95 m1 = 0,8; ni = 6.
При этих данных значение gip для типового теплового пункта с усредненными характеристиками составляет 13,7 м /Гкал.
Г.2.2.4.2 Исходные данные для определения относительного расхода тепловой энергии на отопление XНЕЗ для типового теплового пункта
При решении задачи 2 «indepxt 2» исходные данные по системе теплоснабжения и по типовому тепловому пункту должны приниматься такими же, как и при решении задачи 1 «indepgip»:
TV= 18; Тпр = -26; Т1ip = 95; Т2iр = 70; Т3iр = 95; m1 = 0,8; ni = 6, gip = 13,7. . Остальные исходные данные принимаются для выбранной характерной температуры наружного воздуха Тn = -26: T1 = 106; DTtp1 = 3,0; Аoi = 0,69; У = 1,08.
Ответ: Х= 0,78.
Г.2.3.1 Необходимые исходные данные для расчетов теплового пункта
ТV - расчетная температура воздуха внутри помещений, °С; обычно ТV = 18°С (при Тпр < -30°С ТV = 20°С);
Тпр - расчетная температура наружного воздуха для отопления, °С;
Т1p - номинальная расчетная температура сетевой воды в подающей линии тепловой сети, °С; обычно Т1p = 150°С;
Т2р - номинальная расчетная температура сетевой воды в обратной линии систем отопления, °С; обычно Т2р = 70°С;
Т3p - номинальная расчетная температура сетевой воды в подающей линии систем отопления, °С; обычно Т3p = 95 или 105°С;
Tgp- расчетная температура нагретой воды на входе в СГВ, °С; обычно Tgp = 60°С;
ТX- температура холодной водопроводной воды, °С; обычно ТX = 5°С;
Тср - расчетная температура циркуляционной воды на входе в подогревательную установку, °С: обычно Тср = 50°С;
Kcp - усредненное отношение тепловых потерь в СГВ к средненедельной тепловой нагрузке горячего водоснабжения;
а - усредненное отношение средненедельной тепловой нагрузки
горячего водоснабжения на тепловых пунктах к расчетному расходу тепловой
энергии на отопление и вентиляцию, а =
;
m1 - усредненный коэффициент эффективности первой ступени подогревательных установок горячего водоснабжения;
n1 - усредненное количество последовательно соединенных секций в первой ступени подогревательных установок горячего водоснабжения;
Тn - характерная температура наружного воздуха, при которой производится определение относительного расхода тепловой энергии на отопление, °С;
T1- температура сетевой воды в подающей линии по нормативному температурному графику системы теплоснабжения при характерной температуре наружного воздуха Тn, °С;
DTtp1 - среднее значение понижения температуры сетевой воды в подающей линии тепловой сети за счет тепловых потерь при характерной температуре наружного воздуха Тn, °С;
gtdp - эксплуатационный удельный расход сетевой воды на тепловой пункт с усредненными характеристиками, определяемый в точке излома нормативного температурного графика, м3/Гкал.
Ответом служит усредненное значение относительного расхода тепловой энергии на отопление (и вентиляцию) X = ХНЕЗ, т.е. отношение фактического расхода ее на отопление к расходу, необходимому при температуре наружного воздуха Тn в соответствии с режимом качественного регулирования.
Г.2.3.2 Учет особенностей тепловых пунктов
Поскольку в системе теплоснабжения имеются тепловые пункты с автоматизированной последовательной схемой с различными значениями Ktp, a, m1 и n1, определение значения относительного расхода тепловой энергии на непосредственно присоединенные системы отопления X должно производиться для теплового пункта, характеризуемого усредненными значениями Ktp; a; m1; n1 и gtdp. В то же время усреднение характеристик при рассматриваемой схеме теплового пункта весьма затруднительно. Допустимо для определения значения ХНЕП, использовать характеристики типового теплового пункта, который является наиболее распространенным в системе теплоснабжения и который выявляется при обзоре таблицы 6.4 части I Рекомендаций. Найденный для типового теплового пункта относительный расход тепловой энергии распространяется на суммарную отопительную нагрузку всех тепловых пунктов с автоматизированной последовательной схемой включения подогревательной установки горячего водоснабжения.
Г.2.3.3 Порядок расчета
Предварительно для выявленных распространенных значений Кtp, а, m1 и n1 путем решения задачи 16 «posldir» для типового теплового пункта находится значение эксплуатационного удельного расхода сетевой воды gtdp, постоянного при всех характерных значениях температуры наружного воздуха. Затем при тех же характеристиках типового теплового пункта путем решения задачи 20 «posldx» для каждой характерной температуры наружного воздуха определяется значение X = ХНЕП.
Г.2.3.4 Пример расчета относительного рзсхода тепловой энергии на отопление при автоматизированной последовательной схеме включения подогревательной установки горячего водоснабжения и непосредственной схеме присоединения систем отопления
Г.2.3.4,1 Исходные данные для определения значения gtdp на типовой тепловой пункт и решение примера 16 «posldir #»
Исходными данными для определения значения gtdp при Тпи для системы теплоснабжения и типового теплового пункта являются:
TV= 18; Тпр = -26; Т1p = 150; Т2р = 70; Т3р = 95; Tgp = 60; ТX = 5; Тcp = 50; Тn = 2,5; T1u = 70; DTtp1 = 2; У = 1; KtP = 0,2; а = 0,15; m1 = 0,6; n1 = 4. При этих данных значение gtdp для типового теплового пункта с усредненными характеристиками составляет 17,4 м3/Гкал.
Г.2.3.4.2 Исходные данные для определения относительного расхода тепловой энергии на отопление ХНЕП для типового теплового пункта с автоматизированной последовательной схемой при непосредственной схеме присоединения систем отопления и решение задачи 20 «posldx»
Определение относительного расхода тепловой энергии на типовой тепловой пункт с усредненными данными при автоматизированной последовательной схеме включения подогревательной установки горячего водоснабжения и непосредственной схеме присоединения систем отопления (задача 20 «posldx») производится при тех же исходных данных по системе теплоснабжения и по типовому тепловому пункту, что и при решении задачи 16 «posldir».
Исходные данные:
TV= 18; Тпр = -26; Т1p = 150; Т2р = 70; Т3р = 95; Tgp = 60; ТX = 5; Тcp = 50; KtP = 0,2; а = 0,15; m1 = 0,6; n1 = 4; gtdp = 17,4. Остальные исходные данные принимаются для выбранной характерной температуры наружного воздуха Tn = +10°C: T1 = 70, DTtp1u = 2. При этих данных значение X для типового теплового пункта составляет 1,61.
Г.2.4.1 Необходимые исхолиые данные для расчетов теплового пункта
TV - расчетная температура воздуха внутри помещений, °С; обычно TV = 18°С (при Тпр <-30oC TV = 20°C);
Тпр - расчетная температура наружного воздуха для отопления, °С;
Т1p - номинальная расчетная температура сетевой воды в подающей линии тепловой сети, °С; обычно Т1p = 150°С;
Т2р - номинальная расчетная температура сетевой воды в обратной линии систем отопления, °С; обычно Т2р = 70°С;
Т3p - номинальная расчетная температура сетевой воды в подающей линии систем отопления, °С; обычно Т3p = 95 или 105°С;
ТX - температура холодной водопроводной воды, °С; обычно ТX = 5 оС;
Кtр - усредненное отношение тепловых потерь в СГВ к средненедельной тепловой нагрузке горячего водоснабжения;
a - усредненное
отношение средненедельной тепловой
нагрузки горячего водоснабжения на тепловых пунктах к расчетному расходу тепловой энергии на отопление
(вентиляцию), a =
;
m1 - усредненный коэффициент эффективности первой ступени подогревательных установок горячего водоснабжения;
m2 - усредненный коэффициент эффективности второй ступени подогревательных установок горячего водоснабжения;
n1 - усредненное количество последовательно соединенных секций в первой ступени подогревательных установок горячего водоснабжения;
n2 - усредненное количество последовательно соединенных секций во второй ступени подшревателъных установок горячего водоснабжения;
Тn - характерная температура наружного воздуха, при которой производится определение относительного расхода тепловой энергии на отопление, °С;
T1 - температура сетевой воды в подающей линии по нормативному температурному графику системы теплоснабжения при характерной температуре наружного воздуха Тп, °С;
DTtp1 - среднее значение понижения температуры сетевой воды в подающей линии тепловой сети за счет тепловых потерь при характерной температуре наружного воздуха Тп, °С;
gtdp - эксплуатационный удельный расход сетевой воды на тепловой пункт с усредненными характеристиками, определяемый в точке излома нормативного температурного графика, мэ/Гкал;
У - средний относительный расход сетевой воды на отопление, определенный по результатам гидравлического расчета системы теплоснабжения (см. таблицу 7.1 части I Рекомендаций).
Ответом служит значение усредненного относительного расхода тепловой энергии на отопление X = ХНЕП, т.е. отношение фактического расхода ее на отопление к расходу, необходимому при температуре наружного воздуха Тп в соответствии с режимом качественного регулирования.
Г.2.4.2 Учет особенностей тепловых пунктов
Учет особенностей тепловых пунктов при неавтоматизированной последовательной схеме не отличается от такового при автоматизированной последовательной схеме (раздел 2.3.2 настоящего приложения).
Г.2.4.3 Порялок расчета
Так же, как и для автоматизированной последовательной схемы, определение относительного расхода тепловой энергии на отопление при неавтоматизированной последовательной схеме производится для типового теплового пункта при наиболее распространенных значениях Кtp, a, m1, m2, n1 и n2. Эти значения выявляются с помощью таблицы 6.4 части I Рекомендаций. Предварительно при этих типовых значениях путем решения задачи 17 «posdim» находится значение эксплуатационного удельного расхода сетевой воды на типовой тепловой пункт gtdp при Tnu, которое используется в дальнейшем при определении значения X. Исходными данными для определения значения gtdp при Tnu (задача 17), постоянного при всех характерных значениях температуры наружного воздуха для системы теплоснабжения, являются те же типовые значения характеристик системы теплоснабжения и теплового пункта, которые в дальнейшем будут использованы при нахождении относительного расхода тепловой энергии на отопление X.
Г.2.4.4 Пример расчета относительного расхода тепловой энергии на отопление при неавтоматизированной последовательной схеме включения подогревательной установки горячего водоснабжения и непосредственной схеме присоединения систем отопления
Г.2.4.4.1 Исходные данные для определения значения gtdp на типовой тепловой пункт и решение задачи 17 «posdirn»
Исходными данными для определения значения gtdp при Tnu для системы теплоснабжения и типового теплового пункта являются:
TV = 18; Тпр = -26; T1p = 150; Т2р = 70; Т3р = 95; ТX = 5; Tnu = 2,5; Tlu = 70; DTtp1u = 2; Кtp = 0,25; а = 0,12; m1 = 0,7; m2 = 0,6; n1 = 4; n2 = 6. При этих данных значение gtdp для типового теплового пункта с усредненными характеристиками составляет 17,1 м3/Гкал.
Г.2.4.4.2 Исходные данные для определения относительного расхода тепловой энергии на отопление ХНЕП для типового теплового пункта с неавтоматизированной последовательной схемой при непосредственной схеме присоединения систем отопления и решение задачи 21 «posdnx»
Определение относительного расхода тепловой энергии на типовой тепловой пункт с усредненными данными при неавтоматизированной последовательной схеме включения подогревательной установки горячего водоснабжения и непосредственной схеме присоединения систем отопления (задача 21 «posdnx») производится при тех же исходных данных по системе теплоснабжения и по типовому тепловому пункту, что и при решении задачи 17 «posdirn».
Исходные данные:
типового теплового пункта являются:
TV = 18; Тпр = -26; T1p = 150; Т2р = 70; Т3р = 95; ТX = 5; Кtp = 0,25; а = 0,12; m1 = 0,7; m2 = 0,6; n1 = 4; n2 = 6, gtdp = 17,1.
Остальные исходные данные принимаются для выбранной характерной температуры наружного воздуха Tn = -26°C: T1 = 106, DTtp1u = 3, У = 1,08.
При этих данных значение X для типового теплового пункта составляет 0,81.
Расчеты показывают, что относительный расход тепловой энергии на отопление при автоматизированной и неавтоматизированной последовательной схеме и независимом присоединении систем отопления практически не отличается от относительного расхода тепловой энергии при их непосредственном присоединении. Учитывая, что количество тепловых пунктов с независимым присоединением систем отопления обычно существенно меньше, чем с непосредственным присоединением, можно принимать всех потребителей с последовательной схемой и с независимой схемой присоединения систем отопления как потребителей с последовательной схемой и с непосредственной схемой их присоединения.
Задача 1 «indepgip». Пример 1 «indgip #»
Определение расчетного удельного расхода сетевой воды на отопление при независимой схеме присоединения систем отопления (в точке излома нормативного температурного графика Tnu).
Исходные данные:
TV = 20; Тпр = -36; T2ip = 70; T3ip = 105; Tnu = -1,5; Tlu = 75; DTtp1u = 3,0; T1ip = 120; mi = 0,65; ni=6.
Ответ: gip = 19,7 м3/Гкал.
Задача 2 «indepxt 2». Пример 2 «indxt2 #»
Определение относительного расхода тепловой энергии на отопление при независимой схеме на протяжении отопительного сезона.
Исходные данные:
ТV = 20; Тпр = -36; Т1iр = 120; Т2ip, = 70; T3ip = 105; gip = 19,7; mi = 0,65; ni = 6; Tn = -5; T1 = 83; DTtp1 = 3,0; Aoi = 0,69; У = 1,1.
Ответ: x = 1,036 ≈ 1,04.
Задача 3 «par 70^6». Пример 3 «par 70^6#»
Определение удельного расхода сетевой воды на горячее водоснабжение при параллельной схеме включения подогревателя горячего водоснабжения (без циркуляции воды в СГВ) при n ≤ 6 в точке излома температурного графика Tnu.
Исходные данные:
Tgp = 60; Тх = 5; T1 = 70; DTtp1, = 2,0; Аo = 0,54; m = 0,45; n = 4.
Ответ: gt = 117,8 м3/Гкал.
Задача 4 «par 70^7». Пример 4 «par 70^7#»
Определение удельного расхода сетевой воды на горячее водоснабжение при параллельной схеме включения автоматизированного подогревателя горячего водоснабжения (без циркуляции воды в СГВ) при n ≥ 7 в диапазоне температур сетевой воды в подающей линии 70 ≤ T1 < 90°C.
Исходные данные:
Tgp = 60; Тх = 5; T1 = 85; DTtp1 = 3,0; Аo = 0,56; m = 0,55; n = 7.
Ответ: gt = 21,9 м3/Гкал.
Задача 5 «par 90». Пример 5 «par 90#»
Определение удельного расхода сетевой воды на горячее водоснабжение при параллельной схеме включения автоматизированного подогревателя горячего водоснабжения (без циркуляции воды в СГВ) при температуре сетевой воды в подающей линии T1 ≥ 90°С.
Исходные данные:
Тgp = 60; Тх = 5; Т1 = 120; DTtp1, = 4,5; m = 0,6; n = 5.
Ответ: gt = 13,3 м3/Гкал.
Задача 6 «parcir 70». Пример 6 «parcr 70#»
Определение удельного расхода сетевой воды на горячее водоснабжение при параллельной схеме включения подогревателя горячего водоснабжения (с циркуляцией воды в СГВ) в точке излома температурного графика Тnu.
Исходные данные:
Tgp = 60; Тх = 5; Тс = 50; T1 = 70; DTtp1 = 2; A01 = 0,46; А02 = 0,58; Кtp = 0,2; m1 = 0,8; m2 = 0,6; n1 = 3; n2 = 2.
Ответ: gt = 63,5 м3/Гкал.
Задача 7 «parcir 90». Пример 7 «parcr 90#»
Определение удельного расхода сетевой воды на горячее водоснабжение при параллельной схеме включения автоматизированного подогревателя горячего водоснабжения (с циркуляцией воды в СГВ) при температуре сетевой воды в подающей линии T1 ≥ 90°С.
Исходные данные:
Тgp = 60; Тх = 5; Тc = 50; T1 = 120; DTtp1, = 5,0; Кtp= 0,2; m1 = 0,8; m2 = 0,6; n1 = 3; n2 = 2.
Ответ: gt = 14,6 м3/Гкал.
Задача 8 «mixdir 70». Пример 8 «mxdir 70#»
Определение удельного расхода сетевой воды на горячее водоснабжение при смешанной схеме включения автоматизированного подогревателя горячего водоснабжения и непосредственной схеме присоединения систем отопления в точке излома температурного трафика Tnu.
Исходные данные:
TV = 20; Тпр = -32; T1p = 150; Т2р = 70; Т3р = 95; gop = 12,5; Коt, = 1,07; Тgp = 60; Тх = 5; Тc = 50; Tnu = 2; T1 = 70; DTtp1 = 2,0; У = 1; Кtp = 0,25; а = 0,15; m1 = 0,8; m2 = 0,6; n1 = 5; п2 = 6.
Ответ: gt = 33,4 м3/Гкал.
Задача 9 «mixdir 5». Пример 9 «mixdir 5#»
Определение удельного расхода
сетевой воды на горячее водоснабжение при смешанной схеме включения
автоматизированного подогревателя горячего водоснабжения и непосредственной
схеме присоединения систем отопления в диапазоне относительных расходов
тепловой энергии на отопление 0,4 ≤ q ≤ 0,6 (при
»
-5°C).
Исходные данные:
TV = 20; Тпр = -48; Т1Р = 150; Т2p = 70; ТЗp = 105; gop = 12,5; Кot = 1,10; Тgp = 60; Тх = 5; Тс = 50; Тn= -10; Т1= 82; DTtp1 = 3,5; У = 1,12; Кtp 0,2; а = 0,115; m1 = 0,8; m2 = 0,6; n1 = 6; n2 = 7.
Ответ: gt = 13,4 м3/Гкал.
Задача 10 «mixdircp». Пример 10 «mxdircp #»
Определение удельного расхода сетевой воды на горячее водоснабжение при смешанной схеме включения автоматизированного подогревателя горячего водоснабжения и непосредственной схеме присоединения систем отопления (с циркуляцией воды в СГВ) в диапазоне срезки температурного графика.
Исходные данные:
TV = 18; Тпр = -18; Т1р = 150; Т2р = 70; Т3р = 95; gop = 12,5; Коt, = 1,12; Тgp = 60; Тх = 5; Тс = 50, Тn = -15; Т1 = 140; DTtp1, = 5,0; У = 1,21; Кtp = 0,25; а = 0,162; m1 = 0,5; m2 = 0,45; n1 = 6; n2 = 8.
Ответ: Даже при наличии циркуляции воды расчет по методу Ньютона не сходится. Необходимо определение Тn, при которой gt = 0, путем решения примера 11@«mxdigt0@».
Пример 11@«mxdigt0 @»
Определение температуры наружного воздуха, при которой расход сетевой воды на горячее водоснабжение равен нулю, при смешанной схеме включения автоматизированного подогревателя горячего водоснабжения и непосредственной схеме присоединения систем отопления.
Исходные данные:
TV = 18; Тпр = -18; Т1р - 150; Т2р = 70; Т3р = 95; gop = 12,5; Коt, = 1,12; Tgp = 60; Тх = 5; Тс = 50; Кtp = 0,25; DTtp1 = 5,0; У = 1,21; а = 0,162; m1 = 0,5; n1 = 6.
Ответ: Тn ≈ -13°С. Как и следовало ожидать, Тn = -13°С, при которой значение gt = 0, оказывается выше, чем Тn = -15°С, при которой определялся эксплуатационный удельный расход сетевой воды в диапазоне срезки температурного графика.
Задача 12 «mixind 70». Пример 12 «mxind 70 #»
Определение удельного расхода сетевой воды на горячее водоснабжение при смешанной схеме включения подогревателя горячего водоснабжения и независимой схеме присоединения систем отопления в точке излома температурного графика.
Исходные данные:
Tv = 18; Тпр = -30; T2ip = 70; T3ip = 95; Tgp = 60; Тх = 5; Тс = 50; Тn = +1,0; Т1 = 70; DTtp1 = 2,0; У - 1; Т1ip - 120; gip = 18,2; mi = 0,65; m2 = 6; Кtр = 0,2; а = 0,225; m1 = 0,7; m2 = 0,6; n1 = 6; n2 = 4.
Предварительно должно быть определено значение gip для отопительного подогревателя путем решения задачи 1 «indepgip» при указанных исходных данных:
ТV = 18; Тпр = -30; T2ip = 70; T3ip = 95; Tnu = +1,0; Т1и = 70; DTtp1 = 2,0; Т1ip = 120; mi = 0,65; ni= 6. Ответ: gip = 18,2 м3/Гкал.
Окончательно: gt = 32,8 м3/Гкал.
Задача 13 «mixind 5». Пример 13 «mixind 5 #»
Определение удельного
расхода сетевой воды на горячее водоснабжение при смешанной схеме включения
автоматизированного подогревателя горячего водоснабжения и независимой схеме
присоединения систем отопления в диапазоне относительных расходов тепловой
энергии на отопление 0,4 ≤ q ≤ 0,6 (при
»
-5°C).
Исходные данные:
TV = 18; Тпр = -21; T2iP = 70; T3ip = 95; Tgp = 60; Тх = 5; Тс = 50; Тn = -5; T1 = 100; DTtp1 = 3,0; У = 1,1; Tlip = 130; gip - 21,2; mi = 0,7; ni = 8; Кtp = 0,2; а = 0,15; m1 = 0,6; m2 = 0,5; n1 = 6; n2 = 6.
Предварительно должно быть определено значение gip для отопительного подогревателя путем решения задачи 1 «indepgip» при указанных исходных данных:
TV = 18; Тпр = -21; T2ip = 70; T3ip = 95; Tnu = +4,0; Tiu = 70; DTtp1 = 3,0; Tiip = 130; m1 = 0,7; n1- 8. Ответ: gip = 21,2 м3/Гкал.
Окончательно: gt = 0,5 м3/Гкал.
Задача 14 «mixindcp». Пример 14 «mxindcp #»
Определение удельного расхода сетевой воды на горячее водоснабжение при смешанной схеме включения автоматизированного подогревателя горячего водоснабжения и независимой схеме присоединения систем отопления в точке срезки температурного графика.
Исходные данные:
ТV = 20; Тпр = -35; T2ip = 70; T3ip = 95; Tgp = 60; Тх = 5; Тс = 50; Тn = -21; T1 = 120; DTtp1 = 4,5; У = 1,11; Т1ip = 95; gip = 19,2; mi = 0,45; ni = 4; Кtp = 0,25; а = 0,22; m1 = 0,6; m2 = 0,55; n1 = 4; n2 = 6.
Предварительно должно быть определено значение gip для отопительного подогревателя путем решения задачи I «indepgip» при указанных исходных данных:
ТV = 20, Тпр = -35; T2ip = 70; T3ip = 95; Тnu = 1; T1u = 70; DTtp1 = 2,5; Т1ip = 95; mi = 0,45; ni = 4. При этих данных gip = 19,2 м3/Гкал.
Ответ: Расчет по методу Ньютона не сходится. Необходимо определение Тn, при которой gt = 0.
Задача 15 «mxingt 0». Пример 15 «mxingt 0 #»
Определение температуры наружного воздуха, при которой расход сетевой воды на горячее водоснабжение равен нулю, при смешанной схеме включения автоматизированного подогревателя горячего водоснабжения и независимой схеме присоединения систем отопления.
Исходные данные:
TV = 20; Тпр = -35; Tlp = 150; Т2р = 70; Т3р - 95; Tgp = 60; Тх = 5; Тс = 50; DTtpl = 4,5; У = 1,11; T1ip = 95; T2ip = 70; T3ip = 95; gip = 19,2; mi = 0,45; ni = 4; Ktp = 0,2; a = 0,22; m1 = 0,6; n1 = 4.
Ответ: Tn ≈ -20°C. Как и следовало ожидать, Tn = -20°С, при которой значение gt= = 0, близко к температуре Tn = -21°С, при которой определяется эксплуатационный удельный расход сетевой воды в точке срезки температурного графика.
Задача 16 «posldir». Пример 16 «posldir #»
Определение удельного расхода сетевой воды на отопление и горячее водоснабжение (на тепловой пункт) при автоматизированной последовательной схеме включения подогревательной установки горячего водоснабжения и непосредственной схеме присоединения систем отопления в точке излома нормативного температурного графика.
Исходные данные:
ТV = 18; Тпр = -15; T1p = 150; Т2р = 70; Т3р = 95; Tgp = 60; Тх = 5; Тср = 50; Tnu = +64; Tlu = 70; DTtp1u= 1,5; Кtp= 0,2; а = 0,154; m1 = 0,6; n1 = 4.
Ответ: gtdp = 16,9 м3/Гкал.
Задача 17 «posdirn». Пример 17 «posdirn #»
Определение эксплуатационного удельного расхода сетевой воды на отопление и горячее водоснабжение (на тепловой пункт) при неавтоматизированной последовательной схеме включения подогревательной установки горячего водоснабжения и непосредственной схеме присоединения систем отопления в точке излома нормативного температурного графика.
Исходные данные:
TV = 20; Тпр = -46; Т1p = 150; Т2р = 70; Т3р = 95; Тх = 5; Tnu = -8; T1u = 80; DTtp1 = 2,5; Кtp = 0,25; а = 0,12; m1 = 0,7; m2 = 0,6; n1 = 4; n2 = 6.
Ответ: gtdp = 16,8 м3/Гкал.
Задача 18 «poslind». Пример 18 «poslind #»
Определение эксплуатационного удельного расхода сетевой воды на отопление и горячее водоснабжение (на тепловой пункт) при автоматизированной последовательной схеме включения подогревательной установки горячего водоснабжения и независимой схеме присоединения систем отопления в точке излома нормативного температурного графика.
Исходные данные:
TV = 18; Tnp - -30; T3ip = 95; T2iP = 70; Tgp = 60; Tx = 5; Tcp, = 50; Tnu = +1,0; T1u = 70; DTtp1u = 2,5; Tlip = 130; mi = 0,55; ni = 4; Ktp = 0,25; a = 0,203; m1 = 0,6; n1 = 5.
Ответ: 46,8 м3/Гкал.
Задача 19 «posindn». Пример 19 «posindn #»
Определение эксплуатационного удельного расхода сетевой воды на отопление и горячее водоснабжение (на тепловой пункт) при неавтоматизированной последовательной схеме включения подогревательной установки горячего водоснабжения и независимой схеме присоединения систем отопления в точке излома нормативного температурного графика.
Исходные данные:
TV = 18; Тпр = -21; T3ip = 95; T2ip = 70; Тх = 5; Tnu = +4,0; Т1u = 70; DTtp1u = 3,0; Т1ip = 95; mi = 0,6; ni = 5; Ktp = 0; a = 0,128; m1 = 0,65; m2 = 0,5; n1 = 5; n2 = 4.
Ответ: 18,7м3/Гкал.
Задача 20 «posldx». Пример 20 «posldx #»
Определение относительного расхода тепловой энергии на отопление для автоматизированной последовательной схемы включения подогревательной установки горячего водоснабжения и непосредственной схемы присоединения систем отопления при характерных значениях температуры наружного воздуха.
TV = 20; Тпр = -40; Т1р = 150; Т2р = 70; Т3р = 105; Tgp = 60; Тх = 5; Тcр = 50; Кtp = 0,25; а = 0,23; m1 = 0,8; n1 = 8; Тn = +10; Т1 = 80; DTtp1u = 2,5; gtdp = 17,8.
Предварительно должно быть определено значение gtdp для теплового пункта путем решения задачи 16 «posldir» при следующих исходных данных:
Исходные данные:
TV= 20; Тпр = -40; T1p = 150; Т2р = 70; Т3р = 105; Tgp = 60; Тх = 5; Tcp, = 50; Тnu = -5,0; T1u = 80; DTtp1u = 2,5; Ktp = 0,25; a = 0,23; m1 = 0,8; n1 = 8.
Ответ: gtdp = 17,8 м3/Гкал.
Окончательно: X = 1,91.
Задача 21 «posdnx». Пример 21 «posdnx #»
Определение относительного расхода тепловой энергии на отопление для неавтоматизированной последовательной схемы включения подогревательной установки горячего водоснабжения и непосредственной схемы присоединения систем отопления при характерных значениях температуры наружного воздуха.
Исходные данные:
ТV = 18; Тпр = -28; Т1p = 150; Т2р = 70; Т3р = 95; Тх = 5; Кtp = 0; а = 0,132; m1 = 0,7; m2 = 0,6; n1 = 3; n2 = 5; Tn =-28; T1 = 115; DTtp1u = 3,5; gtdp = 16,4; У = 1,07.
Предварительно должно быть определено значение gtdp для теплового пункта путем решения задачи 17 «posdirn» при следующих исходных данных:
TV = 18; Тпр = -28; Т1p = 150; Т2р = 70; Т3р = 95; Тх = 5; Тnu = 0; Т1u = 75; DTtp1u = 2,5; Кtp = 0; а = 0,132; m1 = 0,7; m2 = 0,6; n1 = 3; n2 = 5.
Ответ: gtdp = 16,4 м3/Гкал.
Окончательно: X = 0,85.
Перечень обозначений приведен в разделе 1 части I настоящих Рекомендаций.
Основная задача работы состоит в определении нормативных значений режимной характеристики систем теплоснабжения по показателю «разность температур сетевой воды в подающей и обратной линиях систем теплоснабжения».
В процессе решения задачи находится ряд показателей нормативного режима совокупности потребителей, тепловой сети и системы теплоснабжения.
Все значения показателей определяются в зависимости от температуры наружного воздуха.
Рекомендации по определению нормативных значений режимной характеристики по показателю «разность температур сетевой воды в подающей и обратной линиях систем теплоснабжения» и иллюстративный пример их расчета разработаны для открыто-закрытой системы теплоснабжения.
Режимными характеристиками систем теплоснабжения являются:
- нормативная разность
температур сетевой воды в подающем и обратном
трубопроводах тепловой сети, т.е. нормативная средняя разность температур
сетевой воды в подающей и обратной линиях системы теплоснабжения за сутки с
определенной среднесуточной температурой наружного воздуха, °С; представляет
собой разность среднесуточной температуры
сетевой воды в подающей линии, средневзвешенной по расходам сетевой воды
во всех подающих трубопроводах на
выводах всех источников тепловой
энергии в системе теплоснабжения, и среднесуточной температуры сетевой воды в обратной линии, средневзвешенной по
расходам сетевой воды во всех обратных трубопроводах на выводах всех источников тепловой энергии в системе теплоснабжения;
- нормативная температура
сетевой воды в обратном трубопроводе
тепловой сети, т.е. нормативная среднесуточная температура сетевой воды в обратной линии системы
теплоснабжения в течение суток с
определенной среднесуточной температурой наружного воздуха, °С; представляет
собой среднесуточную температуру сетевой воды в обратной линии, средневзвешенную по расходам сетевой воды во всех обратных трубопроводах на выводах всех источников тепловой энергии в
системе теплоснабжения.
Показателями нормативного режима совокупности потребителей являются:
- нормативная разность температур сетевой воды в подающей и
обратной линиях совокупности потребителей, °С; представляет собой единую
разность температур сетевой воды у потребителей, средневзвешенную по расходам
сетевой воды у них;
- нормативная температура
сетевой воды в обратной линии совокупности потребителей, °С; представляет собой
единую температуру сетевой воды на выходе из тепловых пунктов потребителей,
средневзвешенную по расходам сетевой воды в их обратных трубопроводах.
Показателями нормативного режима тепловой сети являются:
- нормативное среднее значение понижения температуры сетевой воды
в обратной линии тепловой сети за счет тепловых потерь, °С;
- нормативные тепловые потери через теплоизоляционную конструкцию
всех трубопроводов обратной линии тепловой сети, Гкал/ч.
Все значения показателей определяются в зависимости от температуры наружного воздуха.
Все значения приведенных показателей нормативного режима - температура сетевой воды и расход тепловой энергии - часовые, средние за сутки с определенной среднесуточной температурой наружного воздуха.
Все показатели нормативного режима и режимные характеристики определяются при гидравлическом и тепловом режиме совокупности потребителей, имеющем место при часовой нагрузке горячего водоснабжения, средней за неделю.
Ввиду пренебрежимой малости
нормативных потерь сетевой воды в тепловой сети значения расхода ее в каждой
линии у совокупности потребителей, по тепловой сети и в системе теплоснабжения
(у источников тепловой энергии) принимаются одинаковыми:
=
=
,
=
= ![]()
Рекомендации по определению нормативных значений режимной характеристики по показателю «разность температур сетевой воды в подающей и обратной линиях систем теплоснабжения» и иллюстративный пример расчета этого показателя разработаны для открыто-закрытой системы теплоснабжения, особенности которой приведены в разделе 4 части I настоящих Рекомендаций.
Расчет этого показателя может быть выполнен только после расчета показателя «удельный расход сетевой воды в системах теплоснабжения».
Поскольку определение режимной характеристики системы теплоснабжения по показателю «разность температур сетевой воды в подающей и обратной линиях систем теплоснабжения» полностью основывается на материалах определения режимной ха-рактеристики по показателю «удельный расход сетевой воды в системах теплоснабжения» части I Рекомендаций, нет необходимости в дополнительных исходных данных.
Пример расчета разности температур сетевой воды в подающей и обратной линиях системы теплоснабжения также полностью основывается на исходных данных примерной системы теплоснабжения, указанных в части I Рекомендаций.
Средние значения понижения
температуры сетевой воды в подающей и обратной линиях тепловой сети за счет
тепловых потерь при характерных значениях температуры наружного воздуха
, и
(оС) с
достаточной для практики точностью определяются по приближенным формулам:
=
; (4.1)
=
, (4.2)
где значения потерь
тепловой энергии в тепловой сети за счет тепловых потерь через
теплоизоляционную конструкцию трубопроводов
=
(Гкал/ч) принимаются
по таблице
8.3 (графа 15) части I Рекомендаций, а нормативные значения расхода сетевой воды
по подающей и обратной линиям
и
(м3/ч) принимаются по таблице
7.1 части I настоящих Рекомендаций.
Величины
и
для примерной системы
теплоснабжения приведены в таблице 4.1. В ней же повторены исходные данные для
определения значений понижения
|
Характерная температура наружного воздуха |
Исходные данные для определения значений понижения температуры сетевой воды |
Понижение
температуры сетевой воды в
подающей линии, определенное на этапе оценки |
Нормативные значения понижения температуры сетевой воды за счет тепловых потерь, °С |
||||
|
Потери тепловой знергии в тепловой сети |
Нормативный расход сетевой воды, м3/ч
|
в подающей линии тепловой сети |
в обратной линии тепловой сети |
в подающей и обратной линиях тепловой сети |
|||
|
по подающей линии |
По обратной линии |
||||||
|
|
20,39 |
9275 |
8765 |
- |
1,5 |
0,7 |
2,2 |
|
|
23,05 |
9275 |
8765 |
1,8 |
1,7 |
0,6 |
2,5 |
|
|
29,41 |
8665 |
8430 |
2,4 |
2,3 |
1,1 |
3,4 |
|
|
46,64 |
8325 |
7795 |
3,5 |
3,9 |
1,8 |
5,7 |
|
|
46,64 |
8505 |
7840 |
3,0 |
3,8 |
1,8 |
5,6 |
Понижение температуры сетевой воды в тепловой сети примерной системы теплоснабжения за счет тепловых потерь температуры сетевой воды и даны для сравнения средние значения понижения температуры сетевой воды в подающей линии тепловой сети за счет тепловых потерь, найденные на этапе оценки (см. таблицу 5.1 части I Рекомендаций).
Как следует из таблицы 4.1, абсолютная разность значений понижения температуры сетевой
воды в подающей линии тепловой сети на этапах оценки и на этапе нормирования не
превышает 0,5°С, достигая при
значения ~ 0,8°С.
5.1 Нормативная
разность температур сетевой воды в подающей и обратной линиях совокупности
потребителей
(°C) определяется по формуле
где
- нормативный расход
сетевой воды, протекающей без потерь из подающей линии в обратную через все
системы теплопотребления, м3/ч;
-
нормативный расход тепловой энергии, который отдается в системы
тепло-потребления при протекании по ним расхода воды
, Гкал/ч;
γ1 - плотность сетевой воды в подающей линии, кг/м3 (см. таблицу 10.1 части I Рекомендаций);
с - удельная теплоемкость
воды,
.
5.2 Нормативный расход
сетевой воды, протекающей без потерь из подающей линии в обратную через системы
теплопотребления совокупности потребителей,
(м /ч) определяется
при всех характерных значениях температуры наружного воздуха по формуле
=
- GВР.А.П
- GВР.НА.П + ![]()
, (5.2)
где
- нормативный расход
сетевой воды по подающей линии, м5/ч;
GВР.А.П - автоматизированный водоразбор из подающей линии у совокупности потребителей, м /ч;
GВР.НА.П ~ неавтоматизированный водоразбор из подающей линии у совокупности потребителей, м /ч;
![]()
- расход
воды из обратной линии на циркуляцию в СГВ с автоматизированным
непосредственным водоразбором, м3/ч.
Величины GBP.A.П, GBP.HA.П и ![]()
определяются по следующим формулам:
; (5.3)
; (5.4)
=
, (5.5)
где
,
,
и
- суммы
средненедельных тепловых нагрузок автоматизированных и неавтоматизированных СГВ
при непосредственном водоразборе при наличии или отсутствии циркуляции воды в
них, Гкал/ч; для совокупности потребителей их значения принимаются по таблице
4.2 части I Рекомендаций;
- расчетный эксплуатационный удельный расход
сетевой воды на горячее водоснабжение в автоматизированных СГВ с
непосредственным водоразбором, м3/Гкал; находится по формуле (6.3) части I Рекомендаций; для примерной системы теплоснабжения
= 18,9 м3/Гкал;
- эксплуатационный удельный расход сетевой
воды на горячее водоснабжение при водоразборе только из подающей линии в
неавтоматизированных СГВ, м/Гкал; находится по формуле (6.8) и таблице
6.2 части I Рекомендаций;
КЦ.А - отношение расхода сетевой воды на системы циркуляции воды в автоматизированных СГВ к средненедельному расходу воды на горячее водоснабжение при непосредственном водоразборе; находится по формуле (6.4) части I Рекомендаций и равно 0,8;
и
- доли водоразбора из
подающей и обратной линий тепловой сети в автоматизированных СГВ с
непосредственным водоразбором; находятся по формулам (6.5) и (6.6) и таблице
6.1 части I
Рекомендаций.
Для примерной системы
теплоснабжения значения
, GВР.А.П и GВР.НА.П приведены в таблице
7.1 части I
Рекомендаций.
5.3 Нормативный расход
тепловой энергии
(Гкал/ч) при
характерных значениях температуры наружного воздуха находится по формуле
![]()
=
, (5.6)
где
- нормативный расход
тепловой энергии совокупностью потребителей, Гкал/ч;
- суммарный расход тепловой энергии на
водоразбор при всех схемах присоединения СГВ, Гкал/ч; для совокупности
потребителей его значение принимается по таблице
4.2 части I
Рекомендаций.
Для примерной схемы
теплоснабжения значения
приведены в
графе 14 таблицы
8.3 части I Рекомендаций; а
- графе 11
этой таблицы.
5.4 Исходные данные
для определения нормативной разности температур сетевой воды в подающей и
обратной линиях совокупности потребителей
и результаты расчетов
ее при характерных значениях температуры наружного воздуха приведены в таблице
5.1 части II Рекомендаций.
|
Характерная температура наружного воздуха |
Нормативный расход сетевой воды по
подающей линии |
Водоразбор из подающей пинии |
Расход воды из обратной линии на циркуляцию в автоматизированных СГВ
|
Расход сетевой воды
|
Нормативный расход тепловой энергии соеокупностью потребителей Гкал/ч |
Расход тепловой энергии на горячее
водоснабжение лри непосредственном водоразборе,
|
Расход тепловой энергии
|
Нормативная разность температур сетевой
воды в подающей и обратной линиях
совокупности потребителей |
|
|
в автоматизированных СГВ GВР.А.П м3/ч |
в неавтоматизированных СГВ GВР.НА.П, м3/ч |
||||||||
|
|
9275 |
125 |
355 |
15 |
8810 |
226,6 |
28,7 |
197,9 |
23,0 |
|
|
9275 |
125 |
355 |
15 |
8810 |
256,1 |
28,7 |
227,4 |
26,4 |
|
|
8665 |
60 |
280 |
50 |
8575 |
326,8 |
26,7 |
298,1 |
36,0 |
|
|
8325 |
0 |
0 |
70 |
8395 |
473,9 |
28,7 |
445,2 |
56,1 |
|
|
8505 |
35 |
0 |
55 |
8525 |
473,9 |
28,7 |
445,2 |
55,2 |
Нормативная разность
температур сетевой воды в подающей и обратной линиях системы теплоснабжения
(°C) находится по формуле
=
+
, (6.1)
где
- нормативная
разность температур сетевой воды в подающей и обратной линиях совокупности
потребителей, °С; определяется по формуле (5.1) части II Рекомендаций;
- нормативное среднее значение понижения температуры сетевой воды в
подающей и обратной линиях тепловой сети за счет тепловых потерь через
теплоизоляционнуюконструкцию ее трубопроводов,°С;определяется по формулам (4.1) и (4.2) части II Рекомендаций; следует
иметь в виду, что значение
определяется точно, в
отличие от значений
и
. Нормативная температура сетевой воды в обратной линии
системы теплоснабжения находится по формуле
=
- ![]()
Для примерной системы
теплоснабжения значения
приведены в таблице
5.1, а значения
, -в таблице 4.1 части II Рекомендаций.
Результаты расчета нормативной разности температур сетевой воды в подающей и обратной линиях примерной системы теплоснабжения и нормативной температуры сетевой воды в ее обратной линии приведены в таблице 6.1.
Данные двух последних граф таблицы 6.1 являются нормативными режимными характеристиками примерной системы теплоснабжения по показателям «разность температур сетевой воды в подающей и обратной линиях систем теплоснабжения» и «температура сетевой воды в обратной линии систем теплоснабжения».
|
Характерная температура наружного
воздуха |
Нормативная разность температур сетевой воды
в подающей и обратной линиях совокупности потребителей |
Нормативное значение понижения
температур сетевой воды в подающей и обратной линиях за счет тепловых потерь |
Нормативная температура сетевой воды в подающей линии системы теплоснабжения
|
Нормативная разность температур сетевой
воды в подающей и обратной пиниях системы теплоснабжения |
Нормативная температура сетевой воды в обратном
линии системы теплоснабжения |
|
|
23,0 |
2,2 |
70 |
≈ 25,0 |
≈ 45,0 |
|
|
26,4 |
2,5 |
70 |
≈ 29,0 |
≈ 41,0 |
|
|
36,1 |
3,4 |
86 |
≈ 39,5 |
≈ 46,5 |
|
|
56,6 |
5,7 |
120 |
≈ 62,0 |
≈ 58,0 |
|
|
55,0 |
5,6 |
106 |
≈ 61,0 |
≈ 45,0 |
По итогам работы составляется один графический материал по режимным характеристикам примерной системы теплоснабжения (рисунок 1), на котором показываются:

Рисунок
1 - Нормативные графики разности температур сетевой воды в подающей и обратной
линиях
и температуры сетевой
воды в обратной линии
. B
примерной системе теплоснабжения:
tIK и t2K
- температура сетевой воды в подающей и обратной линиях при качественном
регулировании
-
нормативный график температуры сетевой воды в подающей линии системы
теплоснабжения, заданный ЭСО
= f(
) (для сравнения
показывается и график качественного регулирования);
- нормативный график
температуры сетевой воды в обратной линии системы теплоснабжения (см. таблицу
6.1 части I
Рекомендации)
= f(
) (для сравнения
показывается и график качественного регулирования);
- нормативный график
разности температур сетевой воды в подающей и обратной линиях системы
теплоснабжения
= f(
).
Все графики строятся по
пяти точкам - характерным значениям температуры наружного воздуха. Графики
между
=+10 и
, а также между
и
строятся в виде
прямых линий.
Перечень обозначений температуры и расхода сетевой воды и тепловой энергии приведен в части I настоящих Рекомендаций.
Основная задача работы состоит в определении нормативных значений гидравлической энергетической характеристики тепловых сетей по показателю «удельный расход электроэнергии на транспорт тепловой энергии в тепловых сетях».
Гидравлическая энергетическая характеристика находится только для той части тепловой сети, которая принадлежит ЭСО.
Гидравлическая энергетическая характеристика тепловой сети определяется отношением нормативного часового среднесуточного расхода электроэнергии на транспорт тепловой энергии в тепловой сети (кВт-ч) к нормативному часовому, среднему за сутки отпуску тепловой энергии от источников тепловой энергии при данной среднесуточной температуре наружного воздуха (Гкал). Этому определению соответствует отношение среднечасовой за сутки мощности электрооборудования (кВт) к часовому среднесуточному расходу тепловой энергии (Гкал/ч), отпускаемой от источников тепловой энергии.
Гидравлическая энергетическая характеристика (кВт-ч/Гкал) представляет собой зависимость удельного расхода электроэнергии на транспорт тепловой энергии от температуры наружного воздуха, которая изображается в виде нормативного графика ее изменения на протяжении отопительного сезона.
Основой для определения гидравлической энергетической характеристики тепловой сети энергоснабжающей организации служат часовые, средние за сутки затраты электроэнергии на привод насосов, установленных в этой части тепловой сети, или средняя за сутки мощность электродвигателей насосов. В связи с этим оказывается необходимым определение нормативной среднесуточной мощности электродвигателей насосов, принадлежащих ЭСО.
Нормативный расход электроэнергии на передачу тепловой энергии определяется главным образом по мощности электрооборудования, расположенного на насосных станциях тепловой сети различного назначения. Наиболее распространенными в тепловой сети ЭСО являются подкачивающие насосные станции на подающей и обратной линиях тепловой сети.
В редких случаях в тепловой сети энергоснабжающей организации установлены насосные станции подмешивания сетевой воды из обратной в подающую линию и зарядочно-разрядочные насосные станции при районных аккумуляторах горячей воды в открытых системах теплоснабжения. Так же, как для подкачивающих насосных станций на подающей и обратной линиях тепловой сети, в этих случаях находится средняя за сутки мощность электродвигателей насосов в зависимости от разнообразных, но конкретных режимов работы подобных установок, которая используется при определении гидравлической энергетической характеристики тепловой сети.
Кроме того, ЭСО иногда принадлежат тепловые пункты потребителей, в которых установлены насосы сетевой воды; как правило, это ЦТП. Нормативная мощность насосов, установленных на таких тепловых пунктах, также используется при определении гидравлической характеристики тепловой сети.
Определение нормативной мощности электродвигателей на насосных станциях и в ЦТП производится при следующих характерных температурах наружного воздуха:
- в точке излома
нормативного графика температур сетевой воды в подающей линии
;
- в точке срезки
этого графика
.
-в
промежуточной точке этого графика при температуре наружного воздуха
>
>
, которая
обычно соответствует периоду перевода непосредственного
водоразбора с одной линии на другую.
Если в диапазоне температур наружного воздуха
>
>
температура сетевой
воды в подающей линии по нормативному
графику постоянна, то определение нормативной мощности электродвигателей при расчетной температуре
наружного воздуха
производить не
следует; если в этом диапазоне тепловая мощность источников тепловой энергии
постоянна, то определение нормативной мощности электродвигателей следует
производить и при расчетной температуре наружного воздуха
.
При постоянной температуре
сетевой воды в подающей линии в
диапазоне спрямления графика температур сетевой воды в подающей линии,
т.е. в диапазоне температур наружного воздуха +10°С ≥
>
нет необходимости определять
нормативную мощность электродвигателей при
= +10°С,
поскольку ее значение практически равно значению мощности электродвигателей при
.
Для определения значений
гидравлической энергетической характеристики тепловой сети при любой характерной
температуре наружного воздуха должен быть известен нормативный расход (отпуск) тепловой энергии в системе теплоснабжения
(Гкал/ч) при этой характерной температуре
наружного воздуха, который находится из таблицы
8.3 части I Рекомендаций.
Нормативный расход сетевой воды через насосные подкачивающие станции, расположенные на подающей и обратной линиях тепловой сети, находится в результате проведения гидравлических расчетов тепловой сети при указанных в разделе 1 части III Рекомендаций характерных температурах наружного воздуха.
Нормативный расход сетевой воды через подмешивающие насосные станции, расположенные в тепловой сети, определяется при ее гидравлических расчетах с учетом принципов автоматизации этих станций.
Нормативный расход сетевой воды через разрядочные и зарядочные насосы районных баков-аккумуляторов, расположенных в тепловой сети, определяется при каждой характерной температуре наружного воздуха в соответствии с часовым графиком работы аккумулирующих емкостей.
Таким образом, одним из необходимых условий расчета средней за сутки электрической мощности насосов на насосных станциях, а следовательно, и гидравлической энергетической характеристики тепловой сети является обязательное проведение гидравлических расчетов системы теплоснабжения при характерных температурах наружного воздуха, по результатам которых и определяется нормативный расход сетевой воды через работающие насосы.
Расход сетевой воды через насосную станцию распределяется между ее насосами следующим образом.
При однотипных насосах, установленных на насосной станции, расход сетевой воды, перемещаемой каждым насосом, находится делением нормативного расхода сетевой воды через насосную станцию на количество работающих насосов.
При наличии на станции разнотипных насосов должна быть построена характеристика совместной работы насосов, с помощью которой находится расход воды через каждый параллельно работающий насос в зависимости от нормативного расхода сетевой воды через насосную станцию.
Напор насоса и его коэффициент полезного действия при найденном нормативном расходе воды через него определяются по заводской характеристике или по результатам испытаний.
Электрическая мощность, необходимая при транспорте сетевой воды в насосных станциях любого назначения, определяется при каждой характерной температуре наружного воздуха. Основой для расчета необходимой электрической мощности каждого из насосов служит нормативный расход сетевой воды, находимый согласно указаниям раздела 2.1 части III Рекомендаций.
Нормативная электрическая
мощность
(кВт), требуемая на
привод насоса в насосной станции (НС), определяется по формуле
где V - часовой объемный расход сетевой воды, перемещаемой насосом, м3/ч;
γ - плотность перемещаемой сетевой воды, кг/м3;
Н - напор насоса при расходе воды V, м;
ηНАС - коэффициент полезного действия насоса при расходе воды V;
ηЭ - коэффициент полезного действия электродвигателя.
Нормативная мощность электродвигателей всех насосов на насосной станции находится суммированием мощностей электродвигателей работающих насосов. Мощность, затрачиваемая на собственные нужды насосной станции, может быть принята равной 1% мощности электродвигателей рабочих насосов станции. Определенная таким образом электрическая мощность оборудования подкачивающей или подмешивающей насосной станции представляет собой среднюю за сутки нормативную мощность при данной характерной температуре наружного воздуха.
Нормативная электрическая
мощность двигателей разрядочных и зарядочных насосов районных
баков-аккумуляторов находится при каждой характерной температуре наружного
воздуха. Напор этих насосов определяется по их характеристике при
соответствующих расходах воды из баков и в баки согласно часовому графику их
работы. Средняя за сутки нормативная мощность электродвигателей разрядочных и
зарядочных насосов баков-аккумуляторов
, (кВт) находится по формуле:
, (2.2)
где W - электрическая мощность двигателей разрядочных или зарядочных насосов в течение одного из часов суток, кВт.
Нормативная электрическая мощность двигателей насосов дренажных станций, расположенных в тепловой сети ЭСО, определяется установленной мощностью рабочих насосов и временем их использования в течение суток. Средняя за сутки нормативная мощность электродвигателей насосов дренажных станций определяется по формуле (2.2) части III Рекомендаций.
Согласно исходным данным (см. раздел 4.4 части I Рекомендаций) в примерной системе теплоснабжения работают две насосные станции: станция № 1 на подающей линии с двумя работающими насосами марки СЭ 800-100 и станция № 2 на обратной линии с двумя работающими насосами марки СЭ 800-55.
Расходы сетевой воды через обе насосные станции, полученные при гидравлических расчетах примерной системы теплоснабжения при характерных значениях температуры наружного воздуха, приведены в таблице 2.1.
В этой же таблице даны расходы сетевой воды через каждый подкачивающий насос обеих насосных станций и выявленные по заводским характеристикам напоры насосов и их коэффициенты полезного действия.
Результаты расчета нормативной мощности электродвигателей по формуле (2.1) части Ш Рекомендаций при их коэффициентах полезного действия ηЭ = 0,95 даны в таблице 2.1 по каждому работающему насосу насосной станции и по станции в целом.
Значения плотности
перемещаемой воды γ (кг/м3) приняты в
соответствии с температурой сетевой воды в подающей и обратной линиях
и
(см. таблицу
6.1 части II Рекомендаций).
|
Параметр |
Характерная температура наружного
воздуха |
||||
|
|
|
|
|
|
|
|
Насосная станция № 1 на подающей линии тепловой сети |
|||||
|
Расход сетевой воды через насосную станцию, полученный при гидравлическом расчете системы теплоснабжения, м3/ч |
1660 |
1660 |
1530 |
1450 |
1470 |
|
Расход сетевой через один работающий насос V, м3/ч |
830 |
830 |
765 |
725 |
735 |
|
Напор насоса Н, м |
102 |
102 |
108 |
110 |
109 |
|
Коэффициент полезного действия насоса ηНАС |
0,82 |
0,82 |
0,83 |
0,82 |
0,82 |
|
Плотность воды γ, кг/м3 |
979 |
979 |
970 |
947 |
956 |
|
Нормативная электрическая мощность электродвигателя одного работающего насоса, кВт |
290 |
290 |
277 |
264 |
268 |
|
Нормативная электрическая мощность
электродвигателей насосной станции |
580 |
580 |
554 |
528 |
536 |
|
Насосная станция №2 на обратой линии тепловой сети |
|||||
|
Расход сетевой воды через насосную станцию, полученный при гидравлическом расчете системы теплоснабжения, м3/ч |
1810 |
1810 |
1580 |
1350 |
1350 |
|
Расход сетевой через один работающий насос V, м3/ч |
905 |
905 |
790 |
675 |
675 |
|
Напор насоса Н, м |
51 |
51 |
56 |
57 |
57 |
|
Коэффициент полезного действия насоса, ηНАС |
0,79 |
0,79 |
0,80 |
0,77 |
0,77 |
|
Плотность воды γ, кг/м3 |
990 |
990 |
990 |
984 |
984 |
|
Нормативная электрическая мощность электродвигателя одного работающего насоса, кВт |
166 |
166 |
157 |
141 |
141 |
|
Нормативная электрическая мощность
электродвигателей насосной станции, |
332 |
332 |
314 |
282 |
282 |
|
Суммарная нормативная электрическая мощность электродвигателей насосных станций № 1 и 2, кВт |
912 |
912 |
868 |
810 |
810 |
|
Суммарная нормативная электрическая мощность оборудования насосных станций № 1 и 2 с учетом собственных нужд (1%), кВт |
921 |
921 |
877 |
816 |
818 |
Нормативная электрическая мощность электродвигателей насосов в тепловых пунктах, находящихся на балансе ЭСО, находится для циркуляционных и подкачивающих насосов СГВ, циркуляционных и подпиточных насосов систем отопления при независимом их присоединении и подкачивающих и подмешивающих насосов, установленных на трубопроводах сетевой воды в тепловых пунктах.
Расход воды через циркуляционные и подкачивающие насосы СГВ определяется при среднечасовой его нагрузке за неделю и является постоянным на протяжении отопительного сезона. Расход воды через циркуляционные и подпиточные насосы систем отопления при их независимом присоединении определяется в соответствии с расчетным теплопотреблением этих систем и с их емкостью; расход воды через эти насосы также является постоянным в течение отопительного сезона. Расход воды через подкачивающие и подмешивающие насосы, установленные на трубопроводах сетевой воды, определяется в зависимости от местоположения насосов в схеме теплового пункта и принципов их автоматизации при режиме средненедельной нагрузки горячего водоснабжения.
Напор насосов всех назначений и их коэффициент полезного действия определяются по заводским характеристикам; а нормативная мощность их электродвигателей находится по формуле (2.1) части III Рекомендаций.
Среднее за сутки значение нормативной мощности электродвигателей насосов, расположенных в каждом тепловом пункте, находится суммированием мощностей электродвигателей работающих насосов всех назначений. Мощность, затрачиваемая на собственные нужды в ЦТП, может быть принята равной 3% мощности электродвигателей рабочих насосов ЦТП; мощностью, затрачиваемой на собственные нужды в ИТП, можно пренебречь.
В примерной системе теплоснабжения принадлежит один ЦТП с независимой схемой присоединения систем отопления и смешанной схемой присоединения СГВ при циркуляции горячей воды в них.
Расчетная тепловая нагрузка независимо присоединенных систем
отопления - нагрузка второго контура отопительного подогревателя
составляет
= 7,91 Гкал/ч при расчетных значениях температуры воды во втором
контуре tlip = 95°С и t2jp = 70°С (у потребителей во втором контуре подмешивающие устройства не установлены).
Средненедельная тепловая
нагрузка горячего водоснабжения у
потребителей этого ЦТП равна
= 1,1 .
1,29 = 1,42 Гкал/ч.
Во втором отопительном контуре в ЦТП на обратной линии потребителей установлен один работающий циркуляционный насос марки 8К-18. В качестве подпиточного для второго контура применен насос марки 1,5К-6, который подает сетевую воду из обратной линии теплового пункта (непосредственно из трубопровода за отопительным подогревателем) в обратную линию второго контура (в трубопровод на стороне всасывания циркуляционного насоса). Вследствие невысокого значения расхода подпиточной воды подпиточный насос работает 8 ч на протяжении суток.
Подача на верхние этажи зданий как холодной водопроводной воды, так и горячей осуществляется насосами, не принадлежащими ЭСО, однако циркуляционный насос горячего водоснабжения принадлежит ей. В ЦТП на циркуляционной линии установлен насос марки 2К-6а, подающий циркуляционную воду в перемычку между первой и второй ступенями подогревательной установки горячего водоснабжения.
3.2.2 Определение расхода воды в системах отопления и горячего водоснабжения
Расчетный расход воды во втором контуре отопительного подогревателя составляет

Расход сетевой воды на подпитку трубопроводов и отопительных систем во втором контуре исходя из их емкости ~ 240 м3 составляет
GПОДП = 240-0,0025 = 0,6 м3/ч.
Расход циркуляционной воды СГВ в ЦТП (КТП = 0,25) практически равен средненедельному значению расхода воды в СГВ:
![]()
Мощность электродвигателя работающих насосов находится по формуле (2.1) части III Рекомендаций. Напор насосов и их коэффициент полезного действия определяются из характеристики соответствующих насосов при выявленных в разделе 3.2.2 части III Рекомендаций расходах воды. Коэффициент полезного действия электродвигателей насосов в ЦТП ηЭ может быть принят равным 0,9. Ввиду малых колебаний температуры перемещаемой насосами воды ее плотность γ может быть принята для всех насосов равной 988 кг/м .
Исходные данные и
результаты расчета нормативной мощности электродвигателей насосов в ЦТП
(кВт) примерной
системы теплоснабжения приведены в таблице 3.1.
|
Режим работы насосов |
Марка и назначение насосов |
||
|
8К-18, циркуляционный второго отопительного контура |
1,5К-6, подпиточный второго отопительного контура |
2К-6а, циркуляционный СГВ |
|
|
Расход сетевой через один насос V, мэ/ч |
316 |
0,6 |
26 |
|
Напор насоса Н, м |
16 |
20 |
24 |
|
Коэффициент полезного действия насоса ηНАС |
0,8 |
0,2 |
0,65 |
|
Нормативная электрическая мощность электродвигателя одного насоса |
19 |
≈ 0 |
3 |
Нормативная средняя за сутки электрическая мощность электродвигателей ЦТП составляет, таким образом, 22 кВт; с учетом собственных нужд (3%) нормативная электрическая мощность электродвигателей ЦТП равна 23 кВт.
Средняя за сутки
нормативная мощность электродвигателей на всех насосных станциях, расположенных
в тепловой сети ЭСО, и в ЦТП, находящихся на ее балансе,
(кВт) определяется
при каждом характерном значении температуры наружного воздуха путем
суммирования нормативной электрической мощности электродвигателей работающих насосов
в каждой подкачивающей насосной станции
и в тепловых пунктах
(см. таблицу
5.1 части III
Рекомендаций) с учетом нормативной электрической
мощности, затрачиваемой в них на собственные нужды.
Полученные среднесуточные
значения суммарной нормативной мощности электродвигателей, работающих в
тепловой сети ЭСО,
(кВт) представляются
в виде графика зависимости этой электрической мощности от температуры наружного
воздуха.
График среднесуточных значений суммарной нормативной мощности электродвигателей, работающих в тепловой сети ЭСО в примерной системе теплоснабжения, представлен на рисунке 1. График построен по значениям указанных нормативных мощностей электродвигателей, соответствующих характерным значениям температуры наружного воздуха.

Рисунок 1 -
Нормативный график среднесуточной суммарной нормативной мощности
электродвигателей в тепловой сети, принадлежащей ЭСО, в примерной системе
теплоснабжения
.
Гидравлическая энергетическая характеристика тепловой сети ЭСО
при каждом характерном значении
температуры наружного воздуха определяется отношением нормативной среднесуточной мощности всех
электродвигателей, работающих в ее тепловой сети и тепловых пунктах,
. (кВт) к нормативному часовому
среднему за сутки расходу тепловой
энергии, отпускаемой при том же характерном значении температуры наружного
воздуха всеми источниками тепловой
энергии в системе теплоснабжения,
. (Гкал/ч). Это отношение зависит только от температуры
наружного воздуха.
Значение
нормативного удельного расхода электроэнергии
на транспорт тепловой энергии в
тепловой сети энергоснабжающей организации
при каждом характерном значении температуры наружного воздуха
находится по формуле
=
, (5.1)
где
. - нормативная среднесуточная мощность электродвигателей на
всех насосных станциях, расположенных в тепловой сети ЭСО, и в тепловых пунктах, находящихся на ее балансе, при данном характерном значении температуры наружного воздуха,
кВт;
-
нормативный часовой средний за сутки расход
тепловой энергии, отпускаемой всеми источниками тепловой энергии в системе
теплоснабжения при данном
характерном значении температуры наружного воздуха, Гкал/ч.
В
примерной системе теплоснабжения значения
нормативного часового среднего за сутки отпуска тепловой энергии
принимаются из графы
17 таблицы
8.3 части I Рекомендаций. Эти значения
повторены в таблице
5.1.
Средние
за сутки значения нормативного удельного
расхода электроэнергии на транспорт
тепловой энергии в тепловой сети ЭСО
, определенные по формуле (5.1) части Ш Рекомендаций, для примерной системы
теплоснабжения приведены в таблице
5.1.
График
среднесуточных значений нормативного удельного расхода электроэнергии на
транспорт тепловой энергии в тепловой сети ЭСО
, (гидравлическая
энергетическая характеристика тепловой сети ЭСО) в примерной системе теплоснабжения представлен на рисунке
2. График построен по значениям указанных в таблице
5.1 нормативного удельного расхода
электроэнергии, соответствующим характерным значениям температуры наружного воздуха.

Рисунок 2 - Нормативный график удельного расхода электроэнергии на транспорт тепловой энергии в тепловой сети, принадлежащей ЭСО, в примерной системе теплоснабжения (гидравлическая энергетическая характеристика тепловой сети ЭСО).
|
Характерная температура наружного
воздуха |
Нормативная среднесуточная мощность электродвигателей
в тепловой сети ЭСО |
Нормативный среднесуточный отпуск
тепловой энергии |
Удельный расход электроэнергии на транспорт тепловой энергии в тепловой Сети ЭСО |
|
|
944 |
250,4 |
3,8 |
|
|
944 |
283,0 |
3,3 |
|
|
900 |
361,1 |
2,5 |
|
|
841 |
523,6 |
1,6 |
|
|
849 |
523,6 |
1,6 |
1. СНиП 2.04.01-85 Внутренний водопровод и канализация зданий - М.: Стройиздат, 1986.
2. СНиП 2.04.07-86* Тепловые сети - М.: Минстрой России, 1994.
3. СП 41-101-95 Проектирование тепловых пунктов - М.: Минстрой России, 1997.
|
ГОСТЫ, СТРОИТЕЛЬНЫЕ и ТЕХНИЧЕСКИЕ НОРМАТИВЫ. Некоммерческая онлайн система, содержащая все Российские Госты, национальные Стандарты и нормативы. В Системе содержится более 150000 файлов нормативно-технической документации, действующей на территории РФ. Система предназначена для широкого круга инженерно-технических специалистов. Copyright © www.gostrf.com, 2008 - 2026 |