Крупнейшая бесплатная информационно-справочная система онлайн доступа к полному собранию технических нормативно-правовых актов РФ. Огромная база технических нормативов (более 150 тысяч документов) и полное собрание национальных стандартов, аутентичное официальной базе Госстандарта. GOSTRF.com - это более 1 Терабайта бесплатной технической информации для всех пользователей интернета. Все электронные копии представленных здесь документов могут распространяться без каких-либо ограничений. Поощряется распространение информации с этого сайта на любых других ресурсах. Каждый человек имеет право на неограниченный доступ к этим документам! Каждый человек имеет право на знание требований, изложенных в данных нормативно-правовых актах!

  


 

Р 50.3.005-2003

РЕКОМЕНДАЦИИ ПО СЕРТИФИКАЦИИ

Система сертификации ГОСТ Р
Регистр систем качества

ВРЕМЕННЫЙ ПОРЯДОК

сертификации систем менеджмента качества
на соответствие ГОСТ Р ИСО 9001-2001
(ИСО 9001:2000)

ГОССТАНДАРТ РОССИИ

Москва

Предисловие

1 РАЗРАБОТАНЫ Всероссийским научно-исследовательским институтом сертификации (ВНИИС) Госстандарта России

ВНЕСЕНЫ Научно-техническим управлением Госстандарта России

2 ПРИНЯТЫ И ВВЕДЕНЫ В ДЕЙСТВИЕ Постановлением Госстандарта России от 29 января 2003 г. № 37-ст

3 ВВЕДЕНЫ ВПЕРВЫЕ

СОДЕРЖАНИЕ

1 Область применения. 3

2 Нормативные ссылки. 3

3 Определения. 3

4 Цели проведения сертификации систем менеджмента качества. 5

5 Требования к условиям проведения сертификации. 5

6 Объекты аудита. 5

7 Процессы сертификации систем менеджмента качества. 8

7.1 Этапы работ. 8

7.2 Организация работ (этап 1) 8

7.3 Анализ документов системы менеджмента качества проверяемой организации (этап 2) 10

7.4 Подготовка к аудиту «на месте» (этап 3) 11

7.5 Проведение аудита «на месте» и подготовка акта по результатам аудита (этап 4) 12

7.6 Завершение сертификации, выдача и регистрация сертификата соответствия системы менеджмента качества (этап 5) 16

7.7 Инспекционный контроль сертифицированных систем менеджмента качества (этап 6) 18

8 Ресертификация систем менеджмента качества. 20

9 Расширение или сужение области сертификации. 20

10 Применение сертификата соответствия и знака соответствия системы менеджмента качества. 21

11 Оплата работ. 21

12 Рабочий язык. 21

Приложение А. Блок-схема деятельности по сертификации систем менеджмента качества. 21

Приложение Б. Форма заявки на проведение сертификации системы менеджмента качества. 28

Приложение В. Форма извещения о результатах рассмотрения заявки на сертификацию системы менеджмента качества. 29

Приложение Г. Перечень документов и сведений для анализа документации системы менеджмента качества. 30

Приложение Д. Оценка трудозатрат на проведение аудита. 31

Приложение Е. Форма плана аудита системы менеджмента качества. 33

Приложение Ж. Сертификация организаций, имеющих многочисленные производственные площадки. 34

Приложение И. Перечень элементов системы менеджмента качества. 39

Приложение К. Форма регистрации несоответствий. 40

Приложение Л. Форма регистрации уведомлений. 41

Приложение М. Форма акта о результатах аудита и оценки системы менеджмента качества. 42

Приложение Н. Форма решения о выдаче сертификата соответствия системы менеджмента качества. 42

Приложение П. Формы сертификатов соответствия и приложений к сертификатам.. 44

Форма 1. Сертификат соответствия на русском языке. 44

Форма 2. Сертификат соответствия на английском языке. 45

Содержание сертификата соответствия системы менеджмента качества. 45

Форма 3. Образец заполнения сертификата соответствия на русском языке. 47

Форма 4. Образец заполнения сертификата соответствия на английском языке. 48

Форма 5. Приложение к сертификату соответствия на русском языке. 49

Форма 6. Приложение к сертификату соответствия на английском языке. 50

Содержание приложения к сертификату соответствия. 50

Форма 7. Образец заполнения приложения к сертификату соответствия на русском языке. 51

Приложение Р. Форма решения о расширении области сертификации. 51

Приложение С. Форма решения о сужении области сертификации. 52

Приложение Т. Библиография. 52

Введение

Настоящие рекомендации разработаны с целью организации деятельности по сертификации систем менеджмента качества на соответствие ГОСТ Р ИСО 9001-2001 (ИСО 9001:2000) в период, когда одновременно с этим стандартом действуют ГОСТ Р ИСО 9001-96 (ИСО 9001:1994); ГОСТ Р ИСО 9002-96 (ИСО 9002:1994), ГОСТ Р ИСО 9003-96 (ИСО 9003:1994).

Рекомендации устанавливают порядок сертификации систем менеджмента качества на соответствие ГОСТ Р ИСО 9001-2001 (ИСО 9001:2000) в Системе сертификации ГОСТ Р.

Рекомендации учитывают положения, содержащиеся в следующих документах:

- ГОСТ Р ИСО/МЭК 62 «Общие требования к органам, осуществляющим оценку и сертификацию систем качества»

- ИСО 19011:2002 «Руководящие указания по аудиту систем менеджмента качества и (или) систем экологического менеджмента»

- Руководящие указания Международного форума по аккредитации (МФА) (International Accreditation Forum Inc.) по применению Руководства ИСО/МЭК 62, изд. 2, 2001 г.

- Методический документ ИСО/ТК 176/ПК2.524R «Рекомендации по п. 1.2 «Применение ИСО 9001:2000»

Р 50.3.005-2003

РЕКОМЕНДАЦИИ ПО СЕРТИФИКАЦИИ

Система сертификации ГОСТ Р
Регистр систем качества

ВРЕМЕННЫЙ ПОРЯДОК

сертификации систем менеджмента качества на соответствие
ГОСТ Р ИСО 9001-2001 (ИСО 9001:2000)

Дата введения 2003-03-01

1 Область применения

Настоящие рекомендации устанавливают порядок сертификации систем менеджмента качества на соответствие ГОСТ Р ИСО 9001-2001 в Системе сертификации ГОСТ Р.

Требования настоящих рекомендаций предназначены для участников Регистра Систем качества Системы сертификации ГОСТ Р, организаций, претендующих на получение сертификата соответствия системы менеджмента качества и организаций - держателей таких сертификатов.

2 Нормативные ссылки

В настоящем нормативном документе использованы ссылки на следующие стандарты:

ГОСТ Р ИСО/МЭК 62-2000. Общие требования к органам, осуществляющим оценку и сертификацию систем качества

ГОСТ Р ИСО 9000-2001 Системы менеджмента качества. Основные положения и словарь

ГОСТ Р ИСО 9001-2001 Системы менеджмента качества. Требования

ГОСТ Р ИСО 9004-2001 Системы менеджмента качества. Рекомендации по улучшению деятельности

ОК 002-93 Общероссийский классификатор услуг населению

ОК 005-93 Общероссийский классификатор продукции

3 Определения

В настоящем документе использованы термины по ГОСТ Р ИСО 9000, а также следующие термины с соответствующими определениями:

3.1 элементы системы менеджмента качества: Составные части системы, требования к которым определены пунктами ГОСТ Р ИСО 9001, далее неделимыми на подпункты, имеющие цифровое обозначение (перечень элементов приведен в приложении И).

Примечание - Данное определение приводится для целей сертификации систем менеджмента качества.

3.2 заказчик: Организация, обратившаяся в орган по сертификации с заявкой о проведении работ по сертификации системы менеджмента качества.

3.3 аудит: Систематический, независимый и документированный процесс получения свидетельств аудита и объективного их оценивания с целью установления степени выполнения согласованных критериев аудита (ГОСТ Р ИСО 9000).

Примечания

1 Внутренние аудиты (аудиты первой стороны) проводит обычно сама организация или от ее имени.

2 Внешние аудиты обычно называют аудитами второй стороны или аудитами третьей стороны.

Аудиты второй стороны проводят стороны, заинтересованные в деятельности организации, например, потребители или другие лица от их имени.

Аудиты третьей стороны проводят внешние независимые организации. Эти организации проводят сертификацию или регистрацию на соответствие требованиям, например, требованиям ГОСТ Р ИСО 9001 и ГОСТ Р ИСО 14001.

3 Если система менеджмента качества и система экологического менеджмента (охраны окружающей среды) одновременно подвергаются аудиту, то это называют комплексным аудитом.

4 Если две или несколько (аудиторских) организаций проводят совместно аудит проверяемой организации, то это называют совместным аудитом.

3.4 проверяемая организация: Организация, подвергающаяся аудиту (ГОСТ Р ИСО 9000).

3.5 программа аудита: Совокупность одного или нескольких аудитов, запланированных на конкретный период времени и направленных на достижение конкретной цели (ГОСТ Р ИСО 9000).

3.6 план аудита: Описание деятельности и условий проведения аудита [1].

3.7 критерии аудита: Совокупность политики, процедур или требований.

Примечание - Критерии аудита используют в качестве базы для сравнения свидетельств аудита [1].

3.8 свидетельство аудита: Записи, изложение фактов или другой информации, сопоставляемые с критериями аудита, которые могут быть перепроверены.

Примечание - Свидетельство аудита может быть в качественном или количественном выражении [1].

3.9 выводы (наблюдения) аудита: Результаты сопоставления свидетельства аудита с критериями аудита.

Примечание - Выводы аудита могут указывать на соответствие или несоответствие критериям аудита или на возможности улучшения [1].

3.10 область аудита: Содержание и границы аудита.

Примечание - Область аудита обычно включает описание места расположения объектов организации, деятельности и процессов, а также охватываемый период времени.

3.11 эксперт по сертификации систем менеджмента качества: Эксперт, получивший в Регистре персонала Системы сертификации ГОСТ Р сертификат на право проведения аудита систем менеджмента качества.

3.12 комиссия: Один или несколько экспертов, уполномоченных на проведение конкретного аудита.

Примечания

1 Одного из экспертов назначают председателем комиссии.

2 Председатель комиссии должен иметь опыт участия не менее чем в трех полных (не менее 15 дней) аудитах в качестве эксперта и обладать навыками, необходимыми для эффективного руководства комиссией в ходе аудита.

3.13 технический эксперт: Лицо, обладающее специальными знаниями или опытом применительно к объекту аудита.

Примечания

1 Специальные знания или опыт включают знания или опыт применительно к организации, процессу или деятельности, подвергаемой аудиту, а также знания языка или аспектов культуры страны, где проводится аудит.

2 Технический эксперт не имеет полномочий эксперта в комиссии (ГОСТ Р ИСО 9000).

3.14 компетентность: Демонстрируемые личные качества и способность применять свои знания и навыки (умение) [1].

3.15 соответствие: Выполнение требования.

Примечание - Установленным требованием в стандарте ГОСТ Р ИСО 9001 является любая норма, введенная модальным глаголом «должен».

3.16 несоответствие: Невыполнение требования.

Примечание - Невыполнением установленного требования является отсутствие этого требования в документах системы менеджмента качества и/или отсутствие его реализации при функционировании системы.

3.17 значительное несоответствие (категория 1): Несоответствие системы менеджмента качества, которое с большой вероятностью может повлечь невыполнение требований потребителей и/или обязательных требований к продукции.

К значительным несоответствиям может быть отнесено отсутствие элемента или совокупности элементов и/или отсутствие их результативного функционирования.

3.18 малозначительное несоответствие (категория 2): Отдельное несистематическое упущение, ошибка, недочет в функционировании системы менеджмента качества или в документации, которые могут привести к невыполнению требований потребителя и/или обязательных требований к продукции, или к снижению результативности функционирования элемента (совокупности элементов) системы менеджмента качества.

Примечание - К малозначительным несоответствиям системы менеджмента качества может быть отнесено несоблюдение единичного требования к системе.

3.19 уведомление: Свидетельство аудита, не носящее характер несоответствия и фиксируемое с целью предотвращения возможного несоответствия.

3.20 область сертификации: Область распространения системы менеджмента качества организации, определяемая ее структурой, видами продукции и процессами их жизненного цикла.

Примечание - Процессы жизненного цикла описывают с использованием терминов раздела 7 ГОСТ Р ИСО 9001.

3.21 область применения системы менеджмента качества: Полнота применения требований стандарта ГОСТ Р ИСО 9001, определяемая отсутствием или наличием допустимых исключений согласно пункту 1.2 ГОСТ Р ИСО 9001.

4 Цели проведения сертификации систем менеджмента качества

В результате сертификации систем менеджмента качества определяют:

- степень соответствия системы менеджмента качества проверяемой организации критериям аудита по ГОСТ Р ИСО 9001;

- результативность системы менеджмента качества.

5 Требования к условиям проведения сертификации

5.1 Работы по сертификации систем менеджмента качества проводят в соответствии с ГОСТ Р ИСО/МЭК 62 только аккредитованные в системе ГОСТ Р органы по сертификации систем менеджмента качества.

5.2 К работе по сертификации систем менеджмента качества привлекают экспертов по сертификации систем менеджмента качества, зарегистрированных в Регистре Системы сертификации персонала Госстандарта России.

5.3 Область сертификации определяет заказчик по согласованию с председателем комиссии.

5.4 В зависимости от области деятельности, вида продукции и пожеланий заказчика при сертификации к системам менеджмента качества могут быть предъявлены дополнительные требования в части законодательно регулируемой сферы и/или требований его потребителей.

6 Объекты аудита

6.1 Объекты аудита при сертификации системы менеджмента качества

При сертификации системы менеджмента качества объектами аудита являются:

- область сертификации и область применения системы менеджмента качества;

- соответствие качества продукции требованиям потребителей и обязательным требованиям к этой продукции;

- полнота и точность отражения требований ГОСТ Р ИСО 9001 в документах системы менеджмента качества;

- функционирование системы менеджмента качества в отношении фактического выполнения требований документов системы менеджмента качества организации и обеспечения результативности системы менеджмента качества в соответствии с ГОСТ Р ИСО 9001.

6.2 Проверка области применения системы менеджмента качества

При проверке области применения системы менеджмента качества анализируют область, определенную в заявке на сертификацию системы менеджмента качества.

Проверяют:

а) все ли виды продукции, указанные в заявке, подпадают под действие системы менеджмента качества;

б) правомерность исключений из требований к системе менеджмента качества организации требований раздела 7 ГОСТ Р ИСО 9001 к процессам жизненного цикла продукции, если такие исключения указаны в заявке (в соответствии с 1.2 ГОСТ Р ИСО 9001).

Анализ исключений проводят для каждого вида продукции, указанного в заявке на сертификацию. Подробное обоснование таких исключений должно быть дано в разделе «Область применения системы менеджмента качества» Руководства по качеству.

Неправомерное исключение требований раздела 7 ГОСТ Р ИСО 9001 к системе менеджмента качества или исключение требований других разделов ГОСТ Р ИСО 9001 рассматривается как несоответствие.

Проверка и анализ области применения системы менеджмента качества может осуществляться на протяжении всего процесса сертификации.

Примечание - Организация не должна исключать из области применения системы менеджмента качества процессы жизненного цикла продукции, влияющие на соответствие продукции установленным требованиям или на другие процессы, которые осуществляет сама или передает (поручает, закупает) другим организациям в соответствии с контрактами или другими обязательствами.

6.3 Проверка и оценивание соответствия качества продукции требованиям потребителей и обязательным требованиям.

Соответствие качества продукции установленным требованиям оценивают на основе:

- данных о требованиях, относящихся к продукции, которые организация должна выполнять (7.2.1; 7.2.3 а - 7.2.3 г ГОСТ Р ИСО 9001);

- результатов анализа данных, касающихся удовлетворенности потребителей (5.6.2 б, 5.6.3 б, 7.2.3 в, 8.2.1 ГОСТ Р ИСО 9001);

- данных о качестве продукции, полученных от территориальных органов Госстандарта России, Госсанэпиднадзора России и других организаций, уполномоченных осуществлять государственный контроль и надзор за качеством продукции;

- данных мониторинга и измерений продукции на стадиях ее жизненного цикла (4.2.4, 8.2.4 ГОСТ Р ИСО 9001).

Примечания

1 Сертификация систем менеджмента качества не предусматривает специально запланированных испытаний, анализов или измерений показателей качества продукции. Если у членов комиссии возникают сомнения в качестве продукции или достоверности проводимых испытаний, эксперты могут участвовать в испытаниях продукции, проводимых проверяемой организацией.

2 Если в соответствии с действующим в Российской Федерации законодательством применительно к продукции (услуге) предъявляют обязательные для соблюдения требования, установленные государственными стандартами или другими нормативными документами, то при сертификации систем менеджмента качества проверяют возможность системы контроля и испытаний качества продукции проверять соблюдение этих требований.

6.4 Проверка соответствия документов системы менеджмента качества требованиям ГОСТ Р ИСО 9001

6.4.1 Состав документов системы менеджмента качества должен соответствовать требованиям ГОСТ Р ИСО 9001, пункт 4.2.1.

При проверке содержания документации анализируют, все ли требования ГОСТ Р ИСО 9001 к документации учтены в системе менеджмента качества.

6.4.2 Орган по сертификации должен проверять соответствие политики (5.3) и целей (5.4.1) в области качества требованиям ГОСТ Р ИСО 9001.

6.4.3 Орган по сертификации проверяет Руководство по качеству на соответствие ГОСТ Р ИСО 9001, пункт 4.2.2, учитывая при этом, что стандарт содержит минимально необходимый объем требований к руководству по качеству.

Фактические объем, структуру и содержание руководства по качеству определяет организация.

Примечание - Объем, структура и содержание руководства по качеству зависят от размера и специфики деятельности организации. Небольшая организация может включить в руководство описание всей системы менеджмента качества, а также все документированные процедуры, требуемые стандартом. Для крупных компаний, возможно, потребуется несколько руководств (по качеству), действующих по иерархии управления компанией (возможно на национальном, региональном и других уровнях).

6.4.4 Проверяют наличие следующих обязательных документированных процедур и соответствие их требованиям ГОСТ Р ИСО 9001:

- управление документацией (4.2.3);

- управление записями (4.2.4);

- внутренние аудиты (8.2.2);

- управление несоответствующей продукцией (8.3);

- корректирующие действия (8.5.2);

- предупреждающие действия (8.5.3).

Примечание - Приведенный перечень документированных процедур является минимально необходимым. Допустимо объединять процедуры по нескольким видам деятельности в один документ (п. например, процедуры выполнения корректирующих и предупреждающих действий). Организация может разработать дополнительные процедуры и документы, необходимые для обеспечения эффективного планирования, реализации процессов и управления ими.

6.4.5 Проверке подлежат записи, требуемые ГОСТ Р ИСО 9001 (п. с учетом допустимых исключений), в том числе:

а) анализ системы менеджмента качества со стороны руководства (5.6.1);

б) образование, подготовка, навыки и опыт персонала (6.2.2 д);

в) свидетельства соответствия процессов жизненного цикла продукции и произведенной продукции требованиям (7.1 г);

г) результаты анализа и последующие действия (для требований, относящихся к продукции) (7.2.2);

д) входные данные для проектирования и разработки, относящиеся к требованиям к продукции (7.3.2);

е) результаты анализа проекта и разработки и необходимых при этом действий (7.3.4);

ж) результаты верификации проекта и разработки и необходимых при этом действий (7.3.5);

и) результаты валидации проекта и разработки и необходимых при этом действий (7.3.6);

к) результаты анализа изменений проекта и разработки и необходимых при этом действий (7.3.7);

л) результаты оценивания поставщиков и необходимых действий, вытекающих из оценки (7.4.1);

м) процессы производства и обслуживания продукции, подлежащие валидации (7.5.2 г);

н) управление специальной идентификацией для обеспечения прослеживаемости продукции (7.5.3);

п) случаи утери, повреждения или признания непригодной для использования собственности потребителя, а также записи об извещении потребителя о таких случаях (7.5.4);

р) регистрация метрологической базы, используемой для калибровки или поверки устройств для мониторинга и измерений (при отсутствии международных или национальных эталонов (7.6 а);

с) регистрация правомочности предыдущих результатов измерения, если обнаружено, что оборудование не соответствует требованиям (7.6);

т) результаты калибровки и поверки устройств для мониторинга и измерений (7.6);

у) планирование и проведение внутренних аудитов (8.2.2);

ф) фамилия(и) лица (лиц), санкционировавшего(их) выпуск продукции (8.2.4);

х) свидетельства соответствия продукции критериям приемки (8.2.4);

ц) характер несоответствий и любых последующих действий, включая полученные разрешения на отклонения (8.3);

ч) результаты корректирующих действий (8.5.2);

ш) результаты предупреждающих действий (8.5.3).

Примечание - Орган по сертификации должен учитывать, что организации могут разрабатывать и применять дополнительно другие записи, необходимые для регистрации функционирования процессов системы менеджмента качества и соответствия качества продукции.

6.5 Проверка соответствия функционирования системы менеджмента качества требованиям, установленным в документах системы и ГОСТ Р ИСО 9001

Орган по сертификации должен проверить и оценить идентифицированные организацией процессы системы менеджмента качества и представленные объективные свидетельства их результативности.

Объективные свидетельства могут быть получены из источников информации, приведенных в 7.5.2.2.

7 Процессы сертификации систем менеджмента качества

7.1 Этапы работ

Сертификация систем менеджмента качества состоит из следующих этапов:

1 - организация работ;

2 - анализ документов системы менеджмента качества организации-заявителя;

3 - подготовка к аудиту (проверке) «на месте»;

4 - проведение аудита (проверки) «на месте» и подготовка акта по результатам аудита;

5 - завершение сертификации, выдача и регистрация сертификата;

6 - инспекционный контроль сертифицированной системы менеджмента качества.

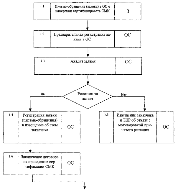
Блок-схема деятельности по сертификации систем менеджмента качества приведена в приложении А.

7.2 Организация работ (этап 1)

7.2.1 Основанием для начала работ может служить письмо-обращение, направленное заказчиком в произвольной форме в орган по сертификации, или заявка на официальном бланке заказчика (приложение Б).

7.2.2 Орган по сертификации проводит предварительную регистрацию письма-обращения и его анализ для определения возможности проведения сертификации с учетом:

- оценки соответствия области сертификации заказчика и области аккредитации органа по сертификации;

- наличия у органа по сертификации необходимой информации для планирования аудита (расположение организации, численность работников, предпочтительные сроки проведения аудита, рабочий язык аудита и др.);

- наличия у органа по сертификации возможности проведения работ в сроки, предпочтительные для заказчика, наличия соответствующих ресурсов.

При положительном решении орган по сертификации регистрирует письмо-обращение и извещает об этом заказчика. Форма извещения о результатах рассмотрения письма-обращения приведена в приложении В.

После получения извещения о принятии заявки от органа по сертификации заказчик оплачивает органу по сертификации регистрационный взнос (три минимальных размера оплаты труда).

В случае невозможности проведения сертификации орган по сертификации письменно извещает заказчика и Технический центр регистра об отказе с мотивировкой принятого решения.

Примечание - При направлении в орган по сертификации письма-обращения и подтверждении возможности проведения сертификации заказчик оформляет заявку на сертификацию на официальном бланке и направляет ее в орган по сертификации.

7.2.3 Заключение договора на проведение сертификации системы менеджмента качества

В случае положительного решения о принятии заявки на сертификацию системы менеджмента качества орган по сертификации и заказчик заключают договор.

В связи с тем, что работы органа по сертификации должны быть оплачены в полном объеме независимо от результатов аудита, в договоре целесообразно предусмотреть предварительное поступление на счет органа по сертификации всей суммы оплаты до начала работ. Допускается возможность двухэтапной оплаты работ (см. приложение А, этап 2).

7.2.4 Подготовка комплекта документов заказчиком

После оплаты работ по договору орган по сертификации направляет заказчику:

- бланк-заявку на проведение сертификации системы менеджмента качества (если работы по сертификации начаты по письму-обращению);

- перечень сведений и документов системы менеджмента качества, представляемых проверяемой организацией в обязательном порядке, а также дополнительных документов (включая записи), представляемых по запросу органа по сертификации (приложение Г).

Запрошенные сведения и документы системы менеджмента качества в двух экземплярах: (один экземпляр - на бумажном носителе информации, один экземпляр - на электронном носителе информации), заполненный бланк заявки на проведение сертификации системы менеджмента качества также в двух экземплярах заказчик представляет в орган по сертификации.

Полученные документы остаются в органе по сертификации в качестве контрольных экземпляров.

Примечание - Запрошенные сведения представляют на русском языке или языке, применяемом заказчиком и согласованном с органом по сертификации.

7.2.5 Определение трудозатрат на проведение аудита

Орган по сертификации должен оценить трудозатраты на проведение аудита в зависимости от численности персонала проверяемой организации. Рекомендации по оценке таких трудозатрат приведены в приложении Д.

7.2.6 Формирование комиссии по сертификации

После представления заказчиком оформленной заявки, запрошенных сведений и документации распоряжением руководства органа по сертификации назначается руководитель группы аудита (далее - председатель комиссии) и формируется группа аудита (далее - комиссия по сертификации).

Комиссия может состоять из одного или нескольких экспертов. Если аудит осуществляет один эксперт, он выполняет обязанности председателя комиссии.

При определении численности и состава комиссии необходимо учитывать:

- цели, область и критерии аудита, сроки проведения аудита;

- область деятельности организации;

- трудозатраты на проведение аудита;

- необходимость обеспечения совокупной компетентности комиссии для достижения целей аудита;

- требования законов, нормативных правовых актов, технических регламентов, применимых к проводимой оценке;

- обеспечение независимости членов комиссии от сертифицируемой организации;

- возможность членов комиссии эффективно взаимодействовать с проверяемой организацией;

- язык аудита.

Для подтверждения совокупной компетентности комиссии необходимо:

1) идентифицировать знания и навыки, необходимые для достижения целей аудита;

2) выбрать членов комиссии таким образом, чтобы комиссия в совокупности обладала знаниями критериев, процедур и методов аудита, а также специальными знаниями специфики производственных процессов.

Если специальных знаний и навыков у членов формируемой комиссии недостаточно, то в комиссию должны быть включены технические эксперты.

В состав комиссии могут быть включены стажеры, работающие по указаниям и под наблюдением председателя комиссии.

Состав комиссии утверждает руководство органа по сертификации.

Примечания

1 Орган по сертификации по просьбе заказчика (проверяемой организации) может заменить конкретного члена комиссии по обоснованным мотивам, например в ситуации, связанной с конфликтом интересов (член комиссии ранее работал в проверяемой организации, предшествующее неэтичное поведение кандидата на членство в комиссии при аудите и др.). Возникающие претензии к составу комиссии должны быть разрешены до начала аудита «на месте».

2 Технические эксперты и стажеры при рассмотрении свидетельств и формировании выводов (наблюдений) аудита имеют право только совещательного голоса.

7.3 Анализ документов системы менеджмента качества проверяемой организации (этап 2)

7.3.1 Анализ документов системы менеджмента качества проверяемой организации проводят для определения соответствия документов системы требованиям ГОСТ Р ИСО 9001.

При необходимости по согласованию с проверяемой организацией орган по сертификации может командировать своего представителя для предварительного ознакомления на месте с системой менеджмента качества проверяемой организации или решения неясных (спорных) вопросов. Оплата такой командировки оговаривается с заказчиком на условиях дополнительного договора или дополнительным соглашением к существующему договору.

Одновременно с анализом исходных документов, поступивших от проверяемой организации, комиссия организует сбор и анализ дополнительных сведений о качестве продукции (услуг) организации, применительно к которой сертифицируется система менеджмента качества. Источниками информации при этом могут служить потребители, органы государственного надзора и контроля, территориальные органы Госстандарта России, общества потребителей, гарантийные мастерские, торговые организации и др.

7.3.2 Анализ завершается оформлением письменного заключения, в котором наряду с выявленными замечаниями формулируют вывод о возможности или невозможности проведения аудита системы менеджмента качества «на месте».

Заключение по результатам анализа документов системы менеджмента качества, подписанное председателем комиссии и экспертами, проводившими анализ, орган по сертификации направляет проверяемой организации не позднее чем за две недели до начала проверки «на месте».

При отрицательном заключении по результатам анализа документов системы менеджмента качества проверяемой организации орган по сертификации направляет заключение о невозможности проведения аудита системы менеджмента качества «на месте». После устранения отмеченных в заключении несоответствий заказчик может направить в орган по сертификации доработанные документы для возобновления работ по оценке системы менеджмента качества. Выполнение работ по повторному анализу документов может осуществляться в рамках дополнительного соглашения к договору.

7.4 Подготовка к аудиту «на месте» (этап 3)

7.4.1 Предварительное взаимодействие с проверяемой организацией (заказчиком)

Предварительное взаимодействие с проверяемой организацией проводит председатель комиссии с целью:

- определения каналов обмена информацией с проверяемой организацией;

- согласования порядка доступа к соответствующим документам;

- согласования порядка обеспечения безопасности работ экспертов на производственных площадках;

- определения представителей проверяемой организации (лиц, сопровождающих экспертов), принимающих участие в аудите.

7.4.2 Разработка плана аудита

Председатель комиссии подготавливает план аудита, включающий:

- цели аудита;

- сроки и график проведения аудита, включая предварительное и заключительное совещания с руководством проверяемой организации и обзорное ознакомление комиссии с организацией;

- область аудита, включая идентификацию структурных подразделений проверяемой организации;

- даты посещения структурных подразделений, где будет проводиться аудит;

- объекты аудита (см. раздел 6);

- идентификацию членов комиссии, ответственных за выполнение плана аудита;

- идентификацию представителей проверяемой организации (лиц, сопровождающих экспертов);

- требования конфиденциальности.

Примечания

1 Если продукция подлежит обязательной сертификации, то в план аудита должна быть включена система контроля и испытаний продукции (6.3, примечание 2).

2 План аудита должен включать также указание на рабочий язык аудита, если есть различия между языками, на которых говорят эксперты и персонал проверяемой организации.

3 План аудита формируют с учетом нормативной трудоемкости, определенной согласно приложению Д.

7.4.3 План аудита утверждает руководство органа по сертификации

План аудита должен быть доведен до сведения проверяемой организации до начала аудита «на месте».

Любые возражения проверяемой организации должны быть разрешены до начала аудита председателем комиссии и представителем проверяемой организации, имеющим соответствующие полномочия.

В ходе аудита председатель комиссии вправе вносить изменения в план аудита, которые должны быть согласованы с проверяемой организацией.

Форма плана аудита системы менеджмента качества приведена в приложении Е.

Особенности проведения аудита и сертификации организаций, имеющих несколько производственных площадок для производства однотипной продукции, приведены в приложении Ж.

7.4.4 Распределение обязанностей между членами комиссии

Если комиссия состоит из нескольких экспертов, председатель комиссии, руководствуясь планом аудита, по согласованию с членами комиссии, распределяет между ними обязанности по аудиту конкретных подразделений, видов деятельности, процессов и процедур системы менеджмента качества проверяемой организации.

При распределении обязанностей учитывают необходимость соответствия компетентности экспертов и технических экспертов проверяемым видам деятельности организации согласно плану аудита.

7.4.5 Подготовка рабочих документов

Подготовку рабочих документов ведут эксперты под руководством председателя комиссии. При подготовке к аудиту можно использовать типовые формы, разработанные органом по сертификации. Рабочие документы могут включать:

- контрольные перечни вопросов и планы выборочного контроля;

- бланки для регистрации свидетельств аудита и протоколов совещаний.

Орган по сертификации обеспечивает сохранность рабочих документов и любых записей по аудиту до завершения аудита.

Примечание - Использование рабочих документов не должно ограничивать деятельность по аудиту, которая может изменяться в результате анализа собранной в ходе аудита информации.

7.5 Проведение аудита «на месте» и подготовка акта по результатам аудита (этап 4)

7.5.1 Предварительное совещание

Предварительное совещание проводят под руководством председателя комиссии с участием членов комиссии, руководства и ведущих специалистов проверяемой организации.

Участники совещания должны быть зарегистрированы.

Целью предварительного совещания является:

- подтверждение возможности реализации плана аудита;

- краткое изложение используемых методов и процедур аудита;

- установление официальных процедур взаимодействия между членами комиссии и сотрудниками проверяемой организации;

- обсуждение возникших вопросов.

На предварительном совещании председатель комиссии должен:

- представить участников комиссии с указанием их роли в проведении аудита;

- сообщить график проведения работ по аудиту, дату и время заключительного совещания и других мероприятий, касающихся аудита, таких как промежуточные совещания, проводимые комиссией и руководством проверяемой организации;

- кратко ознакомить с методами и процедурами аудита;

- проинформировать организацию о том, что свидетельства аудита носят выборочный характер и поэтому оценка будет носить вероятностный характер;

- согласовать официальные каналы связи между комиссией и проверяемой организацией;

- сообщить о рабочем языке аудита (в случае необходимости);

- сообщить о порядке информирования проверяемой организации о ходе аудита;

- согласовать использование ресурсов (материально-техническое обеспечение, транспорт, бытовые условия), необходимых для проведения аудита;

- подтвердить соблюдение комиссией требований конфиденциальности;

- подтвердить порядок обеспечения требований безопасности и охраны здоровья для членов комиссии;

- проинформировать о правилах классификации наблюдений и принятия решений по результатам сертификации;

- ознакомить с правилами составления акта;

- проинформировать об условиях, при которых аудит может быть прекращен;

- проинформировать о задачах проверяемой организации и последующих действиях органа по сертификации в случае, если акт будет содержать несоответствия.

7.5.2 Обследование системы менеджмента качества «на месте»

7.5.2.1 Общие положения

Объекты аудита в ходе обследования системы менеджмента качества приведены в разделе 6.

Перечень проверяемых элементов системы менеджмента качества и требований к ним представлен в приложении И.

В ходе аудита председатель комиссии периодически информирует проверяемую организацию о ходе аудита.

Члены комиссии должны периодически обмениваться информацией, оценивать достигнутые результаты и, при необходимости, председатель комиссии может перераспределять выполняемые функции экспертов и технических экспертов.

Ежедневно в конце рабочего дня председатель комиссии должен проводить рабочие совещания членов комиссии.

Информацию, полученную в ходе аудита, свидетельствующую о наличии непосредственного риска нарушений требований к качеству продукции, нарушения требований к производственным процессам или производственной среде, включая экологическую безопасность и безопасность труда, немедленно доводят до сведения руководства проверяемой организации.

Если свидетельства аудита указывают на то, что цели аудита недостижимы, председатель комиссии докладывает о причинах этого в орган по сертификации и проверяемой организации для определения дальнейших действий (корректировки плана аудита, изменения области и/или объектов аудита или прекращения аудита).

7.5.2.2 Сбор, проверка и регистрация данных

Комиссия собирает и проверяет информацию, касающуюся области и объектов аудита, включая информацию о взаимодействии подразделений предприятия и процессов системы менеджмента качества. Только проверенная информация может быть свидетельством аудита.

В качестве источников информации используют:

- интервью с работниками проверяемой организации;

- собственные наблюдения экспертов за деятельностью персонала, функционированием процессов, условиями труда и состоянием рабочих мест;

- данные обратной связи от потребителей;

- документы системы менеджмента качества регламентирующего характера, такие как политика и цели в области качества, руководство по качеству, планы по качеству, стандарты (процедуры) предприятия, регламенты, положения, инструкции, внешняя нормативная и техническая документация, договоры, контракты и др.;

- документы, содержащие данные (записи) о процессах, такие как акты (отчеты) по внутренним аудитам, отчеты об анализе со стороны руководства, протоколы испытаний продукции, решения совещаний по проблемам качества, информация по результатам мониторинга и измерений продукции и процессов, рабочие журналы, заполненные ведомости, формы, бланки и др.;

- данные обзоров, анализов результативности функционирования системы менеджмента качества;

- результаты оценки и рейтинги поставщиков.

Информация, полученная из указанных источников, должна быть проверена на объективность, непротиворечивость и адекватность.

7.5.2.3 Формирование выводов (наблюдений) аудита

Полученная и проверенная информация по объектам аудита или свидетельства аудита должны быть сопоставлены с критериями аудита (требованиями ГОСТ Р ИСО 9001, для получения выводов (наблюдений) аудита.

Выводы аудита могут указывать на соответствие или несоответствие системы менеджмента качества проверяемой организации критериям аудита. Выводы аудита могут касаться и предотвращения возможных отклонений, тогда они классифицируются как уведомления.

Члены комиссии должны совместно систематически анализировать выводы на соответствующих этапах аудита.

Свидетельства должны быть обобщены с указанием мест наблюдений, функций, процессов и требований, которые были проверены. Несоответствия, уведомления и подтверждающие их свидетельства аудита должны быть зарегистрированы.

7.5.2.4 Классификация и регистрация наблюдений

В ходе аудита системы менеджмента качества все обнаруженные отклонения объектов аудита от требований ГОСТ Р ИСО 9001 и документов системы менеджмента качества организации должны быть тщательно рассмотрены и классифицированы комиссией согласно 3.17 - 3.19 в зависимости от степени несоответствия рассматриваемого объекта проверки.

Наблюдения, сделанные в ходе аудита, классифицируют с целью выполнения проверяемой организацией корректирующих действий (для устранения причин несоответствий), адекватных последствиям выявленных несоответствий, принятия органом по сертификации решения о выдаче, подтверждении, приостановлении или отмене действия сертификата, а также расширения или сужения области сертификации.

Более чем пятикратное повторение малозначительных несоответствий одного вида (связанных с одним и тем же элементом системы менеджмента качества) дает основание для перевода их в значительное несоответствие.

Окончательное решение по отнесению несоответствий к определенным категориям принимает председатель комиссии.

Обнаруженные несоответствия и уведомления регистрируют на бланках (приложения К и Л). Исправления на бланках не допускаются.

Зарегистрированные несоответствия и уведомления официально представляют руководству проверяемой организации.

Примечание - В случае разногласий с уполномоченным представителем проверяемой организации, касающихся выводов комиссии, председатель комиссии решает вопросы с руководством организации.

7.5.2.5 Действия с несоответствиями и уведомлениями

Действия с несоответствиями и уведомлениями состоят из следующих этапов:

- комиссия официально представляет руководству проверяемой организации зарегистрированные несоответствия и уведомления, при этом возможна дискуссия и рассмотрение аргументов организации по поводу зарегистрированных несоответствий и уведомлений;

- если несоответствия и уведомления комиссией доказаны, то уполномоченный представитель руководства проверяемой организации ставит свою подпись на бланках регистрации несоответствий и уведомлений;

- организация проводит анализ причин несоответствий и уведомлений и устанавливает корректирующие мероприятия;

- в случае возникновения затруднений у проверяемой организации при планировании корректирующих действий в период сертификационного аудита орган по сертификации вправе предоставить дополнительно одну неделю (от даты проведения заключительного совещания) для завершения указанной работы. Орган по сертификации после представления плана корректирующих мероприятий в недельный срок готовит заключение по представленному плану. При наличии замечаний к плану орган по сертификации извещает об этом проверяемую организацию, которая после этого в течение недели проводит доработку плана.

Срок, отводимый в плане на выполнение запланированных корректирующих действий, не должен превышать:

- 12 недель - при наличии одного и более значительных несоответствий;

- 5 недель - при наличии только малозначительных несоответствий и уведомлений.

Если в орган по сертификации не представлен согласованный план корректирующих действий, процесс сертификации должен быть прекращен.

Возобновление процесса сертификации может быть осуществлено только с подачи повторной заявки на сертификацию (п. 7.2).

7.5.3 Подготовка акта по результатам аудита, проведение заключительного совещания, утверждение и рассылка акта

7.5.3.1 Подготовка акта по результатам аудита

Председатель комиссии несет ответственность за подготовку и содержание акта по результатам аудита.

До проведения заключительного совещания комиссия проводит следующую работу:

- анализирует наблюдения (выводы) аудита и любую другую информацию, собранную в ходе аудита и соответствующую его целям;

- анализирует выявленные несоответствия и уведомления;

- оформляет заключение по результатам аудита, принимая во внимание выборочный характер рассмотрения объектов аудита;

- подготавливает рекомендации органу по сертификации для принятия решения о выдаче (невыдаче) сертификата соответствия системы менеджмента качества организации;

- обсуждает последующие действия (проведение инспекционного контроля), если это включено в план аудита.

Результаты аудита, выводы и рекомендации комиссия оформляет в виде акта (приложение М).

Акт должен содержать:

- идентификацию органа по сертификации;

- идентификацию организации-заказчика;

- цель и область аудита;

- основание для проведения аудита;

- время и место проведения аудита;

- состав комиссии по сертификации с идентификацией председателя и членов комиссии, включая технических экспертов;

- идентификацию нормативной базы аудита;

- результаты аудита;

- выводы комиссии;

- адреса рассылки акта.

К акту должны быть приложены:

- план аудита;

- заполненные бланки регистрации несоответствий и уведомлений;

- справки о жалобах потребителей;

- листы регистрации должностных лиц проверяемой организации, присутствующих на предварительном и заключительном совещаниях.

К акту могут быть приложены:

- протоколы испытаний продукции;

- отчеты о качестве продукции за определенный период времени;

- данные по анализу состояния производственной среды в организации за определенный период времени;

- данные по анализу корректирующих мероприятий, выполненных в период работы комиссии при сертификации системы менеджмента качества и др.

7.5.3.2 Проведение заключительного совещания

Заключительное совещание проводят под руководством председателя комиссии с целью представления выводов и заключений по аудиту системы менеджмента качества.

К совещанию должен быть подготовлен проект акта по результатам аудита.

На заключительном совещании должны присутствовать руководство и ведущие специалисты проверяемой организации (заказчика) и все члены комиссии.

Совещание носит официальный характер. Участники совещания регистрируются.

На заключительном совещании председатель комиссии подробно докладывает о результатах проверки и выводах комиссии.

Примечание - Любые разногласия по выводам и заключениям аудита между комиссией и проверяемой организацией должны обсуждаться и по возможности быть разрешены до заключительного совещания. Если согласие не достигнуто, оба мнения протоколируются. Проверяемая организация при этом вправе обратиться в комиссию по апелляциям органа по сертификации или в комиссию по апелляциям Регистра систем качества.

7.5.3.3 Утверждение и рассылка акта по результатам аудита

Акт подписывают председатель комиссии, члены комиссии и представляют для ознакомления и подписи руководителю проверяемой организации или его представителю. Акт печатают, как правило, в двух экземплярах, если другое не предусмотрено.

Один экземпляр акта передают проверяемой организации (заказчику), другой - органу по сертификации.

Экземпляры акта являются собственностью проверяемой организации и органа по сертификации, при этом члены комиссии и проверяемая организация должны строго соблюдать требования конфиденциальности.

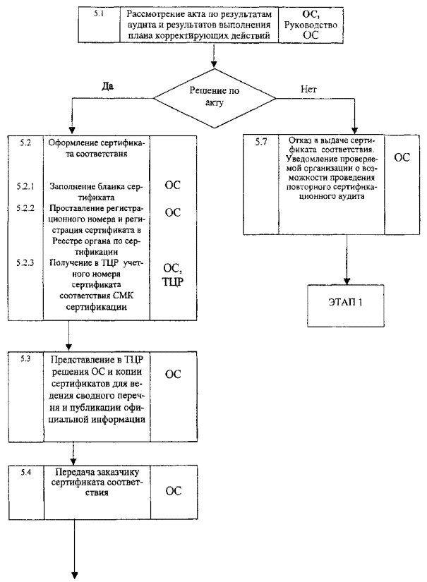
7.6 Завершение сертификации, выдача и регистрация сертификата соответствия системы менеджмента качества (этап 5)

7.6.1 Общие положения

Работу комиссии считают завершенной, если выполнены все работы, предусмотренные планом аудита, и акт по результатам аудита подписан сторонами и разослан.

Сертификация системы менеджмента качества не может считаться завершенной, пока не будут проведены все запланированные корректирующие действия и проверена результативность их выполнения.

Документы, имеющие отношение к аудиту, хранят или уничтожают в соответствии с процедурами органа по сертификации и существующими законодательными, нормативными и контрактными требованиями.

Документы по сертификации систем менеджмента качества хранят в органе по сертификации в соответствии с правилами, установленными в соответствующих документах органа по сертификации.

Комиссия и руководство органа по сертификации не должны раскрывать содержание документов и другой информации, полученной во время аудита, а также актов по результатам аудита любой другой стороне без согласия проверяемой организации (заказчика).

7.6.2 Критерии для принятия решения о соответствии/несоответствии системы менеджмента качества установленным требованиям и решения о выдаче/невыдаче сертификата

7.6.2.1 Критерием для принятия решения о соответствии/несоответствии системы менеджмента качества установленным требованиям является выполнение/невыполнение проверяемым предприятием корректирующих мероприятий в согласованные сроки и признание/непризнание органом по сертификации их результативности. Порядок работы - по 7.6.3.

7.6.2.2 Решение о выдаче или отказе в выдаче сертификата соответствия системы менеджмента качества принимает руководство органа по сертификации на основании рассмотрения акта по результатам аудита и результатов выполнения плана корректирующих действий. Решения должны принимать лица, не принимавшие участие в аудите.

Решение о выдаче сертификата может быть принято только после устранения всех зарегистрированных несоответствий, т.е. после рассмотрения письменного отчета проверяемой организации (органом по сертификации) о проведенных корректирующих действиях и/или после рассмотрения результатов выполнения корректирующих действий «на месте» (п. 7.6.3).

При отказе в выдаче сертификата соответствия системы менеджмента качества орган по сертификации уведомляет проверяемую организацию о возможности проведения на договорной основе повторного сертификационного аудита (п. 7.6.3).

Примечание - Все повторные аудиты (посещения проверяемой организации) и командировочные расходы экспертов проверяемая организация (заказчик) оплачивает сверх сумм за сертификацию системы менеджмента качества.

Форма решения о выдаче сертификата соответствия системы менеджмента качества приведена в приложении Н.

7.6.3 Контроль выполнения корректирующих действий по устранению несоответствий по результатам сертификационного аудита

Контроль выполнения корректирующих действий по установленным несоответствиям орган по сертификации систем качества планирует и осуществляет после получения письменного отчета проверяемой организации об устранении несоответствий.

Выполнение корректирующих действий по значительным несоответствиям контролируют при обязательном посещении экспертом(ами) органа по сертификации проверяемой организации.

При контроле выполнения корректирующих действий по малозначительным несоответствиям допускается рассмотрение письменного отчета проверяемой организации, если содержание корректирующего действия не требует обязательной проверки «на месте».

Во время аудита с целью контроля выполнения корректирующих действий эксперт проверяет фактическое внедрение и результативность корректирующих действий.

Если корректирующие действия по несоответствиям при наличии соответствующих объективных свидетельств признаны неудовлетворительными, то результат аудита и оценки системы менеджмента качества организации признают отрицательным, и орган по сертификации систем качества уведомляет организацию об отказе в выдаче сертификата.

7.6.4 Оформление сертификата соответствия системы менеджмента качества

При положительном решении орган по сертификации оформляет сертификат соответствия системы менеджмента качества установленного образца. В приложении П приведены формы, содержание и образцы заполнения сертификатов соответствия (формы 1 - 4) и приложений к сертификатам соответствия (формы 5 - 7).

В органе по сертификации на сертификате проставляют регистрационный номер, затем сертификат регистрируют в Реестре органа по сертификации.

Регистрационный номер сертификата приведен на образце заполнения сертификата соответствия системы менеджмента качества в приложении (формы 4 и 5).

Сертификат может иметь приложение.

Регистрационный номер сертификата формируется по структуре:

Примечания

1 Коды типов сертифицированного объекта:

К - сертифицированная система менеджмента качества;

Р - сертифицированное производство.

2 Код страны расположения организации, сертифицировавшей систему менеджмента качества, определяют по межгосударственному классификатору стран мира МК (ИСО 3166) 004-97.

7.6.5 Руководитель органа по сертификации или его заместитель и председатель комиссии, проводившей аудит, подписывают сертификат. На сертификате ставят печать органа по сертификации. Учетный номер сертификата выдает Технический центр Регистра по запросу органа по сертификации. Учетный номер проставляют под нижней рамкой сертификата. Учетный номер представляет собой порядковый номер сертификата из пяти знаков в сводном перечне Регистра. После оформления сертификата соответствия системы менеджмента качества орган по сертификации представляет в Технический центр Регистра свое решение и копию сертификатов для ведения сводного перечня и публикации официальной информации.

Срок действия сертификата соответствия системы менеджмента качества - три года.

Примечание - При форс-мажорных обстоятельствах держатель сертификата может обратиться в орган по сертификации о продлении действия сертификата на срок не более шести месяцев. Орган по сертификации, рассмотрев просьбу держателя сертификата, направляет в адрес держателя сертификата уведомление о принятом решении.

7.6.6 В случае отказа в выдаче сертификата заказчик имеет право в месячный срок направить в комиссию по апелляциям органа по сертификации или в комиссию по апелляциям Системы сертификации ГОСТ Р заявление о несогласии с заключением комиссии.

По результатам рассмотрения апелляции может быть назначен повторный аудит с другим составом комиссии.

Одновременно с оформлением сертификата орган по сертификации и держатель сертификата заключают договор на проведение инспекционного контроля на срок действия сертификата.

Орган по сертификации передает проверяемой организации решение о выдаче сертификата, проект договора на проведение инспекционного контроля и вручает сертификат соответствия. Одновременно орган по сертификации дает письменное разрешение держателю сертификата на использование знака соответствия системы менеджмента качества с указанием формы такого использования.

7.7 Инспекционный контроль сертифицированных систем менеджмента качества (этап 6)

7.7.1 Объекты проверки и оценки при инспекционном контроле - по 6.1.

7.7.2 При инспекционном контроле общий объем проверки должен составлять примерно 1/3 элементов системы менеджмента качества (по ГОСТ Р ИСО 9001), а также следующую совокупность обязательных элементов, проверяемых при каждой проверке (в скобках указаны номера подразделов ГОСТ Р ИСО 9001):

- область применения (1.2);

- общие требования (4.1);

- требования к документации (4.2);

- обязательства руководства (5.1);

- политика в области качества (5.3);

- планирование (5.4);

- ответственность, полномочия и обмен информацией (5.5);

- анализ со стороны руководства (5.6);

- обеспечение ресурсами (6.1);

- мониторинг и измерения (8.2);

- удовлетворенность потребителей (8.2.1);

- улучшение (8.5);

- использование сертификата и знака соответствия.

7.7.3 Правила и порядок проведения инспекционного контроля соответствуют проведению сертификации систем менеджмента качества (7.4 - 7.6).

7.7.4 Если при инспекционном контроле обнаруживают невыполнение запланированных корректирующих действий по устранению несоответствий по результатам предыдущего инспекционного контроля, то орган по сертификации принимает решение о приостановлении действия выданного сертификата на срок до трех месяцев. Сообщение об этом по информации органа по сертификации публикуется в Вестнике Госстандарта России. Если указанные корректирующие действия не выполнены по истечении трех месяцев, то это должно повлечь за собой отзыв сертификата соответствия системы менеджмента качества. Сообщение об этом публикуется в Вестнике Госстандарта России.

7.7.5 Если при инспекционном контроле будут установлены значительные несоответствия, то они должны быть устранены в течение двух недель после завершения инспекционного контроля. Орган по сертификации должен проверить результаты корректирующих действий в течение 3 мес. Если результаты корректирующих действий будут признаны органом по сертификации неудовлетворительными или проверяемая организация не предоставит органу по сертификации возможности проверки результатов корректирующих действий, это должно повлечь за собой отзыв сертификата соответствия системы менеджмента качества. Сообщение об этом по информации органа по сертификации публикуется в Вестнике Госстандарта России.

7.7.6 Если при инспекционном контроле будут установлены малозначительные несоответствия, то они должны быть устранены в согласованные с проверяемой организацией сроки, но не позднее пяти недель после завершения инспекционного контроля. Отчет об устранении установленных малозначительных несоответствий проверяемая организация направляет в орган по сертификации.

Орган по сертификации должен проверить результаты корректирующих действий в период последующего инспекционного контроля.

Если на основании анализа отчета результаты будут признаны неудовлетворительными, то орган по сертификации вправе осуществить проверку корректирующих действий «на месте».

Примечание - Все повторные аудиты (посещения проверяемой организации) и командировочные расходы экспертов проверяемая организация (заказчик) оплачивает сверх сумм за инспекционный контроль системы менеджмента качества.

7.7.7 Орган по сертификации должен проверить результаты учета сделанных уведомлений в период последующего инспекционного контроля.

8 Ресертификация систем менеджмента качества

Этапы ресертификации системы менеджмента качества приведены в 7.2 - 7.7.

9 Расширение или сужение области сертификации

9.1 Расширение области сертификации

9.1.1 Область сертификации расширяют при изменении:

- стадий жизненного цикла в рамках группы однородной продукции, применительно к которой была сертифицирована система менеджмента качества;

- номенклатуры продукции, выпускаемой организацией.

9.1.1.1 Держатель сертификата, желающий расширить область сертификации, направляет письмо-обращение в орган по сертификации.

В случае обращения держателя сертификата по вопросу расширения области сертификации при изменении стадий жизненного цикла в рамках группы однородной продукции орган по сертификации после оплаты держателем сертификата договора проводит аудит и оценку дополнительных процедур системы менеджмента качества в соответствии с порядком, указанным в разделе 7.

9.1.1.2 В случае обращения в орган по сертификации держателя сертификата о расширении области сертификации при изменении номенклатуры продукции, выпускаемой организацией, процедура сертификации системы менеджмента качества соответствует разделу 7.

По желанию держателя сертификата для иной продукции может быть выдан один из двух документов:

- отдельный сертификат только на расширенную область сертификации;

- сертификат, учитывающий прежнюю и расширенную области сертификации, при этом предыдущий сертификат отменяют и держатель сертификата сдает аннулированный сертификат в орган по сертификации.

9.1.1.3 На основании акта по результатам аудита орган по сертификации оформляет решение о расширении области сертификации по форме приложения Р.

Решение органа по сертификации о расширении области сертификации и копия сертификата (сертификатов) орган по сертификации направляет в Технический центр Регистра Госстандарта России для ведения сводного перечня сертифицированных систем менеджмента качества и публикации официальной информации.

9.2 Сужение области сертификации

9.2.1 Сужение области сертификации проводится по инициативе:

- держателя сертификата;

- органа по сертификации по результатам инспекционного контроля, ресертификации либо при получении информации об изменениях в системе менеджмента качества организации, которые могут повлиять на выполнение требований, предъявляемых при сертификации.

9.2.1.1 В случае сужения области сертификации по инициативе держателя сертификата последний направляет в орган по сертификации письмо-обращение с указанием исключаемого вида продукции или исключаемых стадий жизненного цикла продукции.

На основании письма-обращения держателя сертификата орган по сертификации принимает решение о сужении области сертификации (приложение С).

Решение органа по сертификации о сужении области сертификации и копию сертификата направляют в Технический центр Регистра Госстандарта России для ведения сводного перечня и публикации официальной информации.

Действие предыдущего сертификата отменяется, при этом держатель сертификата сдает отмененный сертификат в орган по сертификации.

9.2.1.2 Рекомендации о сужении области сертификации по инициативе органа по сертификации оформляют в виде акта.

Орган по сертификации принимает решение о сужении области сертификации, оформляет его по форме приложения С и направляет его вместе с копией сертификата в Технический центр Регистра Госстандарта России для ведения сводного перечня и публикации официальной информации. При этом действие предыдущего сертификата отменяется. Держатель сертификата направляет отмененный сертификат в орган по сертификации.

10 Применение сертификата соответствия и знака соответствия системы менеджмента качества

Орган по сертификации должен контролировать использование сертификатов и знаков соответствия системы менеджмента качества.

Организация, являясь держателем сертификата, имеет право использовать знак соответствия для демонстрации сертификации системы менеджмента качества только в той форме, которая разрешена в письменном виде органом по сертификации.

Данный знак соответствия не допускается наносить на продукцию или применять таким образом, чтобы его можно было интерпретировать как знак соответствия продукции.

Орган по сертификации должен предпринимать соответствующие действия в случаях неправильных ссылок на систему сертификации или вводящих в заблуждение случаев применения сертификатов и знаков соответствия, выявленных в рекламе, каталогах, на сайтах Интернета и т.п.

Примечание - Такие меры могут включать проведение держателем сертификата корректирующих действий, отмену действия сертификата, публикацию о допущенных нарушениях, если необходимо, то и иные правовые действия, соответствующие действующему законодательству.

11 Оплата работ

Оплату работ по сертификации систем менеджмента качества производят на основе договора. Размер оплаты в основном зависит от численности работающих (масштаба предприятия), а также сложности продукции, применяемых технологических процессов и количества мест расположения производств (филиалов, производственных площадок и/или дочерних предприятий).

12 Рабочий язык

Все документы, используемые, регистрируемые и выдаваемые в рамках Регистра Систем качества Системы сертификации ГОСТ Р, а также переписку, оформляют на русском языке. По желанию проверяемой организации сертификаты соответствия и другие документы могут быть выданы органом по сертификации на английском, немецком или французском языках.

ПРИЛОЖЕНИЕ А

(обязательное)

Блок-схема деятельности по сертификации систем менеджмента качества

Условные обозначения:

З - заказчик,

ДС - держатель сертификата,

ОС - орган по сертификации,

ТЦР - Технический центр Регистра систем качества Госстандарта России,

СМК - Система менеджмента качества.

Этап 1. Организация работ

Этап 2. Анализ документов системы менеджмента качества проверяемой организации (заказчика)

* При поэтапной оплате работ по договору.

Этап 3. Подготовка к аудиту «на месте»

Этап 4. Проведение аудита «на месте» и подготовка акта по результатам аудита

Этап 5. Завершение сертификации, выдача и регистрации сертификата соответствия системы менеджмента качества

ПРИЛОЖЕНИЕ Б

(обязательное)

Форма заявки на проведение сертификации системы менеджмента качества

______________________________

наименование органа по сертификации

______________________________

адрес

ЗАЯВКА НА ПРОВЕДЕНИЕ СЕРТИФИКАЦИИ СИСТЕМЫ МЕНЕДЖМЕНТА КАЧЕСТВА В СИСТЕМЕ СЕРТИФИКАЦИИ ГОСТ Р

__________________________________________________________________________

наименование организации-заказчика

__________________________________________________________________________

код ОКПО

Юридический адрес________________________________________________________

Телефон_________________ Факс__________________ E-mail____________________

Банковские реквизиты______________________________________________________

__________________________________________________________________________

в лице____________________________________________________________________

фамилия, имя, отчество руководителя

просит провести сертификацию системы менеджмента качества применительно к продукции (услуге)

__________________________________________________________________________

наименование продукции (услуги),

__________________________________________________________________________

код ОКП* или ОКУН** и др.

на соответствие требованиям стандарта_______________________________________

наименование и обозначение стандарта

Данные о внедрении системы менеджмента качества____________________________

номер и дата распорядительного документа

Данные о сертификате соответствия системы менеджмента качества***____________

__________________________________________________________________________

наименование системы сертификации,

__________________________________________________________________________

наименование органа по сертификации систем менеджмента качества

__________________________________________________________________________

номер и дата выдачи сертификата,

__________________________________________________________________________

обозначение документации изготовителя (исполнителя),

__________________________________________________________________________

по которой выпускается продукция (услуга) (стандарты, ТУ, КД и др.)

Общие сведения об организации______________________________________________

общая численность работающих,

__________________________________________________________________________

численность работающих на производстве продукции, на которую распространяется заявка

Заказчик обязуется выполнять правила сертификации в Системе сертификации ГОСТ Р

Дополнительные сведения___________________________________________________

__________________________________________________________________________

Приложения:

1. Перечень организаций - основных потребителей продукции (услуг)

2. Данные организации - разработчика продукции

__________________________________________________________________________

наименование организации-разработчика

Руководитель организации___________________________________________________

подпись                                инициалы, фамилия

Главный бухгалтер_________________________________________________________

подпись                                инициалы, фамилия

М. П.                                              Дата

* Для продукции - ОК 005-93.

** Для услуг - ОК 002-93.

*** Заполняют при наличии ранее выданного сертификата.

ПРИЛОЖЕНИЕ В

(обязательное)

Форма извещения о результатах рассмотрения заявки на сертификацию системы менеджмента качества

Директору_____________________________

наименование организации-заказчика

__________________________________________

инициалы, фамилия

ИЗВЕЩЕНИЕ О РЕЗУЛЬТАТАХ РАССМОТРЕНИЯ ЗАЯВКИ НА СЕРТИФИКАЦИЮ СИСТЕМЫ МЕНЕДЖМЕНТА КАЧЕСТВА

__________________________________________________________________________

наименование организации-заказчика

Орган по сертификации_____________________________________________________

наименование органа по сертификации

рассмотрел заявку и представленные документы________________________________

__________________________________________________________________________

наименование организации-заказчика

на сертификацию системы менеджмента качества в соответствии с требованиями стандарта

__________________________________________________________________________

обозначение стандарта

и принял решение__________________________________________________________

принять или не принять заявку

Основание для отрицательного решения:_______________________________________

__________________________________________________________________________

заполняется при отрицательном решении

Приложение: Проект договора на проведение сертификации

Руководитель органа по сертификации

_____________________________________________________________________

наименование органа по сертификации                    подпись                                  инициалы, фамилия

Дата

ПРИЛОЖЕНИЕ Г

(обязательное)

Перечень документов и сведений для анализа документации системы менеджмента качества

1 Политика в области качества (если она выполнена как отдельный документ и не включена в Руководство по качеству).

2 Руководство по качеству.

3 Структурная схема проверяемой организации с указанием административных и инженерных служб, основных и вспомогательных подразделений (цехов, участков, производственных площадок).

4 Структурная схема службы качества проверяемой организации (если она не включена в общую структурную схему организации).

5 Перечень документов системы менеджмента качества.

6 Документированные процедуры, требуемые ГОСТ Р ИСО 9001:

- управление документацией;

- управление записями;

- внутренние аудиты;

- управление несоответствующей продукцией;

- корректирующие действия;

- предупреждающие действия.

7 Документы, необходимые организации для обеспечения эффективного планирования, осуществления процессов и управления ими в соответствии с действующим перечнем документов системы менеджмента качества (выборочно, по запросу органа по сертификации).

8 Записи по результатам внутренних аудитов СМК.

9 Перечень основных потребителей продукции (отечественных и зарубежных).

10 Перечень выпускаемой продукции, применительно к которой сертифицируется система менеджмента качества с указанием нормативных документов (ГОСТ, ТУ и др.).

11 Копии справок (отчетов) о качестве выпускаемой продукции (за 1 - 3 года), в том числе:

- обобщенные сведения о качестве изготовления продукции по результатам приемочного контроля за год (по показателям, принятым в организации);

- обобщенные сведения о дефектах продукции, выявленных у потребителей (по данным контрольно-надзорных органов, рекламаций и жалоб потребителей).

12 Сведения о проверках продукции государственными контрольно-надзорными органами (за 1 - 3 года).

13 Сведения о подразделении (организации), проводящем приемосдаточные и периодические испытания продукции, в том числе сведения о его аккредитации в Системе сертификации ГОСТ Р.

14 Сведения об основных поставщиках сырья, материалов, комплектующих.

15 Перечень валидируемых (специальных) процессов производства и обслуживания.

Примечания

1 Все документы передают в орган по сертификации в двух экземплярах (один - на бумажном носителе и один - на электронном носителе информации).

2 Состав необходимых документов, включая записи, представляемых организацией в орган по сертификации, уточняется в каждом конкретном случае и определяется органом по сертификации.

3 Орган по сертификации вправе затребовать от проверяемой организации дополнительные документы, включая записи, необходимые для анализа.

ПРИЛОЖЕНИЕ Д

(справочное)

Оценка трудозатрат на проведение аудита

Д.1 Оценка трудозатрат на проведение аудита систем менеджмента качества организаций различных размеров и сложности, функционирующих в различных отраслях экономики, проводится на основе Приложения 2 к Руководящим указаниям МФА по применению Руководства ИСО/МЭК 62:1996 [2].

Органу по сертификации необходимо определять затраты времени на аудит при первоначальном аудите (сертификация систем менеджмента качества), инспекционном контроле и ресертификации систем менеджмента качества для каждого заказчика.

Приведенные рекомендации не определяют минимальные/максимальные трудозатраты, но устанавливают номинальное значение трудозатрат, которое может быть использовано органами по сертификации для определения соответствующих затрат времени на аудит системы менеджмента качества с учетом специфики проверяемой организации. Использование процедур уточнения в сочетании с приведенными номинальными значениями при планировании аудита позволяет обеспечивать методически устойчивый подход к определению соответствующих трудозатрат на аудит. Карта затрат времени на аудит (таблица Д.1) содержит среднее число человеко-дней (опытные данные), затрачиваемое на сертификацию системы менеджмента качества организации с определенной численностью работающих.

Поэтому исходная величина для определения трудозатрат на аудит - численность работников.

Д.2 Опыт также показывает, что для организации с определенной численностью возможны отклонения от приведенных в таблице значений. Варианты затрат времени на каждый аудит зависят от размера организации, области аудита, разнообразия производственных процессов и видов деятельности и состояния подготовленности к аудиту. Орган по сертификации должен исследовать эти и другие факторы в ходе анализа при заключении договора для оценки их потенциального влияния на необходимые затраты времени на аудит. Поэтому карту затрат времени на аудит можно использовать только в сочетании с учетом значимости соответствующих факторов.

Таблица Д.1 - Карта затрат времени на аудит

Численность работников

Трудозатраты на первоначальный аудит (человеко-дни)

Факторы, увеличивающие или уменьшающие затраты времени

Полные трудозатраты на аудит

1 - 10

2

 

 

11 - 25

3

 

 

26 - 45

4

 

 

46 - 65

5

 

 

66 - 85

6

 

 

86 - 125

7

 

 

126 - 175

8

 

 

176 - 275

9

 

 

276 - 425

10

 

 

426 - 625

11

 

 

626 - 875

12

 

 

876 - 1175

13

 

 

1176 - 1550

14

 

 

1551 - 2025

15

 

 

2026 - 2675

16

 

 

2676 - 3450

17

 

 

3451 - 4350

18

 

 

4351 - 5450

19

 

 

5451 - 6800

20

 

 

6801 - 8500

21

 

 

8501 - 10700

22

 

 

> 10700

Прогрессивное увеличение по типу, приведенному выше

 

 

Примечания

1 К категории работников, использованной в таблице, относят всех (физических) лиц, деятельность которых соотносится с областью сертификации, охватываемой системой менеджмента качества. Общая численность работников включает всех работников (постоянных, временных, сезонных), которые находятся на рабочих местах во время аудита.

Численность частично загруженных работников должна быть приведена к численности при их полной загрузке. Это значение зависит от соотношения количества рабочих часов этих работников и длительности полного рабочего дня.

2 Затраты времени на аудит учитывают время, израсходованное экспертом (аудитором) или комиссией (группой аудита) на планирование (включая, соответственно, анализ документов вне производственной площадки), взаимодействие с организацией, персоналом, рассмотрение записей, документации, процессов и написание акта (отчета). Дополнительное время для планирования и/или написания акта (отчета) не должно выражаться в сокращении времени на аудит «на месте». Время, затраченное экспертами на поездки, в этих расчетах не учитывают, оно принимается как дополнительное к значениям, приведенным в карте затрат времени на аудит.

3 Затраты времени на аудит, приводимые в карте, указаны в виде человеко-дней. Рабочий день аудитора обычно представляет собой полный 8-часовой рабочий день. Количество человеко-дней, используемых для аудита, может не сокращаться на начальном этапе планирования путем программирования большей продолжительности рабочего дня.

4 Затраты времени на инспекционный контроль для данной организации должны быть пропорциональны времени, затраченному на сертификацию системы менеджмента качества, и составляют примерно 1/3 времени, затраченного на сертификацию системы менеджмента качества. Планируемые затраты времени на инспекционный контроль должны время от времени пересматриваться с учетом изменений в организации, доработок системы и т.п., по крайней мере, к моменту проведения ресертификации.

5 Полные затраты времени на ресертификацию будут зависеть от выводов, сделанных по результатам инспекционного контроля. Затраты времени на ресертификацию должны быть пропорциональны времени, затраченному на первоначальную сертификацию системы менеджмента качества той же организации и должны составлять примерно 2/3 времени, которое бы потребовалось на первоначальную сертификацию системы менеджмента качества той же организации на момент ее ресертификации. Затраты времени на ресертификацию превышают затраты времени на обычный инспекционный контроль, но если ресертификацию проводят во время планового инспекционного контроля, то времени, отпущенного на ресертификацию, будет достаточно и для выполнения требований к инспекционному контролю.

Д.3 Карта затрат времени на аудит, приведенная выше, содержит среднее число человеко-дней, затрачиваемых на аудит, она может быть использована для планирования аудита путем определения номинального значения трудозатрат, основанного на численности работников, с последующим уточнением (увеличением или уменьшением номинального значения) путем учета весовых коэффициентов значимых факторов, характерных для проверяемой организации.

Д.4 После того как определены трудозатраты на аудит типичной организации с определенной численностью работников, следует учесть факторы, влияющие на затраты времени на аудит конкретной проверяемой организации.

К факторам, которые увеличивают трудозатраты на аудит, относят:

- сложную логистику организации, включающей несколько отдельных зданий или мест проведения работ;

- наличие нескольких рабочих языков в организации (требуются переводчики) или трудностей обеспечения доступа отдельных экспертов на рабочие места;

- масштаб организации (большая численность работников);

- высокую степень законодательного регулирования (производство пищевых продуктов, напитков, аэрокосмическая промышленность, ядерная энергетика и т.п.);

- наличие процессов высокой сложности или уникальной деятельности;

- наличие процессов, в которых используют комбинацию программно-технических средств, сложное технологическое оборудование.

К факторам, которые могут снижать трудозатраты на аудит, относят:

- организации, не отвечающие за проектирование или выпускающие стандартную продукцию;

- наличие продукции и/или процессов с низким уровнем или отсутствием риска;

- наличие информации о том, что система менеджмента качества организации была ранее сертифицирована на соответствие другому стандарту тем же самым органом по сертификации;

- очень небольшую производственную площадь с малым числом работников (например, только офис);

- простые виды деятельности;

- высокий процент работников, выполняющих одну и ту же работу, простые задания.

Д.5 Для эффективного аудита должны быть рассмотрены все особенности системы менеджмента качества, процессов и продукции/услуг организации и сделаны уточнения затрат времени с учетом этих факторов (изменения относительно базовых значений в ту или иную сторону). Во всех случаях, когда такие уточнения относительно значений, приведенных в таблице, проведены, эти изменения вместе с соответствующими свидетельствами должны быть зарегистрированы.

Желательно, чтобы в сумме все уточнения затрат времени, сделанные для организации, учитывающие все факторы, изменили бы необходимое время для проведения сертификации системы менеджмента качества не более чем на 30 % относительно базовых значений, приведенных в таблице.

ПРИЛОЖЕНИЕ Е

(обязательное)

Форма плана аудита системы менеджмента качества

УТВЕРЖДАЮ

Руководитель органа по сертификации

____________________________________

наименование органа по сертификации

____________________________________

подпись                         инициалы, фамилия

«___»_____________ ____ г.

ПЛАН АУДИТА СИСТЕМЫ МЕНЕДЖМЕНТА КАЧЕСТВА, ДЕЙСТВУЮЩЕЙ НА

_______________________________________________________________

наименование проверяемой организации

1 ЦЕЛЬ И ОБЛАСТЬ АУДИТА

Аудит и оценка системы менеджмента качества________________________________

__________________________________________________________________________

наименование проверяемой организации

на соответствие требованиям________________________________________________

наименование нормативных документов

применительно к продукции_________________________________________________

2 ВРЕМЯ ПРОВЕДЕНИЯ АУДИТА:___________________________________________

3 СОСТАВ КОМИССИИ

__________________________________________________________________________

__________________________________________________________________________

__________________________________________________________________________

4 ОБЪЕКТЫ АУДИТА

Порядковый номер

Проверяемые подразделения организации

Проверяемые элементы СМК (ГОСТ Р ИСО 9001-2001) (ИСО 9001:2000)

Дата аудита

Эксперт

Представитель проверяемой организации

1

2

3

4

5

6

 

 

 

 

 

 

5 ТРЕБОВАНИЯ КОНФИДЕНЦИАЛЬНОСТИ

Комиссия (пункт 3 настоящего плана) обязуется не разглашать конфиденциальную информацию, полученную в ходе аудита системы менеджмента качества

__________________________________________________________________________

наименование проверяемой организации

и не передавать материалы оценки третьим лицам без согласия сторон, участвующих в сертификации.

6 ДОПОЛНИТЕЛЬНЫЕ СВЕДЕНИЯ (в случае необходимости): указывается: рабочий язык аудита; методы классификации несоответствий; форма и структура акта, материально-техническое обеспечение деятельности по аудиту)

СОГЛАСОВАНО

Представитель руководства                                   Председатель комиссии

_______________________________________________________________________

наименование проверяемой организации                     наименование органа по сертификации

_______________________________________________________________________

подпись                 инициалы, фамилия                    подпись                     инициалы, фамилия

ПРИЛОЖЕНИЕ Ж

(справочное)

Сертификация организаций, имеющих многочисленные производственные площадки

Ж.1 Указания по сертификации систем менеджмента качества организаций, имеющих многочисленные производственные площадки, разработаны на основе приложения 3 к Руководящим указаниям МФА по применению Руководства ИСО/МЭК 62:1996 [2].

Цель настоящего приложения - дать методические указания по оценке и, соответственно, сертификации системы менеджмента качества на соответствие ИСО 9001 организации со многими производственными площадками (филиалами). При этом обеспечивается, с одной стороны, чтобы оценка предусматривала адекватное доверие к оценке соответствия системы менеджмента качества, с другой стороны, чтобы оценка была практичной и реализуемой по экономическим и функциональным соображениям.

Обычно оценку для сертификации и последующего инспекционного контроля проводят на каждой производственной площадке (филиале) организации. Если производственная деятельность организации, являющаяся объектом сертификации, на различных производственных площадках, находящихся под общим руководством, одинаковая, то орган по сертификации может предусмотреть соответствующие процедуры представительной выборки проверяемых производственных площадок при оценке соответствия и инспекционном контроле.

Это неприменимо к оценке организаций, имеющих многочисленные производственные площадки (филиалы), когда на них реализуется различная производственная деятельность и/или услуги, хотя при этом площадки находятся под одной системой менеджмента качества. Условия, при которых органы по сертификации могут сократить выполнение обычной оценки на каждой производственной площадке, определяют конкретные обстоятельства.

Настоящее приложение применимо к органам по сертификации, которые используют выборку представителей при оценке и сертификации организаций с многочисленными производственными площадками. В исключительных случаях орган по сертификации может отклониться от этих критериев при условии, что по ним можно провести соответствующие уточнения. Эти уточнения при их оценке органом по сертификации должны продемонстрировать, что уточнения дают возможность обеспечить постоянство уровня доверия к результатам.

Ж.2 Организация с многими производственными площадками - организация, имеющая определенные централизованные функции (обычно относимые к центральному офису) по планированию, контролю или управлению деятельностью и сетью локальных офисов или филиалов (производственных площадок), полностью или частично выполняющих такую же деятельность. Такая организация не обязательно имеет единственное юридическое лицо, но все производственные площадки должны иметь узаконенную или договорную связь с центральным офисом организации и быть объектами общей системы менеджмента качества, которая создана и является объектом постоянного надзора со стороны центрального офиса. Это означает, что центральный офис имеет полное право на проведение корректирующих действий на любой из производственных площадок в рамках контракта между центральным офисом и производственными площадками.

Ж.3 Критерии выборки организаций

Ж.3.1 Продукция/услуги, выпускаемые всеми производственными площадками, должны быть, в основном, одного вида и производиться с использованием одинаковых методов и процедур.

Ж.3.2 Система менеджмента качества организации должна управляться централизованно в рамках единого плана и должна быть объектом анализа со стороны центрального руководства. Все производственные площадки (включая выполняющие центральную административную функцию) должны быть объектами программы внутреннего аудита организации и проверяться в соответствии с программой, предшествующей аудиту со стороны органа по сертификации.

Должно быть продемонстрировано, что центральный офис организации разработал систему менеджмента качества, и система отвечает требованиям ИСО 9001. Это должно включать также рассмотрение соответствующих регламентов.

Ж.3.3 Организация должна продемонстрировать способность собирать, анализировать данные со всех производственных площадок, включая центральный офис, и, при необходимости, инициировать изменения в системе менеджмента качества, если это требуется:

- документацией на систему и изменениями в системе;

- анализом со стороны руководства;

- претензиями к организации;

- результатами оценки корректирующих действий и

- результатами внутреннего аудита.

Ж.3.4 Не все организации, подпадающие под определение организации со многими производственными площадками, будут соответствовать критериям для выборки представителей (производственных площадок). В органах по сертификации должны быть процедуры по ограничениям на выбор таких организаций, если выборка представителей производственных площадок не обеспечивает достаточное доверие к оценке результативности системы менеджмента качества. К таким ограничениям относят:

- область или виды деятельности (например, основываясь на оценке риска или сложности, присущей данной области или виду деятельности);

- размер производственных площадок, выбранных для оценки организации;

- вариации характеристик системы менеджмента качества, связанных, например, с необходимостью частых обращений к использованию планов качества, адресованных к различным видам деятельности или с обращением к различным контрактам или регламентам;

- использование временных производственных площадок, которые функционируют под управлением системы менеджмента качества организации.

Ж.4 Критерии выборки органа по сертификации

Ж.4.1 До начала процесса сертификационного аудита орган по сертификации должен информировать организацию о критериях выборки и о том, что работы не будут продолжены, если какой-либо критерий не выполняется. Необходимо также проинформировать организацию, что сертификат не будет выдан, если при проведении аудита будут выявлены несоответствия в отношении этих критериев.

Ж.4.2 При начальном анализе договора с организацией идентифицируют сложность и масштаб деятельности, охватываемых системой менеджмента качества, являющейся объектом сертификации, и любые различия между производственными площадками для проведения представительной выборки.

Орган по сертификации должен идентифицировать основную функцию организации, которая будет указана в договоре на проведение сертификации.

Орган по сертификации должен проверить в каждом конкретном случае, на каких производственных площадках организации производят одинаковую продукцию или услуги при одних и тех же процедурах и методах. Если результаты исследования подтверждают, что все производственные площадки, включенные в процедуру оценки организации, удовлетворяют этим критериям, к отдельным площадкам может быть применена процедура выборки.

Если в организации по оказанию услуг не все производственные площадки готовы для одновременного прохождения процедур сертификации, необходимо проинформировать орган по сертификации о тех производственных площадках, которые организация хочет включить в сертификат.

Ж.4.3 Орган по сертификации должен иметь документированные процедуры для проведения оценки организации со многими производственными площадками, которые позволяют удостовериться, что одна и та же система менеджмента качества применима ко всем производственным площадкам и все критерии, изложенные в разделе Ж.3, выполнены.

Если в сертификационном аудите/инспекционном контроле участвуют несколько групп по аудиту, то орган по сертификации должен определить единственного ведущего аудитора, на которого должна быть возложена ответственность за взаимное согласование выводов всех групп аудита и получение общего акта (отчета).

Ж.4.4 Обращение с несоответствиями

Если несоответствия обнаружены на одной производственной площадке, то с помощью внутреннего аудита организации или при аудите со стороны органа по сертификации должно быть определено, как это может отразиться на других производственных площадках. Если обнаруживается, что выявленные на одной производственной площадке несоответствия характерны для всех площадок, то соответствующие корректирующие действия должны быть выполнены и в центральном офисе и на отдельных площадках. Если это не так, то организация должна уточнить ограничения на последующие действия.

Орган по сертификации должен потребовать подтверждения проведения корректирующих действий и увеличить размер выборки (количество представителей), пока не будет подтверждено восстановление контроля над ситуацией.

Если ко времени принятия решения любая производственная площадка имеет несоответствие, орган по сертификации должен отказать в сертификате всей совокупности площадок (филиалов) до выполнения необходимых корректирующих действий.

Не допускается исключать из области сертификации отдельную производственную площадку, на которой обнаружено несоответствие.

Ж.4.5 Сертификация

Должен быть выдан один сертификат с наименованием и адресом центрального офиса организации. Перечень производственных площадок, на которые распространяется сертификация, должен быть указан в сертификате, или в приложении к нему, или каким-либо иным способом. Область сертификации должна четко указывать, что сертифицированная деятельность выполняется на совокупности (сети) производственных площадок (филиалов), приведенных в перечне. Если область сертификации производственных площадок касается только части области деятельности организации, то ее применимость ко всем производственным площадкам должна быть четко зафиксирована в сертификате или приложении к нему.

Дополнительный сертификат может быть выдан организации для каждой производственной площадки, входящей в область сертификации, при условии, что он относится к той же области сертификации и включает ясную ссылку на основной сертификат.

Если центральный офис или любая из производственных площадок не полностью выполнили необходимые критерии для сохранения сертификата, то орган по сертификации должен отозвать сертификат.

Орган по сертификации должен вести перечень сертифицированных производственных площадок. Организация должна информировать орган по сертификации о закрытии какой-либо из производственных площадок. Отказ в предоставлении такой информации орган по сертификации рассматривает как неправильное использование сертификата со всеми вытекающими из этого последствиями.

По результатам инспекционного контроля или ресертификации к ранее выданному сертификату могут быть добавлены дополнительные производственные площадки.

Примечание - Временные производственные площадки, такие как строительные площадки, используемые организацией для выполнения отдельных работ, не считаются учитываемой частью (организации со многими производственными площадками). Любая выборка разного рода деятельности, выполняемой на таких площадках для подтверждения соответствия деятельности постоянного офиса, не может быть использована для выдачи сертификата на эти временные производственные площадки.

Ж.5 Критерии выборки представителей

Ж. 5.1 Методология

Представители (производственные площадки, подвергаемые аудиту) должны быть частично отобраны путем случайной выборки, частично - назначены. Не менее 25 % представителей должно быть выбрано случайным образом, остальные назначают с использованием критериев, учитывающих следующие аспекты:

- результаты внутренних аудитов или предыдущих оценок при сертификации;

- записи, касающиеся претензий и других аспектов выполнения корректирующих и предупреждающих действий;

- значимые изменения размеров производственных площадок;

- изменения технологических процессов;

- изменения со времени последней оценки при сертификации;

- изменения географического местоположения.

Ж.5.2 Процесс выборки не должен предшествовать началу процесса оценки. Это может быть сделано после завершения оценки центрального офиса организации. В любом случае центральный офис должен быть информирован о производственных площадках, являющихся частью выборки. Это должно быть сравнительно короткое время, но оно должно быть достаточным для подготовки аудита. Центральный офис должен быть исследован при каждом сертификационном аудите и, не менее одного раза в год, как часть инспекционного контроля.

Ж.5.3 Размер выборки

Орган по сертификации должен иметь процедуру для определения размера выборки при аудите производственных площадок как части оценки и сертификации организации со многими производственными площадками.

Последующие рекомендации основаны на примере деятельности организации с уровнем риска от малого до среднего с числом работников на каждой из производственных площадок - не более 50 человек.

Минимальное число производственных площадок, посещаемых при аудите:

первоначальный аудит - размер выборки (у) должен быть равен квадратному корню из числа отдельных площадок (х) (у = Öx), округленному до ближайшего большего целого числа;

инспекционный контроль - размер ежегодной выборки должен быть равен квадратному корню из числа отдельных производственных площадок с коэффициентом 0,6 (у = 0,6Öx), округленному до ближайшего большего целого числа;

ресертификация (повторная оценка) - размер выборки должен быть как при первоначальной оценке. Если система менеджмента качества подтверждает свою эффективность через три года, размер выборки должен быть снижен использованием коэффициента 0,8, т.е. (у = 0,8Öx) с округлением до ближайшего большего целого числа.

В дополнение к этому необходимо посещать центральный офис организации. Размер выборки должен быть увеличен, если анализ риска деятельности, охватываемой системой менеджмента качества при ее сертификации, проведенный органом по сертификации, указывает на наличие специфических обстоятельств в отношении следующих факторов:

- размера производственных площадок и числа работников;

- сложности деятельности и системы менеджмента качества;

- изменения методов выполнения работ;

- изменения выполняемой деятельности;

- зарегистрированных претензий и других аспектов выполнения корректирующих и предупреждающих действий;

- любых аспектов многонациональности;

- результатов внутренних аудитов.

Если организация имеет иерархическую систему филиалов, например, головной (центральный) офис/национальные (размещаемые в различных странах) офисы/региональные офисы/локальные филиалы, то модель выборки для первоначального аудита, приведенная выше, применяется для каждого уровня иерархии.

Если применяемая органом по сертификации процедура дает меньший размер выборки по сравнению с выборкой, производимой в соответствии с вышеуказанными положениями, орган по сертификации должен зарегистрировать причины такого отклонения и подтвердить, что выборка произведена в соответствии с утвержденной процедурой.

Примеры:

1 центральный офис (посещается на каждом цикле аудита (сертификация, инспекционный контроль, ресертификация);

4 национальных офиса: выборка равна 2, из них минимум 1 - случайным образом;

27 региональных офисов: выборка равна 6, из них минимум 2 - случайным образом;

1700 локальных филиалов; выборка равна 42, из них минимум 11 - случайным образом.

Ж.5.4 Трудозатраты на оценку (аудит)

Важным элементом, который должен быть рассмотрен, являются трудозатраты на аудит каждой отдельной производственной площадки, и орган по сертификации должен быть готов уточнить время, расходуемое на оценку, исходя из общей политики распределения трудозатрат на аудит.

Обычно количество человеко-дней аудита системы менеджмента качества, приходящееся на одну производственную площадку, должно соответствовать трудозатратам, приведенным в таблице Д.1 приложения Д.

Сокращение трудозатрат может быть сделано, если часть положений этого приложения не относится к локальным производственным площадкам, а касается только оценки центрального офиса. Принимается во внимание также сложность выполняемой деятельности. Сокращение трудозатрат не допускается для центрального офиса.

Полные трудозатраты на аудит, включая первоначальную оценку и инспекционный контроль (понимаемое как сумма затрат времени на каждую производственную площадку плюс центральный офис), не должны быть меньше значения, которое может быть рассчитано в зависимости от сложности всех работ, если бы они выполнялись на одной производственной площадке (т.е. если бы все работники компании работали на одной производственной площадке). В большинстве случаев такие трудозатраты будут значительно больше.

Ж.5.5 Дополнительные производственные площадки

При присоединении новой группы производственных площадок к ранее сертифицированной совокупности (сети) площадок каждая такая группа должна быть рассмотрена независимо от определения первоначального размера выборки. После включения новой группы площадок в сертификат новые производственные площадки должны быть собраны вместе с уже имевшимися для определения размера выборки для будущих аудитов при инспекционном контроле и ресертификации.

ПРИЛОЖЕНИЕ И

(обязательное)

Перечень элементов системы менеджмента качества

(в скобках приведены пункты ГОСТ Р ИСО 9001)

1 Применение (1.2)

2 Система менеджмента качества. Общие требования (4.1)

3 Документация системы менеджмента качества (4.2.1)

4 Руководство по качеству (4.2.2)

5 Управление документацией (4.2.3)

6 Управление записями (4.2.4)

7 Обязательства руководства (5.1)

8 Ориентация на потребителя (5.2)

9 Политика в области качества (5.3)

10 Цели в области качества (5.4.1)

11 Планирование создания и развития системы менеджмента качества (5.4.2)

12 Ответственность и полномочия (5.5.1)

13 Представитель руководства (5.5.2)

14 Внутренний обмен информацией (5.5.3)

15 Анализ со стороны руководства (5.6.1)

16 Входные данные для анализа (со стороны руководства) (5.6.2)

17 Выходные данные анализа (со стороны руководства) (5.6.3)

18 Обеспечение ресурсами (6.1)

19 Человеческие ресурсы (6.2.1)

20 Компетентность, осведомленность и подготовка (персонала) (6.2.2)

21 Инфраструктура (6.3)

22 Производственная среда (6.4)

23 Планирование процессов жизненного цикла продукции (7.1)

24 Определение требований, относящихся к продукции (7.2.1)

25 Анализ требований, относящихся к продукции (7.2.2)

26 Связь с потребителем (7.2.3)

27 Планирование проектирования и разработки (7.3.1)

28 Входные данные для проектирования и разработки (7.3.2)

29 Выходные данные проектирования и разработки (7.3.3)

30 Анализ проекта и разработки (7.3.4)

31 Верификация проекта и разработки (7.3.5)

32 Валидация проекта и разработки (7.3.6)

33 Управление изменениями проекта и разработки (7.3.7)

34 Процесс закупок (7.4.1)

35 Информация по закупкам (7.4.2)

36 Верификация закупленной продукции (7.4.3)

37 Управление производством и обслуживанием (7.5.1)

38 Валидация процессов производства и обслуживания (7.5.2)

39 Идентификация и прослеживаемость (7.5.3)

40 Собственность потребителей (7.5.4)

41 Сохранение соответствия продукции (7.5.5)

42 Управление устройствами для мониторинга и измерений (7.6)

43 Измерение, анализ и улучшение (8.1)

44 Удовлетворенность потребителей (8.2.1)

45 Внутренние аудиты (проверки) (8.2.2)

46 Мониторинг и измерение процессов (8.2.3)

47 Мониторинг и измерение продукции (8.2.4)

48 Управление несоответствующей продукцией (8.3)

49 Анализ данных (8.4)

50 Постоянное улучшение (8.5.1)

51 Корректирующие действия (8.5.2)

52 Предупреждающие действия (8.5.3)

ПРИЛОЖЕНИЕ К

(обязательное)

Форма регистрации несоответствий

СИСТЕМА СЕРТИФИКАЦИИ ГОСТ Р

РЕГИСТР СИСТЕМ КАЧЕСТВА

РЕГИСТРАЦИЯ НЕСООТВЕТСТВИЯ

Наименование органа по сертификации систем менеджмента качества

 

Наименование
проверяемой
организации:

Акт №

Дата

 

 

НС №

Категория

Проверяемое подразделение:

Пункт ГОСТ Р ИСО 9001-2001 (ИСО 9001:2000)

Пункт документа СМК организации

 

 

 

 

Описание несоответствия:

Председатель комиссии аудитор (эксперт)

________________________________________________________________________

подпись          инициалы, фамилия                       подпись                    инициалы, фамилия

Планируемые корректирующие действия:

Срок выполнения:                           Представитель проверяемой организации:

__________________________                                                                                                             __________________________

дата                                              подпись                              инициалы, фамилия

 

Оценка результативности корректирующих действий (проводит ОС)

Председатель комиссии (аудитор)

__________________________                                                                                                             __________________________

дата                                               подпись                              инициалы, фамилия

ПРИЛОЖЕНИЕ Л

(обязательное)

Форма регистрации уведомлений

СИСТЕМА СЕРТИФИКАЦИИ ГОСТ Р

РЕГИСТР СИСТЕМ КАЧЕСТВА

РЕГИСТРАЦИЯ УВЕДОМЛЕНИЙ

Наименование органа по сертификации систем качества

 

Наименование
проверяемой
организации:

Акт №

 

Сроки проверки:

Порядковый номер уведомления

Описание уведомлений

Пункт ГОСТ Р ИСО 9001-2001 (ИСО 9001.2000)

Пункт документа СМК организации

Подтверждение корректирующих действий (выполнено/невыполнено)

 

 

 

 

 

 

Председатель комиссии                        Эксперт                       Представитель организации

_______________________                                                        ________________________________________________

подпись, инициалы,                          подпись, инициалы,              подпись, инициалы,

фамилия                                         фамилия                               фамилия

ПРИЛОЖЕНИЕ М

(обязательное)

Форма акта о результатах аудита и оценки системы менеджмента качества

АКТ
ПО РЕЗУЛЬТАТАМ АУДИТА И ОЦЕНКИ СИСТЕМЫ МЕНЕДЖМЕНТА КАЧЕСТВА
НА СООТВЕТСТВИЕ ТРЕБОВАНИЯМ ГОСТ Р ИСО 9001-2001 (ИСО 9001:2000)

__________________________________________________________________________

наименование организации-заявителя

1 ЦЕЛЬ И ОБЛАСТЬ АУДИТА

Сертификация системы менеджмента качества

__________________________________________________________________________

наименование проверяемой организации

на соответствие требованиям ГОСТ Р ИСО 9001-2001 (ИСО 9001:2000)

применительно к продукции:________________________________________________

наименование продукции

2 ОСНОВАНИЕ____________________________________________________________

заявка, договор и пр.

3 ВРЕМЯ ПРОВЕДЕНИЯ АУДИТА___________________________________________

4 СОСТАВ КОМИССИИ ПО СЕРТИФИКАЦИИ

5 БАЗА АУДИТА*__________________________________________________________

6 РЕЗУЛЬТАТЫ АУДИТА**_________________________________________________

7 ВЫВОДЫ КОМИССИИ____________________________________________________

8 АДРЕСА РАССЫЛКИ_____________________________________________________

9 ДОПОЛНИТЕЛЬНЫЕ СВЕДЕНИЯ (при необходимости)     ____________________

* Приводят перечень документов, в соответствии с которыми проводится аудит, настоящий документ, а также документы системы менеджмента качества проверяемой организации.

** Указывают, обеспечивает ли система контроля проверку выполнения обязательных требований к продукции.

Председатель комиссии по сертификации

________________________       ______________         ______________________

наименование органа по сертификации            подпись                             инициалы, фамилия

Члены комиссии                          ______________         ______________________

подпись                             инициалы, фамилия

С актом ознакомлен:                   ______________         ______________________

Представитель руководства        ______________         ______________________

________________________       ______________         ______________________

наименование проверяемой организации         подпись                             инициалы, фамилия

Дата _________________________

Город ________________________

Примечание - К акту должны прилагаться:

- приложение 1 План аудита системы менеджмента качества;

- приложения 2, 3 и т.д. Заполненные бланки регистрации несоответствий и уведомлений;

- записи, подтверждающие устранение во время аудита несоответствий и учет уведомлений.

ПРИЛОЖЕНИЕ Н

(обязательное)

Форма решения о выдаче сертификата соответствия системы менеджмента качества

РЕШЕНИЕ О ВЫДАЧЕ СЕРТИФИКАТА СООТВЕТСТВИЯ СИСТЕМЫ МЕНЕДЖМЕНТА КАЧЕСТВА

Орган по сертификации систем качества_______________________________________

наименование органа по сертификации

рассмотрел акт о результатах аудита и оценки системы менеджмента качества от____

дата утверждения акта

__________________________________________________________________________

наименование проверяемой организации, город

на соответствие требованиям ГОСТ Р ИСО 9001-2001 (ИСО 9001:2000)

применительно к продукции_________________________________________________

наименование продукции

и принял решение:__________________________________________________________

выдать (не выдать) сертификат соответствия

Основание для отрицательного решения:_______________________________________

заполняется при отрицательном решении

__________________________________________________________________________

__________________________________________________________________________

__________________________________________________________________________

Руководитель органа по

сертификации систем качества    ___________________ __________________

подпись                         инициалы, фамилия

М. П.                                         Дата

ПРИЛОЖЕНИЕ П

(обязательное)

Формы сертификатов соответствия и приложений к сертификатам

Форма 1

СЕРТИФИКАТ СООТВЕТСТВИЯ НА РУССКОМ ЯЗЫКЕ

Форма 2

СЕРТИФИКАТ СООТВЕТСТВИЯ НА АНГЛИЙСКОМ ЯЗЫКЕ

Содержание сертификата соответствия системы менеджмента качества

Прямоугольные поля на формате сертификата, обозначенные цифрами, носят условный характер и должны содержать следующие данные:

1 - полное и сокращенное (если имеется) наименование органа по сертификации систем качества, его регистрационный номер;

2 - учетный номер бланка сертификата;

3 - слова: «Выдан… (наименование и адрес организации - держателя сертификата)»;

4 - характеристика области сертификации: «Система менеджмента качества организации применительно к… (стадии жизненного цикла, охватываемые системой менеджмента качества, и наименование продукции, выпускаемой организацией)». Указывают на исключения, подпадающие под требования, приведенные в разделе 7 ГОСТ ИСО 9001 и не влияющие на способность или ответственность организации обеспечивать продукцией, отвечающей требованиям потребителей и соответствующим обязательным требованиям;

5 - регистрационный номер сертификата;

6 - дата регистрации сертификата (число, месяц, год);

7 - дата (число, месяц, год), до которой сертификат действует;

8 - фамилия и инициалы руководителя органа по сертификации (или его заместителя) и место подписи;

9 - фамилия и инициалы председателя комиссии, проводившей сертификацию, и место подписи;

10 - место печати органа по сертификации;

11 - учетный номер сертификата в сводном перечне Регистра систем качества.

Форма 3

Образец заполнения сертификата соответствия на русском языке

Учетный номер Регистра систем качества №

Форма 4

Образец заполнения сертификата соответствия на английском языке

Registration number of Quality systems register №

Форма 5

Приложение к сертификату соответствия на русском языке

Форма 6

Приложение к сертификату соответствия на английском языке

Содержание приложения к сертификату соответствия

Прямоугольные поля на формате сертификата, обозначенные цифрами, носят условный характер и должны содержать следующие данные:

1 - наименование групп(ы) однородной продукции и/или вида услуг, к которым относится продукция (услуги) организации;

2 - стадии жизненного цикла продукции и/или услуг, охватываемые системой менеджмента качества, в терминологии раздела 7 ГОСТ Р ИСО 9001;

3 - перечень производств, служб, филиалов/производственных площадок (при необходимости уточнения), охватываемых сертифицированной системой менеджмента качества.

В поле 3 могут быть указаны производства, службы, подразделения, филиалы/производственные площадки организации, на которые не распространяется область сертификации (некоторые исключения из процессов жизненного цикла продукции могут быть подчеркнуты).

В поле 4 указывают руководителя органа по сертификации или его заместителя (его фамилию, инициалы и место подписи), а также председателя комиссии, проводившей аудит и оценку организации (его фамилию, инициалы и место подписи).

Форма 7

Образец заполнения приложения к сертификату соответствия на русском языке

Приложение

Является неотъемлемой частью

Сертификата № РОСС RU.ИС15.К00556

Область сертификации системы менеджмента качества ОАО «ЛВЗ «СМАРАГД»

1. Продукция

Водки и водки особые, изделия ликероводочные, спирт этиловый ректификованный, спиртосодержащая непищевая продукция (спиртосодержащие отходы, денатурат, головная фракция этилового спирта, сивушное масло).

2. Процессы жизненного цикла продукции в соответствии с ГОСТ Р ИСО 9001-2001:

7.1 Планирование процессов жизненного цикла продукции

7.2 Процессы, связанные с потребителями

7.3 Проектирование и разработка

7.4 Закупки

7.5 Производство

7.6 Управление устройствами для мониторинга и измерений.

3. Исключения из процессов жизненного цикла продукции:

- обслуживание продукции (п. 7.5.1); валидация процессов производства и обслуживания (п. 7.5.2) - для водок и водок особых, изделий ликероводочных;

- разработка продукции (п. 7.3); обслуживание продукции (п. 7.5.1); валидация процессов производства и обслуживания (п. 7.5.2) - для спирта этилового ректификованного, спиртосодержащей непищевой продукции (спиртосодержащих отходов, денатурата, головной фракции этилового спирта, сивушного масла).

Дальнейшие разъяснения, касающиеся области сертификации и области применения ГОСТ Р ИСО 9001-2001 (ИСО9001:2000), могут быть получены путем консультирования с ОАО «ЛВЗ «СМАРАГД».

Руководитель органа                                                                                                  А.А. Лимонов

по сертификации систем качества

ПРОМСЕРТ

Председатель комиссии                                                                                             И.И. Яблокова

ПРИЛОЖЕНИЕ Р

(обязательное)

Форма решения о расширении области сертификации

РЕШЕНИЕ
О РАСШИРЕНИИ ОБЛАСТИ СЕРТИФИКАЦИИ

Орган по сертификации систем качества_______________________________________

наименование органа по сертификации

рассмотрел акт по результатам аудита и оценки системы менеджмента качества, от___

дата утверждения акта,

___________________________________________________________________________________

наименование организации - держателя сертификата, город

__________________________________________________________________________

на соответствие требованиям ГОСТ Р ИСО 9001-2001 (ИСО 9001-2000)

применительно к продукции__________________________________________________

__________________________________________________________________________

наименование продукции

и принял решение:__________________________________________________________

выдать (не выдать) сертификат соответствия

__________________________________________________________________________

область сертификации

Основание для отрицательного решения:_______________________________________

заполняется при отрицательном решении

Руководитель Органа

по сертификации систем качества ________________    ______________________

подпись                                инициалы, фамилия

М. П.                                            Дата

ПРИЛОЖЕНИЕ С

(обязательное)

Форма решения о сужении области сертификации

РЕШЕНИЕ О СУЖЕНИИ ОБЛАСТИ СЕРТИФИКАЦИИ

Орган по сертификации систем качества_______________________________________

наименование органа по сертификации

рассмотрел письмо-обращение (Акт о результатах инспекционного контроля),

__________________________________________________________________________

номер и дата утверждения акта

__________________________________________________________________________

наименование организации - держателя сертификата, город

с указанием исключаемой продукции (услуги)__________________________________

наименование исключаемой продукции (услуги)

и принял решение:__________________________________________________________

выдать (не выдать) сертификат соответствия

__________________________________________________________________________

область сертификации

Руководитель Органа

по сертификации систем качества ________________    ______________________

подпись                                инициалы, фамилия

М. П.                                                      Дата

ПРИЛОЖЕНИЕ Т

(справочное)

Библиография

[1] ИСО 19011:2002 Руководящие указания по аудиту систем менеджмента качества и/или систем экологического менеджмента*

[2] Руководящие указания МФА по применению Руководства ИСО/МЭК 62, изд. 2, 2001

[3] Методический документ ИСО/ТК 176/ПК2 524R «Рекомендации по п. 1.2 «Применение» ИСО 9001:2000

Ключевые слова: Регистр систем качества, система менеджмента качества, сертификация систем менеджмента качества, орган по сертификации систем качества, порядок проведения сертификации систем менеджмента качества, сертификат соответствия системы менеджмента качества

 




ГОСТЫ, СТРОИТЕЛЬНЫЕ и ТЕХНИЧЕСКИЕ НОРМАТИВЫ.
Некоммерческая онлайн система, содержащая все Российские Госты, национальные Стандарты и нормативы.
В Системе содержится более 150000 файлов нормативно-технической документации, действующей на территории РФ.
Система предназначена для широкого круга инженерно-технических специалистов.

Рейтинг@Mail.ru Яндекс цитирования

Copyright © www.gostrf.com, 2008 - 2026