Крупнейшая бесплатная информационно-справочная система онлайн доступа к полному собранию технических нормативно-правовых актов РФ. Огромная база технических нормативов (более 150 тысяч документов) и полное собрание национальных стандартов, аутентичное официальной базе Госстандарта. GOSTRF.com - это более 1 Терабайта бесплатной технической информации для всех пользователей интернета. Все электронные копии представленных здесь документов могут распространяться без каких-либо ограничений. Поощряется распространение информации с этого сайта на любых других ресурсах. Каждый человек имеет право на неограниченный доступ к этим документам! Каждый человек имеет право на знание требований, изложенных в данных нормативно-правовых актах!

  


 

ГОСУДАРСТВЕННЫЙ СТАНДАРТ СОЮЗА ССР

КРАНЫ грузоподъёмные.
НАГРУЗКА ВЕТРОВАЯ

НОРМЫ И МЕТОД ОПРЕДЕЛЕНИЯ

ГОСТ 1451-77

ГОСУДАРСТВЕННЫЙ КОМИТЕТ СТАНДАРТОВ
СОВЕТА МИНИСТРОВ СССР

МОСКВА - 1977

РАЗРАБОТАН

Всесоюзным научно-исследовательским и проектно-конструкторским институтом подъемно-транспортного машиностроения, погрузочно-разгрузочного складского оборудования и контейнеров (ВНИИПТМАШ)

Зам. директора В. Д. Тимофеев

Руководители темы: Н. А. Смирнова, И. И. Абрамович

Исполнители: А. Ф. Абрамсон, Л. В. Свердлик

Центральным аэрогидродинамическим институтом им. проф. Н. Е. Жуковского (ЦАГИ)

Зам. начальника Е. М. Жмулин

Руководитель темы М. Я. Гембаржевский

Исполнитель А. П. Бирюлин

Всесоюзным научно-исследовательским институтом строительного и дорожного машиностроения (ВНИИстройдормаш)

Зам. директора П. В. Панкрашкин

Руководители темы: Л. А. Невзоров, А. А. Зарецкий

Исполнитель Е. Е. Лунден

ВНЕСЕН Министерством тяжелого и транспортного машиностроения

Зам. министра Г. П. Семенов

ПОДГОТОВЛЕН К УТВЕРЖДЕНИЮ Всесоюзным научно-исследовательским институтом по нормализации в машиностроении (ВНИИНМАШ)

Директор В. А. Грешников

УТВЕРЖДЕН И ВВЕДЕН В ДЕЙСТВИЕ Постановлением Государственного комитета стандартов Совета Министров СССР от 24 марта 1977 г. № 719

ГОСУДАРСТВЕННЫЙ СТАНДАРТ СОЮЗА ССР

КРАНЫ ГРУЗОПОДЪЕМНЫЕ.
НАГРУЗКА ВЕТРОВАЯ

Нормы и метод определения

Hoisting granes. Wind load.
Norms and methods of determination

ГОСТ
1451-77

Взамен
ГОСТ 1451-65

Постановлением Государственного комитета стандартов Совета Министров СССР от 24 марта 1977 г. № 719 срок действия установлен

с 01.01.1978 г.

до 01.01. 1983 г.

Настоящий стандарт распространяется на грузоподъемные краны, эксплуатируемые на открытом воздухе, и устанавливает нормы и метод определения ветровой нагрузки, действующей на краны в их нерабочем и рабочем состояниях.

Стандарт не распространяется на судовые и плавучие краны.

1. ОБЩИЕ ПОЛОЖЕНИЯ

1.1. Ветровая нагрузка на кран в нерабочем состоянии должна быть учтена при расчете металлических конструкций, механизмов поворота, передвижения крана и тележки, механизма изменения вылета стрелы, осей и валов ходовых колес, противоугонных устройств и собственной устойчивости крана.

За ветровую нагрузку на кран в нерабочем состоянии принимается предельная ветровая нагрузка, на которую должны быть рассчитаны элементы крана.

1.2. Ветровая нагрузка на кран в рабочем состоянии должна быть учтена при расчете металлических конструкций и механизмов, тормозов, при определении мощности двигателей, собственной и грузовой устойчивости крана.

За ветровую нагрузку на кран в рабочем состоянии принимается предельная ветровая нагрузка, при которой обеспечивается эксплуатация крана с номинальным грузом.

1.3. Ветровая нагрузка на кран должна быть определена как сумма статической и динамической составляющих.

Статическая составляющая, соответствующая установившейся скорости ветра, должна быть учтена во всех случаях.

Динамическая составляющая, вызываемая пульсацией скорости ветра, должна быть учтена только при расчете на прочность металлических конструкций и при проверке устойчивости кранов против опрокидывания.

2. СТАТИЧЕСКАЯ СОСТАВЛЯЮЩАЯ ВЕТРОВОЙ НАГРУЗКИ

2.1. Распределенную ветровую нагрузку р на единицу расчетной площади элемента конструкции или груза в данной зоне высоты следует определять по формуле

p = qkcn,                                                               (1)

где q - динамическое давление ветра, принимаемое в соответствии с табл. 2 и 3;

k - коэффициент, учитывающий изменение динамического давления по высоте, принимаемый по табл. 1;

с - коэффициент аэродинамической силы, принимаемый по рекомендуемому приложению 1 или данным аэродинамических исследований с учетом указаний п. 6.3. В зависимости от направления аэродинамической силы в приложении 1 данный коэффициент обозначается через сх, су, сn, сt;

п - коэффициент перегрузки, принимаемый по пп. 5.3 и 6.4.

2.2. Динамическое давление ветра q связано с плотностью воздуха r и его скоростью v формулой

                                                                 (2)

где r = 1,225 кг/м3;

v - скорость ветра, направленная параллельно поверхности земли, м/c.

2.3. Статическую составляющую ветровой нагрузки F, действующей на элемент конструкции или на груз, следует определять по формуле

F = pA,                                                                     (3)

где А - расчетная площадь элемента или груза, принимаемая по рекомендуемым приложениям 1 и 2 с учетом указаний п. 6.3.

3. ДИНАМИЧЕСКАЯ СОСТАВЛЯЮЩАЯ ВЕТРОВОЙ НАГРУЗКИ

3.1. Динамическую составляющую ветровой нагрузки на строительные башенные краны следует определять по ГОСТ 13994-75, в остальных случаях - по нормам проектирования кранов данного типа.

4. УЧЕТ ВЫСОТЫ РАСПОЛОЖЕНИЯ ЭЛЕМЕНТА КОНСТРУКЦИИ КРАНА

4.1. Значение коэффициента k, учитывающего изменение динамического давления в зависимости от высоты расположения от поверхности земли данного элемента конструкции в нерабочем и рабочем состояниях крана, следует определять по табл. 1.

Таблица 1

Высота над поверхностью земли, м

10

20

40

60

100

200

350 и выше

k

1,00

1,25

1,55

1,75

2,10

2,60

3,10

Примечание. При установке кранов в городах, включая окраины, в лесных массивах и других местностях, покрытых препятствиями высотой более 10 м, допускается снижать значение коэффициента k в пределах высоты: до 20 м - на 30%; 20-60 м - на 15%; 60-100 м - на 10%.

4.2. Для промежуточных высот значения k допускается определять линейной интерполяцией данных, табл. 1. В пределах отдельных зон конструкции, при высоте каждой зоны не более 10 м, значение коэффициента k допускается принимать постоянным.

4.3. Значение коэффициента k для тросовых оттяжек и канатов полиспастов допускается принимать постоянным и определять для уровня, соответствующего точке, расположенной на расстоянии 1/3 их длины от верхней точки их крепления к элементу крана.

5. НЕРАБОЧЕЕ СОСТОЯНИЕ

5.1. Динамическое давление q и скорость ветра v на высоте 10 м над поверхностью земли в зависимости от района СССР следует принимать по табл. 2.

Таблица 2

Наименование показателей ветровой нагрузки

Районы СССР

I

II

III

IV

V

VI

VII

Скорость ветра v, м/с

21

24

27

30

33

37

40

Динамическое давление q, Па

270

350

450

550

700

850

1000

Примечания:

1. Карта районирования СССР в зависимости от динамического давления ветра приведена в рекомендуемом приложении 3.

2. При установке кранов в районах с резко выраженным рельефом местности, в горных ущельях, каньонах рек, на вершинах возвышенностей и в малоизученных районах допускается определять значение динамического давления по скорости ветра, принимаемой по данным Гидрометеорологической службы на высоте 10 м над поверхностью земли (при двухминутном интервале осреднения), превышаемой в среднем один раз в 5 лет.

5.2. В случае, если район установки крана точно неизвестен, динамическое давление q допускается принимать равным 450 Па.

5.3. Коэффициент перегрузки п, учитываемый при расчете конструкции крана по методу предельных состояний, принимается равным 1,1, если в нормах на проектирование данного крана не приводится другое значение этого коэффициента.

При расчете конструкции крана по методу допускаемых напряжений коэффициент перегрузки п принимают равным 1.

6. РАБОЧЕЕ СОСТОЯНИЕ

6.1. Динамическое давление q и скорость ветра v на высоте 10 м над поверхностью земли, вне зависимости от района установки, но с учетом назначения крана, должны приниматься по табл. 3.

Таблица 3

Назначение кранов

Скорость ветра v, м/с

Динамическое давление q, Па

Краны: строительные, монтажные, для полигонов железобетонных изделий, штучных грузов, а также стреловые самоходные общего назначения

14,0

125

Краны всех типов, устанавливаемые в речных и морских портах

20,0

250

Краны, устанавливаемые на объектах, исключающих возможность перерыва в работе

28,5

500

6.2. Если предельная ветровая нагрузка, действующая на груз или элементы крана, ограничена условиями безопасности ведения работ или технологией выполнения перегрузочных или монтажных операций, то допускается принимать значение динамического давления q в соответствии с техническим заданием на проектирование крана, но не ниже 50 Па.

6.3. Расчетную площадь груза следует определять по фактическим или статистическим данным, при их отсутствии по рекомендуемому приложению 2. Коэффициент аэродинамической силы с принимают равным 1,2. Коэффициент k при этом принимают по максимальной высоте подъема груза.

6.4. Значение коэффициента перегрузки п не зависит от применяемого метода расчета и принимается равным 1.

6.5. При отсутствии дополнительных требований, предусмотренных техническим заданием на проектирование крана, ветровая нагрузка, учитываемая при определении мощности приводных двигателей крановых механизмов, не должна превышать 70 % от статической составляющей ветровой нагрузки на кран или на соответствующий элемент крана или на груз.

ПРИЛОЖЕНИЕ 1
Рекомендуемое

КОЭФФИЦИЕНТЫ АЭРОДИНАМИЧЕСКИХ СИЛ И РАСЧЕТНЫЕ ПЛОЩАДИ

1. Отдельные стержни

1.1. Коэффициент лобового сопротивления сх, то есть коэффициент аэродинамической силы, направленной по скорости ветра, при поперечном обтекании круглого стержня диаметром d определяется по табл. 1 в зависимости от параметра qkd2.

Таблица 1

Параметр qkd2, H

сх

До 5

1,2

Св. 5 до 8

1,0

²  8  ²    15

0,7

²      15 ² 25

0,5

²      25 ² 100

0,6

²           100 ²      1000

0,7

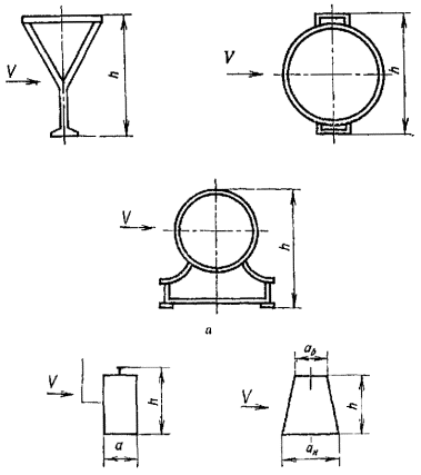
1.2. Расчетная площадь круглого стержня (см. черт. 1) определяется по формуле

A = ld,                                                                     (1)

где l - длина стержня;

d - диаметр стержня.

Черт. 1

1.3. Для стержня с круглым переменным сечением значение диаметра d заменяется на его среднее значение по формуле

                                                         (2)

где d1 d2 - диаметры концов стержня.

1.4. Некруглый (эллиптический, овальный и т.п.) цилиндрический стержень рассматривается как круглый, причем за величину d принимают поперечный размер стержня в плоскости, перпендикулярной направлению скорости ветра.

1.5. Для стержня прокатного или комбинированного профиля коэффициенты сп и сt аэродинамических сил, нормальных к граням стержня, при различных направлениях скорости ветра в плоскости, перпендикулярной продольной оси стержня, определяются по табл. 2.

1.6. Для стержня прокатного или комбинированного профиля расчетная площадь определяется по формуле

A = lj,                                                                      (3)

где l - длина стержня;

j - расчетный поперечный размер стержня.

1.7. Для балок и стержней сложного составного поперечного сечения (кроме приведенных в табл. 2), составленных из труб с прокатными профилями и пр. (см. черт. 2а) принимают значение коэффициента лобового сопротивления сx = 1,4.

б

Черт. 2

Таблица 2

Направление скорости ветра

Поперечное сечение стержня

a

cn

ct

cn

ct

cn

ct

cn

ct

0°

1,9

0,95

1,8

1,8

1,75

0,10

1,60

0

45°

1,8

0,80

2,1

1,8

0,85

0,85

1,50

-0,10

90°

2,0

1,70

-1,9

-1,0

0,10

1,75

-0,95

0,70

135°

-1,8

-0,10

-2,0

0,3

-0,75

0,75

-0,50

1,05

180°

-2,0

0,10

-1,4

-1,4

-1,75

-0,10

-1,50

0

Продолжение табл. 2

Направление скорости ветра

Поперечное сечение стержня

a

cn

ct

cn

ct

cn

ct

cn

ct

0°

2,0

0

2,05

0

1,4

0

2,05

0

45°

1,2

0,90

1,85

0,6

1,2

1,6

1,95

0,6

90°

-1,6

2,15

0

0,6

0

2,2

0,50

0,9

135°

-1,1

2,40

-1,60

0,4

 

180°

-1,7

0

-1,80

0

Продолжение табл. 2

Направление скорости ветра

Поперечное сечение стержня

a

cn

ct

cn

ct

cn

ct

cn

ct

0°

1,6

0

2,0

0

2,1

0

2,0

0

45°

1,5

1,5

1,8

0,1

1,4

0,70

1,55

1,55

90°

0

1,9

0

0,1

0

0,75

0

2,0

2. Канаты и кабели

2.1. Для каната или кабеля расчетную площадь определяют то формуле (1), причем за величину l принимают их длину; коэффициент лобового сопротивления принимают cx = 1,2.

3. Фермы

3.1. Плоские фермы

3.1.1. За расчетную площадь А плоской фермы принимают теневую площадь - площадь проекций всех элементов фермы на ее плоскость.

3.1.2. Коэффициент лобового сопротивления cx при направлении скорости ветра, перпендикулярном к плоскости фермы, в зависимости от коэффициента заполнения фермы j, определяется по табл. 3.

Таблица 3

j

cx в зависимости от элементов, образующих фермы

Стержни круглого сечения

Стержни некруглого сечения

0,1

1,2

1,9

0,2

1,2

1,8

0,3

1,2

1,7

0,4

1,1

1,7

0,5

1,1

1,6

3.1.2.1. Коэффициент заполнения фермы j определяется по формуле

                                                                  (4)

где Aн - площадь, ограниченная наружным контуром фермы.

3.1.3. Коэффициент лобового сопротивления плоской комбинированной фермы, составленной из стержней круглого и некруглого сечения, допускается определять по формуле

                                           (5)

где cx1, cx2 - коэффициенты лобового сопротивления условных ферм, имеющих одинаковые геометрические размеры с рассматриваемой, но составленных соответственно из стержней только некруглого или круглого сечения;

А1, А2 - суммарные расчетные (теневые) площади стержней соответственно некруглого и круглого сечения.

3.2. Пространственные фермы

3.2.1. За расчетную площадь А пространственной фермы принимают расчетную (теневую) площадь наветренной грани фермы.

3.2.2. Коэффициент лобового сопротивления cx пространственной фермы из стержней некруглого сечения при направлении скорости ветра, перпендикулярном продольной оси фермы, определяется по табл. 4 с учетом коэффициента заполнения jb, грани с шириной b.

Таблица 4

Поперечное сечение фермы

cx при jb:

0,1

0,2

0,3

0,4

0,5

а/b:

 

 

 

 

 

2,00

3,56

3,32

3,08

2,85

2,62

1,50

3,55

3,24

2,96

2,71

2,49

1,00

3,53

3,13

2,78

2,47

2,24

0,67

3,50

3,05

2,54

2,24

2,00

0,50

3,45

2,84

2,34

2,02

1,80

d:

 

 

 

 

 

30°

2,37

2,11

1,85

1,60

1,35

60

2,65

2,49

2,33

2,21

2,10

90

2,93

2,87

2,80

2,80

2,80

d:

30-90°

 

2,65

 

2,49

 

2,33

 

2,21

 

2,10

3.2.3. Коэффициент лобового сопротивления пространственной фермы, составленной из стержней круглого сечения  при направлении скорости ветра, перпендикулярном к продольной оси фермы, определяется по формуле

                                                                (6)

где т - поправочный коэффициент; для ферм треугольного сечения с углом d = 30° при набегании ветра на основание или боковую сторону сечения следует принимать m = 1, а для всех других случаев определять по табл. 5;

cx - принимают по табл. 6, в зависимости от коэффициента заполнения jb грани с шириной b.

Таблица 5

Параметр qkd2, H

До 3

Свыше 3 до 6

Свыше 6 до 9

Свыше 9

т

1,0

0,93

0,80

0,75

Примечание. Диаметр d - меньший из диаметров поясов фермы, м.

Таблица 6

Поперечное сечение фермы

cx при jb:

0,1

0,2

0,3

0,4

0,5

а/b:

 

 

 

 

 

2,00

2,34

1,94

1,77

1,66

1,60

1,50

2,22

1,90

1,74

1,64

1,58

1,00

2,13

1,82

1,68

1,56

1,50

0,67

2,05

1,76

1,60

1,50

1,44

0,50

2,00

1,68

1,54

1,44

1,38

d:

 

 

 

 

 

30°

1,52

1,32

1,13

0,98

0,86

60

1,76

1,54

1,40

1,36

1,36

90

2,00

1,76

1,67

1,65

1,65

d:

 

 

 

 

 

30-90°

1,76

1,54

1,40

1,36

1,36

 

 

 

 

 

 

3.2.4. Коэффициент лобового сопротивления cx пространственной комбинированной фермы, составленной из стержней круглого и некруглого сечения, допускается определять по формуле (6), причем значения cx1 и cx2 следует принимать как для пространственных ферм, имеющих одинаковые геометрические размеры с рассматриваемой, и составленных; соответственно из стержней только некруглого или круглого сечения.

4. Пролетные балки (мосты)

4.1. Расчетную площадь пролетной балки А (см. черт. 2) определяют по формуле

A = lh,                                                                     (7)

где l - длина балки;

h - габаритная высота балки.

Примечания:

1. Высоту подтележечного рельса включают в общую высоту h балки.

2. Площадь сквозных вырезов в стенках вычитают из габаритной (по контуру).

3. Площадки, ограждения, лестницы и пр., затеняющиеся балкой, учету не подлежат.

4.2. Коэффициент лобового сопротивления cx коробчатых балок (см. черт. 2б) определяется по табл. 7.

Таблица 7

2

1

0,5

0,25

cx

1,85

1,65

1,25

0,9

Примечание. Для трапециевидных сечений (см. черт. 2б) расчетная ширина а определяется по формуле

                                                            (8)

5. Прочие конструкции

5.1. За расчетную площадь совмещенных участков телескопических ферм (башен, колонн и стрел) принимается расчетная площадь наружной фермы. При этом коэффициент лобового сопротивления следует определять по формуле

                                                  (9)

где cxн, cxв - коэффициенты лобового сопротивления соответственно наружной и внутренней фермы;

Ан, Ав - расчетные (теневые) площади этих ферм, рассматриваемых раздельно.

5.2. Расчетная площадь дополнительных элементов; ограждений, лестниц, площадок, настилов и т.п. определяется по табл. 1 и 2 настоящего приложения и учитывается полностью; при расположении внутри габарита ферм учитывается половина их площади. Коэффициент лобового сопротивления принимается без учета взаимовлияния дополнительных элементов.

5.3. Расчетная площадь грузовых и ходовых тележек, лебедок, аппаратных шкафов, балластных плит противовесов, грузовых подвесок, кабин управления и т.п. определяется как проекция наружного контура на плоскость, перпендикулярную направлению скорости ветра. Коэффициент лобового сопротивления принимается равным 1,2.

6. Влияние затенения

6.1. В случае, если две или более одинаковых конструкций расположены одна за другой на равном расстоянии друг от друга, то за расчетную площадь принимается площадь одной конструкции, а суммарный коэффициент лобового сопротивления , определяется с учетом коэффициента затенения по формуле

                                                       (10)

где cx - коэффициент лобового сопротивления одной конструкции (фермы, балки);

h - коэффициент, учитывающий аэродинамическое затенение конструкции впереди стоящей конструкцией, принимают по табл. 8 в зависимости от относительного расстояния между конструкциями . Для плоских конструкций расстояние s принимают по вертикальным осям (см. черт. 3а), для объемных - в свету между ними (см. черт. 3б);

h - габаритная высота конструкции;

i - число одинаковых конструкций.

Черт. 3

Таблица 8

j

0,1

0,2

0,3

0,4

0,5

0,6 и выше

1/2

0,93

0,75

0,56

0,38

0,19

0

1

0,99

0,81

0,65

0,48

0,32

0,15

2

1,00

0,87

0,73

0,59

0,44

0,30

4

1,00

0,90

0,78

0,65

0,52

0,40

6

1,00

0,93

0,83

0,72

0,61

0,50

7. Наклонные элементы крановых конструкций

7.1. Фермы (см. черт. 4)

Черт. 4

7.1.1. Коэффициент аэродинамической силы, нормальной к продольной оси фермы, определяется по формуле

                                      (11)

Коэффициент лобового сопротивления (направленного по скорости ветра) определяется по формуле

                      (12)

где Q - угол между направлениями скорости ветра и продольной осью фермы длиной l;

 - относительная доля расчетной площади стержней решетки (раскосов, стоек и пр.) в расчетной площади наветренной грани фермы;

 - отношение значения коэффициента лобового сопротивления фермы при ее продольном обтекании к значению того же коэффициента при поперечном обтекании; для четырехгранной фермы определяется по формуле

                                               (13)

здесь  - значение  фермы с квадратным поперечным сечением, принимаемое по табл. 9;

l - отношение размеров сторон поперечного сечения фермы (l ³ 1);

cx - коэффициент лобового сопротивления рассматриваемой фермы при ее поперечном обтекании, определяемый по табл. 3-6 настоящего приложения, при этом параметр qkd2 заменяется на qkd2sin2Q;

cxкв - значение cx для фермы с квадратным поперечным сечением.

Таблица 9

0,25

0,30

0,35

0,40

0,45

0,50

0,03

0,08

0,13

0,19

0,24

0,29

Формула (13) применима к трехгранной ферме с поперечным сечением в виде равностороннего треугольника и к плоской ферме. В случае равностороннего треугольника множитель  следует заменить на 0,75, а плоской фермы - на 0,25.

7.2. Сплошностенчатые элементы (см. черт. 4)

7.2.1. Коэффициент нормальной силы определяется по формуле

                                                  (14)

7.2.2. Коэффициент лобового сопротивления определяется по формуле

                                                  (15)

но должен быть не менее 0,1 сx.

Примечание. Коэффициент аэродинамической силы, направленной перпендикулярно скорости ветра, определяется по формуле

                                             (16)

8. Краны внутри ограждения

8.1. Для кранов, установленных в сплошных ограждениях (корпуса градирен и пр.) учитывается верхняя часть затененной конструкции высотой h = 0,5s (см. черт. 5)

Черт. 5

ПРИЛОЖЕНИЕ 2
Рекомендуемое

Расчетная площадь груза АГ в зависимости от его номинальной массы т

т, т

АГ, м2

т, т

АГ, м2

0,05

0,5

4,0

6,3

0,10

0,8

5,0

7,1

0,20

1,0

6,3

8,0

0,25

1,4

8,0

9,0

0,32

1,6

10,0

10,0

0,40

1,8

12,5

12,0

0,50

2,0

16,0

14,0

0,63

2,2

20,0

16,0

0,80

2,5

25,0

18,0

1,00

2,8

32,0

20,0

1,25

3,2

40,0

22,0

1,60

3,6

50,0

25,0

2,00

4,0

63,0

28,0

2,50

5,0

80,0

32,0

3,20

5,6

100,0

36,0

Примечание. Ветровую нагрузку на груз принимают не менее 500 Н.


ПРИЛОЖЕНИЕ 3
Рекомендуемое

КАРТА РАЙОНИРОВАНИЯ СССР В ЗАВИСИМОСТИ ОТ динамического ВЕТРА


 




ГОСТЫ, СТРОИТЕЛЬНЫЕ и ТЕХНИЧЕСКИЕ НОРМАТИВЫ.
Некоммерческая онлайн система, содержащая все Российские Госты, национальные Стандарты и нормативы.
В Системе содержится более 150000 файлов нормативно-технической документации, действующей на территории РФ.
Система предназначена для широкого круга инженерно-технических специалистов.

Рейтинг@Mail.ru Яндекс цитирования

Copyright © www.gostrf.com, 2008 - 2026