Крупнейшая бесплатная информационно-справочная система онлайн доступа к полному собранию технических нормативно-правовых актов РФ. Огромная база технических нормативов (более 150 тысяч документов) и полное собрание национальных стандартов, аутентичное официальной базе Госстандарта. GOSTRF.com - это более 1 Терабайта бесплатной технической информации для всех пользователей интернета. Все электронные копии представленных здесь документов могут распространяться без каких-либо ограничений. Поощряется распространение информации с этого сайта на любых других ресурсах. Каждый человек имеет право на неограниченный доступ к этим документам! Каждый человек имеет право на знание требований, изложенных в данных нормативно-правовых актах!

  


 

ГОСУДАРСТВЕННЫЙ СТАНДАРТ СОЮЗА ССР

ДЕРЕВООБРАБАТЫВАЮЩЕЕ ОБОРУДОВАНИЕ

РАМЫ ЛЕСОПИЛЬНЫЕ ВЕРТИКАЛЬНЫЕ
ДВУХЭТАЖНЫЕ

ОСНОВНЫЕ ПАРАМЕТРЫ

НОРМЫ ТОЧНОСТИ

ГОСТ 10294-90
(СТ СЭВ 4998
-85, СТ СЭВ 6687-89)

ИЗДАТЕЛЬСТВО СТАНДАРТОВ

Москва

ГОСУДАРСТВЕННЫЙ СТАНДАРТ СОЮЗА ССР

Деревообрабатывающее оборудование

РАМЫ ЛЕСОПИЛЬНЫЕ ВЕРТИКАЛЬНЫЕ
ДВУХЭТАЖНЫЕ.

Основные параметры

Нормы точности

Woodworking equipment. Vertical two-storey saw
frames. Basic parameters. Standards o
f accuracy

ГОСТ
10294-90

(CT СЭВ 4998-85,
CT СЭВ 6687-89)

Дата введения 01.01.91

Настоящий стандарт распространяется на лесопильные двухэтажные вертикальные рамы для распиловки бревен и брусьев.

1. ОСНОВНЫЕ ПАРАМЕТРЫ

Основные параметры рам должны соответствовать указанным в таблице.

Размеры, мм

Наименование параметра

Значение параметра

Ширина просвета пильной рамки

500

750

1000

Ход пильной рамки, не менее

600

700

Диаметр распиливаемых бревен (в вершине):

 

 

 

наибольший, не менее

280

520

700

наименьший, не более

100

170

Высота бруса для рам второго ряда:

 

 

 

наибольшая, не менее

240

400

600

наименьшая, не более

75

100

150

Длина распиливаемых бревен и брусьев:

 

 

 

наибольшая, не менее

7500

наименьшая, не более

3000

Число двойных ходов пильной рамки в минуту, не менее

360

320

250

Наибольшая подача бревна (бруса) на один двойной ход пильной рамки, не менее

80

80

40

Наибольшее число пил в поставе, не менее

10

12

20

2. ПРОВЕРКА ГЕОМЕТРИЧЕСКОЙ ТОЧНОСТИ ЛЕСОПИЛЬНОЙ РАМЫ

2.1. Перед проверкой рама должна быть установлена по уровню. Допуск на установку не должен превышать 0,1 мм на длине 1000 мм.

Общие требования к испытаниям лесопильных рам на точность - по ГОСТ 25338.

2.2. Горизонтальность осей нижних подающих вальцов

Черт. 1

Допуск горизонтальности 0,2 мм на длине 1000 мм.

Проверка проводится в соответствии со схемой, указанной на черт. 1.

На валу подающего вальца 1 устанавливают специальный мостик 2 с призматическими основаниями и уровень 3.

Измерения проводят поочередно на переднем и заднем нижних подающих вальцах.

Отклонение от горизонтальной плоскости определяют по наибольшему показанию уровня.

2.3. Расположение осей нижних подающих вальцов в одной горизонтальной плоскости

Черт. 2

Допуск горизонтальности 0,4 мм на длине 1000 мм.

Проверка проводится в соответствии со схемой, указанной на черт. 2.

На шейки 1 и 2 переднего и заднего нижних подающих вальцов устанавливают поверочную линейку 3, на которой размещают уровень 4.

Измерения проводят в двух положениях.

Отклонения определяют по наибольшему показанию уровня.

2.4. Параллельность осей нижних и верхних подающих вальцов в горизонтальной плоскости

Черт. 3

Допуск параллельности 0,3 мм на длине 1000 мм.

Проверка проводится в соответствии со схемой, указанной на черт. 3.

Микрометрический нутромер 2 устанавливают между валами нижних подающих вальцов 1 (верхних подающих вальцов 3) в точках, наиболее удаленных друг от друга по длине вала.

Отклонение параллельности равно алгебраической разности показаний нутромера.

2.5. Параллельность осей нижних и верхних передних и задних подающих вальцов в вертикальной плоскости

Черт. 4

Допуск параллельности 0,5 мм на длине 1000 мм.

Проверка проводится в соответствии со схемой, указанной на черт. 4.

Микрометрический нутромер 2 устанавливают между валами нижнего 1 и верхнего 3 задних подающих вальцов (передних подающих вальцов) в точках, наиболее удаленных друг от друга по длине вала.

Отклонение от параллельности равно алгебраической разности показаний нутромера.

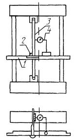
2.6. Параллельность установочной линейки оси переднего нижнего подающего вальца

Черт. 5

Допуск параллельности 0,3 мм на длине 1000 мм.

Проверка проводится в соответствии со схемой, указанной на черт. 5.

На валу переднего нижнего подающего вальца 3 на стойке 4 со специальной призмой устанавливают индикатор 5 так, чтобы его измерительный наконечник касался рабочей грани поверочной линейки 2 (закрепленной на платиках 1) и был перпендикулярен к ней.

Вертикальное положение стойки индикатора проверяют по уровню.

Измерения проводят в точках, наиболее удаленных друг от друга.

Отклонение от параллельности равно алгебраической разности показаний индикатора.

2.7. Вертикальность перемещения пильной рамки

Допуск вертикальности 0,35 мм на длине 1000 мм.

Проверка проводится в соответствии со схемой, указанной на черт. 6.

На базовой поверхности лесопильной рамы устанавливают линейку 1 для установки пил с закрепленным на ней специальным угольником 2.

В пильной рамке, поднятой в крайнее верхнее положение, закрепляют контрольную полосу 3 так, чтобы по всей ширине прилегала она к рабочей грани треугольника.

Точность вертикального закрепления контрольной полосы 0,05 мм на длине 1000 мм проверяют рамным уровнем.

На линейке устанавливают индикатор 4 так, чтобы его измерительный наконечник касался поверочной грани контрольной полосы и был перпендикулярен к ней.

Пильную рамку опускают в крайнее нижнее положение. Отклонение равно алгебраической разности показаний индикатора по всей длине перемещения пильной рамки.

Примечание. Проверку проводят при зазорах между ползунами и направляющими не более 0,3 мм.

Черт. 6

Черт. 7

2.8. Параллельность совместных перемещений обеих (правой и левой) направляющих при изменении уклона пильной рамки

Допуск параллельности 0,6 мм на длине 1000 мм.

Проверка проводится в соответствии со схемой, указанной на черт. 7.

Направляющие 1 устанавливают в положение, соответствующее наименьшему уклону пильной рамки, а затем перемещают в сторону увеличения уклона.

Штангенциркулем измеряют расстояние от края станины 2 до подвижных плит левой и правой направляющих.

Измерения проводят в двух крайних и одном промежуточном положении направляющих.

Отклонение равно наибольшей алгебраической разности результатов измерений в отдельных положениях направляющих.

3. ПРОВЕРКА ТОЧНОСТИ ЛЕСОПИЛЬНОЙ РАМЫ В РАБОТЕ

3.1. Проверку лесопильной рамы в работе проводят у потребителя после ее установки на фундаменте.

3.2. Требования к распиливаемым лесоматериалам.

Проверку лесопильной рамы на точность пиломатериалов следует проводить при распиловке не менее 2 шт. круглых лесоматериалов диаметром в вершине не менее 200 мм и длиной 3000 мм на обрезные доски и брусья толщиной не менее 40 мм.

Проверка точности лесопильных рам в работе проводится в соответствии со схемой, указанной на черт. 8.

Черт. 8

3.3. Плоскостность по пласти образца

Допуск плоскостности по пласти в продольном и диагональном направлениях 2 мм на длине 1000 мм, в поперечном направлении - 1 мм на длине 100 мм.

Проверка проводится в соответствии со схемой, указанной на черт. 8а.

3.4. Прямолинейность по кромке образца

Допуск прямолинейности по кромке 2 мм на длине 1000 мм.

Проверка проводится в соответствии со схемой, указанной на черт. 8б.

Плоскостность и прямолинейность поверхности пропила проверяют поверочной линейкой длиной до 2200 мм и щупом.

3.5. Перпендикулярность поверхности пропила базовой поверхности образца

Допуск перпендикулярности ±2 мм на длине 100 мм.

Проверка проводится в соответствии со схемой, указанной на черт. 8в.

Перпендикулярность поверхности пропила проверяют угольником и щупом.

3.6. Равномерность ширины и толщины образца

Предельные отклонения пиломатериалов по ширине и толщине, мм:

до 32 мм................. ±1,0

от 32 до 100 мм..... ±2,0

более 100 мм......... ±3,0

Равномерность ширины и толщины обрезных досок проверяют штангенциркулем.

Образцы - обрезные брусья и доски (см. черт. 8).

ИНФОРМАЦИОННЫЕ ДАННЫЕ

1. РАЗРАБОТАН И ВНЕСЕН Министерством станкостроительной и инструментальной промышленности

РАЗРАБОТЧИКИ

С.М. Хасдан, М.Н. Суворов, П.И. Ланде

2. УТВЕРЖДЕН И ВВЕДЕН В ДЕЙСТВИЕ Постановлением Государственного комитета СССР по управлению качеством продукции и стандартам от 01.03.90 № 328

3. Срок проверки - 1999 г., периодичность проверки - 10 лет

4. Стандарт соответствует СТ СЭВ 4998-85 в части ширины просвета пильной рамки 500, 750 и 1000 мм, СТ СЭВ 6687-89

5. ВЗАМЕН ГОСТ 10294-75 и ГОСТ 16415-70

6. ССЫЛОЧНЫЕ НОРМАТИВНО-ТЕХНИЧЕСКИЕ ДОКУМЕНТЫ

Обозначение НТД, на который дана ссылка

Номер пункта

ГОСТ 25338-91

2.1

7. ПЕРЕИЗДАНИЕ. Январь 1995 г.

СОДЕРЖАНИЕ

 

 




ГОСТЫ, СТРОИТЕЛЬНЫЕ и ТЕХНИЧЕСКИЕ НОРМАТИВЫ.
Некоммерческая онлайн система, содержащая все Российские Госты, национальные Стандарты и нормативы.
В Системе содержится более 150000 файлов нормативно-технической документации, действующей на территории РФ.
Система предназначена для широкого круга инженерно-технических специалистов.

Рейтинг@Mail.ru Яндекс цитирования

Copyright © www.gostrf.com, 2008 - 2026