Крупнейшая бесплатная информационно-справочная система онлайн доступа к полному собранию технических нормативно-правовых актов РФ. Огромная база технических нормативов (более 150 тысяч документов) и полное собрание национальных стандартов, аутентичное официальной базе Госстандарта. GOSTRF.com - это более 1 Терабайта бесплатной технической информации для всех пользователей интернета. Все электронные копии представленных здесь документов могут распространяться без каких-либо ограничений. Поощряется распространение информации с этого сайта на любых других ресурсах. Каждый человек имеет право на неограниченный доступ к этим документам! Каждый человек имеет право на знание требований, изложенных в данных нормативно-правовых актах!

  


 

ГОСУДАРСТВЕННЫЙ СТАНДАРТ СОЮЗА ССР

МАШИНЫ ЗЕМЛЕРОЙНЫЕ

ИНСТРУМЕНТ ДЛЯ ТЕХНИЧЕСКОГО ОБСЛУЖИВАНИЯ

ЧАСТЬ 2. РЕМОНТНЫЙ ИНСТРУМЕНТ. МЕХАНИЧЕСКИЕ СЪЕМНИКИ

ГОСТ 27718-88
(ИСО 4510/2-86)

ГОСУДАРСТВЕННЫЙ КОМИТЕТ СССР ПО СТАНДАРТАМ

Москва

ГОСУДАРСТВЕННЫЙ СТАНДАРТ СОЮЗА ССР

МАШИНЫ ЗЕМЛЕРОЙНЫЕ

Инструмент для технического обслуживания.
Часть 2. Ремонтный инструмент. Механические
съемники

Earth-moving machinery. Service tools. Part 2. Common repair tools. Mechanical pullers and pushers

ГОСТ
27718-88

(ИСО 4510/2-86)

Дата введения 01.01.89

1. НАЗНАЧЕНИЕ И ОБЛАСТЬ ПРИМЕНЕНИЯ

Настоящий стандарт устанавливает в качестве руководства при проектировании машин типы, общие требования и основные номинальные размеры механических съемников, приспособлений и переходников, используемых при выполнении ремонтных работ.

Стандарт распространяется на механические съемники, приспособления и переходники, применяемые для демонтажа шестерен и подшипников землеройных машин по ИСО 6165.

Изготовители машин должны выбирать соответствующие конструкциям машин размеры, указанные на черт. 5-8, а также указывать в соответствующих руководствах по ИСО 6750 инструменты, которые следует использовать при выполнении ремонтных работ.

2. ССЫЛКИ

Ссылочные документы приведены в приложении.

3. ТИПЫ СЪЕМНИКОВ, ПРИСПОСОБЛЕНИЙ И ПЕРЕХОДНИКОВ

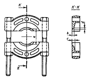
3.1. Съемники для шестерен и подшипников механические с наружным захватом (черт. 1).

3.2. Съемники для шестерен и подшипников механические с резьбовым присоединением (черт. 2.).

3.3. Приспособления механические для демонтажа шестерен и подшипников (черт. 3а и 3б).

3.4. Переходник под съемник механический с наружной и внутренней резьбами (см. черт. 4 и 2).

1 - нажимной винт, 2 - захват, 3 - двухзахватная поперечина съемника, 4 - трехзахватная поперечина съемника; 5 - универсальная поперечина съемника, 6 - односторонний захват, 7 - двусторонний захват

Черт. 1

1 - нажимной винт, 2 - переходник

Черт. 2

Для внутреннего захвата

Для наружного захвата

1 - захват, 2 - дуговая кромка

Черт. 3

1 - наружная резьба

Черт. 4

4. ОБЩИЕ ТРЕБОВАНИЯ

4.1. Конструкцией съемников и (или) приспособлений должно быть обеспечено свободное движение при минимальном зазоре между деталями.

4.2. Головки нажимного винта и (или) гайки, затягиваемые при выполнении ремонтной операции, должны иметь квадратную или шестигранную форму и размер, соответствующий стандартному ключу по ИСО 4510/1.

4.3. Конец нажимного винта должен быть заострен под углом 60° для приложения нагрузки в центре вала.

4.4. Концы захватов должны быть сконструированы так, чтобы предотвратить их соскальзывание при демонтаже шестерни или подшипника.

4.5. Съемные приспособления с наружным и внутренним захватами должны быть удобными для возможного использования со съемниками.

4.6. Переходники должны быть сконструированы для использования со съемниками с резьбовым присоединением.

5. РАЗМЕРЫ

Приводимые черт. 5, 6 и 7 иллюстрируют тины съемников и приспособлений и не определяют их конструкцию (форму, конфигурацию и т.д.).

5.1. Съемники с захватами (черт. 5)

Размеры, мм

Типы

а

b

с

d

e

f

g

1

80 max

6,5

17,5

6,0

9,5

9,0

6,5

2

125 max

9,5

24,0

8,0

7,5

26,0

11,5

3

280 max

14,5

26,0

14,5

-

-

-

4

От 40 до 150

3,5

29,0

6,5

-

-

-

5

От 75 до 225

6,5

51,0

6,5

-

-

-

5.2. Съемники с резьбовым приспособлением (черт. 6)

Размеры, мм

Типы

a

1

От 90 до 300

2

От 180 до 420

Черт. 6

5.3. Дуговая кромка приспособления к съемнику (черт. 7)

Размеры, мм

Типы

а

b

с

d

1

От 5 до 50

2,0

3,0

4,5

2

От 10 до 110

5,0

9,0

7,5

3

От 15 до 135

6,5

13,0

11,0

4

От 15 до 205

7,5

18,5

12,0

5

От 20 до 340

9,5

20,0

23,0

Черт. 7

5.4. Наружная резьба переходника к съемнику (черт. 8)

1 - резьба а

Размеры, мм

Типы

а

1

М 12´1,5

2

М 12´1,75

3

M 14´l,5

4

М 14´2,0

5

М 16´1,5

6

М 16´2,0

7

М 18´2,5

8

М 20´2,5

Черт. 8

ПРИЛОЖЕНИЕ А

ПРИМЕРЫ ПРИМЕНЕНИЯ МЕХАНИЧЕСКИХ СЪЕМНИКОВ И ПРИСПОСОБЛЕНИЙ К НИМ

A.1. Съемник (черт. 9)

1 - нажимной винт; 2 - шестерня

Черт. 9

А.2. Съемник с резьбовым присоединением (черт. 10)

1- нажимной винт; 2 - переходник; 3 - съемник

Черт. 10

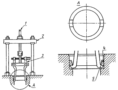
А.3. Съемник с приспособлением для внутреннего захвата (черт. 11).

1 - нажимной винт; 2 - съемник; 3 - приспособление для внутреннего захвата; 4 - наружное кольцо подшипника; 5 - захват

Черт. 11

А.4. Съемник с приспособлением для наружного захвата (черт. 12)

1 - нажимной винт; 2 - съемник; 3 - приспособление для наружного захвата

Черт. 12

А.5. Съемное приспособление для внутреннего захвата с нажимным винтом (черт. 13)

1 - нажимной винт; 2 - съемное приспособление для внутреннего захвата; 3 - наружное кольцо подшипника

Черт. 13

ПРИЛОЖЕНИЕ
Обязательное

ССЫЛОЧНЫЕ НОРМАТИВНО-ТЕХНИЧЕСКИЕ ДОКУМЕНТЫ

Раздел, подраздел, пункт в котором приведена ссылка

Обозначение соответствующего стандарта

Обозначение отечественного нормативно-технического документа, на который дана ссылка

4.2

ИСО 4510/1

-

1

ИСО 6165

-

1

ИСО 6750

-

ИНФОРМАЦИОННЫЕ ДАННЫЕ

1. ВНЕСЕН Министерством строительного, дорожного и коммунального машиностроения СССР

2. Постановлением Государственного комитета СССР по стандартам от 25.05.88 № 1456 введен в действие государственный стандарт СССР ГОСТ 27718-88, в качестве которого применен международный стандарт ИСО 4510/2-86, с 01.01.89

СОДЕРЖАНИЕ

 

 




ГОСТЫ, СТРОИТЕЛЬНЫЕ и ТЕХНИЧЕСКИЕ НОРМАТИВЫ.
Некоммерческая онлайн система, содержащая все Российские Госты, национальные Стандарты и нормативы.
В Системе содержится более 150000 файлов нормативно-технической документации, действующей на территории РФ.
Система предназначена для широкого круга инженерно-технических специалистов.

Рейтинг@Mail.ru Яндекс цитирования

Copyright © www.gostrf.com, 2008 - 2026