|
|
|
МЕЖГОСУДАРСТВЕННЫЙ СТАНДАРТ
Постановлением Государственного комитета СССР по стандартам от 26 февраля 1985 г. № 405 дата введения в действие установлена 01.01.87 Настоящий стандарт устанавливает общие требования к методам химического анализа соленых вод, дистиллята, накипи и шламов, промывных растворов стационарных дистилляционных опреснительных установок (далее - ДОУ). Термины, применяемые в настоящем стандарте, и их пояснения приведены в приложении 1. Содержание: 1. ОБЩИЕ ТРЕБОВАНИЯ К МЕТОДАМ ПРОВЕДЕНИЯ АНАЛИЗА1.1. Отбор и консервация проб, приборы, аппаратура и реактивы, измерения и обработка результатов измерений, а также требования безопасности должны соответствовать требованиям настоящего стандарта и ГОСТ 8.010-90*. * - На территории Российской Федерации действует ГОСТ Р 8.563-96* (здесь и далее). 1.2. Содержание методов химического анализа при опреснении соленых вод на стационарных ДОУ должно соответствовать требованиям государственных стандартов на методы химического анализа конкретных объектов: соленых вод, дистиллята, накипи и шламов, промывных растворов и т.п. 2. ОБЩИЕ ТРЕБОВАНИЯ К ОТБОРУ ПРОБ И КОНСЕРВАЦИИ2.1. Отбор и консервация проб для анализа должны проводиться с учетом требований нормативно-технической документации на методы анализа конкретных объектов. 2.2. Порядок и условия отбора и консервации проб должны обеспечивать их соответствие по химическому составу и физико-химическим показателям объекту анализа. Объем проб должен быть достаточным для проведения анализа в соответствии с требованиями нормативно-технической документации на конкретные методы анализа. Рекомендации по отбору и консервации проб приведены в приложении 2. 2.3. Реактивы и растворы, применяемые для консервации, должны удовлетворять требованиям разд. 3 настоящего стандарта. 3. ОБЩИЕ ТРЕБОВАНИЯ К РЕАКТИВАМ, РАСТВОРАМ, АППАРАТУРЕ3.1. При проведении химического анализа следует использовать реактивы, имеющие квалификацию «химически чистый» (х. ч.) или «чистый для анализа» (ч. д. а.). Перечень основных реактивов, используемых при проведении химического анализа, приведен в приложении 3. 3.2. Для приготовления растворов следует использовать дистиллированную воду по ГОСТ 6709-72*. 3.3. Стандартные растворы следует готовить в соответствии с требованиями ГОСТ 4212-76* и нормативно-технической документации на методы анализа конкретных объектов. 3.4. Для приготовления стандартных растворов следует использовать металлы и образцовые вещества, содержащие не менее 99,95 % основного вещества. 3.5. При приготовлении растворов с использованием реактивов после каждого добавления реактива необходимо перемешивать раствор. 3.6. Буферные растворы следует готовить из стандарт-титров по ГОСТ 8.135-74* или в соответствии с требованиями ГОСТ 4919.2-77* и нормативно-технической документации на методы анализа конкретных объектов. 3.7. Растворы индикаторов следует готовить в соответствии с требованиями ГОСТ 4919.1-77* и нормативно-технической документации на методы анализа конкретных объектов. 3.8. Вспомогательные реактивы и растворы, применяемые в анализе, следует готовить в соответствии с требованиями ГОСТ 4517-87 и нормативно-технической документации на методы анализа конкретных объектов. 3.9. Выражения «горячая» вода (раствор) и «теплая» вода (раствор) характеризуют соответственно степень нагрева воды (раствора) до температуры 60-70 и 40-50°С. 3.10. Способы выражения концентрации растворов:
Примечание. Допускается выражать концентрацию раствора в массовых долях (%) - масса вещества в 100 г раствора. Соотношение концентрации, отнесенной к единице объема, и концентрации, выраженной в массовых долях определяемого компонента, может быть выражено уравнением:
где X - массовая доля определяемого компонента в 100 г раствора, %; у - массовая концентрация определяемого компонента, г/дм3; ρ - плотность исследуемого раствора, г/см3. 3.11. Содержание компонентов в твердых пробах следует выражать в массовых долях (%). 3.12. В выражении «раствор, разбавленный 1:1, 1:2 и т.д.» первая значащая цифра означает объемную часть разбавляемого реактива, вторая - объемную часть используемого растворителя. 3.13. Если в стандарте на метод анализа не указана концентрация или степень разбавления кислоты или водного аммиака, то следует использовать концентрированные кислоту и водный аммиак по соответствующим стандартам. 3.14. Осадки и вещества для приготовления растворов следует высушивать в сушильном шкафу с терморегулятором, обеспечивающим максимальную температуру 250°С. Основная погрешность стабилизации температуры не должна выходить за пределы ±5°С. 3.15. Осадки, вещества, фарфоровые и платиновые изделия следует прокаливать в муфельной печи с терморегулятором, обеспечивающим максимальную температуру 1000°С. Основная погрешность стабилизации температуры не должна выходить за пределы +15°С. 3.16. Для проведения анализа, хранения реактивов и растворов следует применять тару и изделия из стекла, фарфора, кварца, платины, серебра, полиэтилена. Перечень наиболее часто применяемых видов тары и изделий приведен в приложении 4. 3.17. При подготовке тары для хранения растворов и посуды для проведения анализов следует руководствоваться приложением 2 и нормативно-технической документацией на метод анализа конкретных объектов. 4. МЕТРОЛОГИЧЕСКОЕ ОБЕСПЕЧЕНИЕ4.1. Нормальные условия проведения анализа: температура окружающего воздуха (20±5)°С; атмосферное давление 84,0-106,6 кПа (630-800 мм рт. ст.); относительная влажность 30-80 %. 4.2. Мерная посуда и приборы, используемые при проведении химических анализов, должны соответствовать 1 и 2-му классам точности по ГОСТ 1770-74*, ГОСТ 29227-91 и ГОСТ 29251-91. 4.3. Растворы должны фильтроваться через бумажные или стеклянные фильтры с размерами пор от 10-3 до 10-2 мкм - для бумажных фильтров, до 40 мкм - для стеклянных. 4.4. При проведении анализов следует пользоваться стандартизованными средствами измерения, прошедшими государственную поверку, и нестандартизованными средствами измерения, проведшими ведомственную метрологическую аттестацию или поверку по ГОСТ 8.326-78.* * - На территории Российской Федерации действуют ПР 50.2.009-94. 4.5. Числовые значения электродвижущей силы (ЭДС) и рН следует измерять на лабораторных рН-метрах, иономерах, высокоомных потенциометрах, допускаемые погрешности измерения которых не должны выходить за пределы ±5 мВ. 4.6. Светопоглощение и светопропускание растворами следует измерять на фотоэлектроколориметрах, допускаемые основные погрешности которых не должны выходить за пределы ±1 % (абсолютные единицы доли светопропускания). 4.7. Интенсивность излучения пламени следует измерять на пламенных фотометрах, допускаемая основная погрешность которых не должна выходить за пределы ±0,5 мкА. 4.8. Время должно определяться секундомерами и часами с ценой деления 1 с. 4.9. Анализируемое вещество, вещества и реактивы для приготовления стандартных растворов, полученные осадки при гравиметрическом анализе следует взвешивать на весах, погрешность взвешивания которых не должна быть более 0,0002 г. Вещества и реактивы для приготовления вспомогательных растворов следует взвешивать на технических весах, погрешность взвешивания которых не должна быть более 0,01 г. 4.10. Титр приготовленного стандартного раствора следует устанавливать не менее чем по трем аликвотным частям раствора, рассчитывая его с точностью до третьей значащей цифры. 4.11. Массовую концентрацию, молярную концентрацию эквивалента или массовую долю каждого компонента следует определять в двух параллельно отобранных навесках, аликвотных частях или пробах. 4.12. Одновременно с выполнением анализа в тех же условиях должны проводиться два контрольных опыта для внесения соответствующей поправки и исключения систематической погрешности, связанной с применяемыми реактивами. 4.13. Расхождение результатов двух параллельных определений не должно превышать допускаемых расхождений dn для соответствующих концентраций, приведенных в стандартах на методы анализа, при доверительной вероятности Р не менее 0,95. Допускаемые расхождения для промежуточных значений концентраций определяют интерполяцией. 4.14. Допускаемое расхождение dn для соответствующих концентраций должно определяться в стадии разработки конкретных методик анализа на основании числовых значений среднего квадратического отклонения результатов определений, установленных в соответствии с ГОСТ 25086-87* и ГОСТ 8.381-80, или допускаемой основной погрешности единичного косвенного измерения. Формулы для расчета допускаемого расхождения результатов параллельных определений dn приведены в приложении 5. 4.15. Если расхождения результатов параллельных определений превышают значения dn приведенные в стандарте на метод анализа или методике, аттестованной по ГОСТ 8.010-72, то анализ обходимо повторить. Если при повторении анализа расхождения результатов параллельных определений превышают значения dn, то дальнейшее выполнение анализа по данному методу должно быть прекращено до явления и устранения причин, вызвавших расхождения. 4.16. За результат анализа принимают среднеарифметическое двух параллельных определений с ведением поправки на среднеарифметическое значение контрольного опыта. 4.17. Числовое значение результата анализа должно содержать последнюю значащую цифру в том же разряде, в котором находится последняя значащая цифра значения dn. 4.18. Правильность результатов анализа следует контролировать по стандартным образцам в соответствии с ГОСТ 8.315-97*. При отсутствии стандартных образцов правильность результатов анализа следует подтверждать определением известной добавки исследуемого компонента к материалу пробы одновременно с анализом материала пробы, не содержащего добавок. 4.19. Добавку следует вводить в виде аликвотной части стандартного раствора данного компонента к навеске анализируемого материала до проведения анализа. Значение добавки (объем стандартного раствора) необходимо выбирать таким образом, чтобы аналитический сигнал определяемого компонента увеличивался в 1,5-2 раза по сравнению с аналитическим сигналом этого компонента при отсутствии добавки. При этом должны сохраняться оптимальные условия проведения анализа, предусмотренные конкретным стандартом на метод анализа или методикой, аттестованной по ГОСТ 8.010-90. 4.20. Содержание исследуемого компонента после введения добавки следует устанавливать по двум параллельным определениям. Среднеарифметическое значение результатов параллельных определений следует принимать за содержание исследуемого компонента в пробе с добавкой. Значение добавки рассчитывают как разность между содержанием компонента в пробе с добавкой и содержанием компонента в пробе без добавки. Расхождения между наибольшими и наименьшими результатами параллельных определений для пробы с добавкой не должны превышать значений допускаемого расхождения dnд, приведенных в конкретном стандарте на метод анализа или методике, аттестованной по ГОСТ 8.010-90. Результаты анализа следует считать правильными, если найденное значение добавки отличается от приведенного содержания не более чем на значение, удовлетворяющее выражению:
где dп и dпд - допускаемые расхождения результатов параллельных определений компонента соответственно в пробе без добавки и в пробе с добавкой, приведенные в конкретном стандарте на метод анализа или в методике, аттестованной по ГОСТ 8.010-90. 4.21. За окончательный результат анализа следует принимать результат, удовлетворяющий требованиям пп. 4.12 и 4.16 настоящего стандарта и представленный по форме согласно МИ 1317-86. 4.22. Градуировочные графики, по которым определяется концентрация компонентов, должны быть построены в прямоугольных координатах. По оси абсцисс следует откладывать массу, массовую долю вещества или функцию от нее, а по оси ординат - значение аналитического сигнала, измеренный параметр или функцию от него. Измерения следует проводить в порядке возрастания концентрации определяемых компонентов. Способ и условия построения градуировочного графика (выбор аналитического сигнала, число точек, необходимое для построения графика и т. д.) должны быть указаны в конкретном стандарте на метод анализа или методике, аттестованной по ГОСТ 8.010-90. 5. ТРЕБОВАНИЯ БЕЗОПАСНОСТИ5.1. Размещение, хранение, транспортирование реактивов и растворов для проведения химического анализа должны соответствовать требованиям ГОСТ 12.1.004-91*, ГОСТ 12.1.010-76*, ГОСТ 12.1.044-89* и ГОСТ 12.4.026-76*. * - На территории Российской Федерации действует ГОСТ Р 12.4.026-2001. 5.2. Расположение и организация рабочих мест, оснащение приспособлениями для выполнения химических анализов должны соответствовать требованиям ГОСТ 12.1.003-83*, ГОСТ 12.1.005-88*, ГОСТ 12.1.007-76*, ГОСТ 12.1.009-76, ГОСТ 12.2.003-91, ГОСТ 12.2.007.0-75*, ГОСТ 12.2.007.14-75*, ГОСТ 12.4.021-75*. Освещенность рабочей зоны должна соответствовать требованиям Санитарных норм и правил СНиП, утвержденных Госстроем СССР. ПРИЛОЖЕНИЕ 1
|
|||||||||||||||||||||||||||||||||||||||||||||||||||||||||||||||||||||||||||||||||||||||||||||||||||||||||||||||||||||||||||||||||||||||||||||||||||||||||||||||||||||||||||||||||||||||||||||||||||||||||||||||||||||||||||||||||||||||||||||||||||||||||||||||||||||||||||||||||||||||||||||||||||||||||||||||||||||||||||||||||||||||||
|
Термин |
Пояснение |
|
Аликвотная часть раствора |
Объем раствора, номинально необходимый для проведения анализа по конкретной методике, кратный объему раствора, подготовленного для анализа |
|
Аналитический сигнал |
Выходной сигнал средства измерения, функционально связанный с концентрацией определяемого вещества |
|
Буферный раствор |
Раствор с определенной устойчивой концентрацией водородных ионов, представляющий собой смесь слабой кислоты и ее соли или слабого основания и его соли и используемый для воспроизведения и поддержания числовых значений рН в растворах различного состава |
|
Водородный показатель (рН) |
|
|
Гравиметрический анализ |
Метод анализа, в котором аналитический сигнал получают взвешиванием веществ |
|
Градуировочный график |
Графическое изображение зависимости между значениями концентраций определяемого компонента и аналитического сигнала |
|
Дистиллят опреснительной установки |
|
|
Доверительная вероятность |
Величина, показывающая вероятность того, что действительное значение исследуемой переменной находится в принятом диапазоне значений |
|
Жесткость |
Суммарная концентрация (С) ионов кальция и магния (М2+) в исследуемом растворе, выраженная в единицах молярной концентрации их эквивалентов С(1/2 М2+) ммоль/дм3 |
|
Имитирующий раствор |
Искусственно приготовленный раствор для воспроизведения свойств исследуемого раствора |
|
Исследуемый раствор |
Раствор, отобранный для анализа и содержащий определяемые компоненты |
|
Колориметрический анализ |
Метод анализа, в котором аналитический сигнал получают измерением светопоглощения или светопропускания растворов |
|
Консервация |
Совокупность операций, обеспечивающих постоянство пробы по концентрации определяемого компонента, физико-химическим показателям на период ее хранения до начала проведения анализа |
|
Кривая титрования |
График зависимости электродвижущей силы или оптической плотности от объема титрованного раствора |
|
Молярная концентрация эквивалента |
Величина Сэквх, численно равная частному от деления массовой концентрации вещества х на молярную массу его эквивалента и рассчитываемая по формуле:
где Стх - массовая концентрация вещества х, г; Мэквх - молярная масса эквивалента вещества х, г. Примечание. Величина Сэквх выражается в единицах моль/дм3, ммоль/дм3. Допускается обозначение единиц «н» |
|
Молярная масса эквивалента |
Величина Мэквх, численно равная произведению молярной массы вещества х на фактор эквивалентности и рассчитываемая по формуле:
где Мх - молярая масса вещества х, г; fэквх - фактор эквивалентности Примечание. Величина Мэквх выражается в единицах кг/моль, г/моль, мг/моль |
|
Накипь |
Твердые отложения, образующиеся на теплопередающих поверхностях в результате нагревания и испарения раствора, содержащего накипеобразующие компоненты |
|
Образцовое вещество |
Образцовая мера в виде вещества с известными свойствами, воспроизводимыми при соблюдении условий приготовления, указанных в утвержденной спецификации |
|
Окисляемость воды |
|
|
Определение |
Измерение концентрации вещества при проведении количественного анализа |
|
Основная погрешность |
- |
|
Основное вещество |
Вещество, определяющее физические и физико-химические свойства реактива |
|
Параллельные определения |
Измерения концентрации вещества при проведении количественного анализа, выполненные одновременно в одинаковых условиях |
|
Пламенно-фотометрический анализ |
Метод анализа, в котором аналитический сигнал получают измерением излучения атомов определяемого элемента, возбужденных в пламени горючей газовой смеси. Примечание. Наиболее распространенные смеси: пропан-воздух (температура пламени 1925 °С); ацетилен-воздух (температура пламени 2125-2397 °С) |
|
Потенциометрический анализ (ионометрия, рН-метрия) |
Метод анализа, в котором аналитический сигнал получают измерением электродвижущей силы цепи, включающей в себя измерительный электрод, электрод сравнения, исследуемый раствор и высокоомный потенциометр |
|
Проба |
Часть вещества или раствора, в которой достоверно воспроизводятся его состав, физические, химические и физико-химические свойства, подлежащие контролю |
|
Промывной раствор |
Раствор, используемый для промывки оборудования дистилляционных опреснительных стационарных установок |
|
Раствор |
Однофазная система, состоящая из растворенного вещества, растворителя и продуктов их взаимодействия |
|
Реактив |
Химическое вещество с достоверно известным строго нормированным составом компонентов и примесей. Примечание. По степени чистоты различают реактивы особой чистоты (ос. ч.), химически чистые (х. ч.), чистые для анализа (ч. д. а.), чистые (ч.), очищенные (очищ.), технические продукты (техн.) |
|
Систематическая погрешность |
- |
|
Случайная погрешность |
- |
|
Соленые воды |
|
|
Стандартный образец |
- |
|
Стандартный раствор |
Раствор с точно известной концентрацией вещества, используемый для воспроизведения единиц физических величин, характеризующих состав или свойства |
|
Стандарт-титр |
Исходное вещество для приготовления титрованного или буферного раствора с достоверно известными молярной концентрацией эквивалента или числовым значением водородного показателя (рН) |
|
Сухой остаток |
|
|
Табулированная величина |
Величина, установленная по справочным таблицам |
|
Титр |
Масса растворенного вещества в граммах, содержащаяся в 1 см3 раствора |
|
Титрование |
Основной прием титриметрического анализа, заключающийся в постепенном прибавлении титрованного раствора из бюретки к исследуемому раствору до достижения эквивалентности |
|
Титрованный раствор |
Раствор с точно установленной концентрацией вещества, которая является мерой для воспроизведения единиц физических величин, характеризующих состав веществ и материалов |
|
Титриметрический анализ |
Метод анализа, в котором аналитический сигнал получают измерением объема титрованного раствора, добавляемого к исследуемому раствору |
|
Фактор эквивалентности |
Безразмерная величина fэквх, числовое значение которой обозначает долю реальной частицы вещества X, которая в данной кислотно-основной реакции эквивалентна одному иону водорода или в данной окислительно-восстановительной реакции - одному электрону. Примечание. Фактор эквивалентности может быть равен или меньше единицы |
|
Шлам |
Нерастворимые отложения (из воды) в паровых котлах, подогревателях, испарителях в виде ила и твердых частиц |
|
Щелочность |
Суммарная концентрация (С) гидроксил-ионов в исследуемом растворе, обусловленная присутствием гидроксидов, карбонатов, бикарбонатов, фосфатов, силикатов, гуматов, выраженная в единицах молярной концентрации эквивалента кислоты С(lHСl) ммоль/дм3 или C(1/2H2SO4) ммоль/дм3 |
1. При отборе проб питательной воды и дистиллята из аппаратов и коммуникаций следует использовать пробоотборные устройства (черт. 1 и черт. 2), дающие возможность с отбором проб одновременно охлаждать их.
2. Пробоотборное устройство (черт. 1), предназначенное для отбора проб питательной воды из аппаратов и коммуникаций, представляет собой цилиндрический сосуд с встроенным холодильником и рядом штуцеров.
|
Характеристика пробоотборного устройства |
|
|
Рабочая вместимость |
2-4 дм3 |
|
Рабочее давление |
0,6-1,0 МПа |
|
|
(6-10 кгс/см2) |
|
Рабочая температура |
120-160°С |
|
Температура охлаждающей воды |
15-20°С |
|
Поверхность теплообмена холодильника |
0,16-0,25 м2 |
2.1. Пробоотборное устройство (черт. 1) следует располагать на расстоянии 0,5-1 м от места отбора пробы.
2.2. При отборе проб из аппаратов или коммуникаций, работающих под вакуумметрическим давлением, необходимо закрыть клапаны на выходе пробы 4 из пробоотборного устройства, отводе газов 7 и открыть клапаны на входе 5 и выходе 6 охлаждающей воды, а также на входе пробы 3.
2.3. Перед отбором пробы необходимо промыть пробоотборное устройство двукратным заполнением и опорожнением его питательной водой в рабочих условиях.
При опорожнении пробоотборного устройства необходимо открыть клапаны на выходе пробы 4 и отводе газов 7 и закрыть - на входе пробы 3.
2.4. После промывки проводят рабочее заполнение пробоотборного устройства и, закрыв клапаны на входе пробы 3 и отводе газов 7 и открыв на выходе пробы 4, отбирают в тару определенный объем раствора для химического анализа. С целью удобства отбора пробы на штуцер 4 следует надеть резиновый шланг.
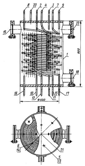
3. Пробоотборное устройство проточного типа (черт. 2), предназначенное для одновременного отбора проб дистиллята из восьми точек аппарата (испарителя или регенеративного подогревателя ДОУ), представляет собой цилиндрический сосуд, в который встроены восемь автономных холодильников змеевикового типа одинаковой поверхности теплообмена и ряд штуцеров.
3.1. В трубное пространство холодильников непрерывно поступает дистиллят из восьми различных точек аппарата, в межтрубное пространство подается охлаждающая вода.
Температуру конденсата на выходе из пробоотборного устройства регулируют интенсивностью подачи охлаждающей воды с помощью клапана.

1 - корпус; 2 - крышка; 3 - штуцер входа отбираемой пробы; 4 - штуцер выхода пробы; 5 - штуцер входа охлаждающей воды; 6 - штуцер выхода охлаждающей воды- 7 - штуцер отвода газов; 8 - штуцер для соединения с атмосферой; 9 - штуцер для термометра

1 - корпус; 2-9 - штуцеры для входа дистиллята; 10-17- штуцеры для выхода дистиллята; 18 - штуцер для входа охлаждающей воды; 19 - штуцер для выхода охлаждающей воды; 20 - штуцер для выхода газов; 21 - штуцер для опорожнения; 22 - лючок
|
Характеристика пробоотборного устройства |
|
|
Рабочее давление |
0,5-0,6 МПа |
|
|
(5-6 кгс/см2) |
|
Рабочая вместимость аппарата |
50 дм3 |
|
Рабочая температура |
38-107°С |
|
Температура охлаждающей воды |
24-25°С |
|
Поверхность теплообмена холодильника |
0,4 м2 |
4. При отборе проб для химического анализа используют тару по ГОСТ 3885-73*.
5. Отложения, в том числе и жировые, следует отмывать со стенок тары с использованием растворов мыла и синтетических моющих средств; обработкой теплым раствором соляной кислоты 1:1, содержащим пероксид водорода с массовой долей 5-6 % или растворами гидроксида натрия (калия), тринатрийфосфата с массовой долей 10 %, калия марганцовокислого с массовой долей 5 %, серной кислоты 1:1с массовой концентрацией двухромовокислого натрия 30 г/дм3 (хромовая смесь), органическими растворителями (четыреххлористый углерод, спирт этиловый).
6. Порядок подготовки тары к отбору проб в зависимости от определяемого компонента - в соответствии с табл. 1.
Таблица 1
Подготовка тары к отбору проб
|
Определяемый компонент |
Материал тары |
Способ обработки тары |
|
Железо (общее) |
Стекло |
Горячая соляная кислота, разбавленная 1:1 |
|
Медь |
Стекло |
Теплая азотная кислота, разбавленная 1:3 |
|
Кремниевая кислота |
Полиэтилен |
Теплый раствор гидроокиси натрия с массовой долей 2 % и последующая промывка обескремненной водой |
|
Натрий |
Полиэтилен |
Раствор хлористого натрия с массовой долей 0,1 % и последующая промывка дистиллированной водой |
|
Кальций, магний, сульфаты, карбонаты |
Стекло |
Специальной обработки не требует |
|
Нефтепродукты |
Стекло |
7. Перед отбором пробы тару следует трижды ополоснуть исследуемой жидкостью. Для определения содержания масел на месте пробу следует отбирать в отдельную посуду, исключив операцию ее предварительного ополаскивания исследуемой жидкостью.
8. Рекомендации по консервации проб с помощью реактивов в зависимости от определяемого компонента указаны в табл. 2.
Таблица 2
Консервация проб
|
Компонент |
Реактив и метод консервации пробы |
|
Железо (общее) |
25 см3 азотной кислоты на 1 дм3 пробы |
|
Ионы аммония |
Охлаждением пробы до 3-4°С или добавлением 1 см3 серной кислоты на 1 дм3 пробы |
|
Медь |
5 см3 азотной кислоты на 1 дм3 пробы или 5-10 см3 соляной кислоты, разбавленной 1:1, на 1 дм3 пробы |
|
Никель |
5 см3 азотной кислоты на 1 дм3 пробы |
|
Нитраты и нитриты |
Охлаждением пробы до 3-4°С или добавлением 1 см3 серной кислоты на 1 дм3 пробы, или добавлением 2-4 см3 хлороформа на 1 дм3 пробы |
|
Сульфаты |
Охлаждением до 3-4°С или добавлением 2-4 см3 хлороформа на 1 дм3 пробы, или добавлением 2 см3 азотной кислоты на 1 дм3 пробы |
|
Фосфаты |
2-4 см3 хлороформа на 1 дм3 пробы |
|
Окисляемость: кислые растворы |
|
|
1 - 5 см3 серной кислоты на 1 дм3 пробы |
|
|
щелочные растворы |
Пробу не консервируют |
|
Хром |
5 см3 азотной кислоты на 1 дм3 пробы |
|
Жесткость: кальций, магний, натрий, карбонаты, хлориды |
|
|
Пробы не консервируют |
|
|
Нефтепродукты |
9. Тара и средства для отбора проб твердых или сыпучих продуктов (накипи, шлама и т.п.) должны быть выполнены из материалов, исключающих воздействие на них исследуемого продукта.
10. Среднюю пробу твердых или сыпучих продуктов отбирают методом квартования смеси не менее трех разовых проб.
Аммиак водный по ГОСТ 3760-79*.
Алюминий азотнокислый 9-водный по ГОСТ 3757-75*.
Алюминий сернокислый по ГОСТ 3758-75*.
Аммоний лимоннокислый по ТУ 6-09-01-768-89.
Аммоний молибденовокислый по ГОСТ 3765-78*.
Аммоний надсернокислый по ГОСТ 20478-75*.
Аммоний роданистый по СТ СЭВ 222-75.
Аммоний фосфорнокислый двузамещенный по ГОСТ 3772-74*.
Аммоний фтористый по ГОСТ 4518-75*.
Аммоний хлористый по ГОСТ 3773-72*.
Аммоний щавелевокислый по ГОСТ 5712-78*.
Бария гидроокись 8-водная по ГОСТ 4107-78*.
Барий хлористый по ГОСТ 4108-72*.
Водорода перекись по ГОСТ 177-88*.
Гидроксиламина гидрохлорид по ГОСТ 5456-79*.
Глицерин по ГОСТ 6259-75*.
Д(+)-глюкоза по ГОСТ 6038-79*.
Диметилглиоксим по ГОСТ 5828-77*.
2,2'-дипиридил.
Дитизон по ТУ 6-09-07-1684-89.
1,5-дифенилкарбазид по ТУ 6-09-07-1672-88.
Железо треххлористое 6-водное по ГОСТ 4147-74*.
Кадмий уксуснокислый 2-водный по ТУ 6-09-5446-89.
Калия гидроокись по ГОСТ 24363-80*.
Калий азотнокислый по ГОСТ 4217-77*.
Калий йодистый по ГОСТ 4232-74*.
Калий йодноватокислый по ГОСТ 4202-75*.
Калий марганцовокислый по ГОСТ 20490-75*.
Калий-натрий виннокислый 4-водный по ГОСТ 5845-79*.
Калий сернистокислый пиро по ТУ 6-09-5312-86.
Калий сурьмяновиннокислый с массовой долей основного вещества не менее 99,5 % нерастворимых в воде веществ - не более 0,01 %,
Калий хромовокислый по ГОСТ 4459-75*.
Калий хлористый по ГОСТ 4234-77*.
Кальций хлористый по ТУ 6-09-4711-81.
Квасцы алюмокалиевые (калий-алюминий сернокислый) по ГОСТ 4329-77*.
Квасцы железоаммонийные (железо-аммоний сернокислый) по ГОСТ 4205-77.
Кислота азотная по ГОСТ 4461-77*.
Кислота аскорбиновая с массовой долей основного вещества не менее 99 %.
Кислота лимонная моногидрат и безводная по ГОСТ 3652-69*.
Кислота ортофосфорная по ГОСТ 6552-80*.
Кислота серная по ГОСТ 4204-77*.
Кислота соляная по ГОСТ 3118-77*.
Кислота сульфаниловая по ГОСТ 5821-78.
Кислота сульфосалициловая 2-водная по ГОСТ 4478-78*.
Кислота уксусная по ГОСТ 61-75*.
Кислота фтористоводородная по ГОСТ 10484-78*.
Кислота щавелевая по ГОСТ 22180-76*.
Магний сернокислый 7-водный по ГОСТ 4523-77.
Марганец хлористый по ГОСТ 612-75*.
Медь (II) сернокислая 5-водная по ГОСТ 4165-78*.
Метол (4-метиламинофенолсульфат) по ГОСТ 25664-83*.
Натрия гидроокись по ГОСТ 4328-77*.
Натрий двууглекислый по ГОСТ 2156-76*.
Натрий N, N-диэтилдитиокарбамат по ГОСТ 8864-71*.
Натрий сернистый 9-водный по ГОСТ 2053-77*.
Натрий серноватистокислый (тиосульфат натрия) по СТ СЭВ 223-75.
Натрий сернокислый безводный по ГОСТ 4166-76*.
Натрий углекислый 10-водный по ГОСТ 84-76*.
Натрий уксуснокислый 3-водный по ГОСТ 199-78*.
1-нафтиламин по ТУ 6-09-07-1703-90.
4-аминоантипирин с массовой долей основного вещества не менее 99 % и остатком после прокаливания не более 0,2 %.
Реактив Грисса по ГОСТ 4517-87.
Реактив Несслера по ГОСТ 4517-87.
Ртуть (I) азотнокислая 2-водная по ГОСТ 4521-78*.
Ртуть по ГОСТ 4658-73*.
Диметилсафранин с максимумом кривых светопоглощения (274±5) мм - для ультрафиолетовой области; (540±5) мм - для видимой области.
Серебро азотнокислое по ГОСТ 1277-75*.
Соль динатриевая этилендиамин N, N, N, N-тетрауксусной кислоты 2-водная (трилон Б) по ГОСТ 10652-73*.
Спирт бутиловый нормальный технический по ГОСТ 5208-81*.
Спирт этиловый ректификованный технический по ГОСТ 18300-87.
Сплав Деварда с массовой долей примеси азота не более 0,03 %.
Тиомочевина по ГОСТ 6344-73*.
Углерод четыреххлористый по ГОСТ 20288-74*.
о-Фенантролин сернокислый с массовой долей основного вещества не менее 98 % и остатком после прокаливания не более 0,05 %.
Фенол по ТУ 6-09-5303-86.
Цинк гранулированный по ТУ 6-09-5294-86.
Хлороформ технический по ГОСТ 20015-88*.
Эфир этиловый технический плотностью 0,717 г/см3 с массовой долей основного вещества не менее 98 %.
Бромкрезоловый зеленый с массовой долей основного вещества не менее 90 %, нерастворимых в этиловом спирте веществ - не более 0,5 %.
Бромфеноловый синий с массовой долей основного вещества не менее 98 %, нерастворимых в этиловом спирте веществ - не более 0,5 %.
Дифенилкарбазон по ТУ 6-09-5205-85.
Триэтаноламин с показателем преломления при (20±0,1)°С - 1,4852 и массовой долей основного вещества не менее 97 %.
Кальцион - индикатор в трилонометрии.
Крахмал растворимый по ГОСТ 10163-76*.
Метиленовый голубой с массовой долей основного вещества не менее 80 %, нерастворимых в этиловом спирте веществ - не более 0,6 %.
Метиловый красный.
Метиловый оранжевый по ТУ 6-09-5171-84.
Мурексид - индикатор в трилонометрии.
Фенолфталеин по ТУ 6-09-5169-84.
Эриохром черный Т - индикатор в трилонометрии.
Хромовый темно-синий - индикатор в трилонометрии, массовая доля нерастворимых в воде веществ - не более 0,1 %.
Хромоген черный специальный ЕТ-00 - индикатор в трилонометрии.
Поправочные коэффициенты к молярной концентрации эквивалента С = 0,1 и для стандарт-титров:
|
аммония роданистого |
-1,000±0,002; |
|
йода |
-1,000±0,003; |
|
калия гидроокиси |
-1,000±0,003; |
|
калия марганцовокислого |
-1,000±0,003; |
|
кислоты азотной |
-1,000±0,002; |
|
кислоты серной |
-1,000±0,002; |
|
кислоты соляной |
-1,000±0,002; |
|
кислоты уксусной |
-1,000±0,002; |
|
кислоты щавелевой |
-1,000±0,003; |
|
гидроокиси натрия |
-1,000±0,003; |
|
натрия серноватистокислого |
-1,000±0,003; |
|
магния сернокислого |
-1,000±0,002; |
|
трилона Б |
-1,000±0,002; |
|
натрия хлористого |
-1,000±0,002. |
Ареометры и цилиндры стеклянные по ГОСТ 18481-81*.
Бюретки, пипетки по ГОСТ 29251-91 - ГОСТ 29253-90, ГОСТ 29227-91 - ГОСТ 29230-91.
Цилиндры, мензурки, колбы и пробирки по ГОСТ 1770-74.
Термометры стеклянные ртутные для точных измерений по ГОСТ 13646-68*.
Термометры лабораторные стеклянные с взаимозаменяемыми конусами по ГОСТ 28498-90.
Часы песочные по ОСТ 25 11-38-84.
Посуда и оборудование лабораторные фарфоровые по ГОСТ 9147-80*.
Изделия из благородных металлов и сплавов по ГОСТ 6563-75*.
Посуда и оборудование лабораторные стеклянные по ГОСТ 25336-82*.
Плитка электрическая типа ЭПШ-1-0,8-220 по ГОСТ 14919-83*.
Шприцы медицинские инъекционные многократного применения по ГОСТ 22967-90*.
Шприцы медицинские инъекционные однократного применения по ГОСТ 24861-91.
Тара для отбора проб по ГОСТ 3885-73*.
Пинцеты по ГОСТ 21241-89.
1. Допускаемые
расхождения результатов параллельных определений dn рассчитывают на основании среднеквадратического отклонения результата
анализа среднего из n параллельных определений
концентраций раствора или твердого вещества по формуле:
, (1)
если dn выражено в абсолютных единицах, и по формуле:
, (2)
если dn выражено в относительных единицах (%),
где dn - допускаемое расхождение результатов параллельных определений соответственно в абсолютных и относительных единицах;
- среднеарифметическое из n определений концентрации определяемого компонента в
растворе или твердом веществе;
n - число параллельных определений;
- доверительная вероятность
результата анализа;
- фактор, зависящий от
заданной доверительной вероятности результата анализа и выбранного числа
параллельных определений. Значения
приведены в табл. 1.
|
n |
Значение |
|||||
|
0,68 |
0,87 |
0,90 |
0,95 |
0,975 |
0,99 |
|
|
2 |
1,41 |
2,14 |
2,33 |
2,77 |
3,17 |
3,64 |
|
3 |
2,04 |
2,73 |
2,90 |
3,31 |
3,68 |
4,12 |
|
4 |
2,41 |
2,85 |
3,24 |
3,63 |
3,98 |
4,40 |
|
5 |
2,68 |
3,32 |
3,48 |
3,86 |
4,20 |
4,60 |
|
6 |
2,89 |
3,50 |
3,66 |
4,03 |
4,36 |
5,76 |
|
7 |
3,05 |
3,65 |
3,81 |
4,17 |
4,49 |
4,88 |
|
8 |
3,19 |
3,78 |
3,93 |
4,29 |
4,61 |
4,99 |
|
9 |
3,30 |
3,89 |
4,04 |
4,39 |
4,70 |
5,08 |
|
10 |
3,41 |
3,97 |
4,13 |
4,47 |
4,79 |
5,16 |
2.
Среднеквадратическое отклонение среднеарифметического результата определения
вычисляют по формуле:
, (3)
где Si, - среднеквадратическое отклонение единичного определения, вычисляемого по формуле:
где
.
- результат i-го
единичного определения;
n' - число результатов единичных определений (объем выборки);
- результат определения,
вычисленный как среднеарифметическое n' результатов единичных определений.
Примечание. При многократных единичных определениях должна быть обеспечена практическая независимость каждого из них.
3. Среднеквадратическое отклонение S результата косвенного определения величины X, являющейся функцией переменных у1, у2,…, уm, соответствующее выражению:
Xi=F(y1, y2,…, ym)
вычисляют по формуле:
, (5)
где S1, S2,…, Sm - среднеквадратические отклонения результатов определения параметров у;
m - число переменных у, от которых зависит результат единичного определения (число суммируемых погрешностей).
Если погрешность измерения параметров у1, у2,…, уm задается классами точности средств измерений по ГОСТ 8.401-80, то пределы допускаемой основной погрешности единичного определения концентрации вещества Δ устанавливают по формуле:
, (6)
где Δу1, Δу2,…, Δуm - пределы допускаемых основных погрешностей определения переменных у1, у2,…, уm взятых с одинаковым знаком.
Гарантируемое среднеквадратическое отклонение результата единичного определения Siг вычисляют по формуле:
, (7)
где ε- значение доверительного интервала, выраженное в долях среднеквадратического отклонения единичного определения, найденное по табл. 2;
Рm - доверительная вероятность результата единичного косвенного определения.
Доверительную вероятность результата единичного косвенного определения Рm вычисляют по формуле:
, (8)
где РΔ - вероятность предельной погрешности косвенного определения, вычисляемая по формуле:
, (9)
где Р' - доверительная вероятность результатов измерения аргументов у1, у2, y3…, уm;
- вероятность совпадения по
знаку предельных погрешностей аргументов Δу1, Δу2, Δy3…,
Δуm;
m - число аргументов.
Таблица 2
Доверительные вероятности Рm, выраженные в долях среднеквадратического отклонения
|
ε(Pm) |
Рm |
ε(Pm) |
Рm |
ε(Pm) |
Рm |
|
2,0 |
0,950 |
2,7 |
0,9930 |
3,4 |
0,99930 |
|
2,1 |
0,964 |
2,8 |
0,9950 |
3,5 |
0,99950 |
|
2,2 |
0,972 |
2,9 |
0,9960 |
3,6 |
0,99970 |
|
2,3 |
0,978 |
3,0 |
0,9970 |
3,7 |
0,99980 |
|
2,4 |
0,984 |
3,1 |
0,9981 |
3,8 |
0,99986 |
|
2,5 |
0,988 |
3,2 |
0,9986 |
3,9 |
0,99990 |
|
2,6 |
0,990 |
3,3 |
0,9990 |
4,0 |
0,99993-1,00000 |
При уровне значимости (1-Р') = 0,05 каждой из суммируемых предельных погрешностей, совпадении их по знаку и изменении m от двух и более величина ε(Pm) изменяется в диапазоне числовых значений 3,4-4,0.
Допускаемое расхождение результатов двух параллельных определений dn следует вычислять по формуле:
где К - коэффициент, изменяющийся в диапазоне 1,00-1,40.
Принимаем К = 1,1.
4. Доверительные границы погрешности единичного определения Δi при доверительной вероятности Pm = 0,95 вычисляют по формулам (7) с использованием данных, приведенных в табл. 2 и (11):
. (11)
Доверительные
границы погрешности результата анализа по двум параллельным определениям
вычисляют по формуле:
или на основании значений dn, заданных в конкретной методике химического анализа в соответствии с данными табл. 1, по формуле:
, (13)
где z - коэффициент, зависящий от принятой доверительной
вероятности (при
, z = 1,64).
5. За нижний предел обнаружения определяемого компонента принимают значение его концентрации, равное 5 Si; в абсолютных единицах измерения.
Пример 1
Массовая
концентрация компонента А (X') в растворе определена по результатам десяти
параллельных определений (n'
= 10) и
соответственно равна 30,10; 29,90; 29,95; 30,05; 29,90; 30,10; 29,90; 30,10; 29,90;
30,10 г/дм3. Найти среднеквадратические отклонения единичного
определения Si, г/дм3, и среднеарифметическое
двух параллельных определений
, г/дм3,
допускаемые расхождения результатов двух параллельных определений в абсолютных (г/дм3)
и относительных (%) единицах
г/дм3.
В соответствии с формулой (4)

По формуле (3) при n = 2:
.
По формуле (1) при Р = 0,95:
.
По формуле (2):
.
Пример 2
Из пробы,
массой
осаждают компонент А
в виде малорастворимого соединения АI,
которое
последующей обработкой (промыванием, высушиванием или прокаливанием) переводят
в форму взвешивания АII.
Фактор
пересчета
Осадок АII имеет массу
. Абсолютные погрешности взвешивания
(где 0,2 мг -
удвоенная цена деления на световой шкале электрических весов АДВ-200); степень
полноты осаждения
,
, а степень отклонения состава формы взвешивания
стехиометрического состава А не превышает
. Оценить: предельную погрешность в определении содержания компонента А в пробе ΔХА, %, доверительную вероятность результата единичного косвенного
определения
гарантируемое
среднеквадратическое отклонение единичного определения Sг, доверительный интервал среднего результата двух
параллельных определений (
) при доверительной вероятности Р = 0,95.
Содержание
компонента
, % в пробе;
.
Относительные погрешности аргументов, %:
;
(из условия примера);
.
Предельная относительная погрешность измерения содержания компонента А в пробе ΔXAотн.пред., %, по формуле (6):
![]()
.
Предельная абсолютная погрешность измерения содержания компонента А в пробе ΔХАабс.пред, %:
.
Таким образом, для компонента А можно констатировать, что:
(30,0-0,3) < ХА < (30,0+0,3), т. е.
29,7 < ХА < 30,3.
Вероятность предельной погрешности результата ХА косвенного определения рассчитывают по формуле (9):
.
Доверительная вероятность результата ХА по формуле (8) составит:
Рm = 1-3,9·10-7 ≈ 1.
Доверительный интервал ε(Pm), соответствующий доверительной вероятности Pm = 1, равен 4 (см. табл. 2).
Гарантируемое среднеквадратическое отклонение Siг, %, единичного определения рассчитывают по формуле (7):
.
Допускаемое расхождение dn, %, результатов двух параллельных определений при P'm = 1 рассчитывают по формуле (10):
.
Если результаты
двух параллельных определений вещества
,
, %, удовлетворяют
условию
(при
;
;
),
то в соответствии с п. 4.13 настоящего
стандарта значения
и
используют для получения
окончательного результата анализа.
Доверительные границы ΔXAi, %, результата единичного определения при Р = 0,95 рассчитывают по формуле (11):
;
результата двух
параллельных определений при
- по формуле (12):
.
Окончательный результат анализа записывают в виде:
, P = 0,95.
Нижний предел обнаружения компонента А в пробе ХАmin, %, составит:
ХАmin = 5·0,075 ≈ 0,4.
|
ГОСТЫ, СТРОИТЕЛЬНЫЕ и ТЕХНИЧЕСКИЕ НОРМАТИВЫ. Некоммерческая онлайн система, содержащая все Российские Госты, национальные Стандарты и нормативы. В Системе содержится более 150000 файлов нормативно-технической документации, действующей на территории РФ. Система предназначена для широкого круга инженерно-технических специалистов. Copyright © www.gostrf.com, 2008 - 2026 |