Крупнейшая бесплатная информационно-справочная система онлайн доступа к полному собранию технических нормативно-правовых актов РФ. Огромная база технических нормативов (более 150 тысяч документов) и полное собрание национальных стандартов, аутентичное официальной базе Госстандарта. GOSTRF.com - это более 1 Терабайта бесплатной технической информации для всех пользователей интернета. Все электронные копии представленных здесь документов могут распространяться без каких-либо ограничений. Поощряется распространение информации с этого сайта на любых других ресурсах. Каждый человек имеет право на неограниченный доступ к этим документам! Каждый человек имеет право на знание требований, изложенных в данных нормативно-правовых актах!

  


 

ГОСУДАРСТВЕННЫЙ СТАНДАРТ СОЮЗА ССР

 

ЕДИНАЯ СИСТЕМА КОНСТРУКТОРСКОЙ ДОКУМЕНТАЦИИ

ПРАВИЛА ВЫПОЛНЕНИЯ ЧЕРТЕЖЕЙ РАЗЛИЧНЫХ ИЗДЕЛИЙ

ПРАВИЛА ВЫПОЛНЕНИЯ ЧЕРТЕЖЕЙ
ТРУБ, ТРУБОПРОВОДОВ И ТРУБОПРОВОДНЫХ СИСТЕМ

ГОСТ 2.411-72

 

МОСКВА - 1998

 

ГОСУДАРСТВЕННЫЙ СТАНДАРТ СОЮЗА ССР

Единая система конструкторской документации

ПРАВИЛА ВЫПОЛНЕНИЯ ЧЕРТЕЖЕЙ ТРУБ, ТРУБОПРОВОДОВ И ТРУБОПРОВОДНЫХ СИСТЕМ

Unified system for design documentation.
Rules for making drawings of pipes, pipe-lines and pipe-line systems

ГОСТ
2.411-72

Взамен
ГОСТ 2.411-68

Постановлением Государственного комитета стандартов Совета Министров СССР от 30 октября 1972 г. № 1998 срок введения установлен

с 01.01.74

1. Настоящий стандарт устанавливает правила выполнения чертежей труб (деталей и сборочных единиц), трубопроводов и трубопроводных систем для всех отраслей промышленности.

Стандарт не распространяется на чертежи энергетических, теплотехнических, санитарно-технических и тому подобных коммуникаций, не входящих в комплект конструкторской документации изделия.

2. Чертежи труб, трубопроводов и трубопроводных систем должны быть выполнены в соответствии с требованиями стандартов Единой системы конструкторской документации и настоящего стандарта.

3. На чертеже трубы при одинаковой разделке ее концов наносят соответствующие размеры и обозначения шероховатости поверхностей только на одном конце трубы (черт. 1).

Черт. 1

4. На чертеже трубы серийного производства допускается не наносить размеры, определяющие конфигурацию трубы; в документации изделия приводят указания об изготовлении трубы по образцу или шаблону, при этом образец или шаблон прилагают к комплекту документации, передаваемой в производство.

5. Размер трубы проставляют от оси трубы либо от наружных или внутренних поверхностей (черт. 2а, б, в).

6. На сборочных и монтажных чертежах допускается:

а) изображать трубу (трубопровод) условно одной линией толщиной 2s ... 3s (черт. 3);

б) при условном изображении трубы (трубопровода) применять условное обозначение по ГОСТ 2.784-96 и ГОСТ 2.785-70 и изображать трубу с разрывом, как показано на черт. 3;

Черт. 2

Черт. 3

в) изображать трубу (трубопровод) двумя линиями без осевой (черт. 4) или наносить осевую на коротком участке изображения трубы;

г) изображать одной линией несколько трубопроводов, идущих рядом, если их взаимное расположение безразлично.

Правила, указанные в настоящем пункте, не применяют в сечениях, разрезах и выносных элементах, изображающих трубы и трубопроводы.

Черт. 4

7. Две перекрещивающиеся трубы (трубопровода), каждая из которых изображена условно (или группы трубопроводов, изображенных одной линией), изображают на чертеже в соответствии с требованиями ГОСТ 2.784-96, причем с «дугой» должен изображаться трубопровод, проходящий сверху (черт. 5).

Черт. 5

Когда взаимное расположение перекрещивающихся труб (трубопроводов) безразлично, их изображают согласно черт. 6.

Черт. 6

8. Для более рационального использования поля чертежа допускается условно смещать отдельные участки изображения труб (трубопроводов), соединяя их тонкой волнистой линией, как показано на черт. 7.

Черт. 7

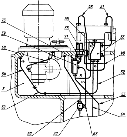
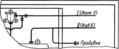
9. Линию, изображающую трубу (трубопровод) и переходящую с одного вида (или листа) на другой, обрывают (предпочтительно за пределами очертаний изделия). Обрыв обозначают римской цифрой и указывают обозначение вида (листа), на котором изображено продолжение трубы (трубопровода) (см. черт. 5).

10. На сборочном чертеже единичного или вспомогательного производства, в спецификации которого трубы записаны как материал, допускается швы сварных соединений в стыках труб одного диаметра на изображении не отмечать линиями-выносками и не обозначать, а все указания о сварке приводить на выносном элементе (см черт. 3) или в технических требованиях чертежа в соответствии с ГОСТ 2.312-72.

11. Допускается на чертежах наносить у изображений труб (трубопроводов) номера, присвоенные им в схемах (см. черт. 6).

12. На чертеже трубопровода (трубопроводной системы) при необходимости помещают таблицу соединений, в которой указывают адреса присоединений, номера позиций и (или) номера труб (трубопроводов). Таблицу соединений помещают на первом листе чертежа или выполняют на последующих его листах. Форма таблицы настоящим стандартом не регламентируется.

Если трубы внесены в спецификацию как материал, то в таблице допускается указывать длину, условный проход, наименование материала и т.д.

13. На поле чертежа допускается помещать принципиальную схему или схему соединений трубопровода (трубопроводной системы), если она не выполнена в виде самостоятельного документа.

14. В случаях, когда составные части трубопроводной системы расположены на «стенках», находящихся в разных плоскостях, допускается изображать «стенки» развернутыми в плоскости чертежа, при этом у соответствующего места изображения помещают надпись: «Стенка развернута».

15. На чертеже трубопровода (трубопроводной системы) на изображениях составных частей или на полках линий-выносок допускается наносить поясняющие надписи, например: «Слив», «Продувка», «В бак» и т.д. (см. черт. 5).

16. Чертеж изделия, в которое трубопроводная система (системы) входит в качестве составной части, выполняют в одном из следующих вариантов:

А - для изготовления изделия, сборку которого целесообразно производить по одному и тому же чертежу, выпускают сборочный чертеж в соответствии с требованиями ГОСТ 2.109-73 и настоящего стандарта;

Б - для изготовления изделия, сборку которого целесообразно производить по одному и тому же чертежу, на составные части, не входящие непосредственно в трубопроводную систему, оформляют свою конструкторскую документацию, при этом составные части входят в изделие в виде самостоятельной сборочной единицы, изображаемой на сборочном чертеже изделия сплошной тонкой линией по контуру;

В - для изготовления изделий индивидуального и вспомогательного производства допускается выпускать сборочный чертеж, на котором составные части трубопроводной системы (или некоторые из них) не изображают, но записывают в спецификацию изделия на общих основаниях. В технических требованиях чертежа помещают ссылку на принципиальную схему или схему соединений типа: «Монтаж трубопроводной системы по ХХХ.ХХХХХХ.ХХХПЗ».

17. При необходимости допускается выпуск монтажного чертежа по правилам ГОСТ 2.109-73 с учетом положений настоящего стандарта.

 




ГОСТЫ, СТРОИТЕЛЬНЫЕ и ТЕХНИЧЕСКИЕ НОРМАТИВЫ.
Некоммерческая онлайн система, содержащая все Российские Госты, национальные Стандарты и нормативы.
В Системе содержится более 150000 файлов нормативно-технической документации, действующей на территории РФ.
Система предназначена для широкого круга инженерно-технических специалистов.

Рейтинг@Mail.ru Яндекс цитирования

Copyright © www.gostrf.com, 2008 - 2026