Крупнейшая бесплатная информационно-справочная система онлайн доступа к полному собранию технических нормативно-правовых актов РФ. Огромная база технических нормативов (более 150 тысяч документов) и полное собрание национальных стандартов, аутентичное официальной базе Госстандарта. GOSTRF.com - это более 1 Терабайта бесплатной технической информации для всех пользователей интернета. Все электронные копии представленных здесь документов могут распространяться без каких-либо ограничений. Поощряется распространение информации с этого сайта на любых других ресурсах. Каждый человек имеет право на неограниченный доступ к этим документам! Каждый человек имеет право на знание требований, изложенных в данных нормативно-правовых актах!

  


 

ГОСУДАРСТВЕННЫЙ СТАНДАРТ СОЮЗА ССР

ЕДИНАЯ СИСТЕМА ЗАЩИТЫ ОТ КОРРОЗИИ И СТАРЕНИЯ

СООРУЖЕНИЯ ПОДЗЕМНЫЕ

ОБЩИЕ ТРЕБОВАНИЯ К ЗАЩИТЕ ОТ КОРРОЗИИ

ГОСТ 9.602-89

ГОСУДАРСТВЕННЫЙ КОМИТЕТ СССР ПО СТАНДАРТАМ

Москва

ГОСУДАРСТВЕННЫЙ СТАНДАРТ СОЮЗА ССР

Единая система защиты от коррозии и старения

СООРУЖЕНИЯ ПОДЗЕМНЫЕ

Общие требования к защите от коррозии

Unified system of corrosion and ageing protection.
Constructions, underground.
General requirements for corrosion protection

ГОСТ
9.602-89

Срок действия с 01.01.91

до 01.01.96

Изменение № 1 ГОСТ 9.602-89 Единая система защиты от коррозии и старения. Сооружения подземные. Общие требования к защите от коррозии

Принято Межгосударственным Советом по стандартизации, метрологии и сертификации (отчет Технического секретариата № 2 от 15.04.94)

Дата введения 1995-07-01

Стандарт устанавливает общие требования к защите от коррозии наружных поверхностей подземных металлических сооружений: трубопроводов и резервуаров (в том числе траншейных) из углеродистых и низколегированных сталей; электрических силовых кабелей напряжением до 10 кВ включительно, кабелей связи и сигнализации, стальных конструкций необслуживаемых усилительных (НУП) и регенерационных (НРП) пунктов линий связи, а также требования к объектам, являющимся источниками блуждающих токов: электрифицированный рельсовый транспорт, линии передач энергии постоянного тока по системе «провод-земля», промышленные предприятия, потребляющие постоянный электрический ток в технологических целях, и все вместе именуемые далее - сооружения.

Стандарт не распространяется на тепловые сети, кабели связи со стальной гофрированной оболочкой и защитным покровом шлангового типа, железобетонные и чугунные сооружения всех назначений, коммуникации, прокладываемые в туннелях и коллекторах, сваи, шпунты и другие подобные металлические сооружения, а также на металлические сооружения, расположенные в многолетнемерзлых и скальных грунтах.

Общие требования к защите от подземной и атмосферной коррозии магистральных нефте-, газо-, продуктопроводов и отводов от них (магистральные трубопроводы); трубопроводов компрессорных, газораспределительных, перекачивающих и насосных станций и головных сооружений промыслов (сети коммуникаций); обсадных колонн скважин и трубопроводов нефтегазопромыслов, подземных хранилищ газа и установок комплексной подготовки газа и нефти (промысловые объекты) - по ГОСТ 25812.

1. ОБЩИЕ ПОЛОЖЕНИЯ

1.1. Требования настоящего стандарта должны учитываться и выполняться при проектировании, строительстве, реконструкции, ремонте, эксплуатации подземных металлических сооружений, объектов, являющихся источниками блуждающих токов, и являться основанием для разработки нормативно-технической документации (НТД) на защиту подземных металлических сооружений и на мероприятия по ограничению токов утечки.

1.2. Применяемые, а также вновь разрабатываемые для защиты от коррозии средства (материалы покрытий и покровы, их структура, средства защиты, приборы), должны соответствовать требованиям стандартов или технических условий, согласованных с головной организацией отрасли по защите от коррозии.

1.3. Требования по защите от коррозии строящихся, действующих и реконструируемых подземных металлических сооружений устанавливают в проектах защиты и должны соответствовать настоящему стандарту.

1.4. При разработке проекта строительства подземных металлических сооружений одновременно должен разрабатываться проект защиты их от коррозии.

Примечание. Для кабелей связи, сигнализации, централизации и блокировки (СЦБ), силовых и связи, применяемых на железной дороге, когда определись параметры электрохимической защиты на стадии разработки проекта не представляется возможным, допускается рабочие чертежи электрохимической защиты разрабатывать после их прокладки на основании данных пробных включений защитных устройств и в сроки установленные НТД.

1.5. Все виды защиты от коррозии, предусмотренные проектом, должны быть введены в действие до сдачи подземных сооружений в эксплуатацию.

Примечания:

1. Для подземных стальных газопроводов и резервуаров сжиженного газа электрохимическая защита должна быть введена в действие в зонах опасного влияния блуждающих токов не позднее одного месяца, а в остальных случаях не позднее шести месяцев после укладки сооружения в грунт.

2. Для подземных металлических сооружений связи электрохимическая защита должна быть введена в действие не позднее шести месяцев после их укладки в грунт.

3. Электрохимическая защита других сооружений должна быть введена в эксплуатацию после укладки сооружения в грунт в сроки, установленные в НТД на сооружение конкретного вида.

1.6. В проектах строительства и реконструкции сооружений, являющихся источниками блуждающих токов, должны быть предусмотрены мероприятия по ограничению утечки тока.

1.7. Не допускается ввод в эксплуатацию объектов, являющихся источниками блуждающих токов, до осуществления всех мероприятий по их ограничению.

1.8. Предусмотренная в проектах защита от коррозии подземных кабелей связи не должна ухудшать защиты их от электромагнитных влияний и ударов молнии.

1.9. При эксплуатации подземных металлических сооружений должен систематически проводиться контроль их коррозионного состояния, а также регистрация и анализ причин коррозионных повреждений в соответствии с требованиями НТД.

1.10. Подземные металлические сооружения должны быть оборудованы контрольно-измерительными пунктами (КИП) в соответствии с требованиями НТД.

(Измененная редакция, Изм. № 1).

Для контроля коррозионного состояния кабелей связи, проложенных в кабельной канализации, используют смотровые устройства (колодцы).

Для повышения эффективности электрохимической защиты могут предусматриваться изолирующие вставки или соединения (фланцы, муфты и т. п.) в соответствии с НТД.

1.11. Исключен. (Измененная редакция, Изм. № 1).

2. КРИТЕРИИ ОПАСНОСТИ КОРРОЗИИ

2.1. Критериями опасности коррозии подземных металлических сооружений являются:

коррозионная агрессивность среды (грунтов, грунтовых и других вод) по отношению к металлу сооружения;

опасное действие постоянного и переменного блуждающих токов.

2.2. Коррозионная агрессивность грунта по отношению к стали характеризуется значениями удельного электрического сопротивления грунта, определяемого в полевых и лабораторных условиях, и средней плотностью катодного тока (iк) при смещении потенциала (Е) на 100 мВ отрицательней потенциала коррозии стали (Екор) в грунте и оценивается в соответствии с табл. 1. Если при определении одного из показателей установлена высокая коррозионная агрессивность грунта (а для мелиоративных сооружений - средняя), то определения других показателей не требуется.

Методики определения удельного электрического сопротивления грунта и средней плотности катодного тока приведены в приложениях 1, 2.

Примечание. Если удельное электрическое сопротивление грунта, измеренное в полевых или лабораторных условиях, равно или выше 130 Ом×м - оценка коррозионной агрессивности грунта по средней плотности катодного тока (iк) не требуется.

Коррозионная агрессивность грунта по отношению к стальной броне кабелей связи и стальным конструкциям НУП определяется только по величине удельного электрического сопротивления грунта, измеренного в полевых условиях, и оценивается в соответствии с табл. 1.

(Измененная редакция, Изм. № 1).

Таблица 1

Коррозионная агрессивность грунта по отношению к углеродистой и низколегированной стали

Коррозионная агрессивность грунта

Удельное электрическое сопротивление грунта, Ом×м

Средняя плотность катодного тока, iк, А/м2

Низкая

Св. 50

До 0,05

Средняя

От 20 до 50

От 0,05 до 0,20

Высокая

До 20

Св. 0,20

2.3. Коррозионная агрессивность грунтов, грунтовых и других вод по отношению к свинцовым оболочкам кабелей характеризуется данными химического анализа и значением рН, определяемых в соответствии с НТД, и оценивается в соответствии с табл. 2, 3.

Примечание. Для кабелей силовых и связи в свинцовой оболочке с защитными покровами шлангового типа коррозионную агрессивность среды по отношению к свинцовой оболочке кабеля не определяют.

Таблица 2

Коррозионная агрессивность грунтов по отношению к свинцовой оболочке кабеля

Коррозионная агрессивность грунта

рН

Массовая доля компонентов, %, от массы воздушно-сухой пробы

органическое вещество (гумус)

нитрат-ион

Низкая

От 6,5 до 7,5

До 0,01

До 0,0001

Средняя

От 5,0 до 6,5

От 0,01 до 0,02

От 0,0001 до

 

От 7,5 до 9,0

 

0,001

Высокая

До 5,0

Св. 0,02

Св. 0,001

 

Св. 9,0

 

 

Таблица 3

Коррозионная агрессивность грунтовых и других вод по отношению к свинцовой оболочке кабеля

Коррозионная агрессивность грунтовых и других вод

рН

Общая жесткость, мг. экв/дм3

Массовая доля компонентов, мг/дм3

органическое вещество (гумус)

нитрат-ион

Низкая

От 6,5 до 7,5

Св. 5,3

До 20

До 10

Средняя

От 5,0 до 6,5

От 5,3 до 3,0

От 20 до 40

От 10 до 20

 

От 7,5 до 9,0

 

 

 

Высокая

До 5,0

Менее 3,0

Св. 40

Св. 20

 

Св. 9,0

 

 

 

2.4. Коррозионная агрессивность грунтов, грунтовых и других вод по отношению к алюминиевой оболочке кабеля характеризуется данными химического анализа и значением рН, определяемых в соответствии с НТД и оценивается в соответствии с табл. 4, 5.

Примечание. Для кабелей связи с алюминиевой оболочкой и защитными покровами шлангового типа коррозионную агрессивность среды по отношению к алюминиевой оболочке кабеля не определяют.

Таблица 4

Коррозионная агрессивность грунтов по отношению к алюминиевой оболочке кабеля

Коррозионная агрессивность грунтов

рН

Массовая доля компонентов, %, от массы воздушно-сухой пробы

хлор-ион

ион железа

Низкая

От 6,0 до 7,5

До 0,001

До 0,002

Средняя

От 4,5 до 6,0

От 0,001 до 0,005

От 0,002 до 0,01

 

От 7,5 до 8,5

 

 

Высокая

До 4,5

 

 

 

Св. 8,5

Св. 0,005

Св. 0,01

Таблица 5

Коррозионная агрессивность грунтовых и других вод по отношению к алюминиевой оболочке кабеля

Коррозионная агрессивность грунтовых и других вод

рН

Массовая доля компонентов, мг/дм3

хлор-ион

ион железа

Низкая

От 6,0 до 7,5

До 5,0

До 1,0

Средняя

От 4,5 до 6,0

От 5,0 до 50

От 1,0 до 10

 

От 7,5 до 8,5

 

 

Высокая

До 4,5

 

 

 

Св. 8,5

Св. 50

Св. 10

2.5. Для бронированных кабелей связи со свинцовыми оболочками, находящихся в эксплуатации, опасность коррозии определяется в соответствии с НТД.

2.6. Опасным действием блуждающих токов на подземные металлические сооружения считается наличие знакопеременного (знакопеременная зона) или изменяющегося во времени положительного (анодная зона) смещения разности потенциалов между подземным металлическим сооружением и электродом сравнения, определяемого в соответствии с приложением 3.

Примечания:

1. Для вновь проектируемых подземных металлических сооружений (кроме сооружений связи) опасным является наличие блуждающих токов в земле, определяемых в соответствии с приложением 4.

2. Для кабелей связи НУП и НРП, не имеющих электрохимической защиты, опасным является наличие в них блуждающих токов, определяемое в соответствии с приложением 5.

2.7. Опасность коррозии стальных подземных трубопроводов при действии переменного тока характеризуется смещением среднего значения разности потенциалов между трубопроводом и медносульфатным электродом сравнения в отрицательную сторону не менее чем на 10 мВ по сравнению с разностью потенциалов, измеренных при отсутствии влияния переменного тока. Определение опасного действия переменного тока - в соответствии с приложением 6.

3. ТРЕБОВАНИЯ К ВЫБОРУ МЕТОДОВ ЗАЩИТЫ ОТ КОРРОЗИИ

3.1. Защита подземных металлических сооружений от коррозии предусматривает:

рациональный выбор трассы прокладки сооружения и методов прокладки (неметаллические трубы, блоки, каналы, туннели, коллекторы и т. д.);

выбор защитных покрытий;

выбор марки подземных кабелей (силовых и связи) с соответствующей конструкцией защитного покрова, отвечающей условиям эксплуатации;

электрохимическую защиту (катодную поляризацию подземных металлических сооружений);

ограничение величины блуждающих токов на их источниках.

3.2. Защита от коррозии стальных подземных трубопроводов, резервуаров, конструкций НУП и НРП осуществляется защитными покрытиями независимо от коррозионной агрессивности грунта.

(Измененная редакция, Изм. № 1).

Для этих сооружений, расположенных непосредственно в грунтах высокой коррозионной агрессивности или в зонах опасного действия блуждающих токов, должна применяться дополнительно катодная поляризация.

Примечания:

1. Стальные трубопроводы оросительных систем и систем обводнения следует защищать от коррозии защитными покрытиями и катодной поляризацией в грунтах высокой и средней коррозионной агрессивности.

2. Трубопроводы сельхозводоснабжения (групповые и межхозяйственные стальные водопроводы) и траншейные резервуары защищают защитными покрытиями и катодной поляризацией независимо от коррозионной агрессивности грунта.

3.3. Защита стальных трубопроводов от коррозии в зонах опасного влияния переменного тока должна осуществляться защитными покрытиями и катодной поляризацией независимо от коррозионной агрессивности грунтов.

3.4. Защита от коррозии кабелей связи со свинцовыми оболочками без защитных покровов или с защитными покровами ленточного типа должна осуществляться катодной поляризацией при наличии трех значений средней или одного значения высокой коррозионной агрессивности грунтов и вод, оцениваемых по табл. 2 и 3.

Примечание. Кабели связи со свинцовыми оболочками в защитных покровах шлангового типа катодной поляризации не подлежат.

(Измененная редакция, Изм. № 1).

3.5. Защита от коррозии стальной брони кабелей связи, прокладываемых в грунтах высокой коррозионной агрессивности или в зонах опасного действия блуждающих токов, должна осуществляться катодной поляризацией, только в том случае, когда по условиям эксплуатации необходимо исключить воздействие электромагнитных влияний, ударов молний и механических повреждений. При этом одновременно должна обеспечиваться защита металлической оболочки кабеля от коррозии.

Примечание. Стальную броню кабелей связи с наружным защитным покровом шлангового типа от коррозии не защищают.

3.6. Защита от коррозии кабелей связи с алюминиевой оболочкой и защитным покровом ленточного типа должна осуществляться катодной поляризацией независимо от коррозионной агрессивности среды.

Примечание. Кабели связи с алюминиевой оболочкой в защитных покровах шлангового типа катодной поляризации не подлежат.

(Измененная редакция, Изм. № 1).

3.7. Защита от коррозии, вызываемой блуждающими токами кабелей связи со свинцовой или алюминиевой оболочками без защитных покровов или с защитными покровами ленточного типа, а также кабелей со свинцовыми оболочками без защитного покрова, должна осуществляться катодной поляризацией.

3.8. Кабели СЦБ, силовые и связи со свинцовыми или алюминиевыми оболочками и броней, применяемые на железных дорогах, должны быть защищены:

при наличии не менее трех значений средней коррозионной агрессивности среды (табл. 2-5) - катодной поляризацией или наружным (поверх брони) покровом шлангового типа;

при наличии одного и более значений высокой коррозионной агрессивности среды (табл. 2-5) - покровом шлангового типа поверх брони;

в зонах опасного действия блуждающего тока - катодной поляризацией.

3.9. Не допускается прокладка кабелей со свинцовыми оболочками без защитного покрова непосредственно в грунте, а также в кабельной канализации связи из пластмассовых труб.

3.10. Защита от коррозии электрических силовых кабелей в грунтах высокой коррозионной агрессивности, а также в зонах опасного влияния блуждающих токов установлена «Едиными техническими указаниями по выбору и применению электрических кабелей» (ЕТУ) в зависимости от марки кабеля и условий их прокладки, утвержденными в установленном порядке.

4. ТРЕБОВАНИЯ К ЗАЩИТНЫМ ПОКРЫТИЯМ, ПОКРОВАМ И МЕТОДЫ ИХ КОНТРОЛЯ

4.1. Для защиты подземных стальных трубопроводов должны применяться защитные покрытия усиленного и весьма усиленного типа в соответствии с табл. 6.

4.2. Для стальных трубопроводов прокладываемых непосредственно в земле в пределах территории городов и других населенных пунктов, промышленных предприятий, а также на газопроводах с давлением газа до 1,2 МПа (12 кгс/см2), предназначенных для газоснабжения городов, населенных пунктов и промышленных предприятий, но прокладываемых вне их территории, должны применяться защитные покрытия весьма усиленного типа.

Примечание. Допускается применять защитные покрытия усиленного типа из экструдированного полиэтилена с обязательной электрохимической защитой.

(Измененная редакция, Изм. № 1).

4.3. Для стальных трубопроводов оросительных систем, систем сельхозводоснабжения (групповые и межхозяйственные водопроводы и отводы от них) и обводнения должны применяться защитные покрытия усиленного типа.

4.4. Для подземных стальных резервуаров должны применяться защитные покрытия весьма усиленного типа на основе полимерных материалов или битумных мастик в соответствии с табл. 6.

(Измененная редакция, Изм. № 1).

4.5. Для стальных конструкций связи НУП и НРП, устанавливаемых непосредственно в грунте или смотровых колодцах кабельной канализации, должны применяться защитные покрытия весьма усиленного типа в соответствии с табл. 6.

4.6. Защитные покровы кабелей должны выбираться в зависимости от коррозионной агрессивности окружающей среды и условий прокладки в соответствии с требованиями ГОСТ 7006.

4.7. Конструкция (структура) защитных покрытий зависит от основы применяемых изоляционных материалов (табл. 6). Допускается применение структур покрытий, грунтовочных, защитных и оберточных материалов, не установленных в настоящем стандарте, но обеспечивающих выполнение требований не ниже установленных в табл. 6.

Примечания:

1. Исключен. (Измененная редакция, Изм. № 1).

2. Для покрытий на основе экструдированного полиэтилена применяется полиэтилен марок 10203-003, 10404-003, 15303-003 по ГОСТ 16337. Для напыления применяется порошковый полиэтилен марок 20608-012, 20708-016, 20808-024, 20908-040 по ГОСТ 16338-85.

3. Для наружной обертки покрытий из полимерных материалов применяют оберточные ленты, рулонные материалы типа бризол, изол, бикарул, ПЭКОМ, ПДБ с прочностью не менее 0,5 МПа (5,0 кгс/см2).

4. Для наружной обертки покрытий на основе битумных мастик применяют оберточную бумаги марки А по ГОСТ 8273 и бумагу мешочную по ГОСТ 2228-81.

Допускается не применять наружную обертку для траншейных резервуаров.

5. Покрытия на основе «Бутита» применяют для изоляции труб диаметром до 426 мм и резервуаров сжиженного газа вместимостью до 5 м3.

6. Покрытия на основе битумных мастик применяют для изоляции труб диаметром до 1020 мм с температурой транспортируемой среды до 40 °С.

7. Толщина каждого слоя битумных мастик при изоляции труб с внутренним диаметром до 150 мм должна быть не менее 2,5 мм.

При применении битумно-асбополимерной мастики толщина каждого слоя мастики должна быть не менее 2,5 мм независимо от диаметра трубы.

8. В качестве материала для армирующих обмоток применяется стеклохолст марок ВВ-Г*, ВВ-К*, ПСМТ*, ПСМК*.

Допускается применение бризола* в качестве материала для армирующих обмоток при выполнении изоляционных работ в трассовых условиях.

(Измененная редакция, Изм. № 1).

4.8. Сварные стыки труб, фасонные части (гидрозатворы, конденсатосборники, колена) и места повреждений защитного покрытия изолируют теми же материалами, что и трубопровод, а также битумными мастиками, армированными стеклохолстом или бризолом, термоусаживающимися материалами на основе полиэтилена и полимерными липкими лентами.

Не допускается применять липкие ленты для изоляции стыков на трубопроводах с битумными покрытиями».

(Измененная редакция, Изм. № 1).

4.9. При хранении и транспортировании изолированных труб, кабелей связи, конструкций НУП и НРП связи, строительных работах по прокладке подземных металлических сооружений, изоляции и установке резервуаров должны быть предусмотрены специальные меры по предохранению защитных покрытий и покровов от механических повреждений.

4.10. Контроль качества защитных покрытий должен осуществляться при проведении изоляционных работ в базовых условиях, строительстве, а также при эксплуатации сооружений.

4.11. Основными контролируемыми параметрами защитных покрытий являются их характеристики (толщина, адгезия к стали, сплошность) в соответствии с табл. 6. Наличие механических повреждений изоляции определяется визуально.

(Измененная редакция, Изм. № 1).

Примечание. На кабелях связи с защитными покровами шлангового типа измерение сопротивления изоляции проводят в соответствии с НТД.

(Измененная редакция, Изм. № 1).

Таблица 6

Требования к защитным покрытиям строящихся и реконструируемых сооружений

Основа покрытия

Условия нанесения покрытия

Конструкция (структура) покрытия и используемые материалы

Показатели свойств защитных покрытий

Общая толщина, мм, не менее

Адгезия к стальной поверхности

Прочность при ударе, Дж (кгс/см), не менее

Отсутствие пробоя при испытательном электрическом напряжении, кВ

Н/см (кгс/см)

МПа (кгс/см2)

1. Защитные покрытия весьма усиленного типа

1. Экструдированный полиэтилен

Базовые

Адгезионный подслой на основе сэвилена с адгезионно-активными добавками

-

-

-

-

-

Экструдированный полиэтилен для труб диаметром:

 

 

 

 

 

до 250 мм

2,5

35 (3,5)

-

12,5 (125)

12,5

до 500 мм

3,0

35 (3,5)

-

15,0 (150)

15,0

св. 500 мм

3,5

35 (3,5)

-

17,5 (175)

17,5

2. Напыленный

То же

Основной слой на основе термосветостабилизированных композиций порошкового полиэтилена низкого или высокого давления по ГОСТ 16337 и ГОСТ 16338 для труб диаметром:

 

 

 

 

 

до 250 мм

2,3

35 (3,5)

-

11,5 (115)

11„5

до 500 мм

2,5

35 (3,5)

-

12,5 (125)

12,5

св. 500 мм

3,0

35 (3,5)

-

17,5 (175)

17,5

3. Полимерные липкие ленты на основе поливинилхлорида

Базовые или трассовые

Грунтовка битумпополимерная типа ГТ-760ин или полимерная типа ГТП-831

-

-

-

-

-

Три слоя ленты поливинилхлоридной изоляционной типа:

 

 

 

 

 

ПВХ-БК,

1,2

4,0 (0,4)

-

-

5,0 на 1 мм общей толщины покрытия

или ПВХ-Л,

1,2

4,0 (0,4)

-

-

или ПВХ-СК

1,2

4,0 (0,4)

-

-

Один слой защитной обертки типа:

 

 

 

 

 

ПЭКОМ

0,6

-

-

-

-

или ПДБ

06

-

-

-

-

4. Полимерные липкие ленты на основе полиэтилена

Базовые или трассовые

Грунтовка полимерная типа П-001

-

-

-

-

-

Два слоя ленты полиэтиленовой дублированной типа:

 

 

 

 

 

Попилен

1,2

15 (1,5)

-

-

5,0 на 1 мм общей толщины покрытия

или НКПЭЛ

1,2

15 (1,5)

-

-

Один слой защитной обертки на основе полиэтилена типа

 

 

 

 

 

Полилен-0

0,6

-

-

-

-

5. Полимерный рулонный материал «Бутит»

Базовые

Мастика бутилкаучуковая типа БК-М

-

-

-

-

-

Два слоя бутилкаучуковой ленты

-

-

-

-

-

Один слой наружной обертки из рулонных материалов или бумаги

-

-

-

-

-

для труб диаметром до 426 мм

2,0

10 (1,0)

-

-

10,0

6. Битумные мастики

То же

Грунтовка битумная или битумно-полимерная

-

-

-

-

-

Мастика битумно-атактическая или битумно-резиновая*, или битумно-асбополимерная

2,5-3,0

-

-

-

-

Стеклохолст

-

-

-

-

-

Мастика битумно-атактическая или битумно-резиновая*, или битумно-асбополимерная

2,5-3,0

-

-

-

-

Стеклохолст

-

-

-

-

-

Мастика битумно-атактическая или битумно-резиновая*, или битумно-асбополимерная

2,5-3,0

-

-

-

-

Один слой наружной обертки из бумаги для

 

 

 

 

 

труб диаметром:

 

 

 

 

 

до 150 мм

7,5

-

0,5 (5,0)

-

30,0

св. 150 мм

9,0

-

0,5 (5,0)

-

36,0

7. Каменноугольная мастика «Катизол»

Базовые

Грунтовка каменноугольная «Катилак»

-

-

-

-

-

Мастика каменноугольная «Катизол»

2,0-2,5

-

-

-

-

Стеклохолст

-

-

-

-

-

Мастика каменноугольная «Катизол»

2,0-2,5

-

-

-

-

Стеклохолст

-

-

-

-

-

Мастика каменноугольная «Катизол»

2,0-2,5

-

-

-

-

Один слой наружной обертки из бумаги или рулонных материалов

в зависимости от материала, в общую толщину не входит

 

 

 

 

для труб диаметром:

 

 

 

 

 

до 150 мм

6,0

-

0,6 (6,0)

-

24,0

св. 150 мм

7,5

-

0,6 (6,0)

-

30,0

2. Защитные покрытия усиленного типа

8. Битумные мастики

То же

Грунтовка битумная или битумно-полимерная

-

-

-

-

-

Мастика битумно-атактическая или битумно-резиновая*, или битумно-полимерная

3,0

-

-

-

-

Стеклохолст

-

-

-

-

-

Мастика битумно-атактическая или битумно-резиновая*, или битумно-полимерная

2,5

-

-

-

-

Стеклохолст

-

 

-

-

-

Один слой наружной обертки из рулонных материалов

-

-

-

-

-

 

6,0

-

0,5 (5,0)

-

24,0

9. Лак «Корс»

Базовые или трассовые

Мастика МСКА

1,0

-

-

5,0 (50,0)

-

10. Полимерные липкие ленты

То же

Грунтовка битумно-полимерная типа ГТ-760ин или полимерная типа ГТП-831

-

-

-

-

-

Два слоя полимерной липкой ленты толщиной не менее 0,4 мм

0,8

-

0,4 (4,0)

-

5,0 на 1 мм общей толщины покрытия

Обертка защитная из рулонных материалов

0,6

-

-

-

11. Полиэтилен напыленный

Базовые

Термосветостабилизированные композиции порошкового полиэтилена низкого или высокого давления по ГОСТ 16337 или ГОСТ 16338 для труб диаметром:

 

 

 

 

 

до 250 мм

1,8

35,0 (3,5)

-

 

9,0

до 500 мм

2,0

35,0 (3,5)

-

 

10,0

свыше 500 мм

2,5

35,0 (3,5)

-

 

12,5

12. Полиэтилен экструдированный

То же

Адгезионный подслой на основе «Сэвилена» с адгезионно-активными добавками

-

-

-

-

-

Полиэтилен экструдированный по ГОСТ 16337 для труб диаметром:

 

 

 

 

 

до 100 мм

1,5

35,0 (3,5)

-

7,5 (75,0)

7,5

до 250 мм

2,0

35,0 (3,5)

-

10,0 (100,0)

10,0

до 500 ми

2,5

35,0 (3,5)

-

12,5 (125,0)

12,5

13. Стеклоэмаль

»

Один слой стеклоэмалевого покрытия

0,4

-

5,0 (50,0)

2,0 (20,0)

-

(Измененная редакция, Изм. № 1).

___________

* Битумно-резиновую мастику изготовляют в заводских условиях по ГОСТ 15836.

4.12. Толщина защитных покрытий контролируется приборным методом неразрушающего контроля с применением толщиномеров или других измерительных приборов:

для экструдированного полиэтилена и битумно-мастичных покрытий в базовых и заводских условиях на каждой десятой трубе одной партии не менее, чем в четырех точках по окружности трубы, и в местах, вызывающих сомнение;

(Измененная редакция, Изм. № 1).

для битумно-мастичных покрытий - в трассовых условиях на 10 % сварных стыков труб, изолируемых вручную, в тех же точках;

для битумно-мастичных покрытий на резервуарах - в одной точке на каждом квадратном метре поверхности, а в местах перегибов изоляционных покрытий через 1 м по длине окружности.

4.13. Адгезия защитных покрытий к стали контролируется в соответствии с нтд:

(Измененная редакция, Изм. № 1).

в трассовых условиях - на 10 % сварных стыков труб, изолированных вручную;

в базовых и заводских условиях - на каждой десятой трубе партии;

(Измененная редакция, Изм. № 1).

для рулонных и других полимерных материалов на резервуарах - не менее чем в двух точках по окружности.

Допускается определение адгезии методом выреза треугольника с углом 45° в соответствии с НТД.

4.14. Сплошность покрытий контролируют после окончания процесса изоляции труб, а также на берме траншей после изоляции трубопровода и стыков при напряжении в соответствии с табл. 6.

(Измененная редакция, Изм. № 1).

После окончания монтажа и полной засыпки сооружения грунтом, а также в процессе эксплуатации сплошность защитных покрытий контролируется приборами, обнаруживающими контакт оголенных мест трубопроводов с землей.

(Измененная редакция, Изм. № 1).

При проведении работ в зимних условиях контроль проводится после оттаивания грунта.

4.15. Контроль состояния защитных покрытий эксплуатируемых магистральных трубопроводов (кроме расположенных в городах, населенных пунктах и промышленных предприятиях) проводится методами катодной поляризации в соответствии с ГОСТ 25812.

(Измененная редакция, Изм. № 1).

4.16. Правила приемки и методы испытаний защитных покровов кабелей должны соответствовать ГОСТ 7006.

Контроль состояния защитных покровов кабелей в процессе строительства и эксплуатации должен осуществляться в соответствии с НТД.

5. ТРЕБОВАНИЯ К ЭЛЕКТРОХИМИЧЕСКОЙ ЗАЩИТЕ И МЕТОДЫ КОНТРОЛЯ

(Измененная редакция, Изм. № 1).

5.1. Требования к электрохимической защите подземных металлических сооружений в отсутствии опасного влияния блуждающих токов.

5.1.1. Катодная поляризация подземных металлических сооружений (кроме трубопроводов, транспортирующих нагретые выше 20 °С жидкие или газообразные среды) должна осуществляться таким образом, чтобы значения поляризационных потенциалов металла находились в пределах между минимальными и максимальными в соответствии с табл. 7. Измерение поляризационных потенциалов стальных трубопроводов и металлической оболочки бронированных кабелей связи проводится в соответствии с приложением 7.

Примечание. Допускается для стальных подземных трубопроводов, при отсутствии возможности измерения поляризационных потенциалов, осуществлять катодную поляризацию таким образом, чтобы значения разности потенциалов (включающие поляризационную и омическую составляющие) между трубой и медносульфатным электродом сравнения находились в пределах от минус 0,9 В до минус 2,5 В.

5.1.2. Катодная поляризация подземных стальных трубопроводов, по которым транспортируются нагретые среды, должна осуществляться таким образом, чтобы поляризационные потенциалы стали находились в пределах от минус 0,95 В до минус 1,15 В.

Таблица 7

Поляризационные защитные потенциалы металла сооружения относительно насыщенного медносульфатного электрода сравнения

Металл сооружения

Защитный потенциал*

минимальный, В

максимальный, В

Сталь

-0,85

-1,15

Свинец

-0,70

-1,30

Алюминий

-0,85

-1,40

_________

* Здесь и далее под минимальным и максимальным защитным потенциалом подразумеваются его значения по абсолютной величине.

5.1.3. Катодная поляризация кабелей связи должна осуществляться таким образом, чтобы поляризационный потенциал оболочки кабеля, по отношению к медносульфатному электроду сравнения соответствовал значениям, установленным в табл. 7.

Примечания:

1. Для свинцовых оболочек кабелей связи без защитных покровов, проложенных в кабельной канализации, допускается по краям зоны защиты смещение минимального защитного потенциала от стационарного не менее 100 мВ.

2. При катодной поляризации стальной брони кабелей связи максимальное значение разности потенциалов между броней и медносульфатным электродом сравнения должно быть не более минус 2,5 В, а по краям зоны защиты смещение минимального потенциала от стационарного - не менее 50 мВ.

3. Для кабелей связи с защитным покровом шлангового типа поверх оболочки, а также поверх оболочки и брони электрохимическая защита не проводится. Катодная поляризация таких кабелей в опасных зонах осуществляется лишь в случаях нарушения сплошности защитного покрова.

5.2. Требования к электрохимической защите при наличии опасного влияния блуждающих токов

5.2.1. Катодная поляризация подземных металлических сооружений должна осуществляться таким образом, чтобы обеспечивалось отсутствие на сооружениях анодных и знакопеременных зон.

Примечания:

1. Мгновенные защитные потенциалы (по абсолютной величине) должны быть не менее стационарного потенциала, а при отсутствии данных о стационарном потенциале - не менее 0,7 В.

2. При защите стальных трубопроводов и резервуаров в грунтах высокой коррозионной агрессивности, стальных трубопроводов оросительных систем и систем обводнения в грунтах высокой и средней коррозионной агрессивности с одновременным опасным влиянием блуждающих токов среднее значение поляризационных потенциалов или разности потенциалов должны соответствовать установленным в п. 5.1.1.

Определение среднего потенциала - в соответствии с приложением 8.

(Измененная редакция, Изм. № 1).

5.2.2. При катодной поляризации кабелей СЦБ, силовых и связи, применяемых на железной дороге, со свинцовой или алюминиевой оболочками и броней без наружного шлангового покрова среднее значение потенциалов между кабелем и медносульфатным электродом сравнения должно находиться в пределах от минус 0,87 В до минус 3 В.

5.2.3. Катодная поляризация кабелей связи при защите от коррозии блуждающими токами должна осуществляться аналогично п. 5.1.3.

5.3. Катодная поляризация подземных металлических сооружений должна осуществляться так, чтобы исключить вредное влияние ее на соседние подземные металлические сооружения.

Примечание. Вредным влиянием катодной поляризации защищаемого сооружения на соседние металлические сооружения считается:

уменьшение по абсолютной величине минимального или увеличение по абсолютной величине максимального защитного потенциала на соседних металлических сооружениях, имеющих катодную поляризацию;

появление опасности электрохимической коррозии на соседних подземных металлических сооружениях, ранее не требовавших защиты от нее;

смещение в любую сторону величины стационарного потенциала на кабелях связи, не имеющих катодной поляризации.

В случаях, когда при осуществлении катодной поляризации возникает вредное влияние на соседние металлические сооружения, необходимо применить меры по устранению вредного влияния или осуществить совместную защиту этих сооружений.

(Измененная редакция, Изм. № 1).

5.4. Катодная поляризация подземных стальных трубопроводов при защите от воздействия переменного тока должна обеспечивать защитные потенциалы в соответствии с требованиями пп. 5.1.1-5.1.3.

5.5. Электрохимическая защита городских подземных трубопроводов и резервуаров, длительное время эксплуатировавшихся в коррозионно-опасных условиях или имевших коррозионные повреждения, осуществляется после оценки их технического состояния в соответствии с НТД и устранения выявленных недостатков. Решение о целесообразности электрохимической защиты принимается на основании технико-экономического обоснования.

(Измененная редакция, Изм. № 1).

Если при осуществлении электрохимической защиты обеспечение защитных потенциалов в соответствии с пп. 5.1.1 и 5.1.2 представляется технически невозможным или экономически нецелесообразным, допускается применение защиты по критериям и на сроки, согласованные с эксплуатационной, проектной и головной научно-исследовательской организациями.

5.6. Катодная поляризация подземных металлических сооружений осуществляется с помощью дренажной (поляризованные и усиленные дренажи), катодной и протекторной защит.

5.7. Дренажная защита применяется для подземных сооружений при защите от коррозии блуждающими токами и осуществляется при минимальных значениях величины дренажного тока, обеспечивающего защиту сооружения.

Допускается применение усиленной дренажной или катодной защиты, если применение поляризованных дренажей неэффективно или неоправданно по технико-экономическим показателям.

5.8. Протекторную защиту применяют для защиты подземных сооружений, проложенных в грунтах высокой коррозионной агрессивности (для стальных трубопроводов оросительных систем и систем обводнения - высокой и средней коррозионной агрессивности), а также для защиты от коррозии, вызываемой блуждающими токами в анодных зонах, когда величина блуждающих токов может быть скомпенсирована током протектора.

(Измененная редакция, Изм. № 1).

5.9. Не допускается непосредственное присоединение установок дренажной защиты к отрицательным шинам и сборке отрицательных линий тяговых подстанций трамвая.

5.10. Поляризованные и усиленные дренажи, подключаемые к рельсовым путям электрифицированных дорог с автоблокировкой, не должны нарушать нормальную работу рельсовых цепей СЦБ.

Поляризованный и усиленный дренажи подключаются к рельсовым путям:

при однониточных рельсовых цепях - к тяговой нити в любом месте;

при двухниточных рельсовых цепях - к средним точкам путевых дроссель-трансформаторов в местах установки междупутных соединителей;

к средним точкам путевых дроссель-трансформаторов, отстоящих на три рельсовые цепи от точек подключения междупутных соединителей или других путевых дроссель-трансформаторов, к средним точкам которых подключены защитные установки и конструкции, имеющие сопротивление утечки переменного тока 50 Гц через все сооружения и конструкции менее 5 Ом.

Допускается более частое подключение защитных установок, если сопротивление всех параллельно подключенных к путевому дроссель-трансформатору устройств и сооружений более 5 Ом для сигнального тока частотой 50 Гц. Во всех случаях сопротивление утечке переменного тока включает сопротивление защитной установки при шунтированном поляризованном элементе и сопротивление заземления собственно сооружения.

5.11. С целью ограничения блуждающих токов присоединение усиленного дренажа к рельсовым путям электрифицированных железных дорог не должно приводить к появлению положительных потенциалов в точке отсоса в часы интенсивного движения поездов.

Ток усиленного дренажа в часы интенсивного движения поездов должен быть ограничен значением, при котором не устанавливаются устойчивые положительные потенциалы на рельсах в пункте присоединения усиленного дренажа.

Не допускается присоединять усиленный дренаж в анодных зонах рельсовой сети, а также к рельсам деповских путей.

5.12. Среднечасовой ток всех установок дренажной защиты, подключенных к рельсовому пути или сборке отрицательных питающих линий тяговой подстанции магистральных участков электрифицированных дорог постоянного тока, не должен превышать 25 % общей нагрузки данной тяговой подстанции.

5.13. При влиянии на подземное металлическое сооружение нескольких источников блуждающих токов (электрифицированная железная дорога, трамвай, метрополитен и др.) необходимо выявить источник преимущественного влияния в соответствии с приложением 9.

При осуществлении защиты следует применять в первую очередь дренирование блуждающих токов на источник, оказывающий преимущественное влияние.

5.14. Защита подземных металлических сооружений на станции стыкования систем электроснабжения постоянного и переменного токов осуществляется так же как на участках постоянного тока.

(Измененная редакция, Изм. № 1).

5.15. Контроль эффективности электрохимической защиты подземного металлического сооружения осуществляется измерением потенциалов на защищаемом сооружении в контрольно-измерительных пунктах, на вводах в здания и других элементах сооружений, доступных для производства измерений, а также в смотровых устройствах кабельной канализации связи.

(Измененная редакция, Изм. № 1).

5.16 Контроль работы установок электрохимической защиты в эксплуатационных условиях заключается в периодическом техническом осмотре установок, проверке эффективности их работы в сроки, установленные НТД.

При каждом изменении параметров работы установок (например, сопротивления растеканию анодного заземлителя) и при изменениях, связанных с развитием сети подземных металлических сооружений и источников блуждающих токов, проводят дополнительный контроль.

(Измененная редакция, Изм. № 1).

6. ТРЕБОВАНИЯ К ИСТОЧНИКАМ БЛУЖДАЮЩИХ ТОКОВ

6.1. Электрифицированные железные дороги постоянного тока

6.1.1. Контактная сеть электрифицированных линий должна быть соединена с положительной (плюсовой) шиной, а рельсовые пути - с отрицательной (минусовой) шиной тяговой подстанции.

6.1.2. Отрицательная шина тяговой подстанции не должна иметь глухого заземления. Данное требование не распространяется на заземление шины через цепи электрических дренажей.

6.1.3. В нормальном режиме работы электрифицированной линии контактная сеть перегонов (кроме консольных участков) должна иметь двухстороннее питание от тяговых подстанций при минимальных уравнительных токах между ними; среднесуточный расход электроэнергии подстанций при этом не должен превышать более чем в 1,5 раза нормализованный.

6.1.4. Рельсы на главных путях должны быть уложены, как правило, на щебеночном, гравийном или равноценном им по изоляционным свойствам балласте.

6.1.5. Конструкция железнодорожного пути должна обеспечивать переходное сопротивление по отношению к земле обоих нитей одного пути не менее 0,25 Ом×км, что соответствует сопротивлению между нитями 1 Ом×км.

6.1.6. Тяговая рельсовая сеть должна быть электрически непрерывной от любого участка пути до пунктов присоединения отсасывающих линий тяговых подстанций. Продольное сопротивление рельсовой сети за счет стыков не должно увеличиваться более, чем на 20 %. Электропроводность стыков обеспечивается конструктивными решениями согласно НТД.

6.1.7. Все неэлектрифицированные станционные пути должны быть отделены от электрифицированных путей в месте их примыкания к последним изолирующим стыкам, устанавливаемым в каждую рельсовую нить.

Подъездные неэлектрифицированные пути тяговых подстанций, промышленных объектов, нефтебаз и складов с горючими, взрывчатыми веществами, пути соединительных линий железной дороги с метрополитеном отделяют от электрифицированных путей двумя изолирующими стыками в каждой рельсовой нити на таком расстоянии друг от друга, чтобы они не перекрывались одновременно подвижным составом, подаваемым на подъездной путь.

6.1.8. Пути отстоя вагонов с электроотоплением должны соответствовать требованиям п. 6.1.5 с обеспечением двухстороннего отвода токов отопления вагонов с пути отстоя, используя для этих целей существующую рельсовую сеть как главных, так и боковых станционных электрифицированных путей.

На период работы без электроотопления эти пути должны обеспечиваться устройствами, исключающими утечку с них тяговых токов в соответствии с НТД.

6.1.9. Утечка тяговых токов с рельсов электрифицированных путей не должна превышать нормированного значения, определяемого по НТД.

6.1.10. Для ограничения утечки тяговых токов с локальных участков электрифицированного пути (туннель, депо, станционные парки) рекомендуется применять технические средства, препятствующие стеканию тягового тока, в соответствии с НТД.

6.2. Метрополитен

6.2.1. На метрополитене должна осуществляться преимущественно распределенная система питания тяговой сети с размещением подстанций у каждой станции.

6.2.2. Не допускается проектирование питания тяговой сети разных линий метрополитена от одной подстанции.

На существующих тяговых (тяговопонизительных) подстанциях, питающих две и более линии метрополитена, должно выполняться секционирование не только положительной, но и отрицательной шины с установкой секционных коммутационных аппаратов.

6.2.3. Конструкция пути в туннелях и открытых участках должна обеспечивать удельное переходное сопротивление между ходовыми рельсами (две нити впараллель) и обделкой туннеля (землей):

1,5 Ом×км - для рельсов в туннелях и закрытых наземных участках, на перегонах, смежных с метромостами (до 200 м по обе стороны от моста);

3,0 Ом×км - для рельсов на эстакадах, метромостах и в зданиях электродепо;

0,5 Ом×км - для рельсов открытых наземных линий и парковых путей электродепо.

Примечание. Допускается в начальный период эксплуатации метрополитена (не более 6 месяцев со дня ввода в эксплуатацию) понижение переходного сопротивления рельсов в туннелях до 0,5 Ом×км.

6.2.4. Рельсы соединительных веток, с помощью которых строящиеся линии метрополитена присоединяются к действующим, должны отделяться от последних изолирующими стыками, устанавливаемыми в каждую рельсовую нить.

6.2.5. На металлических трубопроводах и всех кабелях при вводе и выводе их из сооружений метрополитена и с территории электродепо должны быть установлены соответственно изолирующие фланцы (вставки) и изолирующие муфты.

6.3. Трамвай

6.3.1. Земляное полотно трамвайного пути должно обеспечивать надежный отвод поверхностных и грунтовых вод от основания пути.

6.3.2. Деревянные шпалы, укладываемые в путь, должны быть пропитаны масляными антисептиками, не проводящими электрический ток, и удовлетворять требованиям ГОСТ 78.

6.3.3. Переходное удельное сопротивление рельсовых путей должно быть не ниже 0,02 Ом×км.

6.3.4. Рельсовые пути должны быть оборудованы электрическими соединителями в соответствии с НТД.

6.3.5 Сопротивление каждого сборного рельсового стыка не должно превышать сопротивления рельса длиной 2,5 м. Сварные стыки не должны увеличивать сопротивление сплошного рельса.

6.3.6. Места присоединения отрицательных питающих линий к рельсам должны быть выбраны на основании расчета по НТД.

6.3.7. Для уравнивания потенциалов пунктов присоединения кабелей одной подстанции к рельсовой сети должны применяться соответствующие регулирующие устройства (статические вольтодобавочные установки или добавочные сопротивления).

6.3.8. Кабели, используемые для прокладки отрицательных линий, должны иметь контрольные жилы для измерения потенциалов пунктов присоединения отрицательных кабелей к рельсам.

6.3.9. Для контроля разности потенциалов между пунктами присоединения отрицательных кабелей смежных параллельно работающих подстанций последние должны быть оборудованы системой контрольных проводов.

6.3.10. Средняя величина разности потенциалов между любыми пунктами подключения отрицательных линий одной подстанции в период интенсивного графика движения должна быть:

не более 0,5 В при наличии устройств для автоматического регулирования потенциалов рельсовой сети;

не более 1,0 В при регулировании потенциалов пунктов присоединения с помощью реостатов.

6.3.11. Пункты присоединения отрицательных линий должны иметь разъемное электрическое соединение отрицательных линий с проводниками, идущими непосредственно к рельсовым нитям. Сопротивление контакта в месте присоединения каждого из указанных проводников к рельсовой нити не должно превышать 0,0015 Ом.

6.3.12. Использование отрицательных линий и рельсовых путей трамвая в качестве проводника тока троллейбусных нагрузок не допускается.

6.4. Электрифицированные железные дороги переменного тока

6.4.1. Не предусматриваются специальные меры по ограничению утечки тяговых токов на рельсовых путях и устройствах электроснабжения по условиям защиты подземных сооружений от электрокоррозии.

6.5. Электрифицированные железнодорожные пути промышленного транспорта

6.5.1. Электрифицированные линии рельсового промышленного транспорта и главные пути карьеров полезных ископаемых и устройства их электроснабжения должны отвечать требованиям пп. 6.1.1, 6.1.2, 6.1.4, 6.1.8.

6.5.2. Рельсовые пути в карьерах, на промышленных площадках и станциях должны быть изолированы от контуров заземления экскаваторов, подземных металлических сооружений, от ферм мостов и арматуры.

6.5.3. Металлические фермы мостов, путепроводов, металлические и железобетонные опоры контактной сети, имеющие сопротивление растеканию не менее 20,0 Ом, должны соединяться с тяговыми рельсами или со средними точками путевых дросселей через искровые промежутки с нормированным пробивным напряжением.

Во всех случаях соединительные провода должны быть проложены изолированно от земляного полотна, балласта, железобетонных шпал или железобетонных подрельсовых оснований.

6.6. Линии передачи энергии постоянного тока системы «провод-земля»

6.6.1. При проектировании рабочих заземлений линий передач энергии постоянного тока системы «провод-земля», должны быть предусмотрены мероприятия, исключающие их опасное влияние на подземные сооружения.

6.7. Промышленные предприятия, потребляющие постоянный электрический ток в технологических процессах

6.7.1. Источники блуждающих токов промышленных объектов - шинопроводы постоянного тока, электролизеры, металлические трубопроводы, присоединенные к электролизерам, должны быть электрически изолированы от строительных конструкций.

6.7.2. В качестве изоляторов следует использовать базальт, фарфор, диабаз, стекло, пластмассы и другие материалы с удельным объемным сопротивлением не менее 1012 Ом×м.

Не допускается применение пористых материалов, обладающих способностью впитывать влагу (бетон, неглазурованный фарфор, керамика) без специальной обработки водоотталкивающими и электроизолирующими составами.

6.7.3. Для ограничения утечки тока следует предусматривать секционирование с помощью электроизолирующих швов железобетонных перекрытий, железобетонных площадок для обслуживания электролизеров в подземных железобетонных конструкциях. Перекрытие, на котором устанавливаются электролизеры, должно быть отделено электроизоляционным швом от примыкающих к нему железобетонных стен, колонн, перекрытий других отделений.

6.7.4. Электроизоляционные швы выполняются в виде воздушных зазоров из мастичных или рулонных материалов с удельным электросопротивлением 1012 Ом×м (битумная мастика, полиэтилен, полихлорвиниловый пластикат).

6.7.5. В отделениях электролиза водных растворов для ограничения токов утечки следует предусматривать применение полимербетона для конструкций, примыкающих к электронесущему оборудованию (опоры, балки, фундаменты под электролизеры, опорные столбы под шинопроводы, опорные балки и фундаменты под оборудование, соединенное с электролизерами).

6.7.6. Ограничение утечки тока с трубопроводов, транспортирующих электролит и продукты электролиза, осуществляется применением трубопроводов из неэлектропроводных материалов (фаолит, стекло, полиэтилен и др.).

6.7.7. Для предотвращения отекания блуждающих токов с арматуры железобетонных фундаментов отделений электролиза необходимо предусмотреть электроизоляцию фундаментов, окрашивая их электроизоляционными составами, оклеивая изоляционными материалами, выполняя их из электроизоляционных бетонов.

6.7.8. Для предохранения наземных строительных конструкций от увлажнения в проектах строительства необходимо предусмотреть защиту поверхности покрытиями, устройство защитных козырьков в местах обливов.

6.8. Контроль за выполнением мероприятий по ограничению токов утечки на рельсовых путях и в системе электроснабжения электрифицированного транспорта

6.8.1. Эксплуатационный контроль за мерами по ограничению токов утечки с рельсовой сети выполняют соответствующие службы железных дорог. Перечень мероприятий, сроки и методика их выполнения определяются соответствующими НТД.

6.8.2. Измерение токов утечки с рельсов электрифицированных путей проводится по мере необходимости представителями соответствующих служб железных дорог совместно с заинтересованными организациями, проектирующими, строящими или эксплуатирующими подземные металлические сооружения.

6.8.3. Проверку соответствия усиленных дренажей требованиям пп. 5.7; 5.10-5.12 выполняют совместно представители железных дорог и заинтересованной организации при первом опытном включении усиленного дренажа, а в дальнейшем - организацией, в ведении которой находится усиленный дренаж.

6.8.4. На сооружениях трамвая организациями, ответственными за эксплуатацию трамвайного хозяйства, должен осуществляться контроль:

состояния рельсового пути и электрических соединений;

выполнения норм падения напряжения в рельсовых сетях;

состояния изоляции отрицательных линий;

выполнения норм разности потенциалов между пунктами присоединения отрицательных линий одной подстанции.

Периодичность и методика контроля определяется НТД.

6.8.5. Сведения об изменении в режиме работы сооружений, являющихся источниками блуждающих токов, способных привести к увеличению опасности коррозии подземных сооружений, находящихся в зоне действия блуждающих токов этих источников, должны сообщаться организациям, осуществляющим координацию и контроль противокоррозионной защиты подземных сооружений, не позднее чем за один месяц до перехода на новый режим работы.

6.8.6. Контроль за выполнением требований пп. 6.2.1-6.2.5 возлагается на соответствующие службы метрополитена в сроки, установленные в НТД. При строительстве метрополитена контроль осуществляется дирекцией строительства.

7. ТРЕБОВАНИЯ БЕЗОПАСНОСТИ

7.1. Все работы по защите подземных металлических сооружений от коррозии должны выполняться в соответствии с «Правилами безопасности в газовом хозяйстве», «Правилами устройстве. электроустановок», «Правилами техники безопасности при работах на кабельных линиях связи и радиофикации», а также действующей НТД.

7.2. К выполнению работ по защите подземных металлических сооружений от коррозии допускаются лица, прошедшие обучение и инструктаж по ГОСТ 12.0.004. При допуске к работе каждый рабочий должен получить инструктаж по технике безопасности на рабочем месте с соответствующей записью в журнале по проведению инструктажа.

7.3. При осуществлении работ по защите от коррозии следует выполнять требования техники безопасности по ГОСТ 12.3.016, ГОСТ 12.3.008, ГОСТ 12.3.005, ГОСТ 12.2.004 и «Правил пожарной безопасности при проведении строительно-монтажных работ».

7.4. На каждом рабочем участке должна быть инструкция по технике безопасности и охране труда.

7.5. При выполнении работ по защите подземных сооружений от коррозии работающий персонал должен быть обеспечен спецодеждой и средствами индивидуальной защиты, противогазами, спасательными поясами, диэлектрическими перчатками и т. д. в соответствии с требованиями действующих правил безопасности.

7.6. При проведении работ должны быть предусмотрены предупредительные знаки в соответствии с требованиями ГОСТ 12.4.026; обеспечиваться требования по шуму в соответствии с ГОСТ 12.1.003; содержание вредных веществ в воздухе рабочей зоны не должно превышать предельно допустимых концентраций, установленных ГОСТ 12.1.005.

7.7. При производстве на подземных сооружениях работ, связанных с электрическими измерениями, монтажом, ремонтом и наладкой электрозащитных установок, следует соблюдать «Правила технической эксплуатации электроустановок потребителей» и «Правила техники безопасности при эксплуатации электроустановок потребителей» Госэнергонадзора.

7.8. Работы в пределах проезжей части улиц и дорог для автотранспорта, на рельсовых путях трамвая и железных дорог, источниках электропитания установок электрозащиты выполняются бригадой в составе не менее двух человек, а при проведении работ в колодцах, туннелях или глубоких траншеях (глубиной более 2 м) - бригадой в составе не менее трех человек.

7.9. Не разрешается проводить работы в колодцах с наличием газа до устранения причин загазованности сооружения.

7.10. Для спуска в колодцы, не имеющие скоб, котлованы, люки должны использовать металлические лестницы достаточной длины с приспособлениями для закрепления у края колодца, котлована, люка, не дающие искрения при ударе или трении о твердые предметы.

7.11. Измерения в контрольных пунктах, расположенных на проезжей части дорог, на рельсах трамвая или электрифицированной железной дороги, должны проводить два человека, один из которых следит за безопасностью работ и ведет наблюдения за движением транспорта.

7.12. Все работы на тяговых подстанциях и отсасывающих пунктах электротранспорта проводятся в присутствии персонале подстанции.

7.13. При применении электрифицированного инструмента необходимо проводить работу только в диэлектрических перчатках при заземленных корпусах электроинструментов.

7.14. Исключен. (Измененная редакция, Изм. № 1).

7.15. На весь период работы опытной станции катодной защиты у контура анодного заземления должен находиться дежурный, не допускающий посторонних лиц к анодному заземлению, и установлены предупредительные знаки в соответствии с ГОСТ 12.4.026.

7.16. Металлические корпуса электроустановок, не находящиеся под напряжением, должны иметь защитное заземление.

ПРИЛОЖЕНИЕ 1
Рекомендуемое

МЕТОДИКИ ОПРЕДЕЛЕНИЯ УДЕЛЬНОГО СОПРОТИВЛЕНИЯ ГРУНТА

1. Определение удельного электрического (кажущегося) сопротивления грунта в полевых условиях

1.1. Сущность метода

Удельное электрическое сопротивление грунта определяют непосредственно на местности по трассе подземного сооружения без отбора проб грунта.

1.2. Аппаратура

Полевые электроразведочные приборы, например АС-72 и другие. Допускаются другие приборы. Стальные электроды длиной 250-350 мм и диаметром 15-20 мм.

(Измененная редакция, Изм. № 1).

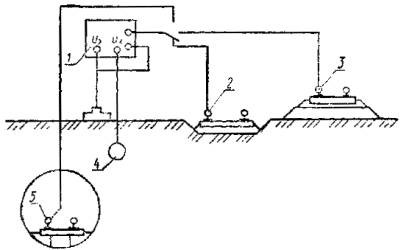
1.3. Проведение измерения

Измерение электрического сопротивления грунта проводят по четырехэлектродной схеме (черт. 1). Электроды размещают по одной линии, которая для проектируемого сооружения должна совпадать с осью трассы, а для уложенного в землю сооружения должна проходить перпендикулярно или параллельно этому сооружению на расстоянии 2-4 м от оси сооружения. Измерения выполняет в период отсутствия промерзания грунтов на глубине заложения подъемного сооружения.

Глубина забивки электродов в грунт не должна быть более 1/20 расстояния между электродами.

1.4. Величину удельного электрического сопротивления грунта r, Ом×м вычисляют по формуле

r = 2pRa                                                                 (1)

где R - измеренное по прибору сопротивление, Ом;

а - расстояние между электродами, принимаемое одинаковым и равным глубине (для кабелей связи - двойной глубине) прокладки подземного сооружения, м.

(Измененная редакция, Изм. № 1).

Схема определения удельного сопротивления грунта

1 - электрод; 2 - прибор

Черт. 1

2. Определение удельного электрического сопротивления грунта в лабораторных условиях

2.1. Требования к образцам

Образцами для определения удельного сопротивления грунта служат пробы грунтов, которые отбирают в шурфах, скважинах и траншеях из слоев, расположенных на глубине прокладки сооружения с интервалами 50-200 м на расстоянии 0,5-0,7 м от боковой стенки трубы. Для пробы берут 1,5-2 кг грунта, удаляют твердые включения размером более 3 мм. Отобранную пробу помещают в полиэтиленовый пакет и снабжают паспортом, в котором указывают номер объекта и пробы, место и глубину отбора пробы.

Если уровень грунтовых вод выше глубины отбора проб, следует отобрать грунтовый электролит объемом 200-300 см3 и поместить в герметически закрывающуюся емкость, которую маркируют и снабжают паспортом.

(Измененная редакция, Изм. № 1).

2.2. Аппаратура, материалы

Источник тока.

(Измененная редакция, Изм. № 1).

Миллиамперметр класса точности 1,5 или ниже.

(Измененная редакция, Изм. № 1).

Вольтметр с внутренним сопротивлением не менее 10 МОм.

Ячейка прямоугольной формы из материала с диэлектрическими свойствами (стекло, фарфор, пластмасса, и т. д.) или из стали с внутренней футеровкой изоляционным материалом. Внутренние размеры ячейки рекомендуются следующие: а = 100 мм, b = 45 мм, h = 45 мм. Могут быть и другие произвольные размеры.

Внешние электроды, представляющие собой прямоугольные пластины (из углеродистой или нержавеющей стали) с ножкой, к которой крепится или припаивается проводник - токоподвод. Размеры электродов - 44 ´ 40 мм, где 40 - высота электрода. Одну сторону каждой пластины изолируют. При сборе ячейки пластины должны быть обращены друг к другу неизолированными сторонами».

(Измененная редакция, Изм. № 1).

Внутренние электроды из медной проволоки или стержня диаметром 1-3 мм и длиной более высоты ячейки.

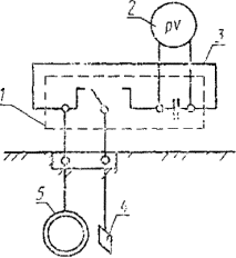
Схема

установки для определения удельного электрического сопротивления грунта в лабораторных условиях

1 - миллиамперметр; 2 - источник тока; 3 - вольтметр; 4 - измерительная ячейка; А, В - внешние электроды; M, N - внутренние электроды

(Измененная редакция, Изм. № 1).

Черт. 2

2.3. Подготовка к испытанию

Отобранную пробу песчаных грунтов смачивают до полного влагонасыщения, а глинистых - до достижения мягкопластичного состояния. Если уровень грунтовых вод ниже уровня отбора проб, смачивание проводят дистиллированной водой, а если ниже - грунтовой водой. Собирают установку в соответствии со схемой, изображенной на черт. 2. Электроды А и В зачищают шкуркой шлифовальной по ГОСТ 6456-82 зернистостью 40 и меньше, обезжиривают ацетоном, промывают дистиллированной водой и устанавливают вплотную к торцовым поверхностям внутри ячейки. В ячейку укладывают грунт, послойно утрамбовывая его, на высоту меньше высоты ячейки на 4 мм. Электроды М и N, предварительно подготовленные так же, как и электроды А и В, устанавливают в грунт вертикально, опуская их до дна по центральной линии ячейки на расстоянии 50 мм друг от друга и 25 мм от торцовых стенок ячейки.

(Измененная редакция, Изм. № 1).

2.4. Проведение измерений

Измерения проводятся по четырехэлектродной схеме на постоянном или низкочастотном переменном токе.

Электроды А и В подключают к источнику тока. Устанавливают определенное значение силы тока (I) и измеряют падение напряжения между электродами M и N (U). Измерения проводят при трех разных значениях силы тока I1 < I2 < I3, например 1.10-3, 2.10-3, 3.10-3 А. При работе на постоянном токе меняют полярность электродов А и В и измерения повторяют. Сопротивление грунта вычисляют по формуле  и определяют среднее значение сопротивление грунта , где п - число замеров.

Примечание. В отсутствии тока разность потенциалов между электродами М и N (Uо) может отличаться от нуля на 10-30 мВ. При расчете тогда используют формулу .

Удельное электрическое сопротивление грунта (r) Ом×м, вычисляют по формуле:

,                                                                                               (2)

где S - площадь поверхности одной стороны электродов А (B), м2;

l - расстояние между электродами М и N, м.

Для ячейки с приведенными выше размерами электродов А и В и расстоянием между электродами М и N.

r = 3,5×10-2Rср, Ом×м.

(Измененная редакция, Изм. № 1).

ПРИЛОЖЕНИЕ 2
Рекомендуемое

МЕТОДИКА ОПРЕДЕЛЕНИЯ ПЛОТНОСТИ КАТОДНОГО ТОКА

1. Сущность метода

Сущность метода заключается в определении плотности катодного тока при смещении потенциала на 100 мВ отрицательнее потенциала коррозии стали в грунте.

2. Требования к образцам - по п. 2.1 приложения 1.

3. Аппаратура, материалы

Источник напряжения постоянного тока

Вольтметр с внутренним сопротивлением 10 МОм

Прерыватель тока или измерительный прибор, содержащий прерыватель тока

(Измененная редакция, Изм. № 1).

Регулируемое сопротивление

Миллиамперметр класс точности 1,5 или меньше

(Измененная редакция, Изм. № 1).

Ячейка прямоугольной формы из материала, обладающего диэлектрическими свойствами (стекло, фарфор, пластмасса и т. д.), вместимостью от 0,5 до 1,0 дм3. Рекомендуемые внутренние размеры ячейки 70´70´100 мм.

Рабочий электрод, представляющий прямоугольную пластину из стали 3 размером 50´20 мм, толщиной 1,5-2,0 мм.

Вспомогательный электрод из стали Ст. 3 или любой другой углеродистой стали по форме и размерам аналогичен рабочему электроду.

(Измененная редакция, Изм. № 1).

Электрод сравнения - насыщенный медносульфатный, хлорсеребряный и т. д.

Одна поверхность рабочего и вспомогательного электрода и токоотводы от них должны быть изолированы.

Одна поверхность рабочего и вспомогательного электрода и токоотводы от них должны быть изолированы.

(Измененная редакция, Изм. № 1).

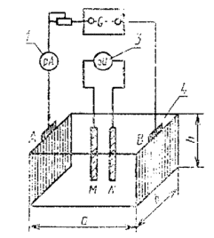
4. Подготовка к испытанию

Собирают установку по схеме (черт. 3) с использованием прерывателя тока и вольтметра (черт. 3а) или с использованием прибора, включающего в себя прерыватель тока (черт. 3б).

Отобранную пробу грунта загружают в ячейку, сохраняя ее естественную влажность.

Если при хранении проб после их отбора возможно изменение естественной влажности грунта, то необходимо определять влажность отобранной пробы в соответствии с ГОСТ 5180-84. Перед проведением исследования вновь определяют влажность пробы грунта. Если влажность уменьшилась, то ее доводят до естественной влажности с помощью дистиллированной воды.

(Измененная редакция, Изм. № 1).

На дно ячейки на высоту 20 мм укладывают грунт и утрамбовывают его. Рабочий и вспомогательный электроды устанавливают вертикально неизолированными поверхностями друг к другу на расстоянии 3-4 см. Далее грунт укладывают в ячейку послойно (один - три слоя) с последовательным трамбованием слоев, добиваясь максимально возможного уплотнения. Расстояние от верхней кромки рабочего электрода до поверхности грунта должно быть 50 мм. Электрод сравнения устанавливают сверху ячейки в грунт, углубляя его на 1,0-1,5 см.

(Измененная редакция, Изм. № 1).

5. Проведение измерений

Рабочий электрод выдерживают в грунте до включения поляризации 15-20 мин. Измеряют его потенциал коррозии относительно электрода сравнения.

(Измененная редакция, Изм. № 1).

Катодную поляризацию рабочего электрода осуществляют, подключая его к отрицательному полюсу источника тока, в вспомогательный электрод - к положительному. Потенциал рабочего электрода смещают на 100 мВ отрицательнее его потенциала коррозии. Для исключения омической составляющей из значения измеряемого потенциала рабочего электрода, измерение проводят по схеме (черт. 3а, б).

(Измененная редакция, Изм. № 1).

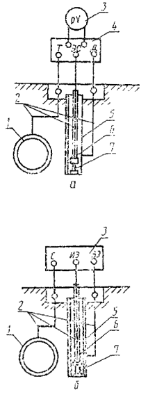
Схема установки для определения плотности катодного тока

1 - миллиамперметр; 2 - регулируемое сопротивление; 3 - источник напряжения; 4 - вольтметр; 5 - прерыватель тока; 6 - ячейка; 7 - рабочий электрод; 8 - вспомогательный электрод; 9 - электрод сравнения

Черт. 3

Измеряют силу тока (Iк). Измерения выполняют несколько раз за период поляризации рабочего электрода при потенциале на 100 мВ отрицательнее потенциала коррозии, что позволяет определить характер измерения Iк во времени. Последнее измеренное значение Iк берут для определения среднего значения Iк ср.

Если Iк постоянна или уменьшается во времени, то длительность поляризации составляет 10-15 мин., течение которых измеряют и записывают Iк 3-4 раза. Если сила тока во времени растет, то измеряют и записывают Iк 5-6 раз; длительность поляризации составляет 40 мин или тот промежуток времени, в течение которого плотность тока превысит 0,2 А/м2 (что при рекомендуемом размере поверхности рабочего электрода S в 10 см2 соответствует силе тока 0,0002 А). Сила тока более 0,0002 А характеризует высокую коррозионную агрессивность грунта.

Определение Iк выполняют для одного грунта не менее трех раз и вычисляют среднее арифметическое значение силы катодного тока Iк ср.

(Измененная редакция, Изм. № 1).

6. Обработка результатов

Плотность тока (iк) в А/м2 вычисляют по формуле

                                                                         (3)

Оценка коррозионной агрессивности грунта проводится в соответствии с п. 2.2.

ПРИЛОЖЕНИЕ 3
Рекомендуемое

МЕТОДИКИ ОПРЕДЕЛЕНИЯ СМЕЩЕНИЯ РАЗНОСТИ ПОТЕНЦИАЛОВ МЕЖДУ ПОДЗЕМНЫМ МЕТАЛЛИЧЕСКИМ СООРУЖЕНИЕМ И ЭЛЕКТРОДОМ СРАВНЕНИЯ

1. Смещение разности потенциалов может определяться двумя методами:

Метод 1 - по разности между значениями измеренного потенциала сооружения и значением его стационарного потенциала.

Метод 2 (для стальных подземных трубопроводов) - по полярности омического падения потенциала между сооружением и специальным вспомогательным электродом сравнения.

2. Требования к образцам

Образцами для измерений являются участки подземных сооружений, оборудованные контрольно-измерительными пунктами, колодцами, шурфами и т. д.

3. Метод 1

3.1. Аппаратура

Вольтметр с внутренним сопротивлением не менее 20 кОм на 1 В шкалы регистрирующий или показывающий.

Медносульфатный электрод сравнения.

Стальной электрод сравнения.

3.2. Проведение измерений

3.2.1. Измерения выполняются в контрольно-измерительных пунктах, колодцах, шурфах и т. д. контактным методом с применением регистрирующих или показывающих приборов. Положительную клемму измерительного прибора присоединяют к сооружению, отрицательную - к электроду сравнения.

3.2.2. Продолжительность измерения устанавливается НТД.

3.2.3. При измерениях в зоне действия блуждающих токов и амплитуде колебаний измеряемой разности потенциалов, превышающей 0,5 В, могут быть использованы стальные электроды сравнения. Данный пункт не относится к проведению измерений на сооружениях связи.

4. Обработка результатов измерений

4.1. Разность между измеренным потенциалом сооружения и значением его стационарного потенциала вычисляют по формуле

DU = Uизм - Uс                                                                    (4)

где Uизм - наименее отрицательная или наиболее положительная за период измерений мгновенная разность потенциалов между сооружением и медносульфатным электродом сравнения;

Uс - стационарный потенциал сооружения.

Примечание. Стационарный потенциал - потенциал металлического сооружения, измерений относительно электрода сравнения при отсутствии блуждающих токов поляризации от внешних источников тока.

При отсутствии данных Uс принимают равным (относительно медно-сульфатного электрода сравнения):

минус 0,70 В - для стали;

минус 0,48 В - для свинца;

минус 0,70 В - для алюминия.

(Измененная редакция, Изм. № 1).

В тех случаях, когда наибольший размах колебаний потенциала сооружения, измеряемого относительно медносульфатного электрода сравнения (абсолютные значения разности потенциалов между наибольшим и наименьшим значением этого потенциала) не превышает 0,04 В, смещение потенциала не характеризует опасного действия блуждающих токов.

4.2. Действие блуждающих токов признается опасным при наличии за период измерений мгновенного положительного смещения потенциала.

5. Метод 2

5.1. Сущность метода

Сущность метода состоит в измерении разности потенциалов между трубопроводом и специальным вспомогательным электродом и моменты разрыва электрической цепи между ними с целью определения полярности омического падения потенциала между трубопроводом и вспомогательным электродом (черт. 4).

Метод не применяется в тех случаях, когда размах колебаний потенциала трубопровода, измеряемого относительно медносульфатного электрода сравнения, не превышает 0,04 В.

5.2. Аппаратура, материалы

Вольтметр с внутренним сопротивлением не менее 20 кОм на 1 В шкалы.

Прерыватель тока с запоминающей емкостью (например, типа ПТ-1).

Вольтметр с прерывателем тока (например, прибор типа 43313).

Вспомогательный электрод, представляющий пластину, изготовленную из Ст. 3 размером 25´25 мм, толщиной 1,5-2,0 мм.

К электроду припаян изолированный проводник. Сторона крепления проводника к электроду изолирована (например, эпоксидной смолой).

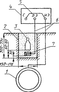
5.3. Подготовка измерений

5.3.1. Для проведения измерений вспомогательный электрод (ВЭ) устанавливают в специальном шурфе, расположенном над трубопроводом (черт. 5). Место шурфа выбирают на участке трассы без дорожного покрытия.

Принципиальная схема определения полярности омического падения потенциала

1 - прерыватель тока с запоминающей емкостью; 2 - вольтметр; 3 - перемычка между зажимами С и ИЭ (измерительный электрод); 4 - вспомогательный электрод; 5 - трубопровод

Черт. 4

Схема для определения полярности омического падения потенциала

1 - трубопровод; 2 - шурф; 3 - груз; 4 - прибор для измерения поляризационных потенциалов или прерыватель тока с вольтметром; 5 - перемычка; 6 - контрольные проводники от трубопровода и вспомогательного электрода; 7 - вспомогательный электрод

Черт. 5

(Измененная редакция, Изм. № 1).

Подготовку шурфа и установку ВЭ производят в следующем порядке:

в намеченном пункте измерений с помощью трассоискателя или по привязкам на плане трассы трубопровода определяют месторасположение трубопровода;

над трубопроводом делают шурф глубиной 300-350 мм и диаметром 150-170 мм.

5.3.2. ВЭ устанавливают таким образом, чтобы его рабочая (неизолированная) поверхность была обращена к трубопроводу. Предварительно из взятой со дна шурфа части грунта, контактирующего с ВЭ, должны быть удалены твердые включения размером более 3 мм. Над ВЭ, как показано на черт. 5, устанавливают груз массой 0,8-1,0 кг. ВЭ перед установкой подготавливают по п. 2.3 Приложения 1. При наличии атмосферных осадков предусматривают меры против увлажнения грунта и попадания влаги в шурф.

5.4. Проведение измерений

5.4.1. Измерения с использованием прибора, содержащего прерыватель тока, например, прибора типа 43313, выполняют в определенной последовательности (черт. 5):

включают прибор, устанавливают переключатели в положения, соответствующие режиму измерения поляризационного потенциала;

устанавливают переключатель диапазонов измерений в положение «2В»;

присоединяют контрольный проводник от трубопровода к зажиму С, контрольный проводник от вспомогательного электрода - к зажиму ВЭ, между зажимами С и ИЭ устанавливают перемычку.

Первые показания прибора снимают не ранее, чем через 10 мин после подключения к прибору контрольных проводников от трубопровода и ВЭ и установки перемычки. Снятие показаний прибора производят через каждые 5 с.

5.4.2. При использовании прерывателя тока, например, типа ПТ-1, в комплекте с регистрирующим прибором, например, типа Н-399, измерительные работы проводят в такой последовательности:

подсоединяют контрольные проводники от трубопровода и ВЭ соответственно к зажимам Т и Д, между зажимами Т и ЭС устанавливают перемычку, включают прерыватель тока;

устанавливают переключатель диапазона измерений в положение 0,25 В и скорость движения диаграммной бумаги 600 мм/ч, при замкнутых выводах прибора на диаграммной бумаге фиксируют нулевую линию в течение 1 мин.;

к клеммам прерывателя тока «Прибор» подключают прибор Н-359, при этом к клемме «+» подключают положительный вывод прибора, а к клемме «-» - отрицательный вывод. Показания прибора учитывают не ранее, чем через 10 мин после подключения к прибору контрольных проводников от трубопровода и ВЭ и перемычки.

5.4.3. При определении опасного действия блуждающих токов по полярности омического падения потенциала на трубопроводах в зоне влияния блуждающих токов трамвая продолжительность измерений должна быть не менее 10 мин. Измерения производят в часы утренней или вечерней пиковой нагрузки электротранспорта. В случаях прокладки трубопроводов в зоне слияния блуждающих токов электрифицированных железных дорог период измерений должен охватывать пусковые моменты и время прохождения электропоездов в обе стороны между двумя ближайшими станциями.

5.5. Обработка результатов измерений

5.5.1. Для определения характера влияния блуждающих токов на подземные трубопроводы производят обработку результатов измерений по формуле

DU = 0,03 - Uп, В,                                                                 (5)

где DU - омическое падение потенциала между трубопроводом и вспомогательным электродом, В; Uп - показания прибора 43313 (с учетом знака), В (при использовании прерывателя тока типа ПТ-1 в комплекте с прибором типа Н-399 - максимальные по абсолютной величине отрицательные значения и минимальные по абсолютной величине положительные значения потенциала за период измерения).

Если среди полученных значений DU имеются значения со знаком «+», то фиксируется наличие опасности коррозии.

5.5.2. По окончании измерительных работ и извлечении из шурфа ВЭ и груза шурф засыпают грунтом. В целях обеспечения повторных измерений в данном пункте на плане прокладки трубопровода делают соответствующие привязки.

ПРИЛОЖЕНИЕ 4
Рекомендуемое

МЕТОДИКА ОПРЕДЕЛЕНИЯ НАЛИЧИЯ БЛУЖДАЮЩИХ ТОКОВ В ЗЕМЛЕ

1. Сущность метода

Сущность метода заключается в измерении на трассе проектируемого сооружения разности потенциалов между двумя точками земли через каждые 1000 м по двум взаимно перпендикулярным направлениям при разносе измерительных электродов на 100 м для обнаружения блуждающих токов.

2. Аппаратура

Вольтметры с внутренним сопротивлением не менее 20 кОм на 1 В шкалы с пределами измерений: 0,5-0-0,5 В; 1,0-0-1,0 В; 5,0-0-5,0 В или другими близкими к указанным пределам. Медносульфатные электроды сравнения.

(Измененная редакция, Изм. № 1).

3. Проведение измерений

Измерительные электроды располагают параллельно будущей трассе сооружения, а затем перпендикулярно к оси трассы.

Показания вольтметра снимаются через каждые 5-10 с в течение 10-15 мин в каждой точке.

Если наибольший размах колебаний разности потенциалов (абсолютной разности потенциалов между наибольшим и наименьшим значениями) превышает 0,50 В, это характеризует наличие блуждающих токов.

(Измененная редакция, Изм. № 1).

ПРИЛОЖЕНИЕ 5
Рекомендуемое

МЕТОДИКА ОПРЕДЕЛЕНИЯ НАЛИЧИЯ ТОКА В ПОДЗЕМНЫХ СООРУЖЕНИЯХ СВЯЗИ

1. Сущность метода

Сущность метода заключается в измерении падения напряжения между двумя находящимися на некотором расстоянии друг от друга точками брони (оболочки) кабеля и в определении сопротивления брони (оболочки) между этими точками.

2. Аппаратура

Милливольтметр с внутренним сопротивлением 1 МОм на 1 В шкалы и пределами измерений: 1-0-1 мВ и 10-0-10 мВ.

(Измененная редакция, Изм. № 1).

Электроды стальные или свинцовые.

3. Проведение измерений

3.1. Контакт измерительных проводников с броней (оболочкой) кабеля осуществляется при помощи стальных или свинцовых электродов.

О направлении тока судят по отклонению стрелки прибора от нуля шкалы, исходя из того, что стрелка прибора отклоняется в сторону зажима, имеющего более высокий потенциал.

3.2. Среднюю величину тока, протекающего по кабелю (оболочке и броне), вычисляют по формуле:

, А                                                                         (6)

где  DUср - среднее значение падения напряжения на соединенных между собой броне и оболочке (на голой свинцовой оболочке), В;

R - сопротивление 1 м свинцовой оболочки или соединенных между собой свинцовой оболочки и брони, Ом/м;

l - расстояние между точками измерения, м.

3.3. При проведении строительных работ, монтаже и ремонте муфт измерение тока, протекающего по оболочке и броне кабеля, может быть осуществлено непосредственным включением амперметра в разрыв оболочек и брони.

ПРИЛОЖЕНИЕ 6
Рекомендуемое

МЕТОДИКА ОПРЕДЕЛЕНИЯ ОПАСНОГО ДЕЙСТВИЯ ПЕРЕМЕННОГО ТОКА

1. Сущность метода

Сущность метода заключается в определении смещения среднего, значения разности потенциалов между трубопроводом и медносульфатным электродом сравнения.

2. Требования к образцам

Образцами для измерения являются участки стальных трубопроводов, на которых зафиксированы значения напряжения переменного тока между трубопроводом и землей, превышающие 0,3 В.

3. Аппаратура, материалы

Вольтметр для измерения постоянного и переменного напряжений с входным сопротивлением не менее 10 МОм (например типа В7-41).

Конденсатор емкостью 4 мкФ.

Переносной насыщенный медносульфатный электрод сравнения (МЭС).

Вспомогательный электрод.

4. Подготовка к измерениям

4.1. Вспомогательный электрод (ВЭ) зачищают шкуркой шлифовальной (ГОСТ 6456) зернистостью 40 и меньше, обезжиривают ацетоном, промывают дистиллированной водой.

ВЭ и МЭС устанавливают в специальном шурфе над трубопроводом. ВЭ устанавливают таким образом, чтобы его рабочая (неизолированная) поверхность была обращена к трубопроводу. Предварительно из части грунта, контактирующего с ВЭ, должны быть удалены твердые включения размером более 3 мм. Грунт над ВЭ утрамбовывают с усилием 3-4 кг на площадь ВЭ. При наличии атмосферных осадков предусматривают меры против попадания влаги в грунт.

4.2. Для измерения величины смещения потенциала собирают схему, приведенную на черт. 6 при разомкнутой цепи между ВЭ и трубопроводом.

5. Приведение измерений

5.1. Измерения выполняют в следующей последовательности:

через 10 мин после установки ВЭ в грунт измеряют его стационарный потенциал относительно МЭС;

подключают ВЭ к трубопроводу и через 10 мин снимают первое показание вольтметра. Следующие показания снимают через каждые 5 с. Продолжительность измерения не менее 10 мин.

5.2. Среднее значение смещения потенциала ВЭ за период измерений вычисляют по формуле:

, мВ,                                                               (7)

где  - сумма мгновенных значений потенциала ВЭ при подключении ВЭ к трубопроводу, мВ;

Uс - стационарный потенциал ВЭ, мВ;

п - общее число измерений.

Схема измерений смещения потенциала трубопровода

1 - стальной трубопровод; 2 - шурф; 3 - вольтметр; 4 - конденсатор; 5 - выключатель; 6 - медносульфатный электрод сравнения; 7 - вспомогательный электрод

Черт. 6

ПРИЛОЖЕНИЕ 7
Рекомендуемое

МЕТОДИКИ ИЗМЕРЕНИЯ ПОЛЯРИЗАЦИОННЫХ ПОТЕНЦИАЛОВ ПОДЗЕМНЫХ СТАЛЬНЫХ ТРУБОПРОВОДОВ И ОБОЛОЧЕК БРОНИРОВАННЫХ КАБЕЛЕЙ СВЯЗИ ПРИ ЭЛЕКТРОХИМИЧЕСКОЙ ЗАЩИТЕ

1. Методика измерения поляризационных потенциалов подземных стальных трубопроводов

1.1. Исключен. (Измененная редакция, Изм. № 1).

Поляризационный потенциал стальных трубопроводов измеряют на специально оборудованных контрольно-измерительных пунктах (КИП) двумя методами:

Метод 1 - При помощи стационарного медносульфатного электрода сравнения с датчиком электрохимического потенциала (черт. 7).

Метод 2 - при помощи переносного медносульфатного электрода сравнения и датчика электрохимического потенциала (черт. 8).

1.2. Требования к образцам

Образцами для измерения являются участки подземных трубопроводов, расположенные в зоне действия средств электрохимзащиты.

1.3. Аппаратура и материалы

Вольтметр с внутренним сопротивлением не менее 20 кОм на 1 В шкалы и пределы измерения 1-0-1, 3-0-3.

Прерыватель с запоминающей емкостью (типа ПТ-1).

Прерыватель тока обеспечивает попеременную коммутацию цепей «датчик-трубопровод» и «датчик-электрод сравнения». Продолжительность коммутации цепи «датчик-электрод сравнения» должна быть в пределах 0,2-0,5 мс, продолжительность коммутации цепи «датчик-трубопровод» - в пределах 5-10 мс.

Схема контрольно-измерительного пункта со стационарным электродом сравнения

1 - трубопровод; 2 - контрольные проводники; 3 - медносульфатный электрод; 4 - датчик потенциала

Черт. 7

Схема контрольно-измерительного пункта с применением переносного электрода сравнения

1 - трубопровод; 2 - контрольные проводники; 3 - заглушка; 4 - труба для установки переносного электрода сравнения; 5 - датчик потенциала

Черт. 8

Вольтметр с прерывателем тока (типа 43313).

Стационарный медносульфатный электрод сравнения длительного действия с датчиком потенциала.

Переносной медносульфатный электрод сравнения.

Асбестоцементная труба для установки электрода сравнения диаметром 100-120 мм.

Датчик потенциала представляет собой стальную пластину размером 25´25 мм, изолированную с одной стороны и укрепленную этой стороной на электроде сравнения (черт. 7) или на специальной трубе (черт. 8).

1.4. Подготовка измерений

1.4.1. Для проведения измерений по методу 1 стационарный электрод с датчиком потенциала устанавливают на КИП так, чтобы дно корпуса и датчик находились на уровне нижней образующей трубопровода и на расстоянии 50-100 мм от его боковой поверхности, при этом плоскость датчика должна быть перпендикулярна оси трубопровода. Если трубопровод проложен выше уровня промерзания грунтов, то электрод длительного действия устанавливают таким образом, чтобы дно корпуса электрода находилось на 100-150 мм ниже максимальной глубины промерзания грунтов. Перед проведением измерений собирают схему по черт. 9.

Схема измерения поляризационного потенциала с использованием стационарного электрода сравнения

1 - трубопровод; 2 - контрольные проводники; 3 - вольтметр; 4 - прерыватель тока; 5 - медносульфатный электрод сравнения; 6 - датчик потенциала

Черт. 9

1.4.2. Для проведения измерений по методу 2 трубу и датчик устанавливают так, чтобы нижний торец трубы и датчик находились на уровне нижней образующей трубопровода и на расстоянии 50-100 мм от его боковой поверхности, при этом плоскость датчика должна быть перпендикулярна оси трубопровода. В трубу опускают укрепленный на специальной штанге электрод сравнения до соприкосновения с грунтом. Собирают схему по черт. 10.

Схема измерения поляризационного потенциала с использованием переносного электрода сравнения

1 - трубопровод; 5 - контрольные проводники; 3 - вольтметр; 4 - прерыватель тока; 5 - труба для установки электрода сравнения; 6 - стальная штанга; 7 - медносульфатный электрод сравнения

Черт. 10

1.5. Проведение измерений

1.5.1. Измерение поляризационных потенциалов проводят при помощи прерывателя тока и вольтметра или измерительного прибора, содержащего прерыватель тока.

1.5.2. Измерение поляризационного потенциала при помощи прерывателя тока (черт. 9 а и черт. 10 а) проводят следующим образом: к соответствующим клеммам прерывателя тока присоединяют контрольные проводники от трубопровода, датчика, электрода сравнения и вольтметр; включают прерыватель тока; через 10 мин. после включения прерывателя тока измеряют потенциал через каждые 5 с.

1.5.3. Измерение поляризационного потенциала при помощи вольтметра с прерывателем тока (черт. 9б и черт. 10б) проводят следующим образом: к соответствующим клеммам прибора присоединяют контрольные проводники от трубопровода, датчика и электрода сравнения; включают прибор; через 10 мин после включения прибора измеряют потенциалы через каждые 5 с.

1.5.4. Продолжительность измерений поляризационных потенциалов устанавливается НТД.

1.6. Обработка результатов измерений

Среднее значение поляризационного потенциала jср, В, вычисляют по формуле

,                                                                     (8)

где  - сумма мгновенных значений потенциалов за весь период измерений, В;

n - общее число измерений.

2. Измерение поляризационного потенциала оболочки бронированных кабелей связи (не имеющих перепайки между оболочкой и броней)

2.1. Сущность метода

Сущность метода заключается в измерениях разности потенциалов между оболочкой кабеля и землей и между броней кабеля и землей (при отсутствии перепайки между оболочкой и броней).

2.2. Требование к образцам

Образцами для измерения являются участки бронированных кабелей связи (не имеющих перепайки между оболочкой и броней) и расположенных в зоне действия электрохимической зашиты.

2.3. Аппаратура

Вольтметр с внутренним сопротивлением не менее 20 кОм на 1 В шкалы; не поляризующийся электрод сравнения.

2.4. Проведение измерений

2.4.1. Измерение разности потенциалов между оболочкой кабеля и землей и между броней кабеля и землей должно проводиться при включенной электрохимической защите.

2.4.2. Измерение стационарного потенциала брони проводится перед включением электрохимической защиты.

2.4.3. При защите от коррозии, вызываемой блуждающими токами, измерения разности потенциалов между оболочкой кабеля и землей и броней кабеля и землей должны проводиться синхронно.

2.5. Обработка результатов измерений

Поляризационный потенциал металлической оболочки кабеля Uоб вычисляют по формуле

Uоб = Uизм.об - Uизм.бр + Uст.бр,                                                   (9)

где Uизм.об - измеренная разность потенциалов между оболочкой кабеля и землей, В;

Uизм.бр - измеренная разность потенциалов между броней кабеля и землей, В;

Uст.бр - стационарный потенциал брони, В.

ПРИЛОЖЕНИЕ 8
Рекомендуемое

МЕТОДИКА ОПРЕДЕЛЕНИЯ СРЕДНИХ ЗНАЧЕНИЙ ПОТЕНЦИАЛОВ ПОДЗЕМНЫХ СООРУЖЕНИЙ ПО ОТНОШЕНИЮ К ЭЛЕКТРОДУ СРАВНЕНИЯ

1. Сущность метода

Сущность метода заключается в определении средних за период измерений значений потенциалов подземных сооружений по отношению к неполяризующемуся электроду сравнения для определения эффективности работы установок электрохимической защиты.

Методика определения средних значений поляризационных потенциалов приведена в приложении 7.

2. Требования к образцам

Образцами для измерений являются участки подземных сооружений, расположенные в зоне действия электрохимической защиты и оборудованные контрольно-измерительными пунктами, колодцами и т. д.

3. Аппаратура

Вольтметр с внутренним сопротивлением не менее 20 кОм на 1 В шкалы, регистрирующий или показывающий.

Неполяризующиеся электроды сравнения (медносульфатные, свинцовые).

4. Проведение измерений

4.1. Измерения выполняются в контрольно-измерительных пунктах, колодцах, шурфах контактным методом с применением регистрирующих или показывающих приборов.

4.2. Продолжительность измерения определяется НТД.

5. Обработка результатов измерений

При определении защищенности подземных сооружений по разности потенциалов между сооружением и электродом сравнения подсчет средних значений потенциалов проводят по формуле:

, В,                                                              (10)

где U1 - мгновенные значения измеренной разности потенциалов;

n - общее число отсчетов.

ПРИЛОЖЕНИЕ 9
Рекомендуемое

МЕТОДИКА ВЫЯВЛЕНИЯ ПРЕИМУЩЕСТВЕННОГО ВЛИЯНИЯ ИСТОЧНИКА БЛУЖДАЮЩИХ ТОКОВ НА ПОДЗЕМНОЕ СООРУЖЕНИЕ

1. Сущность метода

При наличии нескольких источников блуждающих токов (например: электрифицированная железная дорога постоянного тока, трамвай, метрополитен) необходимо установить конкретный источник блуждающих токов, оказывающий влияние на подземное сооружение.

Сущность метода состоит в построении взаимной зависимости потенциалов сооружение-земля и рельс-земля для каждого источника.

2. Аппаратура

Двухкоординатный графопостроитель (например, типа Н-306).

3. Проведение измерения

Собирают схему по черт. 11.

На один вход графопостроителя Uх подается напряжение сооружение-земля Uс-з, на второй вход Uy - напряжение рельс-земля Uр-з поочередно каждого источника блуждающих токов. Каждое измерение продолжается 10-15 мин. При этом никаких ограничений на работу источников не вводится.

Графопостроитель регистрирует взаимные зависимости Uс-з = f(Uр-з) для каждого источника.

4. Обработка результатов

Если при изменении Uр-з многократно повторяются изменения напряжения Uс-з, т. е. прослеживается на графике функциональная (не обязательно линейная) связь этих напряжений, делается вывод о наличии влияния этого источника (черт. 12а). Если такой связи не прослеживается, а график представляет хаотическое изменение одной величины при изменении другой, то влияние отсутствует (черт. 12б).

Схема подключения двухкоординатного графопостроителя

1 - графопостроитель; 2 - рельсы трамвая; 3 - рельсы железной дороги; 4 - подземное сооружение; 5 - рельсы метрополитена

Черт. 11

Двухкоординатные регистрограммы записей потенциалов Uс-з и Uр-з метрополитена (а) и трамвая ( б )

Черт. 12

ПРИЛОЖЕНИЕ 10
Справочное

Перечень нормативно-технической документации

Ту 400-24-557-88                  Трубы стальные с наружным защитным покрытием из экструдированного полиэтилена

Ту 400-24-559-88                  Трубы стальные с наружным противокоррозионным покрытием из полиэтилена «Антикорэкс»

ТУ 204 РСФСР 2.140-88      Трубы стальные и емкости для сжиженного газа с покрытием из рулонного полимерного материала бутит

ТУ 21 УССР 452-88              Материал рулонный полимерный; гидроизоляционный - бутит

ТУ 21 УССР 453-88              Мастика бутилкаучуковая модифицированная БК-М

ТУ 102-166-82                       Лента поливинилхлоридная для изоляции газонефтепродуктопроводов ПВХ-БК

ТУ 102-320-86                       Лента поливинилхлоридная липкая ПВХ-1

ТУ 102-340-83                       Грунтовка ГТ-760

ИНФОРМАЦИОННЫЕ ДАННЫЕ

1. РАЗРАБОТАН И ВНЕСЕН Министерством жилищно-коммунального хозяйства РСФСР

РАЗРАБОТЧИКИ СТАНДАРТА

В. М. Левин, канд. техн. наук; К. К. Никольский, канд. техн. наук; А. В. Кузнецов, канд. техн. наук; Н. П. Борисов, канд. хим. наук (руководитель темы); И. С. Оганезова, канд. техн. наук; М. А. Сурис, канд. техн. наук; Л. И. Фрейман, канд. хим. наук; Е. Г. Кузнецова, канд. хим. наук; Р. И. Горбачева, канд. хим. наук; М. А. Протасов; Л. Н. Кондратова; А. В. Наумов, канд. техн. неук; В. Н. Терентьев; В. Н. Кузьмина; И. Б. Стрижевский, д-р техн. наук

2. УТВЕРЖДЕН И ВВЕДЕН В ДЕЙСТВИЕ Постановлением Государственного комитета СССР по стандартам от 26.06.89 № 1985

3. Срок первой проверки 1995 г. Периодичность проверки 5 лет

4. ВЗАМЕН ГОСТ 9.015-74

5. ССЫЛОЧНЫЕ НОРМАТИВНО-ТЕХНИЧЕСКИЕ ДОКУМЕНТЫ

Обозначение НТД, на который дана ссылка

Номер пункта, подпункта, перечисления, приложения

ГОСТ 12.0.004-79

7.2

ГОСТ 12.1.003-83

7.6

ГОСТ 12.1.005-76

7.6

ГОСТ 12.2.004-75

7.3

ГОСТ 12.3.005-75

7.3

ГОСТ 12.3.008-75

7.3

ГОСТ 12.3.016-87

7.3

ГОСТ 12.4.026-76

7.6; 7.15

ГОСТ 78-65

6.3.2

ГОСТ 7006-72

4.6; 4.16

ГОСТ 8273-75

4.7

ГОСТ 15836-79

4.5

ГОСТ 16337-77

4.7

ГОСТ 25812-83

Введение; 4.15

СОДЕРЖАНИЕ

1. Общие положения. 2

2. Критерии опасности коррозии. 2

3. Требования к выбору методов защиты от коррозии. 4

4. Требования к защитным покрытиям, покровам и методы их контроля. 5

5. Требования к электрохимической защите и методы контроля. 10

6. Требования к источникам блуждающих токов. 12

7. Требования безопасности. 16

Приложение 1 Методики определения удельного сопротивления грунта. 17

Приложение 2 Методика определения плотности катодного тока. 19

Приложение 3 Методики определения смещения разности потенциалов между подземным металлическим сооружением и электродом сравнения. 21

Приложение 4 Методика определения наличия блуждающих токов в земле. 24

Приложение 5 Методика определения наличия тока в подземных сооружениях связи. 24

Приложение 6 Методика определения опасного действия переменного тока. 25

Приложение 7 Методики измерения поляризационных потенциалов подземных стальных трубопроводов и оболочек бронированных кабелей связи при электрохимической защите. 26

Приложение 8 Методика определения средних значений потенциалов подземных сооружений по отношению к электроду сравнения. 29

Приложение 9 Методика выявления преимущественного влияния источника блуждающих токов на подземное сооружение. 30

Приложение 10 Перечень нормативно-технической документации. 31

 

 




ГОСТЫ, СТРОИТЕЛЬНЫЕ и ТЕХНИЧЕСКИЕ НОРМАТИВЫ.
Некоммерческая онлайн система, содержащая все Российские Госты, национальные Стандарты и нормативы.
В Системе содержится более 150000 файлов нормативно-технической документации, действующей на территории РФ.
Система предназначена для широкого круга инженерно-технических специалистов.

Рейтинг@Mail.ru Яндекс цитирования

Copyright © www.gostrf.com, 2008 - 2026