Крупнейшая бесплатная информационно-справочная система онлайн доступа к полному собранию технических нормативно-правовых актов РФ. Огромная база технических нормативов (более 150 тысяч документов) и полное собрание национальных стандартов, аутентичное официальной базе Госстандарта. GOSTRF.com - это более 1 Терабайта бесплатной технической информации для всех пользователей интернета. Все электронные копии представленных здесь документов могут распространяться без каких-либо ограничений. Поощряется распространение информации с этого сайта на любых других ресурсах. Каждый человек имеет право на неограниченный доступ к этим документам! Каждый человек имеет право на знание требований, изложенных в данных нормативно-правовых актах!

  


 

ОСТ 24.125.152-01

СТАНДАРТ ОТРАСЛИ

КОРПУСА НЕПОДВИЖНЫХ ОПОР
ТРУБОПРОВОДОВ ТЭС И АЭС

КОНСТРУКЦИЯ И РАЗМЕРЫ

Предисловие

1 РАЗРАБОТАН открытым акционерным обществом «Научно-производственное объединение по исследованию и проектированию энергетического оборудования им. И. И. Ползунова» (ОАО «НПО ЦКТИ») и открытым акционерным обществом «Белгородский завод энергетического машиностроения» (ОАО «Белэнергомаш»)

ИСПОЛНИТЕЛИ: от ОАО «Белэнергомаш» ЗАВГОРОДНИЙ Ю.В., СЕРГЕЕВ О.А., РОГОВ В.А.; от ОАО «НПО ЦКТИ» ПЕТРЕНЯ Ю.К., д-р физ.-мат. наук; СУДАКОВ А.В., д-р техн. наук; ДАНЮШЕВСКИЙ И.А., канд. техн. наук; ИВАНОВ Б.Н., канд. техн. наук; ТАБАКМАН М.Л.; ГЕОРГИЕВСКИЙ Н.

2 ПРИНЯТ И ВВЕДЕН В ДЕЙСТВИЕ Департаментом промышленной и инновационной политики в машиностроении Министерства промышленности, науки и технологий Российской Федерации письмом № 10-1984 от 31.10.2001 г.

3 ВЗАМЕН ОСТ 108.275.39-80, ОСТ 108.275.40-80

СТАНДАРТ ОТРАСЛИ

КОРПУСА НЕПОДВИЖНЫХ ОПОР ТРУБОПРОВОДОВ ТЭС И АЭС

Конструкция и размеры

Дата введения 2002-01-01

1 Область применения

Настоящий стандарт распространяется на корпуса неподвижных опор трубопроводов ТЭС и АЭС, изготавливаемых по ОСТ 24.125.151.

Стандарт устанавливает конструкцию и размеры корпусов неподвижных опор.

2 Нормативные ссылки

В настоящем стандарте использованы ссылки на следующие стандарты:

ГОСТ 1577-93 Прокат тонколистовой широкополосный из конструкционной качественной стали. Технические условия

ГОСТ 5264-80 Ручная дуговая сварка. Соединения сварные. Основные типы, конструктивные элементы и размеры

ГОСТ 5520-79 Сталь листовая углеродистая низколегированная и легированная для котлов и сосудов, работающих под давлением. Технические условия

ОСТ 24.125.120-01 Подвески трубопроводов ТЭС и АЭС. Полухомуты для хомутовых опор. Конструкция и размеры

ОСТ 24.125.151-01 Опоры неподвижные трубопроводов ТЭС и АЭС. Конструкция и размеры

ОСТ 24.125.154-01 Опоры скользящие трубопроводов ТЭС и АЭС. Конструкция и размеры

ОСТ 24.125.170-01 Детали и сборочные единицы опор, подвесок, стяжек для линзовых компенсаторов и приводов дистанционного управления арматурой трубопроводов ТЭС и АЭС. Общие технические условия

3 Конструкция и размеры

3.1 Конструкция, основные размеры и материалы должны соответствовать указанным на рисунках 1 - 5 и в таблицах 1 - 4.

3.2 Корпуса исполнения 01, 02, 18 - 20 используются также в скользящих опорах по ОСТ 24.125.154.

3.3 Маркировка и остальные технические требования по ОСТ 24.125.170.

3.4 Пример условного обозначения корпуса неподвижной опоры исполнения 05:

КОРПУС 05 ОСТ 24.125.152

3.5 Пример маркировки: 05 ОСТ 24.125.152

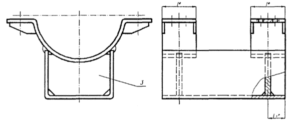
* Размеры для справок.

1 - скоба; 2 - полухомут

Рисунок 1.

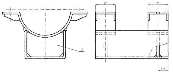
* Размеры для справок.

1 - скоба; 2 - полухомут; 3 - ребро

Рисунок 2.

* Размеры для справок.

3 - ребро

Остальное - см. рисунок 1

Рисунок 3.

* Размеры для справок.

3 - ребро

Остальное - см. рисунок 1

Рисунок 4.

* Размеры для справок.

3 - ребро

Остальное - см. рисунок 1

Рисунок 5.

Таблица 1

Основные размеры корпусов неподвижных опор трубопроводов из хромомолибденованадиевых сталей

Размеры в миллиметрах

Исполнение

Наружный диаметр трубопровода Da

Рисунок

B*

H ± 3

L*

b*

h*

l*

l1*

r*

s*

s1*

k

m

c

Масса наплавленного металла, кг

Масса, кг

не менее

01

57

1

140

131

80

60

110

60

-

30

5

5

-

9

5

0,03

1,33

02

76

160

142

39

1,40

03

108

2

200

175

90

100

140

90

55

5

0,10

2,67

04

133

240

194

68

2,87

05

159

270

207

81

3,01

06

194

3

330

252

300

150

180

60

27

98

6

8

6

14

8

0,30

12,48

07

219

355

269

111

12,74

08

245

4

390

282

350

200

200

80

37

124

6

12

18,02

09

273

430

300

400

139

10

19,76

10

325

490

335

500

280

240

100

47

165

12

0,40

29,72

11

377

560

348

550

360

260

46

191

8

8

14

0,70

48,88

12

426

610

389

600

120

56

216

12

0,80

55,56

13

465

5

660

418

160

76

236

14

10

1,00

61,36

14

530

740

415

500

480

280

268

8

65,94

15

630

850

482

600

540

300

180

85

318

10

10

8

16

1,60

107,24

16

720

950

524

700

620

320

363

1,70

131,14

17

920

1150

661

800

463

10

1,80

152,44

* Размеры для справок.

Таблица 2

Основные размеры корпусов неподвижных опор трубопроводов из углеродистых, кремнемарганцовистых и аустенитных сталей

Размеры в миллиметрах

Исполнение

Наружный диаметр трубопровода Da

Рисунок

B*

H ± 3

L*

b*

h*

l*

l1*

r*

s*

s1*

k

m

c

Масса наплавленного металла, кг

Масса, кг

не менее

18

57

1

140

108

80

60

90

50

-

30

4

4

-

9

5

0,03

0,88

19

76

160

120

39

0,93

20

89

185

133

90

100

120

90

45

6

6

10

1,98

21

108

2

200

155

55

4

0,10

3,05

22

133

240

174

68

3,22

23

159

270

186

81

3,43

24

194

3

330

233

300

150

160

50

22

98

8

6

14

8

0,30

11,00

25

219

355

249

111

11,20

26

245

4

390

262

350

200

180

70

35

124

6

12

16,42

27

273

430

280

400

139

10

18,02

28

325

490

315

500

280

220

90

45

165

12

0,40

27,72

29

377

560

328

550

360

240

191

8

8

14

0,70

45,76

30

426

610

369

600

110

55

216

12

0,80

52,66

31

465

5

660

398

160

75

236

14

10

1,00

58,66

32

530

740

395

500

480

260

268

8

62,54

33

630

850

462

600

540

280

170

85

318

10

10

8

16

1,50

101,74

34

720

950

504

700

620

300

363

1,70

123,94

35

820

1150

573

800

413

10

144,94

* Размеры для справок.

Таблица 3

Спецификация корпусов неподвижных опор трубопроводов из хромомолибденованадиевых сталей

Размеры в миллиметрах

Исполнение

Наружный диаметр трубопровода Da

Скоба, поз. 1, 1 шт.

Полухомут, поз. 2

Ребро, поз. 3

s

Развернутая длина

Материал

Кол.

Исполнение по ОСТ 24.125.120

Кол.

Размеры

Материал

01

57

5

264

Сталь 12ХМ-3 ГОСТ 5520

1

01

-

02

76

02

03

108

364

04

1

125×86×5

Сталь 12ХМ-3 ГОСТ 5520

04

133

06

05

159

08

06

194

6

490

2

09

2

160×134×6

07

219

10

08

245

580

22

170×184×6

09

273

23

10

325

740

24

180×264×6

11

377

8

854

25

180×340×8

12

426

26

200×340×8

13

465

27.

14

530

1013

28

200×460×8

15

630

10

1107

29

200×516×10

16

720

1227

30

220×596×10

17

920

31

250×596×10

Таблица 4

Спецификация корпусов неподвижных опор трубопроводов из углеродистых, кремнемарганцовистых и аустенитных сталей

Размеры в миллиметрах

Исполнение

Наружный диаметр трубопровода Da

Скоба, поз. 1, 1 шт.

Полухомут, поз. 2

Ребро, поз. 3

s

Развернутая длина

Материал

Кол.

Исполнение по ОСТ 24.125.120

Кол.

Размеры

Материал

18

57

4

227

Сталь 20-3 ГОСТ 1577

1

11

-

19

76

12

20

89

6

320

Сталь 20К-3
ГОСТ 5520

13

21

108

15

1

105×88×6

Сталь 20-3 ГОСТ 1577

22

133

17

23

159

19

24

194

450

2

20

2

140×134×6

Сталь 20К-3 ГОСТ 5520

25

219

21

26

245

540

32

150×184×6

27

273

33

28

325

700

34

160×264×6

29

377

8

814

Сталь 20К-10
ГОСТ 5520

35

160×340×8

Сталь 20К-10 ГОСТ 5520

30

426

36

180×340×8

31

465

37

32

530

974

38

180×460×8

33

630

10

1067

39

180×516×10

34

720

1187

40

200×596×10

35

820

41

230×596×10

Ключевые слова: трубопроводы, корпуса, неподвижные опоры, конструкция, размеры.

СОДЕРЖАНИЕ

 

 




ГОСТЫ, СТРОИТЕЛЬНЫЕ и ТЕХНИЧЕСКИЕ НОРМАТИВЫ.
Некоммерческая онлайн система, содержащая все Российские Госты, национальные Стандарты и нормативы.
В Системе содержится более 150000 файлов нормативно-технической документации, действующей на территории РФ.
Система предназначена для широкого круга инженерно-технических специалистов.

Рейтинг@Mail.ru Яндекс цитирования

Copyright © www.gostrf.com, 2008 - 2026