Крупнейшая бесплатная информационно-справочная система онлайн доступа к полному собранию технических нормативно-правовых актов РФ. Огромная база технических нормативов (более 150 тысяч документов) и полное собрание национальных стандартов, аутентичное официальной базе Госстандарта. GOSTRF.com - это более 1 Терабайта бесплатной технической информации для всех пользователей интернета. Все электронные копии представленных здесь документов могут распространяться без каких-либо ограничений. Поощряется распространение информации с этого сайта на любых других ресурсах. Каждый человек имеет право на неограниченный доступ к этим документам! Каждый человек имеет право на знание требований, изложенных в данных нормативно-правовых актах!

  


 

ОСТ 24.125.166-01

СТАНДАРТ ОТРАСЛИ

БЛОКИ ПРУЖИННЫЕ ДЛЯ ОПОР
ТРУБОПРОВОДОВ ТЭС И АЭС

КОНСТРУКЦИЯ И РАЗМЕРЫ

Предисловие

1 РАЗРАБОТАН открытым акционерным обществом «Научно-производственное объединение по исследованию и проектированию энергетического оборудования им. И. И. Ползунова» (ОАО «НПО ЦКТИ») и открытым акционерным обществом «Белгородский завод энергетического машиностроения» (ОАО «Белэнергомаш»)

ИСПОЛНИТЕЛИ: от ОАО «Белэнергомаш» ЗАВГОРОДНИЙ Ю.В., СЕРГЕЕВ О.А., РОГОВ В.А.; от ОАО «НПО ЦКТИ» ПЕТРЕНЯ Ю.К., д-р физ.-мат. наук; СУДАКОВ А.В., д-р техн. наук; ДАНЮШЕВСКИЙ И.А., канд. техн. наук; ИВАНОВ Б.Н., канд. техн. наук; ТАБАКМАН М.Л.; ГЕОРГИЕВСКИЙ Н.

2 ПРИНЯТ И ВВЕДЕН В ДЕЙСТВИЕ Департаментом промышленной и инновационной политики в машиностроении Министерства промышленности, науки и технологий Российской Федерации письмом № 10-1984 от 31.10.2001 г.

3 ВЗАМЕН ОСТ 108.275.69-80

СТАНДАРТ ОТРАСЛИ

БЛОКИ ПРУЖИННЫЕ ДЛЯ ОПОР ТРУБОПРОВОДОВ ТЭС И АЭС

Конструкция и размеры

Дата введения 2002-01-01

1 Область применения

Настоящий стандарт распространяется на блоки пружинные для пружинных катковых опор трубопроводов ТЭС и АЭС и устанавливает их конструкцию и размеры.

2 Нормативные ссылки

В настоящем стандарте использованы ссылки на следующие стандарты:

ГОСТ 1050-88 Прокат сортовой калиброванный со специальной отделкой поверхности из углеродистой качественной конструкционной стали. Общие технические условия

ГОСТ 5915-70 Гайки шестигранные класса точности В. Конструкция и размеры

ГОСТ 9467-75 Электроды покрытые металлические для ручной дуговой сварки конструкционных теплоустойчивых сталей. Типы

ГОСТ 14637-89 Прокат толстолистовой из углеродистой стали обыкновенного качества. Технические условия

ОСТ 24.125.107-01 Тяги резьбовые. Конструкция и размеры

ОСТ 24.125.109-01 Пружины винтовые цилиндрические. Конструкция и размеры

ОСТ 24.125.170-01 Детали и сборочные единицы опор, подвесок, стяжек для линзовых компенсаторов и приводов дистанционного управления арматурой трубопроводов ТЭС и АЭС. Общие технические условия

ТУ 14-3Р-55-2001 Трубы стальные бесшовные для паровых котлов и трубопроводов. Технические условия.

3 Конструкция и размеры

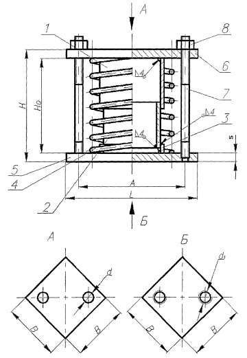
3.1 Конструкция, основные размеры и материал деталей пружинных блоков при рабочих деформациях должны соответствовать указанным на рисунке 1 и в таблицах 1 - 2.

3.2 Сварку производить электродами типа Э46А ГОСТ 9467.

3.3 Маркировка и остальные технические требования по ОСТ 24.125.170.

3.4 Пример условного обозначения пружинного блока исполнения 01:

БЛОК ПРУЖИННЫЙ 01 ОСТ 24.125.166

3.5 Пример маркировки: 01 ОСТ 24.125.166

1 - кольцо; 2 - направляющая труба; 3 - кольцо; 4 - пружина; 5 - основание; 6 - основание; 7 - резьбовая тяга; 8 - гайка

Рисунок 1.

Таблица 1

Основные размеры пружинных блоков для опор

Исполнение

Сила пружины при рабочей деформации Р2, кН

Высота пружины в свободном состоянии Но

Рабочая деформация, l

А

В

d

d1

H

L

s

Масса, кг

01

11,67

346

140

190

170

18

М16

386

240

20

25,79

02

19,66

414

454

33,91

03

32,60

507

294

255

26

М24

557

360

25

79,21

04

40,00

528

578

85,05

05

48,60

549

599

91,09

06

58,45

508

558

101,82

07

11,67

188

70

190

170

18

М16

228

240

20

18,90

08

19,66

226

266

23,54

09

32,60

277

294

255

26

М24

327

360

25

57,65

10

40,00

289

339

61,05

11

48,60

304

354

64,70

12

58,45

284

334

72,46


Таблица 2

Спецификация пружинных блоков

Разметы в миллиметрах

Исполнение

Кольцо, поз. 1, 1 шт.

Труба направляющая, поз. 2, 1 шт.

Кольцо, поз. 3, 1 шт.

Пружина, поз. 4, 1 шт.

Основание, поз. 7, 2 шт.

Тяга резьбовая, поз. 7, 2 шт. ОСТ 24.125.107

Гайка по ГОСТ 5915, поз. 8, 2 шт.

Da × s

Высота

Марка стали по ТУ 14-3P-55

Масса, кг

Da × s

Высота

Марка стали по ТУ 14-3Р-55

Масса, кг

Da × s

Высота

Марка стали по ТУ 14-3Р-55

Масса, кг

Исполнение по ОСТ 24.125.109

Масса, кг

Марка стали по ГОСТ 14637

Масса 1 шт., кг

d1

Марка стали по ГОСТ 1050

Масса 1 шт., кг

d1

Масса, кг

1 шт.

Общая

01

108×8

170

Сталь 20

3,43

89×4

180

Сталь 20

1,54

108×8

15

Сталь 20

0,30

05

10,4

Ст3сп5

4,4

М16

Сталь 20

0,63

М16

0,033

0,066

02

200

4,04

210

1,80

40

0,81

07

16,9

0,74

03

133×11

Сталь 12Х1МФ

7,07

108×4,5

300

3,53

133×11

50

Сталь 12Х1МФ

1,77

09

37,2

12,6

М24

2,06

М24

0,107

0,214

04

320

3,76

10

42,6

2,13

05

340

4,00

11

48,3

2,20

06

159×9

Сталь 20

7,12

133×5

300

5,08

159×13

Сталь 20

2,50

12

57,5

2,34

07

108×8

85

1,71

89×4

100

0,86

108×8

20

0,40

25

6,2

4,4

М16

0,40

М16

0,033

0,066

08

100

2,02

115

0,99

40

0,81

27

9,9

0,46

09

133×11

115

Сталь 12Х1МФ

4,06

108×4,5

140

1,65

133×11

50

Сталь 12Х1МФ

1,77

29

22,0

12,6

М24

1,28

М24

0,107

0,214

10

120

4,24

155

1,82

30

25,2

11

170

2,00

31

28,5

1,35

12

159×9

Сталь 20

4,28

133×5

150

2,54

159×13

Сталь 20

2,50

32

35,1

1,28


Ключевые слова: блоки пружинные, опоры трубопроводов, конструкция, размеры, маркировка.

СОДЕРЖАНИЕ

 

 




ГОСТЫ, СТРОИТЕЛЬНЫЕ и ТЕХНИЧЕСКИЕ НОРМАТИВЫ.
Некоммерческая онлайн система, содержащая все Российские Госты, национальные Стандарты и нормативы.
В Системе содержится более 150000 файлов нормативно-технической документации, действующей на территории РФ.
Система предназначена для широкого круга инженерно-технических специалистов.

Рейтинг@Mail.ru Яндекс цитирования

Copyright © www.gostrf.com, 2008 - 2026