Крупнейшая бесплатная информационно-справочная система онлайн доступа к полному собранию технических нормативно-правовых актов РФ. Огромная база технических нормативов (более 150 тысяч документов) и полное собрание национальных стандартов, аутентичное официальной базе Госстандарта. GOSTRF.com - это более 1 Терабайта бесплатной технической информации для всех пользователей интернета. Все электронные копии представленных здесь документов могут распространяться без каких-либо ограничений. Поощряется распространение информации с этого сайта на любых других ресурсах. Каждый человек имеет право на неограниченный доступ к этим документам! Каждый человек имеет право на знание требований, изложенных в данных нормативно-правовых актах!

  


 

ОТКРЫТОЕ АКЦИОНЕРНОЕ ОБЩЕСТВО
ПРОЕКТНО-КОНСТРУКТОРСКИЙ И ТЕХНОЛОГИЧЕСКИЙ
ИНСТИТУТ ПРОМЫШЛЕННОГО СТРОИТЕЛЬСТВА
ОАО ПКТИпромстрой

ТЕХНОЛОГИЧЕСКАЯ КАРТА
НА КОНВЕКТИВНО-ЛУЧЕВОЙ ОБОГРЕВ
МОНОЛИТНЫХ КОНСТРУКЦИЙ

Введено в действие Распоряжением Управления развития Генплана
№ 6 от 07.04.98

МОСКВА - 1998

АННОТАЦИЯ

Технологическая карта на конвективно-лучевой обогрев монолитных конструкций разработана ОАО ПКТИпромстрой в соответствии с протоколом семинара-совещания «Современные технологии зимнего бетонирования», утвержденным первым заместителем премьера Правительства Москвы В.И. Ресиным и техническим заданием Управления развития генплана г. Москвы на разработку комплекта технологических карт на производство монолитных бетонных работ при отрицательных температурах.

Карта содержит организационно-технологические и технические решения по конвективно-лучевому обогреву монолитных конструкций, реализация которых при производстве бетонных (железобетонных) работ в зимних условиях при отрицательных температурах воздуха должна способствовать ускорению работ, снижению затрат труда и повышению качества возводимых конструкций.

В технологической карте приведены область применения, организация и технология выполнения работ, требования к качеству и приемке работ, калькуляция затрат труда, график производства работ, потребность в материально-технических ресурсах, решения по технике безопасности и технико-экономические показатели. Исходные данные и конструктивные решения, применительно к которым разработана карта, приняты с учетом требований СНиП, а также условий и особенностей, характерных для строительства в г. Москве.

Технологическая карта предназначена для инженерно-технических работников строительных и проектных организаций, а также производителей работ, мастеров и бригадиров, связанных с производством бетонных (железобетонных) работ.

Технологическую карту разработали:

Ю.А. Ярымов - гл. инженер проекта, руководитель работы, А.Д. Мягков, к.т.н. - ответственный исполнитель от ЦНИИОМТП, Т.А. Григорьева, Л.В. Ларионова, И.Б. Орловская, Е.С. Нечаева - исполнители.

В.В. Шахпаронов, к.т.н. - научно-методическое руководство и редактирование.

С.Ю. Едличка, к.т.н. - общее руководство разработкой комплекта технологических карт.

СОДЕРЖАНИЕ

1. Область применения. 2

2. Организация и технология выполнения работ. 2

3. Требования к качеству и приемке работ. 5

4. Калькуляция затрат труда. 7

5. График производства работ. 8

6. Потребность в материально-технических ресурсах. 9

7. Решения по технике безопасности. 9

8. Технико-экономические показатели. 10

Иллюстрации. 10

Приложение 1 Теплотехнический расчет конвективно-лучевого обогрева монолитных конструкций панельно-линейными переносными электронагревателями. 13

Приложение 2 Пример определения прочности бетона. 15

Литература. 15

1. ОБЛАСТЬ ПРИМЕНЕНИЯ

1.1. Сущность конвективно-лучевого обогрева монолитных конструкций заключается в непосредственной передаче тепла от греющих поверхностей панельно-линейных переносных электронагревателей через опалубку к прогреваемому бетону. Распространение тепла в самом бетоне происходит путем его теплопроводности.

1.2. Областью применения конвективно-лучевого обогрева монолитных конструкций с помощью панельно-линейных переносных электронагревателей (далее по тексту конвективно-лучевого обогрева конструкций) в соответствии со СНиП 3.03.01-87 «Несущие и ограждающие конструкции» являются фундаменты под конструкции и оборудование, массивные стены и т.п. с модулем поверхности 3 - 6*; колонны, балки, прогоны, элементы рамных конструкций, свайные ростверки, стены, перекрытия с модулем поверхности 6 - 10; полы, перегородки, плиты перекрытий, тонкостенные конструкции с модулем поверхности 10 - 20, бетонирование которых производится при минимальной температуре воздуха до -40 °С.

* Модуль поверхности бетонируемой конструкции определяется отношением суммы площадей охлаждаемых поверхностей конструкций к ее объему и имеет размерность «м-1».

1.3. В технологической карте приводятся:

указания по подготовке конструкций к бетонированию и требования к готовности предшествующих работ и строительных конструкций;

схема организации рабочей зоны на время производства работ;

методы и последовательность производства работ по обогреву монолитных конструкций;

теплотехнический расчет обогрева конструкций;

профессиональный и численно-квалификационный состав рабочих;

график выполнения работы и калькуляция трудовых затрат;

указания по контролю качества и приемке работ;

решения по технике безопасности;

потребность в материально-технических ресурсах;

рекомендации по энергосбережению;

технико-экономические показатели.

1.4. Расчет конвективно-лучевого обогрева произведен применительно к бетонированию монолитной стены длиной 6 м, высотой 3 м и толщиной 0,2 м с общим объемом бетона 3,6 м3 исходя из температуры наружного воздуха -15 °С и достижения прочности конструкций к моменту остывания бетона до 0 °С не менее 70 % от R28. Конструкция опалубки металлическая, крупнощитовая, теплоизоляция конструкции - минераловатные листы толщиной 26 мм, защищенные с двух сторон брезентом.

1.5. Численно-квалификационный состав рабочих, график работы, калькуляция трудовых затрат, а также потребность в необходимых ресурсах определены в соответствии с данными, приведенными в п. 1.4.

1.6. В настоящей карте приняты панельно-линейные переносные электронагреватели с электротехническим звеном мощностью 0,6 - 6,0 кВт, напряжением 220 В с температурой поверхности нагревателя 150 °С при температуре нагреваемого объекта до 150 °С, с габаритными размерами 850´350´240 мм и массе 8 кг.

1.7. При привязке настоящей технологической карты к бетонированию других конструкций, на которые распространяется область применения этого способа обогрева, подлежат уточнению калькуляция затрат труда, график производства работ, потребность в материально-технических ресурсах, а также электрические и теплотехнические параметры.

1.8. В приложении к настоящей карте приводится теплотехнический расчет конвективно-лучевого обогрева монолитных конструкций панельно-линейными переносными электронагревателями и пример определения прочности бетона (приложения 1 и 2).

2. ОРГАНИЗАЦИЯ И ТЕХНОЛОГИЯ ВЫПОЛНЕНИЯ РАБОТ

2.1. До начала работ по конвективно-лучевому обогреву монолитных конструкций выполняются следующие подготовительные операции:

устанавливают опалубку и арматуру в рабочее положение при необходимости, очистив от мусора, снега и наледи;

устанавливают ограждение рабочей зоны, проводят сигнализацию и освещение, рабочую зону оборудуют в соответствии с требованиями техники безопасности и проводят инструктаж по охране труда.

Производят коммутацию панельно-линейных электронагревателей и в соответствии со схемой подключают их к переносному блоку подключения токоприемников. Подключают переносной блок подключения токоприемников к питающей сети (рис. 1).

Проверяют, перед подачей напряжения на нагреватели, правильность их установки и подключения, качество контактов, расположение температурных скважин или установленных датчиков температуры, правильность укладки утеплителя.

Дежурный электрик после подачи напряжения повторно проверяет все контакты. В течение 2-х часов производят предварительный отогрев опалубки и арматуры.

2.2. После укладки бетонной смеси в опалубку устраивается теплоизоляция конструкции в виде минераловатных матов толщиной 26 мм, защищенных с двух сторон брезентом и начинается обогрев конструкции, при этом температура уложенного бетона составляет +15 °С (рис. 2).

Набор прочности бетона при различных температурах его выдерживания определяется графиком (рис. 3).

2.3. Каждые два часа изотермического прогрева замеряется температура бетона. Для замеров температуры используются технические термометры. Число точек измерения температуры устанавливается в среднем из расчета не менее одной точки на каждые 3 м3 бетона, 6 м длины конструкции, 5 м2 площади перекрытия, 40 м2 площади подготовки полов и т.д.

2.4. Обогрев бетонной смеси в конструкции осуществляется на основании теплотехнического расчета в соответствии с графиком при скорости подъема температуры -1,5 °С/час. В период обогрева температура бетона контролируется не реже, чем через 1 час.

Обогрев бетонной смеси осуществляется панельно-линейными переносными электронагревателями, навешанными на опалубку, в соответствии с расчетными параметрами (приложение 1). Обогрев до температуры 40 °С ведется с помощью четырнадцати нагревателей. Изотермический прогрев осуществляется одиннадцатью нагревателями (рис. 4).

Остывание бетона происходит самопроизвольно после отключения напряжения. Демонтаж электрооборудования производится после окончания периода остывания во избежание внезапного резкого понижения температуры окружающего воздуха.

2.5. Электрообогрев осуществляется на напряжении 220 В. В период подъема температуры, на стадии изотермического прогрева контролируются показания измерительных приборов и состояние контактов.

2.6. В процессе изотермического прогрева при увеличении или уменьшении температуры наружного воздуха, относительно расчетной, соответственно регулируется количество нагревателей.

2.7. Скорость остывания бетона по окончании тепловой обработки для конструкции с модулем поверхности Мп =5 - 10 и Мп > 10 составляет соответственно не более 5 °С и 10 °С в час. Температура наружного воздуха замеряется один-два раза в сутки, результаты замеров фиксируются в журнале производства бетонных работ.

2.8. Прочность бетона проверяют по фактическому температурному режиму. Прочность бетона после распалубливания рекомендуется определять с помощью молотка конструкции НИИМосстроя, ультразвуковым способом или высверливанием и испытанием кернов.

2.9. Теплоизоляция и опалубка снижаются не ранее того момента, когда температура бетона в наружных слоях конструкции достигает плюс 5 °С и не позже, чем слои остынут до 0 °С. Не допускается примерзание опалубки, гидро- и теплоизоляции к бетону.

2.10. Для предотвращения появления трещин в конструкциях перепад температур между открытой поверхностью бетона и наружным воздухом не должен превышать:

20 °С для монолитных конструкций с Мп < 5;

30 °С для монолитных конструкций с Мп > 5.

В случае невозможности соблюдения указанных условий, поверхность бетона после распалубливания укрывается брезентом, толью, щитами и т.д.

2.11. Укладка бетонной смеси в конструкцию при отрицательной температуре воздуха производится с учетом следующих требований:

способ укладки должен исключать возможность замерзания бетона до приобретения им требуемой прочности;

не допускается снимать наледь с опалубки, арматуры с помощью пара или горячей воды;

при температуре воздуха ниже -10 °С арматуру диаметром более 25 мм, а также арматуру прокатных профилей и крупные металлические закладные детали следует отогревать до положительной температуры, все выступающие закладные части и выпуски должны быть утеплены;

укладку бетонной смеси производят непрерывно, без перевалок, средствами, обеспечивающими минимальное охлаждение смеси при ее подаче;

температура бетонной смеси, уложенной в опалубку, должна быть не ниже +5 °С.

2.12. Обогрев монолитной конструкции выполняет звено из 3-х человек (табл. 1).

Таблица 1

Распределение операций по исполнителям

№№ п/п

Состав звена по профессии

Кол-во чел.

Перечень работ

1

Электромонтер IV р.

1

Расстановка нагревателей, соединение их к питающей сети, установка ограждения, контроль за обогревом конструкций

2

Бетонщик IV р.

1

Бетонирование конструкции, укрытие поверхностей теплоизоляцией.

II р.

1

2.13. Электрообогрев бетонируемой конструкции осуществляется в следующей последовательности:

электромонтер IV р. расставляет нагреватели, производит соединение их с питающей сетью, устанавливает защитные ограждения;

бетонщик II р. и электромонтер IV р. устанавливают защитные ограждения;

бетонщик IV и II разрядов производит укладку бетонной смеси, устройство теплоизоляции;

электромонтер IV разряда осуществляет контроль во время электрообогрева бетонной смеси.

Рекомендации по энергосбережению

В целях энергосбережения при обогреве монолитных конструкций с помощью панельно-линейных переносных электронагревателей следует:

не допускать, при определении средств и продолжительности транспортирования бетонной смеси, возможности охлаждения ее более, чем установлено технологическим расчетом, нарушения однородности и снижения заданной подвижности на месте укладки;

применять бетонные смеси более высокой относительной прочности при малой продолжительности прогрева (смеси с использованием портландцемента, быстротвердеющего портландцемента);

использовать химические добавки с целью сокращения продолжительности обогрева, получения повышенной прочности, приобретаемой бетоном сразу после обогрева;

применять максимально допустимую температуру обогрева бетона, сокращать длительность активного прогрева за счет учета нарастания прочности бетона при остывании;

наблюдать за качеством и плотностью соединений контактов;

не допускать намокания теплоизоляционных слоев;

надежно производить теплоизоляцию поверхности бетона и опалубки, подвергающихся охлаждению;

соблюдать режим выдерживания бетона.

3. ТРЕБОВАНИЯ К КАЧЕСТВУ И ПРИЕМКЕ РАБОТ.

3.1. Производственный контроль качества бетонирования монолитных конструкций при отрицательных температурах воздуха производится в соответствии с требованиями СНиП 3.01.01-85* «Организация строительного производства», СНиП III-4-80* «Техника безопасности в строительстве» и СНиП 3.03.01-87 «Несущие и ограждающие конструкции».

3.2. Производственный контроль осуществляют прорабы и мастера, с участием специалистов энергетических служб строительных организаций.

3.3. Производственный контроль включает входной контроль качества электротехнического оборудования, эксплуатационных материалов и бетонной смеси, операционный контроль качества отдельных производственных операций и приемочный контроль требуемого качества монолитной конструкции.

3.4. При входном контроле электротехнического оборудования, эксплуатационных материалов и бетонной смеси проверяют внешним осмотром их соответствие нормативным и проектным требованиям, наличие и содержание паспортов, сертификатов и других сопроводительных документов, а также работоспособность электротехнических приборов.

При операционном контроле проверяют соблюдение состава подготовительных операций, технологии наладки электрообогревающего оборудования и устройств, укладки бетона в опалубку бетонируемой конструкции в соответствии с требованиями СНиП и процесс обогрева бетона.

При приемочном контроле проверяют качество монолитной конструкции в результате конвективно-лучевого обогрева.

Результаты операционного контроля фиксируются в журнале производства работ.

Основными документами при операционном контроле является настоящая технологическая карта и указанные в карте нормативные документы, перечни операций, контролируемых производителем работ (мастером), данные о составе, сроках и способах контроля в результате обогрева (таблица 2).

3.5. Контроль температуры обогреваемого бетона следует производить техническими термометрами или дистанционно с помощью термодатчиков, устанавливаемых в скважину. Скрытые работы, подлежащие освидетельствованию, оформляются по установленной форме. Температура бетона проверяется не реже чем через два часа.

3.6. Скорость подъема температуры при тепловой обработке бетона должна быть не выше 5 °С/ч;

скорость остывания бетона по окончании тепловой обработки для конструкций с модулем  Мп = 5-10 - 5 °С/ч;

Мп > свыше 10 - 10 °С/ч.

3.7. Контроль прочности бетона осуществляется по температурному режиму в процессе обогрева в соответствии графиком, соблюдение которого обеспечивает требуемую прочность бетона (п. 2.4).

Прочность прогретого бетона определяется с помощью молотка НИИ Мосстроя, ультразвуковым способом, либо высверливанием кернов и испытанием.


Таблица 2

СОСТАВ И СОДЕРЖАНИЕ ПРОИЗВОДСТВЕННОГО КОНТРОЛЯ КАЧЕСТВА

Кто контролирует

Прораб или мастер

Операции, подлежащие контролю

Операции при входном контроле

Подготовительные операции

Операции по бетонированию монолитной стены и конвективно-лучевому обогреву

Операции при приемочном контроле

Состав контроля

Проверка изоляции проводов, работоспособности и др. электрооборудования, используемого в работе

Устройство защитного ограждения и световой сигнализации на участке работ

Очистка основания, опалубки, арматуры от снега, наледи. Установка нагревателей. Утепление конструкции

Укладка бетона в конструкцию монолитной стены

Контроль температуры бетона

Контроль прочности бетона

Соответствие готовой монолитной стены требованиям проекта

Методы контроля

визуально-инструментальная

визуальная и по приборам

визуально-инструментальная

Время контроля

до начала бетонирования

до и после бетонирования

до и после бетонирования

в процессе обогрева бетона

после обогрева

Кто привлекается к контролю

энергетик строительной организации

мастер, прораб

электромонтеры и лаборатория

лаборатория, технадзор


4. КАЛЬКУЛЯЦИЯ ЗАТРАТ ТРУДА

Калькуляция затрат труда составлена на бетонирование стены с общим объемом бетона 3,6 м3 и конвективно-лучевой обогрев с помощью панельно-линейных переносных электронагревателей.

Таблица 3

Обоснование

Наименование работ

Ед. изм.

Объем работ

Норма времени, чел-час

Затраты труда, чел-час

Состав звена

1

2

3

4

5

6

7

Опытные данные ЦНИИОМТП

Установка защитного ограждения

м2

22,5

0,1

2,25

Электромонтер IV р. - 1 чел.

ЕНиР 1987

§ Е1-19 п. 2 «а»

Переноска и установка нагревателей при массе секций - 10 кг.

т

0,14

1,2

0,17

Электромонтер IV p. - l чел.

ЕНиР

§ Е23-6-16 п. 3

Электромонтажные работы по соединению нагревателей

100 концов

0,62

7,5

4,65

Электромонтер IV p. - l чел.

Тарифно-квалификационный справочник

Предварительный отогрев арматуры и опалубки

час

2

1

2

Электромонтер IV p. - 1 чел.

ЕНиР

§4-1-49 табл. 3 п. 1 «в»

Укладка бетонной смеси в конструкцию

1 м3

3,6

1,6

5,76

Бетонщик

IV p. - 1

II р. - 1

ЕНиР 1987

§ Е4-1-54 п. 10

Устройство теплоизоляции

100 м2

0,9

0,21

0,19

Бетонщик

IV p. - 1

II р. - 1

Тарифно-квалификационный справочник

Электрообогрев бетонной смеси

час

61

1

61

Электромонтер III р. - 1 чел.

ЕНиР 1987

§ Е4-1-54 п. 12

Снятие теплоизоляции

100 м2

0,9

0,22

0,2

Бетонщик

IV p. - 1

II р. - 1

ЕНиР 1987

§ Е23-6-16 п. 3

Электромонтажные работы по отсоединению нагревателей

100 концов

0,62

7,5

4,65

Электромонтер IV p. - 1 чел.



6. ПОТРЕБНОСТЬ В МАТЕРИАЛЬНО-ТЕХНИЧЕСКИХ РЕСУРСАХ

Таблица 4

№№ п/п

Наименование

Марка (ГОСТ, ТУ)

Ед. изм.

Кол-во

Техническая характеристика

1

2

3

4

5

6

1

Панельно-линейные переносные электронагреватели

НЭП

шт.

14

Мощность 0,6 - 6,0 кВт

размером 850´350´240 мм

2

Бетонная смесь

 

м3

3,6

 

3

Кабель

КРПТ 3´25´1´16

м

25

 

КРПТ 3´10+1´6

м

20

АПР 2´2,5

м

40

4

Инвентарное сетчатое ограждение

 

м2

22,5

h = 1,5 м

5

Изоляционная лента

 

кг

0,5

 

6

Минераловатные маты с подкладкой из брезента с двух сторон

 

м2

45

Толщина 26 мм

12

Прожекторы

 

шт.

2

Мощность 1000 Вт

7. РЕШЕНИЯ ПО ТЕХНИКЕ БЕЗОПАСНОСТИ

7.1. При эксплуатации панельно-линейных переносных электронагревателей помимо общих требований правил безопасного производства работ согласно СНиП III-4-80* «Техника безопасности в строительстве» следует руководствоваться «Правилами технической эксплуатации и безопасности электроустановок промышленных предприятий».

7.2. Электробезопасность на строительной площадке, участках производства работ и рабочих местах необходимо обеспечивать в соответствии с требованиями ГОСТ 12.1.013-78 «Строительство. Электробезопасность. Общие требования». Лица, занятые на строительно-монтажных работах, должны быть обучены безопасным способам ведения работ, а также уметь оказать первую доврачебную помощь при электротравме.

7.3. В строительно-монтажной организации должен быть инженерно-технический работник, ответственный за безопасную эксплуатацию электрооборудования, имеющий квалификационную группу по технике безопасности не ниже IV.

7.4. При устройстве электрических сетей необходимо предусматривать возможность отключения всех электроустановок в пределах отдельных участков и объектов производства работ.

7.5. Работы, связанные с присоединением (отсоединением) проводов, должны выполняться специалистами по электротехнике, имеющими соответствующую квалификационную группу по технике безопасности.

7.6. В течение всего периода эксплуатации электроустановок на строительных площадках должны быть установлены знаки безопасности по ГОСТу 12.4.026.76.

7.7. Технический персонал, проводящий электрообогрев бетона, должен пройти обучение и проверку знаний квалификационной комиссией по технике безопасности с получением соответствующих удостоверений. Дежурные электромонтеры должны иметь квалификационную группу не ниже III.

7.8. Рабочие, занятые на обогреве бетона должны быть снабжены резиновыми сапогами или диэлектрическими галошами и резиновыми перчатками. Подключение нагревательных проводов, замеры температуры техническими термометрами производят при отключенном напряжении.

7.9. Зона, где производится обогрев бетона, должна быть ограждена. На видном месте помещаются предупредительные плакаты, правила по технике безопасности, противопожарные средства, в ночное время ограждение зоны должно быть освещено, для чего на нем устанавливаются красные лампочки, автоматически загорающиеся при подаче напряжения в линии обогрева.

7.10. Все металлические токоведущие части электрооборудования и арматуру следует надежно заземлить.

Около рубильников и распределительных щитков устанавливаются настилы, покрытые резиновыми ковриками.

7.11. Проверку сопротивления изоляции проводов с помощью мегомметра производит персонал, квалификационная группа по технике безопасности которого не ниже III.

Концы проводов, которые могут оказаться под напряжением, необходимо изолировать или оградить.

Участок обогрева бетона должен постоянно находиться под надзором дежурного электрика.

7.12. Запрещается:

подключать под напряжение провода с механическими повреждениями изоляции, а также ненадежно выполненными коммутационными соединениями;

проводить работы по обогреву в сырую погоду, во время оттепели, без ограждения зоны электрообогрева;

работать при обнаруженной неисправности электропроводки;

прокладывать провода непосредственно по грунту;

размещать легковоспламеняющиеся материалы вблизи установок для обогрева бетона;

доступ посторонних лиц в зону обогрева.

8. ТЕХНИКО-ЭКОНОМИЧЕСКИЕ ПОКАЗАТЕЛИ

1.

Затраты труда

- чел/час, общей

80,87

 

 

на 1 м3 бетона

22,46

2.

Расход электроэнергии

- кВт/час, общей

675

 

 

на 1 м3 бетона

187,5

 

в т.ч. на отогрев опалубки и арматуры

- кВт/час

25,2

 

на обогрев бетона

- кВт/час

214,2

 

на изотермическое выдерживание

- кВт/час

435,6

3.

Время обогрева

- час

17

4.

Скорость обогрева

- °С/час

1,5

5.

Продолжительность изотермической выдержки

- час

44

6.

Время остывания

- час

25

7.

Скорость остывания

- °С/час

1,6

8.

Полный цикл термической обработки

- час

86

9.

Нормативная прочность к концу цикла

- % R28

70

ИЛЛЮСТРАЦИИ

Рис. l. Схема подключения панельно-линейных переносных электронагревателей к питающей сети

Рис. 2. Схема устройства теплозащиты

1. Железобетонная стена

2. Металлическая опалубка

3. Панельно-линейные переносные электронагреватели

4. Слой брезента

5. Слой минеральной ваты


Рис. 3. Кривые набора прочности бетоном при различных температурах его выдерживания:

а, в - для бетона класса В25 на портландцементе активностью 400-500;

б, г - для бетона класса В25 на шлакопортландцементе активностью 300-400.


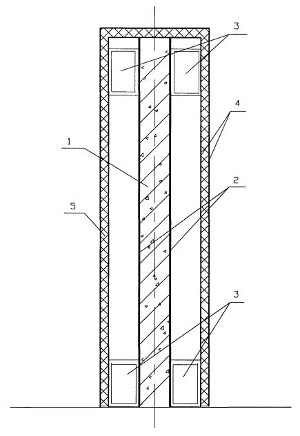
Рис. 4. Схема размещения панельно-линейных переносных электронагревателей

1. Монолитная железобетонная плита

2. Металлическая опалубка

3. Панельно-линейный переносной электронагреватель

4. Переносной блок для подключения токоприемников

5. Кабель КРТП 3´10+1´6

6. Провод АПР - 2´2,5

7. Температурная скважина

Приложение 1

Теплотехнический расчет конвективно-лучевого обогрева монолитных конструкций панельно-линейными переносными электронагревателями

Исходные данные для расчета:

Температура наружного воздуха                                         -15 °С

Температура изотермического прогрева                            40 °С

Скорость подъема температуры                                          1,5 °С/час

Время обогрева бетонной смеси                                         17 часов

Температура бетона начальная                                            15 °С

Прочность бетона к моменту остывания до 0 °С               70 % R28

1. Определяем время остывания по формуле

, где

с - удельная теплоемкость бетона, КДж/кг·°С

g - объемная масса бетона, кг/м3

Dt1 - перепад температур от температуры изотермического прогрева до 0 °С

3,6 - коэффициент перехода

К - коэффициент теплопередачи теплоизоляции (2,68), Вт/м2·°С

М - модуль поверхности, м-1

Dt2 - перепад температур между средней температурой остывания (20 °С) и температурой наружного воздуха

 20 часов

За 17 часов разогрева бетонной смеси при средней температуре (15+40):2 = 27,5 °С бетон наберет 25 % R28 (рис. 3 «в»).

Учитывая, что за время остывания бетон набирает незначительную прочность, принимаем, что к моменту остывания бетон должен набрать 70 % R28.

Тогда недостающие 45 % прочности бетон должен набрать за 44 часа изотермического выдерживания при температуре 40 °С и график термообработки будет выглядеть следующим образом:

время обогрева бетонной смеси до 40 °С         - 17 часов

время изотермического прогрева                      - 44 часа

время остывания с 40 °С до 0 °С                       - 20 часов

2. Потребная мощность на обогрев бетонной смеси до 40 °С определяется по формуле:

, где

с - удельная теплоемкость бетона КДж/кг·°С

g - объемная масса бетона (2400)

v - объем бетона

3600 - переходной коэффициент

tр - время обогрева бетонной смеси от 15 °С до 40 °С

Dt - перепад температур между температурой изотермического прогрева и начальной температурой бетона.

Тогда:

= 2,96 кВт ≈ 3 кВт

3. Потребная мощность на компенсацию теплопотерь через теплоизоляцию определяется по формуле

, где

K - коэффициент теплопередачи, Вт/м2·°С

F - площадь теплоизоляции, м2

a - коэффициент, учитывающий скорость ветра

Dt - перепад температур между температурой внутри изоляции и наружным воздухом

 = 9,3 кВт

4. Общая потребная мощность, необходимая для обогрева бетонной смеси и компенсацию теплопотерь: 3 кВт + 9,3 кВт = 12,3 кВт

5. Принимаем мощность одного панельно-линейного электронагревателя 0,9 кВт. Общее количество панельно-линейных электронагревателей на период обогрева бетонной смеси до температуры 40 °С будет 12,3:0,9 = 13,6 = 14 штук

Изотермический прогрев производится с помощью 11 штук нагревателей

9,3:0,9 = 10,3 ≈ 11 штук

6. Расход электроэнергии на обогрев конструкции складывается из трех величин

Nп - предварительный отогрев опалубки и арматуры перед бетонированием в течение двух часов

Nр - обогрев бетона до 40 °С четырнадцатью нагревателями в течение 17 часов

Nиз - изотермический прогрев бетона одиннадцатью нагревателями в течение 44 часов

Nобщ = Nп+Nр+Nиз = 14´2´0,9+14´17´0,9+11´44´0,9 = 25,2+214,2+435,6 = 675 кВт·ч

Приложение 2

Пример определения прочности бетона

Определить прочность бетона в конструкцию с Мп = 4 на портландцементе марки 400 при скорости подъема температуры 10 °С в час, температуре изотермического прогрева 70° С, его продолжительности 12 ч и остывании со скоростью 5 °С в час до конечной температуры 8 °С. Начальная температура бетона tнб = 10 °С.

Решение:

1. Определить величину относительной прочности за период подъема температуры

продолжительность подъема температуры (70-10)/10 = 6

при средней температуре (70+10)/2 = 40 °С

Для этого из точки «А» (см. график) проводим перпендикуляр до пересечения с кривой прочности при 40 °С (точка «Б»).

Величина прочности за время подъема температуры определяется проекцией точки «Б» на ось ординат (точка «В») и составляет 15 %.

Определяем прирост относительной прочности при изотермическом прогреве за 12 часов как проекцию участка (точки «Л» и «К») кривой прочности при 70 °С (отрезок «ВЗ»), что соответствует 46 % R28.

Определяем прирост прочности бетона за 12 часов остывания по кривой прочности при 38 °С, как проекцию участка «ЖГ» на ось ординат. Отрезок «ЗИ» соответствует 9 % R28.

За весь цикл термообработки бетон приобретает прочность 15+46+9 = 70 % R28.

Для каждого конкретного состава бетона строительной лабораторией должен быть уточнен на опытных образцах-кубах оптимальный режим выдерживания.

Пример определения прочности бетона

ЛИТЕРАТУРА

1. СНиП 3.01.01-85* «Организация строительного производства».

2. СНиП 3.03.01-87 «Несущие и ограждающие конструкции».

3. СНиП III-4-80* «Техника безопасности в строительстве».

4. Пособие по электрообогреву бетона монолитных конструкций (к СНиП III-15-76) НИИЖБ Госстроя СССР, Москва, Стройиздат, 1985 г.

5. Руководство по электротермообработке бетона. НИИЖБ Госстроя СССР, Москва, Стройиздат, 1974 г.

6. Руководство по производству бетонных работ в зимних условиях, районах Дальнего Востока, Сибири и Крайнего Севера, ЦНИИОМТП Госстроя СССР, Москва, Стройиздат, 1982 г.

7. Рекомендации по технологии возведения конструкций из монолитного бетона и железобетона на объектах ПСО Моспромстроя. ПКТИпромстрой ПСО Моспромстрой. Москва, 1989 г.

 




ГОСТЫ, СТРОИТЕЛЬНЫЕ и ТЕХНИЧЕСКИЕ НОРМАТИВЫ.
Некоммерческая онлайн система, содержащая все Российские Госты, национальные Стандарты и нормативы.
В Системе содержится более 150000 файлов нормативно-технической документации, действующей на территории РФ.
Система предназначена для широкого круга инженерно-технических специалистов.

Рейтинг@Mail.ru Яндекс цитирования

Copyright © www.gostrf.com, 2008 - 2026