Крупнейшая бесплатная информационно-справочная система онлайн доступа к полному собранию технических нормативно-правовых актов РФ. Огромная база технических нормативов (более 150 тысяч документов) и полное собрание национальных стандартов, аутентичное официальной базе Госстандарта. GOSTRF.com - это более 1 Терабайта бесплатной технической информации для всех пользователей интернета. Все электронные копии представленных здесь документов могут распространяться без каких-либо ограничений. Поощряется распространение информации с этого сайта на любых других ресурсах. Каждый человек имеет право на неограниченный доступ к этим документам! Каждый человек имеет право на знание требований, изложенных в данных нормативно-правовых актах!

  


 

Открытое акционерное общество

Проектно-конструкторский и технологический
институт промышленного строительства
ОАО ПКТИпромстрой

УТВЕРЖДАЮ

Генеральный директор, к. т. н.

_____________ С. Ю. Едличка

11.02.2003 г.

ТЕХНОЛОГИЧЕСКАЯ КАРТА
НА ЭЛЕКТРООБОГРЕВ НАГРЕВАТЕЛЬНЫМИ ПРОВОДАМИ
МОНОЛИТНЫХ КОНСТРУКЦИЙ

37-03 ТК

Главный инженер

____________ A. B. Колобов

Начальник отдела

_________ Б. И. Бычковский

2003

Карта содержит организационно-технологические и технические решения по электрообогреву монолитных конструкций нагревательными проводами, применение которых при производстве монолитных бетонных и железобетонных работ при отрицательных температурах воздуха должно способствовать ускорению работ, снижению затрат труда и повышению качества возводимых конструкций в зимних условиях.

В технологической карте приведены область применения, организация и технология выполнения работ, требования к качеству и приемке работ, калькуляция затрат труда, график производства работ, потребность в материально-технических ресурсах, решения по безопасности и охране труда и технико-экономические показатели.

Исходные данные и конструктивные решения, применительно к которым разработана карта, приняты с учетом требований СНиП, а также условий и особенностей, характерных для строительства в г. Москве.

Технологическая карта предназначена для инженерно-технических работников строительных и проектных организаций, а также производителей работ, мастеров и бригадиров, связанных с производством монолитных бетонных и железобетонных работ при отрицательных температурах воздуха.

В корректировке технологической карты участвовали сотрудники ОАО ПКТИпромстрой:

- Громова Ю. А. - компьютерная обработка технологической карты;

- Савина О. А. - компьютерная графика;

- Черных В. В. - технологическое сопровождение;

- Холопов В. Н. - проверка технологической карты;

- Бычковский Б. И. - техническое руководство, корректура и нормоконтроль;

- Колобов А. В. - общее техническое руководство разработкой технологических карт;

- Едличка С. Ю. - общее руководство разработкой технологических карт.

СОДЕРЖАНИЕ

1 ОБЛАСТЬ ПРИМЕНЕНИЯ

1. В соответствии со СНиП 3.03.01-87 «Несущие и ограждающие конструкции» областью применения электрообогрева нагревательными проводами являются монолитные колонны, балки, прогоны, свайные ростверки, перекрытия с модулем поверхности Мп = 6 - 10*, бетонирование которых может производиться при минимальной температуре воздуха до минус 40 °С.

* Модуль поверхности бетонируемой конструкции определяется отношением суммы площадей охлаждаемых поверхностей конструкции к ее объему и имеет размерность «М-1».

1.2 Сущность электрообогрева нагревательными проводами заключается в передаче выделенного проводами тепла в бетон контактным путем. Провода с металлической токонесущей изолированной жилой, подключаемые в электрическую сеть, работают как нагреватели сопротивления. Нагревательные провода закладываются непосредственно в массив монолитной конструкции.

1.3 В технологической карте приводятся:

- схемы раскладки и подключения нагревательных проводов;

- указания по подготовке конструкций к бетонированию и требования к готовности предшествующих работ и строительных конструкций;

- схемы организации рабочей зоны на время производства работ;

- методы и последовательность производства работ, описание процесса раскладки и подключения нагревательных проводов;

- расчет длины проволочных нагревателей в зависимости от температуры наружного воздуха;

- профессиональный и численно-квалификационный состав рабочих;

- график выполнения работы и калькуляция трудовых затрат;

- указания по контролю качества и приемке работы;

- решения по безопасности и охране труда;

- потребность в необходимых материально-технических ресурсах, электротехническом оборудовании и эксплуатационных материалах;

- рекомендации по энергосбережению;

- технико-экономические показатели.

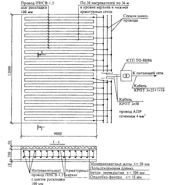
1.4 Численно-квалификационный состав рабочих, график работы и калькуляция трудовых затрат, а также потребность в необходимых ресурсах определены с учетом электрообогрева нагревательными проводами, закладываемыми в монолитное перекрытие толщиной 200 мм, площадью 9 × 12 м.

1.5 Расчет электрообогрева конструкции произведен исходя из температуры наружного воздуха минус 20 °С и достижения прочности монолитных конструкций к концу обогрева не менее 70 % от проектной прочности при температуре изотермического выдерживания 50 °С. Конструкция опалубки - фанера толщиной 18 мм, гидроизоляция - полиэтиленовая пленка, теплоизоляция - минераловатные маты толщиной 50 мм.

1.6 При привязке настоящей технологической карты к конкретной конструкции и условиям строительства корректируются объемы работ, калькуляция трудовых затрат, потребность в материально-технических ресурсах и электрические параметры.

2 ОРГАНИЗАЦИЯ И ТЕХНОЛОГИЯ ВЫПОЛНЕНИЯ РАБОТ

2.1. Обогрев бетона в монолитной конструкции осуществляется закладкой нагревательного провода непосредственно в бетонируемую конструкцию. В зависимости от технологии производства работ нагревательные провода раскладываются во время или после выполнения арматурных работ.

2.2. До начала работ по электрообогреву конструкции выполняют следующие подготовительные операции:

- устанавливают опалубку, арматурные сетки и каркасы (допускается применение инвентарной опалубки различных конструкций и типов);

- в уровне нижней и верхней арматурных сеток раскладывают нагревательные провода;

- очищают от мусора, снега, наледи опалубку и арматуру;

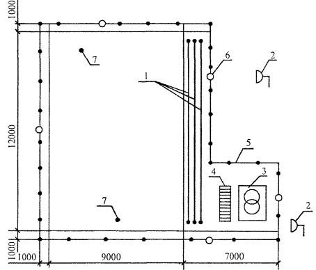
- на ровной площадке на расстоянии не более 25 м от участка электрообогрева конструкции устанавливают трансформаторную подстанцию типа КТП-ТО-80/86 или другие трансформаторы, используемые для этих целей;

- устанавливают ограждение рабочей зоны и проводят сигнализацию и освещение согласно рисунку 1;

- изготавливают инвентарные секции шинопроводов, схема которых показана на рисунке 2;

- устанавливают секции шинопроводов вдоль захватки;

- проводом марки АПР подключают нагревательные провода к секциям шинопроводов;

- подключают кабелем марки КРПТ шинопровод к комплектной трансформаторной подстанции КТП ТО-80/86;

- устанавливают деревянные настилы, покрытые резиновыми ковриками, около трансформаторной подстанции и распределительных шкафов;

- монтируют противопожарный щит с углекислотными огнетушителями, помещают в рабочей зоне таблички по безопасности и охране труда;

- подключают к питающей сети трансформаторную подстанцию и опробывают ее на холостом ходу, а также проверяют работу временного освещения и систем автоматики температурного регулирования;

- обеспечивают рабочее звено необходимым инструментом, индивидуальными средствами защиты, проводят инструктаж.

1 - инвентарная трехфазная секция шинопроводов; 2 - прожектор; 3 - трансформаторная подстанция КТП ТО-80/86; 4 - диэлектрический коврик; 5 - инвентарное ограждение рабочей зоны; 6 - сигнальная лампочка красного цвета; 7 - температурные датчики.

Рисунок 1 - Организация рабочей зоны электрообогрева

2.3 Основными требованиями для обеспечения нормального обогрева с помощью нагревательных проводов, закладываемых в бетон, является предотвращение механических повреждений изоляции при навивке и креплении проводов, монтаже опалубки и укладке бетонной смеси, а также устранение возможности коротких замыканий токоведущей жилы с арматурой, стальной опалубкой и другими металлическими элементами. Нагревательный провод укладывают в конструкции без сильного натяжения. В углах с режущими кромками под проводом устанавливают дополнительную изоляцию из рубероида или битуминизированной бумаги.

1 - разъем; 2 - деревянная стойка; 3 - болты; 4 - токопроводы (полоса 3 × 40 мм)

Рисунок 2 - Инвентарная секция шинопроводов (крайняя секция)

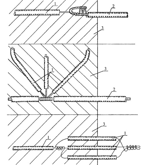
Крепление провода к арматуре производят с помощью скруток из мягкой вязальной проволоки диаметром 1,2 мм или отрезками изолированного провода, пластмассовыми фиксаторами, скрепками из стальной проволоки, полипропиленовым шпагатом, причем во избежание обгорания изоляции, замыкания на массу и перегорания концов нагревательного провода из бетона наружу устраивают выводы из монтажного провода сечением 2,5 - 4 мм2, как показано на рисунке 3. Узлы соединения тщательно изолируют. Перед бетонированием конструкции проверяют мегомметром отсутствие замыкания шины на массу.

2.4 Диаметр, длина отрезка и шаг раскладки нагревательного провода в зависимости от температуры наружного воздуха и напряжения электрической сети принимается по таблице 1.

Нагревательные провода подключают к инвентарным секциям шинопроводов, присоединенных с помощью монтажного кабеля к трансформаторной подстанции в соответствии со схемой, представленной на рисунке 4.

2.5 После раскладки нагревательных проводов и подключения их к шинопроводу начинают укладку и электрообогрев бетонной смеси.

Подготовку и укладку бетонной смеси при отрицательных температурах следует производить с учетом следующих требований:

- снимать наледь с помощью пара или горячей воды не допускается. При температуре воздуха ниже минус 10 °С арматуру диаметром более 25 мм, а также арматуру прокатных профилей и крупные металлические закладные детали следует отогревать до положительной температуры. Все выступающие закладные части и выпуски должны быть дополнительно утеплены;

- укладку бетонной смеси следует вести непрерывно, без перевалок, средствами, обеспечивающими минимальное охлаждение смеси при ее подаче;

- температура бетонной смеси, уложенной в опалубку, не должна быть ниже + 5 °С.

1 - нагревательные провода; 2 - монтажные провода; 3 - бетон

Рисунок 3 - Схема выводов нагревательных проводов из бетона

2.6 Горизонтальную поверхность перекрытия укрывают гидроизоляционным материалом (пленкой) и укладывают минераловатные плиты толщиной 50 мм.

Подают напряжение на нагревательные провода. Электрообогрев осуществляется на пониженном напряжении 55 - 95 В в соответствии с электрическими параметрами, представленными в таблице 1. Подача напряжения разрешается после окончания бетонирования, укладки теплоизоляции и ухода людей за пределы ограждения. Перед подачей напряжения необходимо проверить правильность подключения, осмотреть контакты, кабели и провода. Во время обогрева бетона необходимо вести наблюдение за состоянием контактов, кабелей, проводов. В случае обнаружения неисправности необходимо немедленно отключить напряжение и устранить неисправность.

Таблица 1

Электрические параметры электрообогрева нагревательными проводами

Температура наружного воздуха, °С

Шаг раскладки нагревательного провода, мм

Диаметр нагревательного провода марки ПНСВ, мм

Электрическое напряжение, В

Длина отрезка нагревательного провода, м

Удельная мощность обогрева, Вт/м2

в уровне верхней и нижней сеток арматуры

только в уровне нижней сетки арматуры

- 5

200

100

1,1

55

27

200

65

32

75

37

85

42

95

47

1,2

55

28

65

34

75

39

85

44

95

48

1,4

55

33

65

39

75

45

85

51

95

57

- 10

160

80

1,1

55

27

240

65

32

75

37

85

42

95

47

1,2

55

28

65

34

75

39

85

44

95

48

1,4

55

33

65

39

75

45

85

51

95

57

- 15

120

-

1,1

55

27

320

65

32

75

37

85

42

95

47

1,2

55

28

65

34

75

39

85

44

95

48

1,4

55

33

65

39

75

45

85

51

95

57

- 20

100

-

1,1

55

27

400

65

32

75

37

85

42

95

47

1,2

55

28

65

34

75

39

85

44

95

48

1,4

55

33

65

39

75

45

85

51

95

57

2.7 Контроль температуры обогреваемого бетона следует производить техническими термометрами или дистанционно с помощью термодатчиков, устанавливаемых в скважину согласно рисунку 5. Число точек измерения температуры устанавливается в среднем из расчета не менее одной точки на 50 м2 площади перекрытия.

Температуру бетона измеряют в процессе изотермического прогрева не реже чем через 2 часа. Для регулирования температуры бетона и обеспечения безаварийной работы проволочных нагревателей следует использовать системы автоматики температурного контроля и регулирования режимов обогрева (блок-приставки к трансформаторам конструкции ЦНИИОМТП).

Рисунок 4 - Схема раскладки и подключения нагревательного провода при электрообогреве перекрытия.

Электрообогрев бетонной смеси осуществляется в соответствии с нижеприведенным графиком при скорости подъема температуры 4 °С в час.

Во время разогрева температуру бетона измеряют не реже чем через 1 час.

Скорость остывания бетона по окончании тепловой обработки для конструкций с модулем поверхности 5 - 10 - не более 5 °С/ч, с модулем поверхности свыше 10 - не более 10 °С/ч. Температуру наружного воздуха замеряют один-два раза в сутки, результаты замеров фиксируются в журнале.

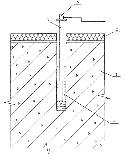
1 - монолитная конструкция; 2 - утеплитель; 3 - пенал из тонкостенной стальной трубки; 4 - индустриальное масло; 5 - термодатчик

Рисунок 5 - Установка термодатчика в обогреваемой конструкции

2.8 Не реже двух раз в смену, а в первые три часа с начала обогрева бетона через каждый час, измеряют силу тока и напряжение в питающей цепи. Визуально проверяют отсутствие искрения в местах электрических соединений.

2.9 Прочность бетона обычно проверяют по фактическому температурному режиму. После распалубливания прочность бетона, имеющего положительную температуру, рекомендуется определять с помощью молотка конструкции НИИМосстроя, ультразвуковым способом или высверливанием и испытанием кернов.

Набор прочности бетона при различных температурах его выдерживания определяется по графикам, представленным на рисунке 6.

а, в - для бетона класса B25 на портландцементе активностью 400 - 500;

б, г - для бетона класса В25 на шлакопортландцементе активностью 300 - 400

Рисунок 6 - Кривые набора прочности бетоном при различных температурах его выдерживания

2.10 Ниже приведен пример определения набора прочности бетоном.

Пример: Определить прочность бетона в конструкции с Мп = 4 на портландцементе марки 400 при скорости подъема температуры 10 °С в час, температуре изотермического прогрева 70 °С, его продолжительности 12 ч и остывании со скоростью 5 °С в час до конечной температуры 8 °С.

Решение:

1 Определить величину относительной прочности за период подъема температуры

продолжительность подъема температуры

при средней температуре  °С

Для этого из точки «А» согласно рисунку 7 проводим перпендикуляр до пересечения с кривой прочности при 40 °С (точка «Б).

Величина прочности за время подъема температуры определяется проекцией точки «Б» на ось ординат (точка «В») и составляет 15 %.

Определяем прирост относительной прочности при изотермическом прогреве за 12 часов как проекцию участка (точки «Л» и «К») кривой прочности при 70 °С (отрезок «ВЗ»), что составляет 46 % R28.

Определяем прирост прочности бетона за 12 часов остывания по кривой прочности при 38 °С как проекцию участка «ЖГ» на ось ординат. Отрезок «ЗИ» соответствует 9 % R28.

За весь цикл термообработки бетон приобретает прочность 15 + 46 + 9 = 70 % R28.

Для каждого конкретного состава бетона строительной лабораторией должен быть уточнен на опытных образцах-кубах оптимальный режим выдерживания.

Рисунок 7 - Пример определения прочности бетона по графику

2.11 Теплоизоляция может быть снята не ранее того момента, когда температура бетона в наружных слоях конструкции достигнет плюс 5 °С и не позже, чем слои остынут до 0 °С. Не допускать примерзания опалубки и теплозащиты к бетону.

2.12 Для предотвращения появления трещин в конструкциях перепад температур между открытой поверхностью бетона и наружным воздухом не должен превышать:

- 20 °С для монолитных конструкций с модулем поверхности до 5;

- 30 °С для монолитных конструкций с модулем поверхности 5 и выше.

В случае невозможности соблюдения указанных условий поверхность бетона после распалубливания должна быть укрыта брезентом, толью, щитами и т.д.

2.13 Раскладку нагревательного провода в конструкцию и электрообогрев бетона нагревательными проводами выполняет звено из 4-х человек согласно таблице 2.

Таблица 2

Распределение операций по исполнителям

№ п/п

Состав звена по профессиям

Кол. чел.

Перечень работ

1

Электромонтер V разряда

1

Подсоединения КПТ ТО-80/86 к питающей сети, подсоединение нагревательных проводов к шинопроводу.

2

Электромонтер III разряда

1

Расстановка шинопроводов, подсоединение к ним нагревательных проводов.

3

Бетонщики III разряда

2

Раскладка нагревательных проводов. Устройство гидро-теплоизоляции.

Бетонщики III разряда раскладывают нагревательный провод в уровне нижней и верхней арматурных сеток согласно схеме на рисунке 4.

Электромонтер V разряда производит разделку концов кабеля, подсоединяет его к трансформаторной подстанции КТП ТО-80/86.

Электромонтер III разряда, расставляет секции шинопровода вдоль захватки, соединяет их между собой.

После подсоединения кабеля электромонтер V разряда подсоединяет секции шинопровода к КТП ТО-80/86, проводит ее заземление и опробывает работу трансформаторной подстанции на холостом ходу.

После этого электромонтеры V и III разрядов подсоединяют нагревательные провода к секциям шинопровода.

После укладки бетона в конструкцию бетонщики III разрядов устраивают гидро- и теплоизоляцию верхней поверхности перекрытия.

Подают напряжение на нагревательные провода.

Разборка системы электрообогрева производится в обратном порядке.

2.14 Рекомендации по энергосбережению.

В целях энергосбережения при производстве работ рекомендуется:

- при определении средств и продолжительности транспортирования бетонной смеси исключать возможность охлаждения ее более чем установлено технологическим расчетом, нарушение однородности и снижение заданной подвижности на месте укладки;

- применение бетонов возможно более высокой относительной прочности при малой продолжительности прогрева (портландцемент, быстротвердеющий портландцемент);

- применение химических добавок для сокращения продолжительности термообработки бетона и получения повышенной прочности бетоном сразу после обогрева;

- применение максимально допустимой температуры термообработки бетона с учетом нарастания прочности бетона при остывании;

- надежно проводить теплоизоляцию поверхностей бетона и опалубки, подвергающихся охлаждению;

- соблюдать режим электрообработки;

- следить за качеством и плотностью соединений контактов проводов и кабелей;

- не допускать намокания теплоизоляции.

2.15 При производстве работ по электрообогреву нагревательными проводами монолитных конструкций следует руководствоваться правилами производства и приемки работ согласно:

- СНиП 3.03.01-87 «Несущие и ограждающие конструкции»;

- СНиП 12-03-2001 «Безопасность труда в строительстве. Часть 1. Общие требования»;

- СНиП 12-04-2002 «Безопасность труда в строительстве. Часть 2. Строительное производство».

3 ТРЕБОВАНИЯ К КАЧЕСТВУ И ПРИЕМКЕ РАБОТ

3.1 Контроль качества электрообогрева монолитных конструкций при отрицательных температурах воздуха производят в соответствии с требованиями СНиП 3.01.01-85* «Организация строительного производства» и СНиП 3.03.01-87 «Несущие и ограждающие конструкции».

3.2 Производственный контроль качества электрообогрева осуществляют прорабы и мастера с участием специалистов электротехнических служб строительных организаций.

3.3 Производственный контроль включает входной контроль электротехнического оборудования, эксплуатационных материалов и бетонной смеси, операционный контроль отдельных производственных операций и приемочный контроль качества монолитной конструкции.

3.4 При входном контроле электротехнического оборудования, эксплуатационных материалов и бетонной смеси проверяют внешним осмотром их соответствие нормативным и проектным требованиям, а также наличие и содержание паспортов, сертификатов и других сопроводительных документов. По результатам входного контроля должен заполняться журнал входного учета и контроля качества получаемых деталей, материалов, конструкций и оборудования.

3.5 При операционном контроле проверяют соблюдение состава подготовительных операций, технологии наладки электрообогревающего оборудования и устройств, укладки бетона в конструкцию в соответствии с требованиями рабочих чертежей, норм, правил и стандартов, контролируют процесс электрообогрева, температуру, силу тока и напряжение в соответствии с расчетными данными.

3.6 При приемочном контроле проверяют качество монолитной конструкции в результате электрообогрева нагревательными проводами.

3.7 Скрытые работы подлежат освидетельствованию с составлением актов по установленной форме. Запрещается выполнение последующих работ при отсутствии актов освидетельствования предшествующих скрытых работ во всех случаях.

3.8 Результаты операционного и приемочного контроля фиксируются в журнале работ. Основными документами при операционном и приемочном контроле являются настоящая технологическая карта, указанные в ней нормативные документы, а также перечни операций или процессов, контролируемых производителем работ (мастером), данные о составе, сроках и способах контроля, изложенные в таблице 3.

Таблица 3

Состав и содержание производственного контроля качества

Кто контролирует

Прораб или мастер

Операции, подлежащие контролю

Операции при входном контроле

Подготовительные операции

Операции по укладке бетона в конструкцию и электрообогреву

Операции при приемочном контроле

Состав контроля

Исправность нагревательных проводов

Проверка изоляции проводов и работоспособности коммутационной аппаратуры, трансформаторов и др. электрооборудования, используемого в работе

Устройство защитного ограждения и световой сигнализации на участке работ

Очистка основания опалубки, арматуры от снега, наледи, утепление конструкции

Укладка бетона в монолитную конструкцию

Контроль величины силы тока и напряжения питающей цепи

Контроль температуры бетона

Контроль прочности бетона

Проверка соответствия готовой монолитной конструкции требованиям проекта

Методы контроля

Визуально-инструментальная проверка

Визуально и по приборам

визуально, инструментально

Время контроля

До начала бетонирования

До и после бетонирования

В процессе электрообогрева бетона

После электрообогрева

Кто привлекается к контролю

Энергетик строительной организации

Мастер, прораб

Электромонтер, лаборатория

Лаборатория, технадзор

3.9 Контроль температуры обогреваемого бетона следует производить техническими термометрами или дистанционно с помощью термодатчиков, устанавливаемых в скважину. Число точек измерения температуры устанавливают в среднем из расчета не менее одной точки на каждые 3 m3 бетона, 6 м длины конструкции, 50 м2 площади перекрытия, 40 м2 площади подготовки полов и т.д.

Температуру бетона определяют не реже чем через 2 часа.

Не реже двух раз в смену, а в первые три часа с начала обогрева бетона через каждый час, измеряют силу тока и напряжение в питающей цепи. В местах соединения проводов не должно наблюдаться искрения.

3.10 При электрообогреве бетонируемого перекрытия нагревательными проводами предельные значения скорости подъема температуры и скорости остывания бетона должны быть не выше соответственно 15 °С и 10 °С в час.

3.11 Контроль прочности бетона осуществляют, как правило, по температуре бетона в процессе выдерживания и испытанием образцов, изготовленных у места укладки бетонной смеси.

Прочность прогретого бетона, имеющего положительную температуру, определяют с помощью молотка НИИМосстроя, ультразвуковым способом либо высверливанием кернов и испытанием.

4 ТРЕБОВАНИЯ БЕЗОПАСНОСТИ И ОХРАНЫ ТРУДА, ЭКОЛОГИЧЕСКОЙ И ПОЖАРНОЙ БЕЗОПАСНОСТИ

4.1 При эксплуатации нагревательных проводов, греющих элементов и силового питающего электрооборудования помимо общих требований правил безопасного производства работ согласно СНиП 12-03-2001 «Безопасность труда в строительстве. Часть 1. Общие требования» следует руководствоваться «Правилами технической эксплуатации и безопасности электроустановок промышленных предприятий».

4.2 Электробезопасность на строительной площадке, участках производства работ и рабочих местах при электрообогреве монолитных конструкций необходимо обеспечивать в соответствии с требованиями СНиП 12-03-2001. Лица, занятые на строительно-монтажных работах, должны быть обучены безопасным способам ведения работ, а также уметь оказать первую доврачебную помощь при электротравме.

4.3 В строительно-монтажной организации должен быть инженерно-технический работник, ответственный за безопасную эксплуатацию электрохозяйства организации, имеющего квалификационную группу по технике безопасности не ниже IV.

4.4 При устройстве электрических сетей необходимо предусматривать возможность отключения всех электроустановок в пределах отдельных участков и объектов производства работ.

4.5 Работы, связанные с присоединением (отсоединением) проводов, должны выполняться электриками, имеющими соответствующую квалификационную группу по технике безопасности.

4.6 В течение всего периода эксплуатации электроустановок для электрообогрева бетона рабочая зона должна быть оборудована знаками безопасности по ГОСТ Р 12.4.026-2001.

4.7 Технический персонал, проводящий электрообогрев бетона, должен пройти обучение и проверку знаний квалификационной комиссией по безопасности и охране труда с получением соответствующих удостоверений. Дежурные электромонтеры должны иметь квалификацию не ниже III группы.

4.8 Рабочие, занятые на электрообогреве бетона, должны быть снабжены резиновыми сапогами или диэлектрическими галошами, а электромонтеры, кроме того, резиновыми перчатками. Подключение нагревательных проводов, замеры температуры техническими термометрами производят при отключенном напряжении.

4.9 Зона, где производится электрообогрев бетона, должна иметь защитное ограждение. На видном месте помещаются предупредительные плакаты, инструкции по безопасности и охране труда, противопожарные средства. В ночное время ограждение рабочей зоны должно быть освещено, для чего на нем устанавливаются красные лампочки, автоматически загорающиеся при подаче напряжения в линию обогрева.

4.10 Все металлические токоведущие части электрооборудования и арматуру следует надежно заземлить, присоединив к ним нулевой провод питающего кабеля. При использовании защитного контура заземления перед включением напряжения необходимо проверить сопротивление контура, которое должно быть не более 4 Ом.

Около трансформаторов, рубильников и распределительных щитков устанавливают настилы, покрытые резиновыми ковриками.

4.11 Проверку сопротивления изоляции проводов с помощью мегомметра производит персонал, квалификационная группа которого по технике безопасности не ниже III.

Концы проводов, которые могут оказаться под напряжением, необходимо изолировать или оградить.

Участок электрообогрева бетона должен постоянно находиться под надзором дежурного электрика.

4.12 Запрещается:

- доступ посторонних лиц в зону обогрева, а также пребывание людей на расстоянии ближе 1 м от арматурных стержней, нагреваемых электротоком;

- хождение людей, размещение посторонних предметов на поверхности обогреваемых конструкций;

- подключать в сеть находящиеся на воздухе нагревательные провода, частично или полностью не забетонированные в конструкции;

- подключать под напряжение нагревательные провода с механическими повреждениями изоляции, а также ненадежно выполненными коммутационными соединениями;

- проводить работы по электрообогреву в сырую погоду, во время оттепели, без ограждения зоны электрообогрева;

- работать при обнаруженной неисправности электропроводки;

- прокладывать провода непосредственно по грунту;

- размещать легковоспламеняющиеся материалы вблизи установок для электрообогрева бетонов.

4.13 При производстве работ по электрообогреву монолитных бетонных и железобетонных конструкций нагревательными проводами необходимо строго руководствоваться требованиями безопасности и охраны труда согласно:

- СНиП 12-03-2001 «Безопасность труда в строительстве. Часть 1. Общие требования»;

- СНиП 12-04-2002 «Безопасность труда в строительстве. Часть 2. Строительное производство;

- ПОТ РМ-016-2001 Межотраслевые правила по охране труда (правила безопасности) при эксплуатации электроустановок;

- ППБ 01-93** Правила пожарной безопасности в Российской Федерации;

- СП 12-135-2002 Безопасность труда в строительстве. Отраслевые типовые инструкции по охране труда.

5 ПОТРЕБНОСТЬ В МАТЕРИАЛЬНО-ТЕХНИЧЕСКИХ РЕСУРСАХ

5.1 Потребность в машинах, механизмах, инвентаре, приспособлениях и материалах для работ по электрообогреву нагревательными проводами монолитных конструкций определяется с учетом специфики выполняемых работ, назначения и технических характеристик средств механизации в соответствии с таблицей 6.

Таблица 6

Ведомость потребности в машинах, механизмах, инвентаре и материалах

№ п/п

Наименование

Марка

(ГОСТ, ТУ)

Ед. изм.

Кол.

Техническая характеристика

1

Комплексная трансформаторная подстанция для обогрева бетона

КТП ТО-80/86

шт.

1

Мощность, кВт                    80

Макс, ток, А                          490

Напряжение на стороне

низкого напряжения, В        55, 65,

75, 85, 95

2

Блок-приставка автоматического регулирования температуры

АРТ-2

шт.

1

Диапазон регулирования,

°С                               от 20 до 100

3

Токоизмерительные клещи

Ц-91

шт.

1

 

4

Диэлектрические

ТУ 38-106359-79

 

 

 

 

перчатки

галоши

коврик

 

пар.

пар.

шт.

2

2

1

 

5

Нагревательный провод

ПНСВ-1,2

м

2160

Могут использоваться трансляционные провода марок ППЖ, ПВЖ, ПРСП и др.

6

Инвентарные секции шинопроводов

-

шт.

8

Длина секции, м                    1,5

Масса, кг                               10

7

Кабель

КРПТ-3×25+1×16 КРПТ-3×50

АПР-4 мм2

м

25

25

72

 

8

Инвентарное сетчатое ограждение

-

м2

75

h = 1,5м

9

Противопожарный щит

-

шт.

1

С углекислыми огнетушителями

10

Сигнальные лампочки

-

шт.

5

На напряжение, В                 42

11

Прожектор

-

шт.

2

Мощность, Вт                      1000

12

Трубки из термоусаживающегося полиэтилена или изоляционная лента

 

кг

0,15

 

13

Технические ртутные термометры

-

шт.

2

предел измерения t = 40 - 100 °C

14

Полиэтиленовая пленка

ТС 0,1×1400

ГОСТ 10354-82

м2

110

Толщина, мм                         d = 0,1

Ширина, м                             В = 1,4

15

Минеральная вата

Марка 50

ГОСТ 9573-96

м2

110

 

6 ТЕХНИКО-ЭКОНОМИЧЕСКИЕ ПОКАЗАТЕЛИ

6.1 В качестве единицы измерения для составления калькуляции затрат труда и разработки календарного плана производства работ при электрообогреве нагревательными проводами принять монолитное перекрытие площадью 108 м2.

6.2 Затраты труда на электробоогрев нагревательными проводами подсчитаны по «Единым нормам и расценкам на строительные, монтажные и ремонтно-строительные работы», введенные в действие в 1987 г. и представлены в таблице 7.

6.3 Продолжительность работы по электрообогреву нагревательными проводами определяется календарным планом производства работ согласно таблице 8.

6.4 Технико-экономические показатели представлены в таблице 9.

Таблица 7

Калькуляция затрат труда

Измеритель конечной продукции - 108 м2 перекрытия

Обоснование (ЕНиР и др. нормы)

Наименование работ

Ед. изм.

Объем работ

Норма времени,

Затраты труда

рабочих, чел.-ч

машинистов, чел.-ч (работа машин, маш.-ч

рабочих, чел.-ч

машинистов, чел.-ч (работа машин, маш.-ч

Е 23-6-2

№ 35

Установка трансформаторной подстанции

шт.

1

2,5

-

2,5

-

Е1-19 п. 2

Переноска инвентарных секций шинопровода (при массе секций 10 кг)

т

0,06

1,2

-

0,072

-

Е 23-6-17

№ 1в

Установка инвентарных секций шинопровода (при массе секций 10 кг)

100 м

0,36

31,0

-

11,2

-

Опытные данные ЦНИИОМТП Е 5-1-2

Установка сетчатого ограждения

м

55

0,1

-

5,5

-

Опытные данные ЦНИИОМТП

Раскладка нагревательного провода

100 м

21,6

0,95

-

20,52

-

Е 23-6-16

№ 3

Присоединение нагревательного провода к секциям шинопровода

100 концов

1,8

7,5

-

13,5

-

Е 23-6-16

№ 3

Присоединение к сети трансформаторной подстанции и секций шинопроводов

100 концов

0,62

7,5

-

4,65

-

Е 23-4-14 табл. 3 п. 2

Проверка состояния изоляции кабеля мегомметром

1 кабель

3

0,24

-

0,72

-

Е4-1-49Б

12

Укладка бетонной смеси

м3

21,6

0,81

0,405

(0,405)

17,5

8,7

(8,7)

Е 4-1-54

№ 10

Устройство теплоизоляции бетона из матов

100 м2

1,08

0,21

-

0,23

-

Тарифно-квалификационный справочник

Электротермообработка бетонной смеси

час

36

1

-

36

-

Е 4-1-54

№ 12

Снятие теплоизоляции бетона из матов

100 м2

1,08

0,22

-

0,24

-

Е 23-6-16

№ 3

Отсоединение секций шинопроводов

100 концов

1,82

2,5

-

4,55

-


Таблица 8

График производства работ


Таблица 9

Технико-экономические показатели

Наименование

Ед. изм.

На перекрытие

На 1 м3 бетона

Объем работ

м3

21,6

 

Затраты труда

ч.-час

83,10

4,07

Затраты электроэнергии

кВт/ч

1641,6

76

Продолжительность работы

час

64

-

7 ПЕРЕЧЕНЬ ИСПОЛЬЗОВАННОЙ НОРМАТИВНО-ТЕХНИЧЕСКОЙ ЛИТЕРАТУРЫ

1 СНиП 3.01.01-85* «Организация строительного производства».

2 СНиП 3.03.01-87 «Несущие и ограждающие конструкции».

3 СНиП 12-03-2001 «Безопасность труда в строительстве. Часть 1. Общие требования».

4 СНиП 12-04-2002 «Безопасность труда в строительстве. Часть 2. Строительное производство».

5 ГОСТ Р 12.4.026-2001 «Цвета сигнальные и знаки безопасности».

6 Руководство по электротермообработке бетона. НИИЖБ Госстроя СССР, Москва, Стройиздат, 1974 г.

7 Руководство по производству бетонных работ в зимних условиях, районах Дальнего Востока, Сибири и Крайнего Севера. ЦНИИОМТП Госстроя СССР, Москва, Стройиздат, 1982 г.

8 Рекомендации по технологии возведения конструкций из монолитного бетона и железобетона, ОАО ПКТИпромстрой, М.

9 ПОТ РМ-016-2001 Межотраслевые правила по охране труда (правила безопасности) при эксплуатации электроустановок.

10 ППБ 01-93** Правила пожарной безопасности в Российской Федерации.

11 СП 12-135-2002 Безопасность труда в строительстве. Отраслевые типовые инструкции по охране труда.

12 ЕНиР Единые нормы и расценки на строительные, монтажные и ремонтно-строительные работы. Сборник.

 




ГОСТЫ, СТРОИТЕЛЬНЫЕ и ТЕХНИЧЕСКИЕ НОРМАТИВЫ.
Некоммерческая онлайн система, содержащая все Российские Госты, национальные Стандарты и нормативы.
В Системе содержится более 150000 файлов нормативно-технической документации, действующей на территории РФ.
Система предназначена для широкого круга инженерно-технических специалистов.

Рейтинг@Mail.ru Яндекс цитирования

Copyright © www.gostrf.com, 2008 - 2026