Крупнейшая бесплатная информационно-справочная система онлайн доступа к полному собранию технических нормативно-правовых актов РФ. Огромная база технических нормативов (более 150 тысяч документов) и полное собрание национальных стандартов, аутентичное официальной базе Госстандарта. GOSTRF.com - это более 1 Терабайта бесплатной технической информации для всех пользователей интернета. Все электронные копии представленных здесь документов могут распространяться без каких-либо ограничений. Поощряется распространение информации с этого сайта на любых других ресурсах. Каждый человек имеет право на неограниченный доступ к этим документам! Каждый человек имеет право на знание требований, изложенных в данных нормативно-правовых актах!

  


 

Открытое акционерное общество

Проектно-конструкторский и технологический
институт промышленного строительства
ОАО ПКТИпромстрой

УТВЕРЖДАЮ

Генеральный директор, к. т. н.

_____________ С. Ю. Едличка

22.04.2003 г.

ТЕХНОЛОГИЧЕСКАЯ КАРТА
НА ОБОГРЕВ МОНОЛИТНЫХ ЖЕЛЕЗОБЕТОННЫХ КОНСТРУКЦИЙ
ТЕПЛОГЕНЕРАТОРАМИ НА ЖИДКОМ ТОПЛИВЕ

48-03 ТК

Главный инженер

____________ A. B. Колобов

Начальник отдела

_________ Б. И. Бычковский

2003

Карта содержит организационно-технологические и технические решения по обогреву монолитных конструкций теплогенераторами на жидком топливе, применение которых при производстве монолитных бетонных и железобетонных работ при отрицательных температурах воздуха должно способствовать ускорению работ, снижению затрат труда и повышению качества возводимых конструкций в зимних условиях.

В технологической карте приведены область применения, организация и технология выполнения работ, требования к качеству и приемке работ, калькуляция затрат труда, график производства работ, потребность в материально-технических ресурсах, решения по безопасности и охране труда и технико-экономические показатели.

Исходные данные и конструктивные решения, применительно к которым разработана карта, приняты с учетом требований СНиП, а также условий и особенностей, характерных для строительства в г. Москве.

Технологическая карта предназначена для инженерно-технических работников строительных и проектных организаций, а также производителей работ, мастеров и бригадиров, связанных с производством монолитных бетонных и железобетонных работ при отрицательных температурах воздуха.

В корректировке технологической карты участвовали сотрудники ОАО ПКТИпромстрой:

- Савина О. А. - компьютерная обработка и графика;

- Черных В. В. - технологическое сопровождение;

- Холопов В. Н. - проверка технологической карты;

- Бычковский Б. И. - техническое руководство, корректура и нормоконтроль;

- Колобов А. В. - общее техническое руководство разработкой технологических карт;

- к. т. н. Едличка С. Ю. - общее руководство разработкой технологических карт.

1 ОБЛАСТЬ ПРИМЕНЕНИЯ

1.1 Сущность применения теплогенераторов на жидком топливе заключается в использовании тепловой энергии, выделяемой теплогенераторами и направленной на открытые или опалубленные поверхности конструкций для их термообработки при бетонировании в зимних условиях.

1.2 Область применения теплогенераторов включает:

- отогрев промороженных бетонных и грунтовых оснований, арматуры, закладных металлических деталей и опалубки, удаление снега и наледи;

- интенсификацию твердения бетона конструкций и сооружений, возводимых в скользящей либо объемно-переставной опалубках, плит перекрытий и покрытий, вертикальных и наклонных конструкций, бетонируемых в металлической опалубке;

- предварительный отогрев зоны стыков сборных железобетонных конструкций и ускорение твердения бетона или раствора при заделке стыков;

- ускорение твердения бетона или раствора при укрупнительной сборке большеразмерных железобетонных конструкций;

- создание тепловой защиты поверхностей, недоступных для устройства теплоизоляции.

1.3 В технологической карте приводятся:

- указания по подготовке конструкций к бетонированию и требования к готовности предшествующих работ и строительных конструкций;

- схемы организации рабочей зоны на время производства работ;

- методы и последовательность производства работ, описание процесса установки обогревающих устройства;

- температурный режим, обеспечивающий необходимый набор прочности;

- профессиональный численно-квалификационный состав рабочих;

- калькуляция затрат труда;

- график выполнения работы.

1.4 Численно-квалификационный состав рабочих, график работы, калькуляция затрат труда, а также потребность в необходимых ресурсах определены применительно к обогреву монолитных конструкций с модулем поверхности Мп от 10 до 14*, возводимых в крупно-щитовой опалубке, размеры секций которой 3,0 × 6,0 м.

* Модуль поверхности бетонируемой конструкции определяется отношением суммы площадей охлаждаемых поверхностей конструкции к ее объему и имеет размерность «М-1».

1.5 Расчет обогрева конструкций произведен с учетом следующих условий:

- температура наружного воздуха                                                    - 20 °С

- скорость ветра                                                                                 5 м/с

- температура укладываемого бетона                                             15 °С

- температура изотермического прогрева                                      40 °С

- скорость разогрева бетона                                                             2,5 °С/час

- время разогрева                                                                               10 час

- прочность бетона к моменту остывания до 0 °С                         70 % R28

Конструкций опалубки - стальной лист толщиной 4 мм, утепленный снаружи минераловатными плитами толщиной 50 мм и закрытый фанерой толщиной 3 мм.

1.6 При привязке настоящей технологической карты к другим конструкциям, на которые распространяется область ее применения, подлежит уточнению расчетная часть, а также калькуляция затрат труда, график производства работ и потребность в материально-технических ресурсах с учетом условий осуществления обогрева.

2 ОРГАНИЗАЦИЯ И ТЕХНОЛОГИЯ ВЫПОЛНЕНИЯ РАБОТ

2.1 До начала работ по обогреву монолитных конструкций теплогенераторами выполняются следующие подготовительные операции:

- выполняют теплотехнический расчет обогрева стен и перекрытий теплогенераторами на жидком топливе;

- устанавливают опалубку, арматурные сетки и каркасы, предварительно очистив от мусора, снега и наледи;

- устраивают теплоизоляцию толщиной 50 мм боковых поверхностей стен;

- устанавливают в рабочей зоне теплогенераторы и опробывают их работу;

- устраивают ограждения и подводят сигнализацию, согласно схеме организации рабочей зоны, представленной на рисунке 1;

- монтируют противопожарный щит с углекислотными огнетушителями, помещают в рабочей зоне указания по безопасности и охране труда;

- проверяют временное освещение рабочих мест;

- обеспечивают рабочее звено необходимым инструментом, индивидуальными средствами защиты;

- проводят инструктаж.

1 - теплогенератор ТА-16 на жидком топливе - 3 шт.; 2 - инвентарное ограждение; 3 - противопожарный щит; 4 - сплошное брезентовое покрытие по всей площади проема

Рисунок 1 - Схема организации рабочей зоны обогрева стен и перекрытий теплогенераторами на жидком топливе.

2.2 В целях ускорения набора прочности монолитных конструкций используется тепловая энергия теплогенераторов, количество которых для обогрева того или иного помещения определяется теплотехническим расчетом. Пример теплотехнического расчета обогрева стен и перекрытий теплогенераторами на жидком топливе приведен ниже.

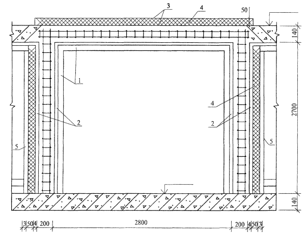
2.3 Принципиальная схема установки опалубки в подлежащем обогреву теплогенераторами помещении высотой 2,7 м представлена на рисунке 2.

1 - металлическая конструкция объемно-переставной опалубки; 2 - палуба стальная = 4 мм; 3 - полиэтиленовая пленка; 4 - теплоизоляция (минераловатные маты) - толщиной 50 мм; 5 - фанера толщиной 3 мм

Рисунок 2 - Принципиальная схема установки опалубки

2.4 Опалубку и арматуру отогревают включением теплогенераторов. В настоящей карте для обогрева бетона согласно расчету приняты три мобильных теплогенератора «Thermobile», техническая характеристика которых приведена в таблице 1.

Общий вид теплогенератора «Thermobile» представлен на рисунке 3.

Таблица 1

Характеристика теплогенераторов «Thermobile»

Модель

Тепловая мощность

Расход топлива, л/час

Производительность вентилятора, м3/час

Емкость бака, л

Масса без топлива, кг

Потребляемый ток при 230 В, А

кВт

ккал/час

ТА 16

18,6

16000

1,8

600

15

24

0,6

Рисунок 3 - Общий вид теплогенератора «Thermobile»

Указанный теплогенератор позволяет автоматически контролировать процесс горения. При перегреве, задымлении или нехватке топлива теплогенератор отключается автоматически. Теплогенератор оборудован термостатом, автоматически поддерживающим заданную температуру в помещении. В качестве топлива могут использоваться керосин или солярка без дополнительной настройки. Среднее время работы на одной заправке составляет 8 - 10 часов.

2.5 Необходимые исходные данные для расчета обогрева включают:

- вид конструкции - стена толщиной 200 мм

перекрытие толщиной 140 мм

- тип опалубки - крупнощитовая

- конструкция опалубки - металлическая с внутренней стороны не утепленная, с наружной стороны - утепление минераловатными матами толщиной 50 мм с защитной крышкой из фанеры толщиной 3 мм. Коэффициент теплопередачи опалубки Коп = 3,2 Вт/м2·°С

- конструкция гидро- и теплоизоляции - полиэтиленовая пленка, минераловатные маты толщиной 50 мм. Коэффициент теплопередачи Кп = 3 Вт/м2·°С

- температура наружного воздуха                                                    - минус 20 °С

- скорость ветра                                                                                 - 5 м/сек

- температура бетона начальная                                                      - tбн = 15 °С

- температура изотермического прогрева                                      - tиз = 40 °С

- скорость разогрева бетонной смеси                                             - 2,5 °С/час

- время разогрева                                                                               - 10 час

- прочность бетона к моменту остывания до 0 °С                         - 70 % R28

Вначале определяем режим обогрева конструкции до приобретения бетоном 70 % R28.

За период разогрева с 15 °С до 40 °С при средней температуре бетона 27,5 °С за 10 часов бетон наберет 15 % R28.

Время остывания с 40 °С изотермического выдерживания до 0 °С определяется по формуле:

                                                    (1)

где С - удельная теплоемкость бетона, кДж/кг·°С (0,84)

g - объемная масса бетона, кг/м3 (2400)

Мп - модуль поверхности, м-1 (11)

3,6 - коэффициент перевода в часы

К - коэффициент теплопередачи, Вт/м2·°С (11)

tизотерм - температура изотермического выдерживания, °С

tocтыв. - температура, до которой остывает бетон, °С

tб.cp. - средняя температура остывания бетона, °С

tн.в. - температура наружного воздуха, °С

тогда

 часов.

Учитывая, что за время остывания бетон наберет незначительную прочность, принимаем, что к концу изотермического прогрева бетон должен набрать 70 % R28.

По кривой набора прочности графиков определяем, что при температуре изотермического прогрева 40 °С оставшиеся 55 % прочности бетон наберет за 54 часа. Таким образом, получаем время разогрева 10 часов, время изотермического прогрева 54 часа и время остывания 4,6 часов.

Мощность, необходимая для разогрева бетонной смеси от 15 °С до 40 °С, определяется по формуле

                                                  (2)

где С - удельная теплоемкость бетонной смеси, кДж/кг·°С

g - объемная масса бетона, кг/м3

V - объем бетона, м3

tиз. - температура изотермического прогрева, °С

tб.н. - температура бетона начальная, °С

t - время разогрева, час

тогда

 кВт

Мощность, необходимая на компенсацию теплопотерь через опалубку, теплозащиту и через проем, закрытый брезентом, определяется по формуле

                  (3)

где К1,2,3 - коэффициент теплопередачи ограждающих конструкций, Вт/м2·°С

S - площадь охлаждения

a - коэффициент, учитывающий скорость ветра

tиз. - температура изотермического прогрева, °С (40 °С)

tн. - температура наружного воздуха, °С (минус 20 °С)

tвн. - температура воздуха внутри помещения, °С (50 °С)

тогда

 кВт

Общая потребная мощность составляет 27,9 кВт + 15,3 кВт = 43,2 кВт.

Для обогрева бетона принимаем три теплогенератора «Thermobile 16 А » мощностью 15,5 тыс. ккал каждый.

Суммарная мощность всех теплогенераторов составляет 15,5 × 3 × 1,16 = 53,94 кВт, что удовлетворяет общую потребную мощность.

Расход тепловой мощности на обогрев бетона до приобретения им 70 % R28 составит

W = (3 × 15,5 × 1,16) × 10 + (2 × 15,5 × 1,16) × 54 = 2481,2 кВтч

Удельный расход тепловой мощности на обогрев 1 м3 бетона составит

2481,2 : 10,6 = 234,1 кВтч

Расход топлива составит

Т = 1,8 × 3 × 10 + 1,8 × 2 × 54 = 248,4 л или 24,8 л/м3

2.6 Подготовка оснований и укладка бетонной смеси производятся с учетом следующих требований:

- при температуре воздуха ниже минус 10 °С арматуру диаметром более 25 мм, а также арматуру прокатных изделий и крупные металлические закладные детали при наличии на них наледи предварительно отогревают теплым воздухом до положительной температуры. Удаление наледи с помощью пара или горячей воды не допускается;

- укладку бетонной смеси производят непрерывно, без перевалок, средствами, обеспечивающими минимальное охлаждение смеси при ее подаче. Температура бетонной смеси, уложенной в опалубку, не должна быть ниже плюс 15 °С.

2.7 Открытые поверхности укрывают сразу после укладки бетонной смеси в конструкцию гидроизоляционным материалом, например, полиэтиленовой пленкой, а поверху укладывают минераловатные плиты в качестве утепляющего слоя. Кроме того, все выпуски арматуры и выступающие закладные части должны быть дополнительно утеплены.

2.8 В случае возникновения перерывов в бетонировании поверхность бетона укрывают и утепляют, а при необходимости обогревают.

2.9 Обогрев бетона начинается после укладки и уплотнения бетонной смеси при устройстве монолитных стен и перекрытий и устройства по перекрытию гидроизоляции и теплоизоляции. К началу обогрева конструкции открытый проем завешивается брезентом.

2.10 Обогрев конструкции производится со скоростью разогрева 2,5 °С в час в соответствии с графиком температурного режима, приведенного на рисунке 4, с учетом предварительного отогрева опалубки и арматуры в течении двух часов.

Рисунок 4 - График температурного режима обогрева конструкций теплогенераторами на жидком топливе

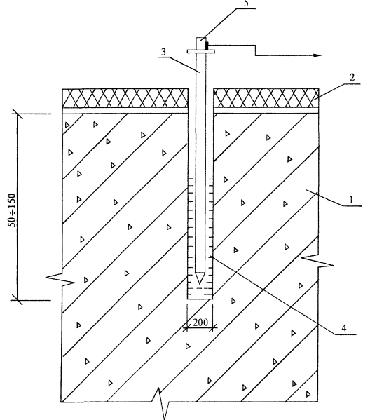
2.11 Температуру бетона измеряют в процессе обогрева не реже чем через 2 часа. Контроль температуры обогреваемого бетона производят техническими термометрами или с помощью датчика температуры, установленного в скважину согласно рисунку 5.

2.12 Температура разогрева бетонной смеси регулируется термостатом, оборудованным в теплогенераторе.

2.13 Во время обогрева бетона необходимо вести наблюдение за состоянием работы теплогенераторов. В случае обнаружения неисправности необходимо немедленно устранить неисправность.

2.14 Скорость остывания бетона в соответствии с графиком температурного режима составляет 8 °С/ч. Для конструкции с модулем поверхности Мп = 10 - 14 скорость остывания допускается не более 10 °С/ч. Два раза в смену замеряют температуру наружного воздуха, результаты замеров фиксируются в журнале работ.

1 - монолитная конструкция; 2 - утеплитель; 3 - пенал из тонкостенной стальной трубки; 4 - индустриальное масло; 5 - термодатчик

Рисунок 5 - Установка термодатчика в обогреваемой конструкции

2.15 Прочность бетона проверяется по фактическому температурному режиму. Соблюдение графика температурного режима, приведенного в п. 2.7, позволяет получить требуемую прочность. После распалубливания прочность бетона, имеющего положительную температуру, рекомендуется определять с помощью молотка конструкции НИИ Мосстроя, ультразвуковым способом или высверливанием и испытанием кернов. Набор прочности бетона при различных температурах его выдерживания определяется графиком, представленным на рисунке 6.

а, в - для бетона класса В25 на портландцементе активностью 400 - 500;

б, г - для бетона класса В25 на шлакопортландцементе активностью 300 - 400

Рисунок 6 - Кривые набора прочности бетоном при различных температурах его выдерживания

2.16 Ниже приведен пример определения прочности бетона.

Определить прочность бетона при скорости подъема температуры 10 °С в час, температуре изотермического прогрева 70 °С, его продолжительности 12 часов и остывании со скоростью 5 °С в час до конечной температуры 6 °С. Начальная температура бетона tн.б. = 10 °С.

Решение:

1. Определяем продолжительность подъема температуры и среднюю температуру подъема:

продолжительность подъема температуры  = 6 час

при средней температуре  = 40 °С

На оси абсцисс откладываем продолжительность нагревания (6 час) точки «А» согласно рисунку 7 и проводим перпендикуляр до пересечения с кривой прочности при 40 °С (точка «Б»).

Величина прочности за время подъема температуры определяется проекцией точки «Б» на ось ординат (точка «В») и составляет 15 %.

Рисунок 7 - Пример определения прочности бетона

Для определения прироста прочности за время изотермического прогрева за 12 часов при температуре 70 °С из точки «Л» на кривой прочности при 70 °С опускаем перпендикуляр на ось абсцисс (точка «М»). Из точки «М» откладываем 12 часов (точка «Н»). Восстанавливая перпендикуляр из точки «Н», получаем точку «К» на кривой прочности при 70 °С. Проецируя точку «К» на ось ординат, получаем точку «З». Отрезок «ВЗ» показывает предел прочности за 12 часов при температуре 70 °С и составляет 46 % R28.

Для определения прироста прочности за время остывания 13 часов  при средней температуре 38 °С  из точки «З» проводим прямую до пересечения с кривой прочности при 38 °С и получаем точку «Ж». Из точки «Ж» на ось абсцисс опускаем перпендикуляр и получаем точку «Е», из которой откладываем 13 часов и получаем точку «Д». Из точки «Д» восстанавливаем перпендикуляр до пересечения с кривой набора прочности при температуре 38 °С (точка «Г»). Проецируя точку «Г» на ось ординат, получаем точку «И». Отрезок «ЗИ» дает нам величину прироста прочности за время остывания 9 % R28.

За весь цикл термообработки в течение 31 часа (6 + 12 + 13) бетон приобретает прочность 15 + 46 + 9 = 70 % R28.

Для каждого конкретного состава бетона строительной лабораторией должен быть уточнен на опытных образцах-кубах оптимальный режим выдерживания.

2.17 Теплоизоляция может быть снята не ранее того момента, когда температура бетона в наружных слоях конструкции достигает + 5 °С и не позже, чем слои остынут до 0 °С. Примерзание опалубки и теплозащиты к бетону не допускается.

2.18 Для предотвращения появления трещин в конструкциях перепад температур между открытой поверхностью бетона и наружным воздухом не должен превышать:

- 20 °С для монолитных конструкций с Мп < 5;

- 30 °С для монолитных конструкций с Мп 5.

В случае невозможности соблюдения указанных условий поверхность бетона после распалубливания укрывается брезентом, толью, щитами и др. материалами.

2.19 Работы по теплоизоляции обогреваемой поверхности, расстановке теплогенераторов и прогреву бетона выполняет звено из трех человек, распределение операций между которыми по обогреву стен и перекрытия представлено в таблице 2.

Таблица 2

Распределение операций по исполнителям

№ п/п

Состав звена по профессиям

Кол. человек

Перечень работ

1

Моторист V разряда

1

Установка и эксплуатация теплогенераторов

2

Бетонщик IV разряда

1

Укладка бетонной смеси в конструкцию, устройство и снятие гидро-, теплоизоляции, брезентовых завес

3

Бетонщик II разряда

1

2.20 Операции по бетонированию, теплоизоляции и обогреву монолитных конструкций производятся в следующей последовательности:

- моторист устанавливает теплогенераторы, производит заправку их топливом, производит запуск теплогенераторов;

- бетонщики производят укладку бетонной смеси, укрывают открытые поверхности бетона гидроизоляцией и теплоизоляцией.

Перед пуском теплогенераторов проем секции должен быть закрыт брезентом. Пуск теплогенератора в работу производится только после выполнения всех требований по безопасности и охране труда.

2.21 Рекомендации по сбережению топлива

В целях сбережения топлива при производстве работ рекомендуется:

- при определении средств и продолжительности транспортирования бетонной смеси исключить возможность ее охлаждения более величины, установленной техническим расчетом;

- применять бетон более высокой относительной прочности при меньшей продолжительности обогрева;

- применять максимально допустимую температуру обогрева бетона, сокращать длительность обогрева за счет учета нарастания прочности при остывании;

- устраивать теплоизоляцию поверхности бетона и опалубки, подвергающихся охлаждению;

- соблюдать теплотехнический режим параметров обогрева;

- применять химические добавки для сокращения продолжительности прогрева.

3 ТРЕБОВАНИЯ К КАЧЕСТВУ И ПРИЕМКЕ РАБОТ

3.1 Контроль качества обогрева монолитных конструкций при отрицательной температуре воздуха с помощью теплогенераторов производят в соответствии с требованиями СНиП 3.01.01-85* «Организация строительного производства» и СНиП 3.03.01-87 «Несущие и ограждающие конструкции».

3.2 Производственный контроль качества обогрева осуществляют прорабы и мастера строительных организаций.

3.3 Производственный контроль включает входной контроль оборудования, эксплуатационных материалов, бетонной смеси и подготовленных под бетонирование конструкций, операционный контроль отдельных производственных операций и приемочный контроль требуемого качества монолитной конструкции в результате обогрева бетона с помощью теплогенератора.

3.4 При входном контроле оборудования, эксплуатационных материалов, бетонной смеси и подготовленного основания проверяются внешним осмотром их соответствие нормативным и проектным требованиям, а также наличие и содержание паспортов, сертификатов, актов на скрытые работы и других сопроводительных документов. По результатам входного контроля должен заполняться «Журнал входного учета и контроля качества получаемых деталей, материалов, конструкций и оборудования».

3.5 При операционном контроле проверяют соблюдение состава подготовительных операций, технологию наладки теплогенераторов, укладки бетона в конструкцию опалубки в соответствии с требованиями рабочих чертежей, норм, правил и стандартов, процесс обогрева, температуру в соответствии с расчетными данными. Результаты операционного контроля фиксируются в журнале работ.

Основными документами при операционном контроле являются технологическая карта и указанные в карте нормативные документы, перечень операций, контролируемых производителем работ (мастером), данные о составе, сроках и способах контроля, требуемые прочностные показатели монолитных стен и перекрытия в результате обогрева.

3.6 При приемочном контроле проверяют прочностные и геометрические параметры стен и перекрытия в результате обогрева бетона теплогенераторами.

3.7 Скрытые работы подлежат освидетельствованию с составлением актов по установленной форме. Запрещается выполнение последующих работ при отсутствии актов освидетельствования предшествующих скрытых работ.

3.8 Результаты операционного и приемочного контроля фиксируются в журнале работ. Основными документами при операционном и приемочном контроле являются настоящая технологическая карта, указанные в ней нормативные документы, а также перечни операций и процессов, контролируемых прорабом или мастером, данные о составе, сроках и способах контроля, изложенные в таблице 3.

Таблица 3

Состав и содержание производственного контроля качества

Кто контролирует

Прораб или мастер

Операции, подлежащие контролю

Операции при входном контроле

Подготовительные операции

Операции при бетонировании конструкций

Операции при приемочном контроле

Состав контроля

Проверка работоспособности теплогенераторов

Устройство защитного ограждения и освещения на участке работ

Очистка основания опалубки, арматуры от снега, наледи. Утепление конструкции

Укладка бетона в конструкцию монолитных стен и перекрытия

Контроль температуры бетона

Контроль прочности бетона

Соответствие готовых монолитных стен и перекрытия требованиям проекта

Методы контроля

Визуально-инструментальная проверка

Визуальная и по приборам

Визуально-инструментальная

Время контроля

До начала бетонирования

До и после бетонирования

В процессе бетонирования, обогрева и выдерживания

После обогрева

Кто привлекается к контролю

Механик строительной организации

Мастер, прораб

Лаборатория

Лаборатория, технадзор

3.9 Контроль температуры обогреваемого бетона производят техническими термометрами или дистанционно с помощью датчика температуры, установленного в скважину. Число точек измерений температуры устанавливается в среднем из расчета не менее одной точки на 10 м2 бетонируемой поверхности. Температуру бетона измеряют в процессе разогрева не реже чем через два часа.

3.10 Скорость подъема температуры при тепловой обработке и скорость остывания бетона по окончании тепловой обработки монолитных конструкций не должны превышать соответственно 15 °С и 10 °С в час.

3.11 Контроль прочности монолитной конструкции осуществляется по фактическому температурному режиму. Прочность бетона по окончании обогрева и остывания, которая должна быть 70 % R28, достигается при условии соблюдения параметров графика, приведенного в п. 2.10.

Прочность бетона в результате обогрева определяется с помощью молотка конструкции НИИ Мосстроя, ультразвуковым способом, либо высверливанием кернов и испытанием.

4 ТРЕБОВАНИЯ БЕЗОПАСНОСТИ И ОХРАНЫ ТРУДА, ЭКОЛОГИЧЕСКОЙ И ПОЖАРНОЙ БЕЗОПАСНОСТИ

4.1 При бетонировании конструкций и эксплуатации теплогенераторов следует соблюдать правила безопасного производства работ согласно СНиП 12-03-2001.

4.2 Места установок теплогенераторов должны быть обеспечены противопожарным оборудованием и инвентарем. Лица, занятые на строительно-монтажных работах, должны быть обучены безопасным способам ведения работ с получением соответствующих удостоверений, а также умению оказать первую доврачебную помощь при травме или ожогах.

4.3 В строительно-монтажной организации должен быть инженерно-технический работник, ответственный за охрану труда и пожарную безопасность, безопасную эксплуатацию оборудования, аттестованный моторист, обученный согласно ГОСТ 12.0.004-90.

4.4 Горючее для заправки теплогенератора должно храниться в отдельном помещении, оборудованном первичными средствами пожаротушения.

4.5 Заправка горючим производится только при выключенных и обязательно остывших двигателях. Выполняют заправку только лица, ответственные за работу теплогенераторов (мотористы).

4.6 В течение всего периода эксплуатации теплогенераторов на строительных площадках должны быть установлены знаки безопасности по ГОСТ Р 12.4.026-2001. Места заправки ночью должны освещаться только электролампами или прожекторами, установленными не ближе 5 м от места заправки.

4.7 Технический персонал, проводящий обогрев бетона, должен пройти обучение в Учебном комбинате и проверку знаний квалификационной комиссией по технике безопасности с получением соответствующих удостоверений.

4.8 Зона, где производится обогрев, ограждается. На видном месте помещаются предупредительные плакаты, правила по безопасности и охране труда, противопожарные средства. В ночное время ограждение зоны освещается, для чего на нем устанавливаются красные лампочки напряжением не более 42 В. Проект временного освещения разрабатывается специализированной организацией по заказу подрядчика.

Участок обогрева бетона должен постоянно находиться под надзором дежурного моториста.

4.9 Запрещается:

- доступ посторонних лиц в зону производства работ;

- размещать легковоспламеняющиеся материалы вблизи прогреваемых конструкций.

4.10 При производстве работ по обогреву монолитных конструкций теплогенераторами на жидком топливе необходимо строго руководствоваться требованиями безопасности и охраны труда согласно:

- СНиП 12-03-2001 «Безопасность труда в строительстве. Часть 1. Общие требования»;

- СНиП 12-04-2002 «Безопасность труда в строительстве. Часть 2. Строительное производство;

- ППБ 01-93** Правила пожарной безопасности в Российской Федерации;

- СП 12-135-2002 Безопасность труда в строительстве. Отраслевые типовые инструкции по охране труда.

5 ПОТРЕБНОСТЬ В МАТЕРИАЛЬНО-ТЕХНИЧЕСКИХ РЕСУРСАХ

5.1 Потребность в машинах, механизмах, инвентаре, приспособлениях и материалах для работ по обогреву монолитных конструкций теплогенераторами определяется с учетом специфики выполняемых работ, назначения и технических характеристик средств механизации в соответствии с таблицей 4.

Таблица 4

Ведомость потребности в машинах, механизмах, инструментах, материалах

№ п/п

Наименование

Марка

Ед. изм.

Кол.

Техническая характеристика

1

Теплогенератор

«Thermobile» ТА16

шт.

3

Мощность, ккал/час 16000 Распространитель - малое государственное предприятие «ЭТЭКА»

2

Термометры технические

 

шт.

6

Предел измерения 140 °С

3

Инвентарное сетчатое ограждение

 

м2

10

h = 1,1 м

4

Полиэтиленовая пленка

ГОСТ 10354-82*

м2

20

Толщина, мм                         0,1

Ширина, м                             1,4

5

Минераловатные маты

ГОСТ 9573-96

м2

20

 

6

Брезент

 

м2

15

 

7

Противопожарный щит

 

шт.

1

С углекислотным огнетушителем

8

Прожектор

 

шт.

2

Мощность, Вт                      1000

9

Бетонная смесь

По проекту

м3

10,6

 

10

Сигнальные лампочки

 

шт.

5

Напряжение, В                      42

11

Комплект знаков по безопасности и охране труда

ГОСТ Р 12.4.026-2001

компл.

1

 

6 ТЕХНИКО-ЭКОНОМИЧЕСКИЕ ПОКАЗАТЕЛИ

6.1 Технико-экономические показатели приведены на бетонируемую конструкцию и на 1 м3 бетона, указанные в калькуляции.

6.2 Затраты труда на обогрев монолитных конструкций теплогенераторами подсчитаны по «Единым нормам и расценкам на строительные, монтажные и ремонтно-строительные работы», введенные в действие в 1987 г. и представлены в таблице 5.

Калькуляция затрат труда составлена на обогрев монолитных конструкций стен и перекрытий, возводимых в крупнощитовой опалубке. Стены толщиной 200 мм, высотой 2,7 м. Перекрытия толщиной 140 мм с размерами в плане 3 × 6 м. Общий объем бетона 10,6 м3.

Таблица 5

Калькуляция затрат труда

Обоснование (ЕНиР и др. нормы)

Наименование работ

Ед. изм

Объем работ

Норма времени

Затраты труда

рабочих, чел.-ч

машинистов, чел.-ч, (работа машин, маш.-ч)

рабочих, чел.-ч

машинистов, чел.-ч, (работа машин, маш.-ч)

Опытные данные

Установка теплогенератора

шт.

3

-

0,8

(0,8)

-

2,4

(2,4)

Опытные данные ЦНИИОМТП

Установка сетчатого ограждения, плакатов по технике безопасности, сигнальных лампочек

м2

10

0,1

 

1,0

 

Е4-1-54 № 10 (применит)

Укрытие проема брезентом

100 м2

0,10

0,21

 

0,02

 

Тарифно-квалификационный справочник

Предварительный отогрев арматуры и опалубки

час

2

 

1

(1)

 

2

(2)

Е4-1-49В № 1в

Бетонирование стен

м3

8,1

1,6

0,8

(0,8)

13,0

6,5

(6,5)

Е4-1-49Б № 10

Бетонирование перекрытия

м3

2,5

1,3

0,65

(0,65)

3,25

1,63

(1,63)

Е4-1-54

№ 10 к = 2

Устройство гидро- и теплоизоляции

100 м2

0,18

0,21

-

0,08

-

Тарифно-квалификационный справочник

Обогрев бетонной смеси (в т.ч. изотермический прогрев)

час

64

 

1,0

(1,0)

 

64,0

(64,0)

Е4-1-54

№ 12 к = 2

Снятие теплоизоляции

100 м2

0,18

0,22

-

0,08

-

Е4-1-54 № 12 (применит)

Снятие брезента укрытия с проема

100 м2

0,10

0,22

 

0,02

 

Опытные данные

Демонтаж теплогенераторов

шт.

3

-

0,8

(0,8)

-

2,4

(2,4)

Итого:

17,45

78,93

(78,93)

6.3 Продолжительность работы на обогрев конструкций теплогенераторами определяется календарным планом производства работ согласно таблице 6.


Таблица 6

Календарный план производства работ


6.4 Технико-экономические показатели представлены в таблице 7.

Таблица 7

Технико-экономические показатели

№ п/п

Наименование

Ед. изм.

Кол.

Примеч.

1

Затраты труда:

 

 

 

 

Всего

чел.-час

96,38

 

 

На 1 м3 бетона

чел.-час

9,1

 

2

Затраты машинного времени

маш.-ч.

78,9

 

 

Расход топлива:

 

 

 

 

Всего

л

345,6

 

 

На 1 м3 бетона

л

38,4

 

3

Продолжительность разогрева

час

10

 

4

Скорость разогрева

°С/час

2,5

 

5

Продолжительность изотермической выдержки

час

54

 

6

Продолжительность остывания

час

4,5

 

7

Скорость остывания

°С/час

8

 

8

Полный цикл изотермической обработки

час

68,5

 

9

Нормативная прочность бетона к концу изотермической обработки

% R28

70

 

7 ПЕРЕЧЕНЬ ИСПОЛЬЗОВАННОЙ ЛИТЕРАТУРЫ

1 СНиП 3.01.01-85* «Организация строительного производства».

2 СНиП 3.03-01-87 «Несущие и ограждающие конструкции».

3 СНиП 12-03-2001 «Безопасность труда в строительстве. Часть 1. Общие требования».

4 СНиП 12-04-2002 «Безопасность труда в строительстве. Часть 2. Строительное производство».

5 ГОСТ Р 12.4.026-2001 «Цвета сигнальные, знаки безопасности и разметка сигнальная».

6 ППБ 01-93** Правила пожарной безопасности в Российской Федерации.

7 СП 12-135-2002 Безопасность труда в строительстве. Отраслевые типовые инструкции по охране труда.

8 Руководство по электротермообработке бетона. НИИЖБ Госстроя СССР. Москва, Стройиздат, 1974 г.

9 Руководство по производству бетонных работ в зимних условиях, районах Дальнего Востока, Сибири и Крайнего Севера. ЦНИИОМТП Госстроя СССР, Москва, Стройиздат, 1982 г.

10 Рекомендации по технологии возведения конструкций из монолитного бетона и железобетона. ОАО ПКТИпромстрой, М., 1998 г.

СОДЕРЖАНИЕ

 

 




ГОСТЫ, СТРОИТЕЛЬНЫЕ и ТЕХНИЧЕСКИЕ НОРМАТИВЫ.
Некоммерческая онлайн система, содержащая все Российские Госты, национальные Стандарты и нормативы.
В Системе содержится более 150000 файлов нормативно-технической документации, действующей на территории РФ.
Система предназначена для широкого круга инженерно-технических специалистов.

Рейтинг@Mail.ru Яндекс цитирования

Copyright © www.gostrf.com, 2008 - 2026