Крупнейшая бесплатная информационно-справочная система онлайн доступа к полному собранию технических нормативно-правовых актов РФ. Огромная база технических нормативов (более 150 тысяч документов) и полное собрание национальных стандартов, аутентичное официальной базе Госстандарта. GOSTRF.com - это более 1 Терабайта бесплатной технической информации для всех пользователей интернета. Все электронные копии представленных здесь документов могут распространяться без каких-либо ограничений. Поощряется распространение информации с этого сайта на любых других ресурсах. Каждый человек имеет право на неограниченный доступ к этим документам! Каждый человек имеет право на знание требований, изложенных в данных нормативно-правовых актах!

  


 

ОТКРЫТОЕ АКЦИОНЕРНОЕ ОБЩЕСТВО

ПРОЕКТНО-КОНСТРУКТОРСКИЙ И ТЕХНОЛОГИЧЕСКИЙ
ИНСТИТУТ ПРОМЫШЛЕННОГО СТРОИТЕЛЬСТВА

ОАО ПКТИпромстрой

ТЕХНОЛОГИЧЕСКАЯ КАРТА
НА ЭЛЕКТРОДНЫЙ ПРОГРЕВ
КОНСТРУКЦИЙ ИЗ МОНОЛИТНОГО БЕТОНА

Введено в действие Распоряжением Управления развития Генплана
№ 6 от 07.04.98

Москва - 1997

АННОТАЦИЯ

Технологическая карта на электродный прогрев конструкций из монолитного бетона при отрицательных температурах воздуха разработана ОАО ПКТИпромстрой в соответствии с протоколом семинара-совещания «Современные технологии зимнего бетонирования», утвержденным первым заместителем премьера Правительства Москвы В.И. Ресиным, и техническим заданием на разработку комплекта технологических карт на производство монолитных бетонных работ при отрицательных температурах воздуха, выданным Управлением развития генплана г. Москвы.

Карта содержит организационно-технологические и технические решения по электродному прогреву конструкций из монолитного бетона, применение которых должно способствовать ускорению работ, снижению затрат труда и повышению качества возводимых конструкций в зимних условиях.

В технологической карте приведены область применения, организация и технология выполнения работ, требование к качеству и приемке работ, калькуляция затрат труда, график производства работ, потребность в материально-технических ресурсах, решения по технике безопасности и технико-экономические показатели.

Исходные данные и конструктивные решения, применительно к которым разработана карта, приняты с учетом требований СНиП, а также условий и особенностей, характерных для строительства в г. Москве.

Технологическая карта предназначена для инженерно-технических работников строительных и проектных организаций, а также производителей работ, мастеров и бригадиров, связанных с производством бетонных работ.

Технологическую карту разработали:

Ю.А. Ярымов - гл. инженер проекта, руководитель работы, И.Ю. Томова - ответственный исполнитель, А.Д. Мягков, к.т.н. - ответственный исполнитель от ЦНИИОМТП, В.Н. Холопов, Т.А. Григорьева, Л.В. Ларионова, И.Б. Орловская, Е.С. Нечаева - исполнители.

В.В. Шахпаронов, к.т.н. - научно-методическое руководство и редактирование,

С.Ю. Едличка, к.т.н. - общее руководство разработкой комплекта технологических карт.

СОДЕРЖАНИЕ

1. ОБЛАСТЬ ПРИМЕНЕНИЯ

1.1. Областью применения электродного прогрева монолитных конструкций в соответствии с «Руководством по электротермообработке бетона» (НИИЖБ, Стройиздат, 1974) являются монолитные бетонные и малоармированные конструкции. Применение этого метода наиболее эффективно для фундаментов, колонн, стен и перегородок, плоских перекрытий, бетонных подготовок под полы.

В зависимости от принятой схемы расстановки и подключения электродов электродный прогрев разделяется на сквозной, периферийный и с использованием в качестве электродов арматуры.

1.2. Сущность электродного прогрева заключается в том, что выделение тепла происходит непосредственно в бетоне при пропускании через него электрического тока.

1.3. В технологической карте приводятся:

- схемы электродного прогрева;

- указания по подготовке конструкций к бетонированию, прогреву и требования к готовности предшествующих работ и строительных конструкций;

- схема организации рабочей зоны на время производства работ;

- методы и последовательность производства работ, описание установки и подключения электрооборудования и осуществления прогрева бетона;

- электрические параметры прогрева;

- профессиональный и численно-квалификационный состав рабочих;

- график выполнения работ и калькуляция затрат труда;

- указание по контролю качества и приемке работ;

- решения по технике безопасности;

- потребность в необходимых материально-технических ресурсах, электротехническом оборудовании и эксплуатационных материалах;

- рекомендации по энергосбережению;

- технико-экономические показатели.

1.4. Технологической картой рассматривается электродный сквозной прогрев монолитного фундамента объемом 3,16 м3 размерами в плане 1800 ´ 1800 мм и высотой 1200 мм с применением металлической опалубки.

1.5. Расчет прогрева произведен с учетом температуры наружного воздуха -20 °С, применения гидро- и теплоизоляции в виде полиэтиленовой пленки и минераловатных матов толщиной 50 мм, металлической опалубки, утепленной минераловатными матами толщиной 50 мм и защищенной фанерой толщиной 3 мм, удельного электрического сопротивления бетонной смеси в начале прогрева 9 Ом×м и прочности бетона к моменту остывания до 0 °С - 50 % R28.

1.6. Численно-квалификационный состав рабочих, график работы и калькуляция трудовых затрат, а также потребности в необходимых материально-технических ресурсах и технико-экономические показатели определены исходя из расчета прогрева шести фундаментов, расположенных на одной захватке рабочей зоны.

1.7. Электродный прогрев монолитных конструкций может быть совмещен с другими способами интенсификации твердения бетона, например предварительным прогревом бетонной смеси, использованием различных химических добавок.

Применение противоморозных добавок, в состав которых входит мочевина, не допускается из-за разложения мочевины при температуре выше 40 °С. Применение поташа в качестве противоморозной добавки не разрешается вследствие того, что прогретые бетоны с этой добавкой имеют значительный (более 30 %) недобор прочности, характеризуются пониженной морозостойкостью и водонепроницаемостью.

1.8. Привязка настоящей технологической карты к иным конструкциям и условиям производства работ при отрицательных температурах воздуха требует внесения изменений в график работ, калькуляцию трудовых затрат, потребность в материально-технических ресурсах и электрические параметры прогрева.

2. ОРГАНИЗАЦИЯ И ТЕХНОЛОГИЯ ВЫПОЛНЕНИЯ РАБОТ.

2.1. До начала работ по электродному прогреву бетонной смеси выполняют следующие подготовительные операции:

- на ровной площадке вблизи захватки устанавливают комплектную трансформаторную подстанцию КТП ТО-80/86;

- подключают КТП ТО-80/86 к питающей сети и опробывают на холостом ходу;

- изготавливают инвентарные секции шинопроводов (рис. 1);

- устанавливают секции шинопроводов у обогреваемых конструкций (рис. 2);

- выполняют мероприятия по технике безопасности;

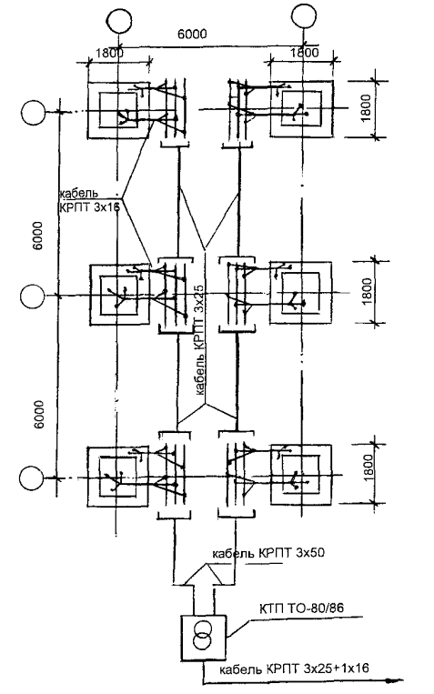
- соединяют шинопроводы между собой кабелем марки КРПТ 3 ´ 25; кабелем марки КРПТ 3 ´ 50 подсоединяют их к комплектной подстанции КТП ТО-80/86 или другим трансформаторам, используемых для этих целей;

- очищают от мусора, снега, наледи и устанавливают в рабочее положение опалубку и арматуру.

2.2. Сразу же после укладки бетонной смеси в опалубку производят укрытие открытых поверхностей бетона гидроизоляцией (полиэтиленовая пленка) и теплоизоляцией (минераловатные маты толщиной 50 мм).

2.3. Через слои гидро- и теплоизоляции в бетонную смесь забивают электроды согласно схемы (рис. 3).

2.4. В качестве электродов приняты стальные стержни диаметром 6 мм, длиной 1000 мм.

2.5. Электроды устанавливают таким образом, чтобы их концы выступали из бетона на 10 - 20 см.

Расстояние между электродами принимают в зависимости от температуры наружного воздуха и принятого напряжения (таблица 1).

2.6. Производят коммутацию электродов между собой и подключают их к секциям шинопроводов (рис. 3).

2.7. Подключают шинопроводы к питающей сети (рис. 4).

2.8. Перед подачей напряжения на электроды проверяют правильность их установки и подключения, качество контактов, расположение температурных скважин или установленных термодатчиков, правильность укладки утеплителя.

2.9. Подают напряжение на электроды в соответствии с электрическими параметрами (таблица 1).

2.10. Сразу после подачи напряжения дежурный электрик повторно проверяет все контакты, устраняет причину короткого замыкания, если оно произошло.

2.11. При необходимости отключения стержневого электрода рядом устанавливают новый и подключают его.

Электрические параметры электродного прогрева

Таблица 1

Температура наружного воздуха, °С

Напряжение питания, В

Расстояние между электродами, см

Удельная мощность, кВт/м3

1

2

3

4

-5

55

20

2,5

65

30

75

50

-10

55

10

3,0

65

25

75

40

85

50

-15

65

15

3,5

75

30

85

45

95

55

-20

75

20

4,5

85

30

95

40

2.12. Через каждые два часа во время изотермического прогрева замеряют температуру бетона. Для замеров температуры устраивают специальные скважины (рис. 5, 6).

2.13. Прогрев бетонной смеси осуществляют в соответствии с нижеприведенным графиком при скорости подъема температуры -6 °С/час.

Во время разогрева температуры бетона контролируется не реже чем через 1 час.

2.14. В период подъема температуры, на стадии изотермического прогрева, а также после каждого переключения напряжения необходимо следить за показаниями измерительных приборов, состоянием контактов и отпаек.

2.15. Скорость разогрева бетона регулируется повышением или понижением напряжения на низкой стороне трансформатора.

2.16. При изменении температуры наружного воздуха в процессе прогрева выше или ниже расчетной соответственно понижают или повышают напряжение на низкой стороне трансформатора.

2.17. Прогрев осуществляется на пониженном напряжении 55 - 95 В.

2.18. Набор прочности бетона при различных температурах его выдерживания определяется графиком (рис. 7).

Пример определения прочности по графику приведен на рис. 8.

2.19. Скорость остывания бетона по окончании тепловой обработки для конструкций с модулем поверхности Мп = 5 - 10 и Мп > 10 - не более соответственно 5 °С и 10 °С в час. Температуру наружного воздуха замеряют один-два раза в сутки, результаты замеров фиксируются в журнале.

2.20. Не реже двух раз в смену, а в первые три часа с начала прогрева бетона через каждый час, измеряют силу тока и напряжение в питающей цепи. Визуально проверяют отсутствие искрения в местах электрических соединений.

2.21. Прочность бетона обычно проверяют по фактическому температурному режиму. После распалубливания прочность бетона, имеющего положительную температуру, рекомендуется определять с помощью молотка конструкции НИИМосстроя, ультразвуковым способом или высверливанием и испытанием кернов.

2.22. Теплоизоляция и опалубка могут быть сняты не ранее того момента, когда температура бетона в наружных слоях конструкции достигает плюс 5 °С и не позже, чем слои остынут до 0. Не допускается примерзания опалубки гидро- и теплоизоляции к бетону.

2.23. Для предотвращения появления трещин в конструкциях перепад температур между открытой поверхностью бетона и наружным воздухом не должен превышать:

а) 20 °С для монолитных конструкций с Мп < 5;

б) 30 °С для монолитных конструкций с Мп > 5.

В случае невозможности соблюдения указанных условий поверхность бетона после распалубливания укрывают брезентом, толью, щитами и т.д.

2.24. Подготовку оснований и укладку бетонной смеси в конструкцию при отрицательных температурах воздуха производят с учетом следующих требований:

состояние оснований, на которые укладывают бетонную смесь, а также способ укладки должны исключать возможность деформации основания и замерзания бетона в контакте с основанием до приобретения им требуемой прочности;

снимать наледь с опалубки арматуры с помощью пара или горячей воды не допускается. При температуре воздуха ниже -10 °С арматуру диаметром более 25 мм, а также арматуру прокатных профилей и крупные металлические закладные детали следует отогревать до положительной температуры. Все выступающие закладные части и выпуски должны быть утеплены;

укладку бетонной смеси производят непрерывно, без перевалок, средствами, обеспечивающими минимальное охлаждение смеси при ее подаче;

температура бетонной смеси, уложенной в опалубку, должна быть не ниже +5 °С.

2.25. Электродный прогрев бетона фундаментов выполняет звено из 3-х человек (табл. 2).

Распределение операций по исполнителям

Таблица 2

№ п/п

Состав звена по профессиям

Кол-во чел.

Перечень работ

1.

Электромонтер V р.

1

Подсоединения КТП ТО-80/86 к питающей сети и к секциям шинопровода, расстановка и коммутация электродов

2.

Электромонтер III р.

1

Расстановка шинопроводов, расстановка и коммутация электродов

3.

Бетонщик III р.

1

Заготовка электродов, устройство гидро- и теплоизоляции

2.26. Прогрев монолитных фундаментов осуществляется в следующей последовательности:

бетонщик заготавливает из стали диаметром 6 мм электроды необходимой длины и в нужном количестве;

электромонтер V р. производит разделку концов жил кабеля, подсоединяет его к трансформаторной подстанции КТП ТО-80/86;

электромонтер III р. расставляет инвентарные секции шинопроводов вдоль захватки, соединяет их между собой;

электромонтер V р. подсоединяет секции шинопроводов к трансформаторной подстанции, производит заземление и опробывает работу на холостом ходу. После укладки бетонной смеси в опалубку бетонщик укрывает верхние поверхности конструкции гидро- и теплоизоляцией;

электромонтеры V и III р. расставляют электроды в конструкцию согласно выбранной схемы, производят коммутацию электродов между собой и подключают их к секциям шинопровода. Подают напряжение на электроды. Рекомендации по энергосбережению.

В целях энергосбережения при электродном прогреве монолитных конструкций рекомендуется:

- при определении средств и продолжительности транспортирования бетонной смеси не допускать возможности охлаждения ее более чем установлено технологическим расчетом, нарушения однородности и снижения заданной подвижности на месте укладки;

- применять бетонные смеси более высокой относительной прочности при малой продолжительности прогрева (портландцемент, быстротвердеющий портландцемент);

- использовать химические добавки с целью сокращения продолжительности термообработки, улучшения электропроводности бетонных смесей и получения повышенной прочности, приобретаемой бетоном сразу после прогрева;

- применять максимально допустимую температуру термообработки бетона, с учетом нарастания прочности бетона при остывании;

- следить за качеством и плотностью соединений контактов;

- не допускать намокания теплоизоляционных слоев;

- надежно производить теплоизоляцию поверхности бетона и опалубки, подвергающихся охлаждению;

- соблюдать режим электрообработки.

3. ТРЕБОВАНИЯ К КАЧЕСТВУ И ПРИЕМКЕ РАБОТ

3.1. Контроль качества электродного прогрева монолитной конструкции при отрицательных температурах воздуха производят в соответствии с требованиями СНиП 3.01.01-85* «Организация строительного производства», СНиП III-4-80* «Техника безопасности в строительстве» и СНиП 3.03.01-87 «Несущие и ограждающие конструкции».

3.2. Производственный контроль качества электродного прогрева осуществляют прорабы и мастера, с участием специалистов энергетических служб строительных организаций.

3.3. Производственный контроль включает входной контроль электротехнического оборудования, эксплуатационных материалов и бетонной смеси, операционный контроль отдельных производственных операций и приемочный контроль требуемого качества монолитной конструкции.

3.4. При входном контроле электротехнического оборудования, эксплуатационных материалов и бетонной смеси проверяют внешним осмотром их соответствие нормативным и проектным требованиям, а также наличие и содержание паспортов, сертификатов и других сопроводительных документов.

При операционном контроле проверяют соблюдение состава подготовительных операций, технологии наладки электрообогревающего оборудования и устройств, укладки бетона в опалубку бетонируемой конструкции в соответствии с требованиями СНиП, процесс электродного прогрева, температуру, силу тока и напряжение в соответствии с расчетными данными.

При приемочном контроле проверяют качество монолитной конструкции в результате электродного прогрева:

Результаты операционного контроля фиксируются в журнале работ.

Основными документами при операционном контроле является настоящая технологическая карта и указанные в карте нормативные документы, перечни операций контролируемых производителем работ (мастером), данные о составе, сроках и способах контроля, требуемые прочностные показатели фундамента в результате прогрева (табл. 3).

3.5. Контроль температуры прогреваемого бетона следует производить техническими термометрами или дистанционно с помощью термодатчиков, устанавливаемых в скважину. Число точек измерения температуры устанавливают в среднем из расчета не менее одной точки на каждые 3 м3 бетона, 6 м длины конструкции, 50 м2 площади перекрытия, 40 м2 площади подготовки полов и т.д.

Температуру бетона проверяют не реже чем через 2 часа.

Не реже двух раз в смену, а в первые три часа с начала прогрева бетона через каждый час, измеряют силу тока и напряжение в питающей цепи. В местах соединения проводов не должно быть искрения.

3.6. Скорость подъема температуры при тепловой обработке бетона не выше 6 °С/ч;

- скорость остывания бетона по окончании тепловой обработки для конструкций с модулем 5 - 10 - 5 °С/ч

свыше 10 - 10 °С/ч

3.7. Контроль прочности бетона осуществляют по температуре бетона в процессе выдерживания.

Прочность прогретого бетона, имеющего положительную температуру, определяют с помощью молотка НИИМосстроя, ультразвуковым способом либо высверливанием кернов и испытанием.


СОСТАВ И СОДЕРЖАНИЕ ПРОИЗВОДСТВЕННОГО КОНТРОЛЯ КАЧЕСТВА

Таблица 3

Кто контролирует

Прораб или мастер

Операции, подлежащие контролю

Операции при входном контроле

Подготовительные операции

Операции по устройству фундамента и прогреву бетона

Операции при приемочном контроле

Состав контроля

проверка изоляции проводов и работоспособность коммутационной аппаратуры, трансформаторов и др. электрооборудования, используемого в работе

устройство защитного ограждения и световой сигнализации на участке работ

очистка основания опалубки, арматуры от снега, наледи. Установка стержневых электродов. Утепление конструкции

укладка бетона в конструкцию монолитного фундамента

контроль величины силы тока и напряжения питающей цепи

контроль температуры бетона

контроль прочности бетона

соответствие готового монолитного фундамента требованиям проекта

Методы контроля

визуально-инструментальная проверка

визуальная и по приборам

визуально-инструментальная

Время контроля

до начала бетонирования

до и после бетонирования

в процессе электрообогрева бетона

после электрообогрева

Кто привлекается к контролю

энергетик строительной организации

мастер, прораб

электромонтеры и лаборатория

лаборатория, технадзор


4. КАЛЬКУЛЯЦИЯ ЗАТРАТ ТРУДА

Калькуляция затрат труда составлена на электродный прогрев шести фундаментов с общим объемом бетона 19 м3.

Таблица 4

Обоснование

Наименование работ

Ед. изм.

Объем работ

Норма времени, чел.-час

Затраты труда чел.-час

Состав звена

1

2

3

4

5

6

7

ЕНиР 1987

§ Е23-6-2 п. 35

Установка трансформаторной подстанции в зоне прогрева

1 шт.

1 шт.

2,5

2,5

Электромонтеры

V р. – 1 чел.

III р. - l чел.

ЕНиР 1987

§ Е1-19 п. 2 «а»

Переноска и установка на место инвентарных секций шинопровода при массе секций 10 кг

т

0,06

1,2

0,072

Электромонтер

III р. - 1 чел.

Е22-1-40

п. 1 «а»

Заготовка электродов

10 перерезов

20

0,08

1,6

Бетонщик

III р. - 1 чел.

Опытные данные ЦНИИОМТП

Установка защитного ограждения

м2

56

0,1

5,6

Бетонщик

III р. - 1 чел.

электромонтер III р. - 1 чел.

Е4-1-50 п. 2

Установка магистрали и присоединении к ней электродов, присоединение трансформатор ной подстанции, укладка электродов в тело бетона. Снятие подводящих проводов магистрали после прогрева

1 м3 прогретого бетона

19

0,98

18,62

Электромонтер

V р. - 1 чел.

III р. - 1 чел.

ЕНиР 1987

§ Е23-4-14 табл. 3 п. 2

Проверка состояния кабеля мегометром

1 кабель

7

0,24

1,7

Электромонтер

V р. - 1 чел.

Тарифно-квалификационный справочник

Электропрогрев бетонной смеси

час

17

1

17

Электромонтер

III р. - 1 чел.

ЕНиР 1987

Е4-1-54; п. 10

Устройство гидро- и теплоизоляции

100 м2

0,195

0,21

0,04

Бетонщик

III р. - 1 чел.

ЕНиР 1987

Е4-1-54 п. 12

Снятие гидро- и теплоизоляции

100 м2

0,195

0,22

0,04

Бетонщик

III р. - 1 чел.

Е22-1-40 п. 1 «а»

Срезка электродов

10 перерезов

20

0,08

1,6

Бетонщик

III р. - 1 чел.

ЕНиР 1987

§ Е23-6-16 п. 3

К = 0,3

Отсоединение секций шинопроводов

100 концов

1,08

2,5

2,7

Электромонтер

III р. - 1 чел.



6. ПОТРЕБНОСТЬ В МАТЕРИАЛЬНО-ТЕХНИЧЕСКИХ РЕСУРСАХ

Таблица 5

№ п/п

Наименование

Марка (ГОСТ, ТУ)

Ед. изм.

Кол-во

Техническая характеристика

1.

Комплектная трансформаторная подстанция для обогрева бетона

КТП ТО-80/86

шт.

1

Мощность - 80 кВт

Макс. ток 490 А

Напряжение 55, 65, 75, 85, 95 В

2.

Токоизмерительные клещи

Ц-91

шт.

1

 

3.

Инвентарные секции шинопроводов

-

шт.

6

Длина секции - 1,5 м, масса 10 кг

4.

Кабель

КРПТ - 3 ´ 25 + 1 ´ 16

м

25

ГОСТ 13497-68

КРПТ - 3 ´ 50

 

50

 

КРПТ 3 ´ 25

 

12

 

КРПТ - 3 ´ 16

 

25

 

АПР - 4 мм2

 

250

 

5.

Сталь арматурная - электроды

ГОСТ 5781-82

кг

50

Æ 6 мм

6.

Инвентарное сетчатое ограждение

-

м2

56

h = 1,5 м

7.

Изоляционная лента

-

кг

0,5

 

8.

Полиэтиленовая пленка Тс 0,1´1400

ГОСТ 10354-82

м2

20

толщина d = 0,1 мм

ширина В = 1,4 м

9.

Диэлектрические

ТУ 38-106359-79

 

 

 

перчатки

 

пар.

2

 

галоши

 

пар.

2

 

коврик

 

шт.

1

 

10.

Противопожарный щит

-

шт.

1

С углекислотными огнетушителями

11.

Прожектор

-

шт.

2

Мощность - 1000 Вт

12.

Минеральная вата

ГОСТ 9573-82

Марка - 50

м2

20

 

7. РЕШЕНИЯ ПО ТЕХНИКЕ БЕЗОПАСНОСТИ

7.1 При эксплуатации стержневых электродов из арматурной стали и силового питающего электрооборудования помимо общих требований правил безопасного производства работ согласно СНиП III-4-80* «Техника безопасности в строительстве» следует руководствоваться «Правилами технической эксплуатации и безопасности электроустановок промышленных предприятий».

7.2 Электробезопасность на строительной площадке, участках производства работ и рабочих местах необходимо обеспечивать в соответствии с требованиями ГОСТ 12.1.013-78 «Строительство. Электробезопасность. Общие требования». Лица занятые на строительно-монтажных работах, должны быть обучены безопасным способам ведения работ, а также уметь оказать первую доврачебную помощь при электротравме.

7.3 В строительно-монтажной организации должен быть инженерно-технический работник, ответственный за безопасную эксплуатацию электрохозяйства организации, имеющего квалификационную группу по технике безопасности не ниже IV.

7.4 При устройстве электрических сетей необходимо предусматривать возможность отключения всех электроустановок в пределах отдельных участков и объектов производства работ.

7.5 Работы, связанные с присоединением (отсоединением) проводов, должны выполняться специалистами по электротехнике, имеющими соответствующую квалификационную группу по технике безопасности.

7.6 В течение всего периода эксплуатации электроустановок на строительных площадках должны быть установлены знаки безопасности по ГОСТу 12.4.026.76

7.7 Технический персонал, проводящий прогрев бетона, должен пройти обучение и проверку знаний квалификационной комиссией по технике безопасности с получением соответствующих удостоверений. Дежурные электромонтеры должны иметь квалификацию не ниже III группы.

7.8 Рабочих, занятых на прогреве бетона, снабжают резиновыми сапогами или диэлектрическими галошами, а электромонтеров, кроме того, резиновыми перчатками. Подключение нагревательных проводов, замеры температуры техническими термометрами производят при отключенном напряжении.

7.9 Зона, где производится прогрев бетона, должна быть ограждена. На видном месте помещаются предупредительные плакаты, правила по технике безопасности, противопожарные средства, в ночное время ограждение зоны должно быть освещено, для чего на нем устанавливаются красные лампочки, автоматически загорающиеся при подаче напряжения в линию прогрева.

7.10 Все металлические токоведущие части электрооборудования и арматуру следует надежно заземлить, присоединив к ним нулевой провод питающего кабеля. При использовании защитного контура заземления перед включением напряжения необходимо проверить сопротивление контура, которое должно быть не более 4 Ом.

Около трансформаторов, рубильников и распределительных щитков устанавливают настилы, покрытые резиновыми ковриками.

7.11 Проверку сопротивления изоляции проводов с помощью мегомметра производит персонал, квалификационная группа по технике безопасности которого не ниже III.

Концы проводов, которые могут оказаться под напряжением, необходимо изолировать или оградить.

Участок прогрева бетона должен постоянно находиться под надзором дежурного электрика.

7.12 Запрещается:

подключать под напряжение провода с механическими повреждениями изоляции, а также ненадежно выполненными коммутационными соединениями;

проводить работы по прогреву в сырую погоду, во время оттепели, без ограждения зоны прогрева;

работать при обнаруженной неисправности электропроводки;

прокладывать провода непосредственно по грунту;

размещать легковоспламеняющиеся материалы вблизи установок для прогрева бетонов, доступ посторонних лиц в зону прогрева.

8. ТЕХНИКО-ЭКОНОМИЧЕСКИЕ ПОКАЗАТЕЛИ

Наименование

ед. изм.

На весь объем

На 1 м3 бетона

Затраты труда

ч.час

57,44

3,03

Расход электроэнергии

кВт×ч

1450,44

76,5

Рис. 1. Инвентарная секция шинопроводов (крайняя секция):

1 - разъем; 2 - деревянная стойка; 3 - болты; 4 - токопроводы (полоса 3 ´ 40 мм)

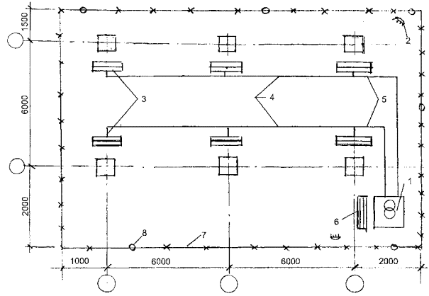
Рис. 2. Схема организации рабочей зоны

1 - комплектная трансформаторная подстанция КТП ТО-80/86; 2 - прожектор; 3 - секции шинопровода; 4 - кабель КРПТ 3 ´ 2,5; 5 - кабель КРПТ 3 ´ 50; 6 - диэлектрический коврик; 7 - инвентарные ограждение; 8 - сигнальная лампа красного цвета

Рис. 3. Схема подключения электродов к шинопроводам

Рис. 4. Схема подключения шинопроводов к питающей сети

Рис. 5. Установка термодатчика в обогреваемой конструкции

1 - монолитная конструкция; 2 - утеплитель;

3 - пенал из тонкостенной стальной трубки;

4 - индустриальное масло; 5 - термодатчик

Примечание:

1. Во время разогрева и изотермического прогрева температура бетона замеряется по скважинам № 1 и 2, во время остывания по скважинам № 1, 2, 3.

2. Электроды условно не показаны.

Рис. 6. Схема расстановки температурных скважин

Рис. 7. Кривые набора прочности бетоном при различных температурах его выдерживания:

а, в - для бетона класса В25 на портландцементе активностью 400 - 500;

б, г - для бетона класса В25 на шлакопортландцементе активностью 300 - 400

Пример: Определить прочность бетона в конструкции с Мп = 4 на портландцементе марки 400 при скорости подъема температуры 10 °С в час, температуре изотермического прогрева 70 °С, его продолжительности 12 ч и остывании со скоростью 5 °С в час до конечной температуры 8 °С.

Решение:

1. Определить величину относительной прочности за период подъема температуры

продолжительность подъема температуры

при средней температуре

Для этого из точки «А» (см. график) проводим перпендикуляр до пересечения с кривой прочности при 40 °С (точка «Б»).

Величина прочности за время подъема температуры определяется проекцией точки «Б» на ось ординат (точка «В») и составляет 15 %.

Определяем прирост относительной прочности при изотермическом прогреве за 12 часов как проекцию участка (точки «Л» и «К») кривой прочности при 70 °С (отрезок «ВЗ»), что соответствует 46 % R28.

Определяем прирост прочности бетона за 12 часов остывания по кривой прочности при 38 °С как проекцию участка «ЖГ» на ось ординат. Отрезок «ЗИ» соответствует 9 % R28.

За весь цикл термообработки бетон приобретает прочность 15 + 46 + 9 = 70 % R28.

Для каждого конкретного состава бетона строительной лабораторией должен быть уточнен на опытных образцах-кубах оптимальный режим выдерживания.

Рис. 8. Пример определения прочности бетона по графику

ЛИТЕРАТУРА

1. СНиП 3.01.01-85* «Организация строительного производства».

2. СНиП 3.03.01-87 «Несущие и ограждающие конструкции».

3. СНиП III-4-80* «Техника безопасности в строительстве».

4. Пособие по электрообогреву бетона монолитных конструкций (к СНиП III-15-76) НИИЖБ Госстроя СССР, Москва, Стройиздат, 1985 г.

5. Руководство по электротермообработке бетона. НИИЖБ Госстроя СССР, Москва, Стройиздат, 1974 г.

6. Руководство по производству бетонных работ в зимних условиях, районах Дальнего Востока, Сибири и Крайнего Севера. ЦНИИОМТП Госстроя СССР, Москва, Стройиздат, 1982 г.

7. Временные указания по индукционному прогреву железобетонных конструкций (ВСН-22-68). Техническое управление Главмосстроя, Москва, 1969 г.

 




ГОСТЫ, СТРОИТЕЛЬНЫЕ и ТЕХНИЧЕСКИЕ НОРМАТИВЫ.
Некоммерческая онлайн система, содержащая все Российские Госты, национальные Стандарты и нормативы.
В Системе содержится более 150000 файлов нормативно-технической документации, действующей на территории РФ.
Система предназначена для широкого круга инженерно-технических специалистов.

Рейтинг@Mail.ru Яндекс цитирования

Copyright © www.gostrf.com, 2008 - 2026