Крупнейшая бесплатная информационно-справочная система онлайн доступа к полному собранию технических нормативно-правовых актов РФ. Огромная база технических нормативов (более 150 тысяч документов) и полное собрание национальных стандартов, аутентичное официальной базе Госстандарта. GOSTRF.com - это более 1 Терабайта бесплатной технической информации для всех пользователей интернета. Все электронные копии представленных здесь документов могут распространяться без каких-либо ограничений. Поощряется распространение информации с этого сайта на любых других ресурсах. Каждый человек имеет право на неограниченный доступ к этим документам! Каждый человек имеет право на знание требований, изложенных в данных нормативно-правовых актах!

  


 

МИНИСТЕРСТВО ТРАНСПОРТНОГО СТРОИТЕЛЬСТВА

ВСЕСОЮЗНЫЙ ОРДЕНА ОКТЯБРЬСКОЙ РЕВОЛЮЦИИ
НАУЧНО-ИССЛЕДОВАТЕЛЬСКИЙ ИНСТИТУТ
ТРАНСПОРТНОГО СТРОИТЕЛЬСТВА

УТВЕРЖДАЮ

Зам. директора института

Н.Б. СОКОЛОВ

18 апреля 1986 г.

МЕТОДИЧЕСКИЕ РЕКОМЕНДАЦИИ
ПО ОПРЕДЕЛЕНИЮ
ФИЗИКО-МЕХАНИЧЕСКИХ СВОЙСТВ
ВЕЧНОМЕРЗЛЫХ
ГЛИНИСТЫХ И ПЕСЧАНЫХ ГРУНТОВ
В ПОЛЕВЫХ УСЛОВИЯХ

Одобрены Главтранспроектом

Москва 1987

ПРЕДИСЛОВИЕ

Изменение температуры вечномерзлых грунтов в основании и теле земляных сооружений транспортных объектов вызывает существенные и порой необратимые изменения свойств этих грунтов. Поэтому в зоне их распространения особое значение приобретает определение физико-механических характеристик вечномерзлых грунтов в полевых условиях.

Приборы и методики, рассмотренные в настоящей работе, в значительной мере модифицированы и апробированы в полевых условиях.

Методические рекомендации разработаны в лаборатории инженерной геологии и геофизики отделения изысканий и проектирования железных дорог ЦНИИСа кандидатами техн. наук Б.Л. Юровским, Ю.Д. Дубновым, инж. Д.А. Куклевым. В разработке отдельных глав принимали участие инженеры К.М. Уродков (СибЦНИИС), А.П. Мамзелев, В.С. Аткачис (Ленгипротранс), М.И. Карпинский (Мосгипротранс), А.И. Третьяков (Тындинская мерзлотная станция), Б.А. Биневич (Днепрогипротранс).

Зав. отделением изысканий

и проектирования железных дорог                                                    А.М. Козлов

1. ИНЖЕНЕРНО-ГЕОЛОГИЧЕСКАЯ ХАРАКТЕРИСТИКА МЕРЗЛЫХ ГРУНТОВ

Особенности залегания и распространения

1.1. Любые горные породы, имеющие отрицательную температуру и содержащие лед, являются мерзлыми. Наряду с типично мерзлыми грунтами, т.е. содержащими лед, встречаются породы с отрицательной температурой, но без льда, например, маловлажные сыпучие песчаные, гравийные и галечниковые, сухие скальные и полускальные грунты, а также породы, насыщенные минерализованными водами. Все эти грунты не относятся к типично мерзлым, так как их свойства при отрицательной температуре не изменяются. Однако при проектировании и строительстве на них сооружений (выемок некоторых подземных коммуникаций, дренажей, помещений и др.) необходимо учитывать их температурное состояние.

1.2. Переход воды в лед при промерзании грунтов существенно изменяет их физическое состояние, деформируемость, прочность, водопроницаемость, а также электрические, тепловые и другие свойства. Кроме того, промерзание грунтов сопровождается развитием особых мерзлотных процессов и явлений, таких как изменение строения пород (структуры и текстуры), перераспределение влаги в них, морозное пучение, образование морозобойных трещин, наледные явления и др.

Лед, как породообразующая составная часть мерзлых грунтов, является неустойчивой фазой. При повышении температуры окружающей среды грунт оттаивает, происходит изменение его свойств, а у некоторых резко изменяются физическое состояние, прочность, деформируемость, водонепроницаемость, развиваются провальные и просадочные (термокарстовые), оползневые и другие явления. При оттаивании мерзлых грунтов сооружения, построенные на них, испытывают значительные неравномерные и резкие осадки (просадки), поэтому часто происходят значительные их деформации и даже разрушения. Все перечисленное показывает, что условия строительства сооружений на таких породах и обеспечение их устойчивости представляет сложную проблему.

1.3. На территории Советского Союза вечномерзлые грунты занимают примерно 47 % его площади, охватывая северные и северо-восточные районы. В тех случаях, когда в области многолетней мерзлоты породы деятельного слоя в зимнее время сливаются с вечномерзлыми, говорят о сливающейся мерзлоте, а когда они не сливаются, т.е. между ними остается талик (талые породы), говорят о несливающейся мерзлоте.

1.4. Рассматривая географическое распространение многолетней мерзлоты, необходимо отметить, что в северных и северо-восточных районах они имеют сплошное распространение (зона сплошного распространения многолетней мерзлоты) и мощность их измеряется там сотнями метров, а среднегодовая температура достигает минус 7, 10 и даже -12 °С. К южной границе распространения вечномерзлых грунтов их мощность уменьшается до десятков метров, здесь чаще встречаются талики, а температура пород изменяется от минус 0,2 до минус 2 °С. Вблизи этой границы вечномерзлые породы встречаются главным образом на отдельных участках (зона островной многолетней мерзлоты), мощность их не превышает первых десятков метров, а температура изменяется от 0 до минус 0,3 °С. В вертикальном разрезе многолетнемерзлые породы также могут либо иметь непрерывное распространение, либо разделяться таликами, т.е. быть слоистыми.

Вообще же перерывы по вертикали для мощных толщ вечномерзлых грунтов малохарактерны. Это объясняется тем, что периоды интенсивного промерзания грунтов связаны с глобальнокосмическими причинами и поэтому весьма длительны. Зато в плане отмечается значительная пестрота в чередовании вечномерзлых и талых грунтов, что связано с локальными отепляющими воздействиями.

1.5. Талики следует подразделять на сквозные и несквозные (псевдоталики). Сквозные талики образуются, например, в результате длительного воздействия больших водотоков, так как вода даже при близкой к 0 °С температуре интенсивно отепляет мерзлые грунты.

1.6. Геофизической границей между вечномерзлыми и талыми грунтами служит нулевая изотерма среднегодовых температур грунта. Физическую границу между мерзлыми и талыми грунтами в какой-то момент времени представляет нулевая изотерма температур грунта. Температура замерзания грунтов не всегда равна 0 °С, поэтому положение физической границы определяется изотермой температуры замерзания грунтов. Отсюда физическая и геофизическая границы не всегда совпадают, что необходимо учитывать при картировании вечномерзлых грунтов.

Глубина, на которой годовые колебания затухают и температура грунтов в течение года не меняется, является глубиной годовых нулевых амплитуд, а толща грунтов от поверхности до этой глубины - слоем годовых колебаний температуры. Неизменная в течение года температура на подошве этого слоя - одна из важных характеристик температурного режима грунтов в естественных условиях.

1.7. В пределах слоя годовых колебаний температуры на каждом уровне существует среднегодовая температура. Она меняет свое значение при движении снизу вверх от температуры на глубине годовых нулевых амплитуд до среднегодовой температуры поверхности грунта.

Среднегодовая температура грунта является показателем его энергетического состояния, что дает возможность использовать эту характеристику температурного режима для типизации инженерно-геологических мерзлотных условий. Она отличается достаточным постоянством в пределах однородных литолого-генетических комплексов грунтов. Температурный режим грунтов в целом зависит от их состава и свойств и определяется количеством тепла, поступающего в грунты. В свою очередь теплообмен через поверхность зависит от количества приходящей к поверхности энергии и определяется условиями теплообмена на ней. В среднегодовой температуре грунта отражается влияние этих факторов.

1.8. Важнейшая особенность мерзлых грунтов, как отмечалось, состоит в том, что в них в качестве породообразующей части входит лед. Он может находиться в породах в виде цемента, т.е. в тонкодисперсном виде, в виде отдельных кристаллов и их скоплений, прослойков, слоев, жилок и мощных жил, линз и др.

Минимальная льдистость обусловлена содержанием в грунте льда в виде цемента. Максимальная льдистость пород обусловлена содержанием в них льда в виде включений, линз, прослоев, жил и др. Отсюда вытекает необходимость выделения инъекционных, повторно-жильных, погребенных и других льдов в особую группу. При изысканиях такие участки следует выделять в качестве неблагоприятных для строительства.

Строение вечномерзлых грунтов

1.9. Различное распределение льда в горных породах в некоторых случаях сказывается на их строении, т.е. структуре и текстуре. В скальных и полускальных породах при промерзании лед образуется только в трещинах и пустотах, поэтому их структура при этом не изменяется, а лед, заполняющий трещины и пустоты, представляется самостоятельной горной породой [1]. Мерзлым крупнообломочным, песчаным и глинистым грунтам свойственны те же структуры, что и таким же породам талым, т.е. пелитовая, алевритовая, псаммитовая, псефитовая и др. [2], но их необходимо дополнять характеристикой льда-цемента. При этом следует различать следующие типы льда-цемента:

контактный, находящийся только в местах контакта частиц скелета, образующийся обычно при промерзании не полностью насыщенных водой песчаных и крупнообломочных грунтов;

пленочный, обволакивающий поверхность частиц, оставляя часть пор незаполненными. Образуется в таких же грунтах, как и контактный, но более влажных;

поровый, заполняющий поры целиком. Образуется также в песчаных и крупнообломочных, но полностью водонасыщенных грунтах;

базальный, составляющий основную массу грунтов и разобщающий частицы минерального скелета. Встречается преимущественно в глинистых и пылеватых грунтах.

1.10. Из приведенного следует, что тип цементации мерзлых грунтов одновременно характеризует и содержание в них льда. Лед-цемент имеет всегда кристаллически зернистые структуры [3]. В зависимости от размера зерен различают следующие его структуры: явно кристаллические (крупно-, средне- и мелкозернистые) и скрыто кристаллические (микрокристаллические), а также равномерно зернистые и порфировые.

1.11. В зависимости от соотношения зерен льда-цемента с частицами скелета породы различают следующие структуры:

межчастичную (интерсертальную) - зерна цемента расположены в единичных промежутках между частицами скелета и не превышают их по размерам;

объемлющую (пойкилитовую) - зерна цемента крупнее частиц скелета и обволакивают их.

Полное определение структуры мерзлых грунтов должно включать указания о типе структуры грунтов, типе цементации льдом, его распределении и структуре.

1.12. При полевом исследовании включений льда основное внимание следует уделять анализу его текстуры - особенностей строения льда, обусловленных составом и характером распределения в нем примесей (пузырьков газа, минеральных частиц и растительных остатков). При отсутствии примесей текстуру льда называют стекловатой, при преобладании в объеме льда газовых включений (пузырьков воздуха) - пузырчатой, при неравномерном распределении примесей - слоистой. При описании текстуры льда следует учитывать, что включения определяют его цвет.

1.13. Основными морфологическими признаками криогенной текстуры мерзлых грунтов являются: форма, размер, ориентация, распределение в массиве, количественное содержание льда в объеме образца.

Текстуру мерзлых пород, в которых присутствует лед-цемент в порах грунта без видимых прослоек льда, называют массивной.

Текстуру мерзлых пород, в которых присутствует лед в виде включений, называют шлировой, а включения - шлирами.

В зависимости от формы льда и условий его залегания в мерзлой породе выделяют значительное число типов криогенных текстур, из которых наиболее широко распространены следующие: массивная, слоистая, сетчатая, корковая, порфировидная (пятнистая), базальная, атакситовая (рис. 1) [4 - 9].

Рис. 1. Криогенные текстуры вечномерзлых грунтов:

1 - массивная; 2 - линзовидная; 3 - полосчатая; 4 - волнистая; 5 - косая; 6 - плойчатая; 7 - прожилковая; 8 - поясковая; 9 - сложнослоистая; 10 - ячеистая; 11 - плетенчатая; 12 - чешуйчатая; 13 - плитчатая; 14 - блоковая; 15 - сложносетчатая; 16 - корковая; 17 - порфировидная; 18 - базальная; 19 - атакситовая; 20 - скелет мерзлого грунта; 21 - лед

Выделенные криогенные текстуры различаются между собой не только по морфологическим признакам, но и по суммарной льдистости. Льдистость за счет включений льда устанавливается непосредственным измерением суммарной толщины включений, приходящихся на единицу разреза в пределах однотипных по криогенному строению слоев породы.

1.14. Следует отметить, что понятие «криогенная текстура» предполагает заполнение пространства мерзлого грунта многократно повторяющимися однотипными комплексами. Однако в естественных условиях встречаются разрезы вечномерзлых пород и с единичными прослойками или иными включениями льда. В таких случаях типизация текстуры затруднительна или невозможна. Проводя описание такого разреза, давать тип криогенной структуры не следует, достаточно указать наличие единичных прослоек (или включений льда), провести их морфологическое и структурное описание, указать глубины, на которых они встречаются, провести зарисовку или фотографирование (масштабный элемент обязателен).

Таким образом, строение (структура и текстура) мерзлых грунтов выражает их неоднородность и анизотропность, обусловленные распределением льда. Они формируются в процессе промерзания грунтов и замерзания в них воды:

имеющейся в любых грунтах, без притока новой;

свободно движущейся, например, в песках, галечниках и др.;

иммобилизованной и физически связанной в пылевых глинистых грунтах, замерзание которых сопровождается перераспределением и миграцией воды в жидком и парообразном состоянии к поверхности охлаждения под влиянием молекулярных сил, разности упругости пара и др.

1.15. В мерзлых грунтах, кроме льда, всегда находится еще незамерзающая вода, количество которой зависит в основном от петрографического типа грунтов и ее температуры. При взаимодействии минеральных частиц грунтов с водой они влияют на трансляционное движение молекул воды. При этом подвижность молекул воды, ближайших к твердой поверхности, уменьшается, они оказываются ориентированными под влиянием поверхностных сил частиц грунтов, а структура их становится искаженной. При замерзании грунтов часть воды переходит в лед с неискаженной или слабо искаженной структурой, а остальная часть не кристаллизуется, так как этому препятствует искажение ее структуры. Поэтому в любом мерзлом грунте всегда содержится определенное количество незамерзающей воды, которое изменяется в зависимости от температуры. Незамерзающая вода и лед в мерзлых грунтах находятся в равновесии; с понижением температуры количество незамерзающей воды уменьшается и соответственно увеличивается количество льда [5].

1.16. Большое влияние на фазовые переходы воды в лед, помимо минерализации воды, имеет и степень влажности грунтов. Чем она меньше, чем тоньше пленки воды, содержащейся в грунте, тем больше искажена ее структура и тем дольше она может находиться в незамерзшем состоянии. Как показали специальные экспериментальные исследования, при замерзании и оттаивании грунтов выделяются область интенсивных фазовых превращений воды (от 0 до минус 3 °С) и область затухающих фазовых превращений (минус 3 °С),

Процесс замерзания воды в грунтах начинается с 0 °С. При этом происходит некоторое переохлаждение свободной воды, после чего начинается образование льда, сопровождающееся повышением температуры (за счет выделения теплоты фазовых превращений воды) до 0 °С или близких к 0 °С отрицательных температур. При замерзании свободной воды льдовыделение начинается в порах грунта, но вследствие процессов миграции свободная вода в основном образует неоднородные по химическому составу формы льда. Дальнейшее понижение температуры грунта сопровождается образованием льда в порах грунта за счет связанной воды [6].

Таким образом, при 0 °С или близких к 0 °С отрицательных температурах образуются все ледяные включения и некоторое незначительное количество льда-цемента. При этих температурах прочностные и деформационные свойства мерзлых грунтов обусловлены главным образом количеством ледяных включений и характером их расположения между частицами или агрегатами частиц грунта. Повышение прочности мерзлого грунта по сравнению с талым при образовании ледяных включений происходит скачкообразно. При дальнейшем понижении температуры постепенно замерзают различные слои связанной воды в порах грунта, образуя лед-цемент. Температура замерзания этих слоев воды зависит от их расстояния до поверхности части грунта, понижаясь по мере приближения к этой поверхности.

Практически в обломочных грунтах, исключая одноразмерные пески, при любых естественных отрицательных температурах всегда содержатся как лед-цемент, так и незамерзшая связанная вода, соотносительные количества которых меняются при изменении отрицательной температуры грунта. Понятно, что при этом меняются и его механические свойства, в значительной мере обусловливаемые смерзанием частиц породы при выделении льда-цемента, образующего сильные цементационные связи между частицами грунта. Роль ледяных включений в цементировании частиц и агрегатов крайне невелика, хотя включения сами по себе образуют достаточно прочные прослойки. Но при образовании ледяных включений происходит раздвигание частиц грунта, и в зависимости от характера льдовыделения нарушается его сплошность. Можно предположить, что в целом наличие ледяных включений при прочих равных условиях снижает прочность грунта. Степень снижения прочности зависит от характера расположения ледяных включений в грунте, т.е. от его криогенной структуры.

1.17. Большое количество ледяных включений приводит также к снижению прочности грунта в большей степени и по другой причине - за счет более интенсивного проявления реологических свойств, выражающихся в деформации ползучести. Наличие в мерзлых грунтах (и в структурных связях) цементирующего льда обусловливает их напряженное состояние. В случае приложения к мерзлым грунтам нагрузки в них появляются дополнительные напряжения, вызывающие плавление части льда в наиболее напряженных зонах. Приложение постоянной нагрузки приводит по этой причине к появлению устойчивых деформаций ползучести. Однако для каждой разновидности грунтов при определенных температуре и льдистости существует предельная нагрузка, при воздействии которой в течение неопределенно большого времени деформации ползучести в этом грунте затухают. Превышение этой нагрузки приводит к развитию незатухающей ползучести. Такие нагрузки характеризуют предел длительной прочности мерзлых грунтов. При прочих равных условиях предел длительной прочности меньше у грунтов с большим содержанием ледяных включений и у грунтов с более высокой отрицательной температурой, так как в последнем случае в них меньше льда-цемента и больше незамерзшей воды. Понятно также, что само по себе наличие незамерзшей воды в мерзлых грунтах независимо от их температуры приводит при наложении нагрузок к появлению ползучести [10].

1.18. Все эти обстоятельства заставляют во время изысканий (кроме физико-механических характеристик грунтов) раздельно определять количество льда-цемента, незамерзшей воды и ледяных включений; предельно длительные значения их сопротивления внешним усилиям; теплотехнические характеристики грунтов [7].

Теплотехнические расчеты следует проводить для определения:

температуры мерзлых грунтов, используемых в качестве основания, среды и материала сооружений в мерзлом состоянии, сохраняемом в процессе строительства и заданного периода их эксплуатации (I принцип). В зависимости от прогнозируемой температуры грунтов затем определяют их прочностные и деформационные характеристики для расчетов на силовые воздействия по первой (несущей способности) и второй (деформациям) группам предельных состояний;

возможной чаши протаивания мерзлых грунтов и льда, используемых в оттаивающем или оттаянном (в предпостроечный период) состоянии (II принцип). В пределах указанной чаши резко изменяются прочностные, деформационные и фильтрационные характеристики грунтов.

1.19. Учет реологических свойств мерзлых грунтов и льда следует производить при использовании их по I принципу с расчетами по первой и второй группам предельных состояний.

Номенклатура мерзлых грунтов приведена в литературе [4, 8, 11]. Прочностные и деформационные характеристики грунтов определяют при использовании их в следующих состояниях:

твердомерзлом - для расчетов по первой группе предельных состояний;

пластично-мерзлом - для расчетов по первой и второй группам предельных состояний (также рассчитывают сильнольдистые мерзлые грунты и подземные льды);

в оттаивающем или предварительно оттаянном - для расчетов по второй группе предельных состояний.

Если сооружения должны воспринимать горизонтальные, в том числе сейсмические, нагрузки или сооружения расположены на бровке откоса вблизи крутопадающего слоя грунта, или после оттаивания глинистые и заторфованные грунты приобретают степень влажности Sr ³ 0,85, показатель текучести IL > 0,5 и коэффициент консолидации Cv £ 1×107 см2/год, то необходимо также провести расчеты по первой группе предельных состояний.

2. ОСОБЕННОСТИ ИНЖЕНЕРНО-ГЕОЛОГИЧЕСКОЙ РАЗВЕДКИ И ОПРОБОВАНИЯ

2.1. При выборе технических средств разведки следует учитывать [4, 6, 8, 12, 13]:

состав, распространение в районе трассы грунтов (мелкоземы, щебенистые песчано-глинистые и крупнообломочные отложения, валунные морены, скальные породы и др.) и их состояние (талые, обводненные, мерзлые, оттаявшие и др.), определяющие способы проходки;

трудные условия транспортной доступности объектов изысканий в горном районе и способы доставки разведочной техники и оборудования к точкам работ;

назначение, размещение и габариты проектируемых сооружений, определяющие размеры сфер воздействия на основание устройств, что определяет глубины и объемы разведки.

2.2. На изысканиях широко применяют горные работы: расчистку, шурфование, проходку разведочных канав и др.

Устья скважин, проходимых в мерзлых грунтах, обваловывают, закрывают ящиками с термоизолирующими материалами: войлоком, сухим мхом и торфом и т.п. Скважины выстаивают для установления в массиве естественного теплового поля, нарушенного бурением. Затем измеряют температуру грунтов.

2.3. На участках проектируемых линейных сооружений (земляного полотна, контактной сети и др.) осевые скважины и разведочные поперечники задают так же, как и в общем случае изысканий. В сложных условиях нередки невязки геологического содержания двух смежных поперечников или участков продольного профиля. В таких случаях проходят промежуточные осевые скважины или разбивают дополнительные разведочные поперечники для уверенной интерпретации и экстраполяции инженерно-геологических условий. Если при проведении инженерно-геологической мерзлотной съемки и опережающей геофизической разведки на участке расхождений установлен контакт разных элементов рельефа, скрытый наносами, либо граница двух различных инженерно-геологических участков, по этим линиям проходят одну-две дополнительные выработки.

Вне зависимости от рода проектируемого сооружения в пределах габаритов земляного полотна каждый элемент мезорельефа, инженерно-геологический участок должны быть разведаны скважинами, располагаемыми вблизи центра пересечения участка трассой, это требуется для вероятной организации режимных температурных наблюдений и изучения слоя годовых теплооборотов в замерзлоченных массивах. Если в разведочной сети таких скважин не хватает, их проходят дополнительно.

Кроме того, выработки закладывают в точках пересечения габаритами проектируемых линейных сооружений (в том числе искусственных) контуров различных мерзлотных и иных геологических образований. Такие образования выявляют и оконтуривают еще при дешифрировании аэро- и фототеодолитных снимков и разномасштабных наземных инженерно-геологических мерзлотных съемках, а подземные скрытые формы - при проведении геофизических работ. Чаще всего скрытые формы обнаруживают по геофизическим аномалиям на изучаемом участке (пики электропрофилей, «впадины и бугры» на картах изоом, резкие изменения электросопротивлений при зондированиях и др.). Положение, формы и границы образований уточняют при разведке.

Если при вертикальном электрическом зондировании кривые у опорной скважины и в намечаемой точке разведки практически совпадут, можно, применяя аналогии, несколько сократить объемы ранее запрограммированной разведки.

2.4. По окончании разведки и опробования разовых измерений температуры мерзлых пород, полевых испытаний грунтов, опытных откачек воды (если эти работы намечены) выработки ликвидируют как и в общем случае изысканий. У оставляемых режимных скважин при очередных температурных и гидрологических наблюдениях проверяют сохранность обвалования и термоизоляции устьев, исправляют возможные повреждения.

2.5. Сложными объектами обследований являются участки, где проектируют:

выемки в мерзлых грунтах и особенно в массивах, содержащих жилы, линзы, пласты подземных льдов и талики;

выемки на наледеопасных участках, вскрывающие трещинные и поровые надмерзлотные, межмерзлотные, подмерзлотные и карстовые воды;

выемки, полки, полувыемки-полунасыпи и насыпи на прижимах, косогорах (в том числе замерзлоченных), в местах отседания склонов и бортового отпора, на оскользнях, в зонах тектонического дробления массивов, выветривания пород;

насыпи на склонах с осыпями, курумами, явлениями отседания, бортового отпора, оползания, солифлюкции, сырых и мокрых склонах - прислоненные, пойменные и русловые;

насыпи и малые искусственные сооружения на участках с наледями, селевыми потоками;

насыпи и малые искусственные сооружения на болотах, марях, вечномерзлых просадочных при оттаивании (особенно пластично-мерзлых, льдистых, высокотемпературных) грунтах и в местах развития торфяных бугров, гидролакколитов, булвунняхов, сезонного пучения, морозного растрескивания поверхности, термокарстовых форм, таликов;

средние мосты на переходах с пластично-мерзлыми и льдистыми грунтами, подземными льдами.

2.6. В процессе разведки отбирают монолиты, образцы и пробы мерзлых, оттаявших и талых грунтов и льда, пробы воды из выработок. Для отбора кернов мерзлых грунтов из скважин применяют колонковое бурение, обуривающие и другие грунтоносы. Взятый образец немедленно термоизолируют и укладывают в заранее вырытый в мерзлом грунте возле выработки шурф. Образец грунта в мерзлом и неподсушенном состоянии хранится в шурфе до отправки в полевую или стационарную мерзлотно-грунтовую лабораторию.

2.7. Образцы нарушенного сложения, монолиты и керны отбирают из массива, слоя, линзы мерзлого грунта массивной, тонкослоистой и мелкосетчатой криогенной текстуры. При наличии в разрезе крупных ледяных включений образцы отбирают между ними, при этом измеряют толщину слоев и линз льда.

Для определения суммарных влажности и льдистости в пределах одного слоя в горизонте криогенного строения массива пробы мерзлых грунтов отбирают способом борозды поинтервально. Величина интервала 25 - 30 см. В прочих случаях опробования из массива слоя извлекают точечные образцы или средние пробы мерзлых, оттаявших и талых грунтов.

Плотность, характеристики теплофизических и механических свойств определяют в лабораториях главным образом для песчаных и глинистых грунтов при отсутствии в них обломочного материала. Для гравелистых и дресвяных грунтов определяют только осадку при свободном оттаивании (просадочность).

Образцы мерзлых и оттаявших грунтов нарушенного сложения отбирают в шламовые мешки. Масса образцов глинистых грунтов должна быть не менее 1,5 кг, песчаных 2 кг.

Монолиты мерзлых грунтов извлекают из открытых горных выработок в форме куба или близкой к ней с минимальным размером стороны 10 см для глинистых и песчаных, не менее 20 см для дресвяных и гравийных и не менее 30 см для щебенистых и галечных грунтов.

Для определения суммарной влажности и влажности в минеральных прослоях отбирают образцы нарушенного сложения, не допуская их оттаивания:

из песчаных и глинистых грунтов массивной криогенной текстуры - массой не менее 50 г в заранее взвешенные металлические бюксы;

из тех же грунтов слоистой и сетчатой текстур - массой не менее 2 кг в пластмассовые мешочки.

Образцы для определения этих влажностей взвешивают немедленно после их отбора - бюксы на технических весах с точностью до 0,01 г, остальные - на торговых весах с точностью до 1 г.

Массу образцов ненарушенного сложения, отбираемых для определения плотности мерзлых и оттаявших грунтов из горных выработок, монолитов и кернов кольцами или в виде кубиков, принимают равной 0,1 - 1 кг.

2.8. Объемы опробования должны быть достаточными для статистической обработки получаемой лабораторной информации с доверительной вероятностью не менее 0,85. Наименьшее количество образцов для установления обобщенного значения определяемого показателя равно шести.

2.9. Выработки, закладываемые на сухих склонах и дренируемых надпойменных террасах, сложенных сыпучемерзлыми или талыми слабовлажными щебнем, дресвой, галечниками, гравием, песками, твердыми супесями, суглинками твердой и полутвердой консистенции, опробуют, как и в общем случае изысканий участков проектирования различных сооружений. Для мерзлых грунтов могут понадобиться контрольные определения их суммарной влажности.

На россыпи, глыбовом навале, осыпи, куруме от скальных выступов и глыб, а в шурфах из скального ложа глыбовых скоплений откалывают образцы каждой встреченной на обследуемом участке разновидности скальных пород для определения петрографического состава, временного сопротивления сжатию, а при необходимости и характеристик устойчивости пород к попеременным водонасыщению, высушиванию, замораживанию и размораживанию.

Из шурфов извлекают образцы песка, дресвы и щебня. При наличии в россыпи, куруме супесчаного и суглинистого делювия и десерпция (чаще с поверхности) отбирают образцы, как указано выше.

Испытания образцов могут понадобиться для планирования срезки скальных выступов, проходки шурфов с подрыванием глыб и для оценки местных пород в качестве материала насыпей на данном и других участках трассы, а в некоторых случаях и при оценке камня, щебня, дресвы и песка как строительных материалов.

2.10. При размещении прислоненных и русловых насыпей на эллювии реки, озере из выработок послойно, а из мерзлых пород и по горизонтам криогенного строения толщ отбирают образцы песка, гравия и гальки массой до 10 кг. На поверхности в русле подсчетом визуально устанавливают содержание в эллювии, моренах валунов разного размера различных пород. Так же опробуют и выработки на участке берега, противолежащего прижимному берегу.

Если косогор, бечевник перекрыты мелкоземистым делювием, десерпцием, сложены талыми и мерзлыми осадочными терригенными породами (моренными отложениями, коренными глинами, аргиллитами, алевролитами, мергелями, глинистыми сланцами и др.), может возникнуть необходимость определения физических, теплофизических и механических свойств и отбора образцов этих пород, как указано выше.

2.11. На солифлюкционных участках образцы талых, оттаявших и мерзлых грунтов для определения классификационных показателей, содержания органических веществ, засоленности, суммарной влажности, плотности, влажности мерзлых грунтов в минеральных прослоях извлекают из осевых скважин, пройденных в толще годовых колебаний температуры.

Для испытаний прочности оттаявших грунтов берут монолиты из шурфов, закладываемых по оси солифлюкционных сплывов, террас (языков, натеков), и рядом из деятельного слоя и ниже его подошвы на 1 - 2 м.

2.12. На марях и участках с проселочными при свободном оттаивании грунтами опробуют осевые скважины, пройденные на глубину годовых теплооборотов. Особое внимание обращают на отбор кернов (а из шурфов - монолитов) для изучения криогенной текстуры, определения содержания льда в разных формах в мерзлых грунтах, суммарной влажности и коэффициента оттаивания, что необходимо для установления категории просадочности.

Опробуют также выработки, проходимые по центрам пересечений трассой различных мерзлотных образований (морозобойных трещин, подземных льдов, гидролакколитов, наледных участков, бугров многолетнего и сезонного пучения, термокарстовых форм, несквозных таликов и др.).

2.13. Скважины под опоры мостов, размещаемые на сквозных или глубоких несквозных таликах, опробуют, как и в общем случае изысканий. Керны мерзлых грунтов берут послойно и по горизонтам криогенного строения толщи, испытывающей годовые колебания температуры, но не реже чем на каждых двух метрах вскрываемого разреза. Планируют испытания грунтов для установления мгновенной и длительной прочности и сжимаемости под нагрузкой. Если высокотемпературный пластичномерзлый грунт в основании опоры может быть растеплен (проектирование по принципу деградации мерзлоты), те же испытания выполняют и для оттаявших грунтов.

На наледных и наледеопасных участках мостового перехода опробуют выработки, закладываемые по осям трасс и в пределах габаритов проектируемых противоналедных сооружений.

2.14. Элементом опробования является измерение температуры мерзлых грунтов во всех скважинах по горизонтам криогенного строения толщи годовых теплооборотов и режимные наблюдения за изменениями этой температуры. Получаемую при этом информацию следует разделить по инженерно-геологическим участкам и комплексам мерзлотно-грунтовых условий, а затем подвергнуть статистической обработке для установления обобщенных и расчетных значений температуры мерзлых грунтов в конкретной обстановке и ее колебаний в годовом и многолетнем циклах.

3. ОПРЕДЕЛЕНИЕ ФИЗИКО-МЕХАНИЧЕСКИХ СВОЙСТВ ВЕЧНОМЕРЗЛЫХ ГРУНТОВ

Основные физические характеристики мерзлых грунтов

3.1. Суммарную влажность мерзлого грунта wtot в долях единицы определяют отношением всех видов содержащихся в нем воды и льда к массе сухого грунта (для засоленных грунтов - к массе сухого грунта и содержащихся в нем солей)

wtot = wi + wic + ww,                                                       (1)

где wi, wic, ww - влажность мерзлого грунта соответственно за счет ледяных включений, порового льда и незамерзшей воды.

Суммарная влажность в зависимости от содержания в ней льда может достигать 1,0 и более. Для чистого льда wtotn = ∞, так как масса сухого грунта равна 0.

3.2. Объемная влажность мерзлых грунтов wtotn характеризуется объемом всех видов воды в единице объема грунта

wtotn = wtotrd/rw,                                                          (2)

где rd - плотность сухого грунта, г/см3;

rw - плотность воды, г/см3.

wtotn может достигать единицы, если грунт состоит из чистого льда.

Суммарную влажность песчаных и глинистых мерзлых грунтов определяют различными методами в зависимости от их криогенной текстуры: для грунтов массивной текстуры - точечным методом или методом бороздки; для грунтов тонкослоистой и тонкосетчатой текстуры - методом средней пробы или методом бороздки; для грунтов мелко- и крупнослоистой и мелко- и крупносетчатой текстуры - методом средней пробы или расчетным методом.

Подробно методики испытаний изложены в литературе [15 - 17]. Ускоренные методы будут описаны ниже.

3.3. Количество незамерзшей воды и льда-цемента определяют калориметрическим методом [15]. В полевых условиях эти влажности следует определять по методике Г.П. Мазурова. Наиболее точно и быстро фазовый состав воды в мерзлых грунтах определяют сублимационным методом в полевых стационарных лабораториях.

После определения влажностей wtot, ww и wic - влажность за счет ледяных включений определяют из формулы (1).

3.4. Суммарную объемную льдистость мерзлого грунта ii в долях единицы определяют отношением содержащегося в нем объема льда к объему мерзлого грунта

ii = [rм(wtot - ww)]/[ri(1 + wtot)],                                          (3)

где rм - плотность мерзлого грунта, г/см3;

ri - плотность льда, равная 0,0009 кг/см3.

Относительную льдистость определяют отношением массы льда к массе всех видов воды в грунте

ii-1 = 1 - ww/wtot

Объемную льдистость, равную отношению объема льда к объему породы, определяют так:

ii-2 = rswi/[ri + rs(wtot - 0,1ww)],

где rs - плотность частиц грунта, г/см3.

3.5. Степень заполнения пор мерзлого грунта льдом и водой Sr-i равна

Sr-i = [(1,1wic + ww)rs]/(eмrw),                                                   (4)

где eм - коэффициент пористости мерзлого грунта;

rw - плотность воды, г/см3.

Для мерзлых грунтов Sr-i может быть больше единицы.

3.6. Показатели плотности и пористости мерзлых грунтов имеют тот же смысл, что и для талых, но количественно они отличаются:

rs талых грунтов > rs мерзлых грунтов > rs льда

r             -"-         > r                -"-            > r   -"-

rd            -"-         > rd              -"-            > rd -"-

Например, плотность частиц мерзлого песка может изменяться от 2,65 до 0,92 г/см3.

Метод совмещенного определения основных физических характеристик мерзлых грунтов

3.7. Существующие методы раздельного определения основных физических характеристик мерзлых грунтов несовершенны, поскольку определение плотности, влажности и льдистости производят не на одном и том же объеме образца грунта, а на различных его частях, т.е. практически на различных пробах.

При таком различном определении снижается достоверность и согласованность между физическими характеристиками вследствие неоднородности строения грунта, изменения его свойств от точки к точке.

Несогласованность между физическими характеристиками, определяемыми опытным путем, автоматически переходит и на расчетные характеристики: плотность сухого грунта, пористость, степень влажности и др. Поэтому важно, чтобы определение основных физических характеристик выполнялось на одном и том же объеме образца грунта. Такой метод совмещенного определения плотности, влажности и льдистости разработан Г.П. Мазуровым на кафедре грунтоведения Ленинградского университета [18]. В данном методе сочетается достаточная точность и хорошая согласованность между определяемыми характеристиками с одной стороны и простота эксперимента с другой. Опыт можно выполнять в лабораторных и полевых условиях, а также непосредственно у горной выработки.

В совмещенном методе использован принцип пикнометрического способа определения суммарной влажности, что освобождает от необходимости высушивания грунта: объем грунта устанавливается по объему вытесненной им воды, а льдистость - по изменению объема системы скелет + вода после растаивания в грунте льда.

Совмещенный метод разработан для определения основных физических характеристик мерзлых грунтов, кроме сыпучемерзлых, однако, его можно использовать для определения плотности и влажности талых грунтов, обладающих связностью и медленно размокающих, например, для различных суглинистых грунтов.

3.8. Прибор для выполнения опыта (рис. 2) представляет собой сосуд вместимостью от 3 до 10 л, снабженный сливным устройством (шлангом с зажимом). Для опыта необходимы также весы чашечные или автоматические циферблатные от 5 до 10 кг.

3.9. Весы устанавливают на горизонтальную плоскость (стол, помост). На чашку (площадку) весов помещают сосуд при закрытом зажиме на сливном шланге. В сосуд наливают воду выше сливного отверстия. Избыток воды сливается через шланг, затем зажим закрывают и сосуд с водой взвешивают, определяют массу сосуда с водой g0.

Все последующие операции (долив и слив воды, погружение грунта в сосуд и взвешивание грунта с водой) производят не сдвигая и не снимая сосуда с весов до конца опыта.

Рис. 2. Прибор для определения физических характеристик мерзлых грунтов:

1 - сосуд; 2 - штуцер; 3 - сливной шланг; 4 - зажим; 5 - площадка весов; 6 - грунт

В сосуд с водой при закрытом зажиме помешают образец (глыбу, часть керна или несколько кусков) мерзлого или талого медленно разминаемого грунта массой более 1 кг и быстро взвешивают, получают массу сосуда с водой и грунтом-монолитом g1.

Сразу же после взвешивания открывают зажим, сливают избыток воды выше сливного устройства, зажим закрывают, а сосуд c водой и грунтом снова взвешивают, получают массу сосуда с грунтом-монолитом после слива воды g2. Грунт в сосуде с водой оттаивает; для ускорения оттаивания образец грунта рекомендуется раздробить с помощью металлического стержня, ножа и т.д. После оттаивания и размокания грунта уровень воды в сосуде опустится ниже сливного отверстия, поэтому следует долить воды несколько выше сливного отверстия, избыток ее слить через шланг, а сосуд с водой и размокшим грунтом взвесить, получим массу сосуда с водой и размокшим грунтом g3.

3.10. Расчет физических характеристик производят так.

Масса образца грунта-монолита

g4 = g1 - g0.

Объем грунта-монолита

Vм = (g1 - g2)/rw.

Плотность грунта (г/см3) - отношение массы грунта к его объему

r = (g1 - g0)rw/(g1 - g2).                                                   (5)

При температуре грунта ниже -5 °С на образце грунта может образоваться корка льда. Для учета ее следует взвесить образец после его извлечения из сосуда (перед оттаиванием) - g5.

Количество образовавшегося льда g6 находят по разности g6= g5- g4.

Плотность грунта с поправкой на корку льда составит

Плотность сухого грунта

rd = (g3 - g0)rs/(rs - 1).                                                    (6)

Величина плотности частиц принимается: для песков 2,66; супесей 2,70; суглинков 2,71; глин 2,74 г/см3.

Суммарная влажность - отношение массы воды к массе сухого грунта

wtot = [(g1 - g0)(rs - 1)]/(g3 - g0)rs.                                          (7)

Объем льда

Vi = 12,5(g3 - g2) = (g3 - g2)/(rw - ri).

Льдистость объемная - отношение объема льда к объему грунта-монолита

ii = [12,5(g3 - g2)rw]/(g1 - g2).                                               (8)

Масса льда

gi = 11,5(g3 - g2).

Масса льда с поправкой на мерзлую корку gi¢ составит

gi¢ = gi - g6.

Льдистость весовая - отношение массы льда к массе скелета грунта

                                                (9)

Льдистость относительная - отношение весовой льдистости к суммарной влажности

ii-2 = ii-1/wtot.                                                        (10)

Количество незамерзшей воды в грунте

ww = wtot - ii-2.                                                       (11)

3.11. Мерзлые песчаные грунты в воде иногда размокают. В этом случае перед определением плотности мерзлого грунта образец парафинируют, а его объем определяют методом гидростатического взвешивания [15 - 16].

Изложенный метод определения физических характеристик мерзлых грунтов (метод Г.П. Мазурова) до сих пор не нашел достаточно широкого применения в проектных институтах. Выше была изложена его модификация, разработанная в СибЦНИИСе и ХабИИЖТе и достаточно апробированная в полевых условиях.

Полевые методы определения плотности мерзлых грунтов

3.12. Сочетание лабораторных определений плотности и суммарной влажности мерзлых грунтов с радиоизотопным каротажем и тщательная документация выработок позволяют детально расчленить геологические разрезы на инженерно-геологические элементы и получить достаточно полную информацию для проектирования земляного полотна и других сооружений.

Наиболее эффективные результаты получены Ленгипротрансом при изучении мерзлых песчаных грунтов. В летний период в районах развития высокотемпературной мерзлоты сложно получить монолиты мерзлого грунта, особенно песков, для определения его плотности лабораторным способом. Радиоизотопный метод позволяет получить характеристики мерзлых грунтов по всей разведуемой толще.

Технологический комплекс мероприятий по изучению свойств мерзлых грунтов заключается в следующем: бурение скважин диаметром до 76 мм, отбор образцов, кавернометрия скважин для определения их диаметра, нейтронный, гамма-гамма- и гамма-каротаж для получения значений суммарной влажности, плотности и уточнение границ литологических разностей грунтов. После определенной выстойки скважины производят замеры температуры мерзлых грунтов по всей ее глубине.

3.13. Работы проводят в соответствии с государственными стандартами и наиболее современной аппаратурой для радиоизотопного каротажа и кавернометрии, разработанной НИИОСПом им. Н.М. Герсеванова (серийные ППГР-2 и ВИГР-2, а также опытные приборы ПВСГР-1 и ПВСГР-2) [17 - 19].

Использование современной электронной аппаратуры для замеров температур вечномерзлых грунтов позволило получить достаточную информацию для проектирования сооружений [20].

3.14. По сравнению с традиционными, радиоизотопные методы обладают значительными преимуществами. Они дают возможность за короткое время проводить в скважинах массовые измерения при достаточной надежности получаемых данных.

Проведенная статистическая обработка полученных физических характеристик мерзлых грунтов наглядно показывает, что сходимость показателей свойств грунтов, выполненных традиционными и радиоизотопными методами, хорошая, а количество определений, полученных радиоизотопными методами, значительно больше.

3.15. В ЦНИИСе разработан пневматический объемомер для определения плотности мерзлых грунтов.

Создав насосом в воздушной полости 1 определенное давление P, в системе 2 создается выравненное давление Р1. (рис. 3). Процесс можно описать уравнением

VP = V1 - Р1,                                                      (12)

где V - объем;

Р - начальное заданное давление;

V1 - суммарный объем, воздушной полости 2 и измерительного цилиндра 1;

P1 - установившееся давление в системе.

Помещая образцы различного объема в измерительный цилиндр, тем самым будем менять воздушный объем измерительного цилиндра u, соответственно будет изменяться давление в системе.

При тарировке в измерительный цилиндр помещают образцы известного объема либо ставят мерный стакан, в который наливают жидкость определенными порциями. Берут отсчеты по манометру и строят тарировочный график.

На описываемом приборе проведено значительное число определений объемов как эталонных образцов, объем которых предварительно определялся методами парафинирования, обмеров и гидростатического взвешивания в воде, так и образцов грунта в полевых условиях. Точность измерения на разработанном Тындинской мерзлотной станцией приборе составляет около 2 %.

3.16. В настоящее время в ЦНИИСе создается модификация такого прибора (см. рис. 3).

Использование пневматического метода измерения объема образцов мерзлого грунта имеет следующие преимущества: образец не подвергается смачиванию (не меняется его влажность), не происходит вытаивание льда, образец (керн) для определения объема требует незначительной обработки - производится лишь поверхностная зачистка без придания ему правильной геометрической формы, образец имеет значительный объем (до 2500 см3) и может быть использован для производства дальнейших определений различных свойств грунта - влажности, льдистости, пористости, осадки при оттаивании и т.д.

Рис. 3. Схема воздушного объемомера:

1 - измерительный цилиндр; 2 - измерительный манометр; 3 - система стабилизации давления

Полевые измерения температуры мерзлых грунтов

3.17. Полевые измерения температуры мерзлых грунтов проводят различными методами и оборудованием [20]. Ранее это были термокосы датчиков температуры, которые опускались в скважину на значительный по протяженности срок и после необходимой выстойки замерялись электросопротивления, которые затем по графикам переводились в значения температур. Недостаток этого метода - деформация кос при ликвидации скважин, отказ отдельных датчиков и значительные погрешности, которые связаны с техническими недостатками при монтаже кос.

3.18. В последние годы полевые партии применяют приборы ЭТ-1 и ЭТ-2 (сконструированные Ленгипротрансом), которые позволяют в специально оборудованных для температурных замеров скважинах любого диаметра проводить температурный каротаж с любым шагом в зависимости от требуемой детальности. Малая энергоемкость, незначительная масса, высокая надежность и точность указанных приборов позволили значительно увеличить объем и качество температурных измерений мерзлых грунтов.

3.19. В Мосгипротрансе сконструировано и внедрено электронное устройство ЭТ-3 геотермических исследований в инженерно-геологических скважинах глубиной до 30 м, а также поверхностных и подземных вод в условиях вечной мерзлоты [21].

Устройство отличается от существующих термометров и температурномерзлотных приборов тем, что оба диапазона (± 20, ± 10 °С) рассчитаны на измерение температуры от минусовых до плюсовых значений с нулем посредине шкалы стрелочного индикатора. Устройство имеет линейную шкалу (вместо параболической), которая дает возможность делать отсчет температур непосредственно в градусах по Цельсию без дополнительного пересчета электрических параметров. Диапазон ± 10 °С используется для более точных измерений около нулевых температур. Измерения температуры могут быть выполнены с точностью 0,1 °С.

Малые габариты устройства (220 ´ 160 ´ 100 мм), небольшая масса (2 кг), экономичный расход питания, а также зашита от температурных помех позволяют использовать прибор в сложных полевых условиях при относительной влажности окружающей среды до 90 %. Применение электронного устройства дает возможность улучшить процесс геометрических исследований в инженерно-геологических скважинах, расположенных в зоне вечной мерзлоты, повысить качество и точность исходных данных.

3.20. Разработанная в ПНИИИСе Госстроя СССР телеметрическая аппаратура СТ-200 предназначена для дистанционного измерения температуры в скважинах с гидростатическим давлением до 20 МПа [22].

По сравнению с геофизической скважиной аппаратура СТ-200 имеет следующие отличия:

значительно уменьшены размеры зонда и наземной части аппаратуры;

источником питания являются встроенные в корпус зонда малогабаритные герметичные аккумуляторы;

информация о температуре (включая и контрольные сигналы) передается по одножильному проводу, являющемуся одновременно и транспортировочным тросом (вместо тяжелого бронзового кабеля).

Улучшенные параметры достигнуты в результате разработки экономичных измерительных преобразователей и коммутаторов. Кроме того, герметизация зонда выполнена без применения резиновых колец и свинцовых прокладов, исключены и разделительные штепсельные разъемы.

3.21. Состав аппаратуры: скважинный зонд, измерительный прибор, телефонная катушка с проводом ГСП-0,5 (ГСПМО-1,0), регистрирующий прибор (каротажный регистратор Н-361 с графической записью).

Информация о температуре преобразуется в зонде в электрические колебания, поступающие по одножильному проводу связи на поверхность к измерительному прибору. В измерительном приборе осуществляется усиление электрических колебаний и преобразование их в постоянный ток, который измеряется встроенным микроамперметром или регистрирующим прибором.

Для настройки измерительного прибора, т.е. исключения случайных погрешностей, зонд автоматически по заданной программе выдает контрольные сигналы. Выключенное состояние источника питания зонда обеспечивается дистанционно-электронным выключателем.

Определение показателей прочности и деформативности вечномерзлых грунтов в полевых условиях

3.22. При разработке приборов для исследования мерзлых грунтов учтен опыт создания приборов для испытания талых грунтов с соответствующим усилением большинства узлов и деталей, рассчитанных на большие нагрузки, и с приданием некоторым узлам термоизолирующих свойств. К наиболее известным приборам, довольно подробно описанным в соответствующей литературе [5, 10, 15, 14, 16, 23] можно отнести компрессионные (одометры), сдвиговые приборы с одно- и двухплоскостным срезом и одно- и многошариковые штампы. Следует отметить, что при проведении исследований мерзлых грунтов для создания определенного отрицательного термического режима использовались либо мощные холодильные камеры, либо выработки в вечномерзлых грунтах.

Сложность поддержания с высокой точностью отрицательного температурного режима, в холодильных камерах приводит к существенному усложнению их конструкции и сложности применения в полевых условиях. В подземных выработках температурный режим сохраняется довольно стабильно, но ограничен только определенной температурой, присущей данному массиву мерзлых грунтов.

Методика проведения испытаний в таких условиях разработана и довольно подробно описана в литературе [10, 24], поэтому в настоящей работе не приводится.

3.23. Необходимость получения в полевых условиях физико-механических характеристик вечномерзлых высокотемпературных грунтов (диапазон от 0 до -0,6 °С) привела к разработке в Тындинской мерзлотной станции ЦНИИС ряда приборов с общепринятым принципом проведения исследований - компрессионных, сдвиговых приборов и шариковых штампов с использованием в качестве холодильных камер буровых скважин, пройденных в вечномерзлых грунтах. Приборы разрабатывались под руководством Г.П. Минайлова сначала Сковородинской научно-исследовательской мерзлотной станцией, а затем ТМС ЦНИИС Минтрансстроя.

3.24. Характерной общей особенностью разработанных конструкций установок является наличие сборного трубчатого корпуса с приваренным снизу утолщенным днищем. В верхней части трубчатого корпуса приварен фланец для крепления крышки с расположенными на ней стойками под измерительные устройства и силовые элементы.

Трубы малого диаметра, служащие для фиксации непосредственно приборов на днище трубчатого корпуса, также соединяются поэлементно и имеют, кроме стыковых узлов, кольцевые диафрагмы для центрирования передающих нагрузку штанг и для уменьшения влияния конвективного теплообмена.

Звенчатая конструкция установок дает возможность собирать и погружать приборы на различную глубину в вечномерзлые грунты, что позволяет выборочно использовать необходимый термический режим мерзлой толщи. Преимуществом разработанных конструкций приборов является то, что собирать установки и проводить на них исследования можно непосредственно в районе проведения изысканий. Основными требованиями при установке приборов являются надежная гидроизоляция стыков между звеньями, особенно в зоне деятельного слоя, и соблюдение вертикальности ствола скважины.

3.25. При выборе полигона для размещения описываемых установок следует отдать предпочтение участкам с несливающейся мерзлотой (в частности, вблизи естественных водоемов). В этом случае слои мерзлой толщи имеют высокую отрицательную температуру (от -0,05 до -0,2 °С), изменение которой весьма незначительно во времени. Приборы можно устанавливать и в обычных условиях с покрытием полигона перед началом осеннего промерзания термоизолирующим слоем из мха или торфа мощностью 0,5 м с периметром площадки 15 ´ 15 м. Описание разработанных приборов, методика выбора площадок, испытание грунтов подробно описаны ранее Г.П. Минайловым. Наличие термоизолирующего слоя позволяет сохранить постоянство термического режима более длительное время. При выборе испытательного полигона особое внимание следует обращать на температурный режим вечномерзлых грунтов, чтобы иметь возможность проводить испытания грунтов в различных температурных условиях, варьируя глубину заложения установок.

3.26. Получение физико-механических характеристик вечномерзлых грунтов возможно только при испытании образцов ненарушенного сложения.

На основании накопленного опыта Тындинской мерзлотной станции и других организаций можно сделать вывод о том, что из трех видов грунтоносов - обуривающих, забивных и вдавливаемых - наиболее приемлемыми для отбора образцов для испытаний являются обуривающие грунтоносы. Один из таких грунтоносов был разработан в Сковородинской НИМС.

Особенностью этого грунтоноса по сравнению с аналогичными конструкциями является то, что вовнутрь рабочей гильзы вставляются рабочие кольца приборов, чередующиеся с разрезными кольцами. Керн, обуриваемый твердосплавными пластинами грунтоноса, попадает в рабочие кольца.

3.27. Следует отметить, что при разработке вышеуказанных приборов компрессионные приборы и шаровые штампы рассчитывались на применение стандартных колец от приборов системы ЦНИИС. После извлечения керна из грунтоноса разрезные кольца убирают, производя распил керна и дальнейшую чистовую обработку рабочих колец. После обработки часть рабочих колец загружают в приборы и опускают в установки, другую часть подвергают консервации. Кольца укладывают в специальные бюксы с резьбовыми уплотняющими крышками, чередуясь с прокладками из тонкой эластичной резины с целью предохранения рабочих поверхностей грунта от выветривания.

Бюксы опускают в скважину, специально пробуренную в вечномерзлом грунте, и хранят до следующего цикла испытаний. Для предотвращения растепления испытуемого грунта от рук кольца при обработке зажимают в специальные зажимы из термоизоляционного материала (текстолита).

Разработанные конструкции приборов имеют следующие преимущества:

позволяют проводить испытания вечномерзлых грунтов в полевых условиях;

дают возможность получить физико-механические характеристики грунтов при высокой отрицательной температуре (от 0 до минус 1 °C);

стоимость производства исследований незначительна по сравнению со стоимостью работ при использовании холодильных камер и подземных выработок, к тому же холодильные камеры не всегда можно использовать в полевых условиях, а устройство подземных лабораторий иногда невозможно ввиду сложных грунтовых условий и весьма трудоемко;

установки обладают хорошей транспортабельностью ввиду звенчатой конструкции.

При проведении испытаний вечномерзлых грунтов шаровыми штампами предпочтение следует отдать многошариковому, тогда получаемые результаты являются усредненными и в меньшей степени зависят от текстурных особенностей грунтов.

Экспресс-метод определения сжимаемости оттаивающих вечномерзлых грунтов

3.28. При проведении работ в районах распространения вечномерзлых грунтов рекомендуется проводить микрорайонирование территорий проектируемых станций и полосы возможного варьирования трассы железных дорог по категориям просадочности мерзлых грунтов при оттаивании (таблица):

Наименование и состав грунтов

Суммарная влажность мерзлых грунтов по категориям относительной просадочности при свободном оттаивании

I

II

III

IVА

IVБ

Галечниковый (щебенистый) гравийный (дресвяный) с примесью:

 

 

 

 

Любые грунты с пластами, гнездами, линзами и жилам мощностью более 10 см подземных льдов

песка

0,05 - 0,09

0,09 - 0,15

0,15

-

супеси или суглинка до 25 %

0,09 - 0,13

0,13 - 0,17

0,17

-

то же до 50 %

0,11 - 0,16

0,16 - 0,20

0,20

-

Пески

0,15 - 0,17

0,17 - 0,25

0,25

-

Супеcи:

 

 

 

 

легкие

0,11 - 0,13

0,13 - 0,23

0,23 - 0,53

> 0,53

тяжелые

0,14 - 0,16

0,16 - 0,25

0,25 - 0,56

> 0,56

Суглинки:

 

 

 

 

легкие

0,17 - 0,20

0,20 - 0,28

0,28 - 0,60

> 0,60

тяжелые

0,21 - 0,23

0,23 - 0,35

0,35 - 0,66

> 0,66

Глины

< 0,25

0,25 - 0,40

0,40 - 0,75

> 0,75

I категория - непросадочные, относительная просадочность esi = 0;

II категория - малопросадочные, 0 < esi £ 0,10;

III категория - проселочные, 0,11 < esi < 0,40;

IVА категория - сильно просадочные esi ³ 0,41;

IVБ категория - локально просадочные.

Микрорайонирование выполняют обычными средствами инженерно-геокриологической съемки и обосновывают данными определения относительной осадки мерзлых грунтов при оттаивании, которое производится с помощью прибора ПОП (прибор относительной просадочности, конструкция Ленгипротранса).

Ниже изложена конструкция прибора ПОП и методика работы с ним. Следует отметить, что конструкция прибора претерпела значительные изменения. Кроме того, основные конструктивные решения увязаны с действующим государственным стандартом [14].

3.29. Прибор ПОП (рис. 4) переносной, не требует никаких дополнительных операций для установки, позволяет производить опыты непосредственно у буровой скважины с керном, извлеченным с любой глубины, обеспечивает получение данных относительной осадки в процессе изысканий, которые могут быть использованы при трассировании и принятии проектных решений.

Прибор обеспечивает полное оттаивание испытуемого керна в процессе опыта, который производят при точно известной мощности оттаивающего слоя (в отличие от метода испытания мерзлых грунтов горячими штампами).

3.30. При использовании прибора ПОП значительно увеличивается производительность труда по проведению испытаний мерзлых грунтов: весь опыт длится от 30 мин до 2-х часов, отпадают значительные затраты труда и времени на различные вспомогательные и дополнительны операции.

Массовое количество получаемых данных обеспечивает получение более точных значений нормативных характеристик относительной осадки мерзлых грунтов при оттаивании [26 - 28].

Рис. 4. Прибор для определения относительной просадочности мерзлых грунтов

Однако в методике использования прибора ПОП допущено обоснованное отступление от требования ГОСТ 24588-81:

время фиксации условной стабилизации осадки при предельном приращении ее до 0,01 мм сокращено до одного часа. Это сделано на основании экспериментальных данных В.П. Ушкалова, который установил, что мерзлый глинистый грунт при оттаивании приобретает крупноагрегатное строение и его коэффициент фильтрации возрастает в десятки раз по сравнению с коэффициентом фильтрации талых глинистых грунтов [27]. В процессе работы с прибором ПОП при изысканиях БАМа установлено, что основная часть осадки оттаивающего керна (80 - 90 %) происходила в течение 15 - 30 мин. Исходя из этой особенности мерзлых оттаивающих грунтов, можно считать, что условная стабилизация осадки оттаивающего керна наступит значительно раньше, чем это предусмотрено ГОСТ 24586-81, так как в приборе ПОП испытывается только мерзлый оттаивающий керн, а в ГОСТ 24580-81 время фиксации стабилизации осадки предусмотрено в основном для талого керна, ранее обжатого первой ступенью нагрузки.

В приборе можно испытывать керн любого диаметра, но не менее 56,5 мм. Согласно ГОСТ 12248-66 (примечание 16) допускается для однородных грунтов (в нашем случае грунты 1-П категории просадочности с массивной текстурой) испытывать в компрессионных приборах образцы грунта с диаметром не менее 56,5 мм. При этом желательно для улучшения запрессовки керна в пробоотборник применить такой буровой наконечник, при бурении которым диаметр керна получался бы на 2 - 3 мм больше внутреннего диаметра пробоотборника. Однако целесообразно изготавливать прибор в двух модификациях: с внутренним диаметром цилиндра 71,4 и 56,5 мм.

Прибор с внутренним диаметром цилиндра 71,4 мм предназначен для случаев, когда требуется продолжить испытание оттаявшего под первой ступенью нагрузки керна под нарастающими нагрузками для определения коэффициента сжимаемости в компрессионном приборе.

Прибор с внутренним диаметром цилиндра 56,5 мм предназначен для определения только суммарной относительной осадки оттаивающего керна под заданной нагрузкой до 0,1 МПа (1,0 кгс/см2), что во многих случаях может быть достаточно. Коэффициент сжимаемости оттаявшего и обжатого керна можно определить по таблице СНиП 2.02.01-83.

3.31. Работа с прибором производится следующим образом (см. рис. 4).

Извлеченный из буровой скважины керн мерзлого грунта 2 запрессовывают в пробоотборник 6 или 7 со стороны заостренного торца, которым срезаются все неровности на боковой поверхности керна.

По торцам пробоотборника обрезают торцы керна и тщательно выравнивают.

Короткий пробоотборник 6 высотой 28 или 36 мм предназначен для отбора малольдистых образцов; длинный 7 высотой 56,5 или 72 мм - для сильнольдистых образцов с видимыми прослойками льда.

Подготовленный керн выталкивают толкателем 4 в цилиндр 12. На оба торца керна кладется по кружку фильтровальной бумаги. Цилиндр вставляют в гнездо пяты-подставки 1. Штамп 11 вставляют в цилиндр до упора в торец керна.

На тарелку штампа укладывают нужный груз 9 и мерзлый керн выдерживают под давлением груза в течение 30 с для устранения возможных зазоров между штампом и керном и между стенками цилиндра и керном.

В период кратковременного обжатия мерзлого керна в пяту-подставку 1 вворачивают стойки 3, 10, устанавливают перекладину 8 и в ней укрепляют индикатор 5.

3.32. После кратковременного обжатия мерзлого керна шток индикатора устанавливают на торце штыря штампа в нажатом положении, стрелка - на нуле циферблата.

Затем в выточку пяты-подставки укладывают таблетки сухого спирта и поджигают.

Таблеток сухого спирта должно быть столько, чтобы температура поддерживалась в пределах 40 - 60 °С.

В процессе оттаивания керна фиксируют осадку штампа по индикатору.

Когда будет достигнута условная стабилизация осадки, т.е. когда приращение осадки за 60 мин составит не более 0,01 мм, производится отсчет положения штока по индикатору, который покажет абсолютную величину осадки оттаявшего керна.

3.33. Относительную осадку вычисляют по формуле

esi = (hм - hт)/hм,                                                          (13)

где hм - высота примененного пробоотборника, мм;

hт - высота обжатого керна, мм.

3.34. В приборе ПОП можно определить: коэффициент свободного оттаивания А0; тогда оттаивание керна производится под весом штампа, обеспечивающего давление на торец керна 104 Па (0,1 кгс/см2);

суммарную относительную осадку мерзлого керна при его оттаивании под любой заданной нагрузкой, создаваемой грузами, надетыми на тарелку поршня;

полный комплекс определения относительной осадки при оттаивании под природной или заданной нагрузкой и коэффициент сжимаемости оттаявшего керна под большими нагрузками в соответствии с ГОСТ 24568-81 в компрессионном приборе.

В процессе определения осадки оттаивающего мерзлого керна в приборе ПОП можно попутно определить суммарную влажность и плотность мерзлого керна.

3.35. Метод определения осадки оттаивающих мерзлых грунтов с помощью прибора ПОП следует применять в следующих случаях [28]:

при проведении микрорайонирования застраиваемой территории или полосы возможного варьирования трассы по категориям просадочности (см. таблицу) определение относительной осадки оттаивающих мерзлых грунтов целесообразно производить в приборе ПОП с внутренним диаметром цилиндра 56,5 мм под постоянной нагрузкой 0,1 МПа.

Определение коэффициента сжимаемости в этом случае необязательно;

при проектировании зданий IV - V классов, небольших сооружений, водопропускных труб, малых мостов, железнодорожных и автодорожных насыпей и выемок и других земляных сооружений; определение суммарной относительной осадки оттаивающих мерзлых грунтов выполняется в приборе с внутренним диаметром 56,5 мм под нагрузкой от 0,05 до 0,1 МПа.

Коэффициент сжимаемости оттаявшего и обжатого грунта в этом случае определяется по таблицам нормативного значения модуля деформации СНиП 2.02.01-83;

при проектировании средних и больших мостов, зданий I - III классов, крупных сооружений, высоких насыпей; суммарная относительная осадка оттаивающего мерзлого керна определяется в приборе с внутренним диаметром цилиндра 71,4 мм под нагрузкой от 0,05 до 0,1 МПа.

Коэффициент сжимаемости талого и обжатого керна в этом случае определяется в компрессионном приборе стационарной лаборатории.

Определение осадки мерзлых грунтов при оттаивании штампом в скважине

3.36. При инженерно-геологических исследованиях в районах распространения вечномерзлых грунтов необходимо определять величину осадки грунтов при их оттаивании. Эта величина является одной из важнейших характеристик, определяющих принцип строительства и основные параметры конструкции сооружений.

Величину осадки грунтов при оттаивании определяют либо в лабораторных условиях на образцах мерзлого грунта ненарушенного сложения [14], либо путем оттаивания грунта в шурфе горячими штампами [26]. Оба метода практически не применяются в практике изысканий, которые обычно проводятся в летнее время, когда сложно проводить испытания образцов мерзлого грунта и предохранить шурф от затопления надмерзлотными водами, а также от оплывания грунта при оттаивании стенок шурфа.

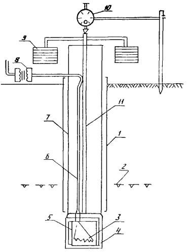
Поэтому рекомендуется при инженерно-геологических изысканиях применять метод определения величины осадки мерзлого грунта путем послойного оттаивания его горячим штампом, опускаемым в скважину [9]. Установка для определения осадки мерзлых грунтов при оттаивании их в скважине (рис. 5) состоит из следующих основных элементов: штампа, реперной стойки, труб для передачи давления, индикаторов часового типа, приспособлений для установки индикаторов, грузов, электрооборудования.

3.37. Штамп представляет собой металлический пустотелый цилиндр. Диаметр штампа должен быть в 1,3 - 1,5 раза меньше диаметра скважины.

Рис. 5. Установка для определения осадки мерзлых грунтов при их оттаивании в скважине:

1 - обсадная труба; 2 - поверхность вечномерзлых грунтов; 3 - электроспираль в четочной изоляции; 4 - штамп; 5 - теплоизоляция; 6 - электрокабель; 7 - обсадные трубы диаметром 7,5 см; 8 - автотрансформатор; 9 - грузы; 10 - приспособление для установки индикаторов часового типа; 11 - реперная стойка

Штамп плотно закрывается крышкой на резьбе. В крышке смонтирован штуцер с запрессованными контактами. В центре крышки сделан выступ с конусной резьбой для закрепления реперной стойки. На дно цилиндра, покрытое листовым асбестом, укладывают спираль в четочной изоляции. Сверху спираль прикрываю асбестовой ватой примерно на четверть свободного объема штампа с тем, чтобы уменьшить общий обогрев скважины. Во избежание испарения воды и иссушения верхнего слоя оттаивающего грунта температура на подошве штампа не должна превышать 90 °С, для этого на днище штампа монтируется терморегулятор. Напряжение регулируют с помощью автотрансформатора.

Реперная стойка, представляющая собой трубку из дюраля диаметром 12 - 15 мм, состоит из отдельных звеньев (штанг) длиной 1 или 0,5 м, соединяющихся конической резьбой. Для обеспечения центровки реперной стойки через 1,5 или 2 м по ее длине следует установить три направляющих жесткоупругих «уса», укрепленных хомутами. Для уменьшения трения направляющих «усов» внутренние стенки обсадной трубы должны быть тщательно зачищены и смазаны. Общая масса штампа с реперной стойкой должна быть такой, чтобы удельная нагрузка на грунт составила 0,98 Н/см2. Поэтому при оттаивании верхних слоев грунта, когда масса реперной стойки небольшая, на штамп устанавливается дополнительный груз в виде обсадной трубы диаметром 7,5 см. Приспособление для установки индикаторов состоит из стойки длиной 1,5 м с отверстиями диаметром 10 - 12 мм через 10 см по всей ее длине и стержня с резьбой, что позволяет при установке индикатора смещать его как в вертикальном, так и в горизонтальном направлении. Стойку забивают в грунт на глубину 0,5 - 1 м. Желательно, чтобы нижний конец стойки упирался в мерзлый грунт. При оттаивании грунта без нагрузки индикатор устанавливают на верх реперной стойки. При оттаивании под нагрузкой на хомуты обсадной трубы, через которую передается нагрузка, устанавливают два-три индикатора, что позволяет определить перекос штампа, если он возникает. Для передачи давления на штамп используют обсадные трубы диаметром 7,5 см и длиной от 0,5 до 1,5 м, соединенные между собой с помощью муфт. Нагрузка создается с помощью рычажного пресса или специальными грузами. При нагружении штампа необходимо учитывать массу труб, передающих давление.

3.38. Методика проведения опыта заключается в следующем. Пробуривают скважину диаметром не менее 146 мм до мерзлого грунта или до расчетной глубины. Скважина обсаживается и при наличии воды должна быть осушена. Забой скважины выравнивают и присыпают крупнозернистым охлажденным песком. На забой устанавливают штамп с репером, выступающим над землей на 0,3 - 0,8 м. Нагрузка на штамп регулируется так, чтобы удельная нагрузка на грунт составляла 0,98 Н/см2. На верхнее звено реперной стойки устанавливают индикатор И4-3, снимают начальный отсчет и включают ток. Осадка штампа фиксируется в течение всего опыта. Отсчеты берут через 10, 20, 30, 40, 50, 60, 80, 100, 120 мин от начала опыта. Затем по мере уменьшения осадки отсчеты снимают через 30 мин и через час.

Продолжительность нагрева определяется временем, необходимым для оттаивания грунта на глубину, равную радиусу штампа. Это время для каждого штампа устанавливают опытным путем в скважине или на стенде в мерзлотной камере. После прекращения нагрева и отключения тока наблюдение за осадкой продолжается, так как некоторое оттаивание происходит за счет запасов тепла в штампе и чаше оттаивания. Эти наблюдения ведутся до прекращения осадки. Практически можно считать, что осадка прекратилась, если разность отсчетов за час не превышает 0,01 мм. По окончании этой части опыта осторожно, чтобы не сдвинуть штамп с места, монтируют обсадные трубы до выхода на поверхность и создают первую степень нагрузки, равную 0,98 Н/см2. Осадка грунта определяется по указанной выше схеме под заданной нагрузкой до стабилизации, затем дается следующая ступень нагрузки и т.д.

После того, как опыт закончен, установку демонтируют и с помощью щупа и ручного бура устанавливают глубину оттаивания с точностью до 1 см. Берутся пробы для определения влажности и других характеристик. Затем скважину углубляют на величину оттаявшего слоя грунта и определяют осадку при оттаивании следующего горизонта.

3.39. Коэффициент оттаивания Аi для данного слоя определяют по величине осадки Ssi под нагрузкой 0,98 Н/см2

Ai = Ssi/Hsi,                                                              (14)

где Hsi - величина чаши оттаивания.

Коэффициент сжимаемости ai определяется так:

ai = (Ssi-2 - Ssi-1)/Hsi(P2 - P1),                                         (15)

где Ssi-1 - оттаявшего слоя грунта под нагрузкой Р1;

Ssi-2 - то же под нагрузкой Р2.

На основе этих данных определяют значения Ai и ai изучаемой толщи с заданной доверительной вероятностью по методу наименьших квадратов.

Полевые испытания грунтов пенетрацией

3.40. Метод полевого испытания грунтов в скважине падающим снарядом следует применять в сочетании с другими видами инженерно-геологических исследований грунтов для проведения следующих работ:

выделения инженерно-геологических элементов (границы распространения грунтов различного состава и состояния);

определения степени однородности грунтов по площади и глубине;

определения глубины залегания кровли скальных, крупнообломочных и вечномерзлых грунтов;

приближенного определения силы предельного сопротивления грунта под сваей;

приближенного определения степени уплотнения и упрочнения во времени искусственных грунтов;

выбора мест расположения опытных площадок для детального изучения физико-механических свойств грунтов; оценки коэффициента сжимаемости (уплотнения) и модуля деформации грунтов в естественном залегании.

3.41. В комплект оборудования станков ударно-канатного типа входят: УГБ-50А, БУКС-ЛГГ, Д-6-15, Д-5-25, УПБ-15 с тросом диаметром до 9 мм при массе штанги до 70 кг и до 13 м при массе штанги больше 150 кг; буровая штанга - одно- или двухметровая диаметром 60 или 70 мм; буровая гильза для проходки скважин с внутренней конусностью диаметром 108 и 127 мм [29]; буровая гильза для проходки скважин с наружной конусностью диаметром 108 и 127 мм [29]; пенетрометр ПБ-1 (рис. 6), этот прибор включает в себя: переходник на буровую штангу диаметром 70 мм; корпус диаметром 36 мм и длиной одного звона 100 мм (на корпусе на расстоянии 2 мм от торца установлен стопорный болт диаметром 3 мм, выступающий наружу корпуса на 3 мм. На корпусе нанесена метрическая шкала; через 10 мм на 1/3 диаметра глубина паза 0,2 мм, через 5 мм на 1/6 диаметра глубина паза 0,1 мм; поверхность корпуса отшлифована); конус диаметром основания 36 мм с углом при вершине 30°; упорное кольцо с цилиндром с внешним диаметром кольца 60 мм, внутренним - 36,6 мм, толщиной 2 мм; цилиндр высотой (с толщиной кольца) 20 мм, толщиной стенки 2 мм (внутренний диаметр тот же, что и диаметр кольца); фиксатор с внешним диаметром 56 мм, внутренним - 38 мм, высотой 20 мм, на внутренней стороне кольца имеется паз для размещения листовой пружины.

3.42. Бурение скважин следует осуществлять толстостенной буровой гильзой с внутренней конусностью. Такой гильзой осуществляют наиболее быстрое углубление скважины. Недостатком подготовки к испытанию при проходке является уплотнение грунтов на забое скважины.

Для подготовки ненарушенного забоя скважины за 0,5 - 1 м до намеченной глубины испытания толстостенную буровую гильзу следует сменить на тонкостенную и осуществлять проходку, контролируя высоту падения инструмента над забоем. После подготовки забоя сменить тонкостенную гильзу на пенетрометр ПБ-1. Поставить опорное кольцо и фиксатор на стопорный болт.

Пользоваться желонкой для подготовки забоя не допускается.

3.43. Следует различать испытания в структурно-неустойчивых и обычных грунтах. Испытания в структурно-неустойчивых грунтах осуществляют путем плавного опускания снаряда на забой без его падения. При слабом провисании троса задержать инструмент на забое 1 мин. Плавно извлечь снаряд на поверхность и взять отсчет по нижнему торцу фиксатора.

Рекомендуется в структурно-неустойчивых грунтах пользоваться буровой штангой со звеном длиной 1 м, варьируя погружение снаряда с одним звеном, двумя и тремя звеньями; в обычных грунтах производить испытания при сбрасывании двухзвенной штанги с высоты 0,5, 1 и 1,5 м. При этом строят график зависимости глубины погружения снаряда от затрачиваемой на это работы. Последнюю определяют как произведение массы буровой штанги на глубину погружения снаряда.

Рис. 8. Пенетрометр ПБ-1:

1 - переходник на буровую штангу; 2 - корпус; 3 - упорное кольцо с цилиндром; 4 - цилиндр; 5 - фиксатор; 6 - конус

Испытания повторяют не менее трех раз. При этом точки должны лежать примерно на прямой, проходящей под углом около 45°. При значительном отличии следует проверить оборудование, подготовительные операции, а испытания считать неприемлемыми для получения коэффициента сжимаемости и модуля деформации.

Перед каждым испытанием и после него следует пенетрометр ПБ-1 привести в первоначальное состояние, а на поверхность корпуса обязательно нанести тонкий слой автола.

Если при испытании в глинистых грунтах скважина полностью не осушена, то необходимо с корпуса пенетрометра ПБ-1 снять опорное кольцо, поставить фиксатор на стопорный болт, а при замерах глубины погружения учитывать отсутствие опорного кольца; обязательно фиксировать уровень воды в скважине, а массу штанги следует уменьшить.

3.44. Коэффициент сжимаемости следует вычислять по формуле

аn = V/Aш,                                                            (16)

где an - коэффициент сжимаемости полевой, МПа-1;

V - объем полости, образуемый при погружении пенетрометра в грунт, м3;

Aш - работа, развиваемая штангой, при погружении пенетрометра, Дж.

Объем полости равен объему погруженной части корпуса плюс объем конуса.

Работу, производимую штангой, следует вычислять по формуле

Аш = Ph,                                                             (17)

где Р - вес штанги, Н;

h - глубина погружения пенетрометра в грунт ниже забоя, м.

Модуль деформации следует определять по формуле

En = (1 + e)b/an,                                                     (18)

где Eп - модуль деформации полевой, МПа;

е - коэффициент пористости грунта;

b - коэффициент Пуассона.

Приложение

Рекомендуемое

ОБРАБОТКА РЕЗУЛЬТАТОВ ИНЖЕНЕРНО-ГЕОЛОГИЧЕСКОЙ ИНФОРМАЦИИ

Обработку результатов инженерно-геологической информации следует проводить в соответствии с [4, 8, 20].

Проектные институты в настоящее время достаточно хорошо овладели техникой вычислений статистических характеристик. Ниже изложен более сложный метод факторного анализа.

Подчеркнем, что изложенные ниже процедуры факторного анализа в инженерной геологии применены впервые и апробированы в ЦНИИСе на тестовых примерах. Задачей дальнейших работ является создание программы расчетов на ЭВМ.

Применение факторного анализа при инженерно-геокриологической съемке

В настоящее время совокупность процедур, которую часто называют «геологическим факторным анализом», превратилась в одну из наиболее часто используемых в геологии (геохимия, седиментология, стратиграфия и т.д.) классов многомерных статистических методов. Тем не менее в инженерной геологии этот метод полностью применяется крайне редко [25].

Проведенные в ЦНИИСе исследования позволили разработать и рекомендовать следующий алгоритм проведения факторного анализа при инженерно-геокриологической съемке. Поставлена задача прогнозирования развития термокарста на исследуемой территории. Сеть опробования приведена на рисунке. Опробовано 20 скважин и получено 200 значений переменных по 10-ти геологическим признакам:

1 - среднегодовые температуры грунта на глубине 0,5 м;

2 -                "-                        -"-                     -"-           1,0 м;

3 -                "-                        -"-                     -"-           2,0 м;

4 - среднегодовые температуры грунта на глубине 3,0 м;

5 -                "-                        -"-                     -"-           5,0 м;

6 - появление свободной воды на глубине 0 м;

7 -            "-               -"-                     -"-       0,5 м;

8 -            "-               -"-                     -"-       1,0 м;

9 - количество жильного льда на 1 м2;

10 - количество трещин на 1 м2.

Признаки 1 - 5 контролируют фактор Т (температуру вечномерзлых грунтов); 6 - 8 - Г (гидрогеологию); 9 - 10 - Р (степень деформируемости пород).

Факторный анализ позволяет выявить наличие структуры в матрице исходных данных X и косвенно оценить влияние факторов (Т, Г и Р) на развитие термокарста по значениям признаков (1 - 10), связанных с ними.

Поскольку геологические признаки выражены в разных единицах и их значения резко противостоят друг другу по модулю, следует преобразовать матрицу X методом стандартизации.

Для этого прежде всего следует:

вычислить средние значения по столбцам

где  - р-мерный вектор наблюдений;

¢X - транспонированная слева матрица X;

I - единичная матрица;

¢I - транспонированная слева единичная матрица;

вычислить вариации ynj (разность между конкретным наблюдением xnj и средним значением переменной xj)

Контрольные условия:

сумма вариации любой переменной равна нулю;

преобразование переменных к вариациям состоит в смешении нулевого значения каждой переменной в точку среднего значения;

средние значения переменных, представленных в виде вариаций, равны нулю.

Прогноз термокарста по результатам факторного анализа:

а - схема опробования; б - карта изолиний факторов;

___ - значения фактора Т; ----- - значения фактора Г; -×-×- - значения фактора Р; - современный термокарст; - прогнозируемый термокарст

Матрица вариаций Y представлена в табл. 1.

Затем следует вычислить ковариационную матрицу S (матрица дисперсий и коэффициентов ковариации для матрицы Y)

S = Y¢Y/N,                                                                (1)

где N - объем выборки;

¢Y - транспонированная слева матрица Y.

Диагональными элементами матрицы S являются дисперсии переменных.

Для выполнения операций следующего этапа вычисляют диагональную матрицу D-1/2, элементами которой являются величины, обратные корням квадратным из диагональных элементов матрицы S

D-1/2 = (diagS)-1/2.                                                         (2)

Теперь можно вычислить матрицу стандартизированных значений переменных Z

Z = YD-1/2.                                                                (3)

Контрольные условия:

среднее значение стандартизированной переменной равно 0;

дисперсия и стандартное отклонение равны 1.

Затем следует найти корреляционную матрицу R (табл. 2)

R = Z¢Z/N,                                                               (4)

где ¢Z - транспонированная слева матрица Z.

Только теперь можно перейти к факторному анализу. Нами применен аппарат R-модификации факторного анализа, позволяющий проанализировать взаимосвязи между переменными (Q-модификация выясняет взаимоотношения между объектами). В рамках R-модификации применен метод главных компонент, позволяющий установить основные факторы, влияющие на изменчивость всей выборки без потери количества информации.

Таблица 1

участка

Геологические признаки

1

2

3

4

5

6

7

8

9

10

1

1175

999

975

625

158

262

437

324

431

433

2

936

820

813

575

267

379

478

413

411

428

3

765

711

716

599

457

548

579

558

491

513

4

624

598

600

542

471

515

531

520

490

500

5

417

422

422

432

444

441

437

439

437

437

6

401

403

375

401

405

270

317

290

515

465

7

520

504

488

469

427

370

410

386

507

482

8

661

626

618

553

462

466

506

480

529

523

9

877

787

773

594

354

401

493

434

500

498

10

1060

932

898

656

315

312

468

370

580

552

11

1010

960

935

681

334

375

518

427

567

555

12

896

811

790

629

403

411

511

448

570

512

13

748

688

675

560

401

399

472

426

525

462

14

617

573

553

477

360

315

385

342

487

455

15

436

424

389

393

361

207

277

236

514

369

16

666

587

560

419

212

182

287

221

397

396

17

750

665

651

484

259

299

387

331

399

437

18

903

707

791

573

291

396

486

427

421

506

19

998

888

887

657

366

499

583

527

480

471

20

1162

999

994

671

252

404

539

450

449

455

Таблица 2

Признаки

1

2

3

4

5

6

7

8

9

10

1

1,000

-

-

-

-

-

-

-

-

-

2

0,998

1,000

-

-

-

-

-

-

-

-

3

0,994

0,998

1,000

-

-

-

-

-

-

-

4

0,908

0,933

0,942

1,000

-

-

-

-

-

-

5

-0,576

-0,523

-0,497

-0,189

1,000

-

-

-

-

-

6

0,130

0,183

0,235

0,477

0,616

1,000

-

-

-

-

7

0,581

0,651

0,664

0,834

0,258

0,880

1,000

-

-

-

8

0,282

0,334

0,383

0,610

0,519

0,987

0,944

1,000

-

-

9

0,012

0,057

0,035

0,286

0,539

0,181

0,216

0,208

1,000

-

10

0,258

0,313

0,312

0,590

0,550

0,54

0,604

0,573

0,909

1,000

Поскольку нас интересует только анализ конкретной частной выборки данных без выводов о совокупности в целом - имеем детерминированный случай факторного анализа.

Таким образом, в работе использован метод главных компонентов детерминированного случая R-модификации факторного анализа.

В нашем случае основная модель имеет вид

Y = FA¢ + E,                                                                   (5)

где F - матрица значений факторов;

A¢ - транспонированная справа матрица факторных нагрузок;

Е - матрица остатков (в нашем случае Е = 0),

Для вычисления матриц F и А необходимо:

вычислить k максимальных собственных чисел и соответствующих им собственных векторов матрицы S, т.е. матрицы Slk и Uk;

вычислить матрицу . Знак L обозначает выборочную оценку. Эта операция заключается в такой нормировке каждого собственного вектора, что квадрат его длины равен соответствующему ему собственному числу;

вычислить . Операция состоит в том, что вначале матрицу Y умножают справа на матрицу А, а затем каждый столбец полученной матрицы умножают на величину, обратную соответствующему собственному числу.

Таким образом составлена табл. 3. Она выражает «состав» факторов через исходные переменные. Поскольку эти факторы обычно трудно интерпретируемы, то для усиления роли переменных, вносящих существенный вклад в фактор, и уменьшения роли переменных с незначимым вкладом, нами использовано вращение полученных на первом этапе осей по варимаксному методу.

Таблица 3

Главные компоненты корреляционной матрицы

Матрица варимаксных факторов

Переменные

Общности

Факторы

Факторы

1

2

3

1

2

3

1

1,0000

0,8029

-0,5894

0,0886

0,9971

0,0765

-0,0060

2

1,0000

0,8385

-0,5367

0,0940

0,9916

0,1241

0,0362

3

1,0000

0,8579

-0,5127

0,0407

0,9835

0,1804

0,0117

4

1,0000

0,8760

-0,1961

0,0944

0,8813

0,3985

0,2540

5

1,0000

0,0176

0,9998

-0,0098

0,6197

0,5880

0,5198

6

1,0000

0,6538

0,5999

-0,4684

0,0558

0,9897

0,1317

7

1,0000

0,9297

0,2393

-0,2789

0,5191

0,8380

0,1680

8

1,0000

0,7647

0,5018

-0,4042

0,2102

0,9648

0,1580

9

1,0000

0,3226

0,5407

0,7751

0,0146

0,0488

0,9987

10

1,0000

0,6641

0,5437

0,5132

0,2338

0,3979

0,8872

Дисперсии

54,614

31,928

13,459

44,771

33,318

21,912

Накопление дисперсии

 

 

 

 

 

 

54,614

86,542

100,000

44,771

78,089

100,000

Таблица 4

№ участка

Факторы

№ участка

Факторы

1

2

3

1

2

3

1

1,729

-1,134

-0,948

11

1,320

-0,248

1,488

2

0,613

0,214

-1,368

12

0,464

0,176

1,532

3

-0,229

1,861

0,023

13

-0,168

0,188

0,721

4

-0,796

1,540

0,200

14

-0,663

-0,575

0,078

5

-1,630

0,933

-0,889

15

-1,336

-1,759

0,639

6

-1,534

-1,077

0,618

16

-0,383

-1,785

-1,517

7

-1,116

-0,212

0,417

17

-0,114

-0,559

-1,544

8

-0,591

0,914

0,766

18

0,462

0,389

-1,194

9

0,371

0,244

0,259

19

0,798

1,309

-0,160

10

1,243

-0,940

1,760

20

1,562

0,334

-0,700

Прямым результатом вращения является увеличение одних нагрузок и существенное уменьшение других. В этом можно убедиться, сравнивая попарно соответствующие числа в одинаковых столбцах двух матриц табл. 3.

Матрица факторов после вращения содержит 10 строк и 3 столбца, причем столбцы соответствуют факторам. Каждое из чисел, расположенных в столбце, означает вклад определенной переменной в состав данного фактора (нагрузки на данный фактор); фактически можно считать, что каждый столбец представляет собой факторное уравнение, в котором нагрузки являются коэффициентами при соответствующих исходных переменных.

В результате факторного анализа вычислена табл. 4 - матрица значений факторов после вращения. Она содержит значения новых переменных на каждом из опробованных участков. По этой матрице можно закартировать распределение значений новых факторных переменных по сети опробования (см. рисунок).

Для интерпретации результатов анализа требуется серьезная инженерно-геологическая аргументация. Из табл. 3 видно, что фактор 1 (Т) в основном связан со следующими переменными: температурами грунтов на глубинах 0,5; 1 и 2 м. Фактор 2 (Г) имеет высокие нагрузки на следующие переменные: появление свободной воды на глубинах 0,05 и 1 м. В факторе 3 (Р) ведущую роль имеют такие переменные, как количество жильного льда на 1 м2 и количество трещин на 1 м2.

Анализ изолиний на рисунке, пересекающихся на известном участке развития термокарста, показывает, что имеется еще один участок с таким же сочетанием условий. Отмеченный участок является потенциально опасным для развития термокарста.

СПИСОК ЛИТЕРАТУРЫ

1. Достовалов Б.Н., Кудрявцев В.А. Общее мерзлотоведение. М., Изд-во МГУ, 1965.

2. Ломтадзе В.Д. Инженерная геология. Инженерная петрология. Л., Недра, 1984.

3. Шумский П.А. Основы структурного ледоведения. М., Изд-во АН СССР, 1959.

4. СНиП II-18-76.Строительные нормы и правила. Нормы проектирования. Основания и фундаменты на вечномерзлых грунтах. М., Стройиздат, 1977.

5. Цытович Н.А. Механика мерзлых грунтов. М., Высшая школа, 1973.

6. Левкович А.И. Инженерно-геологические изыскания для строительства на вечномерзлых грунтах. Л., Стройиздат, 1974.

7. Руководство по проектированию оснований и фундаментов на вечномерзлых грунтах. М., Стройиздат, 1980.

8. РСН 31-83. Нормы производства инженерно-геологических изысканий для строительства на вечномерзлых грунтах. М., Стройизыскания, 1983.

9. Новые методы исследования состава, строения и свойств мерзлых грунтов. Под ред. Гречищева С.Е., Ершова Э.Д. М., Недра, 1983.

10. Вялов С.С. Реологические основы механики грунтов. М., Высшая школа, 1978.

11. ГОСТ 25100-82. Грунты. Классификация. М., Изд-во стандартов, 1982.

12. СНиП 9-78. Строительные нормы и правила. Нормы проектирования. Инженерные изыскания для строительства. Основные положения. М., Стройиздат, 1979.

13. СНиП 2.02.01-83. Строительные нормы и правила. Основания зданий и сооружений. М., Стройиздат, 1985.

14. ГОСТ 24586-81. Грунты. Методы лабораторного определения характеристик прочности и деформируемости мерзлых грунтов. М., Изд-во стандартов, 1981.

15. Руководство по определению физических, теплофизических и механических характеристик мерзлых грунтов. М., Стройиздат, 1973.

16. Ушаков В.П. Строительные свойства многолетнемерзлых грунтов и ускоренные методы их определений. Новосибирск, Наука, 1974.

17. Мазуров Г.П. Физико-механические свойства мерзлых грунтов. Л., Стройиздат, 1975.

18. Методические рекомендации по определению показателей физико-механических свойств грунтов радиоизотопным методом. М., НИИОСП, 1980.

19. ГОСТ 23061-78. Грунты. Метод радиоизотопного определения объемного веса. М., Изд-во стандартов, 1978.

20. ГОСТ 24181-80. Грунты. Нейтронный метод измерений влажности. М., Изд-во стандартов, 1980.

21. ГОСТ 25358-82. Грунты. Метод полевого определения температуры. М., Изд-во стандартов, 1982.

22. Электронное устройство для геотермических исследований в инженерно-геологических скважинах. М., ВПТИтрансстрой, 1984.

23. Вотяков И.Н. Физико-механические свойства мерзлых и оттаивающих грунтов Якутии. Новосибирск, Недра, 1975.

24. Рекомендации по определению теплофизических и структурно-механических свойств мерзлых торфяных грунтов. М., Стройиздат, 1984,

25. Йереског К.Г., Клован Д.И., Реймент Р.А. Геологический факторный анализ. Л., Недра, 1980.

26. ГОСТ 23253-78. Грунты. Методы полевых испытаний мерзлых грунтов. М., Изд-во стандартов, 1979.

27. Ушкалов В.П. Инструкция по определению расчетной глубины оттаивания мерзлых грунтов в основании сооружений и по определению расчетных теплофизических коэффициентов грунтов. М., Стройиздат, 1958.

28. Аткачис B.C. Методика инженерно-геологических изысканий на участке Чара-Тында. - Транспортное строительство, 1977, № 10.

29. Методические рекомендации по опробованию лессовых грунтов. М., ЦНИИС, 1982.

СОДЕРЖАНИЕ

Предисловие. 1

1. Инженерно-геологическая характеристика мерзлых грунтов. 1

Особенности залегания и распространения. 1

Строение вечномерзлых грунтов. 3

2. Особенности инженерно-геологической разведки и опробования. 7

3. Определение физико-механических свойств вечномерзлых грунтов. 10

Основные физические характеристики мерзлых грунтов. 10

Метод совмещенного определения основных физических характеристик мерзлых грунтов. 11

Полевые методы определения плотности мерзлых грунтов. 14

Полевые измерения температуры мерзлых грунтов. 15

Определение показателей прочности и деформативности вечномерзлых грунтов в полевых условиях. 16

Экспресс-метод определения сжимаемости оттаивающих вечномерзлых грунтов. 18

Определение осадки мерзлых грунтов при оттаивании штампом в скважине. 22

Полевые испытания грунтов пенетрацией. 25

Приложение. Обработка результатов инженерно-геологической информации. 27

Список литературы.. 31

 

 




ГОСТЫ, СТРОИТЕЛЬНЫЕ и ТЕХНИЧЕСКИЕ НОРМАТИВЫ.
Некоммерческая онлайн система, содержащая все Российские Госты, национальные Стандарты и нормативы.
В Системе содержится более 150000 файлов нормативно-технической документации, действующей на территории РФ.
Система предназначена для широкого круга инженерно-технических специалистов.

Рейтинг@Mail.ru Яндекс цитирования

Copyright © www.gostrf.com, 2008 - 2026