Крупнейшая бесплатная информационно-справочная система онлайн доступа к полному собранию технических нормативно-правовых актов РФ. Огромная база технических нормативов (более 150 тысяч документов) и полное собрание национальных стандартов, аутентичное официальной базе Госстандарта. GOSTRF.com - это более 1 Терабайта бесплатной технической информации для всех пользователей интернета. Все электронные копии представленных здесь документов могут распространяться без каких-либо ограничений. Поощряется распространение информации с этого сайта на любых других ресурсах. Каждый человек имеет право на неограниченный доступ к этим документам! Каждый человек имеет право на знание требований, изложенных в данных нормативно-правовых актах!

  


 

ОРДЕНА ТРУДОВОГО КРАСНОГО ЗНАМЕНИ
НАУЧНО-
ИССЛЕДОВАТЕЛЬСКИЙ ИНСТИТУТ
ОСНОВАНИЙ
И ПОДЗЕМНЫХ СООРУЖЕНИЙ
И
МЕНИ Н.М. ГЕРСЕВАНОВА
ГОССТРОЯ СССР

РЕКОМЕНДАЦИИ
ПО МЕТОДАМ ОПРЕДЕЛЕНИЯ
КОЭФФИЦИЕНТОВ БОКОВОГО ДАВЛЕНИЯ
И ПОПЕРЕЧНОГО РАСШИРЕНИЯ
ГЛИНИСТЫХ ГРУНТОВ

МОСКВА - 1978

В Рекомендациях изложены методы определения бокового давления и поперечного расширения глинистых грунтов в стабилометрах типа Б с площадью штампа, равной площади образца. Конструкция стабилометра позволяет передавать независимо друг от друга вертикальное и боковое давления измерять боковое давление, вертикальные (продольные) и объемные деформации. Поперечное расширение грунта вычисляют по количеству вытесненной жидкости из гидравлической камеры в волюмометр на основе принятого положения, что поперечные деформации пропорциональны изменению уровня жидкости в волюмометре.

Методы разработаны применительно к глинистым грунтам от текучей до полутвердой консистенции.

Достоверность предложенных методов подтверждена исследованиями бокового давления и поперечного расширения характерных видов глинистых грунтов и некоторых материалов эталонов.

Рекомендации предназначены для инженерно-технических работников производственных и научно-исследовательских грунтовых лабораторий.

Рекомендации составлены в лаборатории методов исследования НИИ оснований старшим научным сотрудником Г.В. Сорокиной. В экспериментальных исследованиях принимали участие мл. научн. сотр. Н.П. Бетелев и ст. техник Г.П. Шишкина.

1. Общие положения

1.1. Рекомендации предназначены для инженерно-технических работников производственных и научно-исследовательских грунтовых лабораторий, производящих исследование грунтов оснований гражданских и промышленных сооружений.

1.2. Рекомендации распространяются на определение коэффициентов бокового давления покоя ξ и поперечного расширения μ глинистых грунтов ненарушенного и нарушенного сложения от текучей до полутвердой консистенции при определении бокового давления и поперечного расширения в стабилометрах типа Б, при нормальных давлениях до 0,5 МПа.

Конструкция стабилометра позволяет передавать на образец независимо друг от друга вертикальное и боковое давление и измерять боковое давление, продольные (вертикальные) и объемные деформации.

1.3. Коэффициентом бокового давления покоя следует называть коэффициент бокового давления для грунта в стабилизированном состоянии при неизменном положении вертикальных сечений образца и отсутствии касательных напряжений по ним.

1.4. Коэффициент бокового давления покоя ξ грунта определяется из отношения бокового давления σ2 = σ3 к нормальному давлению σ1:

ξ = σ21.                                                                        (1)

Нормальное давление следует задавать исходя из условий работы грунта основания в интервале давлений, соответствующих давлению, эквивалентному природному σэ или давлению, соответствующему структурной связности σстр*, и заданному проектному давлению.

*) Руководство по определению прочности илов и заторфованных грунтов, М., Стройиздат, 1977.

Боковое давление определяется из опыта в стабилометре с применением аэростатического манометра (капиллярная трубка). Боковое давление вычисляется по формуле:

σ2 = σ0(L0/Li - 1),                                                             (2)

где σ2  - давление в капилляре, равное боковому давлению в образце, в МПа;

σ0   - атмосферное давление в МПа;

L0   - длина столбика воздуха до опыта при атмосферном давлении;

Li    - длина столбика воздуха после сжатия в конце опыта.

1.5. Коэффициент поперечного расширения μ определяется из отношения приращения относительной поперечной деформации lr = lθ к приращению относительной вертикальной деформации lz при постоянной нормальной нагрузке σz и при условии допущения равномерного расширения образца по высоте:

μ = lr/lz.                                                              (3)

Нормальное давление в опыте должно быть больше σстр и меньше разрушающего. Вертикальные деформации грунта измеряются по перемещению штампа. Поперечное расширение lr = lθ рекомендуется измерять по количеству вытесненной жидкости из гидравлической камеры в волюмометр и, принимая, что поперечные деформации пропорциональны изменению уровня жидкости ∆h в волюмометре, вычислять по формуле:

                                                  (4)

где f - площадь трубки волюмометра;

h - изменение положения мениска в волюмометре;

R0 - радиус образца до опыта;

H - высота образца до опыта.

1.6. Коэффициенты бокового давления и поперечного расширения связаны между собой зависимостями:

ξ = μ/(1 - μ);                                                           (5)

μ = ξ/(1 + ξ).                                                           (6)

Следует иметь в виду, что эта зависимость справедлива для случая, когда главные деформации l2 = l3 = 0. Для случая осесимметричной деформации, когда l2 = l3

                                                     (7)

2. Требования к аппаратуре и подготовке образцов глинистых грунтов для определения бокового давления и поперечного расширения в стабилометре

Подготовка образцов

2.1. Для определения бокового давления и поперечного расширения глинистых грунтов ненарушенного сложения образцы должны отбираться из скважин с уровня зачищенного забоя грунтоносами, желательно обуривающими, обеспечивающими ненарушенное сложение и сохранение природной влажности образцов, или из открытых выработок в виде монолита размером 20×20×20 см, а для илов, сохраняющих форму только в жесткой таре, методом режущего кольца по ГОСТ 5182-78*). Диаметр образцов должен быть не менее 70 мм при высоте не менее двух диаметров.

*) Грунты. Метод лабораторного определения объемного веса, М., Издательство стандартов, 1978.

2.2. Для определения бокового давления и поперечного расширения грунтов нарушенного сложения рекомендуется готовить образцы трамбованием глинистого грунта пластичной консистенции в цилиндре диаметром 55 мм и высотой 130 мм. Для обеспечения наибольшей однородности образцов рекомендуется готовить грунт заданной плотности в лотке размером 150×150×150 мм одновременно для четырех образцов диаметром 55 мм. В лоток следует закладывать грунт текучей или текучепластичной консистенции и доводить его до заданной плотности по методике, изложенной в Руководстве**.

**) См. ссылку на 1 стр.

2.3. Для определения бокового давления и поперечного расширения в стабилометре образцы грунтов должны иметь форму правильных цилиндров. Рекомендуется применять образцы диаметром 55 мм и высотой 120 - 130 мм в зависимости от ожидаемой осадки грунта под вертикальной нагрузкой.

2.4. Для получения образцов в виде правильных цилиндров из глинистых грунтов рекомендуется применять прибор, снабженный заменяемой многозубой полой фрезой. Описание прибора дано в прил. 1. Монолит грунта помещают на стол прибора, закрепляют через жесткие стенки в тисках и с помощью механизма подъема стола подводят к основанию полой фрезы. Затем включают электродвигатель в электросеть. Фреза начинает вращаться, врезается в монолит и выбуривает образец. Когда верхняя плоскость фрезы совместится с поверхностью монолита, стол с монолитом постепенно опускают механизмом до упора. Электродвигатель выключают из электросети. Фрезу с образцом отвинчивают от верхней крышки, и образец выдавливают штампом снизу вверх. Цилиндрические образцы допускается вырезать тонкостенным металлическим стаканом с тонким режущим краем.

2.5. Для каждого образца исследуемого грунта должна быть определена плотность γ (ГОСТ 5182-78) и влажность (ГОСТ 5180-75)*) до и после опыта.

*) Грунты. Метод лабораторного определения влажности. М., Издательство стандартов, 1975.

2.6. Для каждого исследуемого на боковое давление и поперечное расширение грунта должны быть определены: влажность на границе текучести WL и на границе раскатывания WP (ГОСТ 5183-77)**), удельный вес γr (ГОСТ 5181-78)***) и структурная связность методом расплющивания. («Инструкция по определению структурной связности пластичных глинистых грунтов». М., Машстройиздат, 1950).

**) Грунты. Метод лабораторного определения границ текучести и раскатывания. М., Издательство стандартов, 1977.

***) Грунты. Метод лабораторного определения удельного веса, М., Издательство стандартов, 1978.

Аппаратура

2.7. Для определения бокового давления в глинистых грунтах может быть использован стабилометр типа Б (рис. 1) с площадью образца, равной площади штока, любой конструкции, допускающей испытание образцов с отношением высоты к диаметру от 2 до 3, измерение бокового давления без возможности поперечных деформаций образца. Стабилометр должен быть снабжен нагрузочным устройством рычажного типа, обеспечивающим плавность приложения нагрузки и постоянство вертикального давления на образец в течение опыта.

Для замера объемных деформаций при определении поперечных расширений стабилометр должен иметь волюмометр 1, соединенный с гидравлической камерой и клапан (кран) 2 перекрытия соединительной трубки (рис. 2). Может быть также использована приставка для замера объемных деформаций, соединенная с прибором (рис. 3), разработанная в институте.

Приставка состоит из волюмометра или измерительной трубки 1 для замера объемных деформаций, бачка 2 для заполнения водой рабочей камеры и долива воды в волюмометр. Эта система соединяется с ресивером для передачи и поддержания бокового давления при необходимости создания заданного напряженного состояния. Устройство для измерения объемных деформаций оборудовано вентилями. Вентиль 6 перекрывает доступ воды в измерительное устройство из рабочей камеры; 5 и 4 отключают резервный бачок 2 и мерную трубку 1, и вентиль 3 служит для слива воды из измерительной трубки.

2.8. Боковое давление в образце при приложении вертикальной нагрузки следует измерять аэростатическим манометром.

Прибор должен обеспечивать максимальное боковое давление не менее 0,4 МПа, измеряемое по шкале манометра с точностью 0,001 МПа.

2.9. Резиновая оболочка 10 (см. рис. 1) отделяющая образец грунта от гидравлической камеры 6, заполненной водой, должна соответствовать диаметру образца и быть на 6 - 7 см длиннее корпуса камеры. Прочность резины должна обеспечивать испытание грунта в стабилометре при нормальных нагрузках до 0,5 МПа.

Перед опытом следует определять по формуле боковое давление σр на образец от растянутой резины:

σр = (D/d - 1)2bE/D,                                                         (8)

D - внутренний диаметр резиновой оболочки до растяжения;

d - диаметр образца;

b - толщина стенки резиновой оболочки;

E - модуль упругости резины при растяжении *).

Рекомендуется толщина резиновой оболочки от 0,5 до 1 мм.

Примечание *). Прозрачная резина изделий, изготовляемых Баковским резиновым заводом по ГОСТ 4645-49, имеет Е-0,9 МПа и сопротивление разрыву 15 МПа при восьмикратном удлинении.

2.10. Осевая нагрузка на образец должна передаваться методом принудительного нагружения через жесткий штамп. Для передачи осевой нагрузки рекомендуется пользоваться рычажными прессами типа пресса системы В.М. Веселовского, описание которого дано в прил. 2.

2.11. Осевую деформацию образца грунта следует определять по перемещению штампа, а измерение осевой деформации производить самописцем или индикатором часового типа (мессура) с точностью до 0,01 мм. Индикаторы должны иметь паспорт, подтверждающий точность измерений и прохождение государственной поверки.

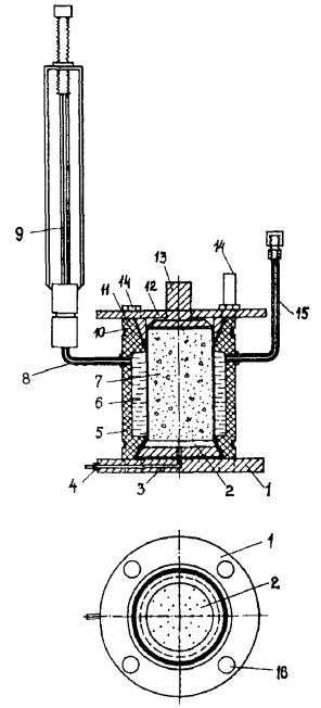
Рис. 1 Модернизированный стабилометр Цилюрика:

1 - днище; 2 - перфорированное основание; 3 - канал, 4 - трубка для удаления воды из образца; 5 - корпус камеры; 6 - гидравлическая камера; 7 - рабочая камера; 8 - патрубок, соединяющий аэростатический манометр 9 с гидравлической камерой; 10 - резиновая оболочка; 11 - выступы стенки корпуса камеры; 12 - металлический фланец; 13 - штамп; 14 - стяжные болты; 15 - трубка для заполнения гидравлической камеры водой; 16 - отверстия под стяжные болты

Рис. 2 Модернизировавший стабилометр Медкова:

1 - волюмометр; 2 - клапан (кран) перекрытия трубки волюмометра; 3 - мессуры

Рис. 3 Приставка для замера объемных деформаций, соединенная с модернизированным стабилометром Медкова

2.12. При передаче осевой нагрузки на образец посредством пресса следует провести его тарировку и определить коэффициент трения f1 по формуле:

f1 = N'/Q,                                                                      (9)

где f1 - коэффициент трения рычажного пресса;

N' - усилие, передаваемое на шток рычажным прессом;

Q - задаваемая нагрузка.

2.13. Стабилометр необходимо перед работой опрессовать. Для опрессовки стабилометр собирают в соответствии с п. 2.15., заполняют гидравлическую камеру дистиллированной, прокипяченной водой в соответствии с пп. 2.16; 2.17. В рабочую камеру помещают металлическую болванку, равную размеру образца, задают гидростатическое давление до 0,5 МПа. Под давлением камеру выдерживают 24 часа. Если падения давления за это время не происходит, прибор можно использовать для испытания грунтов.

Стабилометр следует также протарировать с металлической болванкой для установления поправок на деформации.

2.14. Определение бокового давления и поперечного расширения грунтов должно производиться в помещении с кондиционером для поддержания постоянной температуры.

Испытания могут также производиться в термокамере. Кратковременные испытания допускается проводить в камере из термоизоляционного материала м. прил. 3).

Подготовка прибора к определению бокового давления и поперечного расширения грунтов

2.15. Перед определением бокового давления или поперечного расширения грунтов все части стабилометра тщательно протирают. Стабилометр собирают в следующей последовательности. Внутрь корпуса камеры 5 пропускают резиновую оболочку 10 и натягивают ее на выступы корпуса камеры (см. рис. 1). Резиновую оболочку загибают на внешнюю сторону корпуса и закрепляют резиновыми уплотнителями круглого сечения в желобках. Корпус камеры ставят на днище 1, а на верхний торец корпуса помещают круглый металлический фланец 12, с отверстиями под стяжные болты. Верхний фланец с днищем соединяют стяжными болтами 14. Для лучшей герметизации камеры между торцами корпуса, днищем и верхним фланцем прокладывают резиновые уплотняющие кольца круглого сечения.

2.16. Проверяют камеру стабилометра на абсолютную герметичность. Для этого в рабочую камеру наливают воду на 1 - 2 см выше выходящей в камеру резиновой оболочки - диафрагмы, а в гидравлическую камеру вдувают воздух. Если в рабочей камере появляются пузырьки воздуха, то резиновую диафрагму следует заменить. Если воздух не проходит через диафрагму, то стабилометр погружается в сосуд с водой так, чтобы вода покрыла все соединения, включая соединения верхнего прижимного кольца с верхним фланцем корпуса прибора. По выходу пузырьков воздуха устанавливается место негерметичности прибора. Негерметичность устраняется.

2.17. Аэростатический манометр стабилометра должен быть перед работой протарирован по воде при вертикальных нагрузках до 0,4 - 0,5 МПа.

Коэффициент бокового давления воды в неподвижном состоянии должен быть равен единице. Рабочую камеру через трубку 4 м. рис. 1) заполняют прокипяченной дистиллированной водой.

Для этого на трубку 4 надевают резиновый шланг с воронкой на конце, который приподнимают выше камеры. После заполнения камеры водой перекрывают ее резиновой прокладкой и зажимают верхним фланцем. Проверяют отсутствие воздуха в камере. При наклонном положении камеры снимают резиновый шланг и закрывают трубку 4. Через трубку 15 заполняют гидравлическую камеру дистиллированной прокипяченной водой до момента, когда вода начнет стекать из отверстия трубки 8, затем проверяют в камере отсутствие пузырьков воздуха. Закрывают клапан трубки 15; вставляют в отверстие трубки 8 аэростатический манометр и закрывают его сверху резиновой прокладкой, прижимаемой винтом. После этого несколько раз переворачивают (кантуют) стабилометр для того, чтобы убедиться в отсутствии пузырьков воздуха в гидравлической камере. Если пузырьки воздуха есть, стабилометр ставят наклонно так, чтобы входное отверстие для манометра было несколько выше. При этом пузырьки воздуха собираются у входа в отверстие патрубка манометра. Удаляют пузырьки воздуха и трубку дополняют дистиллированной прокипяченной водой при помощи резиновой груши или пипетки. Укрепляют в приборе манометр и операцию по проверке отсутствия пузырьков воздуха повторяют. Если пузырьки воздуха отсутствуют, прибор тарируют по воде при нагрузках 0,01; 0,02; 0,03; 0,05; 0,075; 0,1; 0,15; 0,2; 0,3; 0,4 МПа. Каждую ступень нагрузки выдерживают до 1 часа. Записывают показания манометра. Вычисляют боковое давление воды по формуле п. 1.4, строят график зависимости бокового давления от вертикального. Определяют средний коэффициент бокового давления и его отклонение от единицы. Погрешность в определении ξ должна не превышать 2 - 3 % (прил. 4).

2.18. Для определения бокового давления и поперечного расширения глинистых грунтов образец в виде цилиндра, вырезанный в соответствии с п. 2.1 или подготовленный в соответствии с п. 2.2 после определения плотности по ГОСТ 5182-78, помещают в стабилометр, собранный в соответствии с п. 2.15.

При определении бокового давления и поперечного расширения водонасыщенных грунтов через резиновый с воронкой шланг, надетый на трубку 4, заливают воду так, чтобы она вытеснила воздух из днища и выступила на поверхность перфорированного штампа 2. Затем, надев на трубку 15 резиновый шланг с резиновой грушей, отсасывают воздух из гидравлической камеры, при этом резиновая оболочка выгибается в сторону стенок корпуса камеры. Цилиндр с образцом, покрытый по торцам бумажными фильтрами, помещают на верхний фланец над рабочей камерой и постепенно образец из стакана выдавливают в камеру. После того как образец погрузится на 1 - 2 см ниже верхнего края резиновой оболочки, постепенно впускают воздух в гидравлическую камеру, чтобы резиновая оболочка начала принимать свое первоначальное положение. Трение образца о резиновую оболочку обеспечит плавное продвижение образца сверху вниз. Вновь отсасывают воздух и проверяют достижение образцом нижнего штампа прибора и его установку строго по центру рабочей камеры стабилометра.

2.19. Гидравлическую камеру стабилометра заполняют прокипяченной дистиллированной водой в соответствии с п. 2.17. Устанавливают в отверстие трубки 8 аэростатический манометр. На верхнюю плоскость образца кладут штамп.

3. Метод определения коэффициента бокового давления глинистых грунтов

Определение бокового давления глинистых грунтов

3.1. Образец грунта, установленный в стабилометр, помещают под пресс и передают на него нагрузку ступенями.

Первая ступень нагрузки должна быть равной ~ σстр. или σэ, т. тому давлению, которым образец был обжат в природе, в соответствии с п. 1.4.

Каждая последующая ступень нагрузки определяется состоянием грунта.

Для грунтов текучей и текучепластичной консистенции первая ступень нагрузки - 0,01 МПа, а затем 0,025; 0,05; 0,075; 0,1; 0,15 МПа, для грунтов пластичной консистенции первая ступень нагрузки - 0,025 МПа и далее 0,05; 0,1; 0,15; 0,20; 0,30; 0,40 МПа, для грунтов полутвердой консистенции от 0,1 и далее через 0,1 МПа до 0,5 МПа.

Каждая ступень нагрузки должна быть выдержана до условной стабилизации деформации, равной 0,01 мм за 12 час.

3.2. Записывают показание аэростатического манометра и показания мессур до приложения вертикальной нагрузки.

3.3. Осевую деформацию грунта по мессуре рекомендуется записывать через 1, 2, 5, 10, 15, 30, 60 мин. и далее через 1 час в течение дня, а затем 2 раза в сутки.

3.4. После приложения вертикальной нагрузки показания аэростатического манометра рекомендуется записывать параллельно с осевой деформацией.

3.5. Одновременно с показаниями аэростатического манометра следует измерять температуру воздуха и воды.

3.6. Результаты наблюдений за деформацией образца и показания аэростатического манометра записывают в журнал (прил. 5).

3.7. Опыт продолжается до условной стабилизации осевых деформаций и до стабилизации показаний аэростатического манометра.

Обработка результатов определения бокового давления глинистых грунтов

3.8. На основании показаний аэростатического манометра вычисляют боковое давление по формуле 2 п. 1.4.

Обработку результатов опыта проводят одновременно с наблюдениями.

3.9. Строят графики зависимости изменения коэффициента бокового давления под постоянной нагрузкой от времени.

За коэффициент бокового давления покоя принимают коэффициент бокового давления, полученный для образца в стабилизированном состоянии.

3.10. Строят графики зависимости коэффициента бокового давления покоя от нормального напряжения на образец.

3.11. Вычисляют изменение во времени коэффициента пористости грунта под постоянной нагрузкой и в зависимости от нормальной нагрузки по формуле:

                                                    (10)

где e0  - начальный коэффициент пористости при вертикальном давлении, равном нулю;

h/h    - относительная деформация грунта.

3.12. Результаты определения коэффициента бокового давления покоя представляются в табличной форме в зависимости от нормальной нагрузки, коэффициента пористости и консистенции.

При условии полного водонасыщения для каждого коэффициента пористости eп может быть вычислена влажность из формулы:

                                                         (11)

                                                     (12)

Пример оформления результатов определения коэффициента бокового давления приведен в прил. 6.

4. Метод определения коэффициента поперечного расширения глинистых грунтов

Определения поперечного расширения глинистых грунтов

4.1. Стабилометр, снабженный волюмометром (см. рис. 2), подготовленный к работе в соответствии с пп. 2.15; 2.16, с заложенным в него в соответствии с п. 2.18 образцом, с заполненной водой гидравлической камерой по п. 2.17, помещают на столик пресса (прил. 2) и центрируют образец.

Устанавливают мессуры и начальный уровень воды в волюмометре.

Записывают в журнал (прил. 7) начальные показания по мессурам и начальное показание по шкале волюмометра. Волюмометр должен быть протарирован в соответствии с прил. 8.

4.2. Кладут на подвеску пресса груз, соответствующий заданной вертикальной нагрузке. Величина нормального давления на образец должна быть в интервале между величиной структурной прочности σстр. грунта и величиной разрушающей нагрузки σразр.

4.3. Записывают в журнал (прил. 7) показания мессур и уровень жидкости в волюмометре сразу после приложения нагрузки в течение 5 мин через 1 мин, затем через 10, 15, 30, 60 мин и далее через 1 час в течение первого дня, в последующие сутки в начале и в конце рабочего дня. Опыт продолжают до условной стабилизации деформации грунта.

Обработка результатов опыта

4.4. По показаниям мессур, с учетом поправок на деформацию прибора при каждой заданной нагрузке, вычисляют относительную среднюю продольную (вертикальную) деформацию грунта в стабилометре lz (прил. 7).

4.5. По формуле 4 п. 1.5 вычисляют относительную поперечную деформацию грунта в стабилометре lr (см. прил. 7).

В формуле 4 площадь волюмометра f и объем образца U = 2πR02H величины - постоянные.

Величиной lz при относительной деформации менее 4 % можно пренебречь, тогда

f/(2U) = K,

а

lr = Kh0.

Для определения величины f волюмометр стабилометра тарируют (прил. 8), после чего определяют константу прибора K.

4.6. Находят коэффициент поперечной деформации образца по формуле 4 для каждого заданного значения σz. Пример оформления результатов определения коэффициента поперечного расширения приведен в прил. 9.

Приложение 1

Прибор для подготовки образцов из глинистых грунтов и торфа для испытания в стабилометре и кручением

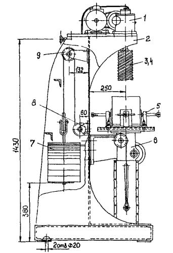
Прибор (рис. 4) предназначен для подготовки из монолитов образцов в виде сплошного или полого цилиндра в лабораториях, исследующих грунты в строительных целях. Прибор имеет следующие параметры: высота станины 1660 мм, длина 830 мм, ширина 840 мм, масса 302 кг. Диаметр заменяемой многозубой полой фрезы для выбуривания сплошного цилиндра 100 мм (92; 55; 38 мм), высота 200 мм (180; 130; 76 мм). Диаметр заменяемого двухперового сверла с однозаходным отводящим стружку шнеком для подготовки полого цилиндра 51 мм (29; 20 мм), высота 200 мм (76 мм).

Мощность электродвигателя типа АОЛ 22-4 для вращения режущих инструментов 0,4 квт, скорость вращения 1500 об/мин, скорость вращения шпинделя 30 об/мин. Ход стола подачи монолита 300 мм. Максимально допустимые размеры обрабатываемого монолита 200 × 200 × 200 мм.

Прибор состоит из станины, электродвигателя, механизма подъема стола, системы блоков и платформы для уравновешивающих стол; грузов, тисков для закрепления монолитов, сменных режущих инструментов - двухперового сверла для выбуривания центральной части образцов и многозубой полой фрезы для обуривания образца грунта. Многозубая полая фреза снабжена системой спиральных канавок по высоте, внутренний диаметр фрезы по зубьям меньше диаметра ее полой части.

Прибор исключает нарушение структуры грунта при вырезывании и ускоряет процесс их подготовки к исследованию в 5 - 10 раз по сравнению с ручным вырезыванием образцов.

Прибор разработан НИИОСП совместно с ЭКБ ЦНИИСК, изготовлен на экспериментальном заводе ЦНИИСК Госстроя СССР и успешно применяется в лабораториях. Чертежи прибора могут быть получены в НИИОСП по адресу: 109389, Москва, Ж-389, 2-я Институтская ул., д. 6.

Рис. 4 Прибор для подготовки образцов из глинистых грунтов и торфа для испытания в стабилометре и кручением

1 - электродвигатель; 2 - станина; 3 - двухперовое сверло для выбуривания центральной части образца; 4 - многозубая полая фреза; 5 - тиски для закрепления монолитов; 6 - механизм подъема стола; 7 - платформа для уравновешивающих стол грузов; 8, 9 - системы блоков

Приложение 2

Рычажный пресс системы В.М. Веселовского

Пресс (рис. 5) рекомендуется для передачи осевой нагрузки на образец грунта, испытываемый в камере трехосного прибора. Пресс имеет четыре рабочих места, т.е. одновременно возможно вести испытания в четырех камерах трехосного прибора.

Давление на шток трехосного прибора передается через плунжер посредством двойных рычагов. Общее отношение плеч рычагов равно 1:20.

Рис. 5 Рычажный пресс системы В.М. Веселовского:

1 - рычаг верхний; 2 - стойка столика; 3 - плунжер; 4 - верхняя стяжка; 5 - крышка столика; 6 - стойка рычагов, 7 - рычаг нижний; 8 - подвеска; 9 - нижняя стяжка; 10 -балка

Приложение 3

Упрощенная камера для поддержания постоянной температуры при определении бокового давления и поперечного расширения грунтов.

Камера с внутренними размерами 200×280×550 мм выполнена из термоизоляционного материала пенопласта толщиной 40 мм с окном из органического стекла для наблюдений за показаниями измерительных приборов (рис. 6). Камера рассчитана для проведения испытания в стабилометре типа Б (модернизированная система Цилюрика или Медкова с аэростатическим манометром при передаче нагрузки с помощью рычажного пресса).

Поддержание постоянной температуры обеспечивается пропуском воды с заданной температурой по трубкам, расположенным у задней стенки камеры.

Рис. 6 Камера из термоизоляционного материала

Приложение 4

Тарировка аэростатического манометра стабилометра по воде.

Условия опыта следующие. В рабочую камеру спрессованного стабилометра заливается дистиллированная прокипяченная вода. Камера перекрывается резиновой диафрагмой, на которую через штамп передается ступенями вертикальное давление. После приложения вертикальной нагрузки и выдержки ее в течение 1 часа записывают показания аэростатического манометра и вычисляют боковое давление по формуле 2.

График зависимости бокового давления от вертикального приведен на рис. 7. Коэффициент бокового давления вода должен быть равен единице. При определении бокового давления аэростатическим манометром погрешность измерений составляет до 3 %.

Рис. 7 Зависимость бокового давления σ2 в воде от вертикального давления σ1:

(Тарировка аэростатического манометра стабилометра типа Б по воде)


Приложение 5

Журнал определения коэффициента бокового давления грунта в стабилометре

Форма 1

Система и номер прибора: Стабилометр типа Б, № 3;

Лабораторий номер образца: 192

Номенклатурный вид грунта: глинистый ил

Сложение грунта: ненарушенное

Условие испытания: без возможности бокового расширения

Длина капиллярной трубки манометра, мм: 186

Диаметр образца d, см: 5,55

Высота образца H, см: 13,2

Площадь образца F, см2: 23,8

Объем образца U, см3: 314,2

Масса образца, г: 527,8

Объемный вес γ, г/см3: 1,68

Влажность грунта W, доли единицы: 0,517

 

Дата

Суточное время, ч

Время от начала опыта

Температура, °С

Вертикальное давление σ1, МПа

Вертикальные деформации образца H, мм

Относительная вертикальная деформация образца H/H

Показание манометра, мм

L0

Li

Боковое давление σ2 = σ3, МПа

Коэффициент бокового давления покоя ξ

воздуха

воздуха

1

2

средняя

29/VI

11

1'

21

22

0,0185

0,27

0,20

0,235

0,0018

35

174

151

0,0151

 

 

12

1 ч

21

22

0,0185

0,70

0,45

0,575

0,0044

33

174

153

0,0137

 

 

18

7 ч

21

22

0,0185

1,38

1,23

1,305

0,010

30

174

156

0,0115

 

18/VII

10

20 сут

21

22

0,0185

6,02

6,05

6,035

0,0457

30

174

156

0,0115

0,621

19/VII

10

21 сут

21

22

0,0185

6,035

6,070

6,052

0,0458

30

174

156

0,0115

21/VII

12

1'

21

22

0,025

6,985

7,015

7,000

0,0531

47

174

139

0,025

21/VII

18

6 ч

21

22

0,025

7,265

7,205

7,235

0,0548

37

174

149

0,0167

 

25/VII

12

4 сут

21

21,5

0,025

7,805

7,615

7,710

0,0584

35

174

151

0,0152

0,608

26/VII

12

5 сут

21

21,5

0,025

7,805

7,615

7,710

0,0584

35

174

151

0,0152

Испытание провел:

Приложение 6

Результаты определения коэффициента бокового давления покоя глинистых грунтов

Форма 2

Лабораторный номер образца: 192

Номенклатурный вид грунта: глинистый ил

Геологический индекс: Gm

Место отбора грунта: объект К

Наименование и № выработки: скв. 5.

Глубина отбора грунта, м: 2 - 2,3.

Система прибора: стабилометр типа Б.

Условия проведения испытания: без возможности бокового расширения.

Характеристика образцов грунта до испытания

Пластичность, доли единицы

Влажность W, доли единицы

Объемный вес γ, г/см2

Удельный вес γr, г/см

Коэффициент пористости e

Степень влажности G

Показатель консистенции JL

Структурная связность 1 - β

WL

WP

JP

0,51

0,23

0,28

0,517

1,68

2,65

1,393

0,98

1,02

0,322

Примечание.

* JP - число пластичности

Результаты испытания

Вертикальное давление, σ1, МПа

Относительные деформации, ∆H/H

Коэффициент пористости eп

Боковое давление σ2 = σ3

МПа

Коэффициент бокового давления покоя ξ0

0,00

0,00

1,393

0,00

 

0,0185

0,0458

1,284

0,0115

0,621

0,025

0,0572

1,256

0,0152

0,608

0,050

0,1535

1,026

0,0318

0,636

 

 

 

 

Среднее 0,622

Рис. 8 График зависимости бокового давления и относительной деформации от вертикального давления

Руководитель лаборатории:

Испытание провел:

Приложение 7

Журнал определения коэффициента поперечного расширения глинистых грунтов в стабилометре путем измерения объемных деформаций

Форма 3

Система и номер прибора: стабилометр типа Б, № 4

Лабораторный номер образца: 192

Номенклатурный вид грунта: ил

Сложение грунта: ненарушенное

Условия испытания: свободное расширение

Среднее приращение объема жидкости в волюмометре при перемещении мениска на 1 мм: 0,05741

Длина капиллярной трубки манометра:

Диаметр образца d, см: 5,55

Высота образца H, см: 13,2

Площадь образца F, см2: 23,8

Объем образца U, см3: 314,2

Масса образца, г: 525

Объемный вес γ, г/см3: 1,67

Влажность грунта, доли единицы: 0,498

 

Дата

Суточное время, ч

Время от начала опыта, сут

Температура, градусы, °С

Вертикальная нагрузка

Показание по мессурам, мм

Тарировочная поправка

Средняя деформация ∆H

Относительная деформация ∆H/H

Отсчет по волюмометру, мм

воздуха

воды

на рычаг H

σ1, МПа

1

2

средняя

11/VII

10

5

21

22

2,37

0,02

16,28

16,55

16,41

-

16,41

0,1242

461

12/VII

10

8

21

22

2,37

0,02

17,29

17,55

17,42

 

17,42

0,1319

466

13/VII

10

7

21

22

2,37

0,02

17,78

17,96

17,87

-

17,87

0,1353

468

14/VII

10

8

21

22

2,37

0,02

18,028

18,158

18,093

-

18,093

0,1370

469


Приложение 8

Тарировка волюмометра стабилометра

Волюмометр заполняют из бюретки водой при температуре 20°. Записывают в форму 4 начальные и конечные показания по шкале бюретки и по шкале волюмометра. Эту операцию повторяют 8 - 10 раз. Затем вычисляют среднее приращение объема жидкости при перемещении мениска в волюмометре на 1 мм.

Форма 4

опыта

Отсчеты по бюретке, см2

Положение мениска в волюмометре

υ/∆h

начальный

конечный

υ

hнач.

hконеч.

h

1

1,8

4,1

2,3

14

53

39

0,0589

2

1,3

5,3

4,0

9

78

69

0,0580

3

1,4

4,5

3,1

15

70

55

0,05637

4

1,9

4,7

2,8

16

65

49

0,0572

5

4,7

7,9

3,2

21

76

55

0,0582

6

2,2

4,4

2,2

27

66

39

0,0564

7

4,4

6,8

2,4

25

68

43

0,0559

8

0,6

3,1

2,5

12

56

44

0,0569

9

2,5

5,2

2,7

20

67

47

0,0575

10

1,7

4,6

2,9

24

74

50

0,058

11

1,3

4,9

3,6

13

75

62

0,0581

Среднее 0,05741


Приложение 9

Обработка результатов определения поперечного расширения глинистых грунтов

Форма 5

Наименование и № выработки: скв. 5.

Глубина отбора грунта м: 2 - 2,3.

Система прибора: стабилометр типа Б.

Условия проведения испытания: свободное боковое расширение.

Площадь волюмометра f, равная 0,05741 см2

Лабораторный номер образца: 192

Номенклатурный вид грунта: глинистый ил

Геологический индекс: Qm

Место отбора грунта: объект К

 

Пластичность, доли единицы

Влажность W, доли единицы

Объемный вес γ, г/см3

Удельный вес γr, г/см3

Коэффициент пористости e

Степень влажности G

Показатель консистенции JL

Структурная связность 1 - β

WL

WP

JP

0,51

0,23

0,28

0,498

1,67

2,65

1,376

0,95

0,95

0,322

Результаты вычисления коэффициента поперечного расширения

Вертикальное давление σz, МПа

Диаметр образца d, см

Площадь образца F, см2

Высота образца H, см

Объем образца U×2, см3

Деформация образца ∆H, см

Относительная деформация ∆H/H = lz

f/2U

h

Поперечная деформация lr = Kh

Коэффициент поперечного расширения μ = lr/lz

0,02

5,55

23,75

11,8

560,5

1,641

0,1242

0,000117

461

0,0539

0,434

0,02

5,55

23,75

11,8

560,5

1,742

0,1319

0,000118

466

0,0550

0,417

0,02

5,55

23,75

11,8

560,5

1,787

0,1353

0,0001184

468

0,0554

0,409

0,02

5,55

23,75

11,8

560,5

1,809

0,1370

0,000119

469

0,0558

0,407

Руководитель лаборатории:

Обработку провел:

Приложение 10

Соотношение между некоторыми единицами физических величин в метрической системе и системе СИ

Величина

Единица

Соотношение единиц

метрическая система

СИ

наименование

обозначение

Сила, нагрузка, вес

кгс

Ньютон

Н

1 кгс = 9,8 Н ≈ 10 Н

Поверхностная нагрузка

кгс2

Ньютон на квадратный метр

Н/м2

1 кгс/м2 10 Н/м2

Давление

кгс/см2

Паскаль

Па

1 кгс/см2 = 9,8·104 Па ≈ 0,1 МПа

Механическое напряжение

кгс/см2

Паскаль

Па

1 кгс/см2 = 9,8·104 Па ≈ 0,1 МПа


СОДЕРЖАНИЕ

1. Общие положения. 1

2. Требования к аппаратуре и подготовке образцов глинистых грунтов для определения бокового давления и поперечного расширения в стабилометре. 2

3. Метод определения коэффициента бокового давления глинистых грунтов. 8

4. Метод определения коэффициента поперечного расширения глинистых грунтов. 9

Приложение 1 Прибор для подготовки образцов из глинистых грунтов и торфа для испытания в стабилометре и кручением.. 10

Приложение 2 Рычажный пресс системы В.М. Веселовского. 11

Приложение 3 Упрощенная камера для поддержания постоянной температуры при определении бокового давления и поперечного расширения грунтов. 12

Приложение 4 Тарировка аэростатического манометра стабилометра по воде. 13

Приложение 5 Журнал определения коэффициента бокового давления грунта в стабилометре. 14

Приложение 6 Результаты определения коэффициента бокового давления покоя глинистых грунтов. 14

Приложение 7 Журнал определения коэффициента поперечного расширения глинистых грунтов в стабилометре путем измерения объемных деформаций. 16

Приложение 8 Тарировка волюмометра стабилометра. 17

Приложение 9 Обработка результатов определения поперечного расширения глинистых грунтов. 18

Приложение 10 Соотношение между некоторыми единицами физических величин в метрической системе и системе СИ.. 18

 

 




ГОСТЫ, СТРОИТЕЛЬНЫЕ и ТЕХНИЧЕСКИЕ НОРМАТИВЫ.
Некоммерческая онлайн система, содержащая все Российские Госты, национальные Стандарты и нормативы.
В Системе содержится более 150000 файлов нормативно-технической документации, действующей на территории РФ.
Система предназначена для широкого круга инженерно-технических специалистов.

Рейтинг@Mail.ru Яндекс цитирования

Copyright © www.gostrf.com, 2008 - 2026