Крупнейшая бесплатная информационно-справочная система онлайн доступа к полному собранию технических нормативно-правовых актов РФ. Огромная база технических нормативов (более 150 тысяч документов) и полное собрание национальных стандартов, аутентичное официальной базе Госстандарта. GOSTRF.com - это более 1 Терабайта бесплатной технической информации для всех пользователей интернета. Все электронные копии представленных здесь документов могут распространяться без каких-либо ограничений. Поощряется распространение информации с этого сайта на любых других ресурсах. Каждый человек имеет право на неограниченный доступ к этим документам! Каждый человек имеет право на знание требований, изложенных в данных нормативно-правовых актах!

  


 

ГОСУДАРСТВЕННЫЙ КОМИТЕТ СОВЕТА МИНИСТРОВ БССР
ПО ДЕЛА
М СТРОИТЕЛЬСТВА

(ГОССТРОЙ БССР)

БЕЛОРУССКИЙ ДОРОЖНЫЙ НАУЧНО-ИССЛЕДОВАТЕЛЬСКИЙ ИНСТИТУТ

(БЕЛДОРНИИ)

МЕТОДИЧЕСКИЕ РЕКОМЕНДАЦИИ
ПО ИНЖЕНЕРНО-ГЕОЛОГИЧЕСКОМУ ОБСЛЕДОВАНИЮ
БОЛОТ МЕТОДАМИ СЕЙСМОРАЗВЕДКИ

Согласованы постановлением Государственного
комит
ета Совета Министров БССР по
делам строительства от 2 апреля 1976 г.
11

Минск 1976

«Методические рекомендации по инженерно-геологическому обследованию болот методами сейсморазведки» содержат указания по применению геофизических методов при дорожных изысканиях в заболоченной местности. Предназначены для руководства при зондировании болот и определения физикоеханических свойств болотных грунтов инженерам-геологам, знакомым с общими принципами геофизической разведки, и инженерам-геофизикам, работающим в дорожных изыскательских партиях.

«Методические рекомендации по инженерно-геологическому обследованию болот методами сейсморазведки» составлены на основе теоретических исследований и практического опыта геофизических изысканий Белдорнии с учетом действующих методических и нормативных документов в области дорожных инженерно-геологических изысканий и общих геофизических инженерных изысканий.

«Методические рекомендации …» составил инженер В.Е. Сеськов под руководством и при участии канд. техн. наук В.Н. Яромко. Общее редактирование осуществлено канд. техн. наук И.Е. Евгеньевым.

При составлении «Методических рекомендаций …» учтены замечания Союздорнии, Союздорпроекта Белгипродора, БелГНИЗа, Белорусского научно-исследовательского института мелиорации и водного хозяйства и других организаций.

Отзывы и предложения по «Методическим рекомендациям …» просим присылать по адресу: г. Минск, Типографская, 28, Белдорнии.

1. ОБЩИЕ ПОЛОЖЕНИЯ

1.1. «Методические рекомендации по инженерноетодическому обследованию болот методами сейсморазведки» содержат указания по определению глубины болотной залежи и физико-механических свойств составляющих ее грунтов методами инженерной сейсморазведки. Они предназначены для практического применения при инженерно-геологическом обследовании болот для целей проектирования новых и реконструкции существующих автомобильных дорог.

1.2. Для определения мощности болотной залежи, а также толщины существующего земляного полотна применяют методы сейсмозондирования и сейсмопрофилирования.

1.3. Физико-механические характеристики болотных грунтов - влажность, коэффициент пористости, объемная масса скелета, сжимаемость, упругие и диссипативные характеристики - определяют методами сейсмического просвечивания и сейсмокаротажа с использованием функциональных и корреляционных зависимостей между сейсмическими и физико-механическими свойствами грунтов.

1.4. Аппаратура, используемая при зондировании и определении физикоеханических свойств сейсмометодами, описана в приложении 1. Предложенные методы разработаны для глубины болотной залежи до 15 м (при ударном возбуждении колебаний грузом массой до 10 кг).

1.5. Основными физическими предпосылками использования методов инженерной сейсморазведки при обследовании болот является: скоростная дифференциация распространения упругих волн в болотных грунтах и грунтах минерального дна болота; различие акустических жесткостей болотных грунтов и грунтов минерального дна б·vб ρμ·vμ, где ρб·vб и ρμ·vμ соответственно плотность и скорость упругих волн в болотных и минеральных грунтах); зависимость скоростей упругих волн от состава и состояния болотных грунтов.

1.6. Методы инженерной сейсморазведки целесообразно применять в комплексе со стандартными методами, что значительно повышает полноту и достоверность получаемых характеристик болотных грунтов. На стадии предварительных изысканий, а также при одностадийном проектировании дорог IV - V технических категорий методы сейсморазведки можно применять в качестве основных. Применение методов сейсмозондирования дает наибольший эффект при определении толщины существующей насыпи на болоте, а также при наличии плотного минерального слоя или слоя мерзлоты на поверхности болота (приложение 5).

2. ОПРЕДЕЛЕНИЕ ГЛУБИНЫ БОЛОТНОЙ ЗАЛЕЖИ

2.1. Сейсмические методы определения глубины болотной залежи целесообразно применять на всех этапах инженерно-геологического обследования болот*.

* Содержание этапов см. в «Методических указаниях по инженерно-геологическому обследованию болот при изысканиях автомобильных и железных дорог». М., Союздорнии, 1973.

На первом этапе - рекогносцировочном - при соответствующем технико-экономическом обследовании (зимние работы, реконструкция дороги и т.п.) сейсмозондирование проводят на коротких локальных поперечниках, выбранных в наиболее характерных местах намеченного перехода через болото.

На втором этапе - подробных изысканий - сейсмопрофилирование служит дополнением к стандартным методам. Излучение непрерывного профиля на поперечниках через 25 - 50 м, а также профиля по оси трассы целесообразно осуществлять сейсмометодами в комплексе со статическим зондированием в 1 - 2 точках на каждом поперечнике. При наличии существующей насыпи или слоя минерального грунта, либо при изысканиях в зимний период с помощью сейсмозондирования можно сократить трудоемкость работ в 1,5 - 2 раза за счет уменьшения объема бурения.

2.2. Обследование болот производят методами преломленных волн (МПВ) - продольными Vр и поперечными V3 поверхностных и отраженных волн. С помощью МПВ можно выделить только те границы между слоями, на которых скорость упругих волн возрастает с глубиной.

2.3. В особых случаях сочетаний слоев могут наблюдаться явления выпадения слоя, экранирования. Во избежание ошибок рекомендуется производить контрольное механическое зондирование в отдельных точках (при однослойном разрезе через 200 м, двухслойном - 100 м и трехслойном и более - через 50 м) с целью проверки строения залежи.

2.4. В ветреную погоду для уменьшения помех сейсмоприемники рекомендуется устанавливать в приямки и присыпать грунтом.

2.5. Возбуждение упругих колебаний при зондировании болот производят ударным способом, который позволяет получать все типы волн.

При ударном способе продольные волны возбуждают вертикальными ударами, которые наносят по специальной подставке (удар Z).

Поперечные волны SV возбуждаются или аналогичным вертикальным ударом, или горизонтальным ударом (по направлению сейсмического профиля), который производят по вертикальной стенке специально выкопанной ямки или по вкопанной подставке (удар X).

Поперечные волны SH возбуждаются горизонтальным ударом, но в направлении, перпендикулярном сейсмическому профилю (удар V).

Регистрация продольных волн производится сейсмоприемниками, расположенными вертикально (по направлению Z), поперечных волн SV сейсмоприемниками, расположенными горизонтально, по линии профиля (по направлению X), поперечных волн SH - сейсмоприемниками, расположенными горизонтально, но перпендикулярно линии профиля (по направлению Y).

2.6. Непрерывные профили рекомендуется разбивать на опорных поперечниках или, в случае необходимости, через все болото. Длина сейсмического профиля определяется глубиной и строением болота, а также гидрогеологическими условиями и должна быть не меньше учетверенной глубины болота.

2.7. Сейсмоприемники расставляют по профилю с интервалом ∆X (рис. 1). Рекомендуются следующие расстояния метрах) от сейсмоприемника до пункта возбуждения (ПВ); 2, 3, 4, 5, 6, 8, 10, 12, 14, 18, 22, 24, или 2, 4, 6, 8, 10, 12, 14, 16, 18, 20, 24, 28, 32, 36, или 2, 4, 6, 8, 10, 12, 14, 16, 18, 20, 22, 24.

Рис. 1. Схема сейсмического профиля:

1 - прямая волна; 2 - проходящая; 3 - преломленная; 4 - скользящая

2.8. Для более точного определения глубины залежи используют встречные и нагоняющие системы (особенно на существующих насыпях).

Встречной системой для некоторой преломленной волны называется система, при которой возбуждения колебаний производят с двух сторон профиля, длина которого обеспечивает приход данной волны в каждый ПВ.

Нагоняющая система для данной волны - это система, при которой два ПВ расположены с одной стороны профиля на некотором расстоянии один от другого.

2.9. Выбор системы наблюдений определяется особенностями строения грунтовой толщи:

а) болота I типа с однородным составом торфа и уклоном минерального дна менее 10°. Скорости упругих волн по глубине почти не меняются. Граница торф - минеральное дно обычно является сильной преломляющей границей для поперечных и продольных волн (возрастание скоростей больше 1,33).

Для определения общей мощности болотных отложений работы следует проводить по методике продольного или поперечного сейсмозондирования с использованием схем Z-Z или Y-Y. Встречные системы не применяют. Полоса используемых частот (фильтрация) обычно 25 - 100 Гц или широкополосная. При использовании поверхностных волн следует применять только широкополосную фильтрацию;

б) болота I типа с однородным составом торфа и уклоном минерального дна более 10°. Для повышения точности определения глубины залежи необходимо применять встречные системы;

в) болота I типа с неоднородными слоями, скорости упругих волн возрастают с глубиной. В данном случае может наблюдаться рефракция волн. Системы наблюдения рекомендуется применять встречные по схеме Z-Z;

г) болота II и III типов, где торф подстилается органо-минеральными грунтами различной консистенций. Сильные преломляющие границы отсутствуют. Скорости упругих волн растут с глубиной, в результате наблюдается рефракция волн. Рекомендуется применять продольное профилирование по схеме Z-Z с применением встречных систем;

д) болотный грунт перекрыт минеральной насыпью или естественным слоем минерального грунта.

Граница насыпь - болотный грунт в большинстве случаев является слабой, и преломленная продольная волна быстро затухает. Преломленные поперечные волны от этой границы не образуются. Граница болотный грунт - минеральное дно может быть сильной (болото заполнено полностью торфом) и слабой (болото с органо-минеральными грунтами). Рекомендуется применять встречные и нагоняющие системы.

2.10. Интерпретация данных сейсмических наблюдений при зондировании болот проводится в два этапа: 1 - сейсмическая интерпретация, включающая определение времени вступления различных типов волн на сейсмограммах или на экране осциллоскопа, построение годографов, вычисление граничных скоростей, построение преломляющих границ и 2 - геологическая интерпретация, включающая построение геологического профиля по данным границ слоев, полученным на первом этапе.

2.11. Каждый тип волн характеризуется на сейсмограммах следующими параметрами: периодом (Т), амплитудой (А) и затуханием (α). Различные типы волн обычно отделяются друг от друга на сейсмограмме периодами относительного спокойствия, но иногда они могут и накладываться друг на друга на отдельных трассах сейсмограммы из-за разной скорости распространения, вследствие чего преломленные волны, соответствующие разным границам раздела, сменяют друг друга в первых вступлениях на сейсмограмме. Критериями смены волн являются: изменение кажущихся скоростей, резкое изменение амплитуды волны без значительного изменения ее периода, изменение формы записи на сейсмограмме.

2.12. По времени прихода выделенных волн строят годографы - графики зависимости времени пробега сейсмической волны от расстояния между источником возбуждения и сейсмоприемником.

Для построения годографов по полученным сейсмограммам проводится корреляция волн - последовательное прослеживание особенностей прохождения волн от трассы к трассе луча на сейсмограмме. Корреляция проводится по первым вступлениям и фазам волн.

2.13. В зависимости от строения болотной залежи получаемые при зондировании годографы имеют три характерные формы строения: прямолинейные (см. п. 2.9,а); криволинейные (см. п. 2.9); комбинированные - болотная залежь имеет ярко выраженные градиентные свойства (торф переходит в ил; минеральное дно, как однородный слой).

2.14. Скорости волн находят по наклону годографа, по перегибу, методом разностного годографа и т.п. (приложение 2).

Построение сейсмических границ для прямолинейных годографов производят методами средних и пластовых скоростей, а для комбинированных и криволинейных - слабая градиентная среда - методами О.К. Кондратьева, способом и др. (см. приложение 2).

Для определения глубины болот по методу поверхностных волн используется связь между фазовой и групповой скоростью волны и отношением длины волны к толщине слоя λ/h или периодом, отнесенном по времени пробега поперечной волны поперек слоя (см. приложение 2).

2.15. Геологическая интерпретация полученных результатов заключается в построении геосейсмических профилей с выделением глубины минерального дна болота. На геологические профили наносят высотные отметки поверхности, дна болота, кровли слоев, определенные при геофизической интерпретации и контрольном механическом зондировании. Пример геосейсмической интерпретаций дан в приложении 4.

3. ОПРЕДЕЛЕНИЕ ФИЗИКО-МЕХАНИЧЕСКИХ СВОЙСТВ БОЛОТНЫХ ГРУНТОВ (СЕЙСМИЧЕСКОЕ ПРОСВЕЧИВАНИЕ И СЕЙСМОКАРОТАЖ)

3.1. Для определения физико-механических показателей болотных грунтов по сейсмическим характеристикам (скорости упругих волн и их затухание) применяют сейсмическое просвечивание ис. 2а) или сейсмокаротаж (рис. 2б), позволяющие определить фактические скорости в болотной залежи.

Сейсмическое просвечивание и сейсмокаротаж применяют на этапе подробных изысканий и совмещают со статическим зондированием. Сейсмические методы в отличие от стандартных дают не дискретныеотдельных точках), а непрерывные характеристики между заданными ПВ и приемниками колебаний. Применение сейсмометодов увеличивает объем информации и повышает достоверность данных о физико-механических свойствах грунтов, позволяет получить ряд характеристик в полевых условиях, без применения лабораторных методов, что снижает стоимость работ в 3 - 5 раз.

Рис. 2. Способы измерения скоростей упругих волн в залежи:

а) схема сейсмопросвечивания; 1 - устройство для возбуждения колебаний; 2 - устройство для приема колебаний; б) схема сейсмокаротажа

3.2. При определении скоростей и коэффициента затухания упругих волн по вертикали залежи (сейсмокаротаж) сейсмопенетрометр при помощи штанг задавливают на требуемую глубину (приложение 1). Во время погружения сейсмопенетрометра через установленные интервалы (0,2 - 0,5 м) по индикатору регистрируется лобовое усилие вдавливанию конуса. После достижения заданной глубины штангу извлекают и производят возбуждение (на поверхности залежи) и запись колебаний. Возбуждение колебаний осуществляют ударом кувалды по подставке 0,5 - 1,0 м от места погружения.

Регистрируется время прихода продольных и поперечных волн; при ударе по схеме Z-Z получают продольные, по схеме Y-Y - поперечные волны. После этого извлекают из болотного грунта сейсмопенетрометр, соединяют со штангой и погружают до следующей отметки. Интервал измерений через 1,0 м.

3.3. При измерении скоростей упругих волн и их затухания по горизонтали (сейсмическое просвечивание) возбуждение колебаний производят конусным наконечником на расстоянии 1 - 4 м от сейсмопенетрометра, погруженного на ту же глубину.

Работы производят в следующем порядке:

Навинчивают (рис. 7, приложение 1) конус 1 и подставку 3 на штангу 2 и погружают на требуемую глубину. Подставка должна возвышаться над поверхностью залежи на 0,3 - 0,4 м, чтобы не возбуждать колебаний на поверхности залежи. В отверстие 7 вставляют; направляющую штангу 4 с грузом 5, зафиксированным в верхнем положении.

Для регистрации волн на расстоянии 1 - 4 м от пункта возбуждения на эту же глубину погружают сейсмопенетрометр (см. рис. 2а), включают регистратор и производят возбуждение колебаний. Таким же образом производят работы по всей глубине залежи, обычно через 1,0 м.

3.4. Поперечные волны на расстоянии двух - трех длин волн от источника возбуждения выделяются четко. Выделение волн SH (удар и прием Y-Y) производят по признаку инверсии фаз при перемене знака воздействия, а также интенсивности волн при ориентации сейсмоприемников по линиям X, Y и Z.

3.5. По полученным записям - осциллограммам - (рис. 3) определяют скорости упругих волн и их затухание в залежи.

Рис. 3. Осциллограмма просвечивания болотной залежи при X = 3 м

1 - 2 - сейсмоприемники расположены от поверхности залежи на X = 3 м от ПВ; 3 - 4 - - сейсмоприемники расположены в сейсмопенетрометре на глубине h = 3 на расстоянии X = 3 м от ПВ

В случае измерения скоростей упругих волн по вертикали (сейсмокаротаж) составляют сводную сейсмограмму (рис. 4а), по которой строят годографы (рис. 4б). По годографам определяют скорости упругих волн в залежи по формуле V = ∆h/∆t (∆h - расстояние от ПВ до сейсмопенетрометра, ∆t - время прохождения волной расстояния ∆h), а также среднюю скорость в залежи по формуле  (h - мощность залежи, t - время прохождения волн через залежь).

Рис. 4. Результаты измерения скоростей упругих волн по вертикали болотной залежи:

а) сводная осциллограмма по результатам сейсмокаротажа болотной залежи; б) вертикальные годографы и геологическая колонка

При измерении скоростей упругих волн по горизонтали (сейсмическое просвечивание) по полученным осциллограммам (см. рис. 3) определяют время прихода колебаний и по формуле V = Z/t (Z - расстояние от ПВ до приемника; t - время прихода колебаний) находят скорости упругих волн на данной глубине.

По результатам испытаний строят графики изменения скоростей продольных и поперечных волн, усилий вдавливания конуса по глубине болотной залежи (рис. 5). Далее по функциональным и корреляционным зависимостям (приложение 3) находят физико-механические характеристики болотных грунтов.

Рис. 5 Графики, построенные по результатам сейсмопросвечивания

Приложение 1. ИСПОЛЬЗУЕМАЯ АППАРАТУРА

При зондировании болотной залежи рекомендуется применять два вида аппаратуры: многоканальные установки (при обследовании реконструируемых дорог и осушенных болот) и одно-, трехканальные (при обследовании новых трасс на неосушенных болотах). В качестве многоканальных установок можно использовать серийно выпускаемую сейсмостанцию «Поиск-1-6/12-АСМ», которая имеет фотоосциллографическую и магнитную записи. Станция смонтирована на автомобиле ГАЗ-69, но в случае необходимости ее можно переоборудовать в переносную.

В качестве одноканальных установок рекомендуется использовать серийно выпускаемые установки ОСУ-2, ДОСУ-1 и регистратор эхолота ЭП-1. Для этих установок сконструирован специальный пульт управления, что позволяет использовать косу с 12 - 16 сейсмоприемниками, а также осуществлять фильтрацию в диапазоне частот 0 - 150 Гц.

Комплекс аппаратуры, применяемой при зондировании болотной залежи, представлен на рис. 6.

Рис. 6. Комплекс аппаратуры и оборудования:

1 - пульт управления; 2 - регистратор колебаний; 3 - переносная электростанция; 4 - устройство для возбуждения колебаний внутри болотной залежи; 5 - кабель для подсоединения сейсмоприемников к регистратору (коса); 6 - конусный зонд сейсмопенетрометра; 7 - держатель

Масса регистратора эхолота ЭП-1 8 кг, запись ведется чернилами, что позволяет сразу контролировать качество осциллограмм.

В качестве трехканальных установок можно использовать осциллограф Н-700 с трехканальным усилителем и регистратор Н-327-3.

Питание переносной аппаратуры осуществляется от электростанции мощностью 0,5 кВт напряжением 24 или 220 В, массой 20 кг.

При сейсмозондировании болот рекомендуется использовать следующие типы сейсмоприемников ОПЭД-56, СВ-10, СВ-20, ОГ-1-10 и ОГ-1-20. Для установки сейсмоприемников используются специальные держатели (см. рис. 6), позволяющие ориентировать сейсмоприемники в трех плоскостях (X, Y, Z). Держатели погружают в торф на 30 - 40 см, что обеспечивает хороший контакт сейсмоприемников с болотным грунтом. Для соединения сейсмоприемников с регистрирующей аппаратурой используют косы на 6, 12 и 16 сейсмоприемников. Возбуждение колебаний осуществляют ударом кувалды асса 10 кг) по металлической или деревянной подставке.

Для измерения скоростей прямых волн в болотной залежи разработаны специальные устройства для возбуждения и приема колебаний (способ конуса, сейсмопенетрометр, держатели).

Возбуждение упругих волн внутри слоев осуществляли устройством ис. 7), которое состоит из конусного наконечника 1 с углом α = 60 - 90° и сечением 20 см2; штанги для погружения конуса 2; металлической подставки 3, по которой производится удар падающим грузом; направляющей 4; контактов, замыкающихся во время удара 5; груза массой 5 кг 6; фиксатора высоты падения груза 7.

Возбуждение колебаний производится конусным наконечником, на который через соединительные штанги передается удар падающего груза. Под воздействием удара конус создает импульсное усилие по вертикали Z и горизонталям X и Y, возбуждая продольные и поперечные волны. При помощи этого устройства можно возбуждать колебания в различных слоях болотной залежи и на любой глубине.

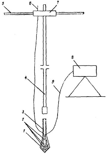
Для приема упругих волн используют специально разработанный прибор - сейсмопенетрометр (рис. 8), который позволяет проводить статическое зондирование слабых болотных грунтов с измерением по глубине сопротивления вдавливанию конуса и скоростей упругих волн.

Сейсмопенетрометр состоит из следующих основных частей (см. рис. 8): конусного наконечника с углом α = 90° и сечением 40 см2 1, в котором помещены три сейсмоприемника, расположенные в трех плоскостях (X, Y, Z) 2; хвостовика 3 с отверстием для кабеля 9 и переходником для соединения со штангами; штанг для задавливания 4 с рукояткой 5 и механического измерительного устройства 7 конструкции Л.С. Амаряна; приспособления для извлечения сейсмопенетрометра 6; регистрирующей аппаратуры 8.

Рис. 7. Устройство для возбуждения колебаний внутри болотной залежи

Приложение 2. ИНТЕРПРЕТАЦИЯ ПОЛЕВЫХ ДАННЫХ СЕЙСМОРАЗВЕДКИ

1. Определение скоростей по годографам преломленных волн (прямолинейные годографы)

Для двухслойной среды с горизонтальной границей раздела (однородный торф) характерны прямолинейные годографы (рис. 9). В этом случае граничные скорости можно определять по наклону отрезков с помощью формулы

где ∆X - расстояние по годографу; ∆t - время по годографу.

Рис. 8. Схема сейсмопенетрометра

Рис. 9. Определение скоростей и t0 по прямолинейному годографу первых вступлений продольной волны

Здесь кажущаяся скорость V* равна граничной скорости Vг. Вообще же кажущаяся скорость равна  где ψ - угол между касательной к фронту волны и поверхностью земли.

Среднюю скорость прямой волны определяют по перегибу годографа.

В случае наклонных границ для определения граничных скоростей применяют два основных способа: точный метод полей времени и приближенный метод разностного годографа /1, 2, 18/. Обычно в инженерно-геологических изысканиях используют более простой метод разностного годографа, который обеспечивает достаточную точность при малом угле наклона границы ψ. Метод требует встречной системы наблюдений с увязанными во взаимных точках годографами. Причем разностный годограф строят лишь на участке перекрытия встречных годографов (рис. 10).

Рис. 10. Построения разностного годографа tраз.

Положение любой точки с координатой X, лежащей на линии разностного годографа, определяется равенством

где  и  - время по двум встречным годографам;

T - время прихода волны во взаимных точках.

Разностный годограф строят следующим образом (см. рис. 10).

Измеряют отрезок ∆t от одного из встречных годографов по горизонтальной прямой, соединяющей взаимные точки, и откладывают этот отрезок по ординате от другого годографа. В результате получают точку, принадлежащую разностному годографу. Таким же образом получают и другие точки.

Граничную скорость определяют по формуле

Vг = 2Vраз·cosφ,

где Vраз - скорость по разностному годографу;

φ - угол наклона границы. При малых наклонах границы им можно пренебречь.

В случае отсутствия перекрытого участка у встречных годографов значение Vг приближенно вычисляют из следующей формулы:

где  и  - значения кажущихся скоростей по встречным годографам.

В случае наличия перекрытого участка, но неувязанной системы годографов (для волны t1) скорость Vраз находят по рис. 11. Для определения Vраз измеряют величину  и откладывают ее от любой линии, параллельной оси абсцисс.

2. Построение преломляющих границ

Глубины преломляющих границ можно определить двумя способами: менее точным, но более быстрым способом средних скоростей () и более точным, но более громоздким способом пластовых скоростей (Vп). Оба эти способа являются упрощенными модификациями точного способа полей времени /2/.

При простом строении (двухслойная среда, горизонтальная граница) залежи можно применять и другие упрощенные способы, основанные на ряде допущений /3/.

Способ средних скоростей /1, 2, 3/

Все слои, лежащие выше искомых преломленных границ, рассматривают как один однородный слой с постоянной скоростью распространения упругих волн. Для построения границ необходимо иметь значения Vг,  и t0.

Vг находят по одному из способов, описанных выше;  - по перегибу годографа (точка пересечения прямой и преломленной волны) и t0 - продолжением годографа преломленной волны на ось времени (рис. 12а).

Рис. 11. Построение разностного годографа tраз (для волны t1) в случае неувязанной системы годографов

Для n-го слоя границу находят по формуле

где - средняя скорость до n границы;

Vг.п - граничная скорость вдоль этой границы;

t0n - значение t0 для n границы.

Для первой границы раздела

Для первой границы можно использовать также формулу

где Xт.п - точка пересечения годографа прямой и преломленной волны.

Приближенно глубину можно определить (горизонтальная граница, двухслойная среда) по положению точки перегиба (Xт.п), как h = (0,33 ÷ 0,4)·Xт.п /3/.

Если имеется систем встречных годографов, увязанных во взаимных точках, то глубину залежи в любой точке профиля (имеющего перекрытый участок) можно определить по построенной линии t0(X), которую находит из соотношения

Построение показано на рис. 12б.

Рис. 12. Определение средних скоростей и t0 для многослойного разреза (а) и построение линий t0(X) при встречной системе с перекрытыми участками (б)

Способ пластовых скоростей /1, 2, 3/.

Для определения мощности каждого слоя необходимо знать t0 и Vг для каждой границы.

Мощность первого слоя определяют способом, описанным выше.

Мощность второго слоя

где i12 = arcsin(V1/Vг.1); i13 = arcsin(V1/Vг.2); i23 = arcsin(Vг.1/Vг.2).

Мощность третьего слоя

где i14 = arcsin(V1/Vг.3); i24 = arcsin(Vг.1/Vг.3); i34 = arcsin(Vг.2/Vг.3);

t01, t02, t03 - соответственно время, отсекаемое на оси времен продолжениями первого, второго и последнего отрезков годографов преломленных волн.

Аналогичные формулы выводят и для следующих слоев.

Глубины преломляющих границ находят суммированием мощностей залегающих выше слоев.

Для приближенного определения Vг.i в методе пластовых скоростей можно использовать формулу /15/

где  и  - кажущиеся скорости преломленных волн от одной и той же границы, зарегистрированные по подъему и падению ее.

При использовании одноканальных установок (при двухслойной среде) целесообразно определять положение наклонной границы по годографам из одной точки пункта возбуждения по способу расстояний (рис. 13) /4/.

Наклон границы определяют по формуле

где

 

а ее глубину - по формуле  или как показано на рис. 14.

 

Рис. 13. Определение угла наклона и глубины залежи из одной точки пункта возбуждения

Рис. 14. Упрощенный аналитический способ определения скоростей и глубины залежи с центральным пунктом возбуждения

3. Интерпретация годографов рефрагированных волн

В случае градиентной среды арастание скоростей упругих волн по глубине залежи или частичное нарастание в первом слое) получают комбинированные, или криволинейные, годографы.

По годографам рефрагированных волн можно определять скоростное строение залежи и t0X по схеме, показанной на рис. 15.

Рис. 15. Способы обработки криволинейных (а) и комбинированных (б) годографов

Глубину определяют по формулам /5, 6/:

  

Здесь

где Xα и tα - координаты точки на годографе рефрагированной волны;

 и V* - пластовая и кажущаяся скорости.

За величину V* принимают значение кажущейся скорости в точке наблюдения (в точке Xα), за величину t0X - значение времени, отсекаемое на оси t касательной к криволинейному годографу в данной точке (см. рис. 15а). Для сильноградиентной среды более точные результаты дает формула Н.И. Павланковой и Т.В. Смелянской:

Может быть использован также способ, основанный на аппроксимации криволинейного годографа отрезками прямых линий /15, 16/. Годограф разбивают на ряд участков. По заданным координатам Xn, tn вычисляют пластовую скорость

и значения t0n, отсекаемые продолжением соответствующих линейных отрезков на оси времен:

t0n = tn - Xn-1/Vn.

По значениям V1, V2 и t02 находят мощность первого слоя:

Мощность последующих слоев находят из выражения

где

Пример расчета по этому способу показан на рис. 16. Расстояние ∆X между выбранными точками следует выбирать из условия

где t - среднеквадратическая ошибка измерения времени (t = 0,001 - 0,003 сек);

V* - кажущаяся скорость по годографу в точке X.

V1 = X1/t1 = 10/0,0441 = 227 м/сек; V2 = (X2 - X1)/(t2 - t1) = (20 - 10)/(0,0722 - 0,0441) =356 м/сек;

t01 = t1 - X1/V2 = 0,0441 - 10/356 = 0,016 сек;

V3 = (X3 - X2)/(t3 - t2) = (30 - 20)/(0,0909 - 0,0722) = 534 м/сек;

t02 = t2 - X2/V3 = 0,0722 - 20/534 = 0,0347 сек;

τ2 = t02 - τ13 = 0,0347 - 0,019 = 0,0157 сек;

 Результаты см. в таблице.

Рис. 16. Пример расчета определения скоростей, t0 и глубины залежи по криволинейному годографу (по В.Н. Бондареву)

Удовлетворительные результаты также дают формулы с использованием средних скоростей.

В случае комбинированного годографа рекомендуется положение минерального дна («однородный» слой) определять методом t0эф /7/.

Для этого через точку Xт.п (начало прямолинейного участка) проводят прямую под наклоном  до пересечения с осью ординат в точке Е, Vэф равна наклону начальной части годографа рефрагированной волны м. рис. 15б). Величина ВЕ в масштабе оси времени является эффективной величиной t0эф. Далее определяют мощность слоя по формуле

4. Интерпретация поверхностных волн

Применяется как вспомогательный метод для уточнения границы минерального дна или толщины насыпи.

При интерпретации поверхностных поперечных волн для определения толщины слоя болотной залежи или толщины земляного полотна на болоте обычно имеем два случая: а) поверхностный слой расположен на слое с большей скоростью распространения поперечных волн SH; б) поверхностный слой расположен на слое с меньшей скоростью распространения SH.

В первом случае используют формулу /8/

где T - квазипериод;

Vф - фазовая скорость;

V2 - скорость во втором слое.

Во втором случае для определения толщины насыпи (поверхностный слой) на болоте используют формулы /8, 17/, справедливые в том случае, когда подстилающий слой по своим свойствам близок к жидкости:

 

где Vгр - групповая скорость.

Простейший способ определения фазовой скорости состоит в том, что определяют разность времен (t02 - t01) появления одной и той же фазы, М1 и М2 на сейсмограмме. На эту разность делят разность расстояний (X2 - X1) между сейсмоприемниками (рис. 17).

Рис. 17. Схема определения фазовой скорости

Групповая скорость - скорость движения всей группы волн (волнового пакета, цуга), определяемая по движению середины всей группы волн.

Точность определения глубины и толщины насыпи поверхностными волнами ниже, чем преломленными. Погрешность этого метода составляет 10 - 20 % по сравнению с бурением.

5. Отраженные волны

Часто на сейсмограммах, полученных на болотах I типа (осушенных и неосушенных), в последующих вступлениях хорошо выделяются отраженные волны (рис. 18).

Рис. 18. Характерная сейсмограмма на осушенном болоте (уровень грунтовых вод ниже границы «минеральное дно»)

При определении мощности торфа метод отраженных волн является вспомогательным - применяя его совместно с методом преломленных волн, получают наиболее точные данные.

Годографы отраженных волн в основном имеют прямолинейный вид:

tX2 = t012 - X2/V12

с углом наклона

φ = arctg(1/V12),

где tX - время прихода волны, отраженной от контакта между слоями;

t01 - время прихода отраженной волны в случае, когда сейсмоприемник расположен в непосредственной близости от точки удара (X - О);

V1 - скорость упругой волны (P) в торфе.

Определение t01 производится обычно по величине отрезка, отсекаемого продолжением годографа на оси t в точке X = 0, а V1 по φ = arctg·(1/V12).

Глубину залежи находят по формуле

h1 = 0,5·t01·V1.

В случае, когда скорость упругих волн в верхнем слое (торф) изменяется с глубиной, годограф отраженной волны имеет некоторую кривизну. Для определения средней скорости волны в данном случае необходимо построить касательную к кривой годографа в средней точке криволинейного отрезка и определить скорость этой касательной по формуле

Приложение 3. ОПРЕДЕЛЕНИЕ ФИЗИКО-МЕХАНИЧЕСКИХ СВОЙСТВ БОЛОТНЫХ ГРУНТОВ ПО СКОРОСТИ И ЗАТУХАНИЮ ПОПЕРЕЧНЫХ ВОЛН

В результате статистической обработки экспериментальных материалов получены зависимости сейсмоакустических характеристик от показателей состава и состояния торфяного грунта (рис. 19 - 23, табл. 1, 2).

Для удобства определения ряда физических характеристик и сжимаемости торфа по скорости VS составлена номограмма (рис. 23).

Рис. 19. Зависимости скорости поперечной волны VS от влажности W, коэффициента пористости ε и объемной массы скелета торфа γск

а - W, б - ε, в - γск

Рис. 20. Зависимости коэффициента затухания поперечной волны αS от коэффициента пористости торфа αS = f(ε)

Рис. 21. Зависимости динамического модуля упругости Ед от объемной массы скелета торфа Ед = f(γск)

Рис. 22. Зависимости модуля осадки lp от акустической жесткости Rа торфа при нагрузках Р = 0,25; 0,5; 0,75; 1,0 кгс/см2

Таблица 1

Физико-механические показатели торфа

Число измерений

Пределы измерений

Корреляционные уравнения

Среднеквадратичное отклонение функции

Корреляционное отношение и коэффициент корреляции

W, % влажность

647

300 - 1500

VS = 5,2 + 9000/W

0,06·VS

0,88

ε, коэффициент пористости

366

6 - 22

VS = 1,8 + 204/ε

0,058·VS

0,95

121

6 - 22

αS = 0,025·ε1,4

0,06

0,89

γск, г/см3 - объемная масса скелета

494

0,06 - 0,21

VS = 178·γск - 1,5

1,34

0,97

110

0,06 - 0,20

Ед = 1000· γск2,14

0,95

0,91

Модуль осадки lp, мм/м

 

 

 

 

 

l при Р = 0,25 кгс/см2

55

-

lp = 330 - 0,35·Rα

12

0,98

Р = 0,5

135

-

lp = 482 - 0,50·Rα

20

0,95

Р = 0,75

53

-

lp = 547 - 0,53·Rα

15

0,986

Р = 1,0

68

-

lp = 590 - 0,55·Rα

25

0,97

Примечание. VS - скорость поперечной волны; Rα - акустическая жесткость (Rα = γск·VS); αS - коэффициент затухания поперечной волны.

Рис. 23. Номограмма для определения по скорости поперечной волны Ед, γск, Rα и lp

Рис. 24. Зависимость скорости поперечной волны от объемной массы скелета (а) и влажности) органо-минеральных болотных грунтов

Исследования скоростей VS в органо-минеральных болотных отложениях (сапропелях и болотных илах) позволили получить эмпирические зависимости (см. рис. 24 и табл. 2).

Полученные зависимости выведены в основном по результатам исследований на низинных, верховых и переходных болотах (для верховых торфов при определении W и ε по приведенным зависимостям вводится коэффициент 1,2). Они получены по результатам исследований болотных массивов на территории Белоруссии и Прибалтики. Проведенный анализ болотных отложений других районов СССР (Европейская часть РСФСР, Урал, Сибирь) позволяет предположить, что полученные зависимости пригодны и для этих районов.

При вероятностно-статистическом анализе взаимосвязи между сейсмическими и физико-механическими свойствами за основу брали поперечные волны SH и их затухание, регистрируемые сейсмоприемником по линии Y. Погрешность измерений , W, γск) методами сейсмопросвечивания не превышает 10 % по сравнению со стандартными методами (рис. 25).

Анализ табл. 1 и 2 показывает, что значения скоростей VS зависят от физических характеристик болотных грунтов. Корреляционные уравнения между VS и γск болотных грунтов показывают, что скорости VS находятся в прямой зависимости от количества частиц в единице объема, т.е. с увеличением частиц в объеме (уменьшается W) увеличивается количество контактов между упругими пленками воды, окружающими частицы, плотность упаковки, а следовательно увеличивается и скорость VS.

Для органо-минеральных грунтов наблюдается резкое увеличения скорости VS в естественной залежи, начиная с W = 150 - 200 %. По нашему мнению, это связано с образованием более прочной коагуляционной структуры (затвердение коллоидов) при этих влажностях, поэтому происходит упрочнение (уплотнение), что вызывает резкое увеличение скоростей VS.

Таблица 2

Физические параметры органо-минеральных отложений

Число измерений

Пределы измерений

Корреляционные уравнения

Среднеквадратичное отклонение функции

Корреляционное отношение и коэффициент корреляции

W, %, влажность

256

50 - 1100

VS = 15,1 + 3700/W

0,07·VS

0,86

γcк, г/см3, объемная масса скелета

148

0,08 - 1,2

VS = 60·γcк + 12

1,40

0,89

ε, коэффициент пористости

256

1,5 - 20

VS = 12,66 + 103/ε

0,065·VS

0,88

Рис. 25. Погрешность измерений

Приложение 4. ПРИМЕР ОПРЕДЕЛЕНИЯ ГЕОТЕХНИЧЕСКИХ ХАРАКТЕРИСТИК БОЛОТНЫХ ГРУНТОВ ПО СЕЙСМИЧЕСКИМ ПОКАЗАТЕЛЯМ

1. Исходные данные

По результатам рекогносцировочных изысканий на автодороге Минск-Гродно намечены расчетные поперечники. Глубина болота не превышает 4 м.

В результате измерений на расчетном поперечнике в полевых условиях получены сейсмограммы: по результатам сейсмозондирования (фильтрация 25 - 100 Гц, длина профиля 24 м, сейсмоприемники расставлены через 2 м (рис. 26а) и по результатам сейсмического просвечивания залежи при X = 2,5 и 3,5 м ис. 26б).

2. Построение геосейсмического профиля

На сейсмограмме замеряют время первых вступлений волн (рис. 26а). Если вступления волн нечетки, замеры берут по фазам колебаний, производя поправку на фазу по четкому вступлению на одной из трасс сейсмограммы (tф - tb = tn) (рис. 27).

Рис. 26. Сейсмограммы, полученные по результатам измерений на расчетном поперечнике

Рис. 27. Введение поправки за фазу

Рис. 28. Годографы первых вступлений продольных волн и геосейсмический разрез

По результатам замеров строят годографы ис. 28). Для этого по оси ординат откладывают время вступления, а на оси абсцисс - расстояния. Таким же образом строится встречный годограф.

По построенным годографам (см. рис. 28) определяют кажущуюся V*, пластовую среднюю  и граничную скорости методом разностного годографа. Глубину залежи определяют методом t0м. приложение 2), для чего используют отрезки времени, отсекаемые на оси ординат продолжением годографов (t01), а также по кривой t0(X), построенной на перекрытых участках встречных годографов. По полученным результатам строят геосейсмический разрез и геологический профиль (см. рис. 28).

3. Определение Vp и VS по результатам сейсмического просвечивания

На осциллограмме колебаний (см. рис. 26б) отмечают моменты первых вступлений продольных и поперечных волн, а если первые вступления нечетки, то по фазам вступления колебаний, делая поправку на фазу. Далее, пользуясь отметками времени, определяют время прихода волн и по формуле V = X/t скорости Vp и VS (t - время пробега волной расстояния X от ПВ до сейсмопенетрометра). Vp = 795 м/сек, VS = 16,5 м/сек.

4. Определение упругих характеристик

Для расчета упругих параметров используют следующие зависимости /1/:

Eд = 2VS2ρ(1 + μд); Gд = ρVS2 = Eд/(2(1 + μд));

μд = (1 - 2γ2)/(2 - 2γ2); γ = VS/Vp,

где μд - динамический коэффициент Пуассона; Gд - динамический модуль сдвига; Eд - динамический модуль упругости; ρ = γw/g - плотность (γw - объемная масса; g - ускорение силы тяжести).

Для расчета необходимо знать скорости Vp и VS, а также объемную массу грунта или объемную массу скелета грунта. Если имеется величина объемной массы скелета γск, то Eд определяют по корреляционной зависимости Eд = 1000·γск2,14 или по VS, Eд = 1000·((VS + 1,5)/370)2,14. По данным примера ρw = 0,96 г/см3; Eд = 7,83 кгс/см2; по эмпирической формуле - Eд = 7,95 кгс/см2; μд = 0,499; γ = 0,02; Gд = 2,65 кгс/см2.

5. Определение диссипативных характеристик

На осциллограммах, полученных на одной и той же глубине, но на разном расстоянии (2,5 и 3,5 м от ПВ, при одном и том же усилении) замеряют максимальный размах амплитуды, а также период колебаний (см. рис. 26б), для чего выделяют участок с отчетливой записью и большим числом периодов колебаний.

Коэффициент затухания определяют по формуле

αS = (1/∆Xln(A1/A2) = 1,06 1/м,

где X - расстояние между точками наблюдения;

A1 и A2 - амплитуды в наблюдаемых точках.

Для определения αS необходимо выбирать более четкие записи во избежание ошибок. Если наблюдается дисперсия показаний, находят среднеарифметическую величину.

Частота колебаний

f = 1/T = υ·n/S = 160/5,3 ≈ 30 Гц,

где T - период колебаний, сек;

υ - скорость движения бумаги в осциллографе, мм/сек;

S - длина участка осциллограммы, содержащего n периодов колебаний, мм.

Логарифмический декремент определяем из соотношения /19/

S = λS·αS = 0,58,

λS - длина волны, определяемая по формуле λS = VS·T = VS/f = 0,55 м.

Коэффициент демпфирования находят по формуле

Коэффициент вязкости /11/

(f принимается равной 1 Гц).

6. Определение физических характеристик

По полученным скоростям VS и их затуханию, используя корреляционные уравнения (см. приложение 3), определяют W = 802 %; ε = 13,8; γск = 0,101 г/см3.

По номограмме определяют модули осадки для нагрузок 0,25; 0,5; 0,75 и 1,0 кгс/см2, которые соответственно равны 265, 395, 452 и 490 мм/м. Чтобы получить модули осадки для других нагрузок строят зависимость lp = f(P) (рис. 29).

Рис. 29. Построение зависимости lp = f(P)

Параллельно можно проконтролировать lp по зависимостям для торфа /12, 13/:

для органо-минеральных грунтов до 1,0 кгс/см2:

При определении коэффициента пористости по VS и αS для получения более точного результата берется среднеарифметическая величина. По αS ε = 14,5, по VS ε = 13,8.

7. Определение прочностных характеристик

Для получения прочностных характеристик используют корреляционные уравнения, связывающие сопротивление сдвигу по крыльчатке с влажностью W и пористостью ε /14/:

Приложение 5. ТЕХНИКО-ЭКОНОМИЧЕСКОЕ СРАВНЕНИЕ

В зависимости от условий и технических задач стоимость различных методов изысканий и их технические показатели могут изменяться, поэтому выбор методов должен быть обоснован технико-экономическими расчетами.

Стоимость работ стандартных методов (бурение) оценивалась по ЕНВ - Единым нормам времени и расценки на проектные и изыскательские работы (М., Стройиздат, 1972), стоимость сейсморазведки - по ЕНВейсмозондирование и профилирование) и опыту Белдорнии и других организаций (сейсмическое просвечивание, каротаж).

Проведенные расчеты не предназначены для составления норм выработки, но могут быть использованы для сравнительных расчетов.

За исходные данные при расчете стоимости работ взяты следующие показатели:

для определения толщины насыпи и болотного грунта под ней взят участок 100 м, толщина насыпи 2 м, болотного грунта 2 м;

для определения влажности и мощности болотной залежи - участок болота длиной 100 м и глубиной 4 м*;

* Объем работ и методы см. в «Методических указаниях по инженерно-геологическому обследованию болот при изысканиях автомобильных и железных дорог». М., Союздорнии, 1973.

для определения показателей ε, γск и lp - точка на глубине 2 м. На этой глубине отбирают пробы и монолит и производят измерение скоростей упругих волн.

Результаты сведены в табл. 3

Таблица 3

Показатель

Состав работ

Стоимость, руб.

Возможность ошибки по сравнению с бурением и лабораторными испытаниями, %

стандартные методы

методы сейсмоакустики

стандартные методы

методы сейсмоакустики

W, %, влажность

полевые работы по зондированию с отбором проб; лабораторные испытания; оформление результатов

полевые работы по измерению скоростей упругих волн; обработка и оформление результатов

18,5

9,00

5 - 10

ε, коэффициент пористости

полевые работы с бурением и отбором проб или монолита; лабораторные испытания: влажность, плотность, объемная масса; вычисления и оформление результатов

то же

4-20

0-92

2 - 8

γск, объемная масса скелета

полевые работы с бурением и отбором проб или монолита; лабораторные испытания: влажность, объемная масса; вычисления и оформление

-"-

3-90

0-92

2 - 5

Сжимаемость (модуль осадки)

полевые работы: бурение с обсадкой, отбор монолита;

лабораторные испытания; вычисления и оформление

-"-

5-24

1-00

5 - 10

Определение глубины болотной залежи

зондирование болотной залежи; оформление результатов

сейсмопрофилирование, обработка и оформление результатов установками:

 

 

 

одноканальными

2-00

5-70

2 - 15

многоканальными

3-65

7-00

Определение толщины насыпи и мощности болотных грунтов под ней

ручное бурение с отбором проб

шнековое бурение с отбором проб (УГБ-50А)

сейсмопрофилир., обработка и оформление результатов установками:

 

 

 

одноканальными

7-12 (23-58 с обсадкой)

5-00

2 - 15

многоканальными

10-00 - 18-00 (с обсадкой)

7-00

Приложение 6. ВЫЧИСЛЕНИЕ КОЭФФИЦИЕНТА «K» В МЕТОДЕ «t0»

1/2cosi

1/2cosi

1/2cosi

0,01

0,500

0,34

0,532

0,67

0,674

0,02

0,500

0,33

0,534

0,68

0,682

0,03

0,500

0,36

0,536

0,69

0,691

0,04

0,500

0,37

0,539

0,70

0,700

0,05

0,501

0,38

6,541

0,71

0,710

0,06

0,501

0,39

0,543

0,72

0,721

0,07

0,501

0,40

0,546

0,73

0,732

0,06

0,502

0,41

0,548

0,74

0,744

0,09

0,502

0,42

0,551

0,75

0,756

0,10

0,503

0,43

0,554

0,76

0,769

0,11

0,503

0,44

0,557

0,77

0,784

0,12

0,504

0,45

0,560

0,78

0,800

0,13

0,504

0,46

0,563

0,79

0,816

0,14

0,505

0,47

0,566

0,80

0,834

0,15

0,505

0,48

0,569

0,81

0,854

0,16

0,506

0,49

0,573

0,82

0,875

0,17

0,507

0,50

0,577

0,83

0,898

0,18

0,508

0,51

0,582

0,84

0,923

0,19

0,509

0,52

0,586

0,83

0,950

0,20

0,510

0,53

0,590

0,86

0,980

0,21

0,511

0,54

0,595

0,87

1,013

0,22

0,512

0,55

0,599

0,88

1,051

0,23

0,513

0,56

0,604

0,89

1,096

0,24

0,515

0,57

0,609

0,90

1,148

0,25

0,516

0,58

0,614

0,91

1,208

0,26

0,518

0,59

0,619

0,92

1,278

0,27

0,519

0,60

0,625

0,93

1,362

0,28

0,521

0,61

0,631

0,94

1,468

0,29

0,522

0,62

0,637

0,97

2,075

0,30

0,524

0,63

0,643

0,98

2,510

0,31

0,526

0,64

0,650

0,99

3,620

0,32

0,528

0,65

0,658

 

 

0,33

0,530

0,66

0,666

 

 

Приложение 7. НАХОЖДЕНИЕ ЗНАЧЕНИЙ МОДУЛЯ СДВИГА Gд (в кгс/см2) ПРИ ВЕЛИЧИНЕ ОБЪЕМНОЙ МАССЫ ρ = 1,0 г/см3

VS, м/сек

Gд, кгс/см2

VS, м/сек

Gд, кгс/см2

VS, м/сек

Gд, кгс/см2

VS, м/сек

Gд, кгс/см2

8

0,65

34

11,79

60

36,73

86

75,47

9

0,83

35

12,50

61

37,97

87

77,23

10

1,02

36

13,22

62

39,22

88

79,02

11

1,23

37

13,97

63

40,50

89

80,83

12

1,47

38

14,73

64

40,80

90

82,65

13

1,72

39

15,52

65

43,11

91

84,50

14

1,99

40

16,33

66

44,45

92

86,37

15

2,29

41

17,15

67

45,81

93

88,25

16

2,61

42

18,00

68

47,18

94

90,16

17

2,95

43

18,87

69

48,58

95

92,09

16

3,31

44

19,75

70

49,99

96

94,04

19

3,68

45

20,66

71

51,44

97

96,01

20

4,08

46

21,59

72

52,89

98

98,00

21

4,50

47

22,54

73

54,39

99

100,01

22

4,94

48

23,51

74

55,88

100

102,04

23

5,40

49

24,50

75

57,40

101

104,09

24

5,88

50

25,51

76

58,94

102

106,16

25

6,38

51

26,54

77

60,50

103

108,25

26

6,90

52

27,59

79

62,08

104

110,37

27

7,44

53

28,66

79

63,68

105

112,50

28

8,00

54

29,75

80

65,31

106

114,65

29

8,58

55

30,87

81

66,95

107

116,82

30

9,18

56

32,00

82

68,61

108

119,02

31

9,81

57

33,15

83

70,29

109

121,23

32

10,45

58

34,33

84

72,00

110

123,47

33

11,11

59

35,52

85

73,72

 

 

Примечание. Модуль динамической упругости Eд для болотных грунтов естественной залежи можно приблизительно находить по формуле Eд ≈ 3Gд.

Литература

1. Гурвич И. Сейсмическая разведка. М., «Недра», 1970.

2. Горяинов Н.Н. Сейсморазведка при инженерно-геологических исследованиях рыхлых пород. М., ВсеГинГЕО, 1971.

3. Шемшурин В.А. Рекомендации по комплексному применению геофизических методов при инженерно-строительных изысканиях. М., ЦТИСИЗ, 1972.

4. Горшенин Ю.В. Способ определения угла наклона и глубины залегания плоской наклонной преломляющей границы. Сб. «Вопросы инженерной геологии и геофизики при изысканиях железных и автомобильных дорог». М., 1972.

5. Чибисов С.В. Обработка криволинейного годографа упругих волн. Ж. геофиз., т. 4, вып. 2, 1934.

6. Кондратьев О.К., Гамбурцев А.Г. Сейсмические исследования в прибрежной части Восточной Антарктиды, М., Изд. АН СССР, 1963.

7. Ляховицкий Ф. Об определении мощности градиентного слоя, лежащего на однородном полупространстве. Сер. «Физика Земли», Изд. АН СССР, 1965,9.

8. Озеров Д.К., Волин А. Теоретико-экспериментальное исследование волн Лява. «Вопросы динам. теор. распределения сейсмических волн», сб. II, Л., Изд. ЛГУ, 1959.

9. Кмитовенко А.Т., Бондарев В.Н. и др. Опыт исследования сейсмического метода разведки для определения глубины торфяной залежи. «Торфяная промышленность», № 8, 1972.

10. Ржевский В.В., Ямщиков В. Акустические методы исследования и контроля горных пород в массиве. М., «Наука», 1973.

11. Миндель И.Г. Изучение физико-механических свойств лессовых пород сейсмоакустическими методами. М., ПНИИС, т. 4, 1970.

12. Дрозд П. Сельскохозяйственная дорога на болотах. Минск, «Урожай», 1965.

13. Евгеньев И.Е., Яромко В.Н., Сеськов В.Е. Сжимаемость и прочность органо-минеральных болотных грунтов. М., Совздорнии, № 90, 1976.

14. Яромко В.Н., Сеськов В. Исследование прочностных характеристик болотных грунтов в полевых условиях. М., Тр. Союздорнии,. вып. 64, 1973.

15. Бондарев В.Н. Рекомендации по применению сейсмической разведки для изучения физико-механических свойств рыхлых грунтов в естественном залегании для строительных целей. М., 1974.

16. Пузырев Н.Н., Мишенькина З. Приближенные способы интерпретации годографов рефрагированных волн. Методика сейсмических исследований. М., «Наука», 1969.

17. Сеськов В.Е. Применение методов сейсморазведки для исследования земляного полотна автомобильных дорог на болотах. Сб. «Вопросы повышения технического уровня дорожного строительства БССР». Минск, 1974.

18. Справочник геофизика. Т. IV, «Сейсморазведка». М., «Недра», 1966.

19. Берзон И.С., Епинатьева А. и др. Динамические характеристики сейсмических волн в реальных средах. М., Изд. АН СССР, 1962.

СОДЕРЖАНИЕ

1. Общие положения. 1

2. Определение глубины болотной залежи. 2

3. Определение физико-механических свойств болотных грунтов (сейсмическое просвечивание и сейсмокаротаж) 5

Приложение 1. Используемая аппаратура. 8

Приложение 2. Интерпретация полевых данных сейсморазведки. 10

1. Определение скоростей по годографам преломленных волн (прямолинейные годографы) 10

2. Построение преломляющих границ. 13

3. Интерпретация годографов рефрагированных волн. 16

4. Интерпретация поверхностных волн. 19

5. Отраженные волны.. 20

Приложение 3. Определение физико-механических свойств болотных грунтов по скорости и затуханию поперечных волн. 21

Приложение 4. Пример определения геотехнических характеристик болотных грунтов по сейсмическим показателям.. 25

1. Исходные данные. 25

2. Построение геосейсмического профиля. 26

3. Определение Vp и VS по результатам сейсмического просвечивания. 27

4. Определение упругих характеристик. 27

5. Определение диссипативных характеристик. 27

6. Определение физических характеристик. 28

7. Определение прочностных характеристик. 29

Приложение 5. Технико-экономическое сравнение. 29

Приложение 6. Вычисление коэффициента «K» в методе «t0». 30

Приложение 7. Нахождение значений модуля сдвига Gд (в кгс/см2) при величине объемной массы ρ = 1,0 г/см3 31

Литература. 31

 

 




ГОСТЫ, СТРОИТЕЛЬНЫЕ и ТЕХНИЧЕСКИЕ НОРМАТИВЫ.
Некоммерческая онлайн система, содержащая все Российские Госты, национальные Стандарты и нормативы.
В Системе содержится более 150000 файлов нормативно-технической документации, действующей на территории РФ.
Система предназначена для широкого круга инженерно-технических специалистов.

Рейтинг@Mail.ru Яндекс цитирования

Copyright © www.gostrf.com, 2008 - 2026