Крупнейшая бесплатная информационно-справочная система онлайн доступа к полному собранию технических нормативно-правовых актов РФ. Огромная база технических нормативов (более 150 тысяч документов) и полное собрание национальных стандартов, аутентичное официальной базе Госстандарта. GOSTRF.com - это более 1 Терабайта бесплатной технической информации для всех пользователей интернета. Все электронные копии представленных здесь документов могут распространяться без каких-либо ограничений. Поощряется распространение информации с этого сайта на любых других ресурсах. Каждый человек имеет право на неограниченный доступ к этим документам! Каждый человек имеет право на знание требований, изложенных в данных нормативно-правовых актах!

  


 

МИНИСТЕРСТВО ТРАНСПОРТНОГО СТРОИТЕЛЬСТВА

ВСЕСОЮЗНЫЙ НАУЧНО-ИССЛЕДОВАТЕЛЬСКИЙ ИНСТИТУТ
ТРАНСПОРТНОГО СТРОИТЕ
ЛЬСТВА

МЕТОДИЧЕСКИЕ РЕКОМЕНДАЦИИ
ПО ОПРОБОВАНИЮ ЛЕССОВЫХ
ГРУНТОВ

ОДОБРЕНЫ ГЛАВТРАНСПРОЕКТОМ

Москва 1982

ПРЕДИСЛОВИЕ

В районах распространения лессовых пород, которые в Советском Союзе занимают 15 % территории, ведется и намечено большое дорожно-транспортное строительство, в связи с чем вопросы инженерно-геологических изысканий приобретают существенное значение.

В настоящих Методических рекомендациях рассмотрены направленность и специфика изысканий, обусловленные особенностями состава, сложения, состояния и свойства лессовых грунтов и характером взаимодействия этих грунтов в основаниях дорожных сооружений, откосах, теле насыпей и в качестве объектов разработки при строительстве.

Особое внимание обращено на технологию и методику отбора монолитов ненарушенного сложения лессовых пород из скважин для сокращения объемов трудоемких горнопроходческих работ и извлечения монолитов из шурфов и дудок.

Современные высокие требования к доверительной вероятности расчетных значений характеристик грунтов (при расчете оснований по деформациям 0,85-0,90 и по несущей способности 0,95-0,98) диктуют необходимость отбора большого количества образцов на каждого инженерно-геологического элемента (расчетного слоя в массивесновании, откосе). Применение рекомендуемых технологии и методики отбора монолитных образцов из скважин позволит существенно снизить затраты ручного труда, стоимость и сроки изысканий и неизбежные при горнопроходческих работах нарушения природной среды. Эффективность же изысканий возрастает за счет получения большого количества сохранных монолитов, исследования массивов лессовых пород во многих точках. Повысится информативность и надежность инженерно-геологического обоснования проектов, а значит, и качество проектирования.

Методические рекомендации разработаны в лаборатории инженерной геологии и геофизики ЦНИИС кандидатами техн. наук. Б. Л. Юровским (разд. 1-3, приложения 1-3), А. М. Гореликом азд. 1, пп. 3.12; 3.19), С. Д. Джолосомнепрогипротранс, разд. 1), канд. геол.-мин. наук М. К. Дружининым (разд. 1) и инж. Б. А. Биневичем (Днепрогипротранса, разд. 2, приложение 1).

В выполнении полевых и лабораторных экспериментальных работ по тематике участвовали Днепрогипротранс, Ташгипротранс, УзГииТи, Алма-Атагипротранс и КазГииЗ.

В выполнении лабораторных работ приняли участие: Р. И. Трубицына, Т.П. Минаева, А. Х. Фадеева, Т. В. Зобова (ЦНИИС), З. С. Черникова, А. И. Яковлева, К. И. Колесник (Днепрогипротранс), В. С. Волохова (Ташгипротранс), Ю. В. Петров, И. П. Авдеев (Мосгипротранс), Э. Н. Чернышева (КазГИиЗ).

Замечания и предложения по работе просьба направлять по адресу: 129329, Москва, Кольская ул., 1, ЦНИИС.

Зам. директора института                                                                        Н. Б. Соколов

Зав. отделением изысканий и проектирования железных дорог         А. М. Козлов

1. ОБЩИЕ ПОЛОЖЕНИЯ

1.1. В подготовительный период изысканий ориентировочное распространение лессовых пород разного возраста, генезиса и просадочности рекомендуется определять по карте, составленной В. С. Быковой (с уточнениями Н. И. Кригера) [1-3].

1.2. При инженерно-геологических изысканиях следует учитывать, что в зависимости от возраста, происхождения и фациальной принадлежности строение и условия залегания лессовых толщ различны:

золовые лессовые породы пламеобразно перекрывают повышенные элементы рельефа: плато, водоразделы, высокие террасы, разные породы, венчая собой разрез четвертичных отложений. Граница золовых и подстилающих отложений хорошо выражена. Мощности золовых толщ различны. Строение их монотонное, выдержанное, чаще неслоистое. Пористость повышенная, макропоры округлые или чечевицеобразные;

делювиальные лессовые породы залегают на склонах, образуют шлейфы, иногда перекрывают надпойменные террасы речных долин, небольшие древние конусы выноса (сухие дельты), заполняют овраги. Они венчают четвертичный разрез. Мощности делювиальных толщ различны. Границы этих толщ с подстилающими лессовыми породами не всегда прослеживаются. В делювиальных лессовых породах присутствуют прослои гумусированного материала, песка, иногда гравия, дресвы и щебня. Выражена слоистость. Пористость различна. Макропоры чаще щелевидной формы;

пролювиальные лессовые породы слагают предгорные равнины, предсклоновые пояса, шлейфы, конусы выноса, причем наиболее тонкие по гранулометрическому составу разности отлагаются на периферии этих элементов рельефа, а более грубые - ближе к горам. Мощности толщ пролювия могут достигать 100 м и более. Граница пролювия с подстилающими коренными и аллювиальными породами разного состава обычно выражена. Пролювиальные толщи неслоисты или сложены мощными пластами. Но в подошве толщи часто прослеживается тонкая слоистость, имеются включения, прослои и линзы песка, гравия, гальки, щебня. Пористость пролювиальных лессовых пород повышенная. Макропоры чаще округлой формы;

аллювиальные лессовые породы слагают надпойменные террасы речных долин. Мощность толщ достигает 20 м и более. Граница лессового аллювия с подстилающими песками, гравием, галечниками, коренными породами выражена, но в подошве аллювиальной толщи имеются линзы и прослои нелессовых пород. Толщи аллювиальных лессовых пород слоисты и иногда содержат прослои песка и гравия. Пористость пониженная. Макропоры щелевидные и округлые;

флювиогляциальные и озерные лессовые породы чаща залегают по периферии зандровых полей в толщах небольшой мощности, обычно слоистых с прослоями песка. Переход между этими и подстилающими породами постепенный. Пористость пониженная. Макропоры щелевидные;

элювиальные лессовые породы развиты на небольших плато, верхних частях пологих склонов на ограниченных площадях, защищенных от денудации и привноса материала. Эти породы слагают толщи небольшой мощности. Породы неслоисты и постепенно переходят в подстилающие материнские отложения, причем в лессовом покрове появляется все больше включений каменного лесса, алевролита, аргиллита, мергеля, известняка и др. Мощности толщ от долей метра до нескольких метров. Пористость чаще повышенная. Форма макропор различна.

1.3. Толщи лессовых пород могут быть проявлены, т.е. длительно замочены постгенетическими процессами (оврагообразованием, естественной переориентацией поверхностного и подземного стока) либо техногенными воздействиями (на массивах орошения, в местах подтопления грунтовыми водами, на участках застройки и т.п.). Такие породы отличаются от своих генетикоациальных прообразов меньшей пористостью, сжатием части макропор, иногда повышенной влажностью, появлением линз и прослоев оглеения, горизонтов верховодки и грунтовых вод.

1.4. Особенностями строения толщ лессовых пород, помогающих отличить их от других грунтов, являются наличие вертикальных канальцев и скрытой тонкой трещиноватости, столбчато призматическая текстура, присутствие погребенных гумусовых прослоев, рыхлость сложения, т.е. макропористость.

1.5. Специфическими геологическими явлениями в толщах лессовых пород, отражаемыми в рельефе поверхности, составе и плотности растительности, которые следует выявлять при дешифрировании аэрофотоснимков и инженерно-геологической съемке, являются:

просадочные блюдца, бессточные долы и поды, террасы, трещины растяжения по месту отчленения террас от массива и между собой, опускания поверхности невыясненной этиологии;

суффозионные полости, каналы, их выходы в береговых обрывах в виде щелей, окон, ниш;

овраги, нередко с вертикальными стенками;

отвесные обрывы различной высоты на берегах рек, озер, водохранилищ, морей, в оползневых цирках;

каньоны выдувания на грунтовых дорогах;

котловины выдувания;

бугры навевания лессовых грунтов;

осовы воздушно-сухих лессовых грунтов на склонах;

просадочные оползни потоки в бортах долин с языками на дне последних;

обвалы обрывов и берегов и др.

При дешифрировании аэроснимков надо учитывать, что понижения рельефа, оползневые и обвальные массы покрыты, как правило, более густой, сочной и разнообразной по составу растительностью, нежели растительность общего фона в районах распространения лессовых пород. Напротив, растительность на вертикальных обрывах и откосах, буграх навевания беднее фоновой, разрежена нередко отсутствует вообще.

1.6. Типичные лессы отличаются от прочих лессовых пород характерными особенностями:

преобладающей светло-палевой окраской;

супесчаным, легко- или среднесуглинистым составом с преобладанием элементарных пылеватых зерен (типичные однородные алевриты);

пористостью общей 40-50 % и более, активной 15-20 %;

выраженной макропористостью;

воздушноухим состоянием;

просадочностью от собственного веса при замачивании.

1.7. Отличить лессовидные породы от типичных лессов можно по окраске: светло-палевой, светло-желтой, желтовато-бурой и др. При пылеватом в целом составе в этих породах наряду с элементарными алевритовыми зернами присутствует в различных количествах микроагрегаты глинистых частиц (ложная пыль). Общая пористость лессовидных пород обычно меньше 45 %, активная - 15 %. Большая часть лессовидных пород просадочна только при приложении внешнего давления, а некоторые их разновидности непросадочны. Некоторые лессовидные породы естественно увлажнены и даже могут быть водонасыщенными.

1.8. Критерии просадочности лессов следующие [5-14]:

Содержание пылеватых частиц, %..................................................................... 50-80

Отношение содержания частиц во фракциях (0,05-0,01) / (0,01-0,002), мм.. 1,5-2,0

Степень неоднородности гранулометрического состава................................ 3-5

Степень влажности.............................................................................................. Меньше 0,5

Критерий «П» по СНиП II-15-74 при числе пластичности:

0,01Ip < 0,1................................................................................................... Меньше 0,1

0,1Ip < 0,14................................................................................................... Меньше 0,17

0,14Ip < 0,24................................................................................................. Меньше 0,24

Плотность скелета, г/см3..................................................................................... Меньше 1,55

Пористость, %...................................................................................................... Более 40

Активная пористость, %..................................................................................... Более 15

Показатель уплотненности ........................................................................... Менее 0

Показатель уплотнения Kупл............................................................................... 0,5-0,8

Коэффициенты снижения прочности при замачивании Kз под нагрузкой при давлении Р, МПа:

0,1........................................................................................................... Более 2

0,2........................................................................................................... Более 1,5

0,3........................................................................................................... Более 1,3

Прочность при увлажнении при испытании конусом на просадочность, МПа........................................................................................................... Меньше 0,1

Относительная просадочность δпр...................................................... Более или равно 0,01

1.9. Общими для всех лессовых пород являются:

столбчато-призматическая отдельность;

повышенная прочность структурных (цементационных, кристаллизационных, конденсационных) связей, сохраняющаяся у воздушно-сухой породы;

водонеустойчивость структурных связей (особенно у лессов);

легкие размокание и размываемость;

при разработке пылимость воздушноухих и налипание увлажненных лессовых грунтов на рабочие органы и ходовые части землеройных машин и транспортных средств.

1.10. Повышенная прочность структурных связей позволяет проектировать в массивах воздушно-сухих (в периоды строительства и на перспективу эксплуатация земляного полотна) лессовых грунтов откосы выемок крутизной 1:0,1 и 1:0,5. При периодических очистках от выветривающегося лессового грунта и заглаживании поверхности такие откосы высотой до 30 м, а в отдельных случаях и более высокие устойчивее, нежели более пологие. В сухом климате откосы зарастают медленно и пологие откосы подвержены размывам, увлажненные грунты на них нередко оплывают. От отвесных и крутых обрывов и откосов дождевые капли, градины, снежинки отражаются и падают к подошве.

1.11. Эта же прочность обусловливает трудности разрушения блоков и комьев воздушно-сухих лессовых грунтов при укладке и уплотнении их в теле насыпи, дамбы, планировках поверхностей. Часть комков не разрушается. Для достижения проектной плотности грунта в возводимом земляном сооружении в целом смежные с комками участки переуплотняются. Так создается неоднородность состояния лессового грунта в насыпи, что необходимо учитывать при сооружении земляного полотна.

На участках общего (подъем уровня грунтовых вод по периферии вновь заполняемых водохранилищ) или местного (неисправности водоотводов) увлажнения происходит доуплотнение грунта насыпи в местах, где он недостаточно дезагрегирован.

1.12. Размягчение, частичное или полное разрушение структурных связей водой обусловливают просадки при замачивании лессовых грунтов в основаниях сооружений и зданий и оврагообразование [4-10].

Просадки оснований происходят на дорогах преимущественно на площадках станций, жилых поселков и промышленных предприятий транспорта у отдельных зданий, сооружений, коммуникаций [15].

Просадки основания земляного полотна, местные размывы возможны при неисправностях дренажей, водоотводов, подходов и выходов у искусственных сооружений. При текущем содержании этих сооружений в соответствии с действующими правилами эксплуатации подобные деформации, как правило, не наблюдаются.

2. ТЕХНОЛОГИЯ ОТБОРА ОБРАЗЦОВ ЛЕССОВЫХ ГРУНТОВ

Бурение скважин

2.1. Для проходки скважин рекомендуются станки УГБ-50, ЛБУ-50, БУЛИЗ-15, БУ-20-2VIII, БУГ-100, УКС-22М, БУКС-ЛГТ, Д-5-25, Д-6-15.

2.2. Технология бурения скважин должна обеспечить [16]:

высокую рейсовую скорость проходки;

вертикальность ствола скважины;

сохранность сложения грунта ниже забоя;

возможность применения грунтоносов диаметром 108, 89 мм и, как исключение (только для определения плотности грунта), 70 мм.

2.3. Высокую рейсовую скорость проходки скважин способом «свободного падения» обеспечивают бурением при минимальной работе, затрачиваемой на погружение бурового наконечника на максимальную глубину.

Величину минимальной работы рекомендуется определять опытным путем. Для этого в однородных по визуальному определению грунтах и при постоянном оборудовании станка (лебедкой, тросом, блоком, буровой штангой и буровой гильзой) сбрасывают буровой снаряд с различных глубин над забоем скважины. При этом фиксируют значения высоты сбрасывания и глубину погружения гильзы в грунт или высоту образца.

Строят график зависимости (рис. 1) в координатах: высота сбрасывания - глубина погружения (или высота образца). Начало участка, где кривая выполаживается, дает значение минимально необходимой работы, т.е. работы, при которой дальнейшее увеличение высоты сбрасывания практически не увеличивает глубину погружения бурового наконечника. Полученные данные следует записать в буровой журнал.

Рис. 1. Определение оптимальной высоты сбрасывания бурового инструмента:

hс - высота сбрасывания; hп - глубина погружения

На рис. 1 минимальная необходимая работа проходки соответствует высоте сбрасывания бурового инструмента 3 м.

Уменьшить высоту сбрасывания можно увеличением массы буровой штанги. Однако указанный прием может быть применен с известными ограничениями, так как при этом ухудшается мобильность установки и усложняется ее техническое обслуживание.

2.4. Бурение скважин рекомендуется производить стандартной буровой гильзой с внутренней конусностью.

Стандартная гильза представляет собой металлический цилиндр, гладкоствольный снаружи и с внутренней конусностью режущей кромки. Она изготавливается из стандартных обсадных труб без уменьшения толщины стенки (рис. 2, а). Соединение гильзы с буровой (ударной) штангой осуществляется переходником с конической резьбой, составляющим единое целое с гильзой. Для быстрого извлечения образца грунта в гильзе делают продольный вырез.

Ряс. 2. Буровые наконечники:

а - стандартная буровая гильза; б - тонкостенная буровая гильза

При бурении стандартной гильзой отмечают минимальное уплотнение грунтов в стенках скважин и существенное уплотнение их внутри гильзы и ниже забоя скважины [17].

Рейсовые углубления скважины при бурении стандартной гильзой не требуют перехода на меньший диаметр или разбуривания скважины до глубины 30-40 м. Таким образом, стандартная гильза является эффективным буровым наконечником для проходки. Но следует учесть, что вследствие уплотнений грунтов ниже забоя скважины применение стандартной буровой гильзы прекращают за 0,5-1 м до глубины отбора монолита.

2.5. За 0,5-1 м до намеченной глубины отбора монолита стандартную гильзу заменяют тонкостенной гильзой с утолщением на конце (см. рис. 2, б), продолжая ею проходку скважины небольшими рейсами.

Буровая тонкостенная гильза с утолщением в нижней части боковой поверхности представляет собой металлический цилиндр, гладкоствольный внутри и с наружной конусностью режущей кромки. Ее изготавливают из стандартных обсадных труб со значительным уменьшением наружного диаметра.

На расстоянии 30-50 мм от нижнего торца первоначальную толщину стенки в виде узкой полоски сохраняют и придают ей конусность в обе стороны: к торцу (около 1) и буровой штанге (около 45°). Переходник с конической резьбой соединен с гильзой при помощи сварки. В гильзе имеется продольный вырез для выталкивания образца грунта. Через вырез можно производить описание образца и отбирать пробы грунта.

Стенки скважины после извлечения тонкостенной гильзы уменьшаются в диаметре, что происходит за счет упругих деформаций, которые образуются при уплотнении грунтов вследствие наружной конусности гильзы. Уменьшение диаметра скважины при применении тонкостенной гильзы с утолщением на конце не обеспечивает эффективной проходки скважины одним диаметром до глубины более 10-12 м, однако грунты ниже забоя минимально уплотняются.

2.6. Вертикальное положение ствола скважины может быть нарушено при проходке насыпных грунтов или грунтов с крупными включениями.

При проходке скважины в насыпных грунтах нужно укреплять ее ствол обсадными трубами на всю толщу этих грунтов. После обсадки следует проверить вертикальность ствола, освещая скважину карманным фонарем или лучом, отраженным зеркалом; за трубное пространство необходимо засыпать и по возможности утрамбовать.

При проходке скважин в грунтах с крупными включениями следует применить более тяжелую ударную штангу и толстостенную гильзу. Проходку ведут возможно более короткими рейсами.

Иногда при проходке слабопрочных структурных лессов грунт на забое, разрыхляясь, превращается в несвязную массу и не поднимается на поверхность. В этом случае проходить скважину рекомендуется возможно более короткими рейсами, поочередно погружая ударную тонкостенную гильзу с утолщением на конце и грунтонос.

При установлении уровня грунтовых вод в толще лессовых пород извлекают из скважины образец грунта. Если в тени через несколько минут после извлечения из скважины на гранях образца появляется капли воды, проходку скважины останавливают на сутки для стабилизации уровня грунтовых вод,

Отбор монолитов

2.7. Отбор монолитов следует производить грунтоносами. Грунтонос Д- (рис. 3) состоит из следующих частей: грунтоприемной гильзы, удлинителя и переходника на буровую штангу.

Грунтопремную гильзу изготавливают из стандартных обсадных труб. Наиболее часто применяют грунтонос диаметров 108 или 89 мм (диаметр последнего принимают по наружному диаметру удлинителя). Корпус гильзы по наружному диаметру обтачивают до диаметров 106 и 86 мм для уменьшения толщины стенок. В верхней части гильзы есть резьба для соединения с удлинителем, в нижней - коническая заточка по наружной поверхности для создания острой режущей кромки. Толщина стенки гильз сведена до минимума (1,5-2 мм). Внутренняя поверхность гильзы тщательно отшлифована. Коническая заточка по наружной поверхности предохраняет монолит грунта от уплотнения, а благодаря разнице внутренних диаметров пояска и корпуса гильзы грунт свободно разуплотняется и уменьшается трение монолита о внутреннюю поверхность грунтоприемной гильзы в процессе ее внедрения в грунт.

Рис. 3. Грунтонос Д-1М:

1 - грунтоприемная гильза; 2 - удлинитель; 3 - окно в удлинителе; 4 - переходник на буровую штангу

Удлинитель, служащий для свободного отвода воздуха над монолитом и накопления бурового шлама, представляет собой цилиндр с продольным вырезом и резьбой с обеих сторон для соединения с грунтоприемной гильзой и переходником. Удлинитель изготавливают из обсадной трубы без уменьшения толщины стенки. Длина удлинителя 200 мм.

Для возможности отбора монолитов ниже уровня грунтовых вод устраивают специальный клапан.

2.8. Кроме грунтоноса Д- для отбора монолитов рекомендуется экспериментальный подпружиненный грунтонос (конструктор Б. А. Биневич), который позволяет отбирать монолит точно заданных размеров, что особенно важно при применении тяжелых ударных штанг.

Подпружиненный грунтонос состоит из грунтоприемной гильзы, удлинителя с двумя продольными окнами, внешнего цилиндра с опорным кольцом, пружины, расположенной в удлинителе, винта, регулирующего расположение опорного кольца относительно торца грунтоноса (рис. 4). Внешний цилиндр при помощи пальцев, заходящих в окна удлинителя, соединен с пружиной, рассчитанной на максимальное усилие сжатия 5000 Н. Высота пружины 120 мм, диаметр 60 мм, диаметр витка 8 мм, величина сжатия пружины при максимальной нагрузке 50 мм.

Рис. 4. Подпружиненный грунтонос:

1 - переходник на буровую штангу; 2 - удлинитель с окнами; 3 - пружина; 4 - наружный цилиндр с опорным кольцом; 5 - установочный винт; 6 - грунтоприемная гильза грунтоноса Д-1М

При погружении в забой скважины грунтоприемная гильза свободно движется до уровня опорной площадки внешнего цилиндра, а затем плавно тормозится при сжатии пружины до полной остановки. Отрыв монолита грунта от забоя скважины в связи с подпружиниванием осуществляется плавно. Такое взаимодействие грунтоноса с грунтом позволяет искусственно влиять на глубину погружения снаряда.

2.9. Перед опусканием грунтоноса в скважину следует очистить забой от осыпавшегося грунта, проверить состояние грунтоноса (цилиндричность гильзы, качество резьбовых соединений), очистить поверхность деталей от ржавчины и смазать техническим вазелином.

Отбор монолитов следует производить при минимальной работе, необходимой для отбора, монолита достаточной высоты и ненарушенного сложения грунта.

После установления минимальной работы грунтонос соединяют с буровой штангой и плавно опускают на ненарушенный забой, отметив в журнале и на тросе положения забоя. Затем грунтонос поднимают на определенную ранее высоту, выжидают 1 мин и сбрасывают, замеряют по тросу глубину погружения грунтоноса. Плавно извлекают снаряд и устанавливают высоту монолита. Последняя должна равняться глубине погружения грунтоноса. Если высота монолита меньше глубины погружения грунтоноса, следует вновь определить минимальную работу для отбора монолитов, проверить качество оборудования.

Затем грунтонос вывинчивают из удлинителя, осматривают поверхность отрыва монолита грунта от забоя, фиксируют в буровом журнале характер поверхности отрыва, наличие макропор, включений, их размеры. Осторожно ножом вырезают нижнюю часть монолита на глубину внутреннего клиренса. После этого визуально наблюдают за зазором между боковой поверхностью монолита и внутренней стенкой грунтоноса. Затем монолит грунта свободно извлекают из грунтоноса, фиксируя его положение выталкивателем. В трех местах замеряют длину и высоту монолита, в буровом журнале описывают характер макропор, состояние боковой поверхности и торцов. Верх монолита помечают крестом. Длина монолита не должна превышать длины гильзы грунтоноса.

При работе с подпружиненным грунтоносом следует установить низ пружины в удлинителе (см. рис. 4) с помощью винта в такое положение, чтобы с учетом сжатия пружины длина монолита была не менее 100 мм.

Тщательное соблюдение технологии отбора позволяет получить монолиты грунта высокого качества (приложение 1 и [18]).

Консервация монолитов грунта

2.10. После отбора монолитов лессовых грунтов их немедленно консервируют. Для консервации не следует применять чистый парафин, так как последний часто дает трещины, в монолиты водонасыщенных лессовых грунтов при этом теряют влажность. Так, например, образцы лессовых пород, которые хранились шесть месяцев, уменьшили влажность на 30-40 %. Поэтому в парафин необходимо добавлять пластифицирующие добавки. Наиболее часто применяют смесь из 85 % парафина и 15 % гудрона. Общая толщина слоя мастики не должна превышать 3 мм.

Для консервации образцов применяют также латекс Л-7, изготовляемый из синтетического каучука и ревультекса на натуральной каучуковой основе. Монолит погружают в латекс на 1-2 мин, затем высушивают. Получается непрерывная резиновая оболочка толщиной 0,03-0,1 мм. Для получения более толстой пленки (1-2 мм) в качестве коагулятора используют 15 %-ный раствор хлористого кальция.

2.11. Каждый монолит снабжают этикеткой, на которой должны быть указаны: верх (низ) монолита; наименование организации и экспедиции, проводящей изыскания; наименование объекта; номер образца по буровому журналу; название выработки, ее номер, глубина отбора; наименование породы по визуальному определению; дата отбора; должность, фамилия и подпись лица, проводившего отбор образца.

2.12. Особое внимание следует уделять транспортировке образцов в лабораторию. Монолиты тщательно упаковывают в ящики с опилками и стружкой. Ящики не следует кантовать и подвергать толчкам и ударам.

Контроль качества монолитов грунта

Контроль качества монолитов, отобранных из скважин грунтоносами, следует проводить в полевых и лабораторных условиях.

2.13. В полевых условиях осмотр начинают с изучения торцевой поверхности монолита, при этом отчетливо фиксируют всю структуру грунта-макропоры, трещины и т.д. Обычно макропоры распространяются на всю мощность лессовой толщи. Они прослеживаются в виде округлых отверстий. Уменьшение их в размере возможно только при приложении больших нагрузок, так как поверхность макропор упрочнена известкованием. Поэтому при действии уплотняющих нагрузок появляются только трещины на поверхности.

Следует отличать трещиноватость естественную от искусственной. На поверхности естественных трещин, как правило, имеется налет солей железа, марганца и др. Поверхность искусственных трещин имеет вид свежего излома. На боковой поверхности монолита фиксируют набольшую кольцевую трещиноватость вследствие трения грунта о металлическую поверхность входного отверстия грунтоноса. В лессах эта трещиноватость меньше, чем в лессовидных суглинках.

Если монолит имеет ярко выраженное одностороннее задирание, то это свидетельствует об искривлении ствола скважины или о дефекте грунтоноса.

Качественный монолит должен свободно двигаться в гильзе от слабого нажатия выталкивателя. Значительное усилие при выдавливании монолита грунта из гильзы грунтоноса свидетельствует об его уплотнении сжимающими напряжениями с торцов. Такой монолит не пригоден для определения свойств лессовой толщи ненарушенного сложения.

2.14. В лабораторных условиях прежде всего следует оценить качество парафинирования монолитов, правильность заполнения этикетки (см. п. 2.11), обращая особое внимание на сохранность гидроизоляционной оболочки (в ней не должно быть трещин и вмятин).

После вскрытия монолиты из внутренней поверхности оболочки не должно быть влаги.

В случае нарушения гидроизоляционной оболочки или сложения грунта образцы следует принимать к лабораторным испытаниям только как породы нарушенного сложения, о чем в примечании к бланку испытаний делают соответствующую надпись.

При работе с монолитами в лаборатории следует учесть, что сложение зоны боковой поверхности и нижней части монолита во всех случаях отбора их из скважин изменено внедрением грунтоноса в грунт.

Зону деформации боковой поверхности монолита грунта можно определить, если оставить его на сутки при комнатной температуре и затем разрезать ножом по диаметру. При подсушке монолита деформированная часть более резко отличается по цвету от недеформированной.

По данным исследований Б. А. Биневича по отбору лессовых грунтов Украины грунтоносом Д-, общая толщина нарушенной боковой зоны монолита составляет от 2 до 20 мм.

2.15. При контроле качества монолитов грунтов ненарушенного сложения в лабораторных условиях необходимо выполнять следующие условия:

1. Монолиты должны быть отобраны из одного инженерно-геологического элемента, выделяемого в полевых условиях при бурении по единой технологии.

2. Из одного инженерно-геологического элемента контролю подвергают не менее трех монолитов, а из каждого из них определяют не менее трех значений свойств грунтов.

3. Определение изучаемых свойств грунтов для их сравнения проводят по единым методикам, так, например, нельзя сравнивать результаты определения сопротивления грунтов сдвигу, полученные на основании быстрого и медленного сдвига.

4. Контроль качества монолитов грунта проводят по результатам определения коэффициента пористости. Для более достоверного суждения о качестве образцов дополнительному анализу подвергают результаты определения относительной просадочности.

Если при проведении контроля качества монолитов не соблюдаются условия 1-3, то не может быть достоверного суждения о качестве образцов.

2.16. Монолиты грунта ненарушенного сложения должны обладать также следующими признаками:

1. Соблюдается качественная корреляция, контролируемых свойств между собой, для чего должны быть известны общие характерные особенности изучаемых свойств грунтов в зависимости от геоморфологических, фациальных и гидрогеологических условий залегания данного слоя и подстилающих пород.

Примечание. Наиболее просадочны лессы золового и пролювиального происхождения, древне- или среднечетвертичного возраста, образующие мощные сухие толщи. Наименее просадочны лессовидные глины и тяжелые суглинки аллювиального и делювиального происхождения - овражно-балочные выполнения и аллювий первых надпойменных террас. Наиболее высокую просадочность проявляют лессы с низкой влажностью и плотностью, высокой активной пористостью.

Наиболее тонкие по гранулометрическому составу пролювиальные разности лессов отлагаются по периферии предсклоновых поясов, шлейфов, конусов выноса. В подошве склона и ближе к вершинам конусов выноса отлагается более грубый лессовый материал.

Если лессовидные суглинки характеризуются малой плотностью частиц, то их пористость, как правило, высока. Пылеватый грунт имеет плотность меньшую, чем непылеватый, при одной и той же плотности частиц. Небольшое содержание глинистых частиц при высоких числах пластичности может быть следствием наличия карбонатов в грунте и т.д.

2. Изменение контролируемого показателя в пределах одного инженерно-геологического элемента должно быть случайным, незакономерным, а коэффициенты вариации не должны превышать значений, указанных в табл. 1 [8-10, 19].

3. Изменение контролируемого показателя в пределах одного монолита должно отражать особенности технологии его отбора из выработки.

Таблица 1

Предельные значения коэффициентов вариации покровных, аллювиальных, делювиальных, ледниковых, морских, элювиальных и лессовых грунтов четвертичного и третичного возрастов

п/п

Характеристика грунтов

Значения коэффициентов вариации

1

Природная влажность глинистых грунтов

0,20 (0,25)

2

Природная влажность песков

0,50

3

Влажность на границах текучести и раскатывания

0,20

4

Число пластичности:

 

 

суглинков и глин

0,25

 

супесей

0,50

5

Плотность

0,05

6

Коэффициент пористости

0,20 (0,25)

7

Сопротивление сдвигу по консолидированно-дренированной схеме

0,20 (0,30)

8

Модуль деформации по данным полевых испытаний штампом

0,35

9

Плотность частиц

0,01

10

Относительная просадочность

0,5-0,9

Примечание. Значения, приведенные в скобках, характерны для элювиальных и третичных грунтов.

Примечание. Коэффициенты пористости периферийной и нижней (призабойной) части монолита должны быть меньше значений, определенных из средней его части. Это связано с нарушением сложения грунта при внедрении грунтоноса и некоторым уплотнением породы в нижней части монолита при отборе способом «свободного падения» грунтоносом Д-. Таким же образом изменяются значения относительной просадочности и сопротивления сдвигу.

Если закономерного изменения контролируемого свойства по положению в монолите не наблюдается, то это свидетельствует об уплотнении грунта при отборе.

4. При контроле по значению относительной просадочности испытания проводят методом двух кривых с замачиванием образца, уплотняемого при естественной влажности последней ступенью давления. Если при этом давлении значения относительной просадочности, определенные методом одной или двух кривых, различаются более чем в 2 раза, монолит следует считать отобранным с нарушением сложения грунта.

В приложении 1 разобран пример определения качества отобранных монолитов грунтов.

2.17. Качество опробования зависит также от размещения точек опробования в плане и разрезе. Пример математического планирования размещения точек опробования приведен в приложении 2, а определение деформаций в массиве лессовых грунтов - в приложении 3.

3. ЛАБОРАТОРИИ ИСПЫТАНИЯ ПРОСАДОЧНЫХ ГРУНТОВ

Гранулометрический состав

3.1. Для выделения частиц размером 10-0,1 мм рекомендуется применять ситовой (ГОСТ 12536-79 [20]), а для выделения частиц размером 0,1 мм - ареометрический (ГОСТ 12536-79) и пипеточный [12] методы; при этом ареометрический метод следует использовать в качестве приближенного.

Для исследования структуры лессовых грунтов рекомендуются микроагрегатный и дисперсный способы подготовки пробы грунта к анализу [20].

3.2. После проведения микроагрегатного и дисперсного анализов определяют коэффициент агрегированности Ka по И. М. Горьковой [13]:

Ka = S<5мк / S<5мк

где S<5мк - содержание частиц < 5 мк в глинистой породе при дисперсной подготовке образца к анализу;

S<5мк - то же при микроагрегатной подготовке.

По величине Ka устанавливают тип структурных связей:

стабилизационный и коагуляционные А, Б (Ka = 1-1,2);

пластифицированно-коагуляционные В (Ka = 1,3-2);

коагуляционно-цементационные Г1 (Ka = 2 -20);

цементационные Г2 (Ka > 20).

Для лессов и лессовидных пород характерны структурные связи типов В и Г, т.е. Ka 1,3, так как при дисперсном способе подготовки к анализу значительно повышается содержание глинистых частиц за счет разрушения агрегатов пылеватого размера.

При наличии в породах структурных связей типа Г1 сцементированы преимущественно агрегаты, тогда как межагрегатные связи имеют коагуляционный или стабилизационный характер.

При преобладании в породах связей типа Г2 они, как правило, сцементированы во всем объеме (таковы, например, каменные лессы).

3.3. Одним из основных признаков, по которому отличают лесс от лессовидных пород, является гранулометрический состав. По нему лессы относят к пылеватой группе пород с содержанием песчаных фракций 0,4-33 %, пылеватых 50-79 %, глинистых 2-47 %.

Лессовидные грунты могут иметь смешанную группу дисперсности с содержанием песчаных фракций 3-46 %, пылеватых 18-50 % и глинистых 11-49 %.

Лессы имеют более однородный гранулометрический состав, чем лессовидные породы. Отношение содержания крупнопылеватых частиц (0,05-0,01 мм) к мелкопылеватым (0,01-0,002 мм) у лессов составляет 1,5-2 и более, в лессовидных породах оно близко к единице.

Лессы характеризуются крутонаклонными (степень неоднородности составляет 3-5), а лессовидные суглинки - более пологими (степень неоднородности 9-30) суммарными кривыми гранулометрического состава.

3.4. При анализе результатов определения гранулометрического состава лессов необходимо учитывать следующее.

В направлении с севера на юг гранулометрический состав лессовых пород русской равнины становится более глинистым. В области оледенения он супесчаноуглинистый. Южнее, вне области оледенения лессовые породы становятся суглинистыми. На самом юге располагается глинистый лесс [11]. Отмеченная зональность наиболее отчетливо выражена в лессах надпойменных террас рек, текущих с севера на юг. В направлении от водоразделов к рекам они становятся грубодисперснее. Например, лесс на террасах Днепра более груб по составу, чем лесс плато. При этом чем ниже терраса, тем грубодисперснее лесс. Кроме того, часто обнаруживаются закономерности распределения гранулометрического состава по разрезу. Так, глинистость лессовидных суглинков правой высокой надпойменной террасы Днепра у г. Днепропетровска с глубиной увеличивается.

Минералогический состав

3.5. Для количественной оценки состава глинистых минералов используют химический, рентгеновский, термографический и другие методы анализов.

Для анализа водоустойчивых минералов в песчаной и пылеватой фракциях применяют иммерсионные шлихи. Обычно эта группа минералов бывает представлена кварцем и полевыми шпатами, присутствие других минералов (слюд) уточняют при анализе шлихов.

3.6. Многочисленные минералогические анализы лессовых пород позволили установить связь между размерами частиц и составом минералов [6, 14]. В состав крупных фракций (крупнее 5 мм) входит более 50 минералов, из них 10-15 являются породообразующими, а остальные относятся к акцессорным. Наряду с минеральными веществами в лессовых породах встречается гумус (содержание его не превышает 1,2 %), который приурочен к гумусированным прослоям и погребенным почвам.

Примечание. Главными минералами являются кварц и полевые шпаты. В лессовых породах областей предгорий и склонов гор кварц и полевые шпаты содержатся примерно в равных количествах, а в породах низменных равнин кварц всегда преобладает над полевыми шпатами. В тонкодисперсных фракциях лессов встречается гидрослюды, кварц, кальцит, монтмориллонит, каолинит. В пределах низменных равнин в глинистой фракции лессовых пород главной составной частью являются гидрослюды, монтмориллонит, каолинит, в горных и предгорных областях - гидрослюды и кварц.

Химический состав

3.7. В лессовых породах находится преимущественно карбонаты, бикарбонаты, сульфаты и хлориды. Количество солей определяют химическими анализами [4, 5, 6, 21, 22].

Содержание карбонатов вначале следует установить визуально. В образце внешним осмотром определяют присутствие крупных скоплений в виде конкреций, примазок и т.д. После этого определяют количество карбонатов кальциметром. Вначале рекомендуется установить общее их количество, далее - количество дисперсных карбонатов.

Присутствие и количество легкорастворимых солей надлежит определить методом водной вытяжки, а гипса - с помощью солянокислой вытяжки. При этом следует учитывать, что в лессовых породах могут присутствовать также легкорастворимые сульфаты. Поэтому перед анализом необходимо удалить легководорастворимые соли.

3.8. При определении химического состава лессовых пород следует учитывать, что пределы колебаний компонентов химического состава в лессовых породах СССР значительны (SiO2 43,1-78; Al2O3 4,0-17,54 %; Fe2O3 0,4-9,79 %; CaO 2,68-15,9 %; MgO 0,69-3,89 %; Na2O 0,07-3,15 %; K2O 0,19-2,8 % и т.д.), что объясняется различиями в гранулометрическом и химико-минералогическом составе пород местных областей сноса.

Примечание. Содержание карбонатных солей в лессовых породах колеблется от 5 до 20 % (реже 30 %). Наибольшее их количество содержится в лессах засушливых районов. Основная масса карбонатов сосредоточена в пылеватой фракции [6, 14]. Типичные лессы содержат в пылеватой фракции карбонаты от 59 до 84 % общего их количества в породе. В лессах пустынной зоны значительное содержание карбонатов приурочено к фракции тонкого песка (0,25-0,05 мм). Абсолютное содержание карбонатов в тонкодисперсных фракциях невелико, но относительное в глинистой и пылеватой фракциях значительное: до 30-40 % их состава представлены карбонатами.

Весьма важное значение приобретают карбонаты в формировании прочности лессовых пород. Карбонаты, особенно высокодисперсные, создают прочные слаборастворимые кристаллизационные связи между отдельными частицами в лессовых породах. Кроме того, карбонаты обусловливают значительную насыщенность поглощающего комплекса лессов кальцием, что приводит к агрегации глинистой и коллоидной фракций, снижению пластических свойств.

Из среднерастворимых солей в лессовых породах преобладает гипс. Сульфаты концентрируются преимущественно во фракциях крупнее 0,01 мм. В зоне засушливого климата гипс находится в лессовых породах повсеместно. На Русской равнине в лессовых породах лесной зоны и севера лесостепи гипс отсутствует.

Содержание легкорастворимых солей (хлоридов, сульфатов и карбонатов натрия, сульфатов натрия и магния и т.д.) в лессовых породах Украины не превышает 0,5 %, в Среднем Приднепровье - 0,3 %, Восточном Предкавказье - 0,36 %, Северном Прикаспии - 0,68 %, Средней Азии - 1,5-2,0 %.

В лессовых породах Украины обнаруживается зональность состава легкорастворимых солей: на севере лесостепи преобладает двууглекислая сода, в центре и на юге лесостепи - сода, хлориды и сульфаты, в степной зоне - сульфаты и хлориды. Наиболее засолены почвы и грунты Левобережной Украины, особенно на низких речных террасах.

3.9. Лессовые породы в соответствии с особенностями своего состава имеют в большинстве случаев небольшую емкость обмена: 10-20 мг/экв на 100 г грунта и лишь в тяжелых лессовых породах она повышается до 34 мг/экв на 100 г грунта. Главными обменными катионами являются Ca и Mg, что обусловливает сильную агрегацию тонкодисперсных фракций и подавление «глинистых свойств».

Реакция среды лессовых пород PH изменяется в пределах 6,7-8,9. Наибольшая щелочность среды характерна для засушливых районов, в областях со значительным количеством осадков реакция среды приближается к нейтральной или даже к слабокислой.

Влажность

3.10. Влажность лессовых грунтов определяют термостатическим методом по ГОСТ 5180-75 [23].

3.11. При определении влажности лессовых грунтов необходимо учитывать следующее:

естественная влажность лессовых пород наиболее часто колеблется от 0,05 до 0,25;

наиболее низкая влажность характерна для засушливых районов Средней Азии; влажность приташкентских лессов находится в пределах 0,03-0,12;

высокая влажность наблюдается в лессовых породах Западной и Северной Украины, Центра Европейской части РСФСР и т.д. (0,16-0,35);

просадочные лессовые породы характеризуются меньшей влажностью, чем непросадочные; так, относительная просадочность образца лессовых пород оренбургской области при нагрузке P = 0,2 МПа равна δпр = 0,04 при влажности 0,16 и δпр = 0,16 при влажности 0,09;

в верхнем горизонте лессовой толщи влажность изменяется в зависимости от времени года, суток;

в ряде случаев изменение естественной влажности с глубиной носит закономерный характер, например, влажность лессов Днепропетровска на глубине 1 м составляет 0,07, а на глубине 11 м - 0,12;

при увеличении влажности грунтов увеличивается сжимаемость и уменьшается сопротивление пород сдвигу; например, при влажности образца W = 0,13 коэффициент сжимаемости равен α = 0,03 МПа-1, удельное сцепление C = 0,05 МПа, угол внутреннего трения φ = 27°; при W = 0,25 α = 0,09 МПа-1, C = 0,015 МПа, φ = 19°;

средняя величина полной влагоемкости ненабухающих лессовых пород равна 0,30, максимальной молекулярной влагоемкости лессов - 0,13-0,16, а тяжелых лессовидных суглинков и глин - 0,14-0,21.

Капиллярная влагоемкость лессов может достигать 0,40, а лессовых пород - 0,20-0,33. Различие между капиллярной и полной влагоемкостью в обычных грунтах невелико, в лессах оно существенно. Высокое содержание кварцевых пылеватых частиц обусловливает малую гигроскопичность лессов, отношение максимальной гигроскопичности к гигроскопичности для лессов примерно равно 2 [6].

3.12. Влажность массива лессовых грунтов в полевых условиях рекомендуется определять радиоизотопным поверхностно-глубинным влагомером ВПГР-1. Прибор ВПГР-1 характеризуется следующими показателями:

Диапазон измерений объемной влажности, %

измерение на глубине............................................................ 1-100

поверхностные измерения.................................................... 1-50

погрешность измерений........................................................ 1-1,5

Время однократного измерения, с....................................... Не более 100

Работа с прибором не требует специальных мер защиты персонала от радиоактивного излучения.

Пределы пластичности

3.13. Границы текучести WL и раскатывания Wp определяют по ГОСТ 5183-77 [24] обязательно на образцах естественной влажности, так как высушивание лессовых пород приводит к необратимым изменениям их свойств за счет нарушения характера связей, действующих между частицами и их агрегатами.

Для ускоренных определений границ пластичности лессовых пород можно рекомендовать корреляционные зависимости числа пластичности Ip от влажности на границе текучести.

Б. Ф. Галай предлагает формулу [25]

Ip = 0,875 WL - 0,156,                                                          (1)

где пределы пластичности даны в долях единицы; коэффициент корреляции равен 0,91.

Для лессовидных пород Белоруссии И. И. Леонович и В. В. Штабинский уточняют формулу (1) [26]:

Ip = 1,135 WL - 0,2512      (коэффициент корреляции равен 0,89).

При испытаниях грунтов разных регионов формулу (1) следует уточнить. Откорректированную регрессионную зависимость можно применять без ограничений.

3.14. Лессовые породы характеризуются невысокой пластичностью ввиду малого содержании глинистых частиц, насыщенности обменным кальцием (так, для лессовых пород Украины WL = 0,20-0,48; Wp = 0,18-0,23; Wp = 0,02-0,26). С заменой поглощенного кальция натрием возрастает глинистость грунтов. Водорастворимые соли понижают показатели пластичности, а удаление карбонатов повышает глинистость.

3.15. Показатели пластичности отражают зональность состава лессовых пород и в направлении с севера на юг возрастают. В связи с близостью областей сноса элементарный состав лессов Предкавказья и Средней Азии более грубодисперсен и они менее пластичны, чем на юге Украины.

3.16. Так как связывание воды осуществляется в основном частицами глинистой фракции и количество связываемой воды характеризуется числом пластичности и границей текучести, то эти показатели рекомендуется сопоставлять между собой.

Отношение влажности на пределе текучести (в процентах) к содержанию в грунте глинистых частиц называют показателем гидрофильности Kh (по В. А. Приклонскому) [21, 27]. Для лессовых пород величина Kh, как правило, выше единицы, так как глинистость породы невелика. Отношение числа пластичности (в процентах) к содержанию глинистых частиц называет активностью KA (по А. Скемптону) [21]. Лессовые породы по величине KA относятся к неактивным (KA < 0,75). Оба показателя Kh и KA следует определять для фракций меньше 0,002 мм.

Плотность частиц

3.17. Плотность частиц лессовых грунтов определяют в пикнометрах по ГОСТ 5181-78 [28].

Для того, чтобы избежать занижения значений плотности засоленных лессовых грунтов, применяют обезвоженный керосин, кипячение суспензии заменяют вакуумированием.

Для ускоренных определений плотности засоленных грунтов рекомендуется метод Гипроводхоза [29, 30], который дает небольшие погрешности (±0,005 г/см3) для грунтов с содержанием водорастворимых солей не менее 0,2 % массы грунта.

3.18. Плотность частиц лессовых пород ρs колеблется от 2,54 до 2,34 г/см3 [5, 30] (более 1000 определений). В пределах низменных равнин и плит ρs = 2,64-2,72 г/см3. Наиболее низкие значения ρs имеют гумусированные разности (2,54-2,60 г/см3), наиболее высокие - лессовые породы Северного Кавказа (2,84 г/см3).

Среднее значение плотности частиц (253 определения) лессовых пород областей низменных равнин и плит составляет 2,67 г/см3.

Плотность

3.19. Плотность лессовых грунтов определяют:

глинистых - методами режущего кольца, парафинирования по ГОСТ 5182-78 [31];

песчаных - методом лунок;

глинистых и песчаных в массиве - радиоизотопным поверхностно-глубинным плотномером ППГР-1 по ГОСТ 13061-78 [32].

При определении плотности лессовых грунтов в массиве радиоизотопными приборами следует увеличить количество испытаний, так как эти приборы дают погрешность в измерении ±0,04 г/см3. При увеличении количества измерений точность прибора ППГР-1 будет удовлетворительной.

3.20. Повышенная пористость и малая влажность лессовых пород обусловливают более низкую плотность лессов по сравнению с другими породами и лессовидными грунтами.

Примечание. С глубиной плотность, как правило, возрастает. В засушливых районах она имеет более низкие значения, чем в гумидных областях.

Плотность лессовых пород колеблется от 1,33 до 2,03 г/см3, плотность скелета - от 1,12 до 1,79 г/см3; чаще она составляет 1,40-1,60 г/см3. При плотности скелета лессов более 1,40 г/см3 просадочность уменьшается. Отсутствие прямой зависимости между плотностью скелета и просадочностью объясняется тем, что плотность отражает лишь общую пористость породы и не дает представления о качественной характеристике пористости.

Пористость

3.21. Пористость лессовых пород колеблется от 36 до 59 %, в среднем она составляет 45 %.

Для лессов характерны четыре вида пор [12, 33], которые следует различать при описании разрезов и образцов: крупные пустоты, межчастичная пористость, макропоры и внутриагрегатная пористость.

Среди крупных пустот различают трещины, червеходы, корнеходы, суффозионно-карстовые пустоты.

На долю межчастичной пористости приходится 13-35 % объема грунта. Форма межчастичных пор неправильная, размер 0,002-0,5 мм; по порам передвигаются капиллярная и свободная вода.

Макропоры - поры, различимые невооруженным глазом, размером от десятых додай до 3 мм. Это ветвящиеся трубчатые канальцы, расположенные преимущественно вертикально.

При увлажнении и приложении нагрузки крупные межчастичные поры, макропоры с рыхлыми стенками и пустоты сокращаются в объеме. Эту часть общей пористости называют активной. Величину активной пористости (диаметром > 0,02 мм) с высокой точностью определяют капиллярно-метрическим методом Б. Ф. Галая; для приближенной оценки рекомендуется канальный метод А. К. Ларионова [12], который основан на способности вязких жидкостей, характеризующихся большими размерами молекул, при инфильтрации в породу проникать в первую очередь в крупные поры. Для испытаний применяют глицерин. Испытания следует проводить при температуре 18-20 °С.

Ориентированный воздушно-сухой образец разламывают по длинному ребру, диаметру, диагонали. На образовавшуюся поверхность пипеткой наносят каплю глицерина. Одновременно включают секундомер. По окончании впитывания секундомер выключают. Испытания проводят в 5-6 точках. На основании опытных данных принимают среднее значение, величину активной пористости устанавливают по табл. 2.

Таблица 2

Приближенная оценка величины активной пористости грунта по А. К. Ларионову

п/п

Вид структуры

Время впитывания капли глицерина при температуре 18-20 °С

1

Очень высокая активная пористость (> 26 %)

10 с

2

Высокая активная пористость (25 % ≥ na ≥ 20 %)

10-45 с

3

Средняя активная пористость (20 > na 11 %)

От 45 с до 2 мин

4

Низкая активная пористость (≤ 10 %)

2 мин

Внутриагрегатную пористость составляют поры между элементарными частицами в микроагрегатах. Эта пористость влияет на влагоемкость, водо- и воздухопроницаемость, водоустойчивость. Вследствие агрегатности пористость лессовых пород в среднем близка к пористости при наиболее рыхлой укладке частиц (47,6 %). Внутриагрегатная пористость лессов весьма валика и близка к пористости при укладке зерен по гексагональной системе (25,9 %).

3.22. Пористость лессовидных пород меньше пористости лессов. Пористость лессовых пород с глубиной уменьшается.

Примечание. Ниже представлено уравнение регрессии (число точек 30, коэффициент корреляции 0,53), показывающее изменение коэффициента пористости лессовой толщи правобережья р. Днепр у г. Днепропетровска:

e = 0,997 - 0,012h,                                                                             (2)

где h - глубина отбора образца, м.

Для характеристики уплотнения глинистых пород, которая зависит от степени плотности структурных систем, следует рассчитать показатель уплотненности (по В. А. Приклонскому) [27]

,                                           (3)

где eL - коэффициент пористости пасты при пределе текучести;

ep - то же при пределе раскатывания;

eм - то же в естественном состоянии;

WL - влажности в долях единицы.

Для лессов и просадочных лессовидных пород Ka < 0, так как эти породы находятся в недоуплотненном состоянии.

Показатель уплотнения Kупл = eL / eм (по Н. Я. Денисову) [33] характеризует степень уплотнения глинистой породы в естественном залегании. Для просадочных лессов и лессовидных пород он составляет 0,5-0,8.

Водопроницаемость

3.23. Для обоснованного планирования мероприятий по уплотнению лессовых грунтов предварительным замачиванием, проектированию водопровода, канализации и технологических водоводов, для определения времени протекания просадочных деформаций необходимо знать, коэффициент фильтрации лессовых пород природного сложения.

Для проектирования насыпей из лессов, грунтовых подушек, грунтовых свай и др. следует определять коэффициент фильтрации грунтов после их уплотнения.

При строительстве на водонасыщенных лессовых грунтах, проектировании грунтовых подушек, песчаных дрен, расчете скорости консолидации основания необходимо определять коэффициент фильтрации лессового грунта природного сложения в вертикальном и горизонтальном направлениях.

Сложность экспериментальных определений характеристик проницаемости обусловлена тем, что многие виды лессов содержат легкорастворимые соли. Кроме того, при движении воды сквозь слой лессовых грунтов наблюдаются процессы суффозии, кольматаж пор, дезагрегация грунта. Глинистые частицы могут набухать и облекаться мощными пленками физически связанной воды. Указанные процессы наблюдаются при градиентах напора, характерных для данного лессового грунта, и определенном времени движения воды сквозь грунт. При этом может наблюдаться понижение (в несколько раз) водопроницаемости лессовых пород при длительной фильтрации воды и увеличение коэффициентов фильтрации при больших градиентах напора.

Проницаемость лессов в существенной мере зависит от состава и свойств фильтрующей жидкости. Нарушение структуры грунта, его уплотнение уменьшают коэффициент фильтрации в десятки раз.

3.24. Водопроницаемость песчаных грунтов рекомендуется определять прибором ПКФ Союздорнии, а глинистых пород - одометрами, снабженными пьезометром [34, 35].

Водопроницаемость лессовых пород изменчива даже на небольших участках. Коэффициент фильтрации колеблется в широких пределах (10-6 - 10-1 см/с), в среднем он равен 10-3 см/с (1 м/сут.) [4, 5].

В вертикальном направлении водопроницаемость выше, чем в горизонтальном. Поэтому монолиты лессовых пород должны быть строго ориентированы, так как отношение коэффициентов фильтрации, отражающее анизотропию водопроницаемости, составляет для лессов 1,7-11, для тяжелых лессовидных суглинков 1,2-2.

При отборе монолитов для испытаний на набухание следует учитывать, что коэффициент фильтрации характеризуется максимальной величиной в верхней 2-3-метровой толще лессовых пород и снижается вниз по разрезу.

Набухание

3.25. Характеристиками процесса набухания являются: величина относительного набухания δн, влажность Wн, время и давление набухания Pн.

Для испытания лессовых пород естественного сложения на набухание не следует применять прибор ПНГ, так как объем рабочего кольца, в нем мал и возможен значительный разброс значений определяемых параметров из-за макронеоднородностей грунтов. Поэтому испытания на набухание рекомендуется производить одометрами. Образцы нарушенной структуры можно испытывать прибором ПНГ [29, 30, 34, 36].

3.26. Величина набухания лессовых пород определяется прежде всего содержанием в них глинистых частиц. Набухание глинистых частиц размером менее 1 мк, выделенных из лессовой породы, велико (320 %), между тем как частицы крупнее 5 мк практически не набухают.

Наибольшее набухание свойственно породам с монтмориллонито-гидрослюдистым составом минералов, наименьшее - породам с каолинито-кварцево-гидрослюдистым составом. Процесс набухания первых в 3-6 раз длительнее, чем вторых.

Нарушение структуры грунта увеличивает набухание в 2-3 раза.

Давление набухания лессовых пород может достигать 0,1 МПа.

При возрастании начальной влажности набухание снижается и на пределе раскатывания оно прекращается (рис. 5).

С увеличением плотности грунтов набухание повышается. Однако искусственное уплотнение может уменьшить набухание, что обусловлено резким снижением их водопроницаемости, в результате чего некоторая часть грунта становится недоступной для воды. На рис. 5 представлены кривые кинетики набухания и зависимости величины набухания от начальной влажности и плотности (коэффициента уплотнения Kу) для суглинка нарушенной структуры.

Рис. 5. Результаты испытания уплотненного лессового грунта на набухание в зависимости от времени (а), степени уплотнения (б) и начальной влажности (в):

1, 2, 3, 5 - соответственно Kу = 0,91; 0,94; 1,0; 1,0; 4 - W = W0

Набухание глинистых грунтов зависит также от присутствия солей в растворах, циркулирующих в грунтах, их концентрации, величины PH растворов, состава обменных катионов [14, 21, 35, 37].

Усадка

3.27. Относительную объемную усадку δy-v рекомендуется рассчитывать по формуле

,                                           (4)

где nw, ew, ρd(w) -     соответственно пористость, коэффициент пористости и плотность скелета влажного грунта;

nc, ec, ρd(c) -      высохшего грунта.

Влажность на пределе усадки Wy определяют по перегибу кривой объем грунта - влажность или расчетным путем

,                                           (5)

где ey -   коэффициент пористости, характеризующий ту плотность грунта, которую он приобретет в результате усадки.

3.28. Усадка тем больше, чем выше дисперсность грунта. Но усадка лессовых грунтов ненарушенной структуры от содержания глинистых частиц не зависит [14].

При нарушении сложения грунта значение δy значительно возрастает [21, 37]. Легко- и среднерастворимые соли (NaCl, Na2SO4, MgO4, Na2CO3, CaSO4) уменьшают усадку, замедляют ее процесс и снижают трещиноватость.

Размокание

3.29. Размокание лессовых грунтов следует определять прибором ПР [34].

Лессы хорошо размокают в воде и распадаются на структурные элементы, что связано с их существенно пылеватым составом. Так, например, лессы правобережного Приднепровья у г. Днепропетровска распадаются в воде за время от 5 с до 5 мин. Образцы лесса, погруженные в воду, не отслаиваются по частям, а разрушаются целиком.

С быстрой размокаемостью лессов связана их размываемость. Легкая размываемость служит причиной образования и развития густой овражной сети (эрозия) на территории распространения лессовых пород и явлений, вызываемых механической суффозией.

Вдавливание конуса (пенетрация)

3.30. Для испытания грунтов на пенетрацию рекомендуется применять конический пластометр П. А. Рабиндера с углом 30°. Сопротивление грунта вдавливанию Rm, Па, определяют по формуле

Rm = F / h2,                                                                 (6)

где F -  действующая нагрузка, Н;

h -  глубина погружения конуса, м.

Прочность лессов составляет 0,08-2,3, лессовых пород 0,1-1,3 [13], а водонасыщенных лессов - менее 0,1 МПа (0,004-0,03 МПа).

При капиллярном водонасыщении прочность лессовых пород снижается в 30-100 раз, воздушно-сухих образцов лессов - в 300-900 раз [13].

3.31. Чувствительность лессов рекомендуется оценивать в водонасыщенных породах. Для этого определяют сопротивление вдавливанию конуса в породу естественного сложения Rm-e и нарушенного (перемятого) Rm, и чувствительность рассчитывают как отношение Rm-e/Rm. Водонасыщенные лессы с кристаллизационными структурами обладают чувствительностью 10-45, с коагуляционными - 3-10.

3.32. Испытание лессов на просадочность конусом рекомендуется производить в кольце диаметром 4 см и высотой 4 см.

Из монолита вырезают три кольца и вдавливают конус в центре образцов (в одной точке) под нагрузкой 4 Н, 8 Н, 12 Н. Вначале образцы испытывают при естественной влажности, а затем, не вынимая конуса, - после капиллярного водонасыщения дистиллированной водой. Наблюдение за погружением конуса ведут в течение 30 мин после замачивания. По окончании испытаний строят графики кинетики просадки при заданных нагрузках. Полученные кривые позволяют установить сравнительную величину просадочной деформации.

У сильно просадочных лессов при замачивании под нагрузкой прочность снижается до 0,025 МПа и ниже, у среднепросадочных - до 0,1 МПа, у непросадочных она при увлажнении остается выше 0,1 МПа [12].

Предел прочности при одноосном сжатии

3.33. Метод одноосного сжатия рекомендуется как основной для определения механической прочности пород при инженерно-геологической съемке. Кроме того, его следует применять для испытаний образцов лессов, которые при сдвиговых испытаниях проявляют скол. Испытания следует проводить в соответствии с ГОСТ 17245-79 [38]. При интерпретации результатов рекомендуется учитывать следующее. При испытании некоторых лессов разрушение при сжатии происходит по плоскостям, параллельным оси образца, вследствие неоднородности напряженного состояния. В других случаях, например, при испытании лессовидных суглинков поверхность смещения формируется в виде комбинаций вертикальных и наклонных поверхностей скола, при этом определять сопротивления сдвигу методом одноосного сжатия не следует.

3.34. При испытаниях образцов стандартных форм и размеров временное сопротивление при одноосном сжатии лессовых пород зависит от их состава, состояния, текстурно-структурных особенностей и колеблется от 0,07 до 1,4 МПа. При полном водонасыщении лессовых грунтов нарушенной структуры по характеру деформирования они относятся к вязким породам. Наименьшей вязкостью обладают пролювиальные разности, имеющие незначительное содержание глинистых частиц, наибольшей сцементированные лессы Украины и каменные лессы [13]. Прочность лессов в вертикальном направлении на 15-30 % выше, чем в горизонтальном.

Компрессионные испытания

3.35. Деформационные характеристики просадочных грунтов, определяемые комплексно-лабораторными испытаниями, следующие: относительной сжатие грунта с естественной или заданной влажностью δi, относительное сжатие грунта в водонасыщенном состоянии δsat, степень изменчивости сжимаемости α, относительное послепросадочное уплотнение δдл, относительная просадочность δпр, начальное просадочное давление Pпр, начальная (критическая) влажность Wp и относительное набухание.

Для испытаний просадочных грунтов надлежит применять компрессионные приборы согласно ГОСТ 23161-78 [39] с рабочими кольцами, имеющими внутренний диаметр 70-90 мм и высоту 20-30 мм. Приборы должны обеспечить постоянство каждой ступени давления, измерение вертикальных деформаций образцов с точностью 0,01 мм.

3.36. Компрессионные приборы тарируют не реже одного раза в год для учета собственных упругих деформаций прибора. Для этого в рабочее кольцо одометра закладывают металлический вкладыш с двумя смоченными в воде бумажными фильтрами. Затем производят нагрузку и разгрузку ступенями давления по 0,05 МПа (до 0,8 МПа), измеряя упругие деформации прибора. Испытания проводят с повторностью, к расчету принимают среднеарифметическое значение тарировочной поправки Δтар.

При проведении консолидационных испытаний каждую ступень нагрузки выдерживают один час. За значения Δтар принимают деформации, соответствующие концу первичной консолидации (пять минут) и концу вторичной консолидации (один час). Остальные значения Δтар из интервала 50-60 мин пропорционально распределяют на весь отрезок вторичной консолидации.

Результаты тарировок записывают в журнал или на бланке и по этим данным строят тарировочные кривые в координатах напряжение - деформация прибора и напряжение - логарифм времени при разных значениях постоянных нагрузок (рис. 6, а, б). Результаты тарировок учитывают при обработке экспериментальных данных.

Рис. 6. Тарировочные кривые:

а - зависимость деформации прибора Δтар нагрузки; б - то же от времени в полулогарифмическом масштабе при P = 0,05 МПа; в - зависимость нагрузки на днище прибора P от нагрузки на его поршень P

3.37. Силу трения образца грунта о режущее кольцо определяют по разности нагрузок, приложенных к образцу через поршень и воспринятых днищем прибора. Измерение этих нагрузок осуществляют образцовыми динамометрами.

Для измерения силы трения кольцо с грунтом помещают на пористую пластинку, надевают цилиндр, направляющее кольцо со штампом. Динамометр помещают между станиной пресса и пористой пластинкой. Нагрузку передают через рычаг, как обычно.

После опыта строят тарировочную прямую в координатах нагрузка на днище прибора - нагрузка на поршень (см. рис. 6, в).

Для передачи на образец грунта внешней нагрузки последняя должна быть увеличена на коэффициент, равный тангенсу угла наклона тарировочной кривой к оси абсцисс. В частности, для прямой, изображенной на рис. 6, в, указанный коэффициент равен 0,89. Это означает, что внешнюю нагрузку следует увеличить на 11 %.

3.38. Для тарирования усилия, которое передается на поршень прибора через систему рычагов, необходимо вместо прибора под пресс поместить образцовый динамометр ДС-0,2 или ДС-0,5. Внешнюю нагрузку следует откорректировать в зависимости от показаний динамометра.

3.39. Режущее кольцо прибора тарируют для правильного определения плотности грунта методом режущего кольца. Перед опытом кольцо взвешивают с точностью 0,01 г, высоту и диаметр измеряют штангенциркулем с точностью 0,1 мм в пяти точках. К расчету принимают среднеарифметические значения.

3.40. Относительное сжатие лессовых грунтов определяют обычными методами [33, 34, 32]. Как правило, по мере уплотнения грунта его сопротивление деформациям растет, поэтому следует постепенно увеличивать ступени давления при нагружении образца в одометре, причем пористость грунта от каждой ступени давления должна уменьшаться одинаково. При полулогарифмическом графике компрессии это условие приводит к увеличению давления на грунт следующим образом: 0,01-0,025-0,05-0,1-0,2-0,4 МПа [22].

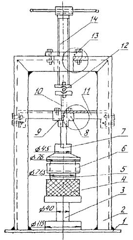
Особое вникание следует уделять тщательности вырезания колец из монолита грунта. Для этих целей рекомендуется специальный пресс, разработанный в ЦНИИСе (рис. 7). К стальной станине 1 приварен П-образный швеллер 2, к которому сверху прикрепляют двумя болтами бронзовую втулку 13 с резьбой. Втулка служит для передачи давления от винтового пресса 14 на стальной шарик 12, предназначенный для центрирования вертикального усилия и трансформации вращательного движения пресса в поступательное. Поперечный швеллер 11 прикреплен к П-образному швеллеру 2. Поперечина увеличивает жесткость конструкции и служит для прикрепления к ней бронзовой направляющий втулки 8, в которой свободно, но без раскачивания ходит бронзовый шток 10. Шток обеспечивает задавливание кольца 5 без перекосов в монолит 4. Шток закрепляют во втулке 8 барашком 9. На шток навинчивают вкладыш 7, который на 55 мм плотно вводит в насадку 6, обеспечивая строго вертикальное перемещение кольца. Монолит грунта устанавливают на чугунную подставку 3. Имея 2-3 типоразмера штока 10 и подставки 3, можно работать с монолитами разной величины и кольцами для сдвиговых, трехосных и других приборов.

Рис. 7. Пресс для вырезания колец из монолитов грунта

3.41. Для ускоренных компрессионных испытаний рекомендуется специальная методика исследований сжимаемости. Ступени нагрузки принимают равными 0,05-0,1-0,6 МПа и каждую ступень выдерживают 24 ч. Расхождения между результатами, определенными по ускоренной и обычной методике, не превышают 2 %.

3.42. После проведения испытаний рассчитывают относительное сжатие грунта для всех ступеней давления. Затем строят компрессионную кривую в совмещенных координатах плотность скелета, коэффициент пористости, относительное сжатие - нагрузка (логарифм нагрузки).

Изменение коэффициента пористости при компрессии рассчитывают по формулам:

ei = eн - δ (1 + eн);                                                           (7)

ei = eн - aklh (P2 / P1),                                                       (8)

где eн - начальный коэффициент пористости;

ak - коэффициент компрессии.

При P1 = 0,1 МПа и P2 = 0,272 МПа ak = e0,1 - e0,272, т.е. коэффициент численно равен разности коэффициентов пористости, отвечающих нагрузкам P1 и P2.

Изменение плотности скелета грунта следует рассчитывать по выражению

ρd-i = ρs : (1 + ei).                                                           (9)

Далее для заданного интервала давления определяют:

коэффициент сжимаемости a МПа-1, представляющий собой тангенс угла наклона компрессионной кривой к оси абсцисс:

a = Δe / ΔP = Δδ (1 + eн) / ΔP;                                       (10)

коэффициент относительной (объемной) сжимаемости ao, МПа-1, представляющий собой осадку грунта при ΔP = 0,1 МПа и толщина обжимаемого слоя 1 см:

;                             (11)

модуль компрессии Dk, МПа:

Dk = 1 / ao = ΔP / Δδ;                                                      (12)

компрессионный модуль общей деформации Ek, МПа:

;                                                (13)

где β -   коэффициент, учитывающий поперечные деформации линейно-деформируемой изотропной среды и зависящий от коэффициента Пуассона μ; коэффициент Пуассона следует определять по результатам одноосных или трехосных испытаний; если в расчет принимают табличное значение μ, то следует указать значение Dk, разница между значениями P и E покажет меру неопределенности расчета.

степень изменчивости сжимаемости лессовых грунтов по модулю деформации dE и коэффициенту сжимаемости αa

dE = Ee / Esat; αa = ae / asat,                                                 (14)

где ae, Ee -    соответственно коэффициент сжимаемости и модуль общей деформации грунта при естественной влажности;

asat, Esat -  то же при полном водонасыщении.

3.43. Просадочные свойства лессовых грунтов определяют до ГОСТ 23161-78. Испытания проводят по методу одной или двух кривых.

При испытаниях по методу одной кривой нагрузку на образец грунта с природной влажностью доводят до заданного давления, за величину которого принимают суммарное давление от веса сооружения и веса грунта в водонасыщенном состоянии или только от веса грунта на глубине отбора монолита (в случае определения просадочных деформаций от веса грунта). После условной стабилизации осадки грунта образец замачивают до условной стабилизации просадки.

При использовании метода двух кривых испытывают два образца: один - согласно рекомендациям, изложенным выше, другой - с предварительным водонасыщением. Тяжелые по гранулометрическому составу грунты следует оставлять при водонасыщении не менее чем на 12 ч.

3.44. После испытаний определяют:

относительную просадочность грунта при заданном давлении

;                                                         (15)

где h1 -   высота образца грунта с природной влажностью при заданном давлении;

hпр - высота образца после просадки в результате замачивания;

hн -   начальная высота образца, т.е. высота кольца;

Δhδ -    абсолютное сжатие образца с природной влажностью при природном давлении;

коэффициент просадочности

δ′пр = Δhпр / (hн - Δh),                                                  (16)

где Δh - уменьшение высоты образца грунта;

начальное просадочное давление, т.е. минимальное давление, при котором проявляются просадочные свойства грунта в условиях его полного водонасыщения; за величину Pпр принимают давление, соответствующее при компрессионных испытаниях относительной просадочности δпр = 0,01; определение начального просадочного давления по методу одной кривой приведено на рис. 8, а;

начальную просадочную влажность, при которой грунты, находящиеся в напряженном состоянии от внешней нагрузки или собственного веса, начинают проявлять просадочные свойства. Определять начальную просадочную влажность следует при медленном повышении влажности просадочного грунта, вызываемом нарушением природных условий испарения, и постепенном накоплении влаги при инфильтрации в грунт поверхностных вод. При компрессионном сжатии величину Wпр вычисляют следующий образец. Из монолита грунта вырезают 5-6 колец. Один образец испытывают при естественной влажности We до заданного давления и при этом давлении замачивают, другой - сначала полностью насыщают водой, а затем нагружают теми же ступенями давления, что и первый. Остальные образцы испытывают при промежуточных значениях влажности. По полученным данным строят зависимости δ = f(P) при различных значениях влажности (см. рис. 8, б). На этот график наносят параллельно кривой сжатия грунта при естественной влажности кривую, соответствующую δпр = 0,01. Полученные точки пересечения указанной кривой с другими кривыми переносят на график P-W. Таким образом получают зависимость Wпр = f(P).

Рис. 8. Определение начального просадочного давления (а) и начальной просадочной влажности (б, в) по результатам компрессионных испытаний:

1 - W = 0,07; 2, 3, 4, 5 - соответственно W = 0,112; 0,151; 0,174; 0,185

3.45. Испытание лессов на просадочность рекомендуется производить по методу одной кривой под нормативным давлением. Метод же двух кривых, как правило, не моделирует работу грунта в основании и теле земляных сооружений, и при его применении трудно получить идентичные по своим свойствам два образца лессов.

Однако статистическая обработка более пятисот параллельных испытаний лессов двумя методами не позволила выявить значимых различий в результатах, получаемых по обоим методам. Так, отношение дисперсий в значениях степени просадочности при нагрузке 0,2 МПа (критерии Фишера) оказалось незначимым при пятипроцентном уровне значимости. Следовательно, методом двух кривых можно пользоваться при ускоренных испытаниях.

3.46. Существенное влияние на просадочность лессовых грунтов оказывает состав воды, заливаемой в одометр. Заливку следует производить водой, близкой по солевому составу той, которая увлажнит грунт в природных условиях. В противном случае можно получить ошибку в определении просадочности 35-40 %.

3.47. Если найденные для сопоставления величины относительной просадочности по методу двух кривых не совпадают на графике δ = f(P), т.е. просадка при замачивании под последней нагрузкой образца грунта естественной влажности не совпадает с кривой компрессии водонасыщенного грунта [40], причем сопоставляемые значения δпр отличаются менее чем в 2 раза, но более чем в 1,1 раза, значения относительной просадочности при различных давлениях умножают на поправочный коэффициент

;                                                         (17)

где δпр -    относительная просадочность при замачивании образца естественной влажности на последней ступени нагрузки;

δпр -   относительная просадочность при том же давлении, определенная методом двух кривых.

Если сопоставляемые значения δпр отличаются менее чем в 1,1 раза, то принимается среднее арифметическое значение из сравниваемых величин. При расхождении результатов более чем в 2 раза испытания бракуют.

3.48. В качестве упрощенного метода определения относительной просадочности рекомендуется несколько модифицированный метод ДИИТа [22, 38], основанный на том, что после замачивания образца лессов и стабилизации просадочных деформаций дальнейшее сжатие водонасыщенного грунта носит логарифмический характер (рис. 9, а). Грунт обжимают при природной влажности ступенями давления до 0,3 МПа. Под нагрузкой 0,3 МПа образец замачивают (монолиты, отобранные с больших глубин, замачивают под бытовой нагрузкой). После стабилизации просадки продолжают нагружение ступенями по 0,1 МПа до давления 0,6 МПа.

По результатам испытаний строят график относительного сжатия грунта от логарифма P. Участок компрессионной кривой от 0,3 до 0,6 МПа аппроксимируют прямой (в случае необходимости методом наименьших квадратов). Прямую продолжают влево (к меньшим нагрузкам) до пересечения с кривой компрессии грунта природной влажности. Ордината δпр = 0,01 показывает начальное просадочное давлений, а ординаты между двумя кривыми - относительную просадочность.

Рис. 9. Упрощенные методы компрессионного определения просадочности лессовых грунтов:

а - предлагаемый; б - по методу В. И. Крутова

Для непросадочных или просадочных лессов с высокой начальной влажностью пересечение начального участка компрессионной кривой с экстраполируемым наблюдается не всегда. В данном случае рекомендуется результаты испытаний обрабатывать по методу В. И. Крутова [15-17]. По этому методу испытывают также один образец, но график просадочности строит в обычных координатах. Затем плавной кривой экстраполируют кривые сжатия сухого и водонасыщенного грунтов (см. рис. 9, б) [7].

3.49. По результатам испытаний засоленных просадочных грунтов методом одной кривой с длительным замачиванием строят график дополнительного относительного сжатия грунта во времени под воздействием замачивания δ = f(lnt). На этом графике выделяют участки просадки грунта и после просадочного уплотнения.

Относительное послепросадочное уплотнение рассчитывают по формуле

;                                                           (18)

где h″ -    высота образца грунта после длительного замачивания и стабилизации послепросадочного уплотнения (0,01 мм за 5 суток, но при испытании не менее чем за 15 суток).

При этом следует определять содержание солей в грунте до и после компрессионных испытаний.

3.50. В случае набухания грунта, замачиваемого до начала загружения, вычисляют свободное относительное набухание как отношение прироста высоты образца к его начальной высоте. Значение δн откладывают на графике δ = f(P) вверх по оси ординат.

3.51. Если необходимо рассчитать ход осадки лессовых грунтов во времени, рекомендуется провести консолидационные испытания. Для получения консолидационных характеристик применяют стандартные компрессионные приборы.

Для решения задачи одномерного уплотнения глинистых грунтов необходимо из опыта установить [43]:

относительную компрессионную деформацию ползучести скелета грунта при единичной нагрузке (меру ползучести);

зависимость напряжение - относительная компрессионная деформация ползучести скелета;

целесообразность использования той или иной теории ползучести для описания этого процесса.

Указанные закономерности следует определять на семейства кривых ползучести, полученных испытанием «образцов-близнецов» (при двустороннем отжатии поровой воды) постоянными нагрузками разной величины. Для проверки теории ползучести пару «образцов-близнецов» испытывают при возрастающих во времени ступенях нагрузок.

Длительность испытания грунта на ползучесть обусловливается полной стабилизацией длительных осадок (отсутствие роста деформаций в течение недели).

Отсчеты по индикаторам рекомендуется записывать в момент приложения нагрузки (t  0), в затем через 0,5, 1, 5, 10, 15, 30 мин, 1, 2, 6, 12 ч и каждый день.

Во время опыта результаты регистрации деформации во времени рекомендуется изображать в виде зависимости относительной деформации от времени (при данной нагрузке) в полулогарифмическом масштабе.

Переход процесса сжатия от первичной ко вторичной компрессии определяют моментом времени, начиная с которого экспериментальные точки устойчиво укладываются на прямую.

3.52. В зависимости от величины активной пористости, состава, степени влажности и других факторов сжимаемость лессов неодинакова. Наибольшее различие существует между лессами и тяжелыми лессовидными суглинками и глинами, коэффициент сжимаемости которых более чем в 2 раза ниже.

Просадочные породы более сжимаемы по сравнению с породами с частично деградированной структурой. В диапазоне нагрузок 0-0,3 МПа коэффициент сжимаемости последних составляет соответственно 0,56-0,72 и 0,15-0,28 МПа-1. Для непросадочных древнечетвертичных лессовых пород, скифских глин и отложений подов коэффициент сжимаемости равен 0,09-0,17 МПа-1.

Модуль деформации лессовых пород, определенный при штамповых испытаниях, колеблется от 2,3 до 52 МПа. Большие значения его характерны для пород с влажностью менее 0,17-0,18. При влажности 0,20-0,25 модуль деформации менее 15 МПа, при влажности более 0,08 - менее 4,5-5 МПа [5].

Условия, влияющие на просадочность, разнообразны. Наибольшей просадочностью обладают лессовые породы водоразделов и высоких надпойменных террас. В понижениях рельефа (низких террасах, выработанных балках, западинах) просадки слабо выражены или отсутствуют. С увеличением высоты местности в горах при уположении склонов просадочность лессовых пород уменьшается.

Сдвиговые испытания

3.53. В процессе проведения инженерно-геологических изысканий определяют прочностные характеристики просадочных грунтов путем испытания их в сдвиговых приборах.

Параметры приборов должны соответствовать ГОСТ 12248-78 [42]. Тарировка приборов описана в пп. 3.36-3.59 настоящих Методических рекомендаций.

3.54. Рекомендуемые схемы испытаний лессовых грунтов приведены в пп. 3.55-3.62.

3.55. Консолидированно-дренированное едленное) испытание (КД). Грунт предварительно выдерживают под проектными нагрузками до завершения процесса консолидации по ГОСТ 12248-78 и медленно срезают при этих же нормальных давлениях. При сдвиге по этой схеме поровое давление отсутствует и при предварительном уплотнении образца, и при сдвиге. Результаты испытания характеризуют прочность, которую грунт приобретает после длительного процесса эксплуатации сооружений. Ее рекомендуется учитывать главным образом в проектах реконструкции дорожных сооружений и расчетах нормативного давления.

КД испытание без нарушения сложения грунта и предварительного водонасыщения следует применять при отсутствии замачивания и просадки, если природная влажность лессовых грунтов превышает влажность на пределе раскатывания. Результаты испытания используют при определении расчетных давлений на проселочные грунты, в расчетах устойчивости.

КД испытание без нарушения сложения грунта с предварительным водонасыщением до влажности на пределе раскатывания применяют при отсутствии замачивания и просадки, если природная влажность лессовых грунтов ниже влажности на пределе раскатывания. Результаты используют так же, как и при испытании без предварительного водонасыщения.

КД испытание лессового грунта нарушенного сложения при плотности скелета, принимаемой в зависимости от нормируемой степени уплотнения и влажности, соответствующей этой плотности по правой ветви кривой стандартного уплотнения, рекомендуется применять при отсутствии замачивания и просадок уплотненных грунтов. Результаты испытаний используют для расчета устойчивости откосов насыпей, подушек на период длительной эксплуатации.

КД испытание без нарушения сложения пород с предварительным полным водонасыщением при возможности свободного набухания соответствует условиям работы грунта после проявления просадок при его замачивании. Результаты испытаний используют для вычисления расчетных давлений с учетом возможных просадочных деформаций.

Предварительное уплотнение следует выполнять одной нагрузкой 0,3 МПа, а срез, как обычно, при трех нормальных давлениях.

При КД испытаниях лессовых грунтов нарушенного сложения с предварительным полным водонасыщением при возможности свободного набухания плотность скелета рекомендуется принимать в зависимости от нормируемом степени уплотнения, а влажность - соответствующей этой плотности по левой ветви кривой стандартного уплотнения. Результаты испытаний используют для проектирования насыпей при длительном подтоплении до и после проявления просадочных деформаций. Предварительное уплотнение выполняют под одной нагрузкой 0,3 МПа.

Если при испытании происходит выжимание грунта в зазор срезывателя, то проводят ускоренные КД испытания, уменьшая время среза до 40 мин, или переходят на недренированные испытания.

3.56. Неконсолидированно-недренированное (быстрое) испытание (НН). Сдвигающие усилия прикладывают сразу же после приложения нормального давления. Грунт разрушается без изменения первоначальной плотности и влажности. При приложении как нормальных, так и сдвигающих напряжений в поровой воде образца возникает избыточное давление, которое и обеспечивает неизменность плотности и влажности (ГОСТ 12248-78). Для грунтов текуче- и мягкопластичной консистенции время сдвига не должно превышать одной-двух минут, а нормальные нагрузки должны соответствовать проектным нагрузкам. Испытания характеризуют прочность грунтов в начальный период строительства и ожидаемую прочность основания, при этом полной консолидации породы к моменту строительства не происходит.

НН испытание лессовых пород без нарушения их сложения с предварительным полным водонасыщением с возможностью свободного набухания соответствует условиям работы лессов в процессе замачивания и просадки. Результаты испытаний применяют для расчетов устойчивости сооружений при замачивании лессов в процессе их просадки.

При НН испытании лессовых грунтов нарушенного сложения, консистенция которых превышает 0,5, без предварительного водонасыщения плотность скелета задают в соответствии с необходимой степенью уплотнения грунтов, а влажность - соответствующую этой плотности по правой ветви кривой стандартного уплотнения. Результаты испытаний применяют для расчета устойчивости высоких насыпей на момент окончания строительства.

Если при испытании по последним двум схемам происходит хрупкий скол образца, применяют замедленные НН испытания, увеличивая время сдвига до 10 мин.

Если в процессе сдвига происходит уменьшение влажности грунта или его уплотнение, необходимо снизить нормальные нагрузки или перейти к консолидированным испытаниям.

При сдвигах на должно наблюдаться смятия образца грунта в обойме срезывателя. В противном случае следует переходить на большие уплотняющие нагрузки и увеличивать время испытаний.

3.57. Консолидированно-недренированное испытание (КН). Под действием нормальных нагрузок образец доводят до состояния полной стабилизации. Затем производят быстрый сдвиг. При этом поровое давление появляется на втором этапе испытаний. Испытания характеризуют прочность грунтов, консолидация которых закончена, при быстром приложении сдвигающих нагрузок (например, при расчетах устойчивости улавливающей стены в период селеспуска).

КН испытание лессовых грунтов естественного сложения при влажности, превышающей влажность на границе раскатывания, применяют для расчета устойчивости грунтов при подтоплении.

КН испытание лессовых грунтов нарушенного сложения без предварительного водонасыщения при плотности скелета, соответствующей нормируемой степени уплотнения, и влажности, соответствующей этой плотности по правой ветви графика, стандартного уплотнения, используют для расчета устойчивости насыпей с учетом динамическом подвижной нагрузки.

КН испытание лессовых грунтов естественного сложения с предварительным полным водонасыщением при свободном набухании применяют для расчета давления на основную площадку выемок при замачивании массива с учетом динамической подвижной нагрузки.

При КН испытании лессовых грунтов нарушенного сложения с предварительный полным водонасыщением при свободном набухании плотность скелета задают в соответствии с нормируемой степенью уплотнения, а влажность - соответствующую этой плотности по левой ветви кривой стандартного уплотнения. Результаты испытаний применяют для расчета устойчивости насыпей при длительном подтоплении откосов.

Если при испытаниях по разобранным схемам происходит хрупкий скол образца, проводят КН замедленный испытания, увеличивая время сдвига до 40 мин. Если в процессе НН сдвига происходит уменьшение влажности грунта или его уплотнение даже при малых нормальных нагрузках переходят на КН испытание.

Если при ускоренных испытаниях происходит выжимание грунта в зазор срезывателя, переходят на недренированные НН и КН испытания.

3.58. Неконсолидированно-дренированное испытание (НД). Образцы грунта медленно срезают без предварительного уплотнения при естественной или заданной плотности и влажности. Результаты испытаний характеризуют прочность грунта в случае медленного роста нагрузок, например, при расчете устойчивости оползневого косогора в случае возведения на нем какого-либо сооружения.

НД испытание лессовых грунтов естественного сложения без дополнительного увлажнения применяют для оценки прочности при невозможности замачивания.

НД испытание лессовых грунтов нарушенной структуры при плотности скелета, соответствующей нормируемой степени уплотнения, и влажности, соответствующей этой плотности по правой ветви кривой стандартного уплотнения, применяют для расчета устойчивости насыпей.

НД испытание лессовых грунтов естественного сложения при полном предварительном водонасыщении со свободным набуханием служит для расчетов устойчивости при замачивании массива.

НД испытание лессовых грунтов нарушенного сложения при полном предварительном водонасыщении со свободным набуханием рекомендуется применять при расчетах устойчивости с учетом возможности длительного подтопления насыпей. Плотность скелета задают в соответствии с действующими нормами, влажность - соответствующую этой плотности по левой ветви кривой стандартного уплотнения.

Если по схемам НД испытаний происходит выжимание грунта в зазор срезывателя, переходят на ускоренное НД испытание, уменьшая время среза до 10 мин.

3.59. Сдвиг переуплотненных образцов. Для оценки прочности при расчетах устойчивости откосов и прочности основной площадки выемок образцы грунта срезают при нормальных давлениях, меньших, чем нагрузка предварительного уплотнения (по А. А. Ничипоровичу).

Три образца повторностью) загружают нормальным давлением 0,3 МПа. После стабилизации осадки один образец медленно или ускоренно срезают под этим же давлением. Два других образца разгружают до давления 0,2 МПа и 0,1 МПа. После стабилизации деформации декомпрессии образцы срезают под соответствующими нормальными нагрузками: 0,2 и 0,1 МПа. В результате испытании можно получить зависимость сопротивления сдвигу от коэффициента пористости и прогнозировать таким образом изменение прочности в зависимости от разуплотнения породы.

3.60. Метод учета порового давления. При испытаниях водонасыщенных лессовых грунтов в нестабилизированном состоянии используют зависимость Кулона для сопротивления сдвигу r в интерпретации К. Терцаги

r = (P - U) tg φ + c,                                                         (19)

где P - нормальное давление;

U - поровое давление;

φ и c - соответственно угол внутреннего трения и сцепление, определенные по схеме КД испытаний.

Для прогноза порового давления могут быть использованы два способа:

определение поля давлений в поровой воде путем предварительного расчета [34];

измерение порового давления при натурных исследованиях, эксплуатируемых сооружений, аналогичных проектируемому.

Испытания сопровождают измерением порового давления [22, 29].

3.61. Метод фиксации плотности-влажности (Н. Н. Маслова). Сопротивление сдвигу при незавершенном уплотнении водонасыщенного грунта описывают уравнением

τw = P tg φw + Σw + Cc,                                                    (20)

где φw - угол внутреннего трения грунта при влажности W;

Σw - связность грунта, обусловленная тиксотропно-коагуляционной структурой при влажности W;

Cc - структурное сцепление, обусловленное конденсационной структурой грунта.

В этом случае получают параметры сопротивления сдвигу в функции плотности-влажности.

Для получения зависимости (20) необходимо испытать несколько серий «образцов-близнецов» при разных значениях плотности-влажности. Различных состояний по плотности-влажности можно достичь выдерживанием серии образцов под одной нормальной нагрузкой разное время (15, 30 мин, 1, 4, 24 ч) или под разными нагрузками одно и то же время.

После испытаний строят зависимости τ = f(W, e) для каждого вертикального давления и τ = f(P) для среднего значения влажности и плотности, полученного для большого количества монолитов [35].

Основным недостатком двух последних схем является трудность прогноза порового давления или влажности в отдельных точках основания сооружения. Особенно это относится к прогнозу ожидаемой влажности.

3.62. Испытания на определение длительной прочности грунтов. Для установления влияния длительности действия нагрузок (длительности деформирования) на прочностные свойства скелета водонасыщенных и неводонасыщенных лессовых грунтов в чистом виде, т.е. баз влияния побочных факторов (избыточного давления в поровой воде, ползучести скелета, деформации уплотнения и т.п.), должны испытываться консолидированные и переуплотненные образцы в условиях свободного оттока поровой воды во время сдвига. Поэтому для испытаний на ползучесть рекомендуется применять схемы КД и НД испытаний.

Результаты испытаний на ползучесть грунтов используют при расчетах устойчивости с учетом реологических свойств. При этом кривую зависимости сопротивления сдвигу (прочности) грунта от времени - кривую длительного сопротивления сдвигу τ = f(t) определяют двумя методами: испытанием «образцов-близнецов» при различных скоростях приложения сдвигающей нагрузки и параллельным испытанием «образцов-близнецов» под действием различных по величине постоянных сдвигающих нагрузок.

Испытание по первому методу проводят следующим образом. На сдвиг испытывают пару «образцов-близнецов» под действием сдвигающих нагрузок, возрастающих равными ступенями черев ровные промежутки времени. Другую пару испытывают теми же ступенями сдвигающего напряжения, но прикладываемых через другой интервал времени (от пяти до нескольких дней). И так далее. Затем, имея данные испытаний четырех-пяти «образцов-близнецов» при четырех-пяти скоростях нагружения, строят семейство кривых длительной прочности τ = f(t) для каждого значения уплотняющей нагрузки P. Полученные кривые легко трансформировать в обычные диаграммы сдвига при любых значениях времени действия сдвигающей нагрузки (рис. 10).

При испытаниях по второму методу срезают несколько пар «образцов-близнецов». Испытанием первой пары определяют начальную прочность, в остальные образцы попарно загружают постоянными, но различными по величине касательными нагрузками, составляющими некоторую долю (40-95 %) от значения начальной прочности.

По результатам испытаний серий образцов строят семейство кривых ползучести и определяют время разрушения грунта, т.е. время, при котором деформация сдвига γ на стадии установившейся ползучести переходит в стадию прогрессирующего течения - течения с возрастающей скоростью м. рис. 10). Затем отроят кривую длительной прочности и диаграммы сдвига.

Рис. 10. Результат испытаний грузов на ползучесть:

а - семейство кривых ползучести; б - кривые длительного сопротивления сдвигу при различных нормальных давлениях; в - диаграмма сдвига для значения времени

3.63. Испытание набухающих лессовых грунтов. Сдвиг по любой из схем производят после предварительного водонасыщения. При этом рекомендуется:

водонасыщение при неизменном объеме образца грунта под арретиром производить, если давление набухания меньше веса сооружения и бытового давления;

водонасыщение при условии свободного набухания осуществлять при моделировании работы откосов насыпей и выемок;

водонасыщение при нагрузках, действующих при сдвиге, выполнять, если давление набухания больше суммы веса сооружения и бытового давления.

3.64. Испытание засоленных лессовых пород. Для водонасыщения следует применять воду, близкую по солевому составу к растворам поровых вод. При необходимости учета суффозии солей в результате длительной фильтрации грунт следует испытывать после вымывания солей из образца фильтрующими водами.

3.65. Наличие ходов землероев, микро- и макротрещин, плоскостей скольжения приводит к тому, что прочность лессов естественного сложения может оказаться ниже прочности этих же образцов нарушенного сложения.

При уплотнении лессовых пород сопротивление сдвигу существенно возрастает. Из рис. 11 видно, как изменяется сопротивление сдвигу в зависимости от достигнутой плотности грунтов. Гранулометрический состав существенно влияет на характер сцепления. В лессах сцепление обеспечивается главным образом кристаллизационными связями, в лессовидных суглинках - водно-коллоидными связями и межмолекулярным притяжением.

Рис. 11. Зависимость угла внутреннего трения и сцепления от плотности скелета грунта (лессовидный суглинок) по А. К. Ларионову

Состав глинистых минералов, емкость поглощения, минерализация порового раствора и другие факторы, определяющие толщину гидратных оболочек, влияют на сопротивление сдвигу. Последнее резко снижается, если испытание производить одновременно с увлажнением грунта (рис. 12).

Рис. 12. Зависимость удельного оцепления (а) и угла внутреннего трения (б) от влажности грунтов района г. Ташкента:

1 - лессовидный суглинок; 2 - лессовидная супесь

Карбонатные соли в тонкодисперсном состоянии и в виде пленок повышают сопротивление сдвигу, а выщелачивание солей понижает его.

Кроме того, прочностные характеристики лессовых грунтов естественного сложения в водонасыщенном состоянии в значительной степени зависят от условий проведения испытаний на сдвиг, в частности от давления предварительного уплотнения (рис. 13). Именно поэтому давление предварительного уплотнения для этих условий следует принимать постоянным.

Рис. 13. Зависимость удельного сцепления (а) и угла внутреннего трения (б) от давления предварительного уплотнения для лессовидных суглинков (по В. И. Крутову)

Трехосное сжатие

3.66. В практике дорожного строительства стабилометры рекомендуется применять:

для испытания неоднородного лессового грунта с явно выраженной слоистостью или макроагрегатностью; сдвиг в стабилометре происходит по наислабейшей поверхности разрушения; по этой же причине в стабилометре следует определять контактный вид прочности, имеющей большое значение при рассмотрении устойчивости оползневых склонов и откосов;

для испытания с включениями грунтов крупнее 0,5 мм, так как в сдвижном приборе неизбежно заклинивание этих частиц между обоймами;

для испытания водонасыщенных лессовых грунтов, если в сдвижном приборе происходит выжимание грунта в затвор срезывателя или смятие образца в сдвижной обойме;

для повышения точности определения прочности водонасыщенных лессов в условиях недренированных испытаний, так как наличие щели между обоймами в сдвижном приборе вносит существенное искажение в режим управления дренированием образца;

с целью определения длительной прочности лессовых грунтов, так как длительное сохранение естественной влажности образцов в сдвижном приборе затруднительно;

для испытания лессов полутвердой и твердой консистенции, когда в сдвижном приборе происходит хрупкий скол образца при неизвестных соотношениях сдвигающих и нормальный напряжений;

для определения коэффициента Пуассона и модуля общей деформации при ограниченном расширении грунта, что может иметь место в откосах насыпи, на склоне;

при установлении соответствующим условиям полной стабилизации параметров прочности водонасыщенных лессов по данным, полученным по схеме неконсолидированно-недреннированных испытаний с учетом порового давления.

Методы испытаний грунтов в стабилометрах подробно изложены в [31, 35], а схемы испытаний даны в пп. 3.55-3.64. Условия прочности пород выражают через значение наибольшего σ1 и наименьшего σ2 главных напряжений в момент разрушения. Графически зависимости между главными нормальными напряжениями и касательными представляют в виде кругов предельных напряжений (кругов Мора).

Уплотняемость

3.67. Для оценки уплотняемости лессовых грунтов применяют метод стандартного уплотнения. Испытания проводят по ГОСТ 22733-77 [44].

Для испытания грунтов используют приборы Союздорнии и ЦНИИСа. При испытании в приборе Союздорнии грунт трамбуют в три слоя ударами груза весом 0,25 Н, падающего с высоты 0,3 м, при общем количестве ударов 120; при испытании в приборе ЦНИИСа грунт трамбуют в один слой ударами груза весом 0,25 Н, падающего с высоты 0,3 м, при количестве ударов 20.

Для испытаний берут пробы грунта в воздушно-сухом состоянии (высушивают при комнатной температуре), при котором возможно его просеивание и размельчение. Каждую пробу испытывают не более трех раз. При испытании грунтов, содержащих агрегаты, легко разрушающиеся при трамбовании, каждую пробу испытывают только один раз.

3.68. Средняя величина максимальной стандартной плотности составляет ρmaxd = 1,75-1,81 г/см3. Для легких суглинков ρmaxd равна 1,87-2,12 г/см3, тяжелых - 1,67-1,85 г/см3.

Оптимальная влажность Wop грунтов, как правило, на 0,01-0,03 меньше предела раскатывания в долях единицы. Среднее значение коэффициента a в формуле Wop = Wp - a составляет для суглинков 0,018±0,002; для глин 0,02±0,003. Среднее значение коэффициента α в формуле Wop = αWL равно для суглинков 0,56±0,3, для глин 0,51±0,01 [41]. Для лессовых грунтов Центра Европейской части СССР получено Wop = 0,46WL + 0,41 и ρmaxd = 2,26 - 1,7WLножественный коэффициент корреляции R = 0,9 ÷ 0,94 при объеме выборки 160). Этими формулами рекомендуется пользоваться для ориентированных определений оптимальной влажности и максимальной стандартной плотности.

В результате уплотнения при оптимальной влажности достигается плотная упаковка частиц, монолитная структура грунта и улучшаются основные строительные свойства пород. Так, образцы ташкентского лесса при естественной влажности размокали в дистиллированной воде за 12 ч. После уплотнения до коэффициента уплотнения Kу = 0,98 при Wop время размокания увеличилось до 35-40 мин. Грунты, уплотненные при оптимальной влажности, проявляют минимальное морозное пучение, не набухают и не пылят.

После уплотнения лессов до Ky = 1,0 - 1,03 при оптимальной или несколько меньшей влажности они становятся непросадочными и малосжимаемыми. При этом также значительно увеличиваются показатели сопротивления сдвигу (см. рис. 11). Следует учесть, что уплотнение при низкой влажности WWop, G < 0,8, где G - степень влажности уплотненного грунта, и при увлажнении пород в процессе эксплуатации сооружений не обеспечивает высоких показателей прочности и деформативности. В этом случае грунты набухают, появляются просадочные и послепросадочные деформации, нередко значительной величины.

3.69. Коэффициенты уплотнения Kу, выраженные в долях от максимальной стандартной плотности, назначают на основании накопленного опыта. В настоящее время такой прием не может гарантировать оптимальную плотность грунта. Последнюю необходимо определять, исходя из требований работы грунта практически в упругой стадии и обеспечения минимума приведенных строительно-эксплуатационных расходов [46-48].

3.70. В общем случае нагрузки σо на основание инженерных сооружений состоят из постоянной составляющей σа (собственного веса грунта и веса сооружения) и временной σр, действующей, как правило, периодически, циклично, например, поездной нагрузки на железнодорожной насыпи

σо = σа + σр,                                                                (21)

Циклические напряжения вызывают дополнительное уплотнение грунтов, которое необходимо учитывать наряду с консолидацией земляных масс от воздействия постоянных нагрузок при назначении плотности или расчета осадок слоев, несущих конструкцию в ее основании, теле.

Деформативными показателями при такой схеме нагружения являются (рис. 14):

остаточная деформация после первого цикла уплотнения λi нагрузкой σо, т.е. створ на оси ординат обычной компрессионной кривой;

остаточная деформация после первого цикла нагружения-разгружения λi, равная разности между начальным коэффициентом пористости eн до приложения нагрузки σр и его конечным значением после снятия последней;

полная деформация после первого цикла уплотнения λμ-м, равная разности между коэффициентами пористости до приложения нагрузки σа и после стабилизации осадки под ее действием.

3.71. Деформативные показатели уплотняемых земляных масс рекомендуется определять в результате компрессионных или трехосных (в условиях невозможности или ограниченного бокового расширения) испытаний грунтов нарушенной структуры.

Рекомендуется следующий порядок проведения испытаний. Нагрузки прикладывают без удара срезу всей величиной ступени; они принимаются равными 0,2; 0,4; 0,6 МПа. Каждый образец испытывают определенной нагрузкой (на первом приборе 0,2, на втором 0,4, на третьем 0,6 МПа).

Каждую ступень выдерживают сутки, затем нагрузку снимают, опять выдерживают сутки и повторяют циклы нагружения-разгружения. Циклы нагружения повторяют до тех пор, пока наблюдается монотонное убывание значений характеристик остаточных деформаций (по показаниям мессур) в каждом цикле. Как только эти значения начинают увеличиваться, что соответствует достижению точности опытов, испытания прекращают [45]. Подобным образом фиксируют состояние незавершенной упругой компрессии.

Рис. 14. Расчетные схемы:

а - по Г. М. Шахунянцу; б - принятая в работе

Все деформативные показатели относят к первому и последнему циклам нагружения-разгружения. Состояние незавершенной компрессии наступает через 2-8 циклов нагружения.

Полный цикл испытаний для грунтов, уплотняемых при оптимальной влажности, состоит из 9 опытов. Это три объемные массы скелета, соответствующие коэффициентам уплотнения 0,90; 0,95 и 1,00 при трех ступенях нагрузки: 0,2; 0,4 и 0,6 МПа.

3.72. В результате испытаний рекомендуется рассчитать значения, характеризующие деформации после первого цикла уплотнения (λа-н; λ1-р) и на момент наступления незавершенной упругой компрессии (λнзр), согласно рис. 14. Затем следует перейти от незавершенной к завершенной компрессии

λр = λнзр / (1 - μ),                                                        (22)

где μ - коэффициент, определяемый после двух циклов нагружения-разгружения.

μ = λ2-р / λ1-р.                                                             (23)

Далее выявляют зависимости λ1 = f(eн, σо); λ1-р = f[(eн - λа-н), σр]; λа-н = f(eн, σа), определяют коэффициенты пористости ео, обеспечивающие практически упругую работу насыпей, строят комплексные характеристики упругой компрессии [47].

Значения eo рекомендуется определять решением системы уравнений:

                                                     (24)

или

где ek -   конечное значение коэффициента пористости при наступлении упругой компрессии.

Примечание. Для решения уравнения (24) испытано 3 вида лессовидных суглинков, отобранных с разных объектов строительства.

Первый - делювиальный лессовидный суглинок (район ст. Кандагач), второй - пролювиальный лессовидный суглинок (IV надпойменная эрозионная терраса р. Чирчик у г. Ташкента), третий - аллювиально-пролювиальный лессовый суглинок предгорной пологонаклонной равнины (район Алма-Ата).

Результаты всех экспериментов подвергнуты многофакторному корреляционно-регрессионному анализу с использованием ЭВМ.

Уравнения регрессии имеют вид:

λа-н = 1,356 - 1,904ен - 2,520σа - 6,079Ip + 0,627e2н - 0,661σ2а + 3,167eнσа + 15,115σIp,

λ1 = 1,243 - 1,628ен - 2,341σо - 5,981Ip + 0,712e2н - 0,789σ2о + 3,124eнσо + 10,842σIp,

λр = 0,128 - 4,813Ip + 26,307I2p + 0,562σ2p - 0,359σpIp - 0,000196σpeн.

Приведенные уравнения регрессии вполне надежны: действительно, критерии Стьюдента для коэффициентов указанных уравнений лежат в пределах 5,10-15,54 при табулированном значении 2 (достоверная вероятность 0,95). Критерий Фишера, который должен быть больше 1,4, находится в пределах 8,6-10. Множественный коэффициент корреляции для уравнений составляет 0,94-0,96, а его критерий значимости - 78,6-64,4 при табулированном значении 2.

Данные уравнения определены на основании 59 испытаний, в которых аргументы изменялись в следующих границах:

0,13 ≥ Ip ≥ 0,06

0,8 МПа ≥ σ ≥ 0,2 МПа

0,80 ≥ е ≥ 0,50

На рис. 15, а приведена комплексная характеристика упругой компрессии лессовидного суглинка, а на рис. 15, б номограмма eo = f(σo).

Рис. 15. Комплексная характеристика упругой компрессии лессовидного суглинка (а) и номограмма для определения плотности, обеспечивающей упругую работу насыпей из суглинков (б):

1 - eo = f(σo); 2 - eу = f(σo); 3, 4, 5 - соответственно Ip = 0,07; 0,13; 0,17

3.73. Уплотнение грунтов вплоть до коэффициента пористости eo обеспечивает безосадочность насыпей. Но следует иметь в виду, что в ряде случаев достижение ео невозможно, технически сложно или экономически нерационально. В данном случае можно ограничить остаточные деформации допустимым пределом, предусмотрев соответствующий запас на осадку насыпи по высоте или ширине ее. При этом возникнут дополнительные расходы как строительные, так и эксплуатационные. Поэтому вопрос назначения рациональной степени уплотнения необходимо решать на основе технико-экономического сравнения возможных вариантов и перспективного развития рабочих параметров пути.

Осадка S слоя насыпи толщиной hi без учета бокового расширения грунта будет

                                                   (25)

Назначение рациональной плотности грунтов изложенным методом наиболее строго обосновано.

Приложение 1

СОПОСТАВЛЕНИЕ КАЧЕСТВА МОНОЛИТОВ ГРУНТОВ, ОТОБРАННЫХ ИЗ ШУРФОВ И СКВАЖИН

Монолиты лессовых грунтов отобраны из шурфов, расчисток и скважин по разработанной технологии. Опытные участки были заложены в районе:

г. Днепропетровска на правом берегу р. Днепр;

г. Ташкента на IV и V надпойменных эрозионных: террасах правого берега р. Чирчик, V эрозионной террасе левого берега р. Чирчик;

г. Алма-Аты на предгорном шлейфе древнего конуса выноса р. Б. Алмаатинка, предгорной пологонаклонной равнины, верхней предгорной ступени.

Опробованные грунты по генезису принадлежат к пролювиальным, аллювиально-пролювиальным, делювиально-пролювиальным, золовым породам верхне- и среднечетвертичного возраста.

В лаборатории были определены коэффициенты пористости, плотность сухого грунта, относительная просадочность методом двух кривых. Затем были подсчитаны отношения значения α от деления указанных показателей, определенных по монолитам, отобранным из шурфов, к соответствующим показателям, определенным по монолитам, отобранным из скважин, т. eш / eскв; ρdш / ρdскв; δпрш / δпрскв.

Анализ статистик (табл. 1) показывает, что средние значения коэффициентов пористости, определенных по монолитам из скважин, незначительно отличаются от соответствующих средних коэффициентов пористости, определенных по монолитам из шурфов, так как величина α близка к 1. Худшие статистические показатели получены для грунтов из района г. Днепропетровска. Ниже дан анализ для этих пород.

Поскольку значения средних квадратичных отклонений коэффициентов асимметрии 3 ·SA = 3 · 0,062 = 0,186 и эксцесса 5 ·Sэ = 5 · 0,124 = 0,620 больше соответствующих значений |A| = 0,145 и |Э| = 0,224, распределение αi можно считать нормальным.

Таблица 1

Показатели

Среднее по шурфу / скважине

Среднее квадратичное отклонение

Коэффициент вариации

Среднее квадратичное отклонение от среднего

Среднее квадратичное отклонение от среднего квадратичного

Число опытных точек

Район Днепропетровска:

 

 

 

 

 

 

отношение eш / eскв

1,078

0,136

0,126

0,025

0,026

27

отношение δпрш / δпрскв

1,272

0,929

0,73

0,120

0,132

58

Район Алма-Аты:

 

 

 

 

 

 

коэффициент пористости

0,929/0,915

 

 

 

 

 

отношение eш / eскв

1,026

0,071

0,069

0,011

0,011

15

пористость n, %

48/48

 

 

 

 

 

влажность

0,114/0,114

 

 

 

 

 

плотность скелета

1,41/1,42

 

 

 

 

 

отношение ρdш / ρdскв

1,017

0,042

0,041

0,011

0,011

15

Район Ташкента:

 

 

 

 

 

 

плотность скелета

1,50/1,47

 

 

 

 

 

отношение ρdш / ρdскв

1,026

0,014

0,014

0,004

0,004

10

отношение δпрш / δпрскв

1,185

0,392

0,331

0,131

0,110

9

С доверительной вероятностью 99,8 % среднее значение α не выйдет за интервал ±0,086, т.е. 0,992 - 1,164. При этом максимальная разница в определениях средних значениях коэффициента α составляет 0,16. Таким образом, разница в плотностях монолитов, отобранных из скважин, примерно соответствует шуму, связанному с природной неоднородностью лессовых грунтов. Незначительное смещение среднего значения α можно компенсировать увеличением количества параллельных определений коэффициентов пористости или плотности скелета грунта.

Компрессионные свойства грунтов изучались в одометрах системы ЦНИИСа и Гидропроекта.

Коэффициент сжимаемости грунтов по скважинам и шурфам изменяется от 0,008 до 0,060. Абсолютная величина разности коэффициента сжимаемости по скважинам и шурфам изменяется от 0 до 0,029. Таким образом, разности составляют значительную часть абсолютной величины самого измерения.

Описанным выше способом были определены отношения αi = δпрш / δпрскв, где δпрш - относительная просадочность монолита из шурфа; δпрскв - то же из скважины. Ниже дан анализ выборки для пород из района г. Днепропетровска.

Значения α распределены нормально (0,882 > 0,793 и 2,835 > 2,663). По шурфам получаются несколько большие значения просадочности по сравнению с монолитами, отобранными из скважин. Однако и здесь ошибки определения δпр сопоставили с ошибками, связанными с природной изменчивостью свойств грунтов. Интервал для α с вероятностью 99,8 % составляет 0,876 - 1,668.

Непостоянство знака при параллельных определениях просадочности по монолитам, отобранным из шурфов и скважин, свидетельствует о том, что определять δпр можно по монолитам, отобранным из скважин. Однако здесь особую важность представляет дублирование экспериментов для получения достоверных данных. Если при обычных компрессионных испытаниях ограничиваются одной повторностью опытов, то исследование компрессионных свойств лессовых грунтов требует трех-четырехразового дублирования экспериментов.

Разберем пример определения качества монолитов грунтов, отобранных из скважин способом «свободного» падения в районе г. Ташкента (см. пп. 2.15-2.18 настоящих Методических рекомендаций). Монолиты отобраны грунтоносом Д- с внутренним диаметром 80 мм с глубины 2-6 м. Высота сбрасывания бурового инструмента над забоем скважины составила 2 м, длина монолитов - 0,135-0,155 м, диаметр - 0,253-0,258. Результаты лабораторного определения свойств лессовидного суглинка приведены в табл. 2 (было сделано по три определения плотности сухого грунта методом режущего кольца для каждого образца, причем первое определение для образца, находящегося в верхней части монолита).

Из средней части монолитов грунтов отобраны образцы в кольца одометров для определения относительной просадочности. Анализ результатов показывает, что по первой площадке условия контроля 1, 2, 3, 4 соблюдены. Условие 1 подтверждено данными лабораторных определений коэффициента пористости, пределов пластичности и влажности. Действительно, рассматриваемый слой можно отнести к одному инженерно-геологическому элементу, так как по результатам 15 определений:

среднее значение влажности составляет 0,079, коэффициент вариации - 0,059;

среднее значение коэффициента пористости равно 0,946, коэффициент вариации - 0,129;

среднее значение числа пластичности составляет 0,076, коэффициент вариации - 0,103.

Признак 1 соблюдается, так как в пределах одного инженерно-геологического элемента плотность лессовых пород несколько увеличивается, а просадочность соответственно уменьшается.

Таблица 2

Геоморфологический элемент

Номер образца

Глубина отбора, м

Плотность скелета грунта, г/см3

Влажность

Плотность скелета грунта, г/см3

Коэффициент пористости

Относительная просадочность при P = 0,3 МПа

по одной кривой

по двум кривым

V надпойменная эрозионная терраса левого берега р. Чирчик

1

2,7

1,38

0,070

1,29

1,078

0,051

0,051

1,39

0,069

1,30

1,061

1,40

0,071

1,31

1,046

То же

2

3,5

1,51

0,0895

1,39

0,928

0,048

0,032

1,53

0,089

1,40

0,914

-«-

3

5,0

1,62

0,093

1,48

0,810

0,018

0,030

1,70

0,0935

1,56

0,718

1,72

0,094

1,57

0,707

V надпойменная эрозионная терраса правого берега р. Чирчик

4

6,0

1,66

0,170

1,42

0,901

0,011

0,067

1,68

0,171

1,43

0,888

1,64

0,169

1,40

0,928

Признак 2 соблюдается, так как коэффициенты вариации не превышают значений, указанных в ГОСТ 20522-75 [19].

Признак 3 соблюдается, так как плотность призабойных образцов из всех монолитов выше, чем образцов из верхней и средней частей. Это свидетельствует о некотором уплотнении грунтов в призабойной части, которое вызвано технологией отбора монолитов способом «свободного» падения.

Наконец, и признак 4 также соблюдается.

Соблюдение всех условий и признаков ненарушенности сложения грунта монолитов позволяет утверждать о высоком качестве образцов 1, 2, 3.

Однако монолит 4, несмотря на отсутствие видимых нарушений его сложения, может приниматься к лабораторным испытаниям только как образец нарушенного сложения. Так, из табл. 2 видно, что в этом случае не соблюдаются сразу два признака - 3 и 4. Этот образец был отобран с нарушением оптимальной технологии. Высота сбрасывания бурового снаряда составила 3,5 м, а высота монолита превысила 200 мм, т.е. монолит вошел в часть грунтоноса (удлинитель), предназначенную для сбора шлама.

Приложение 2

РАЗМЕЩЕНИЕ ТОЧЕК ОПРОБОВАНИЯ ПРИ ПОМОЩИ ФАКТОРНЫХ ПЛАНОВ

Ниже изложены основные положения методики размещения точек опробования и методики планирования.

При опробовании грунтов на участке трассы длиной 1 км планирование двухфакторного (глубина и длина) ортогонального центрального композиционного плана (ОЦКП) приводит к необходимости проходки трех скважин (ГК 1, ГК 6, ГК 11) с отбором монолитов грунтов на скв. 1 (ГК 1) с глубины 2, 5, 8 м; скв. 2 (ГК 6) - 2, 5, 8 и 16 м (контрольная точка) и скв. 3 (ГК 11) - 2, 5, 8 м. При этом известно, что изменение просадочности лессовой толщи до глубины 10 м носит параболический характер, а ниже - прямолинейный или δпр = const. Подобный характер изменения просадочности имеет место во многих районах Украины.

При опробовании грунтов на площадке размером L × B = 100 × 50 м (рисунок) на стадии инженерно-геологической съемки достаточно спланировать полный факторный эксперимент (ПФЭ) и пройти скважины по углам площадки. На стадии инженерно-геологической разведки ПФЭ дополняют до ОЦКП и получают план разведки, указанной на рисунке, а. В этом случае необходимо пройти 9 скважин, отобрать: 15 + 1 (контрольный) = 16 монолитов грунта и произвести 8 × 4 + 6 × 3 + 1 × 5 + 1 × 3 = 56 испытаний на просадочность. Для сравнения укажем, что по рекомендациям [15] в этом случае необходимо пройти 4 скважины и отобрать монолиты через 2 м, т.е. 36 монолитов. При использовании ОЦКП математическую модель выбирают в виде

δпр = a0 + a1h + a2B + a3L + a4h2 + a5B2 +a6L2 + a7hB + a8hL + a9BL,

где ai - коэффициенты уравнения регрессии.

Если известно, что изменение относительной просадочности в трехмерном пространстве имеет строго линейный характер (просадочная толща подстилается галечниками), то в этом случае достаточна реализация дробного факторного эксперимента (см. рисунок, в) с проходкой 4 + 1 (контрольная) = 5 скважин и отбором 4 + 1 (контрольный с гл. 9 м) = 5 монолитов грунта. В этом случае математическая модель имеет вид

δпр = a0 + a1h + a2B + a3L.

Расположение точек опробования на площадке 100×50 м при планировании:

а - ортогонального центрального композиционного плана (ОЦКП); б - полного факторного эксперимента (ПФЭ); в - дробного факторного эксперимента (ДФЭ); ● - точка опробования по ПФЭ;  - звездные точки; - центральная точка

При отсутствии таких сведений сначала реализуют ПФЭ (см. рисунок, б) с математической моделью

δпр = a0 + a1h + a2B + a3L + a4hB + a5hL + a6BL.

Последний при несоответствии математической модели действительности дополняют до ОЦКП (см. рисунок, а).

Таковы основные принципы методики планирования разведки методом активных факторных планов.

Приложение 3

ОПРЕДЕЛЕНИЕ ДЕФОРМАЦИЙ В МАССИВЕ ЛЕССОВЫХ ГРУНТОВ ПРИ УВЛАЖНЕНИИ

Процесс просадочности оказывает сложное влияние на формирование напряженно-деформируемого состояния массива лессового грунта. В первом приближении рекомендуется считать, что процесс влагопереноса при увлажнении массива и возникающие в этой связи напряжения аналогичны процессу формирования термонапряженного состояния. Ниже решена одномерная задача уплотнения слоя неводонасыщенного лессового грунта мощностью Н при замачивании его при воздействии какой-либо поверхностной нагрузки интенсивностью q и собственного веса грунта pHg.

Предположим, что основная часть просадки происходит на фронте замачивания, а основной расход воды на этом фронте Q(h) будет определен изменением водосодержания в слое dh за время dt.

                               (1)

где ρd(h) - изменяющаяся с глубиной плотность сухого грунта ненарушенного сложения;

eн(h) -  изменяющийся с глубиной начальный коэффициент пористости;

G(h) -  изменяющаяся с глубиной степень влажности;

K -       переводной коэффициент; если Q(h) - поверхностный расход, то размерность K в м/с.

Если принять зависимость δпр = f(P) прямолинейной, то закон изменения с глубиной относительной просадочности с учетом собственного веса грунта примет вид

δпр(h) = B0(h) + a0(h)(q + ρsathg),                                             (2)

где B0(h) - изменяющийся по глубине параметр прямой;

a0(h) - изменяющийся с глубиной коэффициент относительной сжимаемости;

ρsat -    плотность грунта в водонасыщенном состоянии.

Если принять, что слой грунта мощностью h однороден, а именно так и рекомендуется производить послойную разбивку массива грунта на слои, то

Q(h) = (ρd / ρs)(eн (1 - G) - B0 - a0(q + ρsathg))K.                             (3)

Тогда уравнение (1) принимает вид

                                             (4)

где Hk - напор капиллярного вакуума на фронте замачивания,

B1 = (ρd / ρs)eн (1 - G) - B0 - a0q; B2 = a0ρsatq.

Решение (4) при h(0) = 0 имеет вид

(5)

При B1 = 0, т.е. при отсутствии просадочности на фронте замачивания это решение совпадает с решением, полученным П. Я. Полубариновойочиной (1977 г.) для деформируемой пористой среды.

Если происходит капиллярное замачивание слоя толщиной h′ снизу вверх вследствие капиллярного поднятия уровня грунтовых вод в подстилающем слое, тогда уравнение (4) принимает вид

                                    (6)

Уравнение (6) с учетом h(0) = 0 решается следующим образом:

                                                                                                      (7)

Решения (5) и (7) рекомендуются для определения деформаций массива лессового грунта.

СПИСОК ЛИТЕРАТУРЫ

1. Ломтадзе В. Ф. Инженерная геология. Инженерная геодинамика. Л., Недра, 1978, 479 с.

2. Рекомендации по проведению инженерно-геологических изысканий в районах распространения лессов и лессовидных грунтов. М., ПНИИИС Госстроя СССР, 1968, 57 с.

3. Строительные нормы и правила. Строительная климатология и геофизика. СНиП II-А.6-72. М., Стройиздат, 1973, с. 20.

4. Абелев Ю. М., Абелев М. Ю. Основы проектирования и строительства на просадочных макропористых грунтах. М., Стройиздат, 1979, 271 с.

5. Ларионов А. К., Приклонский В. А., Ананьев В. П. Лессовые породы и их строительные свойства. М., Госгеолтехиздат, 1959, 367 с.

6. Лысенко М. П. Лессовые породы. Л., Недра, 1978, 208 с.

7. Крутов В. И. Расчет фундаментов на просадочных грунтах. М., Стройиздат, 1972, 176 с.

8. Каган А. А. Расчетные показатели физико-механических свойств грунтов. Л., Стройиздат, 1973, 143 с.

9. Игнатова О. И. Об изменчивости характеристик грунтов оснований зданий и сооружений. Труды ПНИИИС, вып. 68. М., 1977, с. 78-83.

10. Сквалецкий Е. Н. Об опробовании лессовых пород при картировании предгорных районов. Инженерные изыскания в строительстве. Серия XV, вып. 1 (66). М., ЦИНИС Госстроя СССР, 1978, с. 48-51.

11. Кригер Н. И., Лесс, его свойства и связи с географической средой. М., Наука, 1965, 296 с.

12. Ларионов А. К. Методы исследования структуры грунтов. М., Недра, 1971, 200 с.

13. Горькова И. М. Физико-механические исследования дисперсных осадочных пород в строительных целях. М., Стройиздат, 1975, с. 150.

14. Сергеев Е. М. и др. Грунтоведение. М., изд. МГУ, 1975, с. 17-385.

15. Руководство по проектированию оснований зданий и сооружений. М., Стройиздат, 1978, 375 с.

16. Рекомендации по выбору и эффективному применению способов бурения инженерно-геологических скважин в различных природных и геологических условиях. М., ПНИИИС, 1974, 32 с.

17. Биневич Б. А. Результаты экспериментальных исследований влияния конструкции бурового наконечника на деформацию грунтов забоя скважины. Инженерные изыскания в строительстве. Реферативный сборник № 5 (8), 1970, с. 14-16.

18. Биневич Б. А., Шварц С. Б. Опыт отбора монолитов лессовидных грунтов из буровых скважин. - Транспортное строительство, 1967, № 12, с. 43-44.

19. Грунты. Метод статистической обработки результатов определений характеристик. ГОСТ 20522-75, 13 с.

20. Грунты. Методы лабораторного определения гранулометрического зернового и микроагрегатного состава. ГОСТ 12536-79, 19 с.

21. Гольдштейн М. Н. Механические свойства грунтов. М., Стройиздат, 1973, 374 с.

22. Гольдштейн М. Н. Механические свойства грунтов. М., Стройиздат, 1979, 304 с.

23. Грунты. Метод лабораторного определения влажности. ГОСТ 5180-75, 4 с.

24. Грунты. Метод лабораторного определения границ текучести и раскатывания. ГОСТ 5183-77, 7 с.

25. Галай Б. Ф. Корреляционные зависимости между показателями пластичности глинистых грунтов. Известия высших учебных заведений. Геология и разведка, 1978, № 8, с. 100-103.

26. Леонович И. И., Штабинский В. В. Метод статистической обработки результатов контроля качества уплотнения земляного полотна. В сб.: «Строительство и эксплуатация автомобильных дорог и мостов». Минск, Белдорнии, 1977, с. 54-66.

27. Приклонский В. А. Грунтоведение. М., Госгеолтехиздат, 1955, ч. 1 и 2, 431 с.

28. Грунты. Метод лабораторного определения удельного веса. ГОСТ 5181-79, М., 6 с.

29. Руководство по лабораторным геотехническим исследованиям грунтов. М., Союзводпроект, 1975, 190 с.

30. Руководство по лабораторным исследованиям физико-механических свойств грунтов при производстве инженерных изысканий для строительства. М., «Стройизыскания», 1976, 136 с.

31. Грунты. Методы лабораторного определения объемного веса. ГОСТ 5182-78. М., 10 с.

32. Грунты. Методы радиоизотопного определения объемного веса. ГОСТ 23061-78. М., 15 с.

33. Денисов Н. Я. О природе деформаций глинистых пород. М., Речиздат, 1951, с. 45-47; 173-227.

34. Чаповский Е. Г. Лабораторные работы по грунтоведению и механике грунтов. М., Недра, 1975, 303 с.

35. Бирюков Н. С., Казарновский В. Ф., Мотылев Ю. Л. Методическое пособие по определению физико-механических свойств грунтов, М., Недра, 1975, 176 с.

36. Рекомендации по лабораторным методам определения характеристик набухающих грунтов. М., Стройиздат, 1974, 16 с.

37. Методические рекомендации по проектированию земляного полотна железных дорог из набухающих грунтов. М., изд. ЦНИИСа, 1973, 32 с.

38. Грунты. Метод лабораторного определения предела прочностиременного сопротивления) при одноосном сжатии. ГОСТ 17245-79. М., 5 с.

39. Грунты. Метод лабораторного определения характеристик просадочности. ГОСТ 23161-78. М., 10 с.

40. Руководство по лабораторному определению деформационных и прочностных характеристик просадочных грунтов. М., Стройиздат, 1975, 59 с.

41. Гольдштейн М. Н., Макаренко Н. А. Упрощенный метод определения относительной просадочности лессовых грунтов. - Основания, фундаменты и механика грунтов, 1978, № 1, с. 24-26.

42. Грунты. Методы лабораторного определения сопротивления срезу. ГОСТ 12248-78, 17 с.

43. Месчян С. Р. Начальная и длительная прочность глинистых грунтов. М., Недра, 1978, 207 с.

44. Грунты. Метод лабораторного определения максимальной плотности. ГОСТ 22733-77, 10 с.

45. Методические рекомендации по определению деформативных свойств уплотняемых грунтов для расчета их осадок и назначения плотности с учетом действующих напряжений. М., изд. ЦНИИСа, 1973, 28 с.

46. Шахунянц Г. М. О значении рациональной степени уплотнения грунтов. - Путь и путевое хозяйство, 1978, № 6, с. 42-44.

47. Юровский Б. Л. Коэффициенты пористости, обеспечивающие упругую работу насыпи. - Путь и путевое хозяйство, 1978, № 10, с. 33-35.

СОДЕРЖАНИЕ

Предисловие. 1

1. Общие положения. 2

2. Технология отбора образцов лессовых грунтов. 5

Бурение скважин. 5

Отбор монолитов. 7

Консервация монолитов грунта. 10

Контроль качества монолитов грунта. 10

3. Лаборатории испытания просадочных грунтов. 13

Гранулометрический состав. 13

Минералогический состав. 14

Химический состав. 14

Влажность. 15

Пределы пластичности. 16

Плотность частиц. 17

Плотность. 17

Пористость. 17

Водопроницаемость. 19

Набухание. 19

Усадка. 20

Размокание. 21

Вдавливание конуса (пенетрация) 21

Предел прочности при одноосном сжатии. 21

Компрессионные испытания. 22

Сдвиговые испытания. 30

Трехосное сжатие. 36

Уплотняемость. 36

Приложение 1 Сопоставление качества монолитов грунтов, отобранных из шурфов и скважин. 40

Приложение 2 Размещение точек опробования при помощи факторных планов. 42

Приложение 3 Определение деформаций в массиве лессовых грунтов при увлажнении. 43

Список литературы.. 45

 

 




ГОСТЫ, СТРОИТЕЛЬНЫЕ и ТЕХНИЧЕСКИЕ НОРМАТИВЫ.
Некоммерческая онлайн система, содержащая все Российские Госты, национальные Стандарты и нормативы.
В Системе содержится более 150000 файлов нормативно-технической документации, действующей на территории РФ.
Система предназначена для широкого круга инженерно-технических специалистов.

Рейтинг@Mail.ru Яндекс цитирования

Copyright © www.gostrf.com, 2008 - 2026