Крупнейшая бесплатная информационно-справочная система онлайн доступа к полному собранию технических нормативно-правовых актов РФ. Огромная база технических нормативов (более 150 тысяч документов) и полное собрание национальных стандартов, аутентичное официальной базе Госстандарта. GOSTRF.com - это более 1 Терабайта бесплатной технической информации для всех пользователей интернета. Все электронные копии представленных здесь документов могут распространяться без каких-либо ограничений. Поощряется распространение информации с этого сайта на любых других ресурсах. Каждый человек имеет право на неограниченный доступ к этим документам! Каждый человек имеет право на знание требований, изложенных в данных нормативно-правовых актах!

  


 

МИНИСТЕРСТВО ЖИЛИЩНО-КОММУНАЛЬНОГО ХОЗЯЙСТВА РСФСР

ОРДЕНА ТРУДОВОГО КРАСНОГО ЗНАМЕНИ
АКАДЕМИЯ КОММУНАЛЬНОГО ХОЗЯЙСТВА ИМ. К.Д. ПАМФИЛОВА

Утверждено

приказом Министерства жилищно-

коммунального хозяйства РСФСР

от 21 ноября 1986 г. № 495

ИНСТРУКЦИЯ
НА ПРОТИВОКОРРОЗИОННУЮ ОБРАБОТКУ ВОДЫ
ЖИДКИМ СТЕКЛОМ

Отдел научно-технической информации акх
Москва 1986

Изложены основные положения по проведению противокоррозионной обработки воды жидким стеклом (силикатом натрия) на тепловых пунктах. Определены область применения и необходимые для обработки дозы силиката натрия. Приведены порядок монтажа комплекта оборудования, последовательность операций при заполнении бака хранения, приготовлении рабочего раствора, проведении контроля за работой установки.

Инструкция разработана отделом защиты подземных сооружений от коррозии АКХ им. К.Д. Памфилова (канд. техн. наук Б.Л. Рейзин), ПКБ АКХ им. К.Д. Памфилова (инж. В.В. Шелудько), ПТП Оргкоммунэнерго (инженеры Т.В. Премудрова, Д.А. Анохина), Всесоюзным теплотехническим институтом им. Ф.Э. Дзержинского (инж. Р.П. Сазонов), объединением Мосинжремонт (инж. З.Ф. Пронина) и предназначена для использования при проведении противокоррозионной обработки воды жидким стеклом на ЦТП.

Замечания и предложения по инструкции просьба направлять по адресу: 123371, Волоколамское шоссе, 116, Академия коммунального хозяйства им. К.Д. Памфилова, отдел защиты подземных сооружений от коррозии.

I. ОБЩИЕ ПОЛОЖЕНИЯ

1. Целью противокоррозионной обработки воды силикатом натрия (стеклом жидким натриевым) является снижение коррозионной активности воды и соответственно скорости коррозии труб. Это обеспечивает увеличение долговечности систем горячего водоснабжения, уменьшение количества ремонтов, связанных с устранением свищей, образовавшихся на внутриквартальных и внутридомовых трубопроводах, уменьшает утечки горячей воды, улучшает снабжение жителей горячей водой и качество воды.

2. Противокоррозионная обработка воды силикатом натрия применима для уменьшения внутренней коррозии как стальных, так и оцинкованных труб, а также теплообменников. Жидкое стекло оказывает также ингибирующее действие на коррозию меди и латуни.

3. Силикатная обработка воды может применяться как самостоятельный метод борьбы с внутренней коррозией, так и в сочетании с вакуумной деаэрацией. Выбор способа противокоррозионной обработки воды для централизованного горячего водоснабжения в закрытых системах теплоснабжения следует проводить в соответствии с табл. 1*.

* В горячей воде предельно допустимая концентрация соединений кремния с учетом содержания их в исходной воде не должна превышать 40 мг/л по двуокиси кремния («Перечень материалов и реагентов, разрешенных Главным санитарно-эпидемиологическим управлением Минздрава СССР для применения в практике хозяйственно-питьевого водоснабжения», 1985).

Таблица 1

Выбор способа противокоррозионной обработки воды

Показатели исходной водопроводной воды

Способ противокоррозионной обработки воды в зависимости от вида труб

Индекс равновесного насыщения карбонатом кальция J при 60 °C (см. прим. 2)

Суммарная концентрация хлоридов и сульфатов, мг/л (см. прим. 3, 4, 7)

Стальные без покрытия или стальные без покрытия совместно с оцинкованными

Оцинкованные

1

2

3

4

J < -1,5

> 50

ВД+С

ВД+С

-1,5 £ J < -0,5

£ 50

С

С

-0,5 £ J £ 0

£ 50

С

-

0 < J £ 0,5

£ 50

С

-

-1,5 £ J £ 0

51 - 75

С

С

-1,5 £ J £ 0

76 - 150

ВД*

С

-1,5 £ J £ 0

> 150

ВД+С

ВД

0 < J £ 0,5

51 - 100

С

С

0 < J £ 0,5

101 - 200

ВД*

С

J > 0,5

51 - 150

С

С

J > 0,5

151 - 350

ВД*

С

* Если после ВД остаточное содержание кислорода превышает 0,12 мг/л, то следует дополнительно проводить силикатную обработку воды, уменьшив концентрацию силиката натрия по табл. 4 на 5 мг/л.

Примечания: 1. В гр. 3 и 4 приняты следующие обозначения способов обработки воды: С - силикатная; ВД - вакуумная деаэрация.

2. Значение индекса равномерного насыщения карбонатом кальция J определяется в соответствии со СНиП 2.04.02-84. При подсчете J следует вводить поправку на температуру.

3. Для систем горячего водоснабжения из стальных труб без покрытия и из стальных труб без покрытия совместно с оцинкованными трубами суммарная концентрация хлоридов и сульфатов должна определяться как [Cl-] + 2 [SO42-], а для систем, состоящих только из оцинкованных труб, как [Cl-] + [SO42-].

4. Содержание хлоридов [Cl-] в исходной воде (ГОСТ 2874-82) не должно превышать 350 мг/л, а сульфатов [SO42-] - 500 мг/л.

5. Использование для горячего водоснабжения исходной воды с окисляемостью более 6 мг 0/л, определенной методом окисления органических веществ перманганатом калия в кислотной среде, как правило, не допускается. При допущении органами Минздрава СССР цветности исходной воды до 35° окисляемость воды может быть допущена более 6 мг 0/л.

6. При содержании в воде железа (Fe2+, 3+) более 0,3 мг/л должно предусматриваться обезжелезивание воды независимо от наличия других способов обработки воды.

7. Для поверхностных и смешанных вод концентрация сульфатов и хлоридов берется как среднеарифметическая величина по 6 максимальным ежемесячным значениям, величина J - по 6 минимальным ежемесячным значениям, а для подземных вод [Cl-], [SO42-], J - как средняя по ежемесячным значениям за год.

4. Концентрация силиката натрия в пересчете на двуокись кремния m (приводимая концентрация силиката натрия (стекла жидкого натриевого) дается в пересчете на двуокись кремния) в обрабатываемой воде в зависимости от источника воды, типа труб и срока эксплуатации системы приведена в табл. 2 - 4.

Если в системе применяются как стальные трубы без защитных покрытий, так и оцинкованные, то следует пользоваться табличными данными для стальных труб без защитных покрытий.

Таблица 2

Концентрация силиката натрия при использовании стальных труб без защитных покрытий

Тип источников водоснабжения

Срок эксплуатации системы до начала силикатной обработки

не более 3 мес.

более 3 мес.

Поверхностные или смешанные

Первоначальная концентрация 40 мг/л. Через 5 мес. после начала обработки допускается в осенне-летний период уменьшать концентрацию до 20 - 30 мг/л при условии, что концентрация сульфат-ионов не превышает 10 - 25 мг/л

Постоянная концентрация 40 мг/л

Подземные

Первоначальная концентрация 40 мг/л. Через 5 мес. после начала обработки допускается уменьшать концентрацию до 20 - 30 мг/л при условии, что концентрация сульфат-ионов не превышает 10 - 20 мг/л

То же

Таблица 3

Концентрация силиката натрия при использовании оцинкованных труб

Тип источников водоснабжения

Срок эксплуатации системы до начала обработки

не более 6 мес.

6 - 12 мес.

более одного года

Поверхностные или смешанные

Первоначальная концентрация 30 мг/л. Через 3 мес. после начала обработки допускается в осенне-летний период уменьшать концентрацию до 15 - 20 мг/л

Постоянная концентрация 30 мг/л

Постоянная концентрация 40 мг/л

Подземные

Первоначальная концентрация 30 мг/л. Через 3 мес. после начала обработки допускается уменьшать концентрацию до 15 - 20 мг/л

То же

То же

Таблица 4

Концентрация силиката натрия при применении силикатной обработки совместно с вакуумной деаэрацией

Тип источников водоснабжения

Стальные трубы без защитного покрытия*

Оцинкованные трубы**

Срок эксплуатации системы до начала обработки

не более 3 мес.

более 3 мес.

до 6 мес.

6 - 12 мес.

более одного года

Поверхностные или смешанные

Первоначальная концентрация 15 мг/л***. Через 5 мес. после начала обработки допускается в осенне-летний период уменьшать концентрацию до 10 мг/л***

Постоянная концентрация 20 мг/л***

Первоначальная концентрация 15 мг/л. Через 3 мес. после начала обработки допускается уменьшать концентрацию до 10 мг/л

Постоянная концентрация 15 мг/л

Постоянная концентрация 20 мг/л

Подземные

Первоначальная концентрация 15 мг/л***. Через 5 мес. после начала обработки допускается уменьшать концентрацию до 10 мг/л***

То же

То же

То же

То же

* Концентрация кислорода не более 0,15 мг/л.

** Концентрация кислорода 0,2 - 0,3 мг/л.

*** Если концентрация кислорода после вакуумной деаэрации составляет 0,16 - 0,3 мг/л, то указанные концентрации следует увеличить на 5 мг/л.

В необработанной силикатом натрия воде могут содержаться соединения кремния. Концентрация силиката натрия m, приводимая в табл. 2 - 4, представляет собой

m = mд + mисх,

где mд - концентрация силиката натрия, которую следует вводить в обрабатываемую воду;

mисх - концентрация силиката натрия в необработанной воде.

В случае отсутствия силиката натрия в необработанной воде

m = mд.

5. Силикатная обработка воды может сочетаться с противонакипной обработкой.

6. Силикатную обработку воды следует проводить непрерывно. При необходимости продолжительность перерыва не должна превышать 15 сут.

7. В случае применения на системе горячего водоснабжения труб со стеклоэмалевым покрытием силикатная обработка должна проводиться для защиты от коррозии внутридомовых трубопроводов малых диаметров из стальных труб без защитных покрытий, на которые стеклоэмалевое покрытие обычно не наносится, и оцинкованных труб для тех случаев, когда согласно табл. 1 она необходима.

8. При проведении силикатной обработки воды необходимо, чтобы ее температура не превышала 60 °С.

II. ТРЕБОВАНИЯ К СТЕКЛУ ЖИДКОМУ НАТРИЕВОМУ

9. Стекло жидкое натриевое, применяемое для противокоррозионной обработки воды, должно соответствовать ГОСТ 13078-81.

10. Стекло жидкое натриевое представляет собой густой раствор желтого или серого цвета без механических включений, видимых невооруженным глазом.

11. Показатели качества стекла жидкого натриевого (товарного продукта) приведены ниже.

Жидкое стекло

                                                                              Содовое                     Содово-сульфатное

SiO2, %                                                                 31 - 33                        26,5 - 29,5

Na2O, %                                                                10 - 12                        10 - 11

Fe2O3 + Al2O3, %, не более                                  0,25                            0,4

CaO, %, не более                                                 0,2                              0,25

SO3 в пересчете на серу, %, не более                0,06                            0,4

Силикатный модуль, Мк, %                               2,65 - 3,4                    2,65 - 3

Плотность, кг/м3                                                 (1,36 - 1,5)·103           (1,45 - 1,5)·103

12. Величина модуля Мк в общем виде представляет собой отношение числа молекул кремнезема к числу молекул щелочного окисла и рассчитывается по формуле

,

где Р, N и С - константы, равные соответственно 24,88; 0,071 и 2,071;

ρ - плотность жидкого стекла при 20 °С, кг/м3;

RB - содержание оксида натрия, % по массе;

mщ.о - молекулярная масса щелочного оксида, равная для оксида натрия 62.

.

13. Для обработки воды на ЦТП следует использовать стекло жидкое натриевое с Мк = 2,65 - 3,2.

14. Стекло жидкое натриевое поступает в железных бочках емкостью 0,25 м3 или автоцистернах.

III. ОПИСАНИЕ КОМПЛЕКТА ОБОРУДОВАНИЯ

15. ПКБ АКХ разработана рабочая документация на три типоразмера комплекта оборудования для проведения силикатной обработки воды на ЦТП: ОСОВ 5/25 (для среднечасовой производительности по горячей воде в пределах от 5 до 25 м3/ч). ОСОВ 20/60 и ОСОВ 50/100, которые обслуживают дома высотой не более 16 этажей.

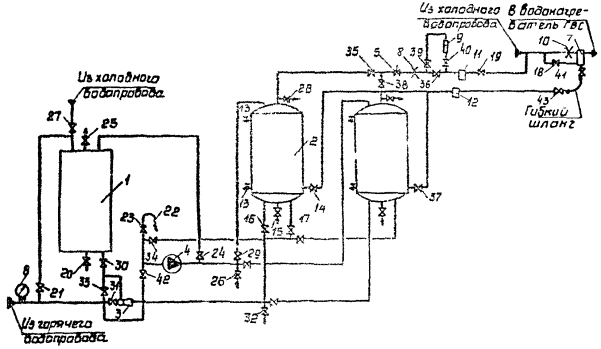
16. Комплект оборудования (установка для противокоррозионной обработки воды стеклом жидким натриевым) представлен на рисунке. Он состоит из следующих основных элементов, приведенных ниже.

 

Количество, шт.

ОСОВ 5/25

ОСОВ 20/60

ОСОВ 50/100

Бак хранения стекла жидкого натриевого 1

1

1

1

Бак напорный для рабочего раствора стекла жидкого натриевого 2

1

2

3

Элеватор 3

1

1

1

Вентиль игольчатый 5

1

1

1

Диафрагма для создания перепада давления 10

1

1

1

Диафрагма ограничительная калиброванная 6

1

1

1

Ротаметр 9*

1

1

1

Фильтр 11

1

1

1

Фильтр-отстойник 12

1

1

1

Манометр 8

1

1

1

Насос Ш5-25 4

1

1

1

Устройство для ввода рабочего раствора стекла жидкого натриевого 7

1

1

1

* Может постоянно не быть включенным в схему, а подключаться только на период измерения расхода.

Установка для противокоррозионной обработки воды

17. Диафрагма ограничительная калиброванная 6 поставляется с отверстием, соответствующим наименьшей производительности по горячей воде в данном типоразмере. При производительности ЦТП, отличающейся от указанной, отверстие следует расточить до диаметра d, расчет которого производится по формуле

,

где Gр.ср. - среднечасовой расход раствора жидкого стекла, м3/ч:

Gр.ср. = Gг.в.ср.·gр,

где Gг.в.ср. - среднечасовой расход воды на горячее водоснабжение, м3/ч;

gр - удельный расход раствора стекла жидкого натриевого:

,

где mg - концентрация силиката натрия, вводимого в обрабатываемую воду, кг/м3;

n - степень разбавления;

a - содержание двуокиси кремния в стекле жидком натриевом (по паспорту), %;

ρ - плотность стекла жидкого натриевого, кг/м3.

Наиболее целесообразно работать при степени разбавления n = 3 (две части воды и одна часть стекла жидкого натриевого). В этом случае плотность рабочего раствора силиката составляет 1140 кг/м3 при исходной плотности 1430 кг/м3.

18. Диаметры отверстия, до которых следует расточить отверстие диафрагмы ограничительной калиброванной 6, при различном среднечасовом расходе горячей воды приведены ниже.

Среднечасовой расход горячей воды, м3          Диаметр отверстия диафрагмы 6, мм

10                                                                             0,56

15                                                                             0,69

20                                                                             0,8

25                                                                             0,89

30                                                                             0,98

35                                                                             1,06

40                                                                             1,13

45                                                                             1,2

50                                                                             1,27

55                                                                             1,33

60                                                                             1,39

65                                                                             1,45

70                                                                             1,5

75                                                                             1,55

80                                                                             1,6

85                                                                             1,65

90                                                                             1,7

95                                                                             1,75

100                                                                           1,79

При этом ΔHср принято равным 0,75 м вод. ст., m = mg = 40 г/м3, n = 3. При другой величине ΔHср, а также mg и n величину диаметра следует определять по формуле, приведенной в п. 17. При среднечасовом расходе горячей воды, значительно отличающемся от выше приведенных данных, также следует сделать перерасчет по этой же формуле.

Назначение основных элементов комплекта оборудования

19. Бак хранения 1 предназначен для хранения стекла жидкого натриевого. Он представляет собой вертикальную стальную емкость с крышкой.

20. Напорные баки 2, входящие в комплект оборудования в количестве 1 - 3 в зависимости от типоразмера, представляют собой вертикально расположенные цилиндрические емкости. В нижней и верхней частях напорного бака имеются патрубки с вентилями 13 для отбора проб рабочего раствора стекла жидкого натриевого. В нижней части бака имеется патрубок с вентилем 14, через который рабочий раствор поступает в устройство 7 для его ввода в обрабатываемую воду. В днище бака имеются патрубок с краном 15 для слива воды при промывке бака и остатка рабочего раствора, патрубок с вентилем для заполнения бака рабочим раствором стекла жидкого натриевого 16 и патрубок с вентилем 17 для забора раствора насосом 4 при его перемешивании.

21. Элеватор 3 обеспечивает подачу жидкого стекла (из бака хранения) и горячей воды в напорный бак для приготовления рабочего раствора жидкого стекла.

22. Дроссельная диафрагма 10 создает перепад давления, обеспечивающий поступление рабочего раствора стекла жидкого натриевого из напорного бака в трубопровод с обрабатываемой силикатом натрия водой через устройство 7.

23. Калиброванная диафрагма 6 ограничивает подачу рабочего раствора жидкого стекла.

24. Игольчатый вентиль 5 позволяет регулировать подачу воды для измерения концентрации силиката натрия в обрабатываемой воде (например, в осенне-летний период согласно табл. 2, 3).

25. Фильтр 11 улавливает взвешенные частицы, находящиеся в холодной воде, поступающей в напорный бак, и снижает вероятность засорения отверстия калиброванной диафрагмы 6.

26. Фильтр-отстойник 12 улавливает взвешенные частицы, находящиеся в рабочем растворе жидкого стекла. Его устанавливают после напорного (напорных) бака.

27. Устройство ввода рабочего раствора жидкого стекла 7 в обрабатываемую воду обеспечивает возможность длительного дозирования ингибитора без зарастания внутренней трубки, по которой поступает рабочий раствор силиката натрия. В случае, если внутренняя трубка все же зарастает или проходное сечение ее значительно уменьшится, устройство позволяет без остановки водонагревателя быстро провести ее прочистку.

28. Технологические коммуникации включают в себя трубы и арматуру.

29. Некоторые габаритные размеры и показатели работы комплекта оборудования приведены ниже.

 

ОСОВ 5/25

ОСОВ 20/60

ОСОВ 50/100

Общая вместимость напорных баков, м3

2,5

5

7,5

Вместимость бака хранения, м3, не менее

2,5

2,5

2,5

Давление в напорном баке, МПа, не более

1

1

1

IV. ПРИНЦИП РАБОТЫ УСТАНОВКИ ДЛЯ ПРОТИВОКОРРОЗИОННОЙ ОБРАБОТКИ ВОДЫ СТЕКЛОМ ЖИДКИМ НАТРИЕВЫМ

30. Плотность рабочего раствора жидкого стекла больше плотности воды, что обеспечивает возможность выдавливания его холодной водой из напорного бака 2 под действием перепада давления, создаваемого дроссельной диафрагмой 10. При этом скорости перемещения воды и рабочего раствора жидкого стекла крайне малы (порядка 0,01 м/ч), что позволяет избежать их смешения без применения разделительной перегородки. В период отсутствия расхода воды подача рабочего раствора силиката натрия в обрабатываемую воду не происходит.

31. Применение в схеме ограничительной калиброванной диафрагмы совместно с игольчатым вентилем позволяет, с одной стороны, избежать превышения максимальной концентрации силиката натрия, допускаемой санитарными нормами, а с другой, - регулировать концентрацию при необходимости ее уменьшения или увеличения.

32. Комплект оборудования обеспечивает возможность непрерывного дозирования стекла жидкого натриевого пропорционально расходу обрабатываемой воды, что значительно повышает эффективность силикатной обработки воды и соответственно увеличивает долговечность систем горячего водоснабжения и снижает эксплуатационные расходы.

33. Комплект оборудования позволяет производить дозирование силиката натрия в холодную воду, что обеспечивает защиту от коррозии не только трубопроводов, но и трубок водонагревателей и калачей.

V. МОНТАЖ КОМПЛЕКТА ОБОРУДОВАНИЯ

34. Для монтажа комплекты оборудования заводского изготовления поступают в виде следующих составных частей: бака хранения стекла жидкого натриевого; бака (баков) напорного для рабочего раствора силиката натрия с трубной обвязкой и арматурой; элеватора (водоструйного насоса) с обвязкой; насосного агрегата с обвязкой и арматурой; узла ввода, состоящего из устройства для ввода рабочего раствора силиката натрия 7, дроссельной диафрагмы 10, штуцера с вентилем для отбора воды, поступающей в верхнюю часть напорного бака, и гибкого шланга; узла ротаметра, состоящего из ограничительной калиброванной диафрагмы 6, игольчатого вентиля 5, фильтра 11, ротаметра 9, трубной обвязки и арматуры.

Помимо перечисленных составных частей в составе комплекта оборудования поставляются трубы, предназначенные для соединения отдельных узлов и баков. Длина этих труб выбрана из условия минимально допустимого расстояния между отдельными составными частями.

35. В зависимости от планировки теплового пункта расстояние между составными частями может быть увеличено по сравнению с размерами, указанными в паспорте на комплект оборудования.

36. При размещении составных частей оборудования выполняются следующие условия:

узел ввода устанавливают на высоте не более 1400 мм от пола ЦТП;

выходящий из напорного бака трубопровод рабочего раствора стекла жидкого натриевого с установленным на нем фильтром 12 обязательно должен иметь подъем до верха напорного бака;

узел ротаметра устанавливают на стене или специальных стойках таким образом, чтобы высота его нижней части от пола ЦТП составляла 700 мм;

при необходимости выполнения трубной обвязки со спусками и подъемами следует в высших точках предусмотреть воздухоспускные краны, а в нижних - спускные;

насосный агрегат следует оборудовать заземлением в соответствии с ПЭУ и рядом с ним расположить кнопку аварийной остановки насоса.

37. Перед началом монтажа оборудования необходимо проверить комплектность поставки в соответствии со спецификацией, горизонтальную плоскость фундаментов под бак хранения, напорные баки, насосный агрегат, правильность расположения анкерных болтов и состояние резьбы.

38. После этого следует:

установить на фундамент и закрепить гайками бак хранения и напорный (напорные);

смонтировать на баке хранения и напорном (напорных) баке лестницы с площадками;

установить элеватор на кронштейны и закрепить его;

установить насосный агрегат на фундамент и закрепить его болтами;

установить узел ротаметра и закрепить его;

врезать в трубопровод холодной воды узел ввода, предварительно проверив соответствие диаметра отверстия в диафрагме величине, указанной в проекте;

выполнить монтаж трубной обвязки насосного агрегата и подключить ее к системе горячего водоснабжения;

выполнить монтаж трубной обвязки бака хранения и подключить ее к системе холодного водоснабжения;

выполнить монтаж трубной обвязки напорных баков, соединив их с насосным агрегатом и баком хранения;

выполнить монтаж трубопроводов, соединяющих напорные баки с узлом ввода. С помощью накидных гаек соединить гибким шлангом устройства ввода рабочего раствора силиката натрия в обрабатываемую воду с трубопроводом рабочего раствора. Установить на выходящем из напорного бака трубопроводе рабочего раствора жидкого стекла фильтр 12;

выполнить монтаж трубопроводов, соединяющих узел ротаметра с системой холодного водоснабжения. Предварительно следует проверить соответствие диаметра отверстия калиброванной диафрагмы величине, указанной в проекте;

выполнить монтаж трубопроводов, соединяющих узел ротаметра с напорными баками;

установить под всеми спускными кранами воронки и смонтировать дренажный трубопровод;

опрессовать смонтированную установку холодной водой давлением 1,25 МПа. После установившегося постоянного давления в течение 15 мин не должно быть падения давления;

нанести на наружную поверхность оборудования два слоя атмосферостойкой краски (марка и цвет краски должны быть указаны в проекте);

промыть все оборудование холодной водой;

заполнить бак хранения стеклом жидким натриевым (см. разд. VI);

заполнить напорные баки рабочим раствором стекла жидкого натриевого (см. разд. VII);

произвести наладку оборудования;

сдать смонтированную установку по акту.

39. Выполнение всех монтажных работ следует производить с соблюдением правил техники безопасности, противопожарных правил и охраны труда.

VI. ЗАПОЛНЕНИЕ БАКА ХРАНЕНИЯ СТЕКЛОМ ЖИДКИМ НАТРИЕВЫМ

40. Перед заполнением бака хранения его следует промыть горячей водой.

41. Для промывки бака хранения следует открыть спускной кран 20 и вентиль на трубопроводе горячей воды 21.

42. При промывке бака хранения следует полностью удалить оставшиеся от предшествующей загрузки сгустки стекла жидкого натриевого и шлам.

43. После промывки бака хранения 1 следует закрыть вентиль 21 и спускной кран 20.

44. Для заполнения бака хранения 1 стеклом жидким натриевым необходимо резиновый шланг 22 опустить в бочку, в которой оно привезено, открыть краны 23 и 24, воздухоспускной вентиль 25. После этого необходимо включить насос 4. После окончания перекачки стекла жидкого натриевого закрыть кран 24, выключить насос 4, вытащить шланг 22 из бочки, открыть вентиль 42 и поступающей через него горячей водой промыть шланг 22. Затем открыть вентиль 26, закрыть кран 23 и промыть горячей водой, поступающей через вентиль 42, насос 4. После промывки насоса закрыть вентили 42 и 26*.

* Перед повторным заполнением бака хранения следует открыть спускной кран 20. Если в стекле жидком натриевом много видимых визуально загрязнений и сгустков, то его сливают в канализацию. Если вытекает чистое стекло жидкое натриевое, то кран 20 закрывают и заполнение продолжают по п. 44.

При заполнении бака хранения 1 количество залитого в него стекла жидкого натриевого контролируется по показателю уровня.

45. В случае поставки стекла жидкого натриевого в автоцистерне, не оборудованной насосом, для заполнения бака хранения 1 шланг 22 подсоединяют к нижнему спускному патрубку автоцистерны. Последующие операции по заполнению бака хранения 1 выполняются в соответствии с п. 44.

В случае доставки стекла жидкого натриевого в автоцистерне, оборудованной насосом, шланг автоцистерны опускают в бак хранения 1 через верхний люк и заполнение осуществляют с помощью насоса автоцистерны.

46. Для предотвращения образования корки на поверхности стекла жидкого натриевого в бак хранения подается холодная вода для образования слоя толщиной 2 - 3 см. Для этого открывают вентиль 27. Через 3 - 4 мин вентиль 27 закрыть.

47. С целью проверки качества стекла жидкого натриевого каждая партия должна быть подвергнута анализу по методикам, приведенным в ГОСТ 13078-81. Стекло жидкое натриевое отбирается из вентиля 26 при загрузке бака хранения 1.

VII. ПРИГОТОВЛЕНИЕ РАБОЧЕГО РАСТВОРА СИЛИКАТА НАТРИЯ

48. Перед приготовлением рабочего раствора силиката натрия следует промыть горячей водой каждый напорный бак.

49. Для промывки напорного бака следует открыть воздухоспускной вентиль 28, открыть кран 29, включить насос 4, открыть вентиль 42.

После заполнения напорного бака горячей водой закрыть вентиль 42, выключить насос 4, закрыть кран 29 и воду слить в дренаж, для чего открыть кран 15.

После слива воды из бака 2 кран 15 и вентиль 28 закрыть.

50. В установках II и III типоразмеров второй и третий напорные баки следует промыть в соответствии с п. 49.

Заполнение рабочим раствором силиката натрия напорных баков

51. Диаметр горловины и сопла в элеваторе рассчитаны таким образом, чтобы при полностью открытых регулирующих вентилях и запорной арматуре обеспечить заполнение напорного бака в течение примерно одного часа.

52. Перед заполнением первого напорного бака рабочим раствором силиката натрия открывают краны 16 и 30, воздухоспускной вентиль 28 и вентиль 31. Давление в водопроводной магистрали перед элеватором должно быть порядка 0,2 МПа.

53. Степень заполнения бака раствором силиката натрия контролируется по воздухоспускному вентилю 28. В процессе заполнения через этот вентиль выходит воздух. Начало вытекания через этот вентиль раствора свидетельствует о заполнении бака. После этого необходимо закрыть вентиль 31, краны 30 и 16 и воздухоспускной вентиль 28.

54. Если напорный бак один, то после его заполнения раствором силиката натрия необходимо промыть элеватор 3, для чего открывают вентили 32 и 31, через 5 - 7 мин -вентиль 33, а вентиль 31 закрывают, через 5 - 7 мин вентили 33 и 32 закрывают. Если напорных баков два или три, то промывку элеватора проводят после заполнения всех баков.

55. Для контроля плотности раствора стекла жидкого натриевого после заполнения бака из верхнего и нижнего кранов 13 следует отобрать в цилиндр по 50 см3 рабочего раствора, закрыть эти вентили и измерить с помощью ареометра плотность. Если плотность в обоих случаях близка к заданной, например 1140 кг/м3, то раствор силиката натрия в баке готов к использованию. Если плотность пробы раствора, отобранного из верхнего крана 13, меньше плотности раствора, отобранного из нижнего крана 13, то необходимо обеспечить дополнительное перемешивание раствора в напорном баке с помощью насоса 4. Для этого следует открыть краны 17, 34 и 29, включить насос 4. Перемешивание проводят 30 мин. После этого выключают насос 4 и берут повторные пробы для определения плотности раствора стекла жидкого натриевого. При получении различной плотности насос включают дополнительно на 20 мин. После получения одинаковой плотности раствора насос 4 выключают и закрывают краны 34, 29 и 16.

56. После окончания перемешивания рабочего раствора необходимо промыть насос, для чего открывают вентили 26, 42 и включают насос на 5 - 7 мин. По истечении этого времени насос выключают и закрывают вентили 42 и 26.

57. В установках II и III типоразмеров заполнение второго и третьего напорных баков раствором стекла жидкого натриевого проводят аналогичным образом.

58. Если плотность стекла жидкого натриевого, которым заполнен бак хранения, не соответствует ГОСТ 13078-81, то в начале процесса заполнения напорных баков следует осуществлять контроль плотности рабочего раствора путем отбора пробы из вентиля 32. При отклонении ее от требуемой следует произвести регулировку вентилем 31 и краном 30. После регулировки дальнейшие операции по приготовлению рабочего раствора стекла жидкого натриевого проводят согласно п. 55 и 56.

59. После получения в напорном баке однородного по плотности раствора он может быть включен в работу не менее чем через 45 мин.

VIII. ПУСК УСТАНОВКИ В ЭКСПЛУАТАЦИЮ

60. Для пуска установки необходимо:

открыть вентиль 18, подводящий холодную воду к устройству для ввода рабочего раствора стекла жидкого натриевого;

открыть вентиль 14 на трубопроводе, по которому поступает рабочий раствор стекла жидкого натриевого в устройство для ввода этого раствора в трубопровод холодной или горячей воды;

открыть вентили 35, 36, 19 и игольчатый вентиль 5.

61. После срабатывания первого бака закрыть вентили в обратном порядке, чем указано в п. 60, кроме игольчатого вентиля 5.

62. Для пуска в работу второго бака необходимо открыть краны 37 и 38.

63. После срабатывания второго бака его отключают и аналогичным образом подключают третий бак.

IX. КОНТРОЛЬ ЗА РАБОТОЙ УСТАНОВКИ

64. После пуска в эксплуатацию комплекта оборудования на расстоянии не менее 10 м от места ввода рабочего раствора силиката натрия производится отбор пробы воды и анализ ее на содержание SiO2 (см. прил. 1). Место для проведения анализа должно иметь постоянную освещенность.

Если концентрация стекла жидкого натриевого в обработанной воде отличается от требуемой, следует отрегулировать количество воды, поступающей в верхнюю часть бака, с помощью игольчатого вентиля 5 и повторно сделать анализ обработанной воды на содержание двуокиси кремния.

65. Контроль за работой устройства по вводу рабочего раствора стекла жидкого натриевого 7 необходимо проводить следующим образом.

66. Расход рабочего раствора стекла жидкого натриевого определяется по количеству холодной воды с помощью ротаметра 9, для чего через несколько часов после пуска установки в эксплуатацию открыть вентили 39 и 40, а вентиль 36 закрыть. Записать показание ротаметра 9, открыть вентиль 36 и закрыть вентили 39 и 40. Эту операцию наиболее целесообразно проводить в утренние или вечерние часы, т.е. в периоды наибольшего разбора воды.

Через 7 сут в то же время операцию повторить. Если при этом расход воды оказывается таким же, как и в первом случае, то повторные измерения проводят периодически каждые 7 сут.

67. Если расход воды по показаниям ротаметра уменьшается более чем на 30 %, то необходимо отобрать пробу обработанной воды и проанализировать ее на SiO2. В случае, если содержание SiO2 в воде по результатам анализа уменьшается по сравнению с заданным не более чем на 5 мг/л, то эксплуатация установки может быть продолжена.

68. Если по результатам анализа оказалось, что концентрация SiO2 в обработанной воде снизилась более чем на 5 мг/л, то следует провести прочистку устройства для ввода рабочего раствора жидкого стекла, предварительно проверив, не засорились ли фильтр 11 и диафрагма 6. Для проверки фильтр 11 и диафрагму 6 снимают, осматривают, при необходимости прочищают и промывают, после чего их устанавливают на место.

69. Прочистку устройства производят следующим образом: перед прочисткой следует закрыть вентили 41, 43, а также вентиль 18, обеспечивающий подачу холодной воды в устройство для омывания внутренней трубки, по которой рабочий раствор жидкого стекла подается в обрабатываемую воду.

После этого следует: отсоединить гибкий шланг от устройства 7, для чего отвернуть накидную гайку, расположенную между ними; ослабить крепление внутренней трубки, отвернув верхнюю гайку, и выдвинуть ее из пробкового крана на устройстве 7 до упора; закрыть пробковый кран и отсоединить верхнюю часть трубчатого корпуса устройства 7 путем разбалчивания четырех болтов фланцевого соединения; снять верхнюю часть трубчатого корпуса с внутренней трубкой; прочистить изнутри внутреннюю трубку металлическим стержнем диаметром 5 - 7 мм и длиной порядка 700 мм; очистить наружную поверхность внутренней трубки от продуктов коррозии металлической щеткой.

После окончания прочистки устройства следует: верхнюю часть устройства с внутренней трубкой установить на место, соединив фланцевое соединение четырьмя болтами; предварительно следует проверить сохранность поронитовой прокладки между фланцами (в случае повреждения прокладки ее следует заменить); открыть пробковый кран, вдвинуть внутреннюю трубку и закрепить верхнюю гайку, обеспечив совпадение риски на гайке с риской на трубчатом корпусе; присоединить к устройству 7 с помощью накидной гайки и гибкого шланга трубопровод рабочего раствора силиката натрия; открыть вентили 18, 41, 43; открыть вентили 39 и 40, а вентиль 36 закрыть; записать в журнал показание ротаметра; открыть вентиль 36, а вентили 39 и 40 закрыть.

70. Для определения времени отключения работающего напорного бака следует контролировать плотность рабочего раствора силиката натрия. Для этого за 5 сут до окончания расчетного срока работы напорного бака из нижнего крана 13, находящегося на уровне отбора рабочего раствора силиката натрия из напорного бака в трубопровод обрабатываемой воды, берут пробу раствора и определяют его плотность ареометром по ГОСТ 13078-81. Если отмечается скачкообразное изменение его плотности от заданной (например, при заданной плотности 1140 кг/м3 измеренная равняется 1030 кг/м3), то напорный бак необходимо отключить и вновь загрузить (для I типоразмера) или перейти к работе с другим баком (для II и III типоразмеров).

Если при первом измерении скачкообразного изменения плотности рабочего раствора силиката натрия не отмечено, то повторные измерения проводят каждые 48 ч до тех пор, пока не будет отмечено скачкообразное изменение плотности.

71. В процессе эксплуатации комплекта оборудования необходимо примерно один раз в 60 сут ограничительную диафрагму 6, фильтр-отстойник 12 и фильтр 11 снять, прочистить, промыть и установить на место. Для прочистки ограничительной диафрагмы 6 следует использовать иглу диаметром не более 0,3 мм. По возможности следует совмещать эти операции с загрузкой напорных баков рабочим раствором стекла жидкого натриевого, в период ежегодного ремонта очищают и промывают диафрагму для создания перепада давления 10.

72. Перечень возможных неполадок в работе установки и способы их устранения приведены в прил. 2.

X. ТЕХНИКА БЕЗОПАСНОСТИ

73. При эксплуатации установки должны соблюдаться «Правила технической эксплуатации тепловых сетей и тепловых пунктов» (М.: Стройиздат, 1971, гл. I) и «Правила техники безопасности при эксплуатации теплотехнического оборудования электростанций и тепловых сетей» (М.: Энергоатомиздат, 1984, гл. I), а также «Правила техники безопасности, пожарной безопасности и производственной санитарии» согласно СНиП III-4-80 и «Правила техники безопасности при эксплуатации систем водоснабжения и водоотведения населенных мест (М.: Стройиздат, 1974).

74. При эксплуатации комплекта оборудования необходимо обеспечить соблюдение санитарных норм по содержанию SiO2 в горячей воде («Перечень материалов и реагентов, разрешенных Главным санитарно-эпидемиологическим управлением Министерства здравоохранения СССР в практике хозяйственно-питьевого водоснабжения», 1985) - 40 мг/л (с учетом содержания в необработанной воде).

75. При загрузке стекла жидкого натриевого в бак хранения рабочие должны быть обеспечены специальной одеждой согласно ГОСТ 12.4.038-78, защитными очками, резиновыми сапогами и рукавицами.

76. Стекло жидкое натриевое и его раствор могут вызывать раздражение при попадании на кожу и слизистые оболочки. Пораженные участки необходимо промыть проточной водой, после чего кожу смазать вазелином. При попадании жидкого стекла в глаза и полость рта промывать пораженные места следует 2 %-ным раствором борной кислоты.

77. При проведении химических анализов должны соблюдаться правила техники безопасности при работе в химических лабораториях («Правила техники безопасности при обслуживании оборудования химических цехов электростанций и сетей» (М.: Атомиздат, 1973).

ПРИЛОЖЕНИЯ

Приложение 1

КОЛОРИМЕТРИЧЕСКИЙ МЕТОД ОПРЕДЕЛЕНИЯ СОДЕРЖАНИЯ ДВУОКИСИ КРЕМНИЯ*

* Инструкция по определению физико-химических и технологических показателей качества воды и реагентов, применяемых на водопроводах (М.: Стройиздат, 1973).

Растворимая кремниевая кислота в кислом растворе дает с молибденовокислым аммонием окрашенное в интенсивно желтый цвет соединение SiO2·12MoO3·nH2O.

Реактивы, необходимые для анализа

Калий хромовокислый K2CrO4 (ГОСТ 4459-75); аммоний молибденовокислый (NH4)6Mo7O24·4H2O (ГОСТ 3765-78); серная кислота (ГОСТ 4204-77); бура Na2B4O7·10H2O (ТУ 4199-76); вода дистиллированная (ГОСТ 6709-72).

Все реактивы должны быть квалификации ч.д.а.

Приготовление растворов

1. 10 %-ный раствор молибденовокислого аммония в воде.

Раствор приготовляют растворением на холоду крупных невыветрившихся кристаллов молибденовокислого аммония.

2. 50 %-ная (по объему) серная кислота (в капельнице).

3. Раствор хромовокислого калия.

1,347 г высушенного при 105 °С хромовокислого калия растворяют в дистиллированной воде и доводят до 1 л. 1 мл такого раствора отвечает по окраске 0,1 г элементарного кремния или 0,21 г двуокиси кремния. Из этого основного раствора готовят рабочие стандартные растворы путем разведения необходимого числа мл основного раствора 50 мл раствора буры (10 г Na2B4O7·10H2O на 1 л дистиллированной воды) и доведением водой до 100 мл.

Ход определения

К 100 мл исследуемой воды прибавляют 2 мл 10 %-ого раствора молибдена аммония и 4 капли 50 %-ной серной кислоты. Полученное желтое окрашивание спустя 20 мин сравнивают с цветом раствора хромовокислого калия по имитирующей шкале, приведенной ниже. При необходимости для большей точности следует приготовить более крепкие или более слабые стандартные растворы.

Число мл основного раствора хромовокислого калия (50 мл раствора буры в дистиллированной воде до 100 мл)

Содержание двуокиси кремния, мг/л

2,3

5

4,6

10

6,9

15

9,2

20

11,5

25

13,8

30

16,1

35

18,4

40

После добавления реактивов к исследуемой воде окраска достигает полной интенсивности через 5 мин и остается постоянной в течение 1 ч. В этот промежуток времени и следует проводить колориметрирование при постоянном хорошем освещении помещения.

Приложение 2

ВОЗМОЖНЫЕ НЕИСПРАВНОСТИ В РАБОТЕ УСТАНОВКИ И МЕТОДЫ ИХ УСТРАНЕНИЯ

Признаки неисправности

Причины возникновения

Способ устранения

Раствор стекла жидкого натриевого не поступает в напорный бак или поступает слишком медленно

Засорение сопла элеватора 3

Разобрать, почистить и промыть элеватор 3

Концентрация стекла жидкого натриевого в системе горячего водоснабжения отличается от заданной

Плотность рабочего раствора силиката натрия отличается от заданной

Определить плотность рабочего раствора силиката натрия, отобрав пробу из нижнего вентиля 13, и отрегулировать концентрацию SiO2 игольчатым вентилем 5

Частичное зарастание устройства для ввода рабочего раствора стекла жидкого натриевого

См. п. 69

Рабочий раствор стекла жидкого натриевого не поступает в систему горячего водоснабжения

Наличие воздуха в напорном баке 2

Проверить плотность присоединения фильтра 11, игольчатого вентиля 5, ограничительной калиброванной диафрагмы 6, запорной арматуры. Открыть воздушный вентиль 28, выпустить воздух из напорного бака, добавив в него воду

Засорение:

Снять и прочистить:

игольчатого вентиля 5

игольчатый вентиль 5

ограничительной калиброванной диафрагмы 6

ограничительную калиброванную диафрагму 6

фильтра 11

фильтр 11

фильтр-отстойника 12

фильтр-отстойник 12

Засорение устройства для ввода рабочего раствора стекла жидкого натриевого

См. п. 69

Нет достаточного перепада давления до и после дроссельной диафрагмы

Сделать перерасчет дроссельной диафрагмы 10

СОДЕРЖАНИЕ

I. Общие положения. 1

II. Требования к стеклу жидкому натриевому. 4

III. Описание комплекта оборудования. 4

IV. Принцип работы установки для противокоррозионной обработки воды стеклом жидким натриевым.. 7

V. Монтаж комплекта оборудования. 8

VI. Заполнение бака хранения стеклом жидким натриевым.. 9

VII. Приготовление рабочего раствора силиката натрия. 10

VIII. Пуск установки в эксплуатацию.. 11

IX. Контроль за работой установки. 11

X. Техника безопасности. 12

Приложения. 13

 

 




ГОСТЫ, СТРОИТЕЛЬНЫЕ и ТЕХНИЧЕСКИЕ НОРМАТИВЫ.
Некоммерческая онлайн система, содержащая все Российские Госты, национальные Стандарты и нормативы.
В Системе содержится более 150000 файлов нормативно-технической документации, действующей на территории РФ.
Система предназначена для широкого круга инженерно-технических специалистов.

Рейтинг@Mail.ru Яндекс цитирования

Copyright © www.gostrf.com, 2008 - 2026