Крупнейшая бесплатная информационно-справочная система онлайн доступа к полному собранию технических нормативно-правовых актов РФ. Огромная база технических нормативов (более 150 тысяч документов) и полное собрание национальных стандартов, аутентичное официальной базе Госстандарта. GOSTRF.com - это более 1 Терабайта бесплатной технической информации для всех пользователей интернета. Все электронные копии представленных здесь документов могут распространяться без каких-либо ограничений. Поощряется распространение информации с этого сайта на любых других ресурсах. Каждый человек имеет право на неограниченный доступ к этим документам! Каждый человек имеет право на знание требований, изложенных в данных нормативно-правовых актах!

  


 

ПРАВИТЕЛЬСТВО МОСКВЫ

МОСКОМАРХИТЕКТУРА

РЕКОМЕНДАЦИИ
по проектированию и применению
для строительства и реконструкции
зданий в
г. Москве

ФАСАДНОЙ СИСТЕМЫ
С ВЕНТИЛИРУЕМЫМ
ВОЗДУШНЫМ ЗАЗОРОМ
«ТРИОЛ»

2003

Предисловие

1. Разработаны: Центральным научно-исследовательским и проектным институтом жилых и общественных зданий (ЦНИИЭП жилища).

Авторский коллектив:

д.т.н. Николаев С.В.                                - руководитель работы

д.т.н. Граник Ю.Г.                                   - научно-техническое руководство

инж. Ставровский Г.А.                           - общая редакция и конструкция системы

д.т.н. Зырянов B.C.                                  - прочностные расчеты

к.т.н. Беляев B.C.                                     - теплотехнические расчеты

инж. Кашулина Ю.Л.                              - конструкции системы

инж. Грибанова И.В.                               - компьютерная графика

Консультанты:

от ООО

«Триол «Совместная компания»           - конструктивное решение системы и

Генеральный директор                             организационно-технические вопросы

Кожаев Г.М.

Директор Ушаков А.Г.

Руководитель проектов Беседин В.Е.

2. Подготовлены к утверждению и изданию Управлением перспективного проектирования нормативов и координации проектно-изыскательских работ Москомархитектуры.

3. Утверждены указанием Москомархитектуры от 07.10.2003 г. № 39.

СОДЕРЖАНИЕ

1. Введение. 2

2. Назначение и область применения. 2

3. Конструктивное решение системы.. 4

4. Исходные данные для проектирования системы.. 23

5. Определение основных параметров системы.. 24

6. Прочностные расчеты.. 25

7. Теплотехнические расчеты.. 34

8. Состав проектно-сметной документации. 48

10. Основные положения по производству работ и системе контроля качества. 49

11. Правила эксплуатации системы.. 50

12. Перечень нормативных документов и литературы.. 51

Приложение Письмо ГУП ЦНИИСК им. В.А. Кучеренко о дополнительных коэффициентах к ветровым нагрузкам.. 51

1. Введение

1.1. Рекомендации являются методическим и справочным пособием для разработки проектов наружной отделки и утепления зданий и сооружений с применением навесной фасадной системы с вентилируемым воздушным зазором «ТРИОЛ».

1.2. Навесные фасадные системы с вентилируемым воздушным зазором являются одним из наиболее эффективных способов отделки и утепления наружных стен зданий различного назначения. В том числе система «ТРИОЛ», где для наружной отделки зданий применяются кассетные панели, изготовленные из металлических листов: алюминиевых или стальных оцинкованных, которые выпускаются с различными цветными покрытиями полиэфирными порошковыми красками. К настоящему времени система прошла достаточную практическую проверку на зданиях, построенных в том числе в г. Москве. На рис. 1.1-1.3 приведены фотографии зданий, где применена навесная фасадная система «ТРИОЛ».

1.3. Разработчиком, изготовителем кассетных панелей и элементов несущего каркаса, а также подрядчиком по монтажу системы «ТРИОЛ» является ООО «ТРИОЛ «Совместная Компания», г. Москва*.

______________

* Адрес производственной базы:

Солнечногорский район, Московской области, дер. Елино, вл. 12 (34 км, Ленинградского шоссе), тел. 535-26-77, 536-91-81.

1.4. Техническим свидетельством Госстроя России № ТС-07-0774-03, зарегистрированным 15.08.2003 г., навесная вентилируемая фасадная система «ТРИОЛ» признана пригодной для применения в строительстве.

1.5. Рекомендации содержат следующие данные: назначение и область применения системы, конструктивные решения системы, состав исходных данных для проектирования, методики расчетов всех расчетных параметров системы, основные положения по производству работ, правила эксплуатации системы и ее технико-экономические показатели.

2. Назначение и область применения

2.1. Система «ТРИОЛ» предназначена для фасадной отделки и теплоизоляции наружных стен в соответствии с II этапом энергосбережений СНиП II-3-79* (вып. 98 г.) и МГСН 2.01-99.

2.2. Систему допускается применять для строящихся и реконструируемых зданий в г. Москве повышенного и нормального уровней ответственности с несущими конструкциями наружных стен из кирпича, бетона и других материалов плотностью более 600 кг/м2.

Допускаемую этажность зданий в соответствии с требованиями пожарной безопасности устанавливают в зависимости от степени огнестойкости и классов конструкционной и функциональной пожарной опасности системы.

Рис. 1.1. Торговый центр «Грандсити», площ. Рогожской заставы, г. Москва

Рис. 1.2. Здание холодильника, ул. Рябиновая, д. 43, г. Москва

Рис. 1.3. Универсам «Копейка», ул. Ясногорская, д. 2, г. Москва

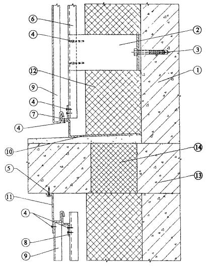
3. Конструктивное решение системы

3.1. Система, являясь многослойной конструкцией, включает следующие элементы: металлический несущий каркас, прикрепленный к основанию (несущим конструкциям наружной стены), слой негорючего минераловатного утеплителя, укрытого, в случае необходимости, пленкой типа «TYVEK»* и также вместе с пленкой, закрепленного на основании, и фасадную облицовку здания в виде металлических кассетных панелей, прикрепленных к несущему каркасу. Между кассетными панелями и слоем утеплителя устроен вентилируемый воздушный зазор, благодаря которому влага в виде пара, мигрирующая из помещений, удаляется из утеплителя.

___________

* Пленка условно на чертежах не показана.

3.2. Возможно применение системы только для отделки здания. В этом случае слой утеплителя отсутствует.

3.3. Система «ТРИОЛ» может быть выполнена в виде одной из трех подсистем: металлические элементы подсистем «ТРИОЛ-А» и «ТРИОЛ-АУ» выполняются из алюминиевых сплавов, а подсистема «ТРИОЛ-КУ» - из стального оцинкованного листового материала (рис. 3.1-3.3).

3.4. Несущий каркас системы состоит из кронштейнов, прикрепленных к основанию анкерными болтами, и вертикальных профилей, которые крепятся к кронштейнам саморезами. В подсистемах «ТРИОЛ-А» и «ТРИОЛ-АУ» вертикальные профили снабжаются штифтами для навески кассетных панелей, а в подсистеме «ТРИОЛ-КУ» для навески кассетных панелей применяют горизонтальный профиль, прикрепленный саморезами к вертикальному профилю.

3.5. В системе применяются стальные оцинкованные кронштейны в форме уголка с полками разной длины (рис. 3.4). На одной полке - отверстие под анкерный болт для крепления кронштейна к основанию, а на другой - одно или два отверстия для крепления к кронштейну вертикального профиля. Все отверстия овальной формы, что позволяет устанавливать (регулировать) вертикальный профиль строго по вертикали и в плоскости фасада, и в плоскости, перпендикулярной фасаду. Для снижения теплопередачи через кронштейн между ним и основанием устанавливается паронитовая прокладка. Кронштейн изготавливают адресно для конкретного проекта с учетом толщины слоя утеплителя и воздушного зазора, отклонений основания от вертикальной плоскости и т.п. Поэтому длина полки кронштейна, к которой крепят вертикальный профиль, может быть разной. Кроме того, часть кронштейнов рассчитывают на вертикальные (собственный вес системы) и горизонтальные (ветровые) нагрузки, а остальные - только на горизонтальные, при этом последние соединяются с вертикальными профилями так, чтобы позволить ему перемещаться относительно кронштейна вследствие температурных деформаций.

3.6. В системе применяют вертикальные профили «П»-образного сечения. В подсистемах «ТРИОЛ-А» и «ТРИОЛ-АУ» вертикальные профили прессованные из алюминиевых сплавов, а в подсистеме «ТРИОЛ-КУ» - гнутые из стальных оцинкованных листов. Размеры поперечных сечений вертикальных профилей приведены на рис. 3.4.

3.7. Кассетные панели изготавливают из листового металла, который сначала кроят, а затем сгибают. В результате получается изделие в виде ящика с низкими стенками (горизонтальными и вертикальными боковыми гранями). Готовое изделие по специальной технологии покрывается со всех сторон полиэфирной порошковой краской, цвет которой определяет главный архитектор проекта строящегося или реконструируемого здания.

3.7.1. В подсистемах «ТРИОЛ-А» и «ТРИОЛ-АУ» кассетные панели выполняются из алюминиевых листов толщиной 2 ¸ 3 мм. Для навески этих кассетных панелей на несущий каркас в их боковых вертикальных гранях выштампованы по 2 крючка (рис. 3.5, 3.7 и 3.8), в которые входят горизонтальные штифты, установленные на вертикальном профиле. Расстояние между штифтами соответствует расположению крючков и учитывает принятый зазор в горизонтальном шве между смежными кассетными панелями. Кассетные панели в подсистеме «ТРИОЛ-АУ» отличаются от панелей в подсистеме «ТРИОЛ-А» тем, что у них горизонтальные верхняя и нижняя боковые грани более развиты и достигают ширины вертикальных граней. Для их установки на несущий каркас в уровне горизонтального стыка смежных панелей в полках вертикального профиля нужно делать вырезы для размещения боковых горизонтальных граней кассетных панелей (рис. 3.8).

3.7.2. В подсистеме «ТРИОЛ-КУ» кассетные панели изготавливают из стальных оцинкованных листов толщиной 0,8 мм (рис. 3.6). Для навески этих кассетных панелей на несущий каркас их горизонтальные верхние и нижние боковые грани согнуты так, что их можно одеть на горизонтальный профиль (рис. 3.4), который саморезами прикреплен к вертикальным профилям (рис. 3.9).

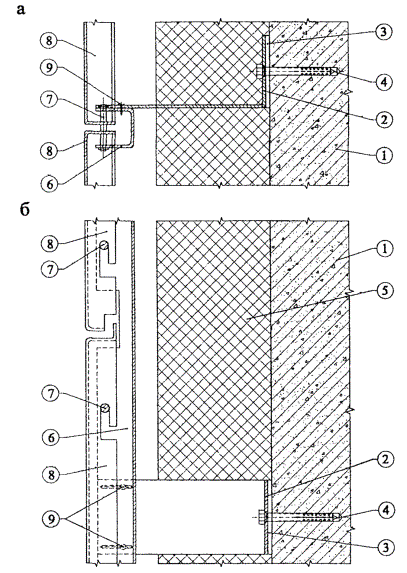
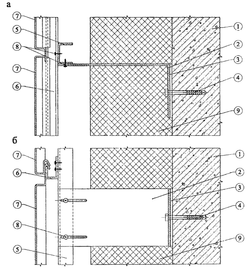
3.8. Конструктивное решение системы у внешнего и внутреннего углов здания, у оконных проемов, у цоколя и на парапете показаны на примере подсистем «ТРИОЛ-А» и «ТРИОЛ-КУ» на рис. 3.10 ¸ 3.17.

3.9. В случаях контакта стальных деталей с алюминиевыми его следует исключить за счет прокладки между ними полимерной шайбы или свежей краски.

3.10. Наличие у разработчика системы собственной производственной базы в г. Москве, оснащенной современным технологическим оборудованием для изготовления кассетных панелей и элементов несущего каркаса, включая их окраску порошковыми красками на полиэфирной основе, позволяет архитектору выбирать размеры и цвет кассетных панелей, величину швов между ними, а также применять на фасаде другие архитектурные детали в виде обрамления проемов, карнизов, поясков, пилястр и т.п.

3.11. Изделия и материалы, разрешенные для применения в системе «ТРИОЛ» и требования, которым они должны отвечать, приводятся в разделах 2 и 5 приложения к Техническому свидетельству Госстроя РФ (п. 1.4.)

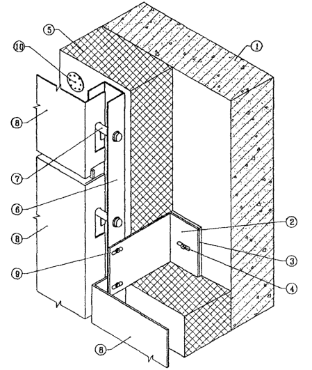
1. Основание.

2. Несущий кронштейн.

3. Паронитовая прокладка.

4. Анкерный болт.

5. Утеплитель.

6. Вертикальный профиль.

7. Штифт с блокировочными шайбами.

8. Облицовочная панель «ТРИОЛ-А».

9. Шуруп-саморез.

10. Тарельчатый дюбель.

Рис. 3.1. Фасадная система «ТРИОЛ-А»

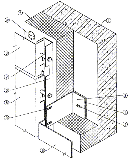
1. Основание.

2. Несущий кронштейн.

3. Паронитовая прокладка.

4. Анкерный болт.

5. Утеплитель.

6. Вертикальный профиль.

7. Штифт с блокировочными шайбами.

8. Облицовочная панель «ТРИОЛ-АУ».

9. Шуруп-саморез.

10. Тарельчатый дюбель.

Рис. 3.2. Фасадная система «ТРИОЛ-АУ»

1. Основание.

2. Несущий кронштейн.

3. Анкерный болт.

4. Паронитовая прокладка.

5. Шуруп-саморез.

6. Вертикальный профиль.

7. Горизонтальный профиль.

8. Облицовочная панель «ТРИОЛ-КУ».

9. Утеплитель.

10. Тарельчатый дюбель.

Рис. 3.3. Фасадная система «ТРИОЛ-КУ»

Фасадная система

Материал элементов

«ТРИОЛ-КУ»

ОЦ

«ТРИОЛ-А»

«ТРИОЛ-АУ»

Алюминий

Амг3М

Рис. 3.4. Кронштейны, вертикальные и горизонтальные профили систем «ТРИОЛ»

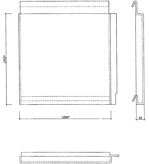
* Размеры панелей определяются проектом.

Рис. 3.5. Кассетные панели из алюминия для подсистем «ТРИОЛ-А», «ТРИОЛ-АУ»

* Размеры панелей определяются проектом.

Рис. 3.6. Кассетная панель из оцинкованной стали для подсистем «ТРИОЛ-КУ»

1. Основание.

2. Кронштейн несущий.

3. Паронитовая прокладка.

4. Анкерный болт.

5. Утеплитель.

6. Вертикальный профиль.

7. Штифт с блокировочными шайбами.

8. Облицовочная панель «ТРИОЛ-А».

9. Шуруп-саморез.

Рис. 3.7. Фасадная система «ТРИОЛ-А»

а - горизонтальный разрез; б - вертикальный разрез

1. Основание.

2. Кронштейн несущий.

3. Паронитовая прокладка.

4. Анкерный болт.

5. Утеплитель.

6. Вертикальный профиль.

7. Штифт с блокировочными шайбами.

8. Облицовочная панель «ТРИОЛ-АУ».

9. Шуруп-саморез.

Рис. 3.8. Фасадная система «ТРИОЛ-АУ»

а - горизонтальный разрез; б - вертикальный разрез

1. Основание.

2. Кронштейн несущий.

3. Паронитовая прокладка.

4. Анкерный болт.

5. Вертикальный профиль.

6. Горизонтальный профиль.

7. Облицовочная панель «ТРИОЛ-КУ».

8. Шуруп-саморез.

9. Утеплитель.

Рис. 3.9. Фасадная система «ТРИОЛ-КУ»

а - горизонтальный разрез; б - вертикальный разрез

1. Основание.

2. Кронштейн несущий.

3. Паронитовая прокладка.

4. Анкерный болт.

5. Утеплитель.

6. Вертикальный профиль.

7. Штифт с блокировочными шайбами.

8. Облицовочная панель «ТРИОЛ-А».

9. Шуруп-саморез.

10. Угловая облицовочная панель «ТРИОЛ-А».

Рис. 3.10. Подсистема «ТРИОЛ-А» на внешнем углу здания

1. Основание.

2. Кронштейн несущий.

3. Паронитовая прокладка.

4. Анкерный болт.

5. Шуруп-саморез.

6. Утеплитель.

7. Вертикальный профиль.

8. Штифт с блокировочными шайбами.

9. Облицовочная панель «ТРИОЛ-А».

10. Облицовочная панель «ТРИОЛ-А» для внутреннего угла.

Рис. 3.11. Подсистема «ТРИОЛ-А» на внутреннем углу здания

1. Основание.

2. Кронштейн несущий.

3. Ликерный болт.

4. Вертикальный профиль.

5. Штифт с блокировочными шайбами.

6. Облицовочная панель «ТРИОЛ-А».

7. Оконное обрамление из оцинкованной стали.

8. Слив из оцинкованной стали.

9. Пеноутеплитель «Макрофлекс».

10. Оконный блок.

11. Шуруп-саморез.

12. Утеплитель.

13. Специальный кронштейн.

Рис. 3.12. Подсистема «ТРИОЛ-А» у оконного проема

1. Основание.

2. Кронштейн несущий.

3. Паронитовая прокладка.

4. Анкерный болт.

5. Вертикальный профиль.

6. Горизонтальный профиль.

7. Облицовочная панель «ТРИОЛ-КУ».

8. Шуруп-саморез.

9. Утеплитель.

10. Угловая облицовочная панель «ТРИОЛ-КУ».

Рис. 3.13. Фасадная система «ТРИОЛ-КУ» на наружном углу здания

1. Основание.

2. Кронштейн несущий.

3. Анкерный болт.

4. Вертикальный профиль.

5. Шурупы-саморезы.

6. Горизонтальный профиль.

7. Облицовочная панель «ТРИОЛ-КУ».

8. Утеплитель.

Рис. 3.14. Фасадная система «ТРИОЛ-КУ» на внутреннем углу здания

1. Основание.

2. Кронштейн несущий.

3. Анкерный болт.

4. Шуруп-саморез.

5. Вертикальный профиль.

6. Горизонтальный профиль.

7. Облицовочная панель «ТРИОЛ-КУ».

8. Оконный блок.

9. Оконное обрамление из оцинкованной стали, покрытой цветной эмалью.

10. Слив из оцинкованной стали.

11. Утеплитель.

12. Пеноутеплитель «Макрофлекс».

13. Специальный кронштейн.

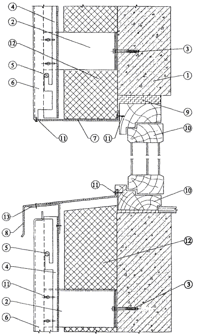
Рис. 3.15. Фасадная система «ТРИОЛ-КУ» у оконного проема (вертикальный разрез)

1. Основание.

2. Кронштейн.

3. Анкерный болт.

4. Утеплитель.

5. Вертикальный профиль.

6. Горизонтальный профиль.

7. Облицовочная панель «ТРИОЛ-КУ».

8. Козырек с перфорацией.

9. Шуруп-саморез.

Рис. 3.16. Фасадная система «ТРИОЛ-КУ» у цоколя

1. Основание.

2. Несущий кронштейн.

3. Утеплитель.

4. Анкерный болт.

5. Вертикальный профиль.

6. Горизонтальный профиль.

7. Облицовочная панель «ТРИОЛ-КУ».

8. Специальный кронштейн.

9. Шуруп-саморез.

10. Покрытие.

Рис. 3.17. Фасадная система «ТРИОЛ-КУ» на парапете

1. Основание.

2. Кронштейн несущий.

3. Анкерный болт.

4. Шуруп-саморез.

5. Анкерный винт.

6. Вертикальный профиль.

7. Горизонтальный профиль.

8. Z - образный горизонтальный профиль.

9. Облицовочная панель «ТРИОЛ-КУ».

10. Перфорированная пластина над плитой.

11. Перфорированная пластина под плитой.

12. Утеплитель.

13. Балконная плита.

14. Утеплитель в проемах балконной плиты.

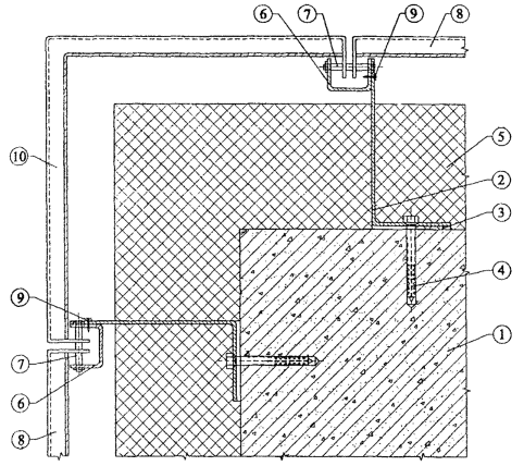
Рис. 3.18. Фасадная система «ТРИОЛ-КУ» у балконной плиты (козырька)

1. Основание.

2. Кронштейн.

3. Анкерный болт.

4. Паронитовая прокладка.

5. Утеплитель.

6. Вертикальный профиль.

7. Z-образный горизонтальный профиль.

8. Облицовочная панель «ТРИОЛ-КУ».

9. Карнизная панель «ТРИОЛ-КУ».

10. Шуруп-саморез.

11. Кобылка.

12. Обрешетка.

13. Кровля.

14. Желоб.

Рис. 3.19. Фасадная система «ТРИОЛ-КУ» у карниза

4. Исходные данные для проектирования системы

4.1. Проектно-сметная документация на систему для конкретного объекта разрабатывается на основе задания на проектирование, подготовленного в соответствии с существующим в г. Москве порядком и утвержденного заказчиком. Задание на проектирование обязательно должно содержать требование о соответствии системы II этапу энергосбережений СНиП II-3-79* (изд. 1998 г.) и МГСН 2.01-99.

4.2. Задание на проектирование системы должно включать следующие исходные данные:

- архитектурные чертежи фасадов здания, включающие данные о фактуре и цвете облицовочных материалов, чертежи архитектурных деталей (карнизов, обрамления проемов и т.п.) и другие необходимые данные, если это не входит в состав работ по данному заданию;

- строительные чертежи наружных стен от фундаментов до парапетов, включая узлы, поясняющие решение и размеры всех конструкций;

- данные от разработчиков фундаментов о величине допустимой дополнительной нагрузки на стены здания или, в случае реконструкции здания, заключение компетентной организации о несущей способности фундаментов здания;

- план участка, где расположено здание.

Для реконструируемых зданий задание на проектирование дополнительно должно содержать акт обследования наружных стен здания, где указывается состояние поверхности фасадов, результаты испытаний на усилия, с которым принятые дюбели можно вырвать из стены и геодезическую съемку поверхностей фасадов с данными о величине отклонений их отдельных участков от вертикальной плоскости.

4.3. К заданию на проектирование должно быть приложено Приложение к Техническому свидетельству Госстроя России на эту фасадную систему.

5. Определение основных параметров системы

5.1. К основным параметрам системы следует отнести:

- тип и размер облицовочных материалов и способ их крепления к несущему каркасу;

- характеристику принятых плит утеплителя: марку, размеры, плотность, теплопроводность, наличие или отсутствие защитного слоя; величину воздушного зазора;

- схему размещения на фасаде здания кронштейнов и вертикальных профилей, а для системы «ТРИОЛ-КУ» и горизонтальных профилей со всеми необходимыми размерами, в том числе, расстояние от основания до экрана;

- марку дюбелей для крепления кронштейнов несущего каркаса к основанию;

- марку дюбелей для крепления плит утеплителя к основанию.

5.2. Размер и цвет кассетных панелей определяет главный архитектор проекта, если эти данные не приведены в задании на проектирование системы.

5.3. Выбор плит утеплителя выполняется на основании теплотехнических расчетов, методика которых приводится ниже. Там же (в разделе «Теплотехнические расчеты») имеются рекомендации по определению величины воздушного зазора.

В случае применения плит утеплителя с кашированной поверхностью можно обойтись без гидроветрозащитной мембраны.

5.4. Схема размещения на фасаде здания элементов несущего каркаса разрабатывается, исходя из следующих данных:

- размеров по ширине кассетных панелей, вертикальный шов между которыми должен располагаться в центре вертикального профиля;

- геометрии фасада здания, размещении на фасаде проемов, балконов, карнизов и других отступающих (выступающих) от плоскости фасада элементов для минимизации применения кассетных панелей с нестандартными размерами;

- результатов прочностных расчетов системы, благодаря которым, в том числе, уточняется шаг по вертикали установки кронштейнов;

- расстояния от основания до экрана, принятого в результате теплотехнических расчетов, при этом следует учитывать величину фактических отклонений фасада от проектного положения.

5.5. Марку дюбелей для крепления кронштейнов и утеплителя выбирают с учетом результатов прочностных расчетов системы, материала основания, паспортных данных рассматриваемых дюбелей и результатов испытаний принятых дюбелей на выдергивание.

6. Прочностные расчеты

6.1. Методические предпосылки

Прочностные расчеты включают проверку прочности и деформаций металлических профилей, анкерных болтов и стержней, несущих нагрузки от их собственной массы, массы облицовочных плит, утеплителя и от давления ветра, стыковых соединений профилей между собой, их креплений к основным несущим конструкциям здания.

Нагрузки от собственной массы облицовочных плит и утеплителя принимаются по техническим условиям или паспортным данным предприятий-изготовителей. Временные нагрузки от ветра принимаются по СНиП [2], в данном случае для I ветрового района г. Москвы. Кроме того, учитываются дополнительные коэффициенты к ветровым нагрузкам в соответствии с письмом ЦНИИСКа № 1-945 от 14.11.2001 г. (см. Приложение). Нагрузку от собственной массы профилей в случаях, когда она относительно мала, возможно не учитывать.

Усилия: изгибающие моменты, поперечные и продольные силы; прогибы определяются с использованием основных положений сопротивления материалов и строительной механики. Коэффициенты надежности по нагрузкам gf, а также единый коэффициент надежности по ответственности gп = 0,95 принимаются по СНиП [2].

При проверке прочности и деформаций элементов и стыковых соединений формулы СНиП [4] трансформируются по форме к условиям примеров.

Физико-механические характеристики материалов профилей, их соединений и крепежных элементов следует принимать по СНиП [4].

Подробно методика расчета проиллюстрирована в приводимом ниже примере (п. 6.4). В примере исходные параметры даны для конкретных материалов и конструкций (п. 6.2). В то же время приведенная методика, где все расчетные формулы даются как в буквенном, так и в числовом выражениях со ссылками на нормативные источники, может быть использована и для других вариантов и сочетаний материалов и конструктивных решений.

6.2. Характеристики материалов

Расчетные сопротивления несущих профилей и саморезов, изготовленных из оцинкованной стали, согласно [4] (МПа): профилей: на растяжение, сжатие и изгиб Ry = 230; на сдвиг Rs = 133; на смятие Rlp = 175; модуль упругости Е = 21·104. Коэффициент условий работы gс = 1.

Расчетные сопротивления стальных болтов и саморезов по [4] (МПа): на растяжение Rвt = 170; на срез Rвs = 150. Коэффициент условий работы gв = 0,8.

Тип, конструкция и допускаемое усилие на 1 болт с дюбелем подбираются по каталогам фирм с учетом материала и состояния стены.

Утеплитель - минераловатные плиты «Венти-Баттс» плотностью g = 110 кг/м3, толщиной d = 150 мм. Прочность на сжатие утеплителя «Венти-Баттс» при 10 % деформации 0,02 МПа.

6.3. Расчетные схемы

Направления координатных осей приняты:

ось х - горизонтальная в плоскости стены;

ось у - горизонтальная по нормали к стене;

ось z - вертикальная в плоскости стены.

Расчетная схема горизонтальных профилей - двухпролетная балка, неразрезная на средней опоре и шарнирно опертая по концам с пролетами lх = 1 м (рис. 6.1).

Расчетная схема вертикальных профилей - трехпролетная неразрезная балка, жестко закрепленная на верхней опоре и шарнирно - подвижно в направлении оси «z» - на остальных опорах (рис. 6.2).

Пролеты в направлении оси «z» соответствуют шагам кронштейнов и равны lz = 1 м.

К горизонтальным и вертикальным профилям прикладывается вертикальная нагрузка от собственного веса и веса облицовочных плит и горизонтальная ветровая нагрузка.

Расчетная схема несущего (верхнего) кронштейна - консоль с вылетом lкр, (рис. 6.3), диктуемым толщиной слоя утеплителя. На кронштейны через вертикальные профили передаются вертикальные и ветровые нагрузки.

Соединение вертикального профиля с несущим кронштейном принято рамного типа, т.е. способное воспринимать изгибающие моменты, а с остальными кронштейнами - шарнирно (см. рис. 6.2).

Расчетная схема крепления несущего кронштейна к стене (рис. 6.3) принята с учетом реальной возможности восприятия как горизонтальных сил, так и изгибающего момента от вертикальной нагрузки.

Расчетная схема распорных стержней для крепления утеплителя - консоль с вылетом lу = dут.

Соединения между горизонтальными и вертикальными профилями вертикальных профилей с кронштейнами, крепление кронштейнов горизонтально к стене, рассчитываются на действие усилий среза от вертикальных нагрузок, растяжения, изгиба и вырыва от совместного действия вертикальной и ветровой нагрузок.

6.4. Пример расчета

6.4.1. Исходные данные и нагрузки

В данном примере принят вариант с облицовочными кассетными панелями из оцинкованной стали с размерами 1000 ´ 1000 мм, толщиной 0,8 мм. Толщина стенок горизонтальных и вертикальных профилей и кронштейнов - d = 1,5 мм.

Шаги вертикальных профилей и кронштейнов вдоль здания lх = 1 м, шаги горизонтальных профилей и кронштейнов по вертикали lz = 1 м.

Крепление кронштейна к стене - одним стальным болтом Æ 10 мм с дюбелем.

Утеплитель - минераловатные плиты - по п. 6.2, крепится к стене независимо от облицовки, стальными распорными стержнями Æ 5 мм со шляпками Æ 80 мм.

Рис. 6.1. Расчетные схемы горизонтального профиля

а - на вертикальные нагрузки; б - на горизонтальные нагрузки

Рис. 6.2. Расчетные схемы вертикального профиля

а - на вертикальные нагрузки; б - на горизонтальные нагрузки

Рис. 6.3. Расчетная схема несущего кронштейна

а - схема приложения усилий; б, в, г - эпюры M, Q и N

Вертикальные поверхностные нагрузки (Н/м2): от веса облицовочных плит: нормативная qzn = 1,05 (на загибы) 7850×0,8×10-3×101 = 66; расчетная qz = gf×qzn = 1,05×66 = 70; от веса утеплителя - расчетная qут = gf×g×d = 1,3×110 · 150×10-3×101 = 215; линейные нагрузки от собственного веса профилей (Н/м): горизонтального qwn = 9; вертикального qwn = 10.

Горизонтальные нагрузки от ветрового давления приняты условно для высоты Н = 20 м; нормативное значение ветрового давления для I ветрового района wо = 0,23 кПа; коэффициент «К» для зданий высотой 20 м, тип местности «В», по табл. 6 [2] К = 0,85; аэродинамический коэффициент принимается максимальным - для угловых зон здания С = 2; коэффициент gр = 1,3, учитывающий пульсационную составляющую ветровой нагрузки и коэффициент gm = 1,2 увеличения средней величины ветрового давления при расчете узлов крепления (gр и gm - по рекомендации ЦНИИСК, как дополнение к СНиП [2]).

Нормативная ветровая нагрузка qgn = wо×k×с×gр = 0,23×0,85×[-2]×1,3×103 = 508 Н/м2. Расчетные нагрузки при коэффициенте надежности по нагрузке gf× = 1,4 [2] (Н/м2): для элементов qy = gf qgn = 1,4×508 = 711 Н/м2, для узлов qу2 = gm×qу = 1,2×711 = 853.

Далее расчет профилей и их креплений производится лишь для участков около углов здания. При этом в средних зонах фасада для элементов и узлов образуется запас прочности. Во избежание перерасхода материалов при необходимости в конструкции могут быть внесены коррективы с соответствующим перерасчетом прочности и жесткости несущих элементов и их креплений.

Расчет для средних зон фасада отличается величиной аэродинамического коэффициента С = 0,8 и определением коэффициента gр по формуле (8) СНиП [2].

6.4.2. Расчет горизонтального профиля

Геометрические характеристики

1) Поперечного сечения: d = 1,5 мм; А = 117 мм2; Jy = 13992 мм4; Jz = 7692 мм4; Wy = 538 мм3; Wz = 614 мм3; Sу = 555 мм3; Sz = 417 мм3; ty = 2d = 3 мм; tz = d = 1,5 мм.

2) Продольных сечений на длине lx = 1 м; в = 1000 мм; d = 1,5 мм; А2 = 1000×1,5 = 1500 мм2; Jx = 1000×1,53/12 = 281 мм4; Wx = 1000×1,52/6 = 375 мм3; Sx = 1000×1,52/8 = 281 мм3; tх = 1000 мм.

Нагрузки и усилия

Нагрузки на 1 м длины профиля (Н/м):

вертикальные от собственного веса и веса плит высотой яруса lx = 1 м:

нормативная рz(г)n = qzn×lz + qwn = 66×1 + 9 = 75; расчетная рz(г) = qz×lz + qw = 70×1 + 10 = 80; горизонтальные: нормативная рyn = qyn×lz = 508×1 = 508; расчетная для элементов ру = qy×lz = 711×1 = 711; для узлов крепления ру2 = qy2×lz = 853×1 = 853.

Изгибающие моменты (Н×м):

от вертикальной расчетной нагрузки в поперечном сечении Мв = рz(г)×lx2/8 = 80×12/8 = 10;

от горизонтальной нагрузки:

1) в поперечном сечении

нормативной Мгn = рyn×lx2/8 = 508×12/8 = 63,5;

расчетной Мг = рy×lx2/8 = 711×12/8 = 88,9;

2) в продольном сечении от расчетной нагрузки на 1 м

Мг(пр) = pу×lx×ez = 711×1×0,02 = 14,2.

Усилие растяжения в продольном сечении на 1 м

Ny = pу×lx = 711×1 = 711 Н.

Максимальные поперечные силы:

QZ = рz(г)×lx/2 + Мв/lx = 80×1/2 + 10/1 = 50 Н.

Qy = ру×lx/2 + Мг/lx = 711×1/2 + 88,9/1 = 444 Н.

Проверка прочности поперечных сечений

По формулам [4], трансформированным к данному примеру.

По формуле (38) на изгиб в двух плоскостях

;  МПа,

прочность поперечных сечений на изгиб обеспечивается.

По формуле (29) на срез

 = 16,1 МПа;

 = 0,7 МПа;  St = Ö16,12 + 0,72×0,95 = 15,3 МПа <

< Rsgc = 133×1 = 133 МПа; прочность поперечных сечений на срез обеспечивается.

Проверка прочности продольных сечений

По формулам [4], трансформированным к примеру.

По формуле (50) на растяжение с изгибом

;  = 36,4 МПа <

< 230 МПа; прочность продольных сечений на растяжение с изгибом обеспечивается.

По формуле (29) на срез при максимальной величине поперечной силы

×0,95 = 0,4 МПа < 133 МПа;

прочность продольных сечений на срез обеспечивается.

Проверка прочности крепления горизонтального профиля к вертикальному

Крепление производится двумя стальными саморезами d = 5 мм и do = 4 мм с расчетной площадью сечения 1 заклепки А = 12,6 мм2. Расчетные сопротивления по п. 2.2.

Усилие растяжения, приходящееся на 1 саморез Ny(1) = gm×Ny/2 = 1,2×711/2 = 427 Н; усилие среза и смятия Nz(1) = gm×Qz/2 = 1,2×50/2 = 30 Н.

По формуле (129) [4] на растяжение: Ny(1)×gn = 427×0,95 = 406 H < RвtA = 170×12,6 = 2142 Н; прочность соединения на растяжение обеспечивается.

По формуле (127) на срез: Nz(1)×gn = 30×0,95 = 29 Н < Rвs×gв×Ans = 150×0,8×12,6×1 = 1512 Н; прочность соединения на срез обеспечивается.

По формуле (128) на смятие Nz(1)×gn = 29 Н < Rlp×gс×d×St = 175×1×4×1,5 = 1050 Н; прочность элементов соединения на смятие обеспечивается.

Проверка жесткости горизонтального профиля

Проверяется прогиб в направлении оси «у», т.е. по нормали к стене, от действия нормативной ветровой нагрузки руn = 508 Н/м, с изгибающим моментом на средней опоре Mгn = 63,5 Нм.

По формуле строительной механики для двухпролетной балки

 =

=  = 1,56 мм;

f/l = 1,56/1000 = 1/641, что меньше допустимой величины [f/l] = 1/200, жесткость профиля достаточна.

6.4.3. Расчет вертикального профиля

Геометрические характеристики

Длина Lz = 3 м: параметры поперечного сечения А = 123 мм2; Jx = 5846 мм4; Wх = 342 мм3; tх = 2dст = 3 мм; Sх = 438 мм3.

Определение усилий

Нагрузки на 1 м профиля (Н/м):

- вертикальные: нормативная pz(в)n = pz(г)n + qw = 75 + 10 = 85; расчетная pz(в) = pz(г) + qw = 80 + 10 = 90; эксцентрицитет eу = 79 мм;

- горизонтальные от ветра: нормативная рyn = qyn×lx = 508×1 = 508; расчетная: рy = qy×lx = 711×1 = 711; для узлов крепления рy2 = qy2×lx = 853×1 = 853.

Изгибающие моменты в плоскости, перпендикулярной стене (Нм):

- от вертикальной нагрузки: нормативной Мnв = Ктабл.×pz(в)n×Lz×ey = 0,5×85×3×0,0079 = 1,01; расчетной Мв = Ктабл.×pz(в)×Lz×ey = = 0,5×90×3×0,0079 = 1,07;

- от ветровой нагрузки: нормативной Мnг = Ктабл.×pуn×lz2 = 0,1×508×12 = 50,8; расчетной Мг = Ктабл.×pу×lz2 = 0,1×711×12 = 71,1.

Продольное усилие для элементов (в сечении с наибольшим моментом от qy) Nz = pz(в)×Lz×2/3 = 90×3×2/3 = 180 Н; для узлов креплений Nz2 = pz(в)×Lz×gm = 90×3×1,2 = 324 Н.

Поперечная сила для элементов: Qy = ру×lz/2 + Мг/lz = 711×1/2 + 71,1/1 = 427 Н; горизонтальное усилие для узлов креплений на верхней опоре Qy2 = qy2×lx×lу = 853×1×1 = 853 Н.

Проверка прочности профиля на растяжение с изгибом

По формуле (50) [4] для сечения над средней опорой при наиболее невыгодном сочетании усилий (с максимальной величиной момента Му)

;

 = 197,4 МПа < 230×1 = 230 МПа;

прочность на растяжение с изгибом обеспечивается.

Проверка профиля на сдвиг (срез)

По формуле (29) [4] gn £ Rsgc;

×0,95 = 10,1 МПа < 133×1 = 133 МПа;

прочность на срез обеспечивается.

Проверка прочности крепления профиля к несущему кронштейну

Крепление производится двумя стальными саморезами d = 5 мм и do = 4 мм, площадью сечения 1 самореза А = 12,6 мм2, с расчетными сопротивлениями по п. 6.2.

Усилия среза в одном саморезе: от вертикальной нагрузки Qz(1) = Nz2/2 = 324/2 = 162 Н; от горизонтальной нагрузки Qy(1) = Qy(2)/2 = 853/2 = 427 Н.

Напряжения среза по известной формуле (МПа): tz = Qz(1)/A = 162/12,6 = 12,9; tу = Qy(1)/A = 427/12,6 = 33,9; результирующее St =  =  = 36,3; условие прочности St×gn = 36,3×0,95 = 34,5 МПа < Rвs×gв = 150×0,8 = 120 МПа; прочность соединения на срез обеспечивается.

Проверка жесткости вертикального профиля

Проверяется прогиб в направлении оси «у», т.е. по нормали к стене, от действия нормативной ветровой нагрузки руn = 508 Н/м, с изгибающим моментом на средней опоре Мnг = 50,8 Нм.

По формулам строительной механики

f =  =

=  мм;

f/l = 2,66/1000 = 1/376, что меньше предельно допустимой величины [f/l] = 1/200, жесткость профиля достаточна.

6.4.4. Расчет несущего кронштейна

Геометрические характеристики

Параметры поперечного сечения: h = 100 мм; d = 1,5 мм; А = 150 мм2; WX = 2500 мм3; Jx = 125000 мм4; Sx = 1875 мм3; tх = d = 1,5 мм; Wz = 37,5 мм3; Jz = 28,l мм4; Sz = 28,1 мм3; tz = 100 мм.

Усилия

От вертикальной нагрузки Qz = Nz = (pz + Sqw)×Lz = (80 + 9 + 10)×3 = 297 H; от горизонтальной нагрузки Ny = qy×lx×lz = 711×1×1 = 711 H. Плечо (вылет) lкр = 210 - 12,5 - 1,5 = 196 мм. Изгибающий момент от вертикальной нагрузки Мх = Ктабл×Nz lкр = 0,5×297×196×10-3 = 29,1 Нм.

Проверка прочности на растяжение с изгибом и срез

По формуле (50) [4] на растяжение с изгибом

;

 = 15,6 МПа < 230×1 = 230 МПа.

По формуле (29) [4] на срез от вертикальной нагрузки

0,95 = 2,8 МПа < 133×1 = 133 МПа;

прочность несущего кронштейна на растяжение с изгибом и срез обеспечивается.

6.4.5. Расчет опорного кронштейна

Опорные кронштейны воспринимают только горизонтальные усилия от ветровой нагрузки (см. рис. 6.2); наиболее нагруженным является кронштейн на средней опоре, на который действует усилие Ny = 711 Н. Площадь поперечного сечения за вычетом двух отверстий под заклепки Ап = 135 мм2. По формуле (1) [4] Ny×gn £ R×yc×Aп; 711×0,95 = 675 H < 230×1×135 = 31050 H; прочность опорного кронштейна на растяжение обеспечивается.

6.4.6. Рекомендация по исключению разгиба кронштейнов у опор

Согласно расчету вертикального приопорного сечения кронштейнов на действие горизонтальных усилий от ветровой нагрузки прочность его при применении гайки стандартного размера не обеспечивается, а также возникают недопустимые деформации и разгиб. Во избежание этого необходима установка под гайку анкерного болта стальной шайбы наружным диаметром 60-100 мм (в зависимости от положения болта в прорези), толщиной не менее 4 мм.

6.4.7. Расчет крепления кронштейнов к стене

Крепление производится одним стальным болтом Æ 10 мм с расчетным диаметром на растяжение do = 8 мм и расчетной площадью сечения: на растяжение Авп = 50,3 мм2; на сдвиг и смятие А = 78,5 мм2.

Прочность болтового соединения несущего кронштейна

Изгибающий момент Мх2 = gm×Mx = 1,2×29,1 = 34,9 Нм; продольная сила Ny2 = gм×Ny = 1,2×711 = 853 Н; поперечная сила Qz2 = gm×Qz = 1,2×297 = 356 H.

Растягивающее усилие в болте: от продольной стены Nв1 = Nу2 = 853 Н; от момента Nв2 = Мх/z = 34,9·103/50 = 698 Н; суммарное Nв = Nв1 + Nв2 = 853 + 698 = 1551 Н.

По формуле (129) [4] на растяжение: Nв1×gn £ Rвt×Авп; 1551×0,95 = 1473 Н < 170×50,3 = 8551 Н; по формуле (127) [4] на срез: Nz×gn = 356×0,95 = 339 Н < Rвs×gв×А×ns = 150×0,8×78,5×1 = 9420 Н; прочность болтов на растяжение и срез обеспечивается.

По формуле (128) [4] на смятие стенки кронштейна под болтом: Nz×gn = 339 Н < Rср×gв×d×t = 175×0,8×10×1,5 = 2100 Н; прочность кронштейна на смятие под болтом обеспечивается.

Прочность болтового соединения опорного кронштейна

Продольное растягивающее усилие в болте Nв = Nу1 = 853 H. Прочность болта на растяжение по формуле (129) [4]: Nв×gn = 853×0,95 = 811 Н < Rвt×Авп = 170×50,3 = 8551 Н; прочность болта на растяжение обеспечивается.

Крепление болтов к стене

Вырывающие усилия на болт равны: у несущего кронштейна Nв1 = 1551 Н, у опорного Nв = 853 Н. Под эти усилия следует подбирать конструкцию дюбелей и болтов и условия их заделки в стену по каталогам фирм-изготовителей, в частности, швейцарской фирмы «Mungo».

6.4.8. Расчет крепления утеплителя

На 1 м2 стены принимается 4 распорных стержня: на 1 стержень с расчетной площадью сечения А = 19,6 мм2, приходится Аут.1 = 0,25 м2.

При диаметре шляпки dш = 80 мм утеплитель может воспринять усилие сжатия не более [N] = Rут×Аш = 0,02×p×802/4 = 100,5 Н.

Контроль за ограничением этого усилия осуществляется по величине деформации обжатия утеплителя под шляпкой, которая при dут = 150 мм не должна превышать D = 0,1×150 = 15 мм.

Поперечная сила, приходящаяся на 1 стержень от веса утеплителя, Qz = qут×Aут = 215×0,25 = 53,8 Н.

По формуле (127) [4]: Qz×gn = 53,8×0,95 = 51,1 Н < 150×0,8×19,6 = 2352 Н; прочность стержней на срез обеспечивается.

7. Теплотехнические расчеты

7.1. Введение

В настоящем разделе анализируются принципы теплотехнического проектирования систем наружных стен с вентилируемыми воздушными прослойками между экраном и теплоизоляционным слоем, приводятся рекомендации по различным техническим параметрам.

Принципы теплотехнического проектирования включают методы теплотехнических расчетов, расчеты воздухообмена и влагообмена в воздушных прослойках.

Методика теплотехнических расчетов базируется на требованиях СНиП II-3-79* [5] и МГСН 2.01-99 [10].

7.2. Основные, используемые в тексте, понятия

Воздушная прослойка между утеплителем и экраном, вентилируемая наружным воздухом; швы, зазоры - приточные (воздухозаборные) и вытяжные (воздуховыводящие) отверстия. Путями прохождения наружного воздуха могут являться в основном горизонтальные стыковые швы элементов экрана, поскольку вертикальные, как правило, закрыты.

Условное сопротивление паропроницанию - приведенное, учитывающее сопротивление паропроницанию материалов экрана с учетом швов между облицовочными панелями.

7.3. Основные положения по проектированию фасадных систем наружных стен с вентилируемой воздушной прослойкой

При проектировании здании с вентилируемыми фасадами следует учитывать уже принятые параметры системы:

- минимальный размер швов* для притока воздуха рекомендуется 10-20 мм (при размерах плит экрана 1000 ´ 1000 мм) для Москвы;

- общая толщина воздушной прослойки принимается, как правило, 60 мм для Москвы;

- площадь отверстий щели* для вытяжки воздуха не должно быть менее сечения отверстий щели для притока.

* - то же, что швы-зазоры.

7.4. Правила теплотехнического проектирования наружных ограждений с вентилируемым фасадом

Теплотехническое проектирование наружных стен, где применяются фасадные системы с вентилируемым воздушным зазором, выполняется в два этапа. Причем второй этап применяется, если после первого этапа не выявится надежность рассматриваемой конструкции в теплотехническом отношении.

Первый этап

Назначается конструктивное решение стены, в т.ч. параметры экранов, приточных и выводных щелей с учетом раздела 7.3.

Выполняется теплотехнический расчет наружной стены с экраном, т.е. определяется необходимая толщина теплоизоляции, исходя из требований 2-ого этапа СНиП II-3-79* (98) [5] и с учетом требований МГСН 2.01-99 [10].

Выполняется расчет влажностного режима стены по методике СНиП II-3-79* (98) [5] с учетом коэффициента паропроницаемости по глади экрана.

Проверяется расчетом упругость водяного пара на выходе из воздушной прослойки по формуле (18) с учетом параметров стены при расходе воздуха близким нулю, если требования СНиП II-3-79* (98) будут выполнены.

Если влажностный режим стены удовлетворяет требованиям норм строительной теплотехники СНиП II-3-79* (98) [5], то на этом теплотехническое проектирование заканчивается.

Если влажностный режим экранированных стен не удовлетворяет требованиям, то подбирается такой размер швов и экрана, чтобы с ними конструкция стены удовлетворяла требованиям СНиП [5].

Если расчет влажностного режима наружного ограждения с вентилируемым фасадом показал невыполнение требований СНиП II-3-79* (98) [5], а другой материал стены и экрана подобрать нельзя, то переходят ко второму этапу теплотехнического проектирования.

1) Определяется условное сопротивление паропроницанию экрана с учетом швов по методике раздела 7.6.6.

2) С учетом этого показателя проводят расчет влажностного режима по методике СНиП II-3-79* (98 г.).

3) При необходимости определяется влажностный режим рассматриваемой конструкции в годовом цикле с учетом средних месячных температур.

4) С учетом результатов расчета по п. 2, 3 анализируются результаты, при необходимости корректируются материалы и их толщины в конструкции с целью исключения влагонакопления в годовом цикле. В основном, проведенных упомянутых расчетов для определения применимости конструкции, бывает достаточно. В других случаях расчет может быть продолжен в следующей последовательности.

4.1) С учетом этажности здания и района строительства определяется скорость движения воздуха в прослойке за экраном и расход воздуха.

Для выполнения п. 5 определяется термическое сопротивление воздушной прослойки по формуле (16).

4.2) Определяется температура на выходе из воздушной прослойки.

4.3) Определяется действительная упругость водяного пара на выходе из прослойки еу по формуле (18). Определяется упругость водяного пара на выходе из прослойки и проверяется условие еу < Ен, где Ен - максимальная упругость водяного пара. Анализируются результаты расчетов и корректируется конструкция стены.

7.5. Краткая характеристика объекта и нормативные требования

Для расчета принято многоэтажное (6-ти этажное) жилое здание, расположенное в г. Москве, наружные стены которого облицованы фасадной системой с вентилируемым воздушным зазором «Триол-КУ».

Наружные стены двух вариантов: с внутренним слоем из монолитного железобетона gо = 2500 кг/м3, толщиной 0,18 м (lБ = 2,04) и кирпича, толщиной 0,51 м (lБ = 0,58 Вт/м °С).

Снаружи внутреннего слоя располагается утеплитель - базальтовая минвата, толщиной определяемой расчетом с l = 0,045 [19], воздушная прослойка и фасадная облицовка здания кассетными панелями из стального оцинкованного листа толщиной 0,8 мм с цветными покрытыми полиэфирными порошковыми красками. Кассетные панели крепятся к несущему каркасу подсистемы, состоящему из горизонтальных и вертикальных профилей и кронштейнов с анкерными болтами, посредством которых несущий каркас крепится к основанию (несущим конструкциям наружной стены). Утепляющий слой подсистемы вместе с пленкой типа «TYVEK» тарельчатыми дюбелями крепится к основанию.

Требования к теплотехническим характеристикам конструкций содержатся в СНиП II-3-79* [5] и МГСН 2.01-99 [10].

Требования к сопротивлению теплопередаче конструкций приведены в [5], исходя из санитарно-гигиенических и комфортных условий и условий энергосбережения. Так как требования из условия энергосбережения являются более жесткими, они и приняты в настоящей работе в качестве критерия оценки системы.

Согласно [5] требования по второму этапу нужно принимать для зданий, строительство которых начинается с 1 января 2000 года.

На основе [5 и 10] составлена таблица 1 исходных расчетных данных, где представлены требуемые сопротивления теплопередаче наружных стен жилых домов.

Таблица 1

Значения нормативных требований к наружным ограждениям жилых зданий

№ пп

Название нормативного документа

Требуемое сопротивление теплопередаче наружных стен

ГСОП

Город

1

2

3

4

5

1.

СНиП 23.01-99 [6], СНиП II-3-79* (98 г.), табл. 1б [5].

3,13

4943

Москва

7.6. Методика теплотехнического расчета наружных стен с вентилируемой воздушной прослойкой

7.6.1. Общие требования

Расчет наружных стен с экраном и вентилируемой воздушной прослойкой основан на расчете теплотехнических характеристик стен и расчета влажностного режима.

Теплотехнический расчет наружных стен с вентилируемой прослойкой в соответствии с настоящим разделом включает в себя:

- подбор толщины теплоизоляционного слоя;

- определение влажностного режима в соответствии с действующими теплотехническими нормами;

- определение параметров воздухообмена в прослойке;

- определение тепловлажностного режима прослойки;

- определение условного приведенного сопротивления паропроницанию экранов с учетом швов-зазоров между панелями-экранами.

Таким образом, для стен с вентилируемой воздушной прослойкой производится несколько теплотехнических расчетов: расчет теплового режима стен и прослойки и влажностного режима стены и прослойки.

7.6.2. Определение толщины теплоизоляционного слоя

Методика теплотехнического расчета разработана в соответствии с рядом документов, подготовленных ЦНИИЭП жилища и НИИСФ как авторами СНиП II-3-79* и полностью удовлетворяет нормативным требованиям [5, 10].

В основу конструктивных решений наружных стен при определении приведенных сопротивлений теплопередаче главных фрагментов принимаются толщины утеплителя, рассчитанные по формуле:

dут = ( - R1 - Rn - )×lут,                                 (1)

где:

 (или)  - требуемое приведенное сопротивление теплопередаче стен, м2×°С/Вт;

r - коэффициент теплотехнической однородности по табл. 2; 3.

Таблица 2

Значения r кирпичных утепленных снаружи стен

Толщина, м

Коэффициент r при l, Вт/м·°С

стены (без дополнительного утепления)

утеплителя

0,04

0,05

0,08

0,38

0,1

0,15

0,2

0,705

0,693

0,68

0,726

0,713

0,7

0,73

0,73

0,715

0,51

0,1

0,15

0,2

0,694

0,682

0,667

0,714

0,702

0,687

0,73

0,72

0,702

0,64

0,1

0,15

0,2

0,685

0,675

0,665

0,7

0,69

0,68

0,715

0,705

0,695

Примечания:

1. В таблице даны r для фрагмента с оконным проемом (проемность 25 %).

2. Для получения значений r с учетом глухих участков приведенные в таблице значения умножаются на 1,05.

Таблица 3

Значения r бетонных утепленных снаружи стен

Толщина, м

Коэффициент r при l, Вт/м×°С

панели (без дополнительного утепления)

утеплителя

0,04

0,05

0,08

0,3

0,05

0,1

0,15

0,9

0,84

0,81

0,92

0,87

0,84

0,95

0,88

0,85

0,35

0,05

0,1

0,15

0,87

0,8

0,78

0,9

0,83

0,81

0,93

0,86

0,83

0,4

0,05

0,1

0,15

0,2

0,82

0,77

0,75

0,74

0,87

0,8

0,78

0,765

0,9

0,83

0,8

0,785

Для проверки правильности принятых толщин утепляющих слоев определяются приведенные сопротивления теплопередаче наружных стен для основных «фрагментов». Каждый рассчитываемый фрагмент делится на отдельные участки, характеризуемые одним или несколькими видами теплопроводных включений.

Средневзвешенное значение приведенного сопротивления теплопередаче слоистых наружных стен определяется (на секцию) по формуле:

,                                                                  (2)

где:

 - сумма площадей фрагментов наружных стен (k - количество фрагментов стен), м2;

Fi, Roiпр - соответственно площадь и приведенное сопротивление теплопередаче io фрагмента стен, м2×°С/Вт.

Если  > * по табл. 1б СНиП II-3-79* [5], конструкция стены удовлетворяет требованиям теплотехнических норм. Если  < , то следует либо увеличить толщину утепляющего слоя, либо рассмотреть возможность включения в проект энергосберегающих мероприятий (утепление узлов и т.п.).

Для практических расчетов допускается при определении Roпр (Rоr) коэффициент теплотехнической однородности наружных стен с вентилируемой прослойкой применять табл. 3.

Для расчета средневзвешенного значения многослойных наружных стен при наличии в стенах глухих (без проемов) участков может быть также использована формула:

 = Rоr×n,                                                                    (3)

где:

n = 1,05 - коэффициент, учитывающий наличие глухих участков в наружных стенах.

7.6.3. Определение влажностного режима наружных стен

Влажностный режим наружных стен может определяться двумя методами. По СНиП II-3-79* (98 г.)** и исходя из баланса влаги в годовом цикле, методика расчета которого приводится ниже.

* , то же, что  и , то же, что .

** В связи с отсутствием данных по паропроницаемости пленки «TYVEK» ее коэффициент паропроницаемости «m» принят равным «m» утеплителя.

Определение влажностного режима наружных стен в годовом цикле производится в следующей последовательности:

1. Определяются исходные данные для расчета;

2. Определяются сопротивления паропроницанию слоев конструкции наружной стены, параметры внутреннего и наружного воздуха;

3. Определяется приток и отток влаги (пара) к рассматриваемому сечению по формулам:

DР1 =  и DР2 = ,                                             (4)

где

ев, ен - упругость водяного пара внутреннего и наружного воздуха;

еt - то же, в рассматриваемом сечении;

еt = ев - (SRп.сл),                                                   (5)

Rо п.вн.сл - сопротивление паропроницанию от внутренней поверхности до границы зоны возможной конденсации (с учетом пограничного слоя);

SRп.сл - сумма сопротивлений паропроницанию слоев до рассматриваемого сечения.

Rоп - сопротивления паропроницанию всей стены.

По указанным формулам определяется упругость водяного пара ei в характерных сечениях конструкции в годовом цикле.

Если еt окажется больше максимальной упругости водяного пара Е, то в данном сечении может образовываться конденсат.

7.6.4. Определение параметров воздухообмена в прослойке

Движение воздуха в прослойке осуществляется за счет гравитационного (теплового) и ветрового напора. В случае расположения приточных и вытяжных отверстий на разных стенах скорость движения воздуха в прослойках Vпр может определяться по следующим формулам:

Vпр = ,                                          (6)

где кн, кз - аэродинамические коэффициенты на разных стенах здания по СНиП 2.0.1.07-85[2];

VH - скорость движения наружного воздуха;

к - коэффициент учета изменения скорости потока по высоте по СНиП 2.01.07-85;

Н - разности высот от входа воздуха в прослойку до ее выхода из нее;

tсp, tн - средняя температура воздуха в прослойке и температура наружного воздуха;

Sx - сумма коэффициентов местных сопротивлений (определяется сложением аэродинамических сопротивлений).

Другим вариантом определения Vпр, служит формула:

,                               (7)

gн, gпр - плотности наружного воздуха и в прослойке.

Другой вариант определения Vпр по разности давлений воздуха на входе и выходе:

DРD = DРвх - DРвых,

DРвх и DРвых = Н (gн - gпр) + 0,5 gн×Vн2н - кз)×к,                           (8)

Vпp по формуле:

Vпр = .                                                     (9)

При расположении воздушной прослойки на одной стороне здания, можно принять кн = кз. В этом случае, если пренебречь изменением скорости ветра по высоте формула (6) примет вид:

Vпр = .                                                      (10)

Формула (7) примет вид:

Vпр = .                                                (11)

gпp - плотность воздуха в прослойке.

Указанные формулы применены в технической системе. При этом g имеет размерность кг/м3.

В системе СИ в числителе «g» будет отсутствовать, а «g» имеет размерность Н/м3.

Из полученных по указанным формулам скорость движения воздуха корректируется с учетом потерь давления на трение по известным из курса «Вентиляция» методам.

Расход воздуха в прослойке определяется по формуле:

W = Vnp×3600×dпр×gпр,                                                    (12)

где dпр - толщина воздушной прослойки, м; шириной 1 м, или площадь Fпр, м2.

7.6.5. Определение параметров тепловлажностного режима прослойки

Температура входящего в прослойку воздуха tо определяется по формуле:

tо = tн + ,                                                (13)

где tв, tн - расчетные температуры внутреннего и наружного воздуха;

m - коэффициент, равный 0,26 в системе СИ и 0,3 - в технической.

Остальные обозначения даны в [17].

Допускается определять температуру воздуха, входящего в прослойку по формуле

to = n×tн,                                                                         (14)

где n = 0,95.

Температура воздуха по длине прослойки определяется по формуле:

,             (15)

где кв и кн - коэффициенты теплопередачи внутреннего и наружного частей стены до середины прослойки;

hy - расстояние между стыковыми горизонтальными швами, служащими для поступления (или вытяжки) воздуха.

При определении термического сопротивления прослойки Rпp следует пользоваться формулами:

Rпр = ,                                                              (16)

где aпр = 5,5 + 5,7Vпр + aл,                                            (17)

где aл - коэффициент лучистого теплообмена;

Св - переводной коэффициент: в технической системе равен 1, а в СИ В = 3,6.

Действительная упругость водяного пара на выходе из прослойки определяется по формуле:

,                 (18)

Полученная по данной формуле величина упругости водяного пара на выходе из прослойки еу должна быть меньше максимальной упругости водяного пара Еу.

Если еу > Еу, то необходимо изменить геометрические параметры прослойки стены здания.

В формуле (18) Мв и Мн равны соответственно:

Мв = ; Мн = ,                                                 (19)

где Rвп и Rпн - сумма сопротивлений паропроницанию от внутренней поверхности до воздушной прослойки и от воздушной прослойки до наружной поверхности;

ев и ен - действительная упругость водяного пара с внутренней стороны стены и снаружи;

ео - упругость водяного пара воздуха, входящего в прослойку;

В = ,                                                           (20)

n - переводной коэффициент.

7.6.6. Методика определения условного приведенного сопротивления паропроницанию с учетом швов-зазоров между панелями экранами

Для расчета используются либо коэффициенты паропроницаемости материалов - экрана по СНиП II-3-79* (98 г.), либо полученные экспериментально.

Расчет приведенного сопротивления паропроницанию экранов с учетом швов-зазоров производится в следующей последовательности:

1) Определяется условное сопротивление паропроницанию в стыковых швах по формуле:

Rп1 =  м2×ч×Па/мг (м2×ч×мм рт. ст.)/г,                (21)

где В - коэффициент перевода из системы СИ в техническую, равен 7,5; в технической В = 1;

hш = 6,5 [мг/м2×ч×Па (r2×ч×мм рт. ст.)]

Sxш - местные сопротивления проходу воздуха (см. формулу 6);

dэ - толщина экрана, м.

2) Определяется сопротивление паропроницанию плит экрана по его глади по формуле:

Rп = ,                                                               (22)

где mэ - коэффициент паропроницаемости экрана по СНиП II-3-79* [5].

3) Определяется приведенное условное сопротивление паропроницанию экрана с учетом стыковых швов Rппр по формуле:

Rппр = ,                                                       (23)

SF - суммарная расчетная площадь экрана (как правило принимается 1 м2);

Fгл - площадь экрана без швов, м2;

F¢ - площадь швов, через которые поступает воздух. Как правило, площадь выходных швов в верхней части экрана не учитывается;

Rп и R¢п - см. выше.

7.7. Теплотехнический расчет наружных стен с вентилируемым фасадом

Расчет производится для г. Москвы.

7.7.1. Расчет толщины теплоизоляции

Толщина теплоизоляции из минваты типа «Фасад-Баттс» для кирпичной (рис. 7.1) стены для г. Москвы равна:

dут =  = 0,15 м

где:

3,13 - требуемое сопротивление теплопередаче стен для г. Москвы;

0,726 - коэффициент теплотехнической однородности, см. табл. 2 (при проемности 18 %);

0,10 - термическое сопротивление вентилируемой воздушной прослойки.

* Над чертой толщины слоев, под чертой - коэффициенты теплопроводности [4].

1 - раствор;

2 - кирпичная кладка;

3 - минеральная вата;

4 - панель экрана;

5 - воздушная прослойка;

6 - зона возможной конденсации.

Рис. 7.1. Схема наружной стены для расчета влажностного режима

В действительности термическое сопротивление прослойки будет несколько выше - Rвп = 0,11 м2×°С/Вт за счет меньшего коэффициента излучения с внутренней стороны экрана, что идет в запас теплозащиты:

Rвп =  = 0,13 м2×°С×ч/Ккал (0,11 м2×°С/Вт),

где aвп - коэффициент теплообмена по формуле (17);

aвп = 5,5 + 5,7 Vпp + aл = 5,5 + 5,7×0,4 + 0,13 = 7,9 Ккал/м2×ч×°С (9,17 Вт/м2×°С);

aл =  ´ 0,61 = 0,13;

где 4,25; 0,22; 4,9 - коэффициенты излучения, Ккал/ м2×ч×°К4;

0,61 - температурный коэффициент;

0,045 - коэффициент теплопроводности минваты в соответствии с сертификатами [19].

Сопротивление теплопередаче по глади наружной стены при толщине утеплителя из минваты 0,15 м:

Rоусл =  = 4,49 м2×°С/Вт.

Приведенное сопротивление теплопередаче:

Rопр = 4,5×0,726 = 3,26 м2×°С/Вт.

Толщина теплоизоляции из базальтовой минваты для бетонной стены для г. Москвы:

dут = ×0,045 = 0,16 м,

где r = 0,83 в соответствии с табл. 3 (при проемности 18 %).

Сопротивление теплопередаче по глади наружной стены условное:

Rоусл =  = 3,9 м2×°С/Вт.

Приведенное сопротивление теплопередаче:

Rопр = 3,9×0,83 = 3,24 м2×°С/Вт.

Толщина утеплителя может быть скорректирована в соответствии с номенклатурой выпускаемых изделий, что не повлияет на правомочность полученных расчетов и выводов.

7.7.2. Расчет влажностного режима бетонных стен

Выполняется расчет влажностного режима бетонных наружных стен с экраном по СНиП II-3-79* (98) по глухой части без учета стыковых швов для г. Москвы.

Влажностный режим наружных стен характеризуется процессами влагонакопления, зависящими от ряда внешних факторов и физических характеристик, от сопротивления паропроницанию конструкции. Расчетное сопротивление паропроницанию Rп, м2×ч×Па/мг (до плоскости возможной конденсации) должно быть не менее большего из требуемых сопротивлений паропроницанию Rп1тр, из условия недопустимости накопления влаги за год эксплуатации и Rп2тр из условия ограничения влаги в конструкции за период с отрицательными среднемесячными температурами.

Расчет ведется с учетом того, что зона возможной конденсации располагается на внешней границе утеплителя.

В период эксплуатации в зимних условиях температура воздуха в помещении tв = 20 °С, а относительная влажность j = 55 %.

Расчетное сопротивление паропроницанию наружной стены до зоны возможной конденсации Rп, м2×ч×Па/мг:

Rп =  = 6,533 м2×ч×Па/мг

(В технической системе Rп = 49 м2×ч×мм рт. ст./г)

Расчетное сопротивление паропроницанию части ограждающей конструкции, Rпн, м2×ч×Па/мг, расположенной между наружной поверхностью и плоскостью возможной конденсации равно:

Rпн =  = ¥ м2×ч×Па/мг

На экране с внутренней стороны конструкции стены по глухой части экрана в случае отсутствия или малого движения воздуха будет образовываться конденсат. Количественно ориентировочно это можно проиллюстрировать табл. 4, где показано влагонакопление в годовом цикле стены, с экраном, имеющим коэффициент паропроницаемости по глади m = 0,008 мг/м×ч×Па.

Таблица 4

Распределение влажности в кирпичной стене толщиной d = 0,51 м, с утеплением минватой и панелью «Полиалпан», воздушной прослойкой
(по глади m = 0,008 мг/м×ч×Па, 0,001 г/м×ч×мм×рт. ст.)

Размерность

Индексы

МЕСЯЦЫ

I

II

III

IV

V

VI

VII

VIII

IX

X

XI

XII

°С

tн

-10,2

-9,6

-4,7

4

11,6

15,8

18,1

16,2

10,6

4,2

-2,2

-7,6

°С

tв

20

20

20

20

11,6

15,8

18,1

16,2

10,6

20

20

20

°С

Dt

30,2

29,6

24,7

16

0

0

0

0

0

15,8

22,2

27,6

°С

tп

-9,9

-9,3

-4,4

4,2

 

 

 

 

 

4,4

-2,0

-7,3

 

 

 

 

 

 

 

 

 

 

 

 

 

 

 

 

 

 

 

 

 

 

 

 

 

 

 

 

мм рт. ст.

Et

1,96

2,07

3,17

6,19

10,24

13,46

15,58

13,81

9,59

6,27

3,88

2,47

 

 

 

 

 

 

 

 

 

 

 

 

 

 

 

 

 

 

 

 

 

 

 

 

 

 

 

 

мм рт. ст.

ен

1,604

1,62

2,41

4,026

5,939

7,941

9,615

9,391

7,001

4,828

3,132

2,0485

мм рт. ст.

ев55

9,647

9,647

9,647

9,647

5,939

7,941

9,615

9,391

7,001

9,647

9,647

9,647

мм рт. ст.

De

8,043

8,027

7,237

5,671

-

-

-

-

-

4,819

6,545

7,598

мм рт. ст.

et

4,54

4,56

5,06

6,06

 

 

 

 

 

6,59

5,53

4,83

 

 

 

 

 

 

 

 

 

 

 

 

 

 

 

 

 

 

 

 

 

 

 

 

 

 

 

 

 

 

 

 

 

 

 

 

 

 

 

 

 

 

Часы

 

744

672

744

720

744

720

744

744

720

744

720

744

ч/м2

Qвн.сл.

1311,8

1167,9

1105,4

570,7

-836,4

 

 

 

 

576,3

952,4

1224,8

ч/м2

Qнар.сл.

105,4

120,3

225

619,9

1450,8

 

 

 

 

426,9

214,3

124,8

ч/м2

DQ

1206,5

1047,6

880,4

-49,0

-2287,2

 

 

 

 

149,4

738,2

1100,0

ч/м2

SDQ

3194,0

4241,7

5122,9

5073,1

2285,8

 

 

 

 

149,4

887,6

1987,6

 

 

 

 

 

Конденсат

 

 

 

 

 

 

 

 

 

 

 

 

 

 

 

 

 

 

 

 

 

Как видно из табл. 4 при маловлагопроницаемом экране в годовом цикле во всех месяцах упругость водяного пара е больше максимальной упругости водяного пара Е и, следовательно, происходит постоянное влагонакопление в прослойке у экрана, в отдалении от горизонтальных швов при отсутствии движения воздуха в прослойке. Поскольку в районе горизонтальных швов распределение влаги иное, как и при движении воздуха, далее в расчетах учитываются эти обстоятельства.

Следующим этапом расчета является учет стыковых швов-зазоров в соответствии со специально разработанной методикой влажностного расчета для вентилируемых фасадов [18] для панелей экранов 1 ´ 1 м при выполнении их из стального оцинкованного листа толщиной 8 мм.

Условное сопротивление паропроницанию зазоров в горизонтальных стыковых соединениях экранов по формуле (21):

Rп =  = 0,00056 м2×ч×мм рт. ст./г (0,000075 м2×ч×Па/мг),

где: 0,0008 м - толщина экрана.

Следующим этапом расчетов является учет воздухозаборных отверстий приведенной площадью 0,005 м2 на м2 экрана.

Сопротивление паропроницанию по глади считается бесконечно большой величиной; тогда формула (23) примет вид:

Roпp =  = 0,112 м2×ч×мм×рт. ст./г (0,0149 м2×ч×Па/мг),

где: 0,005 м2 - приведенная площадь приточных отверстий.

Расчетное сопротивление паропроницанию части ограждающей конструкции Rпн, расположенной между наружной поверхностью и плоскостью возможной конденсации: Rпн = 0,0149 м2×ч×Па/мг (0,112 м2×ч×мм рт. ст./г).

Требуемое сопротивление паропроницанию Rп, из условия недопустимости накопления влаги за год эксплуатации:

Rп1тр =  = 0,018 м2×ч×Па/мг.

Требуемое сопротивление паропроницанию из условия ограничения влаги в наружной стеновой панели за период отрицательными температурами наружного воздуха:

Rп2тр =  = 0,36 м2×ч×Па/мг.

h =  = 82,7 м2×ч×Па/мг.

Поскольку Rп1тр и Rп2тр < Rп = 6,53 м2×ч×Па/мг, влажностный режим в зоне швов системы «ТРИОЛ-КУ» для г. Москвы удовлетворяет требованиям норм строительной теплотехники при расчете по СНиП II-3-79* (98) для бетонной стены.

7.7.3. Определение скорости движения воздуха и упругости водяного пара на выходе из прослойки

Определяется скорость движения воздуха в прослойке при температуре наружного воздуха минус 28 °С. Расчет делается по формулам (10 ¸ 11) при расстоянии между приточными и вытяжными (условно) отверстиями.

Температура входящего в прослойку воздуха по формуле (14):

tх = -28×0,95 = -26,6 °С.

Определяем расход воздуха в прослойке по формуле (12): при толщине прослойки 0,06 м в соответствии с МГСН 2.01-99 [10]:

Расход воздуха в прослойке составит W = 3600×0,102×1,405×0,06 = 31 кг/м×ч,

где 0,07 - коэффициент, учитывающий трение [18],

где: V = 0,37 м/с

V =  = 0,11 м/с;

V = 0,11 - 0,11×0,07 = 0,102 м/с.

Примечание:

В действительности средняя температура воздуха в прослойке будет выше, а скорость и расход воздуха больше, что идет в запас. Данная скорость и расход воздуха характерны в районе приточных и вытяжных отверстий.

Упругость водяного пара на выходе из воздушной прослойки еу бетонной стены при начальной упругости ео = 0,34 мм рт. ст. (к технической системе) по формуле (18)

еу =  = 0,34 мм рт. ст.,

где:

Мв =  = 0,02; Мв + Мн = 9,02

Мн =  = 9; Мв×ев + Мн×еп = 0,02×9,64 + 9×0,29 = 2,81

еу меньше максимальной упругости водяного пара Е, равной 0,39, следовательно, принятые параметры конструкции удовлетворительные.

Далее выполнен расчет влажностного режима наружной кирпичной стены с экраном, имеющей несколько худшие влажностные характеристики с точки зрения влагонакопления у экрана за счет большей паропроницаемости, кирпичной стены по сравнению с бетонной (рис. 7.1).

Без учета горизонтальных швов, т.е. по глухой части экрана при отсутствии движения воздуха будет образовываться конденсат, см. выше.

При учете горизонтальных швов расчет влажностного режима кирпичной стены, утепленной снаружи минеральной ватой, показывает следующее.

Расчетное сопротивление паропроницанию стены до зоны возможной конденсации:

Rп =  = 3,91 м2×ч×Па/мг (29,3 м2×ч×мм рт. ст./г)

Расчетное сопротивление паропроницанию части наружной стены, расположенной между наружной поверхностью ее и плоскостью возможной конденсации при учете горизонтальных швов равно:

Rппр = 0,0149 м2×ч×Па/мг (см. выше) (0,112 м2×ч×мм рт. ст./г)

Требуемое сопротивление паропроницанию, Rп1, м2×ч×Па/мг из условия недопустимости накопления влаги за год эксплуатации:

Rп1тр =  = 0,0184 м2×ч×Па/мг

Требуемое сопротивление паропроницанию из условия ограничения влаги в стене за период с отрицательными температурами воздуха Rп2тр:

Rп2тр =  = 0,36 м2×ч×Па/мг

h =  = 82,7.

Поскольку Rп2тр < Rп недопустимого влагонакопления в стене в зоне приточных отверстий не будет, влажностный режим стены удовлетворяет требованиям норм строительной теплотехники.

Упругость водяного пара на выходе из воздушной прослойки кирпичной стены:

еу =  = 0,32 мм рт. ст.,

где:

Мв =  = 0,034; Мн = 0,9 (см. выше); Мв + Мн = 9,034

Мв×ев + Мн×еп = 0,034×9,64 + 9×0,29 = 2,43

еу меньше максимальной упругости водяного пара Е, равной 0,39, следовательно, принятые параметры конструкции удовлетворительные.

7.8. Заключение

7.8.1. На основании выполненных теплотехнических расчетов наружных стен фасадной системы «Триол-Ку», определены:

7.8.2. Теплозащитные качества системы, см. п. 7.8.2.1.

7.8.2.1. Требуемая толщина теплоизоляционных базальтовых минераловатных плит типа «Венти-Баттс» составляет при железобетонной несущей стене 0,16 м; при кирпичной стене 0,15 м. Приведенное сопротивление теплопередаче наружных стен при указанной толщине утеплителя составит: 3,24 ¸ 3,26 м2×°С/Вт. (При проемности 18 %).

7.8.2.2. Влажностный режим системы при указанных в п. 7.8.4 параметрах конструкции, см. п.п. 7.8.2.2.1 - 7.8.2.2.3.

7.8.2.2.1. При отсутствии движения воздуха в прослойке по глади экранов из алюминия в отдалении от горизонтальных швов-зазоров влажностный режим может быть неудовлетворительный.

7.8.2.2.2. В районе швов-зазоров влажностный режим удовлетворителен.

7.8.2.2.3. При наличии движения воздуха в количестве 31 кг/м×ч при расчетной разности давлений при указанных в п. 7.8.3 параметрах влажностный режим системы удовлетворителен.

7.8.3. Параметры системы, при которых обеспечиваются указанные выводы в п. 7.8.2 следующие:

7.8.3.1. Высота (ширина) горизонтального шва между экранами составляет не менее 10 мм.

7.8.3.2. Толщина воздушной прослойки между утеплителем и экраном составляет 0,06 м.

7.8.3.3. Толщина (ширина) воздухозаборной щели внизу стены составляет 0,06 м (с перфорациями 50 % живого сечения), толщина (ширина) воздуховыводящей щели вверху стены должна быть не меньше воздухозаборной.

8. Состав проектно-сметной документации

8.1. Рабочий проект или рабочая документация системы наружных ограждений фасадов с вентилируемым воздушным зазором включает следующие разделы: общую пояснительную записку, архитектурную часть, конструкторскую часть, конструкторскую часть по решению архитектурных деталей, специальные части (водосток, антенны, рекламу и т.п.) и сметы.

8.2. В общей пояснительной записке приводятся следующие данные:

- архитектурная концепция решения фасадов здания и отдельных архитектурных элементов;

- данные о конструктивном решении системы и ее элементов;

- данные о решении специальных устройств на фасаде, если они имеются;

- данные об эффективности энергосбережения принятых технических решений, результаты теплотехнических расчетов;

- экологическая характеристика системы;

- основные технико-экономические показатели системы.

8.3. Архитектурная часть включает чертежи фасадов здания, отдельных архитектурных элементов и узлов. На чертежах приводится цветовое решение фасада и его отдельных элементов.

8.4. Конструкторская часть включает чертежи всех конструктивных элементов системы, с узлами и деталями, а также полную спецификацию всех применяемых материалов и изделий.

8.5. Специальная часть включает чертежи фасадов с привязкой мест размещения специальных устройств, узлы и детали конструкций крепления этих устройств на фасаде, а также спецификацию оборудования, материалов и изделий, предусмотренных проектом.

8.6. Сметы на устройство системы составляются на основе действующих нормативов, единичных расценок, фактической стоимости оборудования и материалов, а также утвержденных заказчиком калькуляций на отдельные виды работ и элементы конструкций.

9. Технико-экономические показатели системы

Стоимость системы для конкретных зданий зависит от многих факторов, в том числе, от размеров здания, архитектурного решения фасадов, оборудования и оснастки, применяемых для монтажа системы, а также от структуры подрядной организации и ее коммерческой политики. В связи с этим конкретная стоимость системы может колебаться в значительных пределах.

Поэтому считаем, что здесь наиболее целесообразно привести прямые затраты, т.е. стоимость отдельных элементов системы и ее монтажа (стоимость монтажа без учета стоимости лесов, люлек и других средств подмащивания) для рядового участка фасада.

Поэлементная стоимость (прямые затраты в $ US) 1 м2 системы для рядового участка фасада с различными облицовочными материалами (на 2003 г.):

С облицовкой кассетными панелями из оцинкованной листовой стали толщиной 0,8 мм:

- стоимость деталей каркаса                                 - 10

- стоимость утеплителя толщиной 150 мм          - 15

- стоимость облицовочного материала                - 25

- стоимость монтажа                                              - 20

Итого:                                                                      - 70

С облицовкой кассетными панелями из алюминиевого листа толщиной 2 мм:

- стоимость деталей каркаса                                 - 7,5

- стоимость утеплителя толщиной 150 мм          - 15

- стоимость облицовочного материала                - 51,5

- стоимость монтажа                                              - 20

Итого:                                                                      - 94

Данные о стоимости элементов системы представлены ее разработчиком ООО «Триол «Совместная компания»».

10. Основные положения по производству работ и системе контроля качества

10.1. Для выполнения работ по монтажу системы здание разбивается на захватки и определяется порядок и последовательность перемещения монтажников с одной захватки на другую.

10.2. Величина захваток и их количество в каждом случае определяются с учетом многих факторов, в том числе размеров фасадов здания, величины бригады монтажников, оснащения строительной организации оборудованием и оснасткой, условиями комплектации строительства материалами, изделиями и др. Захваткой может быть вся высота фасада, а можно фасад по высоте разделить на несколько захваток, учитывая наличие промежуточных карнизов, поясков и другие факторы. Также в горизонтальном направлении захваткой может быть весь фасад, только одна секция или может быть принят какой-либо другой способ деления фасада на захватки. Разбивка фасадов здания на захватки и выбор средств для работы монтажников на высоте (подмости, люльки, подъемные платформы и т.п.) выполняется в проекте организации строительства или в технологических картах.

10.3. При монтаже системы на реконструируемых зданиях работы начинаются с очистки фасада от несвязанных с основанием элементов, таких как отслоившиеся штукатурка, краска и т.п. Кроме того, фасад надо освободить (демонтировать) от специальных устройств: водостоков, различных кронштейнов, антенн, вывесок и др.

10.4. Монтаж системы начинается с установки маяков и разметки фасада, по которой будут устанавливаться и крепиться к основанию кронштейны и вертикальные профили. Разметка выполняется с помощью геодезических приборов, уровня и отвеса. Установка и крепление кронштейнов и вертикальных профилей в пределах захватки может производиться снизу вверх и наоборот в зависимости от решений, принятых в ПОС.

10.5. После разметки фасада в нем сверлят отверстия под дюбели для крепления кронштейнов к основанию посредством анкерных болтов. Для снижения теплопередачи в месте примыкания кронштейна к основанию между ними на анкерный болт одевается паронитовая прокладка.

В случаях, когда основанием является кирпичная кладка, нельзя устанавливать дюбели в швы кладки, при этом, расстояние от центра дюбеля до горизонтального шва должно быть не менее 25 мм, а от вертикального - 60 мм. Минимальное расстояние от края конструкции до дюбеля оговаривается специальными рекомендациями фирмы-изготовителя дюбелей.

Категорически запрещается сверлить отверстия для дюбелей в пустотелых кирпичах или блоках с помощью перфоратора.

10.6. На кронштейны устанавливают и крепят к ним вертикальные профили, которые являются базой для устройства отделочного слоя фасада в пределах проектных допусков. Поэтому установка каждого профиля, его положение в вертикальной плоскости проверяется соответствующими приборами: теодолитом, отвесом и др. Крепление профиля к кронштейну производят заклепками или винтами.

10.7. К началу монтажа плит утеплителя захватка, на которой производятся работы, должна быть укрыта от попадания влаги на стену и плиты утеплителя.

Исключением могут быть случаи, когда монтажники не покидают рабочие места до тех пор, пока все смонтированные плиты не закроют, предусмотренной проектом, ветровлагозащитной пленкой.

10.8. Монтаж плит утеплителя начинается с нижнего ряда, который устанавливают на стартовый профиль, цоколь или другую соответствующую конструкцию, и ведут снизу вверх. Если плиты утеплителя устанавливают в 2 ряда, следует обеспечить перевязку швов. Плиты утеплителя должны устанавливаться плотно друг к другу так, чтобы в швах не было пустот. Если избежать пустот не удается, они должны быть тщательно заделаны тем же материалом. Вся стена (за исключением проемов) непрерывно по всей поверхности должна быть покрыта утеплителем, установленной проектом толщины. Крепление плит утеплителя к основанию производят пластмассовыми дюбелями тарельчатого типа с распорными стержнями. В случае применения ветровлагозащитной пленки, установленные плиты утеплителя сначала крепят к основанию только двумя дюбелями каждая плита и только после укрытия нескольких рядов пленкой устанавливают остальные, предусмотренные проектом, дюбели. Полотнища пленки устанавливают с перехлестом 100 мм.

10.9. Монтаж кассетных панелей начинают с нижнего ряда и ведут снизу вверх. Крепление кассетных панелей к вертикальным профилям изложено в п. 3.7. Одновременно производится облицовка оконных проемов и других элементов фасада. Во время монтажа отделочных материалов следует следить за тем, чтобы воздушный зазор позади них был чист и без каких-либо посторонних включений.

10.10. В процессе монтажа элементов системы должен выполняться пооперационный контроль качества работ и составляться акты на скрытые работы. Это должно выполняться в соответствии с действующей в подрядной организации «Системой управления контролем качества продукции», где указано, какие параметры и технологические процессы контролируются и лица, ответственные за выполнение этой работы. В составе комиссии, подписывающей акты на скрытые работы, должны быть лица (представители проектной организации), выполняющие авторский надзор.

10.11. Работы по монтажу системы могут выполнять организации, специалисты которых прошли обучение и имеют лицензию на право выполнения указанных работ от ООО «Триол «Совместная компания».

10.12. Все работы должны выполняться под контролем лица, ответственного за безопасное производство работ и в соответствии с требованиями СНиП 12-03-99 «Безопасность труда в строительстве. Общие требования» и СНиП III-4-80 «Техника безопасности в строительстве».

11. Правила эксплуатации системы

11.1. В процессе строительства и эксплуатации здания не допускается крепить непосредственно к облицовочным материалам любые детали и устройства.

11.2. Не следует допускать возможность попадания воды с крыши здания на облицовочные материалы, для чего надо содержать желоба на крыше и водостоки в рабочем состоянии.

11.3. Уход за облицовкой фасада, заключающийся в ее регулярной очистке и периодическом восстановлении, продлит срок службы облицовки.

11.4. Промывка водой является одним из наиболее эффективных способов очистки облицовки.

Рекомендуется сочетать промывку с ручной очисткой поверхности щетками или скребками. При этом следует исключить попадание грязной воды на ветровлагозащитную пленку, которой покрыт утеплитель.

11.5. Элементы облицовки с дефектами, не подлежащими восстановлению, заменяются в соответствии с инструкцией разработчика системы.

12. Перечень нормативных документов и литературы

1. СНиП 2.08.01-89*         Жилые здания.

и МГСН 3.01-01

2. СНиП 2.01.07-85           Нагрузки и воздействия.

3. СНиП 2.03.06-85           Алюминиевые конструкции.

4. СНиП II-23-81*             Стальные конструкции.

5. СНиП II-3-79*               Строительная теплотехника.

(изд. 1998 г.)

6. СНиП 23-01-99             Строительная климатология.

7. СНиП 2.01.01-82           Строительная климатология и геофизика.

8. СНиП 2.03.11-85           Защита строительных конструкций от коррозии.

9. СНиП 21-01-97             Пожарная безопасность зданий и сооружений.

10. МГСН 2.01.99             Нормативы по теплозащите и тепловодоэлектроснабжению.

11. ГОСТ 17177-94           Материалы и изделия строительные теплоизоляционные. Методы испытаний.

12. ГОСТ 22233-93           Профили прессованные из алюминиевых сплавов для ограждающих конструкций. Общие технические условия.

13. ГОСТ 26805-86           Заклепка трубчатая для односторонней клепки тонколистовых строительных металлоконструкций. Технические условия.

14. ГОСТ 272180-86         Керамические плитки. Методы испытаний

15. ГОСТ 7025-78             Материалы стеновые и облицовочные. Методы определения водопоглощения и морозостойкости.

16. ГОСТ 481-80               Паранитовые листы

17. Рекомендации по проверке и учету воздухопроницаемости наружных ограждающих конструкций жилых зданий. ЦНИИЭП жилища, Москва, 1983 г.

18. Рекомендации по проектированию и применению для строительства и реконструкции зданий в г. Москве системы с вентилируемым воздушным зазором «Краспан».

19. Заключение и протокол сертификационных испытаний НИИСФ № 51 от 22.06.2000 г. М.

Приложение

Госстрой России

Государственное унитарное предприятие              Директору по научной деятельности

«Центральный научно-исследовательский

институт строительных конструкций

имени В.A. Кучеренко»                                                Гранику Ю.Г.

ИНН 7721193175

ГУП ЦНИИСК

им. В. А. Кучеренко

в ФАКБ МИнБ Волгоградский

Расчетный счет 4050281020015000175

в АКБ "Московский индустриальный банк"

г. Москва

БИК 044526600, к/с 00101010300000000600

109428, Москва, 2-я Институтская, 6

тел (095) 171-26-50, 170-10-60

факс 171-28-58

14.11.2001 г. № 1-945

На Ваш № 320-1437 от 25.10.2001 г.

При расчете указанной в Вашем письме системы «облицовка-покрытие» необходимо учитывать действие средней (wm) и пульсационной (wр) составляющих давления ветра. При этом для элементов облицовки, расположенных на наветренной поверхности здания wр определяется по формуле 8 СНиП 2.01.07-85* «Нагрузки и воздействия». Для элементов облицовки, расположенных на боковых и подветренной сторонах здания, допускается принимать

wр = 0,3 wm (h);

где h - высота здания

При определении ветровой нагрузки, действующей на внутренние поверхности рассматриваемых конструкций, пульсации давления допускается не учитывать.

Одновременно обращаем Ваше внимание на то, что при расчете узлов крепления элементов облицовки среднюю составляющую (wm) ветровой нагрузки необходимо увеличить на 20 %.

Зам. директора института                                                                 Назаров Ю. П.

 

 




ГОСТЫ, СТРОИТЕЛЬНЫЕ и ТЕХНИЧЕСКИЕ НОРМАТИВЫ.
Некоммерческая онлайн система, содержащая все Российские Госты, национальные Стандарты и нормативы.
В Системе содержится более 150000 файлов нормативно-технической документации, действующей на территории РФ.
Система предназначена для широкого круга инженерно-технических специалистов.

Рейтинг@Mail.ru Яндекс цитирования

Copyright © www.gostrf.com, 2008 - 2026