Крупнейшая бесплатная информационно-справочная система онлайн доступа к полному собранию технических нормативно-правовых актов РФ. Огромная база технических нормативов (более 150 тысяч документов) и полное собрание национальных стандартов, аутентичное официальной базе Госстандарта. GOSTRF.com - это более 1 Терабайта бесплатной технической информации для всех пользователей интернета. Все электронные копии представленных здесь документов могут распространяться без каких-либо ограничений. Поощряется распространение информации с этого сайта на любых других ресурсах. Каждый человек имеет право на неограниченный доступ к этим документам! Каждый человек имеет право на знание требований, изложенных в данных нормативно-правовых актах!

  


 

ОРДЕНА ТРУДОВОГО КРАСНОГО ЗНАМЕНИ
А
КАДЕМИЯ КОММУНАЛЬНОГО ХОЗЯЙСТВА им. К.Д. ПАМФИЛОВА

Утверждаю

Зам. председателя совета

Росжилкоммунсоюза

В.И. Горелов

19 декабря 1990 г.

ТЕХНИЧЕСКИЕ РЕШЕНИЯ
ПО ИСПОЛЬЗОВАНИЮ УТИЛИЗАТОРОВ
В КОТЕЛЬНЫХ МАЛОЙ МОЩНОСТИ

Сектор научно-технической информации

Москва 1992

Приведены основные технические решения по утилизации теплоты дымовых газов котельных, работающих на газообразном, жидком и твердом топливе. Рассмотрены экономические и экологические вопросы применения теплоутилизаторов.

Технические решения разработаны отделом коммунальной энергетики АКХ им. К.Д. Памфилова (кандидаты техн. наук З.В. Короткова и В.В. Пономарева, инж. Н.Г. Зюнева) и предназначены для инженерно-технических работников коммунальных теплоэнергетических предприятий и проектантов.

Замечания и предложения по настоящим техническим решениям просьба направлять по адресу: 123371, Москва, Волоколамское шоссе, 116. АКХ им. К.Д. Памфилова, отдел коммунальной энергетики.

В настоящее время одним из основных путей экономии топливно-энергетических ресурсов (ТЭР) в коммунальной энергетике является повышение эффективности их использования путем утилизации тепла уходящих газов.

В системе местных Советов около 14 тыс. котельных, из которых 10 тыс. котельных мощностью менее 3,5 МВт. Суммарная мощность установленных котлов около 99 МВт, в том числе чугунных 16,3 МВт. Потери тепловой энергии с уходящими газами со средней температурой газов 150 °С составляют 4-5 %, т.е. около 29 тыс. ГДж, что равноценно потере 800 т у/ч или около 2,7 млн. т у.т/год.

В решение энергетической программы в нашей стране значительный вклад может внести применение теплоутилизационных установок, работающих на дымовых газах котельных.

В настоящее время теплоэнергетические предприятия не заинтересованы в экономии топливно-энергетических ресурсов в связи с низкой их стоимостью и отсутствием системы материального стимулирования за экономию ТЭР. Вопрос экономного расходования топлива стоит на повестке дня как в нашей стране, так и за рубежом, поэтому работы по выбору и проектированию теплоутилизационных установок находят все большее распространение.

Задачей настоящей работы является определение возможности и целесообразности использования утилизаторов теплоты дымовых газов котельных, работающих на различных видах топлива.

ОБЩАЯ ЧАСТЬ

Температура уходящих газов из котельных агрегатов при номинальной нагрузке составляет около 120-130 °С, котлы мощностью менее 0,7 кВт выбрасывают дымовые газы с температурой свыше 200 °С.

Установка в конвективной шахте котлов водяных экономайзеров и воздухонагревателей для ряда котлов не позволяет максимально снизить потери тепла с уходящими газами. При современном уровне эксплуатации котельных температура выбрасываемых газов ограничивается по соображениям возможной конденсации влаги в дымовой трубе. При конденсации резко возрастают коррозионные процессы в связи с высокой агрессивностью конденсата, причем для серосодержащих топлив температура точки росы составляет 120-130 °С. Следовательно, повышение эффективности утилизации теплоты дымовыми газами в значительной степени зависит от технического уровня применяемого оборудования, в частности, применения антикоррозионных материалов.

Решению об установке утилизаторов теплоты должно предшествовать определение возможных потребителей потенциальной теплоты утилизаторов. Для этого предварительно необходимо определить конкретные потоки воды и воздуха, их расходы, температуры, до которых могут быть подогреты теплоносители в утилизаторах.

В качестве потребителей могут рассматриваться котельные, система теплоснабжения и сторонние потребители.

Правильный выбор вида и требуемой производительности утилизатора определяется не установленной мощностью котлоагрегатов, а наличием реальных потребителей утилизируемой теплоты.

Потребителями могут быть: подогрев исходной и химически очищенной воды, подогрев дутьевого воздуха, система горячего водоснабжения, подогрев обратной сетевой воды, технологические нужды предприятий, подогрев воды для систем теплоснабжения тепличных и парниковых хозяйств, открытых и закрытых плавательных бассейнов, мойки улиц и транспортных средств, подогрев воздуха для отопления помещений складов, для тепловых завес и размораживания твердого топлива.

Одним из вариантов решения является использование нагретого воздуха с температурой 60-70 °С и выше для обогрева открытых площадок, обогрева наружных лестниц. Недостатком системы воздушного подогрева является недопустимость большой механической нагрузки на подогреваемую площадку и большой расход электроэнергии [14].

Принципиальная схема установки с воздушным подогревом площадок приведена на рис. 1. Подогретый воздух поступает в воздушные каналы, расположенные под площадкой, - подающие А, затем - в обратные Б, образующие замкнутый контур. Охлажденный воздух снова подается в систему подогрева.

Такая схема обеспечивает равномерное плавление снега на площадке только при длине каналов до 50 м. При большей их длине целесообразно применять схему 1,б, обеспечивающую возможность периодического изменения направления воздуха в каналах, для этого закрывают установленные в воздуховодах шиберы 1 и 4 открывают шиберы 2 и 3. Непременным условием является близость обогреваемой площадки к котельной, иначе будут велики потери тепла и электроэнергии на транспортирование теплоносителя. На рис. 1, в приведена принципиальная схема подогрева наружной лестницы.

Экономическую эффективность использования вторичных тепловых ресурсов для плавления снега на открытых площадках определяют путем сопоставления приведенных затрат при талом решении с затратами на уборку и вывозку снега и наледи.

Расход тепла, затрачиваемый на удаление снега, Вт/м2, определяют:

q = qпл + qгр + qатм + qисп,                                                          (1)

где qпл - скрытая теплота плавления снега, кДж/кг (qпл = 335 кДж/кг); qгр - потеря теплоты в грунте, находящемся под площадкой, в среднем 20-40 % qпл; qатм - потери теплоты в атмосферу конвекцией и радиацией, составляющие при плавлении снега около 10 % qпл; - потери теплоты на испарение слоя снега, принимаемые равными 0,1 qпл.

Рис. 1. Схема подогрева наружных площадок и ступеней лестниц нагретым воздухом:

а - подогрев наружных площадок с устройством каналов длиной до 50 м; б - то же, длиной более 50 м; в - подогрев ступеней наружных лестниц; 1-4 - шиберы

Схемы утилизации теплоты дымовых газов котельных и виды применяемых утилизаторов зависят от конкретных источников теплоты, возможности использования потенциала дымовых газов, потребителей теплоты, вида топлива, состава дымовых газов, определявшего агрессивность его по отношению к оборудованию котельных.

Побудительными мотивами установки утилизаторов является стремление наиболее полно удовлетворить потребности в энергии не путем ввода дополнительных мощностей, а за счет энергосбережения. Вследствие отсутствия последовательной политики в нашей стране вопросы утилизации не решаются на должном уровне. В частности, при большом количестве разработок и авторских свидетельств по конструкциям утилизаторов в серийном производстве находятся отдельные утилизаторы, не позволяющие в широком масштабе использовать рационально потенциальную теплоту уходящих дымовых газов.

УТИЛИЗАЦИЯ ТЕПЛОТЫ ДЫМОВЫХ ГАЗОВ В ГАЗИФИЦИРОВАННЫХ КОТЕЛЬНЫХ

Газообразное топливо является наиболее перспективным для сжигания в котельных установках по ряду показателей. С точки зрения утилизации теплоты уходящих дымовых газов их преимущество в отсутствии окислов серы, механических примесей и высоком влагосодержании.

Отсутствие соединений серы позволяет охлаждать газы до относительно низкой температуры, поскольку точка росы 40-50 °С. Отсутствие механических примесей отличает выбор теплоутилизаторов и облегчает их эксплуатацию. Относительно высокое влагосодержание дымовых газов дает возможность использовать теплоту конденсации водяных паров, содержащихся в дымовых газах, и там увеличить эффективность процесса утилизации.

Специфические особенности газа и продуктов сгорания позволяют применять контактные теплообменники, в которых происходит непосредственный теплообмен между дымовыми газами и охлаждающей их водой. Такие теплообменники при достаточно приемлемых габаритах, умеренном расходе металла на их изготовление и сравнительно невысоком расходе электроэнергии при эксплуатации обеспечивают глубокое охлаждение дымовых газов до 40 °С и конденсацию 60-90 % водяных паров, содержащихся в газах.

Но нагрев воды в контактных теплообменниках возможен только до температуры «мокрого термометра», которая составляет 50-60 °С. Температура «мокрого термометра» зависит от влагосодержания дымовых газов и коэффициента избытка воздуха. С уменьшением коэффициента избытка воздуха и увеличением влагосодержания парциальное давление водяных паров в дымовых газах растет, а вместе с ним при прочих равных условиях растет температура «мокрого термометра».

Эффективность контактных экономайзеров снижается с увеличением температуры воды на входе, и применение их рекомендуется при температуре воды на входе не выше 35 °С.

Характеристика выпускаемых серийно стальных водяных экономайзеров контактного типа ЭК-БМ1-1, ЭК-БМ1-2 приведены ниже.

Теплопроизводительность,

МВт (Гкал/ч)

0,37 (0,32)        1,22 (1,05)

Температура газов на входе, °С, не ниже                                   140                   140

Коэффициент избытка воздуха на входе, не более                     1,5                    1,5

Количество газов, проходящих через экономайзер, кг/ч          3600               14400

Количество нагреваемой воды, т/ч                                             8-12                 30-40

Температура на выходе, °С, не ниже:

горячей воды                                                                            55-42                55-42

уходящих газов                                                                         30-40                30-40

Давление воды перед распределителем, МПа (кг/см2),

не более                                                                                         0,049                 0,049

(0,5)                    (0,5)

Аэродинамическое сопротивление при номинальной

загрузке, Па (кг/см2)                                                                     300-500          300-500

(30-50)             (30-50)

Влагосодержание уходящих газов, г/кг                                       35-55                35-55

Количество свободной углекислоты в нагретой воде, мг/л      50-70                50-70

Габариты, мм:

длина                                                                                         1488                 2443

ширина                                                                                      1028                 2030

высота                                                                                       4500                 5000

Масса, кг:

металлической части                                                               6758                 2006

керамической насадки                                                            717                   2864

общая                                                                                         1375                 4870

Характеристика контактного агрегата АЭ-0,6 приведена ниже [8].

Тепловая мощность, Мвт (Гкал/ч)............................................................... 0,6 (0,5)

Температура газов на входе и выходе, °С................................................... 140 / (40-50)

Коэффициент избытка воздуха в газах, не более....................................... 1,4

Расход газов, кг/с (кг/ч)................................................................................ 30 (10620)

Расход нагреваемой воды, т/ч...................................................................... 20

Температура нагрева воды, °С:

в контактной камере................................................................................ 45-55

водопроводной......................................................................................... 35-45

Аэродинамическое сопротивление, Па...................................................... 300

Габариты, мм:

длина......................................................................................................... 2800

ширина...................................................................................................... 2150

высота........................................................................................................ 5570

Масса, кг:

металлоконструкций............................................................................... 3100

керамической насадки............................................................................. 2200

Вода, нагретая контактным способом в ЭК-БМ1, содержит свободную углекислоту в количестве до 0,08-0,1 г/м3. При определенных условиях эта вода становится коррозионно-активной, что ставит ограничение для использования воды. Для снижения содержания свободной углекислоты установка контактных экономайзеров дополняется декарбонизационной колонкой. Основные характеристики декарбонизационных колонок приведены ниже.

                                                                                                     Тип колонки

                                                                                                     КД-06               КД-08

Производительность по воде, кг/с (т/ч)                                   4,15 (15)           8,3 (30)

Расход продуваемого воздуха на 1 т воды, м3                         0,15                  0,15

Снижение содержания свободной углекислоты, кг/м3          0,075                0,075

Аэродинамическое сопротивление, Па (мм вод.ст.)              150 (15)            150 (15)

Габариты, м:

диаметр                                                                                  0,574                0,816

длина                                                                                      0,748                0,99

высота                                                                                    1,28                  1,434

Масса, кг:

металлической части                                                            95,6                  136,6

керамических колец                                                             70                     140

общая                                                                                      165,5                276,6

Установка декарбонизатаров ведет к снижению температуры нагрева воды на 1,5-2 °С. Поэтому для снижения потерь теплоты в декарбонизационную колонку рекомендуется подавать теплый воздух для продувки из верхней зоны котельной.

При повышенных требованиях к нагреваемой воде устанавливается промежуточный теплообменник в контур циркуляции орошающей воды. При этом соотношение расходов воды циркуляционного контура контактного экономайзера и воды, поступающей к потребителю, принимается равным 1,2-1,4.

Конструкция экономайзерного агрегата АЭ-06, разработанного Киевским НИИ Санитарной техники и оборудования зданий, обеспечивает нагрев воды до 40-45 °С. Конструкция агрегата содержит поверхностный водоподогреватель, предназначенный для подогрева воды, декарбонизатор для снижения содержания углекислоты в конденсате водяного пара, две обогревательные камеры для предотвращения замерзания воды промежуточного циркуляционного контура в случае выключения агрегата, особенно при установке его на открытом воздухе.

Ожидаемый годовой экономический эффект от использования контактных аппаратов составляет, тыс. руб.: для ЭК-БМ1-1 около 8-10, ЭК-БМ1-2 около 27-30, АЭ-06 - 12-13*.

* Величины экономического эффекта приведены в ценах 1989 г.

Схема установки контактных экономайзеров предпочтительна автономная для каждого котлоагрегата, что предотвращает присосы холодного воздуха в экономайзер при отключении одного из котлов. Групповая схема подключения может быть принята только в существующих котельных как вынужденное решение.

Преимущественные области применения контактных экономайзеров: нагрев исходной воды, подпиточной воды для тепловых сетей, питательной воды для котлов, нагрев воды для систем горячего водоснабжения, а также подогрев воздуха для отопления и кондиционирования.

Распространенным видом контактных теплообменников скрубберного типа являются насадочные аппараты, в которых в качестве насадки преимущественно используют кольца Рашига.

Приведенные типы контактных экономайзеров устанавливают за котлами мощностью свыше 2,5 т/ч (1,5 Гкал/ч). Для котлов малой производительности контактные экономайзеры могут быть изготовлены в индивидуальном порядке в качестве нестандартного оборудования либо могут быть использованы блоки экономайзера ЭКМ1 для установки в качестве группового экономайзера.

Одним из преимуществ использования скрытой теплоты парообразования дымовых газов является возможность использования получаемого конденсата, т.е. экономия воды.

Количество сконденсировавшейся из дымовых газов воды можно определить по соотношению:

Ск = Gсг B (dг - dг),                                                            (2)

где Gг - количество конденсата, кг/ч; Gсг - расход сухих дымовых газов, кг/м3; B - расход топлива на котел, м3/ч; dг, dг - влагосодержание дымовых газов соответственно на входе и выходе из утилизатора, кг/кг с. (сухих газов).

Анализ воды на действующих контактных экономайзерах показал, что содержание свободного углекислого газа на выходе из контактной камеры может достигать 100 мг/л при температуре воды 30-50 °С [2]. В связи с этим уменьшается концентрация водородных ионов, в результате рН становится ниже 7, а вода приобретает ярко выраженные кислотные свойства. Для использования конденсата в качестве питательной воды необходима установка декарбонизатора. Опасность коррозионной активности воды при пониженном значении рН существует, особенно при малой жесткости и небольшой бикарбонатной щелочности исходной воды.

Использование воды, находящейся в непосредственном контакте с дымовыми газами, для бытовых целей запрещено, поэтому необходимо использование промежуточного теплообменника.

Схема утилизации теплоты дымовых газов за котлом паропроизводительностью 1 т/ч представлена на рис. 2. Для подачи газов через экономайзер за ним установлен вентилятор Ц13-50 № 3. Для возможности переключения дымовых газов помимо установки имеются переключающие заслонки. Применение такой установки позволило повысить КПД с 82 до 93 % (по высшей теплоте сгорания). Температура уходящих газов снижалась с 180-160 до 45-38 °С, подогрев воды в теплообменнике производился от 10 до 34-30 °С. Годовой экономический эффект составил 7 тыс. руб. [4].

Рис. 2. Схема утилизации дымовых газов парового котла:

1 - котел; 2 - контактный экономайзер; 3 - вентилятор; 4 - теплообменник; 5 - бак орошающей воды; 6 - бак горячего водоснабжения

Схема котельной с контактным теплоутилизатором без водоумягчительной установки, разработанная Киевским НИИ Санитарной техники и оборудования зданий [1], представлена на рис. 3.

Практическое применение такой схемы в котельной Челябинского завода оргстекла показало, что в результате конденсационных процессов в утилизаторах может быть получено количество конденсата, способное полностью возместить потребность котельной, при этом она может эксплуатироваться без химводоочистки (при возврате из системы теплоснабжения 66 % конденсата).

Рис. 3. Схема котельной с контактным теплоутилизатором без водоумягчительной установки:

1 - котел; 2 - контактный экономайзер; 3 - деаэратор; 4 - декарбонизатор; 5 - теплообменник горячего водоснабжения; 6 - бак; 7 - промежуточный теплообменник; 8 - теплообменник; 9 - система теплоснабжения; 10 - воздухоподогреватель

Нагретая в экономайзере вода стекает в декарбонизатор и с помощью насоса направляется в промежуточный теплообменник системы горячего водоснабжения, а затем возвращается снова в экономайзер [2]. Часть воды подается в бак, оттуда насосом - в деаэратор и идет на подпитку системы теплоснабжения. Вода, циркулирующая в воздухоподогревателе 10, смешивается с водопроводной водой, часть которой возмещает ее потери за счет испарения в воздухоподогревателе, а ее остаток удаляется в канализацию. В теплообменнике 8 вода, поступившая из подогревателя 10, нагревается и вновь поступает в этот подогреватель.

Эксплуатация такой установки позволила снизить на 10 % удельные капитальные вложения и на 15 % себестоимость вырабатываемой тепловой энергии.

Максимальная температура, до которой можно нагреть воду при прямом теплообмене в контактном теплообменнике, обычно составляет 50-70 °С. Для существенного повышения температуры нагреваемой жидкости возможно использование в качестве промежуточного теплоносителя жидкостей с более высокой температурой кипения (следовательно, и с более высокой температурой «мокрого термометра»). В качестве такого теплоносителя могут быть использованы высококипящие органические теплоносители, минеральные масла, которые нагреют воду в промежуточном теплообменнике. При этом необходима за контактным экономайзером по ходу газа установка водяного экономайзера, охлаждающего дополнительно уходящие газы до температур, исключающих существование в уходящих газах паров промежуточного теплоносителя и одновременно утилизирующего дополнительное количество теплоты.

Латгипропромом и Рижским политехническим институтом разработана конструкция контактных орошаемых теплообменников с активной насадкой (КТАН) [13].

КТАН является теплообменником рекуперативно-смесительного типа. В нем организуются автономные потоки воды, нагреваемой при непосредственном контакте с дымовыми газами и чистой воды, подогреваемой в поверхностном теплообменнике. Поток орошаемой воды интенсифицирует процесс теплопередачу от дымовых газов к чистой воде в поверхностном теплообменнике.

Температура воды на выходе из насадки ограничивается температурой мокрого термометра дымовых газов, которая составляет 55-65 °С. Поэтому температура воды на выходе из активной насадки принимается равной 50 °С.

Разработан ряд типов КТАНов для газифицированных котлов, теплопроизводительность которых 0,23-116,3 МВт (0,2-100 Гкал/ч).

Основные типы и характеристики КТАНов, марки котлоагрегатов, для которых рекомендуется установка утилизаторов и рекомендации по комплектации КТАНами котлов для различных условий работ котельных приведены в табл. 1-3.

Особенностью схемы с применением КТАНов по сравнению с традиционной схемой скруббера с промежуточным теплообменником является то, что процесс теплообмена газа с орошающей и нагреваемой водой происходит одновременно на одной поверхности теплообмена. Практически невозможно в КТАНе осуществить противоток для обоих теплоносителей. Соблюдается противоток только при теплообмене между орошающей водой и нагреваемой, а между газом и орошающей водой существует прямоток, что снижает интенсивность тепломассообмена.

Достоинством КТАН является большая интенсивность процессов тепло- и массообмена газов и орошающей воды за счет повышения (до 6-8 м/с) скорости газов, а также компактность, поскольку все теплообменные поверхности сосредоточены на одном месте. Однако в эксплуатации КТАН не очень удобен, так как ремонт трубчатых поверхностей требует остановки котла.

Следует отмстить, что если для традиционной схемы обычного контактного экономайзера с вынесенным теплообменником имеется большое количество экспериментальных данных, то КТАНы проверены недостаточно в условиях практической эксплуатации и, видимо, должны быть внесены коррективы в их характеристики по мере накопления данных.

Если при установке КТАНа на номинальную теплопроизводительность тепловая нагрузка потребителей ниже номинальной, следует изменять количество дымовых газов, перепускаемых по обводному газоходу. При этом изменяется температура дымовых газов за КТАНом, а теплопроизводительность КТАНа остается неизменной.

Если требуемая поверхность теплообмена больше фактической поверхности КТАНа, коэффициент обвода увеличивают, увеличивая расход дымовых газов через КТАН и уменьшая расчетную поверхность нагрева. В случае же, когда расчетная поверхность меньше фактической, уменьшают коэффициент обвода, что приводит к уменьшению расхода дымовых газов через КТАН и увеличению расчетной поверхности нагрева.

Таблица 1

Основные технические характеристики типового ряда КТАНов-утилизаторов

Показатель

Тип котлоагрегатов

Е-0,2/9Г; Е-0,4-9Г; (МЗК-8Г); «Факел»; 0,63ГМ

Е-1-9Г-1; МЗК-Г-1; «Братск-1Г»; «Факел-Г»

Е-2,5-0,9ГМ; ДКВР-2,5-13; ДЕ-4-14ГМ

КВГМ-4; ДКВР-4-13; ДЕ-6,5-14ГМ

КВГМ-6,5; ДКВР-6,5-13; ДЕ-10-14ГМ

КВГМ-10; ДКВР-10-13; ДЕ-16-14ГМ

Е-35-40ГМ; КВГМ-20; ДКВР-20-13; ДЕ-25-14ГМ

КВГМ-30; ТВГМ-30; ДКВР-35-13; Е-50-14-40ГМ

КВГМ-50; ПТВМ-30; ПТВМ-50; Е-75-14/40ГМ; Е-100-14/24

КВГМ-100; ПТВМ-100; Е-160-24

Марка

КТАН-0,05УГ

КТАН-0,1УГ

КТАН-0,25УГ

КТАН-0,5УГ

КТАН-0,8УГ

КТАН-1,5УГ

КТАН-2,3УГ

КТАН-4,5УГ

КТАН-6УГ

КТАН-12УГ

Теплопроизводительность, МВт

0,006-0,06

0,01-0,1

0,03-0,3

0,06-0,6

0,1-1

0,2-1,7

0,3-3

0,5-6

0,7-7

1,4-14

Расход нагреваемой воды (номинальный), т/ч

1

2,5

6

12

20

30

75

140

150

130

Температура нагреваемой воды, °С:

 

 

 

 

 

 

 

 

 

 

на входе

5-20

5-20

5-20

5-20

5-20

5-20

5-20

5-20

5-20

5-20

на выходе

45-50

45-50

45-50

45-50

45-50

45-50

45-50

45-50

45-50

45-50

Таблица 2

Рекомендации по комплектации КТАНами котлов для различных условий работы котельных

Условие работы котельной

Марка котлов

Е-2,5-0,9ГМ; ДКВР-2,5-13; ДЕ-4-14ГМ

КВГМ-4; ДКВР 4-13; ДЕ-6,5-14ГМ

КВГМ-6,5; ДКВР-6,5-13; ДЕ-10-14ГМ

КВГМ-10; ДКВР-10-13; ДЕ-16-14ГМ

Е-25-40ГМ; КВГМ-20; ДКВР-20-13; ДЕ-25-14ГМ

КВГМ-30; ТВГМ-30; ДКВР-35-13; Е-50-14/40ГМ

КВГМ-50; ПТКВМ-30; ПТБМ-50; Е-75-14/40ГМ; Е-100-14/24

КВГМ-100; ДТВМ-100; Е-150-24

1

2

3

4

5

6

7

8

9

Водогрейные или пароводогрейные котельные теплоснабжения или с централизованным горячим водоснабжением из котельной:

 

 

 

 

 

 

 

 

в открытой системе

 

 

 

 

 

 

 

 

при Qпар / Qв = 2,5 паровые котельные с возвратом конденсата менее 20-25 %

КТАН-0,25УГ

КТАН-0,5УГ

КТАН-0,8УГ

КТАН-1,5УГ

КТАН-2,3УГ

КТАН-4,5УГ

КТАН-6УГ

КТАН-12УГ

в закрытой системе

 

 

 

 

 

 

 

 

при Qпар / Qв > 2,5 паровые котельные с возвратом конденсата более 25 %

КТАН-0,1УГ

КТАН-0,25УГ

КТАН-0,5УГ

КТАН-0,8УГ

КТАН-1,5УГ

КТАН-2,3УГ

КТАН-4,5УГ

КТАН-6УГ

Таблица 3

Технические характеристики КТАНов-утилизаторов

Показатель

 

Марка КТАНа

КТАН-12УГ

КТАН-6УГ

КТАН-4,5УГ

КТАН-2,3УГ

КТАН-1,5УГ

КТАН-0,8УГ

КТАН-0,5УГ

КТАН-0,25УГ

КТАН-0,1УГ

КТАН-0,05УГ

1

2

3

4

5

6

7

8

9

10

11

Теплопроизводительность, МВт (Гкал/ч)

12

(10,32)

6

(5,16)

4,5

(3,87)

2,3

(1,98)

1,5

(1,29)

0,8

(0,68)

0,5

(0,43)

0,25

(0,21)

0,1

(0,085)

0,05

(0,043)

Расход дымовых газов, нм3

-35,9

17,96

13,44

6,68

4,5

2,2

1,38

0,69

0,23

0,13

Температура нагреваемой воды, ºС:

 

 

 

 

 

 

 

 

 

 

на входе в КТАН

5

5

5

5

5

5

5

5

5

5

на выходе из КТАНа

50

50

50

50

50

50

50

50

50

50

Температура дымовых газов, ºС:

 

 

 

 

 

 

 

 

 

 

на входе в КТАН

140

140

140

140

140

150

160

160

250

250

на выходе из КТАНа

40

40

40

40

40

40

40

40

40

40

Расход орошающей воды, кг/с (м3/ч)

18,8

(67,7)

9,4

(33,8)

5,7

(24,1)

4,5

(16,2)

3,5

(12,5)

1,75

(6,3)

1,2

(4,3)

0,6

(2,16)

0,17

(0,6)

0,08

(0,3)

Расход нагреваемой воды, кг/с (м3/ч)

64,2

(231)

32,1

(115)

23,9

(85,5)

12,3

(44)

8

(28,8)

4,3

(15,5)

2,7

(9,6)

1,35

(4,9)

0,56

(2)

0,28

(1)

Размеры КТАНа, м:

 

 

 

 

 

 

 

 

 

 

длина

3,785

3,785

3,785

3,785

2,662

2,57

1,704

1,305

0,92

0,79

ширина

5,792

3,478

2,404

1,824

1,75

0,994

1,344

1,344

0,48

0,48

высота

5,52

5,52

5,24

4,74

4,158

4,113

3,3

2,595

2,194

1,882

Проходные сечения для теплоносителей, м2:

 

 

 

 

 

 

 

 

 

 

по воде

1,93×10-2

2,46×10-2

1,86×10-2

1,34×10-2

1,11×10-2

0,55×10-2

0,31×10-2

1,54×10-2

0,55×10-2

0,39×10-2

по газам

4,61

2,3

1,73

1,15

0,78

0,39

0,36

0,18

0,0425

0,0304

Поверхность теплообмена, м2

362

181

135,8

90,5

52,4

31,2

25

12,5

2,59

1,84

Аэродинамического сопротивление, Па

675

657

569

448

493

454

206

270

490

293

Гидравлическое сопротивление, МПа

0,025

0,025

0,024

0,013

0,009

0,01

0,018

0,019

0,022

0,01

Масса, кг

12636

6675

4990

3236

2556

1458

1141

682

170

119

В том случае, когда теплопроизводительность котла уменьшается за счет покрытия части нагрузки котла КТАНом, теплопроизводительность КТАНа оценивается по формуле

,                               (3)

где QpH - низшая теплотворная способность топлива, кДж/нм3; ηк - КПД котла; ηоб - коэффициент, учитывающий доли расхода дымовых газов, перепускаемых помимо КТАНа по обводному газоходу для подсушки дымовых газов, проходящих через КТАН; J, J - соответственно энтальпия дымовых газов перед КТАНом и после него, кДж/кг; Gсг - удельный массовый расход сухих дымовых газов, кг/нм3; В - расход топлива на котел при работе без КТАНов-утилизаторов, нм3/ч.

Если теплопроизводительность котла при установке КТАНа не меняется, тогда теплопроизводительность определяется по формуле

Qкт = Gсг (J - J)Bηоб,                                                    (4)

Теплобалансовые расчеты по возможным потребителям теплоты в паровых и водогрейных котельных, проведенные Латгипропромом, представлены в табл. 4-6.

Анализ теплобалансовых расчетов показал, что в открытых системах теплоснабжения и в системах с централизованным горячим водоснабжением КТАНы, установленные в водогрейных и пароводогрейных котельных, при соотношении нагрузок 50 % / 50 %, имеют полную загрузку при всех режимах работы. В пароводогрейных котельных в среднеотопительном режиме КТАНы имеют полную загрузку и при меньшей чем 50 %-ной доле водогрейной загрузки из общей нагрузки котельной.

Таблица 4

Теплобалансовый расчет по возможным потребителям тепла КТАНа в водогрейной котельной при расчетном режиме

Показатель

Тип котла

КВГМ-4

КВГМ-6,5

КВГМ-10

КВГМ-20

КВГМ-30

КВГМ-50

КВГМ-100

1

2

3

4

5

6

7

8

Теплопроизводительность котла, МВт (Гкал/ч)

4,65

(4)

7,56

(6,5)

11,6

(10)

23,2

(20)

35

(30)

58

(50)

116,3

(100)

Возможная теплопроизводительность КТАН, МВт (Гкал/ч)

0,54

(0,493)

0,94

(0,805)

1,64

(1,41)

3,33

(2,86)

4,93

(4,24)

6,7

(5,76)

13,4

(11,52)

Потребители котельной для закрытой системы теплоснабжения

Расход теплоты на подогрев подпиточной воды

 

 

 

 

 

 

 

МВт (Гкал/ч)

0,09

(0,08)

0,15

(0,13)

0,23

(0,02)

0,46

(0,4)

0,67

(0,6)

1,2

(1)

2,3

(2)

%

16

16

14

14

14

17

17

дутьевого воздуха:

 

 

 

 

 

 

 

МВт (Гкал/ч)

0,135

(0,116)

0,206

(0,117)

0,343

(0,295)

0,64

(0,55)

0,96

(0,826)

1,56

(1,34)

3

(2,57)

%

23

22

20

19

19

23

23

Итого...

 

 

 

 

 

 

 

МВт (Гкал/ч)

0,23

(0,196)

0,357

(0,307)

0,552

(0,475)

1,1

(0,95)

1,66

(1,426)

2,72

(2,34)

5,31

(4,57)

%

39

39

34

33

33

40

40

Потребители котельной для открытой системы теплоснабжения или котельной с централизованным горячим водоснабжением

Расход теплоты на подогрев подпиточной воды или воды для централизованного горячего водоснабжения:

 

 

 

 

 

 

 

МВт (Гкал/ч)

0,65

(0,558)

0,36

(0,31)

1,63

(1,4)

3,26

(2,8)

4,88

(4,2)

8,14

(7)

16,3

(14)

 

113

114

100

99

100

121

121

Таблица 5

Теплобалансовый расчет по возможным потребителям тепла КТАНа в котельной с паровой и водогрейной нагрузкой при расчетном режиме (% от возможной нагрузки КТАНа)

Расход теплоты, %

Возврат конденсата, %

Соотношение нагрузок котельной, % / %

75 / 25

50 / 50

25 / 75

В закрытой системе

На подпитку тепловых сетей и питание котлов

80

11

13

14

50

25

22

19

25

35

30

22

На подогрев дутьевого воздуха

-

20

20

20

Итого

80

31

33

34

 

50

45

42

39

 

25

55

50

36

В открытой системе

На подпитку тепловой сети

-

27

54

81

На подогрев дутьевого воздуха

-

20

20

-

На питание паровых котлов

80

9

6

3

 

50

22,5

15

7,5

 

25

34

23

11,5

Итого

80

56

80

84

 

50

69,5

89

88,5

 

25

81

97

92,5

Таблица 6

Теплобалансовый расчет по возможным потребителям теплоты КТАНа в котельной с чисто паровой нагрузкой при расчетном режиме

Показатель

Возврат конденсата, %

Тип котла ДКВР

2,5-13

4-13

6,5-13

10-13

20-13

35-13

1

2

3

4

5

6

7

8

Теплопроизводительность котла, МВт (Гкал/ч)

-

2,49

(2,14)

3,99

(3,43)

6,45

(5,57)

9,89

(8,5)

18,6

(16)

34,9

(30)

Возможная теплопроизводительность КТАНа, МВт (Гкал/ч)

-

0,32

(0,275)

0,51

(0,44)

0,81

(0,7)

1,29

(1,11)

2,27

(1,95)

5,1

(4,39)

Расход теплоты на подогрев, Гкал/ч или % от Qкт

 

 

 

 

 

 

 

питательной воды:

 

 

 

 

 

 

 

МВт (Гкал/ч)

80

0,04

(0034)

0,063

(0,054)

0,102

(0,088)

0,15

(0,13)

0,29

(0,252)

0,52

(0,45)

%

 

12

12

12,5

12

13

10

МВт (Гкал/ч)

50

0,097

(0,084)

0,157

(0,135)

0,256

(0,22)

0,387

(0,333)

0,733 (0,63)

1,31

(1,125)

%

 

30

30

30

30

32

25

МВт (Гкал)

25

0,149

(0,128)

0,235

(0,202)

0,38

(0,33)

0,59

(0,51)

1,1

(0,945)

1,97

(1,69)

%

 

45

46

47

45

48

38

дутьевого воздуха:

 

 

 

 

 

 

 

МВт (Гкал/ч)

-

0,07

(0,06)

0,11

(0,095)

0,18

(0,154)

0,27

(0,236)

0,57

(0,44)

0,98

(0,845)

%

 

22

22

22

21

22

19

Итого:

 

 

 

 

 

 

 

МВт (Гкал/ч)

60

0,11

(0,094)

0,173

(0,149)

0,281

(0,242)

0,426

(0,336)

0,805

(0,692)

1,51

(1,295)

%

 

34

34

34,5

33

35

29

МВт (Гкал/ч)

50

0,167

(0,144)

0,267

(0,23)

0,435

(0,374)

0,66

(0,569)

1,24

(1,07)

2,29

(1,97)

%

 

52

52

52

51

54

44

МВт (Гкал)

25

0,216

(0,186)

0,345

(0,297)

0,56

(0,484)

1,1

(0,946)

1,61

(1,385)

2,95

(2,535)

%

 

69

69

69

57

70

57

В водогрейных и пароводогрейных котельных, работающих в закрытых системах теплоснабжения, а также в чисто паровых котельных, КТАНы недогружены. Процент недогрузки колеблется в широких пределах в зависимости от условий работы котельной и лежит в пределах от 20 до 70 %. В подобных случаях рекомендуется устанавливать КТАНы меньшего типоразмера, соответствующие имеющейся тепловой нагрузке, или установку КТАНов не за всеми котлами с возможностью переключения с одного котла на другой.

Возможные схемы подключения КТАНов по воде представлены на рис. 4.

Принципиальная схема котельной с установленным КТАНом и контактным подогревателем дутьевого воздуха приведена на рис. 5.

Горячие газы от котла поступают в КТАНы, где подогреваются химочищенная и исходная вода в трубах активной насадки. Охлажденные дымовые газы дымососом направляются в дымовую трубу. Для исключения образования конденсата в дымовой трубе и подводящем борове имеется частичный перепуск газов по обводному газоходу. Подогретая орошающая вода из КТАНа направляется в контактный воздухоподогреватель для подогрева дутьевого воздуха котла. Охлажденная в воздухоподогревателе орошающая вода направляется насосом на орошение в КТАН. Избыток воды за счет конденсации влаги из дымовых газов направляется в сборный бак.

По требованиям водоподготовительного цикла котельной подогрев исходной воды перед водоподготовительной установкой производится до 20 °С. В нижней части насадки КТАНа осуществляется подогрев исходной воды от 5 до 20 °С, а в верхней части подогрев химочищенной воды от 20 до 50 °С.

В водогрейных котельных, работающих в закрытых системах теплоснабжения, расход теплоты на подогрев подпиточной воды составляет около 30 % от возможной теплопроизводительности КТАНа в среднеотопительном режиме и всего 14-17 % в расчетном режиме. Для этих котельных целесообразна установка воздухоподогревателей для нагрева дутьевого воздуха котлов. Подогрев в расчетном режиме дутьевого воздуха до 30 ºС позволяет использовать около 20 % теплоты, получаемой в КТАНе-утилизаторе. В среднеотопительном режиме этот процент снижается до 15 %.

Рис. 4. Схемы включения КТАНов:

а - в котельной с централизованной системой горячего водоснабжения; б - в котельной для открытой или закрытой систем теплоснабжения; в - подключение воздухоподогревателя

Рис. 5. Принципиальная схема установки КТАНов в котельной:

1 - котел; 2 - контактный воздухоподогреватель; 3 - КТАН; 4 - вентилятор; 5 - дымосос; 6 - насос орошения КТАНа; 7 - насос орошения воздухоподогревателя; 8 - бак орошающей воды; 9 - регулирующий клапан

Суммарная нагрузка КТАНов в водогрейных котельных, работающих в закрытых системах теплоснабжения, составляет 35-50 % от возможной теплопроизводительности в зависимости от режима работы котельной.

В котельных, работающих в закрытых системах теплоснабжения, часть утилизированного тепла может быть использована для подогрева обратной сетевой воды в системе теплоснабжения.

Однако в КТАНах подогрев обратной сетевой воды нецелесообразен, так как в течение отопительного сезона температура ее выше или сравнима с максимально возможной температурой подогрева воды в КТАНе.

Разработанный типоряд КТАНов позволяет использовать эту конструкцию в широком диапазоне мощностей за котлами теплопроизводительностью 0,23-116,3 МВт, но эта конструкция нуждается в дополнительной экспериментальной проверке.

Расчетные данные по годовой экономической эффективности для КТАНов, устанавливаемых за водогрейными и паровыми котлами, приведены в табл. 7. Согласно расчетам, окупаемость капиталовложений находится в пределах 1-3 лет в зависимости от мощности котла. Себестоимость тепловой энергии в 5-10 раз ниже, чем при выработке из котельной. Годовой экономический эффект выше для паровых котельных вследствие большой продолжительности работы котлов в течение года.

В последнее время значительное внимание уделяется разработке мероприятий по утилизации теплоты дымовых газов для котельных мощностью свыше 116,3 МВт. Для средних мощностей преимущественно предлагается использовать подогреватели воды и воздуха. Разработка проектно-конструкторских решений проводилась ВНИПИэнергопромом (Украинское, Бакинское отделения), МИНХ им. Г. В. Плеханова.

В рассматриваемых решениях в зависимости от конкретных условий может быть увеличен коэффициент использования топлива на 4-12 % по сравнению с установками без утилизации теплоты уходящих газов.

В основном, технические решения основаны на применении контактных охладителей уходящих газов и контактных воздухоподогревателей.

Схема утилизации теплоты уходящих дымовых газов для открытой и закрытой систем теплоснабжения с котлами КВГМ-180 приведена на рис. 6. На рис. 6, а уходящие дымовые газы охлаждаются в контактном теплообменнике 3 до 52 °С. Орошающая вода циркулирует в замкнутом контуре, отдавая теплоту в воздухоподогревателе 5 и охлаждаясь от 67,2 до 10 ºС. В калорифере 6 производится догрев воздуха на 3-5 ºС выше точки росы. С целью более полной утилизации теплоты уходящих газов часть воды из циркуляционного контура проходит через водоводяной теплообменник 4, в котором осуществляется подогрев подпиточной воды с 5 до 52 °С.

Таблица 7

Расчетная годовая экономическая эффективность установки КТАНов (данные Латгипропрома)

Тип котлоагрегатов

Капитальные вложения

Годовая экономия условного топлива, т у.т/год

Годовая выработка теплоты за счет утилизации, ГДж (Гкал)

Годовая потребность в электроэнергии, кВт · ч

Экономия топлива, тыс. руб.

Годовые эксплуатационные расходы, тыс. руб.

Себестоимость, руб/ГДж (руб/Гкал)

Годовой экономический эффект, тыс. руб.

Окупаемость, лет

на электроэнергию

на амортизацию

на текущий ремонт

Всего

1

2

3

4

5

6

7

8

9

10

11

12

13

Водогрейные котлы

КВГМ-4-150

8,58

190

5573

(1330)

17250

4,6

0,52

0,73

0,15

1,4

0,25

(1,05)

1,91

2,7

КВГМ-6,5-150

10,28

260

7626

(1820)

25000

6,29

0,75

0,87

0,17

1,79

0,23

(0,98)

2,96

2,3

КВГМ-10-150

13,5

415

12172

(2905)

31464

10,04

0,94

1,15

0,23

2,32

0,19

(0,79)

5,7

1,7

КВГМ-20-150

16,08

765

22437

(5355)

50430

18,51

1,51

1,87

0,27

31,5

0,14

(0,58)

12,95

1

КВГМ-30-150

19,63

1290

37836

(9030)

84125

31,21

2,52

1,67

0,33

4,52

0,12

(0,5)

23,75

0,7

КВГМ-50-150

29,23

2300

67459

(16100)

101896

55,65

3,06

2,48

0,50

6,04

0,09

(0,37)

45,23

0,6

КВГМ-100-150

66,25

4560

133745

(31920)

183260

110,33

5,5

5,63

1,13

12,26

0,09

(0,38)

88,13

8,7

Паровые котлы

ДЕ-4-14ГМ

6,15

162,8

4775

(1139,6)

9840

3,94

0,29

0,52

0,1

0,91

0,19

(0,79)

2,11

1,6

ДЕ-6,5-14ГМ

6,51

425,1

12468

(2975,7)

29040

10,29

0,87

0,55

0,11

1,53

0,12

(0,51)

7,78

0,7

ДЕ-10-14ГМ

9,08

540

15838

(3780)

31073

13,07

0,93

0,77

0,15

1,85

0,11

(0,48)

9,86

0,8

ДЕ-16-14ГМ

11,92

1002,8

29412

(7019,6)

37470

24,26

1,12

1,01

0,2

2,33

0,08

(0,33)

20,14

0,5

ДЕ-25-14ГМ

15,01

1080

31676

(7560)

51735

26,13

1,55

1,28

0,26

3,09

0,09

(0,4)

20,79

0,6

Рис. 6. Схема утилизации теплоты уходящих газов:

а - для закрытой тепловой сети; б - для открытой тепловой сети; в - для открытой тепловой сети с использованием промежуточного теплообменника; 1 - водогрейный котел; 2 - оборудование химводоочистки и деаэрации тепловой сети; 3 - контактный охладитель газов; 4 - теплообменник подогрева подпиточной воды; 5 - контактный воздухоподогреватель; 6 - калорифер догрева воздуха; 7 - насос подпиточной воды

В случае работы установки без теплообменника 4 сырая вода после скруббера-охладителя газов 3 отбирается из циркуляционного контура и подается непосредственно на химводоочистку (ХВО) и деаэрацию 2 тепловой сети.

В летнем режиме воздухоподогреватель отключается вместе с циркуляицонным контуром и насосом циркуляции, а вся подпиточная вода после охлаждения газов из скруббера 3 подается на ХВО и деаэрацию.

При максимальной нагрузке, когда выпаривается вода из циркуляционного контура, последний пополняется сырой водой, а при средних нагрузках, когда происходит конденсация водяных паров из продуктов сгорания, они используются для подпитки тепловой сети, что составляет около 6,75 % от расхода подпиточной воды.

Утилизация теплоты уходящих газов котла, работающего на открытую систему теплоснабжения, предусматривает подогрев только подпиточной воды.

Схема утилизации теплоты дымовых газов для открытой тепловой сети показана на рис. 6, б, где нагрев подпиточной воды осуществляется непосредственно в скруббере и при температуре около 60 ºС подается в ХВО и деаэрацию тепловой сети.

При необходимости в циркуляционный контур может быть включен промежуточный теплообменник, в котором нагрев подпиточной воды будет производиться с помощью орошающей воды, т.е. подпиточная вода не будет иметь прямого контакта с продуктами сгорания (рис. 6, в).

В схеме для открытой системы теплоснабжения вся подпиточная вода подогревается в контактном охладителе газов до температуры около 30 % и подается на ХВО и деаэрацию. Включение в контур утилизации воздухоподогревателя для открытой тепловой сети нецелесообразно вследствие наличия большого количества воды, достаточного для эффективного охлаждения продуктов сгорания. В случае закрытой системы теплоснабжения ввиду недостаточного количества охлаждающей воды в контур утилизации включен воздухоподогреватель. Опыт работы системы теплоснабжения показал, что при обработке воды на фильтрах в катионитном КУ-2 и вакуумной деаэрацией практически полностью уходят из воды продукты неполного сгорания топлива, растворенные в процессе прохождения воды и газа в контактном экономайзере.

Для снижения коррозионных повреждений в дымовой трубе часть газов по байпасной линии перепускается мимо охладителя газов.

Утилизационное оборудование разрабатывалось как нестандартное применительно к конкретным объектам.

Технико-экономические показатели системы приведены в табл. 8.

Таблица 8

Технико-экономические показатели систем утилизации теплоты уходящих газов котла КВГМ-180 [11]

Система утилизации теплоты уходящих газов

Среднегодовая экономия газа, %

Годовой экономический эффект от применения утилизации, руб/год

Подогрев воздуха и подпиточной воды (для закрытой системы теплоснабжения)

5,2

224,19

Подогрев подпиточной воды (для открытой системы теплоснабжения):

 

 

в промежуточном теплообменнике

11,4

529,61

непосредственно в охладителе газов

12,3

583,78

Недостатком использования контактных теплообменников является наличие подогретой орошающей воды, насыщенной углекислотой, нагрев воздуха в отдельном контактном воздухоподогревателе к подаче сильно увлажненного воздуха в топку котла, что приводит к снижению температуры дымовых газов в топке и снижению производительности котла. Для устранения этих недостатков предложены схемы утилизации теплоты, в которые включены контактные подогреватели со встроенными декарбонизаторами.

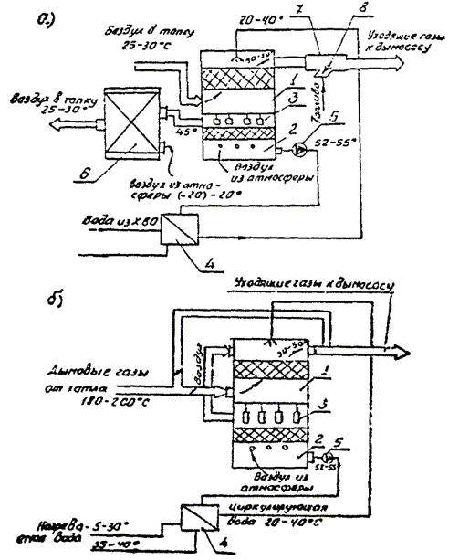
Принципиальная схема утилизации теплоты дымовых газов, с применением поверхностного воздухоподогревателя представлена на рис. 7, а. Охлаждающая вода подается сверху в контактный теплообменник навстречу восходящему потоку газов. Нагреваясь, вода поступает в декарбонизатор 2 через гидрозатворы 3. В декарбонизаторе вода продувается воздухом и подастся в теплообменник 4, где нагревает сырую или химическую очищенную воду, затем снова по замкнутому контуру направляется в контактный теплообменник. Воздух в декарбонизаторе 2 нагревается, увлажняется и подается в поверхностный воздухоподогреватель, где за счет конденсации паров нагревает воздух, поступающий на атмосферы, при этом сам осушается. После смещения оба потока воздуха подаются в топку котла.

Подобная установка имеет сменное аппаратурное оформление и ее использование целесообразно с целью увеличения тепловой мощности котельной. В этом случае необходимо использовать весь объем газов, а для предотвращения конденсации водяных паров следует смешивать их с высокотемпературными дымовыми газами, образованными при сжигании дополнительного количества топлива. Для этой цели перед дымососом предусмотрена смесительная камера 7 в дымоходе с патрубком, в котором расположены горелки 8, благодаря которым осуществляется подогрев уходящих газов за 25-50 ºС.

В том случае, когда утилизация теплоты дымовых газов имеет целью снижение расхода топлива, может быть использована установка, принципиальная схема которой приведена на рис. 7, б.

Увлажненный воздух засасывается из декарбонизатора в контактный теплообменник и выбрасывается вместе с дымовыми газами через дымовую трубу в атмосферу, а для предотвращения конденсации водяных паров производится байпасирование дымовых газов.

Рис. 7. Схема утилизации теплоты дымовых газов котла КВГМ-180:

а - утилизация с воздухоподогревателем; б - утилизация с обводным газоходом; 1 - контактный подогреватель циркулирующей воды; 2 - декарбонизатор; 3 - гидрозатворы; 4 - теплообменник; 5 - насос; 6 - воздухоподогреватель; 7 - смесительный газоход; 8 - горелка

Имеются разработки контактно-декарбонизационного экономайзера пропускной способностью по дымовым газам 70-85 и 140-165 тыс. нм3/ч.

Для котлов теплопроизводительностью свыше 100 Гкал/ч конструкции теплоутилизаторов дымовых газов находятся на стадии опытных разработок и дальнейшее развитие могут получить только при стимулировании за экономию топливно-экономических ресурсов.

При всей привлекательности использования контактных теплообменников при утилизации теплоты уходящих газов котлов основной недостаток установок - поглощение водой из продуктов сгорания углекислоты и кислорода и приобретение ею таким образом коррозионно-агрессивных свойств - сдерживает широкое применение таких теплообменников. Для нормальной работы установок необходимо проводить декарбонизацию, деаэрацию воды, что в ряде случаев затрудняет использование орошающей воды.

В связи с этим внимание обращается на использование конденсационных поверхностей нагрева. Поверхность теплообмена конденсационных поверхностей нагрева значительно более развита по сравнению с обычными экономайзерами. Конденсационные теплообменники имеют также высокий КПД, как и контактные теплообменники, но являются более металлоемкими конструкциями. В то же время отсутствие непосредственного контакта между продуктами сгорания и нагреваемой водой делает их предпочтительными с точки зрения качества подогреваемой воды.

В настоящее время для целей утилизации теплоты в процессах вентиляции и кондиционирования разработаны и выпускаются промышленностью биметаллические теплообменники, представляющие собой ряд труб с насаженными на них ребрами из сплава алюминия. Алюминий имеет высокую теплопроизводительность и антикоррозионные свойства, что позволяет использовать его в конденсационных процессах теплообмена.

Для обеспечения бескоррозионной работы газоходов и дымовой трубы необходимо обеспечить подсушку уходящих дымовых газов. Для этой цели часть дымовых газов по байпасному газоходу перепускается мимо утилизаторов.

Схема с подогревом дымовых газов после утилизатора приведена на рис. 8, а.

Дымовые газы проходят через утилизаторы, в которых охлаждаются омагниченной водой со 190 до 40 °С. При этом по расчету конденсируется около 1,13 кг/м3 газа. Конденсат отводится из газохода через гидрозатвор. Около 20 % капель конденсата будет унесено потоком газа. По ходу дымовых газов устанавливается калорифер II ступени, осуществляющий подогрев дымовых газов до 70 °С, т.е. выше точки росы для предотвращения процессов конденсации в дымовой трубе и подводящих газоходах.

Греющей средой является вода внутреннего контура циркуляции.

Схема утилизации теплоты дымовых газов с частичным перепуском дымовых газов по байпасу приведена на рис. 8, б.

По схеме часть потока газов (примерно 70 %) проходит через утилизаторы, где охлаждается до температуры 40 ºС, т.е. «ниже точки росы», при этом происходит конденсация части водяных паров, содержащихся в дымовых газах. Около 30 % газов перепускается по обводному газоходу и, смешиваясь с газом, прошедшим через утилизатор, охлаждается до 70-80 ºС.

Конденсат, образовавшийся в теплоутилизаторе, отводится через гидрозатвор в бак. Поскольку конденсат является обессоленной водой, в отопительный период его используют для приготовления подпиточной воды, летом сбрасывают в продувочный колодец, так как использование его на виды потребления, где требуется вода питьевого качества, недопустимо.

Количество конденсата может достигать около 1 кг/м3 газа, что создает дополнительный резерв для экономии воды в котельных.

Технические характеристики конденсационных теплоутилизаторов, которые могут применяться в котельных для нагрева воды [11], приведены в табл. 9, 10.

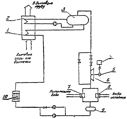
Рис. 3. Схема подключения конденсационных утилизаторов теплоты дымовых газов:

а - с подогревом газов; б - с байпасированием газов; 1 - котел; 2 - конденсационный утилизатор; 3 - теплообменник; 4 - бак для сбора конденсата; 5 - бак системы горячего водоснабжения

Таблица 9

Техническая характеристика калориферов КСК3-0ЛЗА и КСК42хЛЗА

Марка калорифера

Площадь поверхности теплообмена со стороны воздуха, м2

Площадь фронтального сечения, м2

Площадь сечения для прохода теплоносителя, м2

Площадь сечения патрубка, м2

Площадь сечения распределительно-сборных коллекторов, м2

Число ходов для движения теплоносителя

Длина теплопередающей трубки, м

Масса, кг, не более

КСК3-6-02

13,26

0,267

0,000846

0,001006

0,00172

6

0,53

38

КСК3-7-02

16,34

0,329

0,000846

0,001006

0,00172

6

0,655

44

КСК3-8-02

19,42

0,392

0,000846

0,001006

0,00172

6

0,78

50

КСК3-9-02

22,5

0,455

0,000846

0,001006

0,00172

6

0,905

56

КСК3-10-02

28,66

0,581

0,000846

0,001006

0,00172

6

1,155

68

КСК3-11-02

83,12

1,66

0,002576

0,002205

0,00172

6

1,655

176

КСК3-12-02

125,27

2,488

0,003881

0,002205

0,00172

6

1,655

259

КСК4-6-02

17,42

0,267

0,001112

0,001006

0,0022

6

0,53

45

КСК4-7-02

21,47

0,329

0,001112

0,001006

0,0022

6

0,655

53

КСК4-8-02

25,52

0,392

0,001112

0,001006

0,0022

6

0,78

61

КСК4-9-02

29,57

0,455

0,001112

0,001006

0,0022

6

0,905

68

КСК4-10-02

37,66

0,581

0,001112

0,001006

0,0022

6

1,155

85

КСК4-11-02

110,05

1,66

0,00341

0,002205

0,0022

6

1,655

223

КСК4-12-02

166,25

2,488

0,005151

0,002205

0,0022

6

1,655

331

Кафедрой теплогазоснабжения ВЗПИ предложены решения по применению конденсационных утилизаторов для утилизации теплоты продуктов сгорания и нагрева подпиточной воды для централизованного горячего водоснабжения. Схема с непосредственным нагревом сырой воды в конденсационном теплообменнике приведена на рис. 9, а. Вода нагревается до 50-55 °С, затем окончательно догревается в водоводяном теплообменнике, откуда поступает в бак-аккумулятор и далее в систему горячего водоснабжения. Подпиточная сырая вода нагревается в первой секции калорифера до 30-35 °С, затем направляется на ХВО, после которой умягченная вода догревается во второй секции калорифера.

Схема подогрева обратной воды, предварительно охлажденной в водоводяном теплообменнике 5, представлена на рис. 9, б. В этом случае тепловой эффект ниже, чем в случае подогрева воды на горячее водоснабжение, так как температура обратной воды выше, что снижает конденсационный эффект.

Горьковский ГНИСантехпроект рекомендует для утилизации теплоты уходящих газов использовать рекуперативные теплоутилизаторы типа ТП-Т1РК. В котельных малой мощности, работающих на природном газе, теплоту дымовых газов рекомендуется использовать на нагрев исходной воды при наличии централизованного горячего водоснабжения, на подогрев обратной сетевой воды - в случае отсутствия централизованного горячего водоснабжения.

При сбрасывании кислого конденсата в канализацию необходимо предусмотреть меры по его нейтрализации или разбавлению для предотвращения коррозии канализационных трубопроводов.

Рис. 9. Схема подогрева:

а - воды для системы горячего водоснабжения; б - обратной воды; 1 - котел; 2 - калориферы-утилизаторы; 3 - теплообменник догрева воды; 4 - бак системы горячего водоснабжения; 5 - теплообменник подогрева воды

Таблица 10

Технические характеристики рекуперативных теплоутилизаторов для систем с промежуточным теплоносителем

Показатель

Типоразмер

ТП05-Т1РК03

ТП05-Т1РК04

ТП161РК03

ТП161РК04

ТП251РК03

ТП251РК04

Производительность по воздуху, тыс. м3

5

5

16

16

25

25

Число ходов по воздуху

3

4

3

4

3

4

Площадь теплообменной поверхности, м2

23,45

30,82

68,01

90,04

102,5

136,02

Площадь фронтального сечения, м2

0,585

0,585

1,668

1,668

2,499

2,499

Число ходов по теплоносителю

2

2

2

2

2

2

Площадь сечения хода, м2

0,00261

0,00348

0,00522

0,00696

0,00783

0,01044

Площадь сечения коллектора, м2

0,0031

0,0036

0,0031

0,0036

0,0031

0,0036

Площадь сечения патрубка, м2

0,00221

0,00358

0,00358

0,00521

0,00521

0,00521

Масса, кг

76,3

98,3

195,3

251

286

370

Габариты, мм:

 

 

 

 

 

 

длина

1227

1227

1727

1727

1727

1727

ширина

180

180

180

180

180

180

высота

575

575

1075

1075

1575

1575

Применение конденсационных утилизаторов теплоты для котельных позволяет повысить КПД котельных на 6-8 %, снизить себестоимость тепловой энергии на 9-11 %.

Расчеты годовой экономической эффективности для водогрейных котлов КВГМ приведены в табл. 11. В основу расчета положены условия, для которых рассчитывались данные для теплообменников КТАН (см. табл. 7).

Таблица 11

Расчетная годовая экономическая эффективность установки калориферов КСК

Тип котлоагрегата

Капитальные вложения, тыс. руб.

Годовая экономия условного топлива, т у.т/год

Годовая выработка теплоты за счет утилизации, ГДж (Гкал)

Годовая потребность в электроэнергии, кВт · ч

Экономия топлива, тыс. руб.

Годовые эксплуатационные расходы, руб.

Себестоимость, руб/ГДж (руб/Гкал)

Годовой экономический эффект, тыс. руб.

Окупаемость, лет

на электроэнергию

на амортизацию и текущий ремонт

Всего

КВГМ-4-150

426,7

182

4971

(1186,5)

1690

4,3

50,7

43,5

94,2

0,02

(0,08)

4,19

0,1

КВГМ-6,5-150

621,3

305,9

8462

(2019,5)

2964

7,3

88,9

63,4

152,3

0,02

(0,08)

7,06

0,09

КВГМ-10-150

1281,7

482,3

13037

(3111,5)

2552

11,5

76,6

130,7

207,3

0,02

(0,07)

11,13

0,11

КВГМ-20-150

2485,5

1036

28010

(6685)

4494

24,8

134,8

253,5

388,3

0,015

(0,06)

23,99

0,1

КВГМ-30-150

3334,6

1595,3

42235

(10080)

2380

38,1

71,4

340

482,8

0,012

(0,05)

37,13

0,09

КВГМ-50-150

3334,6

2695

74352

(17745)

6370

64,4

191,1

340

531,1

0,007

(0,03)

63,34

0,05

КВГМ-100-150

10001

4403

119813

(28595)

73605

105,2

2208,2

1000

3208,2

0,03

(0,11)

100,51

0,1

При проведении расчетов проводился выбор утилизаторов типа КСК с учетом минимальных затрат электроэнергии с целью использования установленной мощности электродвигателей насосов и дымососов.

В расчетах стоимость электроэнергии принята 30 руб. за 1000 кВт · ч, газа - 29,38 руб. за 1000 нм3. Стоимость дополнительного строительного объема для установки утилизаторов составляла около 3 % капиталовложений в утилизаторы.

Сравнение расчетных данных, полученных для конденсационных теплообменников типа КСК (см. табл. 11) и контактных КТАН (см. табл. 7), показывает, что при меньших капитальных затратах и потребности в дополнительной электроэнергии практически можно получить такую же экономию топлива при установке калориферов КСК, что и для КТАНов. При этом себестоимость тепловой энергии, получаемой в котлоагрегате, значительно ниже, а срок окупаемости составляет около 2 мес, тогда как для КТАНов - 2 года. Действительные показатели могут быть уточнены в процессе эксплуатации теплоутилизаторов как калориферов КСК, так и контактных типа КТАН.

В качестве перспективных утилизаторов теплоты для котельных малой мощности, работающих на закрытую систему теплоснабжения, могут быть рассмотрены разработанные ЦНИИЭП инженерного оборудования поверхностные теплоутилизаторы типа ТКТ, предназначенные для тепловой обработки воздуха. Конструкция теплоутилизатора предусматривает работу в конденсационном режиме, что существенно увеличивает коэффициент теплопередачи. Рекомендуемая область применения теплоутилизаторов находится в пределах пропускной способности от 2,5 до 125 тыс. м3. Наиболее эффективно их использование при повышенной влажности удаляемого газа и повышенных температурах наружного воздуха. Теплоутилизаторы типа ТКТ могут быть выполнены из антикоррозионных материалов и со стеклянными трубками. Теплоутилизаторы с алюминиевыми трубками, имеющими внутреннее оребрение с пропускной способностью 10-160 тыс. м3, изготавливаются объединением Моссантехпромом.

В теплоутилизаторах наружный воздух движется внутри труб, дымовые газы - в межтрубном пространстве по перекрестной схеме. Разработчики гарантируют надежную работу теплоутилизаторов до температур наружного воздуха -30 °С. Теплоутилизаторы оборудованы поддоном для сбора и отвода сконденсировавшихся водяных паров и байпасным каналом по тракту наружного воздуха. При возникновении обледенения (о чем свидетельствуют отрицательные температуры поверхности труб) по команде реле давления или термопары открывается заслонка байпасного канала, что приводит к сокращению расхода наружного воздуха по трубам. В результате снижения скорости движения наружного воздуха в трубках теплоутилизатора повышается температура поверхности труб и наледь ликвидируется.

Применять теплоутилизаторы типа ТКТ рекомендуется при запыленности дымовых газов не более 20 мг3.

Для применения этих типов теплоутилизаторов в котельных необходима доработка конструкции с учетом специфики использования дымовых газов и проверка работы их в практических условиях.

Одним из перспективных направлений, обеспечивающих сокращение топлива на нужды теплоснабжения, а также снижение загрязнения окружающей среды, является применение теплонасосных установок (ТНУ). Энергетическая эффективность ТНУ оценивается коэффициентом трансформации теплоты, представляющим отношение теплопроизводительности к затраченной извне механической работе. Обычно этот коэффициент равен 3-5 (т.е. на 1 кВт затрачиваемой электрической мощности может быть получено 3-5 кВт теплоты за счет использования низкопотенциальных источников). На практике этот коэффициент не превышает 2,2, что не позволяет конкурировать с централизованным водоснабжением.

В настоящее время в нашей стране тепловые насосы не получили широкого распространения в связи с низкой стоимостью органического топлива для котельных и высокой стоимостью оборудования ТНУ. Однако в связи с изменением замыкающих затрат на органическое топливо и обострением экологических проблем, связанных с загрязнением окружающей среды продуктами сгорания тепла, вопрос применения ТНУ приобретает особое значение. Специального оборудования для тепловых насосов в стране не выпускается, отдельные установки, работающие в настоящее время, базируются на оборудовании серийно выпускаемых холодильных машин.

Для решения вопроса о целесообразности создания теплонасосной станции должен быть проведен технико-экономический расчет сопоставления вариантов котельной с ТНУ и без него с учетом стоимостных показателей, степени дефицитности топлива и электроэнергии и экологических факторов в каждом конкретном случае.

На экономичность ТНУ наибольшее влияние оказывают следующие факторы: вид системы теплоснабжения (открытая, закрытая); температура низкопотенциального источника; температура нагреваемой среды (сетевой воды) после ТНУ; для горячего водоснабжения в суммарной тепловой нагрузке; продолжительность отопительного периода; вид замещаемого органического топлива; местные условия и ограничения (условия электроснабжения, затраты на использование низкопотенциального теплоисточника и т.д.).

При открытой системе теплоснабжения ТНУ преимущественно может работать на подогрев подпиточной воды от 5 до 70 °С в устойчивом экономичном режиме.

При открытой системе удовлетворительная работа ТНУ может быть достигнута лишь при решении проблемы суточного выравнивания температуры обратной воды.

Схема утилизации теплоты дымовых газов с применением теплового насоса для котлов КВГМ-180 и КВТК-100-150, работающих в закрытой системе теплоснабжения с ограниченным количеством нагреваемой воды за счет утилизации, представлена на рис. 10. Предложен тепловой насос на базе бромисто-литиевой абсорбционной холодильной машины, работающей от тепловой сети, позволяющей избежать больших расходов электроэнергии на привод по сравнению с компрессионной машиной.

Рис. 10. Схема утилизации теплоты дымовых газов с использованием теплового насоса:

1 - котел; 2 - контактный теплообменник; 3 - воздухоподогреватель; 4 - теплообменник; 5 - испаритель; 6 - тепловой насос; 7 - конденсатор

Продукты сгорания из котла поступают в контактный теплообменник 2, где охлаждаются орошающей водой из замкнутого циркуляционного контура. Вода, нагретая в скруббере до 60-70 ºС, подается в параллельно включенные воздухоподогреватель 3, теплообменник подогрева подпиточной воды 4 и испаритель теплового насоса 7, а затем общим потоком возвращается в скруббер-охладитель газов 2.

Теплота, отобранная у воды циркуляционного контура в сумме с теплотой, использованной на работу генератора, передается в обратную магистраль тепловой сети через теплообменник 4.

Оптимальная работа теплового насоса 3 на базе холодильной абсорбционной машины типа АБХМ-3000Т с тепловой нагрузкой испарителя около 3,9 МВт обеспечивается при подаче в генератор сетевой воды с температурой около 150 °С, для чего котлоагрегат работает на переменном расходе воды в сети. В этом случае минимальная температура воды на входе в котел (около 70 ºС) будет иметь место при максимальной нагрузке котла, а при снижении нагрузки она будет возрастать, обеспечивая одновременно и надежную защиту хвостовых поверхностей нагрева от коррозии. В тепловой сети при этом поддерживается постоянный расход сетевой воды по графику качественного регулирования.

По данным разработчика схемы, система утилизации теплоты продуктов сгорания для котлов на газе, включая только подогрев воздуха и подпиточной воды, дает возможность экономить в отопительный период и в летнем режиме горячего водоснабжения соответственно 4,3 и 8,1 % топлива. Для котлов на твердом топливе эти величины составляют соответственно 2,5 и 11,2 %.

При дополнительной установке одной серийной бромисто-литиевой абсорбционной машины типа АБМХ-3000Т с тепловой нагрузкой испарителя 3,9 МВт, температурой воды на выходе из испарителя 28 ºС соответственно 150 и 65 ºС дополнительная экономия газообразного топлива в отопительный период составит 0,85-3,2 % в зависимости от схем регулирования нагрузки КВГМ-180, а летом 1,2-1,9 %.

Суммарная экономия топлива при работе воздухоподогревателя, подогревателя подпиточной воды и теплового насоса составит в отопительный период 5,1-7,5, а в летний - 9,3-10 %.

Для котлоагрегата на твердом топливе установка теплового насоса дает дополнительную экономию топлива 5,8 %, а суммарная экономия с подогревом воздуха и воды составит 8,2 %.

Годовой расход электроэнергии на одну машину типа АБХМ-3000Т составляет около 835 тыс. кВт · ч. Годовой экономический эффект от применения двух тепловых насосов данного типа для КВГМ-180 вместе с подогревом воздуха и подпиточной воды составляет около 360 тыс. руб.

Для котлоагрегата КВТК-100-150, работающего на бурых углях, суммарный экономический эффект при дополнительной установке одной машины вместе с подогревом воды и воздуха составляет около 16 тыс. руб/год.

Схема утилизации теплоты дымовых газов, потребителем для которого является установка для выработки электрического тока [15], приведена на рис. 11.

Дымовые газы с температурой 200-270 °С и объемом 15-20 тыс. нм3 поступают от дымососа в подогреватель 1, затем испаритель 2, и, охладившись, сбрасываются в дымовую трубу. Полученный в испарителе пар с давлением 18-25 бар и температурой 140-160 ºС поступает на турбину 6, приводящую в движение электрогенератор 5, вырабатывающий 70-120 кВт мощности.

В качестве рабочей среды используется галогенный углеводород Р11. Рабочая среда, пройдя через турбину, поступает в основной конденсатор 7, подогревая подпиточную воду. Избыток теплоты реализуется в дополнительном конденсаторе для подогрева исходной воды. После этого рабочая среда проходит через фильтры, где подвергается осушке и подается снова в подогреватель.

Основные технические и стоимостные данные установки ОКС приведены ниже.

Рис. 11. Схема утилизации теплоты дымовых газов для выработки электроэнергии:

1 - подогреватель; 2 - испаритель; 3 - сборник; 4 - распределительная панель; 5 - генератор; 6 - турбина; 7 - основной конденсатор; 8 - дополнительный конденсатор; 9 - бак; 10 - фильтр

Рабочая среда                                                              Р11

Источник тепловой энергии                                     Дымовые газы с температурой максимально 270 ºС, минимально 200 ºС, объемом 15-20 тыс. нм3

Температура уходящих газов, ºС                               110

Максимальная мощность на валу турбины, кВт     140

Мощность электрогенератора, кВт                          120/70

Параметры турбины:

на входе                                                                  Давление пара 18-25 бар, t = 140-160 ºС

на выходе                                                                Давление пара 3-6 бар, t = 60-85 °С

Охлаждающая среда в конденсаторе                        Подпиточная вода (нагревается при t = 20-80 ºС) и исходная

Капитальные вложения*, тыс. марок ФРГ               367

Удельная стоимость вырабатываемой мощности,

марок ФРГ на 1 кВт                                                     2625

* Без подогревателя, испарителя, конденсаторов и трубопроводов.

Эта установка позволяет часть собственных нужд в электроэнергии покрывать за счет вырабатываемой электроэнергии на тепловой энергии дымовых газов.

Стоимость установки достаточно высока и ее использование может быть оправдано только высокой стоимостью топливнонергетических ресурсов.

ОСОБЕННОСТИ УТИЛИЗАЦИИ ТЕПЛОТЫ ДЫМОВЫХ ГАЗОВ В КОТЕЛЬНЫХ, РАБОТАЮЩИХ НА ЖИДКОМ ТОПЛИВЕ

Большая часть котельных работает на газовом топливе, однако в соответствии с действующими нормами и правилами подавляющее большинство котельных, работающих на газе, имеет резервный вид топлива - мазут. Длительность работы котельных на мазуте зависит от выделяемого лимита природного газа и колеблется в широких пределах от нескольких дней до нескольких месяцев.

В разработанной конструкции КТАНа-утилизатора отсутствуют элементы, необходимые для работы на дымовых газах, образующихся при сжигании мазута, отсутствуют антикоррозионные покрытия активной насадки и корпуса КТАНа, не решен вопрос удаления из контура орошения кислого конденсата дымовых газов. Поэтому при переходе котельной на работу на резервном виде топлива - мазуте - установленные в котельной КТАНы-утилизаторы необходимо плотно отключить от газового тракта и пропустить газы по обводному газоходу непосредственно в дымовую трубу. Необходимо иметь в виду, что точка росы для дымовых газов, содержащих сернистый ангидрид, около 140 ºС при сжигании мазута.

Целесообразно котельные небольшой мощности обеспечить полностью газовым топливом, увеличив количество сжигаемого мазута на более крупных источниках. В этом случае экономически справедливыми будут мероприятия по очистке дымовых газов от сернистого ангидрида. Одним из элементов этих устройств может быть КТАН соответствующей конструкции, который наряду с очисткой дымовых газов будет выполнять и свою функцию теплоутилизатора.

В принципе, для работы на жидком топливе могут быть использованы те же утилизаторы, что и для газовых котельных, но специфика продуктов сгорания требует особого подхода к использованию утилизационного оборудования.

Вопрос утилизации теплоты дымовых газов котлов малой мощности 20-1000 кВт наиболее рационально решен в Западной Европе, где большая доля топлива приходится на мазут. Как правило, для целей отопления и горячего водоснабжения применяют конденсационные котлы, в которых используют теплоту как явную, так и тепло конденсации водяных паров, содержащихся в дымовых газах. Коэффициент полезного действия таких установок свыше 100 % (по низшей теплоте сгорания). Для утилизации теплоты используют теплообменники из специальных коррозионных сталей. Модульная система «Calcond», предназначенная для котельных установок промышленного и бытового назначения, имеет три ступени. В первой ступени продукты сгорания охлаждаются до температуры, близкой к температуре «точки росы», отдавая теплоту в систему отопления; во второй ступени температура продуктов сгорания понижается до 25 ºС, выделившаяся теплота используется для горячего водоснабжения или для подогрева воздуха; в третьей ступени осуществляется нейтрализация вредных веществ и удаление конденсата. Очистка продуктов сгорания по сернистым соединениям достигает 90 %, КПД установки достигает 108 % [16].

Фирмой «Bommer» [19] предложен конвективный теплообменник, изготавливаемый из медного литья со специальным легированием для применения в котлах, работающих на жидком топливе. Теплообменник снижает температуру до 150 °С, затем продукты сгорания поступают в конденсатор водяных паров, выполненный из керамических материалов, в котором температура уходящих газов снижается до 35-55 ºС. Образующийся кислый конденсат стекает в конденсаторную ванну нейтрализатора, снабженную абсорбционными кубиками для очистки его от мазутных образований, затем во второй сборник с мраморным гранулятором, в котором рН повышается до 6,3-7. Для связывания углеводородов в третьем сборнике находится активированный уголь. Такая технология позволяет повысить КПД котлов, работающих на жидком топливе, до 108 % (по низшей теплоте сгорания). При этом дымовая труба может изготавливаться из полимерного материала.

Для утилизации теплоты продуктов сгорания используют также встроены в котлоагрегат контактные экономайзеры «Recitern», изготовленные из высококачественной стали. Активная насадка изготавливается из хромоникельмолибденовой стали. Система автоматики и регулирования обеспечивает стабильный режим работы экономайзера. Для предотвращения разрушения дымовой трубы при конденсации водяных паров из продуктов сгорания выброс уходящих газов производится через дымовую трубу из легированной стали. Получаемый конденсат отводится в систему канализации. Подобные типы утилизаторов применяются в котельных установках теплопроизводительностью 0,1-10 МВт.

Потеря давления в утилизаторе «Recitern» зависит от конструкции поверхности нагрева (гладкотрубчатая и с оребрением трубами) и колеблется от 0,15 до 0,6 кПа. Эти потери следует учитывать при выборе дымососов. Экономия тепловой энергии при использовании явной теплоты 8-10 % и скрытой 7-10 %, т. практически на 15-20 % можно увеличить коэффициент использования топлива. Температура уходящих газов при использовании жидкого топлива и наличия регулирующей системы составляет 70-120 ºС без использования скрытой теплоты и 55-60 ºС при использовании скрытой теплоты.

Применение утилизаторов из коррозионно-стойких сталей в ФРГ оправдано высокой стоимостью топлива, в результате чего капитальные затраты окупаются за 1-4 года при эксплуатации установок 1500-2000 ч в год, при более длительной эксплуатации на промышленных предприятиях срок окупаемости снижается [12].

Реализация перечисленных зарубежных решений возможна при достаточно высокой стоимости топлива и жестких требованиях к охране окружающей среды. Эти два фактора позволили разработать наиболее эффективные и экологически чистые технологии использования теплоты продуктов сгорания отопительных котлов, работающих на жидком топливе.

Принципиальная схема утилизации теплоты дымовых газов в мазутных котельных представлена на рис. 12. В основе схемы - использование КТАНа. Для повышения долговечности утилизационного оборудования применяются коррозионно-стойкие материалы из алюминиевых сплавов, нержавеющей стали, антикоррозионные покрытия, а также методы нейтрализации серной кислоты, образующейся в процессе сгорания жидкого топлива. Последний вариант экспериментально проверен в промышленных условиях на паровом котле производительностью 50 т/ч [6]. Орошающая вода вместе с конденсатом из КТАНа поступает в резервуар 3, состоящий из трех камер, соединенных между собой переливами. В камеру I поступает 25 %-ный раствор NH4OH из бака 2 и добавляется в орошающую воду. Через перелив вода поступает в среднюю камеру II, куда может дополнительно добавляться вода при необходимости. Твердые частицы оседают на дно I и II. Осветленная вода поступает в камеру III, откуда подается снова на орошение. В зависимости от степени насыщения сульфатом остаток отводится в специальный объем. Дозирование аммиачной воды осуществляется с помощью насоса-дозатора по величине рН, которая поддерживается на уровне 7. Твердый остаток периодически подается в сепаратор 4, где отделяется твердая фаза, которая представляет интерес для дальнейшего использования.

Рис. 12. Схема использования теплоты дымовых газов котельных, работающих на жидком топливе:

1 - контактный теплообменник; 2 - бак с аммиачной водой; 3 - бак орошающей воды; 4 - сепаратор вредных отложений; 5 - насос-дозатор

Использование контактного теплообменника за котлами в такой схеме дает возможность утилизировать теплоту конденсации водяных паров, в то же время орошение поверхности КТАНа химическим раствором позволяет снизить коррозионные процессы, извлечь из дымовых газов ценный продукт для промышленности (сульфат аммония) и сократить выброс вредных веществ в окружающую среду.

В нашей стране имеется опыт применения утилизационных установок из стеклянных труб для подогрева воздуха за счет теплоты продуктов сгорания котлов, работающих на жидком топливе. Воздухоподогреватель выполнен из стеклянных труб в виде горизонтального пучка труб [7]. Воздух пропускается внутри трубок, дымовые газы - в межтрубном пространстве. Имеется опыт эксплуатации 70 воздухоподогревателей для котлов производительностью 10-950 т/ч. Расход труб при повышении КПД на 2 % составляет: для котла производительностью 10 т/ч - 750 м, 210 т/ч - 12 км, 950 т/ч - 70 км. Общая стоимость воздухоподогревателей из стеклянных труб составляет: для котла производительностью 10 т/ч - 4300 руб., 210 т/ч - 35000 руб. Экономия условного топлива около 70 кг у.т/год на 1 м2 стеклянной поверхности.

Как показали расчеты, для повышения КПД водогрейных котлов КВГМ производительностью 4,65-39 МВт, работающих на мазуте, достаточно установить пучок стеклянных труб диаметром 45×4 мм длиной 23 м на каждый 1 МВт производительности. Пучок выбирался с коридорным расположением труб с шагами S1 = 100 мм и S2 = 67 мм. Коэффициент использования поверхности при этом составлял 0,7.

Технико-экономические показатели воздухоподогревателей со стеклянными трубами за котлами КВГМ приведены ниже.

Теплопроизводительность котла, МВт

4,65          7,55         11,33       23,26        35

Температура дымовых газов, ºС:

перед воздухоподогревателем                  245         245          230          242         250

после воздухоподогревателя                     200         200          200          200         200

Температура воздуха, °С:

перед воздухоподогревателем                  20           20            20            20           20

после воздухоподогревателя                     68           68            54            65           76

Увеличение КПД                                             1,84        1,84         1,22         1,71        2,03

Экономия условного топлива, т у.т/год        54           86            88            243         434

Установка воздухоподогревателей со стеклянными трубами окупается за 1,5-2 года. Практика эксплуатации показала целесообразность применения воздухоподогревателей и надежность их работы.

Достаточно большой интерес вызывает использование теплообменников на тепловых трубах для утилизации теплоты продуктов сгорания жидкого топлива, особенно за котлами малой мощности, за которыми температура уходящих газов составляет 300-320 ºС. Традиционные решения для нагрева воды с помощью теплоты дымовых газов требуют значительных капитальных вложений для защиты от сернистой коррозии. Теплообменники на тепловых трубах помогают поддерживать температуру стенки труб 140 °С, что позволяет избежать точки росы, а следовательно, конденсации водяных паров и растворения в них окислов серы. Подобный опыт использования теплообменника на тепловых трубах приведен в работе [9].

Рис. 13. Схема утилизационной установки на тепловых трубах:

1 - дымоход; 2 - теплообменник; 3 - тепловые трубы; 4 - камеры с холодной водой; 5 - заслонка

В установкеис. 13) температура дымовых газов на входе в теплообменник 280, на выходе 246 °С. Подогрев воды производится при этом от 30 до 50 ºС при расходе ее от 346 до 21713 кг/ч. Мощность установки 20 кВт. Теплообменники компактны, имеют объем 0,3 м3 на 10 т/ч газа. Удельная экономия теплоты около 17 ГДж/кВт (~4 Гкал/кВт). Срок окупаемости установки 11 мес.

В процессе работы установки температура стенки трубы поддерживается около 170 ºС. Малое аэродинамическое сопротивление не требует дополнительной установки тягодутьевых устройств.

Возможную схему использования теплоты дымовых газов для котла, работающего на природном газе с резервным жидким топливом, представляет рис. 14. В схеме предусмотрена промывка дымовых газов и нейтрализация промывочной воды с целью снижения содержания вредных веществ в воде и уходящих газах [1].

Из котла 1 дымовые газы проходят по газоходу, в котором установлено впрыскивающее устройство, в которое подается вода из сепаратора пара 2, или конденсат. После экономайзера 4 установлены разбрызгивающие сопла 5. Промывочная вода собирается в поддоны газохода, откуда через теплообменник 6 подается в бак-накопитель 7, из которого выделившийся SO2 подается к сборнику SO2, а промывочная вода далее поступает в нейтрализатор 8 и шламоотделитель 9. После нейтрализатора вода может быть включена в контур котельной для приготовления подпиточной воды.

Эта схема требует практической проработки для определения экономической и технологической целесообразности как для периодического, так и постоянного использования ее при работе котла на жидком топливе.

Рис. 14. Схема утилизации теплоты дымовых газов с промывкой газов:

1 - котел; 2 - сепаратор газа; 3 - впрыскивающее устройство; 4 - экономайзер; 5 - разбрызгивающие сопла; 6 - теплообменник; 7 - бак-накопитель; 8 - нейтрализатор; 9 - шламоотделитель

Утилизация теплоты продуктов сгорания жидкого топлива требует применения коррозионно-стойких материалов для конструкций утилизаторов, но это недостаточно для нормальной эксплуатации, поскольку происходит занос поверхностей продуктами сгорания, что требует специальных мероприятий для очистки поверхностей. Поэтому наиболее рационально применение очистных сооружений в котельных установках на жидком топливе, с помощью которых можно комплексно решить вопросы долговечности оборудования, высокого уровня эксплуатации и охраны окружающей среды.

ОСОБЕННОСТИ УТИЛИЗАЦИИ ТЕПЛОТЫ ДЫМОВЫХ ГАЗОВ В КОТЕЛЬНЫХ, РАБОТАЮЩИХ НА ТВЕРДОМ ТОПЛИВЕ

Для утилизации теплоты уходящих газов котлов, работающих на твердом топливе, в принципе также могут быть использованы те же утилизационные установки для подогрева воздуха и воды, что в котельных, работающих на газе, но при этом должны быть предусмотрены мероприятия по удалению твердых частиц, а при высокой сернистости топлива - по защите оборудования от коррозии.

Принципиальная схема утилизации теплоты дымовых газов для котла КВТК-100-150, работающего для закрытой системы теплоснабжения, приведена на рис. 15, а. В качестве топлива принят уголь Ирша-Бородинского месторождения, содержание в котором серы 0,2 %, окислов кальция до 26 %. Предусматривается золоулавливание в типовых электрофильтрах до степени очистки 0,97-0,98 с последующим улавливанием остатка золы в скрубберном охладителе газов при форсуночном разбрызгивании орошающей воды охладительного контура в поток газов.

Продукты сгорания из котла поступают в электрофильтры, затем в охладитель газов 3, в котором орошающая вода подогревается до температуры 35-55 °С в зависимости от режима работы установки и схемы ее работы, при этом продукты сгорания охлаждаются до 25-50 °С. С целью предотвращения конденсации в дымовой трубе часть газов через байпасную линию перепускается мимо скрубберного охладителя. Из охладителя 3 вода циркуляционного контура с температурой 64-67 °С насосом прокачивается через гравийные фильтры 4 конструкции ОКБ ВТИ им. Ф. Э. Дзержинского, в которых она очищается от золы и шлама, выносимых из охладителя. Для более полной очистки воды добавляется сернокислый аммоний в размере 5 мг/л. После фильтров вода подается в форсунки скруббера - подогревателя воздуха, а часть - в параллельно включенный водоводяной теплообменник 5, в котором подпиточная вода подогревается до 50 °С и подается далее в химводоочистку.

Рис. 15. Схема утилизации теплоты дымовых газов котла КВТК-100-150:

а - в закрытой тепловой сети; б - в открытой тепловой сети; 1 - котел; 2 - электрофильтр; 3 - контактный охладитель газов; 4 - фильтр; 5 - теплообменник; 6 - оборудование химводоочистки; 7 - деаэратор; 8 - ввод коагулянта; 9 - воздухоподогреватель

В целях защиты от загрязнений форсунок скрубберов из нижних точек аппаратов осуществляется дренаж пульпы в количестве около 0,03 м3/ч, что компенсируется конденсируемой из газов водой. Кроме того, перед охладителем газов орошающая вода прокачивается снова через напорные фильтры 4.

Для нормальной работы системы утилизации необходимо обеспечить водно-химический режим работы циркуляционного контура, исключающий коррозию оборудования, отложение шлама и карбонатов на форсунках и поверхностях теплообменника. Отсутствие такого опыта в практике эксплуатации требует проведения специальных исследований.

В данной схеме не предусматривается специальной сероочистки в связи с низким содержанием серы в принятом виде топлива. Нейтрализация этих соединений обеспечивается щелочными элементами улавливаемой в охладителе газов золы.

Для защиты от коррозии теплоутилизационного оборудования рекомендуется применение силиката натрия, периодически дозируемого в воду циркуляционного контура, в количестве 3-5 мг/л.

Для открытой тепловой сети предлагается принципиальная схема утилизации, представленная на рис. 15, б.

Охлаждение газов производится в охладителе газов 3 до температур 23-40 ºС в зависимости от режима работы установки. Нагретая в скруббере 3 вода до 57-61 ºС поступает в напорные фильтры 4, где очищается от твердых частиц и шлама, а затем направляется в водоводяной теплообменник 5, в котором подогревается подпиточная вода. Охлажденная вода возвращается в охладитель газов при температурах около 12 ºС. Для открытой тепловой сети расход подпиточной воды значителен, поэтому подогрева воздуха не производится. Конструкция основного оборудования утилизации теплоты дымовых газов должна быть разработана применительно к конкретным условиям.

Охладитель газов скрубберного типа имеет форсуночный разбрызгиватель сверху, а внизу - двойной отстойник шлама совмещенный с декарбонизатором. Воздухоподогреватель скрубберного типа также с форсуночным распыливанием воды. Выходное сечение перекрыто каплеуловителем из колец Рашига, в нижней части имеется отстойник шлама.

При оборудовании котлоагрегатов КВТК-100-150 системой утилизации теплоты уходящих газов экономия топлива за год составляет в среднем 3,9 % для закрытой и 11,7 % для открытой тепловой сети. Годовой экономический эффект при стоимости топлива 22 руб/т у. составил по расчетам 5,44 тыс. руб. для закрытой и 104,6 тыс. руб. для открытой тепловой сети.

При температуре уходящих газов свыше 150 °С может быть предложена схема, представленная на рис. 16. За котлом устанавливают два скруббера, один из которых 2 служит для очистки газов от механических примесей. Примеси выпадают в нижнюю часть и далее поступают в отстойник 5, из которого осветленная вода вновь подается на орошение в скруббер 2. Корпус скруббера покрыт слоем тепловой изоляции, поэтому дымовые газы в нем почти не охлаждаются. Затем дымовые газы поступают в скруббер 3, где отдают свою теплоту орошающей воде. Нагретая вода насосом подается в промежуточный теплообменник 4, в котором подогревается вода для потребителя (на горячее водоснабжение, подпиточная и др.) [5].

Рис. 16. Схема автоматизации теплоты дымовых газов с механическими примесями:

1 – котел; 2 - скруббер очистки газов; 3 - скруббер-утилизатор; 4 - теплообменник; 5 - отстойник

Эта схема может использоваться при технико-экономическом обосновании для предметов сгорания с температурой 150-200 °С в связи с большой металлоемкостью и повышенными капитальными затратами.

Вследствие отсутствия утилизационного оборудования конкретно для котлов малой мощности делаются попытки приспособить выпускаемые нашей промышленностью теплообменные аппараты для нужд утилизации теплоты дымовых газов в котельных. Горьковским ГПИ Сантехпроект запроектированы котельные с котлоагрегатами «Братск-М», работающие на твердом топливе (типовые проекты №№ 903-1-89, 903-1-273-89, 903-1-274-89) для закрытой системы теплоснабжения. В качестве утилизатора на дымовых газах устанавливается рекуперативный компактный теплоутилизатор малой металлоемкости из нагревательных элементов конвекторов «Комфорт-2 КН 20-3,5П с кожухом.

Теплоутилизаторы устанавливаются за каждым блоком котлоагрегатов «Братск-М». Дымовые газы по металлическому газоходу направляются в золоулавливающую установку, затем в теплоутилизатор, после которого дымовые газы дымососом подаются в дымовую трубу (рис. 17, а).

Вся масса дымовых газов с температурой 180 ºС при работе на каменном угле и 133 ºС на буром охлаждаются в теплоутилизаторе соответственно до 130 и 90 °С. Теплоутилизаторы имеют замкнутый контур циркуляционной воды: теплоутилизатор - теплообменник - насос - теплоутилизатор. Циркуляционная вода нагревается с 55 до 64 °С, затем охлаждается в промежуточном теплообменнике, нагревая исходную воду с 10 до 16 °С.

Теплопроизводительность каждой теплоутилизационной установки составляет 0,08 МВт (0,07 Гкал/ч). Применение ее позволяет дополнительно получить около 3 % тепловой энергии и соответственно сэкономить около 50 т у. в год.

Очистка поверхности нагрева теплоутилизатора как и для котла предусматривается методом обдувки сжатым воздухом, установка обдувки включает в себя компрессор, ресивер и систему трубопроводов.

Рис. 17. Схема утилизации теплоты дымовых газов:

а - котлов «Братск-М»; б - котла, работающего на буром угле; 1 - блок из двух котлов; 2 - золоуловитель; 3 - бункер для сбора воды; 4 - утилизатор; 5 - теплообменник; 6 - котел; 7 - вихревой циклон; 8 - отстойник; 9 - смесительный резервуар; 10 - бак; 11 - тепловой насос; 12 - заслонка

Для котла, работающего в режиме 90/70 °С на буром угле, предложена установка с утилизацией тепла дымовых газов и очисткой уходящих газов от пыли и окислов серыис. 17, б) [18].

После котла установлен вихревой пылеуловитель 7. Продукты сгорания до поступления в пылеуловитель предварительно охлаждаются за счет впрыскивания воды, которая при контакте с дымовыми газами нагревается до 70-90 °С. Затем дымовые газы в корпусе вихревого пылеуловителя смешиваются в турбулентном потоке с водой, содержащей нейтрализующие агенты (CaCO3, NaОH, NH3). На выходе из лопаточных завихрителей в результате резкого изменения давления происходит фазовое разделение смеси. Образующаяся суспензия направляется в отстойник 8, из которого вода после охлаждения до 15-20 °С снова поступает в пылеуловитель. Охлаждение производится в теплообменниках с холодной водой, затем с помощью теплового насоса 11.

Тепловая мощность котла, работающего по такой схеме, может быть увеличена на 10-60 %, степень пылеулавливания достигает 96-98 %, удаление окислов серы 73-97 %. С помощью такой установки возможно утилизировать до 50 % сбросной теплоты.

Для подогрева дутьевого воздуха в работе [20] использована система из двух теплообменников, установленных в трактах уходящих газов, и подачи воздуха. Теплообменники связаны трубопроводами, по которым с помощью насоса циркулирует масло. Такая система позволяет на отопительном котле мощностью 5 МВт снизить температуру уходящих газов с 200-250 до 110-140 ºС в зависимости от нагрузки.

Рис. 18. Схема утилизации теплоты и очистки дымовых газов парового котла:

1 - котел; 2 - теплообменник - охладитель газов; 3 - воздухоподогреватель; 4 - теплообменник - подогреватель газов; 5 - контактный теплообменник; 6 - емкость для промывочной воды; 7 - компрессор; 8 - насос; 9 - нейтрализатор

Схема установки утилизации теплоты дымовых газов и очистка их для парового котла мощностью 3,2 т/ч [17] представлена на рис. 18. Котел работает на рядовом буром угле, поэтому на установке наряду с утилизацией производится десульфуризация (90 %) и обеспыливание (~95°). Расход дымовых газов через установку 7500 м3. Температура газов на входе в установку 200 °С. В теплообменнике 2 со стеклянными трубами происходит охлаждение газов на 30-60 ºС и нагрев воды для горячего водоснабжения на 10-60 ºС при расходе воды 1,2-2,6 м3/ч. Далее газы поступают в скруббер, где производится их промывка золоизвестковой водой через сопла. Через эти же сопла для окисления сульфита кальция в сульфат компрессором подается воздух. Промывочная жидкость нейтрализуется для повышения рН. Шлам вместе с промывочной водой поступает в отстойник системы золоудаления, в который добавляется Ca(OH)2. Очищенные дымовые газы проходят через воздухоподогреватель 3, затем поступают в теплообменник из стеклянных труб 4, где подогреваются до 75-95 °С и направляются дымососом в дымовую трубу. Мощность утилизационной установки 160 кВт.

ЭКОЛОГИЧЕСКИЕ АСПЕКТЫ УТИЛИЗАЦИИ ТЕПЛОТЫ ДЫМОВЫХ ГАЗОВ

С точки зрения защиты окружающей среды для производства тепловой энергии предпочтительно использование газа. Это позволяет избежать выбросов твердых частиц и серы, в 3-4 раза уменьшить окислы азота и вдвое окиси углерода по сравнению с сжиганием твердого и жидкого топлива. На добычу и транспортирование газа затраты на 20-30 % ниже, чем на добычу и транспортирование угля, что имеет большое экономическое значение.

Средние удельные концентрации основных вредных веществ, выбрасываемых при сжигании различных топлив котельными, приведены ниже.

Зависимость удельных вредностей от вида топлива

Вредное вещество

Удельная вредность, мг/м3, при виде сжигаемого топлива

Твердое

Газообразное

Жидкое

NOx.....................................................................

250

150

200

SOx.....................................................................

2500

-

1500

CO......................................................................

3000

100

140

Твердые частицы.............................................

3000

-

50

То же..................................................................

-

-

20

Из приведенных данных видно, что наибольший экономический вред может быть от выбросов котельных, работающих на твердом топливе.

Одним из основных вредных элементов топлив является сера и азотосодержащие элементы соединения. Для отопительных котельных топливо должно содержать минимальное количество этих соединений, на практике же это часто нарушается. Десульфация угля и жидкого топлива - это дорогостоящий процесс, в результате которого резко возрастает стоимость топлива, полной же очистки достичь невозможно. Очистка дымовых газов также требует больших капитальных вложений.

Применение утилизаторов тепла равносильно повышению КПД котельных, следствием которого является снижение расхода топлива, а пропорционально этому снижается выброс вредных веществ, т.е. практически любые мероприятия, направленные на энергосбережение, способствуют снижению поступления в атмосферу загрязняющих веществ. Защита атмосферы от загрязнения имеет не только технико-экономическое, но и большое социальное значение. Сернистый ангидрид даже в сравнительно малых концентрациях раздражающе действует на слизистые оболочки дыхательных путей человека и животных. В то же время он является ядом для многих растений. Оксид углерода и диоксид азота вступают в соединения с гемоглобином крови, и при больших концентрациях возникает угроза жизни человека. Наличие обычных для промышленных городов аэрозолей диоксида азота в сочетании с повышенной влажностью и запыленностью приводит к снижению видимости, затрудняет проникновение ультрафиолетовых лучей и снижает число солнечных дней. Выброс высокотемпературных газов и углекислого газа увеличивает «парниковый эффект».

Для улавливания золы котельные, работающие на твердом топливе, должны оборудоваться системами газоочистки. Наиболее эффективные способы - электрофильтры с КПД 97,6-99,9 % - очень дороги и могут быть использованы только на крупных ТЭЦ и ТЭС.

В котельных малой мощности сухая газоочистка позволяет улавливать частицы размером 3 мкм менее 50 %. Частицы же меньшего размера представляют наибольшую угрозу для здоровья, а уловить удается только порядка 10 %. В котельной малой мощности с 2-3 котлами на практике часто совсем отсутствуют золоуловители.

Применение утилизации приводит к снижению температуры выброса, что, в свою очередь, вызывает увеличение приземной концентрации вредных веществ. Для обеспечения равнозначной концентрации возникает необходимость снижения количества выбросов или увеличения высоты дымовой трубы, т.е. увеличения капитальных вложений, или увеличения скорости газов в устье дымовой трубы, что потребует дополнительных затрат электроэнергии.

Зависимость количества выбросов вредностей от температуры имеет вид:

,                                                 (5)

где М1 и М2 - количество вредных веществ соответственно до и после утилизации, г/с; Т1 и Т2 - температура уходящих газов до и после установки утилизаторов, ºС; ΔТ1, ΔТ2 - разность температур между температурами уходящих газов и окружающей среды соответственно до и после установки утилизаторов, ºС.

Когда

,                                                (6)

дополнительных затрат на обеспечение приземной концентрации вредных веществ, создаваемой без учета влияния утилизации теплоты, не требуется.

В том случае, когда

,                                                 (7)

необходимо проведение дополнительных мероприятий:

увеличения высоты дымовой трубы

,                                                 (8)

где H1, H2 - высота дымовой трубы до и после утилизации, м;

изменения скорости выброса

,                                                 (9)

где W1, W2 - скорость газов в устье дымовой трубы соответственно до и после утилизации, м/с; D1, D2 - диаметр дымовой трубы соответственно до и после утилизации, м;

изменения диаметра трубы

.                                             (10)

Расчетные зависимости изменения относительного количества вредных веществ и относительной высоты трубы от изменения температуры выбрасываемых газов со 150 до 40 °С и при температурах окружающей среды 20, 0, -20, -40 ºС приведены на рис. 19.

Из приведенных графиков можно видеть, что снижение вредности на 30 % позволяет снизить температуру уходящих газов примерно до 100 ºС, а снижение вредности на 50 % - до 40-50 ºС без дополнительных капитальных вложений.

Снижение температуры уходящих газов без снижения объемов вредных выбросов требует увеличения высоты дымовой трубы примерно на 12-15 % при снижении температуры до 100 ºС и на 40-50 % при снижении до 50 °С.

Таким образом, при снижении температуры выбрасываемых газов необходимо предусмотреть мероприятия по снижению приземной концентрации вредных веществ. Если при проектировании нового объекта это учитывается в расчетах, то при установке теплоутилизаторов на действующих теплоэнергетических предприятиях необходимо провести проверочные расчеты и принять необходимые меры по обеспечению той же величины приземной концентрации, что и до установки утилизатора.

Рис. 19. Зависимость изменения относительного количества вредных веществ  и относительной высоты трубы  от изменения температуры уходящих газов:

1 и 1- температура окружающей среды 20 °С; 2 и 2 - 0 ºС; 3 и 3 - (-20) ºС; 4 и 4 - (-40) ºС

Использование контактных теплообменников с орошение дымовых газов водой позволяет снизить концентрацию вредных веществ, растворенных в воде, и твердых включений.

При сжигании газообразного топлива образуется диоксид NO2, моноксид азота NO. Диоксид азота, имеющий в 7,6 раза больше токсичность, чем монооксид, полностью растворим в воде. Монооксид имеет растворимость 7,38 мл / 100 г при 0 °С, снижается с увеличением температуры и при 100 °С его растворимость 2,6 мл / 100 г [3].

Исследования, проведенные на контактном экономайзере за котлом ДКВР-10-13, показали, что в номинальном режиме нагрузки контактного экономайзера через него проходило 10 тыс. м3 газов, из которых растворялось до 700 г/г монооксида азота. При содержании оксидов азота в уходящих газах около 160-170 м2/м3 содержалось NO2 и до 150 мг/м3 NO. После прохождения через контактный экономайзер концентрация NO2 в газах была близка к нулю, а монооксида - снижалась до 65-70 мг/м3.

Эффективность использования контактного аппарата для очистки выбросов соединений азота может быть определена:

.                          (11)

Годовой экономический ущерб, предотвращаемый в результате снижения вредных выбросов в окружающую среду источником, можно определить по укрупненным данным [10]:

ΔП = γ σ f Δm,                                                           (12)

где γ - константа, численное значение которой для атмосферы равно 2,4 руб/усл.т; σ - безразмерный показатель относительной опасности загрязнения; f - коэффициент, учитывающий характер рассеивания загрязняющих выбросов; Δm - снижение приведенной массы выбросов в окружающую среду, усл.т.

Значения показателя σ относительной опасности загрязнения атмосферного воздуха над территориями различного функционального назначения приведены ниже.

Функциональное назначение загрязняемой территории

Значение σ

Курортов, санаториев, заповедников, заказников, природных зон отдыха, садовых и дачных кооперативов и товариществ, а также населенных пунктов со средней плотностью населения свыше 50 чел/Га.....................................................................................

8

Промышленных предприятий, промузлов, включая защитные зоны, а также населенные пункты с плотностью населения ниже 50 чел/Га........................................................................

4

Лесов и сельскохозяйственных угодий.......................................................................................

0,4

Значения коэффициента f в зависимости от высоты источника загрязнения Н и среднегодового значения разности температур в устье источника и в окружающей атмосфере ΔТ приведены ниже.

ΔТ, ºС

Значение коэффициента f при высоте H, м

до 20

20-100

101-300

свыше 300

25-50

0,9

3,7

0,6

2,8

0,3

1,8

0,2

1,4

50-150

0,8

3,5

0,4

2,4

0,2

1,4

0,1

1,1

Свыше 150

0,7

3,3

0,4

2,2

0,1

1,2

0,1

0,9

Примечание. При выбросе пыли после очистки: с коэффициентом улавливания свыше 90 % принимаются значения f, стоящие в числителе; с коэффициентом улавливания 70-90 % - значения f, стоящие в знаменателе; с коэффициентом улавливания до 70 % - значения f, равные 10.

Величину снижения приведенной массы выброса загрязняющего вещества в окружающую среду определяют по формуле

Δm = m1 - m2,                                                         (13)

где m1 и m2 - приведенные массы выброса вещества источником загрязнения до и после ввода в действие сооружения, усл. т.

Величины приведенных масс выброса загрязняющих веществ определяют по формулам:

                                                        (14)

где Ai - показатель относительной агрессивности сбрасываемого вещества, усл. т/т; Мi,  - массы сброса загрязненного вещества до и после ввода в действие сооружения, т/год; i - количество видов загрязняющих веществ.

Значения величины А для некоторых веществ, выбрасываемых в атмосферу, приведены ниже.

Вещество                                                               А усл.т/т

Окись углерода............................................................................. 1

Сернистый ангидрид SO2............................................................ 22

Серная кислота, ангидрид SO3................................................... 49

Окислы азота в пересчете (по массе) на NO2............................ 41,1

3-4-бенз(а)пирен.......................................................................... 12,6×105

Сажа без примесей...................................................................... 41,5

Пятиокись ванадия...................................................................... 1225

Примечание. Указанные значения А соответствуют случаю выброса примесей в зонах с количеством осадков свыше 400 мм в год. В более засушливых районах эти значения следует увеличить в 1,2 раза для всех твердых аэрозолей.

На основе экспериментальных данных [3] и приведенных на стр. 70 и формул (12-14) определены величины снижения выбросов вредных веществ для газовых котлов типа КВГМ, оснащенных теплоутилизаторами типа КТАН (табл. 12). Учитывая, что при конденсации влаги из дымовых газов образуется около 1 кг/м3 воды, а предельная растворимость около 0,11 г/л, можно полагать, что при тех же условиях для конденсационных теплоутилизаторов на базе биметаллических калориферов типа КСК результаты будут близки к данным, полученным для контактных теплоутилизаторов. Более точные данные могут быть получены экспериментальным путем.

Таблица 12

Экологические показатели контактных утилизаторов

Марка котлоагрегата

Масса выброса вещества, усл. т/год

Снижение массы выброса ΔМ, усл.т/год

Предотвращенный годовой экономический ущерб, руб.

до установки утилизатора М1

после установки утилизатора М2

КВГМ-4-150

18,15

8,2

9,95

76,4

КВГМ-6,5-150

28,4

13

15,4

118,3

КВГМ-10-150

44,8

20,6

24,2

185,9

КВГМ-20-150

89,1

41,2

47,9

367,9

КВГМ-30-150

137,4

63,1

74,3

570,6

КВГМ-50-150

236,6

108,2

128,4

986,1

КВГМ-100-150

449

181,5

267,5

2054,4

Отношение M2 / M1 составляет в среднем 0,7, что согласно рис. 19 позволяет снизить температуру уходящих газов до 90 °С без увеличения приземной концентрации.

Средняя величина относительного снижения головой массы выбросов составила 0,056 т/МВт мощности котлоагрегата, величина предотвращенного годового экономического ущерба 16,4 руб/МВт.

Анализ взаимозависимости процессов утилизации тепловой энергии и выбросов вредных веществ показывает необходимость в каждом конкретном случае обоснования применения утилизаторов как с экономической, так и экологической точки зрения.

КРИТЕРИИ ЭФФЕКТИВНОСТИ ПРИМЕНЕНИЯ УТИЛИЗАТОРОВ ТЕПЛОТЫ

Максимальное количество теплоты, которое может быть утилизировано при работе теплоутилизационных установок на уходящих газах, примерно равно энтальпии уходящих газов.

Действительное количество использованной теплоты всегда меньше энтальпии газов, что объясняется преимущественно невозможностью охлаждения газов ниже температуры поступающего в теплоутилизатор нагреваемого теплоносителя и ограничением по соображениям надежности утилизационного оборудования из-за коррозионных процессов.

Коэффициент полезного действия утилизаторов может быть оценен:

,                                                       (15)

где 1′ и 1″ - соответственно значения энтальпии дымовых газов на входе и выходе из утилизатора, ккал/кг; qп - удельные потери теплоты на 1 кг сухих газов, могут быть приняты не более 1 % от энтальпии отходящих газов.

Если принять, что массовая теплоемкость меняется незначительно в пределах утилизируемых температур газа, тогда

,                                     (16)

где t′, t″ - температуры газов соответственно на входе и выходе из утилизатора.

Выбор утилизационного оборудования производится по технико-экономическим расчетам с учетом целесообразности и возможности использования утилизированной теплоты.

Однако могут быть случаи, когда оптимальный по экономии теплоты вариант энергосберегающего решения осуществить невозможно по ряду причин:

оптимальная по расчетам величина утилизированной теплоты невозможна в связи с отсутствием необходимого по параметрам утилизационного оборудования в унифицированном ряду;

конструктивно невозможна установка утилизатора при оптимальном варианте;

экономически наиболее целесообразный вариант недопустим по гигиеническим или экологическим соображениям;

при эксплуатации выбранного оптимального варианта утилизатора срок службы может быть значительно сокращен за счет агрессивного воздействия сред.

Кроме того, приведенные затраты на стадии проектирования могут отличаться от фактических при осуществлении или эксплуатации установки (например, могут изменяться цены на оборудование и материалы, топливо, условия выполнения монтажных работ и др.). Поэтому при проведении технико-экономических расчетов целесообразно выявить не только оптимальные решения, но и определить интервал экономически допустимых вариантов, что позволит принять правильное с экономический точки зрения решение при несовпадении практических условий с оптимальными.

Технико-экономические расчеты для выбора теплоутилизационного оборудования проводят по минимуму приведенных затрат:

Э = ΔП - Ен К,                                                              (17)

где Э - годовой экономический эффект, руб.; ΔП - годовая экономия затрат, руб.; Ен - нормативный коэффициент экономической эффективности (Ен = 0,15); К - дополнительные капитальные вложения, руб.;

П = Пв - Пгод,                                                                (18)

где Пв - экономия топлива, руб.; Пгод - сумма дополнительных затрат на электроэнергию, амортизацию, текущий ремонт

Пв = ΔBЦт,                                                                (19)

где ΔВ - годовая экономия топлива, нм3/т; Цт - стоимость топлива, руб/нм3 (т).

Амортизационные отчисления определяются в соответствии с нормами Госплана СССР, %: здания и сооружения - 2,6, оборудование с монтажом для котельных, работающее на малозольном твердом топливе, - 8,5, при сжигании высокосернистого мазута - 11,9, при работе на газе - 6,8.

Затраты на текущий ремонт принимают в размере 20 % суммы амортизационных отчислений.

Окупаемость дополнительных капитальных вложений определяют по соотношению

Ток = К / ΔП.                                                              (20)

Экономию топлива определяют по формуле

B = 0,00194 Qu / ηут = 0,00194 Qут,                                          (21)

где Qu - возможное использование теплоты уходящих газов, ГДж; Qут - количество утилизированной теплоты, ГДж; ηут - КПД утилизационной установки; 0,00194 - коэффициент эквивалентного перевода (т.е. 1 ГДж эквивалентен 0,00194 т усл.т.).

Количество нагреваемой воды в утилизационной установке

,                                                      (22)

где Vг - расход газа, м3; tв′ и tв″ - соответственно начальная и конечная температуры воды, ºС; Св - теплоемкость воды, кДж/кг · ºС; ηос - коэффициент потерь теплоты в окружающую среду утилизационной установкой.

Количество воздуха, нагреваемого в утилизационной установке,

,                                                  (23)

где tв3, tв3 - соответственно начальная и конечная температуры воздуха, °С; Cв3 - теплоемкость воздуха, кДж/кг · °С.

Основные затраты на установку утилизатора в год:

З = К (Ен + mα + mт.р),                                                   (24)

где К - капитальные вложения, включающие стоимость утилизатора, стоимость монтажных работ, дополнительных строительных работ и заработной платы (при необходимости дополнительного обслуживающего персонала).

Расход электроэнергии на эксплуатацию установленного теплоутилизатора

Зэ = ΔNэ τ Цэ,                                                             (25)

где ΔNэ - дополнительная мощность на перекачку теплоносителя и преодоление аэродинамического сопротивления теплоутилизатора, кВт; τ - число часов работы утилизатора в году, ч; Цэ - стоимость электроэнергии, руб/кВт · ч.

При проектировании утилизационное оборудование обычно выбирается исходя из экономического эффекта как разность затрат для базового и предполагаемого вариантов. За базовый вариант целесообразно принять систему без утилизации теплоты либо один из рассматриваемых вариантов утилизации.

Существенным фактором, определяющим экономичность теплоутилизаторов, является их материалоемкость.

В процессе проектирования котлоагрегатов с теплоутилизаторами определение экономической эффективности капитальных вложений и срока окупаемости может производиться исходя из замыкающих затрат на топливо. В этом случае срок окупаемости может быть значительно ниже нормативной величины.

При проведении мероприятий по энергосбережению на действующем предприятии с помощью установки утилизаторов техникокономические расчеты основывают на стоимости по действующему прейскуранту, в котором стоимость теплоты значительно ниже замыкающих затрат. Поэтому результаты расчетов при новом строительстве и реконструкции действующих предприятий могут быть различными.

В условиях хозрасчета предприятию выгодно внедрять только те энергосберегающие мероприятия, которые обеспечат повышение рентабельности на ближайшую перспективу.

В связи с нестабильностью цен на топливо и оборудование, связанной с изменениями в экономике, целесообразно в качестве критерия эффективности применения утилизаторов использовать удельные годовые расходы электроэнергии, удельные капитальные вложения и удельную экономическую эффективность. Проведено технико-экономическое сравнение вариантов применения КТАНов и конденсационных теплообменников с биметаллическими трубками типа КСК.

Графики изменения удельных величин затрат на тонну сэкономленного условного топлива в зависимости от мощности теплоисточника представлены на рис. 20. Как видно из графиков, все расчетные кривые удельных расходов электроэнергии, эксплуатационных расходов, капитальных вложений для мощностей котельных 4,65-116,3 МВт лежат ниже для конденсационных теплообменников, чем для КТАНов, только кривая удельной экономической эффективности идет выше. Из этого следует, что применение конденсационных теплообменников более эффективно для котлов малой мощности, чем установок с КТАНами. Причем надежность при эксплуатации утилизационного оборудования также будет выше вследствие отсутствия дополнительных контуров циркуляции с насосами и арматурой.

Следует иметь в виду, что все расчеты по конденсационным теплообменникам были сделаны ориентировочно, в каждом конкретном случае должны быть учтены местные условия, температура нагреваемой воды, теплотворная способность газа, КПД котла, возможности размещения оборудования за котлами и другие особенности.

Рис. 20. Зависимость удельных показателей от мощности котла при установке утилизаторов:

а - электроэнергии; б - годовых эксплуатационных расходов; в - металлоемкости утилизаторов; г - капитальных вложений в установку утилизаторов; д - экономической эффективности утилизаторов; 1 - тип КСК; 2 - тип КТАН

Сопоставление различных вариантов может быть проведено по удельным показателям энерго- и материалоемкости. С учетом того, что для выработки электроэнергии и производства металла также расходуется топливо, любое снижение показателей прежде всего приведет к снижению затрат на добычу топлива и производства электроэнергии.

Опыт свидетельствует, что в условиях нормальной экономической деятельности мероприятия, проводимые на существующем оборудовании в целях рационального использования топливно-энергетических ресурсов, окупаются примерно в течение двух лет, тогда как капиталовложения в добывающую промышленность и в энергетику - за 15-17 лет. Хотя мероприятия по энергосбережению со временем становятся все дороже, тем не менее они являются более рентабельными, чем дополнительное производство теплоносителей.

Достаточно сказать, что в нашей стране единовременные затраты предприятий топливодобычи и его транспорта находятся на уровне 170-200 руб., тогда как капиталовложения в утилизацию - около 30 руб/т у. Приведение в соответствие цен на топливо и тепловую энергию резко повысит экономичность применения теплоутилизаторов в котельных.

Необходимым условием широкого внедрения мероприятий по утилизации тепла дымовых газов на котельных является разработка типовых схем использования утилизационной теплоты, особенно на котельных, работающих на закрытую систему теплоснабжения, разработка компактных теплоутилизаторов для всех мощностей котлов, создание предприятий по выпуску энергосберегающего оборудования, рынка этого оборудования и специализированных организаций по оказанию услуг в энергосбережении.

Во всех случаях большое значение должно придаваться экологическим факторам как при разработке нового, так и при установке существующего утилизационного оборудования. Наряду с критериями экономическими и материальными при выборе утилизационного оборудования следует руководствоваться экологическим критерием, в качестве которого может выступать относительная величина снижения годовой массы вредных выбросов

                                                          (26)

и относительная величина годового экономического ущерба, предотвращаемого в результате снижения выброса вредных веществ в окружающую среду

,                                                            (27)

где Qк - мощность теплоисточника, МВт.

ЛИТЕРАТУРА

1. А.с. 1208409, МКИ Г 22В 37/54 Г 28с 3/08. Котельная установка / Друцкий А. В., Головач К. Г., Родин Ю. Г., Митюнин А. И. (СССР). Заявл. 16.08.84 3781437/24-06. Бюл. № 4 // Открытия. Изобретения. - 1986.

2. Аронов И. З. Контактный нагрев воды продуктами сгорания природного газа. - Л.: Наука, 1978.

3. Аронов И. З., Сигал А. И. Установки контактных экономайзеров с целью снижения выбросов оксидов азота с дымовыми газами // Химическая технология. - 1988. - № 1. - С. 68-70.

4. Баранов Е. П., Бухаркин Е. Н., Кушнирюк В. В. Опыт использования вторичных энергоресурсов в производственной котельной // Промышленная энергетика. - 1988. - 1. - С. 21-22.

5. Богуславский Л. Д. Снижение расхода энергии при работе систем отопления и вентиляции. - М.: Стройиздат, 1985.

6. Имен И., Царс А. и др. Использование теплоты конденсации водяных паров в мазутных отопительных котлах // Енергетика. - 1987, 38. - 4. - С. 14-16.

7. Корняков А. Б., Пермяков А. Б. Применение воздухоподогревателей из стеклянных труб с целью экономии топлива в котельных / В сб. «Повышение эффективности теплоэнергетических установок». - Калинин, 1987.

8. Методические рекомендации по проектированию контактно-экономайзерных установок в газифицированных котельных. - Киев: НИИСТ, 1985.

9. Пенчев П., Юруков И., Милачков Х. Утилизация на отпадна топлина от хлебопекарни пещи через теплообменник с топлинни тръби // Енергетика. - 1987, 38. № 4. - С. 24-25.

10. Пособие по составлению раздела проекта абочего проекта «Охрана окружающей природной среды» к СНиП 1.02.01-85). М.: ЦНИИпроект, 1988.

11. Строительный каталог СК-8. Инженерное оборудование зданий и сооружений. - М., 1990.

12. Строительство и архитектура: Экспресс-информация. Вып. 6. - Сер. 9. Инженерное обеспечение объектов строительства. Зарубежный опыт. - М., 1982.

13. Теплообменники контактные с активной насадкой (КТАН) для котлов теплопроизводительностью 0,2-116 МВт, работающих на природном газе: Каталог. - Рига, 1987.

14. Энергосбережение в системах теплоснабжения, вентиляции и кондиционирования воздуха: Справочное пособие. Под ред. Л. Д. Богуславского и В. И. Ливчака. - М.: Стройиздат, 1990 - 624 с.

15. Erfuhrungen bu der Atwirminutzung mit CRC-Anlagen H. R. Engerhorn, Butzbuch. Breunsloff - Harme - Kraft, 1988, 40. - № 9 - P. 334-339

16. CALCOND reduziert die Huzkosten und eutlastel der Umwelt. Padeck R. Int-Ansrüst - May, 1986 - № 5, 60, 62.

17. Ruchgasreinufung und Warmerwirgewinnung an 3, 2 t/h - Zampfkesseln. Buker Ehr. // Energiennroendung - 1983, 38 - № 1 - P. 28; 29.

18. Rauchjaseutschmefelun und Abissrnulutzung in landwitschaftlichen Eihrtchtamfen // Energiennroendung. - 1987, 36. - № 2. P. 51-55.

19. Vario-Breunwerkessei fü-oi, an Joidney zum Umweltseirutz. Janymeyer M. // Energie und Umwelt Feueraystechnik. - 1988, 26. - № 2. P. 94-98.

20. Worierwarmde verbraudingstuckt pan reudabei Zijür Lekkers. J. Verwarming en verctirase. - 1986. - № 9. - P. 637-643.

СОДЕРЖАНИЕ

 

 




ГОСТЫ, СТРОИТЕЛЬНЫЕ и ТЕХНИЧЕСКИЕ НОРМАТИВЫ.
Некоммерческая онлайн система, содержащая все Российские Госты, национальные Стандарты и нормативы.
В Системе содержится более 150000 файлов нормативно-технической документации, действующей на территории РФ.
Система предназначена для широкого круга инженерно-технических специалистов.

Рейтинг@Mail.ru Яндекс цитирования

Copyright © www.gostrf.com, 2008 - 2026