Крупнейшая бесплатная информационно-справочная система онлайн доступа к полному собранию технических нормативно-правовых актов РФ. Огромная база технических нормативов (более 150 тысяч документов) и полное собрание национальных стандартов, аутентичное официальной базе Госстандарта. GOSTRF.com - это более 1 Терабайта бесплатной технической информации для всех пользователей интернета. Все электронные копии представленных здесь документов могут распространяться без каких-либо ограничений. Поощряется распространение информации с этого сайта на любых других ресурсах. Каждый человек имеет право на неограниченный доступ к этим документам! Каждый человек имеет право на знание требований, изложенных в данных нормативно-правовых актах!

  


 

ОРДЕНА ТРУДОВОГО КРАСНОГО ЗНАМЕНИ
АКАДЕМИЯ КОММУНАЛЬНОГО ХОЗЯЙСТВА им. К.Д. ПАМФИЛОВА

Утверждаю

Генеральный директор

ПО «Роскоммунэнерго»

В.В. Пасков

3 ноября 1989 г.

МЕТОДИЧЕСКИЕ УКАЗАНИЯ
ПО ИНВЕНТАРИЗАЦИИ ИСТОЧНИКОВ ВЫБРОСОВ
В АТ
МОСФЕРУ ЗАГРЯЗНЯЮЩИХ ВЕЩЕСТВ
ОТ ПРЕДПРИЯТИЙ
КОММУНАЛЬНОГО ХОЗЯЙСТВА

Сектор научно-технической информации АКХ

Москва 1990

Настоящие указания содержат порядок выполнения работы, перечень и классификацию как источников выбросов в атмосферу, так и выбрасываемых предприятиями коммунального хозяйства загрязняющих веществ, формы и таблицы для проведения инвентаризации качественных и количественных характеристик источников выбросов от отопительных котельных, асфальтобетонных (АБЗ), мусоросжигательных и мусороперерабатывающих СЗ и МПЗ) заводов. Даны примеры заполнения форм по указанным предприятиям. Рассчитаны валовые и удельные выбросы загрязняющих веществ в примерах по соответствующим, согласованным Госкомприродой СССР и утвержденным отраслевым методикам расчета.

Разработаны отделом коммунальной энергетики АКХ им. К.Д. Панфилова (канд. техн. наук В.В. Пономарева).

Предназначены для осуществления территориально-производственными объединениями областей и предприятиями коммунального хозяйства всеобщей полной инвентаризации источников выбросов в атмосферу (использования как пособия при составлении экологических паспортов источников выброса по разделу «Защита атмосферы») в единой общесоюзной форме.

Замечания и предложения по настоящим указаниям просьба направлять по адресу: 123371. Москва, Волоколамское шоссе, 116. АКХ им. К.Д. Памфилова, отдел коммунальной энергетики.

ОБЩИЕ ПОЛОЖЕНИЯ

Одним из наиболее актуальных направлений и проблем охраны окружающей среды в области наблюдения, оценки и прогноза ее состояния является создание систем национальных региональных и глобальных банков данных в целях аффективного информационного обеспечения национальных органов управления, заинтересованных организаций и населения.

Настоящие указания являются отраслевым руководящим документом для создания региональных банков данных - паспортов источников выбросов в атмосферу загрязняющих веществ от основных предприятий коммунального хозяйства в единой общесоюзной форме и предназначены для предприятий коммунального хозяйства, ТПО регионов, областных комитетов охраны природы и отраслевых служб защиты атмосферы.

Отраслевой экологический паспорт области составляется на основе инвентаризации всех источников выбросов в атмосферу загрязняющих веществ от подведомственных действующих, строящихся и проектируемых объектов (предприятий). В соответствии с законом об охране атмосферного воздуха [4] и ГОСТ 17.2.3.02-78 [2] и СНиП 1.02.01-85 [11], проектная документация по вновь строящимся и реконструируемым объектам должна содержать раздел «Охрана атмосферного воздуха от загрязнений», в котором разработаны охранные мероприятия и сроки их внедрения на объекте, обеспечивающие соблюдение предельно допустимых (ПДВ) или временно согласованных (ВСВ) выбросов по каждому загрязняющему веществу от каждого источника. ПДВСВ) от источников определяется на основе соблюдения санитарных норм в расчете ожидаемого загрязнения приземного слоя атмосферы жилых районов по каждому вредному ингредиенту и нормируемому эффекту суммации воздействия при наиболее неблагоприятных метеорологических условиях с учетом перспективного фонового загрязнения воздуха, создаваемого соседними промышленными предприятиями и транспортом. Фоновое загрязнение атмосферы систематически определяется на контрольных пунктах Госкомгидромета СССР и Минздрава СССР, расположенных в различных районах города. Данные о фоновом загрязнении, так же как и характеристики физико-географических (рельеф), климатических (расчетные температуры воздуха и скорости ветра со среднегодовой повторяемостью, коэффициенты стратификации атмосферы в районе) и метеорологических (продолжительность и повторяемость туманов, инверсий различной мощности в разные периоды года и суток, штилей и др.) условий в регионе (городе, области) при выполнении проектной документации по защите атмосферы, запрашиваются в региональных отделениях Госкомгидромета СССР и Госкомприроды СССР (Облкомприроды).

Инвентаризация (учет) источников выбросов в атмосферу загрязняющих веществ есть сбор данных по технологическим (производительность установки, ее КПД, коэффициент загрузки и время действия), физическим (объемы, температуры, скорости), геометрическим (высота, диаметр, длина) характеристикам выхода в атмосферу газовоздушных смесей, виду, расходу и условиям сжигания топлива, типу и эффективности систем пылегазоочистки и подавления выбросов, качественным и количественным характеристикам загрязняющих веществ, поступавших в атмосферу от действующих объектов (предприятий), с учетом их полного развития.

Спецификой отрасли коммунального хозяйства является наличие многочисленных старых действующих и мелких отопительных котельных, выбрасывающих в атмосферу значительные количества загрязняющих веществ с продуктами сжигания различных видов топлива, с плохой организацией процесса сжигания, при отсутствии систем пылегазоочистки дымовых газов. Развитие систем теплоснабжения регионов предусматривает последовательное укрупнение и реконструкцию мелких котельных в квартальные или перевод регионов на центральное теплоснабжение.

В настоящее время в городах и поселках на территории РСФСР работает более 1500 отопительных коммунальных (~ 50 % мелкие до 3 Гкал/ч) котельных. К 2005 г. ожидается уменьшение их количества только по Московской обл. ~ на 2000 за счет ликвидации мелких, строительство - ~ 100 крупных (Q 20 Гкал/ч).

Поскольку экологическая ситуация практически всех регионов требует немедленной организации контроля за выбросами загрязняющих веществ и улучшением состояния атмосферы, одной из первых задач отрасли является инвентаризация источников выбросов действующих отопительных коммунальных котельных с целью осуществления контроля за последующей разработкой для них проектов ПДВ (ВСВ) и поэтапного внедрения предусмотренных в них охранных мероприятий.

Вопросы организации защиты атмосферы от выбросов коммунальных котельных в равной степени относятся и к другим предприятиям отрасли, в частности, к старым действующим АБЗ и к имеющим тенденцию увеличения МСЗ и МПЗ.

Для АБЗ, МСЗ и МПЗ характерна малоизученность качественных и количественных выбросов в атмосферу загрязняющих веществ и мер по борьбе с ними. Поэтому учет всех источников выбросов для последующего уточнения их количественных и качественных характеристик и охранных мероприятий по мере изучения является также необходимым условием организации экологического надзора.

ПОРЯДОК ПРОВЕДЕНИЯ ИНВЕНТАРИЗАЦИИ ИСТОЧНИКОВ ВЫБРОСОВ ПРЕДПРИЯТИЙ

Порядок проведения инвентаризации разработан на основе пособия по составлению раздела «Охрана окружающей природной среды» к СНиП 1.02.01-85 [11].

В ходе проведения инвентаризации источников выбросов предприятия (объекта) следует:

1. Сделать ситуационный план (карту-схему) района (города), указать расположение источников выбросов предприятия (объекта) по отношению к жилым массивам и другим предприятиям (рис. 1). Привести краткую характеристику предприятия по административному положению, перечню основных производств (цехов) на существующее положение и полное развитие с указанием сроков реконструкции и строительства. По данным заполнить форму 1 табл. 1. Заполнение формы не обязательно при инвентаризации источников выбросов котельных.

Таблица 1

Форма 1

Характеристика предприятия (объекта) по основным видам продукции

Производство, цех

Производимая продукция

Мощность производства по основным видам продукции (годовая)

Примечание

Существующее положение

Проектируемая очередь

Полное развитие

2. Запросить в региональном отделении Госкомгидромета СССР и привести в работе данные по рельефу площадки (наличие перепадов высот относительно отметки жилых кварталов) и поправочному коэффициенту на рельеф; по средней температуре наружного воздуха самого жаркого и самого холодного (для котельных) месяца года; по среднегодовой повторяемости направлений ветра для восьми основных румбов, штилей и господствующих ветров; по средней скорости ветра по всем направлениям, а также наибольшей, превышение которой в году для данного района составляет 5 %; по значению коэффициента температурной стратификации атмосферы района А; по метеорологическим особенностям района, в том числе повторяемости и продолжительности туманов в различные периоды года, приподнятых и приземных температурных инверсий, их мощности и повторяемости, высоты нижней границы, совпадение инверсионных явлений и штилей, а также по другим местным особенностям; по фоновому загрязнению атмосферы и расположению контрольных пунктов отбора проб. Данные п. 2 необязательны на этапе инвентаризации источников выбросов (нужны для проектов ПДВ и при оценке зоны влияния).

3. Дать характеристику источников выбросов загрязняющих веществ в атмосферу, в том числе следует указать перечень производств и объектов предприятия как источников загрязнения атмосферы; перечень загрязняющих веществ, выбрасываемых в атмосферу (комбинации с суммирующим действием загрязняющих веществ, классы опасности, нормативы предельно допустимых концентраций в атмосфере жилых районов (ПДК) загрязняющих веществ для сведения представлены в табл. 2).

Заполнить форму 2 () табл. 1 исходных данных по выбросам загрязняющих веществ в атмосферу. При заполнении гр. 19 - 22 формы 2 рекомендуется количество выбросов загрязняющих веществ определять на основе данных натурных измерений концентраций загрязняющих веществ в выбрасываемом в атмосферу объеме газовоздушной смеси. Если данных измерений нет, допускается определять расчетное количество выбросов в соответствии с согласованными в Госкомприроде СССР и утвержденными отраслевыми методиками [6 - 8]. При наличии систем пылегазоочистки у оборудования следует заполнить форму 3 (см. табл. 1): характеристику систем пылегазоочистки и количество выбросов определить до и после внедрения охранных мероприятий с учетом реально достигнутых и обоснованных значений эффективности очистки или подавления выбросов.

Рис. 1. Ситуационный план расположения котельной в районе города:

1 - 6 - источник выбросов; 7 - ближайший жилой массив; 8 - завод, фабрика, транспортное предприятие; 9 - район города


Форма 2

Характеристика источников выбросов в атмосферу

Производство, цех

Источник выделения загрязняющих веществ

Источник выброса загрязняющих веществ

Параметр газовоздушной смеси на выходе из источника выброса

Координата на карте-схеме, м

Газоочистная установка

Выделение и выбросы загрязняющих веществ М

Наименование

До мероприятия*

Продолжительность τ,

Периодичность К1, раз в год

точечного источника центра группы источников или одного конца линейного источника

второго конца линейного источника

После мероприятия

Наименование

Количество, шт.

Наименование

Количество, шт.

Номер на карте-схеме

Высота Н, м

Диаметр устья выходного сечения Д, м

Скорость ω, м/с

Объем V, м3/с

Температура Tг, °С

Х1

У1

Х2

У2

Наименование

Вещества, по которым производится газоочистка

Эксплуатационная степень очистки К3, %

г/с

мг/м3

т/год

1

2

3

4

5

6

7

8

9

10

11

12

13

14

15

16

17

18

19

20

21

22

23

24

* «До мероприятия» - до системы пылегазоочистки или других мероприятий, снижающих количество выбросов.

Примечание. Гр. 12 - 15 таблицы не являются обязательными при проведении инвентаризации источников выбросов.

Форма

Характеристика источников выбросов в атмосферу загрязняющих веществ от отопительных коммунальных котельных

Адрес котельной МОТЭ, год ввода (реконструкции)

Тип котлов (количество)

Производительность котельной (котла), Гкал/ч

Вид* топлива, расход, кг(нм3)

ηзагр**

Характеристика источников выбросов

Количество выбросов, г/с

Qфакт

Qном

Количество, шт.

Высота Н, м

Диаметр Д, м

Температура Т, °С

Объем V, м3/с

диоксида азота МNO2

оксид углерода

МCO

диоксида серы МSO2

пыли Мп

пяти окись ванадия МV2O5***

Прочие

1

2

3

4

5

6

7

8

9

10

11

12

13

14

15

16

17

* Вид топлива - основноеезервное).

** Коэффициент загрузки котельной в часовом разрезе.

*** При сжигании сернистого (1,5 %) мазута.


4. Заполнить форму 4 (см. табл. 1) по валовым (суммарным) выбросам каждого загрязняющего вещества от всех видов источников выбросов по объекту (предприятию) в целом и от отдельных производств. Определить и занести в форму 4 удельные выбросы загрязняющих веществ (на 1 т продукции, на 1 т сжигаемого топлива или на 1 Гкал теплоты) для возможности сопоставления их с передовыми предприятиями, имеющими аналогичное оборудование.

Форма 3

Характеристика систем пылегазоочистки

Номер источника выбросов на карте-схеме

Производство

Цех, оборудование

Газоочистная установка (ГОУ)

Вещества, по которым производится газоочистка

Коэффициент обеспеченности газоочисткой К1, %

Проектная степень очистки

Уровень апробации (промышленная, опытно-промышленная или стадия разработки внедрения ГОУ)

Выделение загрязняющих веществ без газоочистки

Выброс загрязняющих веществ с учетом газоочистки

Этапность внедрения

 

Пусковой комплекс

I очередь строительства

Полное развитие

г/с

т/год

г/с

т/год

 

 

Форма 4

Характеристика валовых и удельных выбросов в атмосферу загрязняющих веществ

Цех, производство

Продукция

Мощность производства, т/год

Сернистый ангидрид SO2

Пыль

Другие ингредиенты

Валовый выброс, тыс. т/год (%)

Удельный выброс на единицу продукции (УППВ)

Валовый выброс, тыс. т/год (%)

Удельный выброс на единицу продукции (УППВ)

Валовый выброс, тыс. т/год (%)

Удельный выброс на единицу продукции (УППВ)

Форма 5

Характеристика источника выброса с аварийными залповыми выбросами*

Источник

Высота Н, м

Диаметр Д, м

Температура Т, °С

Объем V, м3/с

Время выброса

Количество видов загрязняющих веществ** М, г/с

Примечание

с/ч

с/сут (раз в сутки)

максимальное

расчетное

* Таблица заполняется в случае наличия аварийных выбросов, таких как открытие предохранительного клапана при повышении давления, например, в объеме нагревателя битума АБЗ.

** Расчетный выброс отнесен 20-минутному времени замера концентраций Мрасч = Ммаксвыбр/1200) (при τвыбр ≥ 1200, Мрасч = Ммакс).

5. Представить сведения о возможных валовых и аварийных выбросах, их количественной характеристике (при наличии заполнить форму 5 табл. 1).

6. Представить сведения о наличии разработанной и согласованной с санитарными органами проектной документации по определению предельно допустимых (ПДВ) или временно согласованных (ВСВ) выбросов по каждому объекту (предприятию) или группе объектов (например, коммунальным котельным района).

ПЕРЕЧЕНЬ И ХАРАКТЕРИСТИКА ПРЕДПРИЯТИЙ
КОММУНАЛЬНОГО ХОЗЯЙСТВА
КАК ИСТОЧНИКОВ ЗАГРЯЗНЕНИЯ АТМОСФЕРЫ

Настоящие указания разработаны для осуществления инвентаризации источников выбросов отопительных коммунальных котельных, асфальтобетонных заводов (АБЗ), мусоросжигательных (МСЗ) и мусороперерабатывающихПЗ) заводов коммунального хозяйства.

В разделе представлены перечень, составленный на основе технологических схем производства, и характеристика источников выбросов в атмосферу загрязняющих веществ от технологических агрегатов (производств и отделений) указанных предприятий. В соответствии с текстом выполнены примеры заполнения форм по инвентаризации источников выбросов реальных объектов: АБЗ [13], МСЗ, МПЗ [8], представленные в прил. 1. Раздел составлен на основе и в дополнение к методикам [7, 8].

Пример составления экологического паспорта источников выбросов отопительных коммунальных котельных (раздел «Защита атмосферы»), выполненный для района Московской обл., представлен в прил. 2.

Классификация и характеристика источников выбросов дана в соответствии с ГОСТ 17.2.1.01-76 (01.01.82) [3], ГОСТ 17.2.3.02-78 [4] и ОНД-86 [10].

Источниками выброса в атмосферу загрязняющих веществ от отопительных котельных являются трубы за котельными агрегатами. Отходящие газы содержат продукты сгорания топлива: окись и двуокись углерода (СО, СО2), окислы азота (NO2); при наличии в топливе соединений серы - сернистый ангидрид (SO2). В случае использования твердого топлива в отходящих газах содержатся также твердые частицы - пыль, зола, сажа; при сжигании сернистого и высокосернистого мазута - пятиокись ванадия.

В условиях неполного сгорания топлива возможно присутствие формальдегида, 3,4-бензпирена, органических кислот и др. [14]. Количество загрязняющих веществ зависит от вида топлива, топок и горелочных устройств, режима сжигания топлива. Если для крупных котельных установок совершенствование систем пылеулавливания и подавления выбросов, а также строительство высоких труб, позволяют в значительной мере уменьшить остроту проблемы, то для малых отопительных котельных со слоевыми топками практически единственным радикальным решением в настоящее время является перевод их на природный газ. При отсутствии систем пылеулавливания твердое топливо (уголь) поставляет в атмосферу в 100 - 200 раз больше твердых частиц, чем жидкое топливо.

При сжигании жидкого топлива выделяется сажа, более токсичная, чем пыль, оказывающая влияние на прозрачность атмосферы. При сжигании газа пыли нет.

Количество выделяющихся при сжигании топлива загрязняющих веществ определяется по методике [6]. Оценку возможных выбросов канцерогенных веществ (формальдегида, 3,4-бензпирена и др.) в условиях неполного сгорания топлива можно проводить по табл. 3, 4 или по данным [14].

Дымовые трубы от котлов и котельных установок является организованными, точечными, высокими (Н ≥ 50 м) или средней высоты (Н = 20 - 50 м), горячими источниками постоянного выброса.

При наличии системы пылеочистки дымовых газов дополнительный источник выброса: неорганизованный, точечный, наземный периодического действия - при разгрузке пылеуловителей.

Выбросы в атмосферу загрязняющих веществ от АБЗ поступают от отделения инертных материалов и минерального порошка, битумного хозяйства, смесительного отделения и отделения выдачи готовой продукции.

Источниками выброса в атмосферу пыли от отделения инертных материалов являются патрубки аспирационных систем ленточных конвейеров транспортировки песка и щебня, ворота и окна приемников железнодорожного и автомобильного транспорта, складского помещения песка и щебня, от отделения минерального порошка - места разгрузки автоцементовозов или железнодорожных цистерн, утечек и потерь транспортируемого материала в системе пневмотранспорта минерального порошка и складском хозяйстве.

По битумному отделению источниками выброса загрязняющих веществ являются приемные резервуары битума, железнодорожные цистерны при сливе битума, обогреваемые цистерны, свечи нагревателей битума и дымовые трубы битумных котлов или реакторных установок при производстве битума.

Основным загрязняющим веществом, поступающим в атмосферу, являются углеводороды (С1 - С10). От битумного котла в атмосферу выбрасываются продукты сжигания топлива (аналог - дымовые газы котлов).

Источниками выброса от смесительного отделения и выдачи готовой продукции являются дымовые трубы сушильных барабанов, патрубки аспирационных систем на линиях транспортировки материалов и, собственно, асфальтосмесители, а также оконные бункера готовой продукции. Основными загрязняющими веществами, поступающими в атмосферу, являются пыль, окись углерода, окислы азота, углеводороды. Асфальтобетонные заводы обслуживаются, как правило, большим количеством автомобильного и железнодорожного транспорта, выбрасывающего на территории завода значительные количества продуктов сгорания топлива.

К организованным точечный высоким ≥ 10 м) источникам выброса на АБЗ относятся дымовые трубы и патрубки вентсистем (при Н ≥ 10 м), к линейным - фонари галерей транспортировки и разгрузки, ворота и окна, приемных отделений, к неорганизованным - автотранспорт и узлы выдачи готовой продукции в случае отсутствия укрытий с отсосами.

Пылеочистка отходящих газов от сушильных барабанов АБЗ применяется, как правило, трехступенчатая, сухая - в циклонах, мокрая - в скрубберах и пылеуловителях сливного типа. Шлакоотстойники для уловленной в очистной системе пыли с водой закрытые, осветленная вода от которых по замкнутому циклу поступает в мокрые пылеуловители; от асфальтосмесительных установок - двухступенчатая в циклонах и ротоклонах, от аспирационных систем при транспортировке инертных материалов - в циклонах; минерального порошка, транспортируемого пневмотранспортом - в рукавных фильтрах по замкнутому циклу с возвратом уловленной пыли на конвейер.

В связи с непрерывностью технологического процесса все источники выбросов на АБЗ можно считать источниками постоянного действия за исключением свечей нагревателей битума, дающих аварийный выброс испарений битума при возрастании давления выше допустимого. Пример определения расчетного выброса от свечи нагревателя битума дан в работе [13]. Пример заполнения форм по характеристике источников выбросов одного из АБЗ на территории РСФСР приведен в табл. 1 (форма 2) прил. 1 по данным [10], схема расположения источников выбросов - на рис. 2, характеристика валовых и удельных выбросов - в табл. 1 (форма 3), прил. 1; характеристика, выбросов от отделений и производств АБЗ - в табл. 1 (форма 4) прил. 1. Расчет количеств выбросов проведен по методике [7]. Характеристика систем пылегазоочистки за технологическим оборудованием АБЗ - в табл. 2 прил. 1.

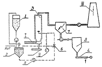
Технологическая схема мусоросжигательной установки представлена на рис. 2, системы пылегазоочистки за ней - на рис. 3 [8].

Рис. 2. Технологическая схема мусоросжигательного завода:

1 - разгрузочная площадка мусоровозов; 2 - площадка для транспорта вывоза остатков; 3 - приемный бункер; 4 - мостовой кран с грейферным ковшом; 5 - приемная воронка котла с течкой; 6 - питатель; 7 - валковая колосниковая решетка; 8 - парогенератор; 9 - система шлакозолоудаления; 10 - бункер шлака и золы; 11 - кран для погрузки шлакозолоотходов; 12 - помещения баков охлаждающей воды и отстоя; 13 - электростатический фильтр; 14 - турбогенератор; 15 - дымовая труба; 16 - воздушный конденсатор

Рис. 3. Схема установки распределительной абсорбции, разработанная специалистами энергосистемы «Дюссельдорф»:

I - газоход продуктов сгорания из котла с температурой 200 - 300 °С; II - воздуховод сжатого воздуха; III - выброс очищенных продуктов сгорания через дымовую трубу; 1 - бункер известковой суспензии; 2 - смесительный бак; 3 - реактор; 4 - конвейер; 5 - насос; 6 - регулирующий клапан; 7 - электрофильтр; 8 - бункер уловленной летучей золы

Источниками выброса в атмосферу от МСЗ и МПЗ являются дымовые трубы мусоросжигательных котлов МСК; по переработке твердых бытовых отходов - биотермические барабаны МПЗ, где происходит процесс аэробного биотермического компостирования.

Отходящие газы при сжигании ТБО содержат летучую золу, окислы азота, углерода, серы, фтористый и хлористый водород (исследования по содержанию в них органических соединений, полиароматических углеводородов и полихлорированных бидинилов продолжаются).

Для улавливания твердых загрязняющих веществ МСЗ применяются электрофильтры (преимущественно сухие, горизонтальные трехпольные) газовых загрязняющих веществ - мокрая очистка (пока в СССР ведутся исследования по вопросам качественных характеристик газообразных веществ, возможной эффективности их очистки, а также шлама) и «сухая» с разбрызгиванием в специальной камере известкового молока, адсорбирующего продукта реакции извести с компонентами дымовых газов на стенки камеры и удаления кристаллов в специальном сборнике (см. рис. 3). Подробнее об этих системах пылегазоочистки, а также зарубежном опыте смотри в указаниях [8].

От загрузочных окон биотермических барабанов МПЗ в атмосферу поступает пыль (органического и минерального происхождения), окись углерода, толуол, ксилол, углеводороды нефти, бензол, ацетон и др. Состав отходящих газов и содержащихся загрязняющих веществ зависит от состава ТБО, сезона года, активности биотермического процесса и других факторов, которые в настоящее время не могут быть полностью учтены в расчетах. Поэтому количественные и качественные показатели выделяющихся загрязняющих веществ определяются и уточняются по мере проведения научных исследований и накопления данных натурных измерений. Ориентировочное определение выбросов загрязняющих веществ от МПЗ можно проводить на основе имеющихся данных замеров [8], представленных в табл. 3 прил. 1. Пример заполнения форм по инвентаризации источников выбросов от МСЗ и МПЗ представлен в табл. 4 и 5 прил. 1.

ХАРАКТЕРИСТИКА ЗАГРЯЗНЯЮЩИХ ВЕЩЕСТВ, ПОСТУПАЮЩИХ В АТМОСФЕРУ ОТ ПРЕДПРИЯТИЙ КОММУНАЛЬНОГО ХОЗЯЙСТВА

Из-за присутствия в атмосфере пыли, дыма, сажи, SO2, NO2 уменьшается прозрачность атмосферы, ухудшается видимость, что приводит к изменению качества и количества атмосферных осадков. Образование кислотных туманов и выпадение кислотных дождей связано с окислением в атмосфере SO2 и превращением в нитраты NO2, желто-красная окраска воздушной среды свидетельствует о присутствии в ней больших количеств сильно токсичных газов NO2.

К крупномасштабным проблемам загрязнения атмосферы относится изменение климата (увеличение температуры планеты) под действием увеличивающейся концентрации СО2, атмосферных аэрозолей.

Фторированные углеводороды, оксид азота способствуют разрушению озонового слоя и т.д. Около 60 % общего количества пыли поступает в атмосферу от сжигания угля [14]. Азот топлива вносит более 50 % вклада в образование NOХ, сера - более 75 % общего вклада в образование SO2. При сжигании топлива в атмосферу поступают также такие загрязняющие вещества, как СО2, СО, формальдегиды, канцерогенные вещества и др. Около 20 % общего потребления ископаемого топлива приходится на отопительные коммунальные котельные.

Перечисленные загрязняющие вещества, а также другие органические соединения поступают в атмосферу от АБЗ, МСЗ, МПЗ.

В разделе представлена характеристика загрязняющих веществ, выбрасываемых в атмосферу с продуктами сжигания топлива от котельных, от сушильных барабанов и нагревателей битума АБЗ, от сжигания и переработки ТБО в МСЗ и МПЗ и других агрегатов и производств жилищно-коммунального хозяйства, а также данные измерений состава дымовых газов реальных объектов и др.

Нормативные максимально-разовые и среднесуточные предельно допустимые концентрации рассматриваемых загрязняющих веществ в приземном слое атмосферы - воздухе жилого района, установленные по влиянию их вредного воздействия на человеческий организм, а также данные по эффекту суммарного воздействия некоторых веществ на человека представлены в табл. 2.

В СССР нормирование выбросов загрязняющих веществ в атмосферу до 1980 г. регламентировалось только на основании установленных значений ПДК данного вещества в атмосферном воздухе на высоте 1,5 м от поверхности земли, т.е. на уровне органов дыхания человека.

Таблица 2

Загрязняющее вещество

Химическая формула

Класс опасности

ПДК в атмосферном воздухе жилых районов

Эффект суммации

Наличие в дымовых газах предприятий котельных при топливе

максимально-разовая

среднесуточная

Газ

Мазут

Уголь

АБЗ

МСЗ

МПЗ

Пыль

-

3

0,5

0,15

СО + пыль цементного производства

-

-

+

+

+

+

Зола

-

3

0,5

0,15

-

-

-

+

+

+

-

Сажа

С

3

0,15

0,05

-

+

+

+

-

-

-

Пятиокись ванадия (аэрозоль)

V2O5

1

-

0,002

V2O5 + SO2

-

+

-

-

-

-

Окись углерода

СО

4

5

3

СО + пыль цементного производства

+

+

+

+

+

+

Двуокись углерода

СО2

3

0,15

0,5

-

+

+

+

+

+

+

Окислы азота (в пересчете на NO2)

NO2

2

0,085

0,004

NO2 + SO2 + СО в присутствии фенола

+

+

+

+

+

-

Сернистый ангидрид

SO2

3

0,5

0,05

-

-

+

+

+

+

-

Хлористый водород

HCl

2

0,2

0,2

-

-

-

-

-

+

-

Фтористый водород

HF

2

0,062

 

HF + SO2

-

-

-

-

+

-

Ацетон

C3H6O

4

0,35

0,35

-

-

-

-

-

-

+

Бензол

C6H6

2

1,5

0,1

 

-

-

-

-

-

+

Толуол

C7H8

3

0,6

0,6

-

-

-

-

-

-

+

Ксилол

 

3

0,2

0,2

-

-

-

-

-

-

+

Углеводороды*

CmHn

3

3

-

-

-

+

+

-

-

-

Формальдегид* (в пересчете на CH2O)

HCNO

2

0,035

0,012

CO + NO2 + CH2O в присутствии гексана

+

+

+

-

-

Следы

Бензпирен* 3,4

C20H12

1

-

0,000001

0,1 мкг/100 м3

-

-

+

+

-

-

"

Органические кислоты*

CH3COOH

1

-

0,000001

=

-

+

+

-

-

"

** Данные исследования реальных объектов по измерению концентрации загрязняющих веществ в продуктах неполного сгорания [14].

При этом санитарными нормами регламентировался эффект суммирования загрязняющих веществ, в том числе окислов азота и серы. Согласно известной зависимости,

С 1980 г. в СССР введены дополнительные нормы ПДВ, регламентирующие концентрации загрязняющих веществ в дымовой трубе котлов электростанций Минэнерго СССР [14], предназначенные для использования только при определении технической возможности новых агрегатов.

ПДВ* NO2 при сжигании различных видов топлив, г/м3 = 1,4, производительность котлов Q < 420 т/ч): природный газ - 0,32 - 0,3; мазут - 0,34 - 0,3; бурые угли - 0,49 - 0,4; каменные угли и А - 0,6 - 0,5; каменные угли (NP > 0,5 кг/ГДж) - 0,79 - 0,65.

* Разработаны ВТИ им. Ф.Э. Дзержинского и ЦКГИ им. И.И. Ползунова в 1981 г.

На втором заседании рабочей группы по оксидам азота ЕЭК ООН в июле 1986 г. в Женеве рекомендовано принимать предельную норму выброса при пылеугольном сжигании угля в котлах менее 300 МВт - 0,8 г/м3 при АР = 6 %.

Для котлов со слоевым сжиганием - 0,4 г/м3 (новых) и 0,6 г/м3 (работающих).

При сжигании жидких топлив для малых топок рекомендуются ПДВ - 0,4 г/м3 (на мазуте), при природном газе - 0,3 г/м3.

Однако представленные значения ПДВ действительны только при ориентировочных оценках, например, вновь создаваемых котлов. Для действующих и проектируемых отопительных котельных ПДВ должен определяться полным расчетом ожидаемого загрязнения приземного слоя воздуха в жилом районе [2, 4, 11].

Отопительные коммунальные котельные - не только один из самых крупных потребителей топлива, но и использующий наиболее грязные виды топлив.

При отсутствии средств пылеулавливания в отопительных котельных малой производительности со слоевыми топками, выброс твердых частиц в атмосферу при сжигании угля соизмерим с выбросами их на ТЭЦ после пылеочистного оборудования [14].

Результаты исследования состава дымовых газов отопительных котлов паропроизводительностью 0,510 т/ч, работавших при α = 1,2-1,3, показывают наличие твердых частиц при сжигании газа и мазута 0,056-0,23 и 1-3,5 г/м3 соответственно, что объясняется, по-видимому, наличием значительного количества недогоревших в зонах горения коксосажевых частиц [12].

При горении угля образуются частицы, состоящие в основном, из углеводорода, диоксида кремния, оксида алюминия, оксида железа, серы и органических веществ. Газообразные выбросы содержат диоксиды серы, азота, углерода, оксид углерода, углеводороды, оксиды железа. Удельные выбросы основных загрязняющих веществ от сжигания угля в отопительных котлах (кг/т) представлены в табл. 3

Пыль может выдуваться при разгрузке и погрузке угля при открытых угольных складах вследствие ветровой эрозии, при удалении и складировании летучей и топочной золы.

Таблица 3

 

Вид подачи
топлива

Пыль,
зола

СО

Углеводороды

Оксиды
азота

Альдегиды

О2

Битуминозный уголь

Топка с шурующей планкой*

5,9 Т***

0,91

0,454

6,8

0,0026

17 S***

Топки с нижней подачей**

0,9 Т

4,54

1,37

2,72

0,0026

17 S

Ручные топки**

9,1

44,9

9,07

1,37

0,0026

17 S

Антрацит

Распыленный**

7,7 Т

0,454

Следы

8,165

Нет данных

17 S

Конвейерная решетка**

0,45 Т

0,454

4,54

То же

17 S

Ручные топки**

4,54

40,8

1,13

1,37

17 S

Лигнит

Распыленный**

3,2Т

0,454

0,45

6,35 или 3,6 (для топок с тангенциальной подачей ГВС)

Нет данных

13,6 С**

Топки:**

 

 

 

 

 

 

циклонные

2,7 Т

0,454

0,45

7,7

То же

13,6 С

с шурующей планкой

3,2 Т

0,91

0,454

2,7

То же

13,6 С

другие

1,36 Т

0,91

0,454

2,7

То же

13,6 С

____________

* Теплопроизводительность котла 2,6-26 Гкал/ч.

** Теплопроизводительностъ котла 2,6 Гкал/ч.

*** Т, S, С - процент содержания золы, углерода и серы в топливе.

 

Из наиболее крупных и трудно поддающихся очистке загрязнителей атмосферного воздуха являются оксиды серы. Вредное воздействие SО2 на природу резко увеличивается при наличии в атмосфере диоксида азота NО2 и повышении влажности.

В коммунальных малых котельных сжигается также жидкое топливо - мазут - отогнанная топливная нефть 1, 2 сорта [5]. Удельный выброс аэрозолей и газообразных загрязняющих веществ при сжигании топливной нефти в котельных производительностью 0,12-3,75 Гкал/ч приведен ниже.

 

Загрязняющее вещество

Удельный выброс нефти, кг/т

 

Остаточной

Перегонной

Аэрозоли

По сорту нефти и содержанию серы

0,1 - 0,125

SО2

15,7 S

14,2 S

SО3

0,2 S

0,2 S

СО

0,5

0,5

Углеводороды (в пересчете на СН4)

0,1

0,1

Оксиду азота (в пересчете на NО2)

6

1,8 - 2,2

 

В настоящее время нет реальных решений по сероочистке газов, отходящих от отопительных котлов малой мощности. Поэтому целесообразно сокращение потребления и уменьшение времени применения серосодержащего топлива вплоть до полного запрета при выбросе газов через трубы небольшой высоты (Н = 10-25 м) [14].

Главным компонентом газового топлива - природного газа является метан с переменной примесью этана и небольшим количеством азота, гелия и диоксида углерода. Отходящие газы при его сжигании содержат компоненты загрязняющих веществ те же, что и другие виды топлива, только в меньших количествах. Концентрации загрязняющих веществ в дымовых газах отопительных котельных [5] представлены ниже.

 

Загрязняющее вещество

Концентрация загрязняющего вещества г/м3

Аэрозоли

0,08 - 0,24

SО2

0,01

СО

0,32

Углеводороды (в пересчете на СН4)

0,13

NО2

1,3 - 1,9

 

С уменьшением мощности котла содержание NО2 в продуктах сгорания возрастает, что объясняется большим коэффициентом избытка воздуха, более интенсивным охлаждением зоны горения. Уровень токсичности 1 м3 продуктов сгорания (сумма отношений С/ПДК) малометражного котла не ниже, чем от котла ТЭЦ (NОХ220;мг/м3, NОХ60 кг/м3), N0Х500 мг/м3, NО215 мг/м3; тем более при близком расположении низких дымовых труб от окон соседних зданий.

Данные измерений концентраций загрязняющих веществ в дымовых газах отечественных отопительных котлов, проведенные в период 1976-1980 гг. [14], представлены в табл. 4.

 

Таблица 4

Загрязняющее вещество

Вид топлива, г/м3

Каменный уголь
Sp = 1,7 %

Мазут
Sp = 2,3 %

Природный газ

Оксиды серы (в перерасчете на S02)

3

(6000)

4

(8000)

0

Оксиды азота (в перерасчете на N02)

0,06 – 1

(2900 - 12000)

0,07 – 0,35

(2900 - 4100)

0 – 0,1

(2300 - 3500)

Зола-пыль

(1200 - 2000)

(140 – 700)

(0 - 140)

Оксид углерода (СО)

0,02 – 0,3

(4 - 60)

0,05 – 0,5

(10 - 100)

0,01 – 0,1

(2 - 20)

Альдегиды (в пересчете на СН20)

-

0,007 – 0,07

(200 - 2000)

0,004 – 0,04

(114 - 1140)

3,4-бензпирен (C20H12)

(10 - 50) 10-8

(100 – 500)

(20 - 30) 10-8

(20 - 300)

(0 - 2) 10-8

(0 - 20)

 

Кроме оксидов азота, сернистого ангидрида и твердых частиц продукты сгорания топлива могут содержать оксид углерода, альдегиды, органические кислоты, канцерогенные вещества. Пределы изменений концентрации загрязняющих веществ в отходящих газах источников выбросов предприятий коммунального хозяйства представлены в табл. 5. Формальдегид обнаруживается редко, как правило, при интенсивном охлаждении фронта горения в малых отопительных котлах. В продуктах сгорания твердых топлив 3,4-бензпирен присутствует, как правило, при слоевом сжигании твердого топлива [14]; при сжигании природного газа с =1,02-1,05 концентрация 3,4-бензпирена мала. Выбросы 3,4-бензпирена следует оценивать только при использовании в котлах угля и мазута.

 


Таблица 5

Предприятие

Концентрация загрязняющего вещества в отходящих газах, мг/м3

Пыль, сажа

CO

NO2

SO2

HCl

HF

Углеводороды

Формальдегид

Бензпирен 3,4

Котельные

0 - 106

0 - 100

0 - 5000

0 - 1500

0 - 4000

-

-

0 - 0,000001

0 - 100

0 - 0,0005

АБЗ

0 - 50·103

0 - 5000

0 - 1500

0 - 4000

-

-

0 - 500

0 - 100

0 - 0,0005

МСЗ

0 - 150

0 - 150

0 - 150

0 - 400

0 - 20

0 - 20

-

-

-

МПЗ

0 - 100

0 - 20

-

-

-

-

0 - 600

-

-

Примечание. Указанные пределы изменения концентраций даны для ориентировочного определения порядка их величин, например, при приобретении приборов для измерения концентраций загрязняющих веществ в составе дымовых газов. Более точные значения определяются расчетом по методикам [6 - 8] и работе [14].

 

Таким образом, на основании изложенного материала можно сделать следующие выводы:

1. Методические указания являются отраслевым пособием для создания региональных банков данных по вопросам экологии, для осуществления обоснованного прогноза влияния предприятий коммунального хозяйства на загрязнение атмосферы региона, а также являются руководящим справочным отраслевым документом для осуществления региональной инвентаризации источников выбросов предприятий коммунального хозяйства.

2. В части определения количеств выбросов загрязняющих веществ от источников следует совместно с Указаниями использовать ранее разработанные и утвержденные отраслевые методики расчета [6 - 8]. Методики расчета используются только в случае отсутствия экспериментальных обследований инвентаризируемого объекта.

3. Результатом инвентаризации источников выбросов являются сводные экологические паспорта отраслевых источников выбросов, предназначенные для ТПО регионов, отраслевых служб защиты атмосферы, региональных отделений Госкомприроды СССР.

4. Задачи ТПО регионов: организовать выполнение полной инвентаризации источников выбросов (с учетом полного развития предприятий), отраслевых служб защиты атмосферы; осуществлять контроль за своевременным выполнением, корректировкой проектной документации по защите атмосферы от предприятий и внедрением охранных мероприятий в предусмотренные проектами сроки, а также за эффективностью внедренных мероприятий.

5. Каждое предприятие должно иметь и каждые пять лет производить корректировку проектной документации по определению ПДВ (ВСВ), в которой определяются не только приземные концентрации загрязняющих веществ от источников выбросов до и после охранных мероприятий, но и комплексы достаточных мероприятий (обеспечивающих с учетом фонового загрязнения района санитарные нормы), со сроками и стоимостью внедрения предусмотренных охранных мероприятий.

 


ПРИЛОЖЕНИЯ

Приложение 1

Примеры заполнения форм по инвентаризации источников выбросов в атмосферу от АБЗ, МСЗ, МПЗ

Таблица 1

Форма 2

Характеристика источников выбросов на примере одного их АБЗ РСФСР

Производство, цех

Источник выделения загрязняющих веществ

Источник выброса загрязняющих веществ

Параметр газовоздушной смеси на выходе из источника выброса

Координата на карте-схеме, м

Газоочистная установка

Выделение и выбросы загрязняющих веществ

 

Наименование

Количество, шт.

Наименование

Количество, шт.

Номер на карте-схеме

Высота Н, м

Диаметр устья выходного сечения Д, м

Скорость ω, м/с

Объем V, м3/с

Температура Tг, °С

Наименование

Вещества, по которым производится газоочистка

Эксплуатационная степень очистки К3, %

Наименование

До мероприятия*

Продолжительность τ,

Периодичность К1, раз в год

 

точечного источника центра группы источников или одного конца линейного источника

второго конца линейного источника

После мероприятия

 

Х1

У1

Х2

У2

г/с

мг/м3

т/год

 

1

2

3

4

5

6

7

8

9

10

11

12

13

14

15

16

17

18

19

20

21

22

23

24

 

Отделение инертных материалов

Приемник железнодорожного транспорта

1

Ворота, окна

1

1

5

108

2

216

Тнар

97

50

247

50

-

Пыль

-

Пыль

22

102

108,9

995

411

 

Приемник автотранспорта

1

То же

1

2

2

88

2

176

Тнар

74

17

94

17

-

"

-

"

14

79

75,16

895

8937

 

ЛК-1

1

Труба

1

3

5

0,24

15

0,69

Тнар

88

50

-

-

Циклон ВЦН-ИИОТ

"

75

"

0,04

0,01

58,7

15

0,342

0,085

1350

Постоянно

 

ЛК-2

1

"

1

4

10

0,24

15

0,69

Тнар

61

49

-

-

То же

"

75

"

5,6

1,4

8100

2000

27,2

6,8

1350

"

 

ЛК-2

1

"

1

5

10

0,24

15

0,69

Тнар

73

20

-

-

"

"

75

"

5,6

1,4

8100

2000

27,2

6,8

1350

"

 

ЛК-3,

2

"

2

6, 7

15

0,11

15

0,14

Тнар

73

73

33

41

-

-

"

"

75

"

1,42

0,36

10140

2540

6,9

1,7

1350

"

 

ЛК-3,

2

"

2

8, 9

15

0,11

15

0,14

Тнар

73

49

-

-

"

"

75

"

1,42

0,36

10140

2540

6,9

1,7

1350

"

 

ЛК-3,

2

"

1

10, 11

15

0,24

15

0,69

Тнар

66

49

-

-

"

"

75

"

8,45

2,1

12250

3060

40

10,2

1350

"

 

ЛК-4,4а

2

"

2

12, 13

15

0,11

15

0,14

Тнар

60

49

-

-

"

"

75

"

4,22

1,05

30100

7540

20,9

5,1

1350

"

 

ЛК-4,4а

2

"

2

14, 15

15

0,11

15

0,14

Тнар

40

45

-

-

"

"

75

"

4,22

1,05

30100

7540

20,9

5,1

1350

"

 

ЛК-5,5а

2

"

2

16, 17

5

0,11

15

0,14

Тнар

26

45

-

-

"

"

75

"

0,71

0,18

5070

1270

3,45

0,85

1350

"

 

ЛК-5,5а

2

"

2

18, 19

5

0,11

15

0,14

Тнар

11

45

-

-

"

"

75

"

0,71

0,87

5070

1270

3,45

0,85

1350

"

 

От агрегатов питания

4

"

1

20,21

22,23

5

 

0,24

15

0,69

Тнар

8,5

7

45

32

-

-

"

"

75

"

0,575

0,144

830

208

5

1,25

1350

"

 

1

"

1

24

5

0,24

15

0,69

Тнар

7

25

-

-

"

"

75

"

0,575

0,144

830

208

5

1,25

1350

"

 

Склад

1

 

1

25

6

96 м2

1

96

Тнар

7

25

128

15

"

"

75

"

17,2

179

84

1350

"

 

Отделение минерального порошка

Разгрузка контейнеров

-

Утечки

-

28, 29

2

0,15 м2

5

0,75

Тнар

21, 16

18, 21

31

26

18

21

-

-

-

-

7,97

10600

17,89

626

1080

 

Склад

-

"

-

30

20

50 м2

1

50

Тнар

15

9

22

9

-

-

-

-

2,9

600

14,29

1350

Постоянно

 

Система газоочистки воздуха

-

Труба

-

31

5

0,2 м2

10

0,314

Тнар

12

12

-

-

Рукавный фильтрСМЦ-4 (замкнутый цикл с возвратом пыли)

-

-

-

0,003

10

0,015

1350

"

 

Агрегат минерального порошка

2

Утечки

-

32, 33

10

25 м2

1

25

Тнар

22

17

27

17

-

-

-

-

0,725

60

3,3

1350

"

 

Тракт выдачи в смесительное отделение

2

"

-

26, 27

6

25 м2

5

25

Тнар

8

15

13

15

-

-

-

-

0,725

60

13,3

1350

"

 

Битумное отделение

Подземные резервуары

2

Точечный

2

34, 35

0

30 × 5

1

150

90

55

51

18

14

85

81

18

14

Укрытие

Углеводород

-

Углеводород

0,214

13200

0,118

553

60

 

Слив цистерн

2

"

2

36, 37

2

0,5

3

0,57

50

60

3

-

-

"

То же

-

То же

0,0065

13200

0,004

553

Постоянно

 

Обогреваемые цистерны

1

Утечки

 

38

48

1

0,5

3

0,57

90

12

11

9

7

6

5

45

40

34

30

24

0

0

0

0

0

0

11

6

1,5

2

6

 

 

 

 

 

Углеводород

6·10-5

13200

3·10-4

553

60

 

Нагреватель битума

4

Щель

4

49

50

51

52

12

0,5

20

3,9

170

12

12

3

3

6

10

20

24

12,7

12,7

3,7

3,7

6

10

20

24

-

-

-

То же

86·10-5

0,22·106

31·10-5

553

60

 

Битумный котел

4

Труба

53

54

55

41

42

43

12

0,24 × 0,26

12

3

300

13

13

2

8

11

20

-

-

-

-

-

-

-

-

-

Окись углерода

0,97

320

4,78

553

60

 

56

44

2

20

-

-

 

 

-

Окислы азота

0,336

112

1,36

553

60

 

Смесительное отделение

Транспортировка инертных материалов

2

"

57

58

45

46

5

0,11

15

0,14

Наружный

13

25

15

16

-

-

-

-

-

Пыль

-

Пыль

0,083

0,021

-

7,14

0,18

1350

Постоянно

 

Элеваторы грохоты, дозаторы

2

-

63

64

47

48

20

50 м2

2

100

"

10

10,5

16

16

17

17,5

16

16

-

"

-

"

1,5

-

13,23

1350

То же

 

Сушильные барабаны

2

Труба

59

49

20

1,8

10,37

26,4

130 после 50

12

20

-

-

3-ступенчатая очистка газов

"

99,4

"

1480,52

14,8

-

7195

71,95

1350

"

 

60

50

 

 

 

 

 

1,5

10

-

-

 

 

Окись углерода

9,7

-

47,8

1350

"

 

 

 

 

 

 

 

 

 

 

 

 

99,4

 

 

Оксид азота

3,36

-

16,3

1350

"

 

Асфальто-смесители

2

-

61

62

51

52

2,5

0,6 × 0,6

30

На одну 25

100

120

26

6

15

15

26,6

6,6

15

15

-

"

-

Пыль

900

112,5

-

2187

546,75

1350

"

 

 

 

 

 

 

 

 

 

 

 

 

 

 

 

-

Окись углерода

0,04

-

0,097

1350

"

 

 

 

 

 

 

 

 

 

 

 

 

 

 

 

 

 

Оксид азота

35·10-4

-

0,008

1350

"

 

 

 

 

 

 

 

 

 

 

 

 

 

 

 

 

 

Углеводороды

10,85

-

26,36

1350

"

 

Выдача готовой продукции

6

-

65

70

55

54

55

56

2,5

0,6 × 0,6

2

На 1 бункер 1,08

100 - 120

28

30

31

15

15

15

28,6

30,6

31,6

15

15

15

-

-

-

Пыль

-

Пыль

84,24

21,6

-

409

102

1350

30857

 

 

 

 

 

 

 

 

 

 

12

13

15

16

16

16

12,6

13,6

15,6

16

16

16

-

-

-

 

-

Окись углерода

0,005

-

0,025

1350

30857

 

 

 

 

 

 

 

 

 

 

 

 

 

 

 

 

-

Оксид азота

45·10-5

-

0,0022

1350

30857

 

 

 

 

 

 

 

 

 

 

 

 

 

 

 

 

-

Углеводороды

1,41

-

6,83

1350

30857

 

Автотранспорт

Самосвалы, отделение инертных материалов

3

-

-

71

72

73

1

-

-

-

-

16

19

26

31

56

56

26

29

36

31

56

56

-

-

-

 

-

Окись углерода

0,12

-

1,58

8766

10214

 

 

 

 

 

 

 

 

 

 

 

 

 

 

 

 

-

Окислы азота

0,036

-

0,474

8766

10214

 

 

 

 

 

 

 

 

 

 

 

 

 

 

 

 

-

Углеводороды

0,048

-

0,632

8766

10214

 

Автоцементовозы, отделение минерального порошка

-

-

-

61

74

75

1

-

-

-

-

54

0

64

0

-

 

 

Окись углерода

0,85

-

3,75

8766

3093

 

 

 

 

 

 

 

 

 

 

10

19

20

19

-

 

 

Окислы азота

0,255

-

1,125

8766

3093

 

 

 

 

 

 

 

 

 

 

 

 

 

 

 

 

 

Углеводороды

0,34

-

1,5

8766

3093

 

Самосвалы на выдаче готовой продукции

6

-

-

76

81

1

-

-

-

-

31

30

12

12

41

40

12

12

-

-

 

 

Окись углерода

3,5

-

11,3

1350

30857

 

 

 

 

 

 

 

 

 

 

28

12

12

13

38

22

12

13

-

-

 

 

Окислы азота

1,05

-

3,4

1350

30857

 

 

 

 

 

 

 

 

 

 

13

14

13

13

23

24

13

13

-

-

 

 

Углеводороды

1,4

-

4,53

1350

30857

 

Примечание. В числителе - до системы газоочистки; в знаменателе - после очистки. В один ряд - без очистки.

 

Форма 3

Характеристика выбросов в атмосферу загрязняющих веществ АБЗ [13]

Номер источника выбросов на карте-схеме

Производство

Цех, оборудование

Газоочистная установка (ГОУ)

Вещество, по которому производится газоочистка

Коэффициент обеспеченности газоочисткой К, %

Проектная степень очистки

Выделение загрязняющих веществ без газоочистки

Выброс загрязняющих веществ с учетом газоочистки

Этапность внедрения

 

Пусковой комплекс

I очередь строительства

Полное развитие

г/с

т/год

г/с

т/год

 

1

2

3

4

5

6

7

8

9

10

11

12

13

14

 

1

Отделение инертных материалов

Приемник железнодорожного транспорта

-

Пыль

0

-

22

108,9

22

108,9

-

-

+

 

2

 

Приемник автотранспорта

-

0

-

14

75,16

14

75,16

-

-

+

 

3

 

ЛК и пересыпок

Циклон ВЦНИИОТ

1

70%

34,16

173,5

9,1

47,65

-

-

+

 

4

 

Склад инертных материалов

-

1

-

17,2

84

17,2

84

-

-

+

 

Всего

 

 

 

 

87,36

441,5

62,3

315,7

 

 

 

 

1

Отделение минерального порошка

Разгрузка контейнеров

Пневмосистема с очисткой газов в циклоне и рукавном фильтре СМЦ-166Б

1

99,5

7,97

17,89

7,97

17,89

-

-

+

 

2

 

Склад минерального порошка

1

99,5

2,9

14,29

2,9

14,29

-

-

+

 

3

 

Система газоочистки воздуха

1

99,5

0,003

0,015

0,003

0,015

-

-

+

 

4

 

Агрегат минерального порошка

Пневмопровод

1

99,5

0,725

3,3

0,725

3,3

-

-

+

 

5

 

Тракт выдачи в смесительное отделение

Система закрытых шнеков

1

100

0,725

13,3

0,725

13,3

-

-

+

 

Всего

 

 

 

 

12,22

38,86

12,22

38,86

 

 

 

 

1

Битумное отделение

Подземные резервуары

-

Углеводород

0

-

0,214

0,118

0,214

0,118

-

-

+

 

2

 

Слив цистерн (опрокидывание контейнера)

-

То же

0

-

0,0065

0,004

0,0065

0,004

-

-

+

 

3

 

Обогреваемые цистерны (утечки битума)

-

0

-

0,00006

0,0003

0,00006

0,0003

-

-

+

 

4

 

Нагреватель битума

-

0

-

0,00086

0,00031

0,00086

0,00031

-

-

+

 

5

 

Битумный котел

-

Окись углерода

0

-

0,97

4,78

0,97

4,78

-

-

+

 

 

Окислы азота

0

-

0,336

1,63

0,336

1,63

-

-

+

 

Всего

-

Углеводороды

 

 

0,22

0,1226

 

 

 

 

 

 

 

Окись углерода

 

 

0,97

4,78

 

 

 

 

 

 

 

Окислы азота

 

 

0,336

1,63

 

 

 

 

 

 

1

Смесительное отделение

Транспортировка инертных материалов

Циклон

ВЦНИИОТ

Пыль

1

70

0,083

7,14

0,021

0,18

-

-

+

 

2

 

Элеваторы, грохоты, дозаторы

То же

0

70

1,5

13,23

1,5

13,23

-

-

+

 

3

 

Сушильные барабаны

3-ступенчатая:

 

 

 

 

 

 

 

-

-

+

 

 

 

 

1) циклоны ЦН-24

 

 

1480,52

7195

14,8

71,95

-

-

+

 

 

 

 

2) групповой циклон спирально-конический

Окись углерода

1

99

9,7

47,8

9,7

47,8

-

-

+

 

 

 

 

3) скруббер

Оксид азота

 

 

3,36

16,33

3,36

16,33

-

-

+

 

4

 

Асфальтосмесители (2 выброса одновременно)

-

Пыль

 

 

900

2187

112,5

546,75

-

-

+

 

 

Окись углерода

 

 

0,04

0,097

0,04

0,097

-

-

+

 

 

Оксид азота

0

-

0,0035

0,008

0,0035

0,008

-

-

+

 

 

Углеводороды

 

 

10,87

26,36

10,87

26,36

-

-

+

 

5

 

Выдача готовой продукции (6 бункеров одновременно)

-

Пыль

 

 

84,24

409,4

21,06

102,35

-

-

+

 

 

Окись углерода

0

 

0,005

0,025

0,005

0,025

-

-

+

 

 

Оксид азота

 

 

0,00045

0,0022

0,00045

0,0022

-

-

+

 

 

Углеводороды

 

 

1,41

6,83

1,41

6,83

-

-

+

 

Всего

-

Пыль

 

 

2466,34

9805,34

149,88

734,46

 

 

 

 

 

Окись углерода

 

 

9,745

48,92

 

 

 

 

 

 

 

Оксид азота

 

 

3,36

16,34

 

 

 

 

 

 

 

Углеводороды

 

 

12,26

33,19

 

 

 

 

 

 

1

Заводской автотранспорт

Самосвалы, отделение инертных материалов

-

Окись углерода

0

-

0,12

1,58

0,12

1,58

-

-

+

 

Окислы азота

0

-

0,036

0,474

0,036

0,474

-

-

+

 

Углеводороды

 

 

0,048

0,632

0,048

0,632

-

-

+

 

Автоцементовозы, отделение минерального порошка

-

Окись углерода

 

 

0,85

3,75

0,85

3,75

-

-

+

 

Окислы азота

0

-

0,255

1,125

0,255

1,125

-

-

+

 

Углеводороды

 

 

0,34

1,5

0,34

1,5

-

-

+

 

Самосвалы на выдаче готовой продукции

 

Окись углерода

0

-

3,5

11,32

3,5

1,32

-

-

+

 

Окислы азота

 

 

1,05

3,4

1,05

3,4

-

-

+

 

Углеводороды

 

 

1,4

4,53

1,4

4,53

-

-

+

 

Всего

Окись углерода

 

 

4,47

16,65

 

 

 

 

 

 

Окислы азота

 

 

1,34

5

 

 

 

 

 

 

Углеводороды

 

 

1,79

6,66

 

 

 

 

 

 

 


Форма 4

Характеристика валовых и удельных выбросов загрязняющих веществ в атмосферу от отделений и хозяйств АБЗ

Цех, производство

Окись углерода

Пыль

Окислы азота

Углеводороды

Валовый выброс, т/год (%)

Удельный выброс на единицу продукции, кг/т

Валовый выброс, т/год (%)

Удельный выброс на единицу продукции, кг/т

Валовый выброс, т/год (%)

Удельный выброс на единицу продукции, кг/т

Валовый выброс, т/год (%)

Удельный выброс на единицу продукции, кг/т

Инертных материалов

-

-

315,7

0,58

-

-

-

 

Минерального порошка

-

-

38,77

0,072

-

-

-

-

Битумное

4,78

0,0088

0,009

-

-

1,63

0,003

0,1226

0,000227

Смесительное

47,92

0,0887

734,46

1,36

16,3

0,03

33,19

0,0614

Ремонтно-механическое

0,16

0,000296

0,16

0,00029

-

-

-

-

Котельная

136,3

0,252

-

-

46,58

0,086

-

-

Автотранспорт

16,65

0,031

-

-

5

0,0093

6,66

0,0123

Всего: 540000 т/год асфальтобетонной смеси

205,81

0,38

1089,1 учетом котельной)

2

69,51

0,13

39,97

0,07

Таблица 2

Характеристика источников выбросов от различных типов технологического оборудования АБЗ [7]

Тип асфальтосмесителя

Производительность, т/ч

Газоочистное оборудование

Средний коэффициент очистки К2

Характеристика источника выброса

Параметр газовоздушной смеси на выходе из источника выбросов

Концентрация пыли, поступающей на очистку Сп, г/м3

 

Ступень

Тип

Высота, м

Диаметр устья, м

Скорость, м

Объем м3

Температура, °С

 

1

2

3

4

5

6

7

8

9

10

11

 

ДС-35

(Д-597)

25

I

Циклоны НИИОГаза ЦН-15, 500 мм - 4 шт.

75

18

0,5

14,2

2,8

120

27

 

II

Отсутствует

-

-

-

-

-

-

-

 

25

I

Циклоны НИИОГаза ЦН-15, 500 мм - 4 шт.

-

-

-

-

-

-

27

 

II

Барботажный пылеуловитель «Светлана»

82

18

0,5

16,8

3,3

80

-

 

ДС-35А

(Д-597А),

Д-508-2А

25

I

Циклоны СДК ЦН-38, 800 мм - 4 шт.

-

-

-

-

-

-

30

 

II

Циклон-промыватель СИОТ

75

18

0,5

22,4

4

75

-

 

ДC-117-2К

32 - 42

I

Циклоны СДК ЦН-38, 800 мм - 4 шт.

-

-

-

-

-

-

30

 

II

Ротоклон

90

19

10

7

5,6

75

-

 

Д-617

50

I

Циклоны НИИОГаза ЦН-15, 650 мм - 8 шт.

75

18,5

1

10,5

8,3

75

45

 

II

Циклон-промыватель СИОТ

-

-

-

-

-

-

-

 

50

I

Циклоны НИИОГаза ЦН-15, 650 мм - 8 шт.

-

-

-

-

-

-

15

 

II

Ротоклон

85

18,5

1

7

5,5

75

-

 

Д-645-2

100

I

Циклоны НИИОГаза ЦН-15, 650 мм - 12 шт.

-

-

-

-

-

-

15

 

II

Ротоклон

85

18,5

1,2

11

12,5

70

-

 

«Тельтомат» 100МА 5/3-5

 

I

Пылеулавливающая установка ЕS А-5-S, циклонные батареи - 4 шт.

95

30

1

17,6

14

150

11

 


Таблица 3

Форма 2

Характеристика источников выбросов в атмосферу загрязняющих веществ производительностью 80 тыс. т/год [8]

Мусоросжигающие заводы

Источник выброса

Количество источников выбросов

Высота источника выброса Н, м

Объем уходящих газов V, м3

Температура уходящих газов Т, °С

Диаметр трубы, Д, м

Скорость выброса ω, м/с

Концентрация загрязняющего вещества в уходящих газах, мг/м3

Количество выбросов загрязняющего вещества, г/с

Пыль

NO2

SO2

CO

HCl

HF

Пыль

NOX

SO2

CO

HCl

HF

Прочее

Дымовая труба МСЗ

2

50

25

29,7

220

2,1

7,2

8,7

114

110,9

103

105,7

322

134

120

115

18

-

18,9

-

144

110,9

103

105,7

322

134,2

120

115

18

-

18,9

-

 

Мусороперерабатывающие заводы

Источник выброса

Количество источников выбросов

Высота источника выброса Н, м

Объем уходящих газов V, м3

Температура уходящих газов Т, °С

Диаметр трубы, Д, м

Концентрация загрязняющего вещества в уходящих газах, мг/м3

Количество выбросов загрязняющего вещества, г/с

Ацетон

Пыль

Толуол

Ксилол

СО

Углеводороды

Бензол

Пыль

Толуол

Ксилол

СО

Углеводороды

Бензол

Ацетон

Биобарабан КМ-101А

4

Уровень загрязнения окна

0,2 - 0,8 м3/кг ТБО

323 (50)

Размер окна

600

400

6

4

400

267

400

267

20

13

300

200

160

107

-

0,001

-

0,07

-

0,07

-

0,0035

-

0,052

-

0,028

-

0,105

Примечание. В числителе - данные замеров, в знаменателе - данные расчета.

Форма 3

Характеристика систем газоочистки МСЗ и МПЗ [8]

Номер источника выбросов на карте-схеме

Производство

Цех, оборудование

Газоочистная установка (ГОУ)

Вещества, по которым производится газоочистка

Коэффициент обеспеченности газоочисткой К1, %

Проектная степень очистки, %

Уровень апробации (промышленная, опытно-промышленная или стадия ГОУ)

Выделение загрязняющего вещества для газоочистки

Выброс загрязняющего вещества с учетом газоочистки

Этапность внедрения

 

Пусковой комплекс

I очередь строительства

Полное развитие

г/с

т/год

г/с

т/год

 

1

МСЗ ТБО

МСК

1. Сухой электрофильтр

3-ступенчатая:

Пыль

100

99

Промышленная

14400

11090

-

144

110,9

112324,3

86505,3

-

-

-

 

1) мокрая в скрубберах вентури известковым молоком

"

-

90

Опытная

1440

110,9

-

144

110,9

112324,3

86505,3

-

-

-

 

HCl

 

По газам

180

-

-

18

-

14040,5

-

 

 

 

 

2) высушивание в камере

HF

 

50

 

37,8

-

-

18,9

-

14742,56

-

 

 

 

 

3) сухой электрофильтр

SO2

 

 

 

20,6

211,4

-

103

105,7

80343,09

82449,17

 

 

 

 

NO2

 

 

 

644

268,4

-

322

134,2

251169,6

104524

 

 

 

 

2

МПЗ ТБО

Биотермический барабан

-

-

-

-

Проводятся исследования

Пыль

 

-

0,001

96

64

-

0,001

96

64

-

-

-

 

Толуол

 

 

0,007

6400

4272

-

0,07

6400

4272

 

 

 

 

Ксилол

 

-

0,007

6400

4272

-

0,07

6400

4272

 

 

 

 

Окись углерода

 

-

0,0035

320

208

-

0,0035

320

208

 

 

 

 

Углеводороды

 

-

0,052

4800

3200

-

0,052

4800

3200

 

 

 

 

Бензол

 

-

0,028

2560

1712

-

0,028

2560

1712

 

 

 

 

Ацетон

 

-

0,105

9600

6400

-

0,105

9600

6400

 

 

 

 


Форма 4

Характеристика валовых выбросов в атмосферу загрязняющих веществ МСЗ и МПЗ [8]

Цех, производство

Продукция

Мощность производства, т/год

Сернистый ангидрид

Пыль

Другие ингредиенты

Валовый выброс, тыс. т/год (%)

Удельный выброс на единицу продукции

Валовый выброс, тыс. т/год (%)

Удельный выброс на единицу продукции

Валовый выброс, тыс. т/год (%)

Удельный выброс на единицу продукции

 

Окислы азота

МСЗ

Твердые бытовые отходы

80000

251,17

104,52

3,139

1,306

112,32

86,5

1,404

1,081

80,34

82,45

1,004

1,0306

 

Ацетон

МПЗ

То же

80000

-

-

0,096

0,064

0,0012

0,0008

9,6

6,4

0,12

0,08

Примечания: 1. В числитель заносятся данные замеров, в знаменатель - расчетов.

2. В пример заполнения таблицы не включены данные по выбросам в атмосферу: от МСЗ - окиси углерода, хлористого и фтористого водорода; от МПЗ - бензола, толуола, ксилола, окиси углерода и углеводородов (см. [8]).

Приложение 2

Пример заполнения форм по инвентаризации источников выбросов в атмосферу отопительных коммунальных котельных

Таблица

Теплосети Рязанского направления

Населенный пункт

Теплопроизводительность котельных, Гкал/ч

Теплопроизводительность теплосети, Гкал/ч

Qном

Qфакт

ηзагр

Qном

Qфакт

г. Раменское

123,3

125,3

101,6

-

-

п. Удельная

6,32

5,86

93

-

-

п. Бронницы

176,85

177

100

306,47

308,16

г. Коломна

292,86

252

86

-

-

г. Озеры

74

66,5

90

-

-

г. Зарайск

29,3

18,8

64

396,22*

337,34*

г. Калининград

209,6

181,6

100

81,6

81,6

Всего

784,29

727,1

* С учетом резерва.


Форма 2а

Характеристика источников выбросов в атмосферу загрязняющих веществ от отопительных коммунальных котельных

Адрес котельной МОТЭ, год ввода (реконструкции)

Тип котлов (количество)

Производительность котельной (котла), Гкал/ч

Расход топлива

ηзагр

Характеристика источников выбросов

Количество выбросов, г/с

Газ, нм3/ч основное

Мазут (резервное)

Уголь

Qфакт

Qном

кг/ч

Количество, шт.

Высота Н, м

Диметр Д, м

Температура Т, °С

Объем V, м3

MNO2

MCO

MSO2

Mп

MV2O5

Прочее

г. Раменское

Холодово, 1974

ПТВМ-30М (2)

91,9

80

10400

(8710)

-

99

1

60

2,1

162 (250)

58,4 (62,6)

9,62 (9,86)

6,66 (8,82)

(80,6)

(1,2 - 3,34)

(0,24 - 0,68)

 

ДКВР-10/13 (2)

12,8

1617,6

(1488,2)

-

 

1

30

1,5

260

11,2 (11)

1,58 (1,62)

1,2 (1,58)

(14,58)

(0,33 - 0,9)

(0,06 - 0,09)

 

Красный Октябрь, 1972

ДКВР-10/13 (3)

21,9

19,2

2426,4

-

-

114

1

35

1,2

260

16,68

2,37

1,8

-

-

-

 

Ул. Москворецкая, 1975

«Универсал-6» (3)

1,8

1,77

183,9

-

-

101,7

1

12

0,4

170

1,98

0,27

0,246

-

-

-

 

Санаторий, 1976

ОРЭ-1,2 (3)

3,6

3,6

596,6

-

-

100

1

20

0,6

200

3,62

0,6

0,44

-

-

-

 

Школа № 33, 1976

«Универсал-6» (3)

1,8

1,77

183,9

-

-

101,7

1

12

0,4

170

1,98

0,27

0,246

-

-

-

 

Д/сад739, 1975

«Универсал-6» (3)

1,3

1,77

183,9

-

-

101,7

1

12

0,4

170

1,98

0,27

0,246

-

-

-

 

ЦСУ, 1960

Энергия (2)

«Универсал-6» (4)

2,46

2,36

245,2

-

-

104

1

20

0,5

170

2,64

0,36

0,328

-

-

-

 

Всего:

125,26

123,27

15837,6

(10198,3)

-

 

Всего, г/с:

15,34 (15,64)

11,17 (13,71)

(95,18)

1,53 - 4,24

0,3 - 0,77

 

Всего, т/год:

205 (209)

149,5 (183)

(1282)

(21 - 51)

(4 - 10)

 

Пос. Удельная, Ул. Октябрьская, 1971

АГВ-80 (3)

0,02

0,018

0,84

-

-

111

1

10

0,08 × 0,08

150

0,048

0,0024

0,006

-

-

-

 

Очистные сооружения, 1971

ДКВР-4/13 (2)

5,84

5,12

654

-

-

114

1

22

0,8

260

5,1

0,6

0,48

-

-

-

 

Ильинские бани,

1961

«Универсал»-6М (2)

0,96

1,18

122,6

-

-

81,3

1

18

0,5

170

1,32

0,18

0,164

-

-

-

 

Всего:

5,86

6,32

184,94

-

-

93

Всего, г/с:

0,782

0,65

-

-

-

 

 

 

 

 

 

 

Всего, т/год:

10,5

9

-

-

-

 

г. Бронницы

Ул. Комсомольская, 1971

ТНГ-4р (3)

12,9

12,9

1653,6

-

-

100

1

30

1

220

9,66

1,56

1,23

-

-

-

 

Центр, 1985

КВГМ-10 (2)

20

20

2520

(2520)

-

101

 

 

 

145 (230)

25,4 (27,8)

2,52 (2,62)

1,86 (2,52)

(23,2)

(0,34 - 0,96)

(0,09 - 0,3)

 

В-1/9 (2)

1,45

1,28

62,2

(62,2)

-

 

 

 

 

260

1,14 (1,2)

0,14 (0,14)

0,12 (0,16)

(1,52)

(0,02 - 0,08)

(0,004 - 0,008)

 

Микрорайон «Родина», 1975

«Универсал»-6 (8)

4,8

4,72

490,4

-

 

101,7

1

25

0,7

170

5,28

0,72

0,656

-

-

-

 

Котельная п/л «Юность», 1960

«Универсал»-6 (5)

2,85

2,95

306,5

-

-

96,6

1

12

0,2

170

3,3

0,45

0,41

-

-

-

 

ВНИИПИ «Гидротрубопровод», 1986

ПТВМ-30М (3)

105

105

15600

13065

-

(13065)

-

-

100

3

35

1,6

162 (250)

87,6 (94,8)

12,4 (14,8)

10 (13,26)

121,8

1,8 - 5

0,36 - 1,02

 

ВНИИуголь, 1985

КВГМ-10 (3)

30

30

3780

-

-

100

1

30

1,3

145

20,4

3,78

2,79

-

-

-

 

Всего

117

176,85

24523,1

(15667,2)

-

100

Всего, г/с

21,57 (23,27)

17,07 (21,03)

(146,52)

(2,16 - 6)

(0,454 - 1,33)

 

Всего по Раменской теплосети

308,12

306,4

(40545,6)

(25865,4)

-

100,5

Всего, т/год

289

(311)

228

(281)

-

(1960)

-

(29 - 80)

-

(6 - 12)

 

 

г/с

 

 

 

31,7 (39,7)

28,9 (35,4)

(241,7)

(3,7 - 10,24)

(0,75 - 2,1)

 

т/год

 

 

 

504,5

(530,5)

386,5

(413)

-

(3242)

-

(50 - 131)

-

(10 - 22)

 

г. Коломна

Ул. Огородная, 86 (13 - 15 кварт.), 1967

ТВГМ-30 (1)

100

30

4170

-

-

100

1

50

0,3

190

25

4,05

2,86

-

-

-

 

ПТВМ-30 (2)

70

10400

(10400)

-

162

58,4

9,61

6,66

-

-

-

 

Ул. Гагарина, (8 - 9 кв.), 1958

ДКВР-6,5/В (2)

30

16,64

2102,8

(2223,6)

-

102

1

30

1,5

260

14,48

2

Г, 56

-

-

-

 

ДКВР-10/13 (2)

12,8

1617,6

-

-

 

 

 

260

11,12

1,58

1,2

-

-

-

 

Микрорайон Кальчево, 1975

ТВГ-8 (3)

94

24,9 (30)

2156,8

(2156,8)

-

94

1

30

1,5

225

18,48

2,9 (3,3)

2,34 (3,3)

(32,7)

(0,48 - 1,35)

(0,96 - 0,27)

 

ПТВМ-30 (2)

80 (70)

10400

(8710)

-

 

 

 

162 (250)

58,4 (63,2)

9,61 (9,86)

6,66 (8,84)

(90,2)

(1,2 - 3,34)

(0,24 - 0,68)

 

Пединститут, 1966

ДКВР-4/13 (3)

8

7,68

981

-

-

104

1

35

0,6

260

7,65

0,9

0,72

-

-

-

 

Котельная «1000 мелочей», 1969

«Универсал»-6 (2)

2,6

0,68

100,6

-

-

81

1

25

0,5

170

0,48

0,06

0,06

-

-

-

 

ЗИО (2)

2,52

487,2

-

-

 

 

 

 

220

3

0,44

0,36

-

-

-

 

Ул. Октябрьской Революции, 289, 1959

«Универсал»-6 (2)

0,7

0,68

100,6

-

-

103

1

30

0,6

170

0,5

0,07

0,07

-

-

-

 

Ул. Октябрьской Революции, 318, 1971

МКЗ-7 (2)

1,2

1,28

172,6

-

-

94

1

25

0,5

260

1,2

0,15

0,128

-

-

-

 

 

Адрес котельной МОТЭ, год ввода (реконструкции)

Тип котлов (количество)

Производительность котельной (котла), Гкал/ч

Расход топлива

ηзагр

Характеристика источников выбросов

Количество выбросов, г/с

Газ, нм3/ч основное

Мазут

Уголь

Антрацит

Бурый

Qфакт

Qном

кг/ч

Количество, шт.

Высота Н, м

Диметр Д, м

Температура Т, °С

Объем V, м3

MNO2

MCO

MSO2

Mп

MV2O5

Прочее

Ул. Малышева, 19, 1960

ЗИО (3)

2,4

3,78

730,8

-

-

-

63

1

30

1

220

4,5

0,66

0,54

-

-

-

 

Ул. Артиллеристов, 4, 1959

«Универсал»-6 (3)

0,6

0,68

100,6

-

-

-

88

1

30

0,6

170

0,48

0,06

0,06

-

-

-

 

Ул. Комсомольская, 17, 1959

«Универсал»-6 (3)

0,9

1,02

150,9

-

-

-

88

1

25

0,5

170

0,72

0,09

0,09

-

-

-

 

Д/о «Северное», 1963

ЗИО (4)

3,2

5,04

974,4

-

-

-

63,5

1

30

1

220

6

0,88

0,72

-

-

-

 

Ул. Левшина, 24, 1972

«Универсал»-6 (1)

0,4

0,34

0,1

50,3

(16,5)

-

-

91

1

25

0,5

170

200

0,24

0,1

0,03

0,01

0,03

0,01

-

-

-

-

-

 

Ул. Октябрьской революции, 178, 1958

«Универсал»-4 (1)

0,19 (0,17)

0,15

-

-

52,5

96,4

79

1

18

0,3

200

0,25

0,04

1,07А

 0,88Бу

0,28

0,52

0,18 - 0,35

1,37 - 2,15

-

 

Ул. Октябрьской революции, 239, 1960

«Универсал»-6 (2)

0,6

0,68

100,6

-

-

-

88

1

30

0,5

170

0,48

0,06

0,06

-

-

-

 

Ул. Грунта, 1, 1952

«Универсал»-4 (1)

0,15

0,19 (0,17)

-

-

52,5

96,4

79

1

20

0,5

200

0,25

0,04

1,07А

0,88Бу

0,28

0,52

0,18 - 0,35

1,37 - 2,15

-

 

Ул. Пушкина, 1959

«Универсал»-6 (2)

0,6

0,68

-

-

331,6

-

88

1

18

0,5

170

1,54

0,1

3,22

0,82

0,28 - 0,56

-

 

Ул. Интернациональная, 2, 1965

ЗИО (2)

«Универсал»-6 (1)

1,9

2,52

0,34

487,2

(50,3)

-

-

66,4

1

25

1

220

170

3

0,44

0,06

0,36

0,03

-

-

-

-

-

-

Ул. III Интернационала, 56, 1969

ВНИИСТО (4)

0,04

0,04

25,2

-

-

-

100

1

15

0,5

270

0,16

0,32

0,16

-

-

-

 

Ул. Луговая, 10, 1956

«Универсал»-6 (2)

1

1,18

122,6

-

-

-

85

1

15

0,5

170

1,32

0,18

0,16

-

-

-

 

Ул. Уминская, 1936

ТВГ (1)

Шух-Бер (1)

3,6

4,3

2

558,2

623,5

-

-

-

-

-

-

57

1

30

1,5

220

3,22

3,94

0,52

0,62

0,41

0,46

-

-

-

-

-

-

Ул. Пионерская, 1988

КНГ-6,5 (3)

19,5

19,5

2467,8

-

-

-

100

1

30

1

146

13,35

2,4

1,8

-

-

-

 

Всего:

252,04

292,86

39341,1

1093,3

-

-

-

524,4

-

-

100

Всего, г/с

37,8

(38,3)

32,9

(36)

2,42

(125,3)

0,64 - 1,28

(2,32 - 6,95)

(0,34 - 0,95)

 

 

 

 

(1093,3)

-

-

 

Всего, т/год

5,07 (512)

440 (482)

33

(1676,5)

9 - 18

(32 - 80)

(4,6 - 12,7)

 

г. Озеры

Микрорайон 1, 1970

«Универсал»-6 (4)

ЗИО (4)

4,4

7,44

245,2

974,4

-

-

-

-

-

-

59

1

25

0,6

120

220

2,64

6

0,36

0,88

0,33

0,54

-

-

-

-

-

-

 

Котельная № 8, 1979

КВГМ-10 (3)

25,5

30

3780

(3660)

-

-

85

1

25

1,5

145 (230)

20,4 (38,1)

3,78 (3,93)

2,79 (3,78)

(34,8)

(0,5 - 1,44)

(0,09 - 0,3)

 

ЦРБ, 1963

«Энергия»-6 (4)

1,2

1,32

568

-

-

-

91

1

12

0,5

190

1,52

0,15

0,14

-

-

-

 

Ул. Свердлова, 44, 1963

«Универсал»-6 (3)

0,6

1,02

150,9

-

-

-

59

1

10

0,5

170

0,72

0,09

0,09

-

-

-

 

Ул. Ленина, 1, 1966

«Универсал»-6 (2)

0,4

0,44

-

-

76

-

91

1

10

0,3

200

0,36

0,06

2,1

0,6 - 1,2

0,36 - 0,72

-

 

Микрорайон «Центр», 1987

КВГМ-10 (3)

30

30

3780

(3660)

-

-

100

1

35

1,5

145 (230)

20,4 (38,1)

3,78 (3,93)

2,79 (3,78)

(34,8)

(0,5 - 1,44)

(0,09 - 0,3)

 

Квартал «Текстильщики», 1968

ЗИО (5)

4

3,78

730,8

-

-

-

106

1

30

0,5

220

4,5

0,66

0,54

-

-

-

 

Всего:

66,5

74

10229,3

(7320)

 

 

90

Всего, г/с:

9,16 (9,46)

9,32 (11,3)

0,6 - 1,2 (70,2 - 70,8)

0,33 - 0,72 (1,36 - 3,6)

-

(0,09 - 0,3)

 

 

 

 

 

 

 

 

Всего, т/г:

123 (126)

125 (151)

8 - 16

(939 - 940)

4 - 8

(18 - 48)

(1,2 - 4)

 

г. Зарайск

 

 

 

 

 

 

 

 

 

 

 

 

 

 

 

 

 

 

 

Микрорайон Беспятово, 1959

ДКВР-10/3 (2)

12

19,2

2426,4

(2232,3)

 

62,5

1

35

1,5

260

16,68 (16,5)

2,37 (2,43)

1,8 (2,37)

(21,87)

(0,33 - 0,9)

(0,06 - 0,09)

 

Котельная механического завода, 1958

ЗИО (4)

3,2

5,04

974,4

-

-

-

63,5

1

30

0,5

220

6

0,88

0,72

-

-

-

 

Ул. К. Маркса, 50, 1980

ВВД-1,8 (2)

3,6

5,12

698,8

 

-

-

70,3

1

25

0,5

250

4,68

0,66

0,516

-

-

-

 

Всего:

18,8

29,36

4099,6

(3905,5)

 

64

Всего, г/с:

3,91 (3,97)

3,036 (3,61)

-

-

-

 

Всего по Коломенской теплосети, г/с:

337,34

356,4

53670

(22158,5)

95

Всего, т/год:

52 (53)

41 (48)

 

 

 

 

т/год:

 

 

 

 

 

 

 

 

 

 

 

 

50,93

(51,73)

45,26

(50,86)

3 - 4,2

(195,5 - 196,1)

1 - 2

(3,68 - 9,55)

(0,43 - 1,25)

 

 

 

 

 

 

 

 

 

 

 

 

 

682

(691)

606

(681)

41 - 49

(2616)

13 - 26

(50 - 128)

(5,8 - 16,7)

 

г. Калининград

Новые Подлипки, ул. Сакко и Ванцетти, 1972

ПТВМ-30М (5)

172

175/200

26000

(21775)

-

-

100

1

60

3

162 (250)

146 (158)

24,05 (24,65)

16,65 (22,1)

(203)

(3 - 8,35)

(0,6 - 1,7)

 

Комитетский лес, 1977

ТНГ-4Р (2)

8,6

8,6

1102,4

-

-

-

100

1

30

1,2

183

6,51

1,04

0,82

-

-

-

 

Школа-интернат пос. Болшево, 1966

«Универсал»-6 (3)

1

1

151,3

-

-

-

100

1

20

0,76

170

1,38

0,06

0,17

-

-

-

 

Всего:

181,6

209,6

27253,9

(21775)

-

-

87

Всего, г/с:

25,15

(25,75)

17,64

(23,09)

-

(203)

-

(3 - 8,35)

-

(0,6 - 1,7)

 

Всего, т/год:

345

236

(309)

-

(2716)

-

(40 - 112)

-

(8 - 23)

 


ЛИТЕРАТУРА

1. Ахмедов Р.Б. Цирульников Л.М. Технология сжигания горючих газов и жидких топлив. - М.: Недра, 1984. - 238 с.

2. ГОСТ 17.2.3.02-78. Охрана природы. Атмосфера. Правила установления допустимых выбросов вредных веществ промышленными предприятиями.

3. ГОСТ 17.2.1.01-76. Охрана природы. Атмосфера. Классификация выбросов по составу.

4. Закон СССР «Об охране атмосферного воздуха»: Сб. документов. - М.: Политиздат, 1972.

5. Защита атмосферы от промышленных загрязнений: Справ., ч. I (под редакцией А. Сутугина и Е.Н. Теверовского). - М.: Металлургия, 1988.

6. Методические указания по расчету выбросов загрязняющих веществ в атмосферу от отопительных и отопительно-производственных котельных. - М.: ОНТИ АКХ им. К.Д. Памфилова, 1986.

7. Методические указания по расчету выбросов загрязняющих веществ в атмосферу от асфальтобетонных заводов. - М.: ОНТИ АКХ им. К.Д. Памфилова, 1989.

8. Методические указания по расчету выбросов загрязняющих веществ в атмосферу от мусоросжигательных и мусороперерабатывающих заводов. - М.: ОНТИ АКХ им. К.Д. Памфилова, 1989.

9. Нечаев М.А. Основы газовой техники. - Л.: Недра, 1974. - 288 с.

10. ОНД-86. Методика расчета в атмосферном воздухе вредных веществ, содержащихся в выбросах предприятий. - Л.: Гидрометеоиздат, 1987.

11. Пособие по составлению раздела проекта «Охрана окружающей природной среды» к СНиП 1.02.01.85, Госстроя СССР. - М.: ЦНИИпроект, 1988.

12. Прасолов Р.С. Массо- и теплоперенос в топочных устройствах. - М.: Энергия, 1964. - 236 с.

13. Разработка характеристик источников выбросов в атмосферу вредных веществ от АБЗ. - М.: ОНТИ АКХ им. К.Д. Памфилова, 1988.

14. Сигал И.Я. Защита воздушного бассейна при сжигании топлива. - Л.: Недра, 1988.

15. Смола В.И., Кельцев Н.В. Защита атмосферы от двуокиси серы. - М.: Металлургия, 1976. - 255 с.

СОДЕРЖАНИЕ

Общие положения. 1

Порядок проведения инвентаризации источников выбросов предприятий. 3

Перечень и характеристика предприятий коммунального хозяйства как источников загрязнения атмосферы.. 6

Характеристика загрязняющих веществ, поступающих в атмосферу от предприятий коммунального хозяйства. 10

Приложения. 13

Приложение 1 Примеры заполнения форм по инвентаризации источников выбросов в атмосферу от АБЗ, МСЗ, МПЗ. 13

Приложение 2 Пример заполнения форм по инвентаризации источников выбросов в атмосферу отопительных коммунальных котельных. 26

Литература. 34

 

 




ГОСТЫ, СТРОИТЕЛЬНЫЕ и ТЕХНИЧЕСКИЕ НОРМАТИВЫ.
Некоммерческая онлайн система, содержащая все Российские Госты, национальные Стандарты и нормативы.
В Системе содержится более 150000 файлов нормативно-технической документации, действующей на территории РФ.
Система предназначена для широкого круга инженерно-технических специалистов.

Рейтинг@Mail.ru Яндекс цитирования

Copyright © www.gostrf.com, 2008 - 2026