Крупнейшая бесплатная информационно-справочная система онлайн доступа к полному собранию технических нормативно-правовых актов РФ. Огромная база технических нормативов (более 150 тысяч документов) и полное собрание национальных стандартов, аутентичное официальной базе Госстандарта. GOSTRF.com - это более 1 Терабайта бесплатной технической информации для всех пользователей интернета. Все электронные копии представленных здесь документов могут распространяться без каких-либо ограничений. Поощряется распространение информации с этого сайта на любых других ресурсах. Каждый человек имеет право на неограниченный доступ к этим документам! Каждый человек имеет право на знание требований, изложенных в данных нормативно-правовых актах!

  


 

МИНТОПЭНЕРГО РФ

Инжиниринговая нефтегазовая компания
«Всероссийский научно-исследовательский институт
по строительству трубопроводов и объектов ТЭК»
(АО
«ВНИИСТ»)

ОКП 576431

УДК 699.96

 

Группа Ж-15

 

УТВЕРЖДАЮ

Вице-президент АО «ВНИИСТ»

______________ Красулин И.Д.

«__» _____________ 1999 г.

ЭЛЕМЕНТЫ ТРУБОПРОВОДОВ
С ТЕПЛОИЗОЛЯЦИЕЙ ИЗ ПЕНОПОЛИУРЕТАНА

Технические условия

ТУ 576431-009-01297858-99

СОГЛАСОВАНО

Генеральный директор

ОАО «МЕТХИМТЭКС»

__________Д.М. Булатов

«__» ______________ 1999 г.

РАЗРАБОТАНО

Директор ЦТНП

АО «ВНИИСТ»

_________ В.Б. Ковалевский

Ведущий научный сотрудник

АО «ВНИИСТ»

____________ И.В. Газуко

Москва, 1999 г.

Настоящие технические условия распространяются на элементы трубопроводных тепловых сетей подземной бесканальной и надземной прокладки, изолированные монолитным пенополиуретаном с внешней гидрозащитной оболочкой, транспортирующие теплоносители с температурой до 150 °С.

Теплоизолированные элементы изготавливаются в цехе теплоизоляции труб ОАО «МЕТХИМТЭКС».

Примеры условного обозначения:

- отвод теплоизолированный с углом 90°, наружным диаметром 76 мм, толщиной стенки 3,5 мм с теплоизолированным слоем толщиной 40 мм в полиэтиленовой оболочке

ОТП 90-76×3,5-40 ППУ, ТУ 576431-009-01297858-99

- теплоизолированный равнопроходной тройник с наружным диаметром стальной трубы 159 мм, толщиной стенки 10 мм, толщиной теплоизоляционного слоя 41,6 мм в полиэтиленовой оболочке

ТРТП 159×10-41,6 ППУ, ТУ 576431-009-01297858-99

- теплоизолированный переходной тройник Dн = 325 мм, dн = 273 мм, S = 12 мм, S1 = 10 мм в полиэтиленовой оболочке

ТРПТП 325×12-273×10ПУ, ТУ 576431-009-01297858-99

- теплоизолированный элемент неподвижной опоры диаметром 152 мм трубы диаметром 57 мм с теплоизоляционным слоем 38,5 мм в полиэтиленовой оболочке

НОТП 57×152-38,5 ППУ, ТУ 576431-009-01297858-99

- переход концентрический теплоизолированный Dн = 325 мм, dн = 273 мм, S = 10 мм, S1 = 10 мм в полиэтиленовой оболочке

ПКТП 325×10-10-273×10, ТУ 576431-009-01297858-99

- переход концентрический теплоизолированный Dн = 325 мм, dн = 273 мм, S = 10 мм, S1 = 10 мм в стальной окожушке

ПКТС 325×10-10-273×10, ТУ 576431-009-01297858-99

- компенсатор осевой сильфонный теплоизолированный Dн = 219 мм, dн = 315 мм, толщина теплоизоляции 43,1 мм в полиэтиленовой оболочке

КОСТ 219×315×41,6, ТУ 576431-009-01297858-99

1. Технические требования

1.1. Элементы трубопроводов (отводы, переходы, тройники, элементы неподвижной опоры) с тепловой изоляцией из пенополиуретана (ППУ) в гидрозащитной оболочке должны отвечать требованиям настоящих технических условий и изготавливаться в соответствии с технологическим регламентом на производство теплоизолированных элементов трубопровода диаметром 57 - 530 мм, утвержденным в установленном порядке.

1.2. Теплоизоляционное покрытие элементов должно выполнять те же функции, что и покрытие на прямой трубе: снизить тепловые потери от теплоносителя и защищать металл от коррозии.

1.3. Теплоизолированные элементы трубопроводов изготавливают путем сборки конструкций из металлической арматуры (переход, тройник, отвод) и подготовленной полиэтиленовой или металлической оболочки с последующей заливкой в свободное пространство пенополиуретана.

1.4. Основные размеры теплоизолированных элементов - наружный диаметр стального элемента, толщина теплоизоляционного слоя, толщина полиэтиленовой оболочки - должны соответствовать размерам прямой теплоизолированной трубы (см. таблицу 1):

Таблица 1

Основные размеры прямых теплоизолированных труб с оболочкой из полиэтилена*

Условный проход, Ду

Наружный диаметр стальных труб, Дн, мм

Мин. толщина стенки стальных труб, S, мм

Наружный диаметр полиэтиленовых оболочек, Дпт, мм

Толщина полиэтиленовой оболочки, Sпт, мм

Толщина теплоизоляционного слоя, Sт, мм

Диаметр стальной трубы с теплоизоляцией, Дт, мм

30

32

3,0

110

2,5

36,5

105,0

50

57

3,0

125

2,5

31,5

120,0

 

 

 

140

3,0

38,5

134,0

70

76

3,0

160

3,0

39,0

154,0

80

89

3,0

160

3,0

32,5

154,0

 

 

 

180

3,0

42,5

174,0

100

108

3,5

200

3,2

42,8

193,6

125

133

3,5

225

3,5

42,5

218,0

150

159

4,5

250

3,9

41,6

242,2

200

219

5,0

315

4,9

43,1

305,2

250

273

5,0

355

5,6

35,4

343,8

 

 

 

400

6,3

57,2

387,4

300

325

6,0

400

6,3

31,2

387,4

 

 

 

450

7,0

55,5

436,0

400

426

7,0

560

8,8

58,2

542,4

500

530

7,0

630

9,8

40,2

610,4

 

 

 

710

11,1

78,9

687,8

* Диаметр полиэтиленовой оболочки и, соответственно, толщина теплоизоляции могут отличаться от указанных в таблице в случае изготовления теплоизолированных труб по проекту Заказчика.

Диаметр стальной оцинкованной окожушки должен соответствовать наружному диаметру теплоизолированной трубы.

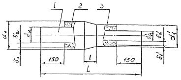
1.5. Все элементы должны иметь свободные от теплоизоляционного покрытия концы длиной 150 мм.

1.6. Используемые фасонные элементы трубопроводов должны отвечать требованиям НТД, утвержденным в установленном порядке, и «Правилам устройства и безопасной эксплуатации трубопроводов пара и горячей воды. ПБ-03-75-94» [1], СНиП 2.04.12-86 «Расчет на прочность стальных трубопроводов».

1.7. Поверхность стальных элементов перед сваркой и сборкой необходимо очистить от масла, жира, пыли и высушить.

1.8. Соединение деталей и элементов трубопроводов должно производиться сваркой.

1.9. Для поперечных стыковых сварных соединений длина свободного прямого участка элемента в каждую сторону от оси шва в соответствии с ПБ-03-75-94 должна быть не менее 250 мм с учетом свободных от теплоизоляции концов элемента.

1.10. Для соединения патрубков (труб) и фасонных деталей (элементов) должна применяться сварка встык с полным проплавлением.

1.11. Минимальные толщины стенки патрубка (трубы) и фасонной детали для сварки встык должны быть одинаковыми.

В стыковых сварных соединениях элементов с различной толщиной стенок должен быть обеспечен плавный переход от большего к меньшему сечению путем соответствующей односторонней или двухсторонней механической обработки конца элемента с более толстой стенкой.

Угол наклона поверхностей переходов не должен превышать 15°.

Рис. 1 Основные размеры теплоизолированных элементов трубопровода

1.12. Сварные швы должны быть проверены неразрушающими методами контроля по СНиП 3.05.03-85* [2], а их качество должно отвечать требованиям ПБ 03-75-94.

1.13. Допуски основных размеров соединительных элементов трубопровода, показанные на рис. 1, должны соответствовать значениям таблицы 2.

Таблица 2

Допуски основных размеров соединительных элементов

Дн, мм

Н, мм

L, мм

< 300

±10

±20

> 300

±25

±50

1.14. Отводы

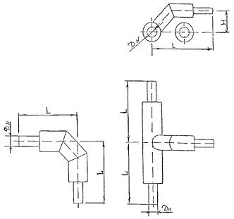
1.14.1. Отводы, изолированные пенополиуретаном, предназначены для устройства поворотов трассы и гибких компенсаторов.

1.14.2. Отводы с индустриальной теплоизоляцией представляют собой стальные отводы с приваренными патрубками и нанесенной в заводских условиях теплоизоляцией из ППУ с полиэтиленовой защитной оболочкой.

Рис. 2а Крутоизогнутые теплоизолированные отводы

1 - стальная труба, 2 - пенополиуретановая теплоизоляция, 3 - полиэтиленовая оболочка

Рис. Крутоизогнутые теплоизолированные отводы

1 - стальная труба, 2 - пенополиуретановая теплоизоляция, 3 - полиэтиленовая оболочка

Рис. 2в Крутоизогнутые теплоизолированные отводы

1 - стальная труба, 2 - пенополиуретановая теплоизоляция, 3 - полиэтиленовая оболочка

Таблица 3

Основные размеры теплоизолированных отводов Ду 50 - 500

Условный проход Ду

Основные размеры стальных отводов и патрубков, мм

Основные размеры теплоизолированного отвода, мм

 

Диаметр полиэт. оболочки Д

Радиус изгиба осевой линии R

Длина отвода

Длина патрубка по оcи

Длина изолированного участка

Наружный диаметр

Толщина стенки

 

отвод

патрубок

90

60

45

90

60

45

 

1

2

3

4

5

6

7

8

9

10

11

12

13

 

50

57

5,0

3,5

120

140

75

120

80

60

450

470

480

720

 

70

75

5,0

3,5

160

100

160

105

80

450

475

490

760

 

80

89

5,0

3,5

160

180

120

190

125

95

450

485

500

790

 

100

108

5,0

4,0

200

150

235

155

120

550

590

610

1040

 

120

133

5,0

4,0

225

190

300

200

150

550

600

625

1100

 

150

159

6,0

4,5

250

225

355

235

180

550

610

640

1160

 

200

219

8,0

6,0

315

300

470

315

235

600

680

720

1370

 

250

273

10,0

7,0

355

400

375

590

395

295

600

700

745

1490

 

300

325

8,0

7,0

400

450

450

700

465

350

600

720

775

1600

 

400

420

10,0

7,0

500

425

740

495

370

580

700

765

1600

 

500

530

10,0

7,0

630

710

500

785

525

395

557,5

687,5

752,5

1600

 

Рис. 3а Основные показатели теплоизолированных равнопроходных тройников

1 - стальная труба, 2 - пенополиуретановая теплоизоляция, 3 - полиэтиленовая оболочка

Рис. Основные показатели теплоизолированных равнопроходных тройников

1 - стальная труба, 2 - пенополиуретановая теплоизоляция, 3 - полиэтиленовая оболочка

Таблица 4

Основные размеры теплоизолированных равнопроходных тройников Ду 50 - 500

Условный проход Ду

Размеры, мм

Центрирующие опоры

Наружный диаметр ст. трубы (тройник) dн* тp

Наружный диаметр п/э оболочки dj*

A

Б

В

Длина

стальной трубы

полиэт. оболоч.

1

2

3

4

5

6

7

8

9

50

57×3,0*

120×2,0

140×3,0

90

1040

230

2470

2020

3

70

70×3,5

160×3,0

100

1020

260

2480

2030

3

80

89×3,5

160×3,0

180×3,0

110

1000

260

2480

2030

3

100

108×4,0

200×3,2

120

975

320

2495

2045

3

120

133×4,0

225×3,5

132,5

955

350

2505

2055

3

150

159×4,5

250×3,9

145

930

380

2510

2060

3

200

219×6,0

310×4,9

177,5

865

480

2545

2095

3

250

273×7,0

355×5,6

400×6,3

220

780

590

2570

2120

3

300

325×8,0

400×6,3

450×7,0

245

1330

670

3200

3050

3

400

420×7,0

500×8,8

300

1220

820

3240

3090

3

500

530×7,0

630×9,8

710×11,1

370

1070

1030

3300

3150

3

* Толщина стенки стального тройника может меняться в соответствии с ГОСТ

Рис. 4а Основные показатели теплоизолированных переходных тройников

Рис. 4б Основные показатели теплоизолированных переходных тройников


Таблица 5

Основные размеры теплоизолированных переходных тройников Ду 50 - 500

Обозначение изолир. тройника

Размеры, мм

Наружный диаметр ст. трубы и толщина стенки

Наружный диаметр полиэтилен. оболочки и толщина стенки

Толщина теплоизоляции из ППУ

А

Б

В

Длина

Центрирующие опоры

стальной трубы

полиэтилен. оболочки

dн* тp

dн'* тp

d1

d'1

 

 

dн

dн

d'

d'

dн

dн

1

2

3

4

5

6

7

8

9

10

11

12

13

14

15

16

ТП 76×57

76×3,0

57×3,0

160×3,0

125×2,5

140×3,0

39,0

31,5

38,5

100

1030

240

1200

1270

900

1120

2

1

ТП 89×57

89×3,0

57×3,0

160×3,0

180×3,0

125×2,5

140×3,0

32,5

42,5

31,5

38,5

110

1020

255

1200

1275

900

1125

2

1

ТП 89×76

89×3,0

76×3,0

160×3,0

180×3,0

160×3,0

32,5

42,5

39,0

110

1010

270

1200

1280

900

1130

2

1

ТП 108×70

108×3,5

76×3,0

200×3,2

160×3,0

42,8

39,0

120

1000

283

1200

1283

900

1133

2

1

ТП 108×89

108×3,5

89×3,0

200×3,2

160×3,0

180×3,0

42,8

32,5

42,5

120

990

297

1200

1287

900

1137

2

1

ТП 133×89

133×3,5

89×3,0

225×3,5

160×3,0

180×3,0

42,5

32,5

42,5

132,5

978

314

1200

1292

900

1142

2

1

ТП 133×108

133×3,5

108×3,5

225×3,5

200×3,2

42,5

42,8

132,5

968

328

1200

1296

900

1146

2

1

ТП 159×108

159×4,5

108×3,5

250×3,9

200×3,2

41,6

42,8

145

955

347

1200

1302

900

1152

2

1

ТП 159×133

159×4,5

133×3,5

250×3,9

225×3,5

41,6

42,5

145

943

364

1200

1307

900

1157

2

1

ТП 219×133

219×5,0

133×3,5

315×4,9

225×3,5

43,1

42,5

177,5

910

410

1200

1320

900

1170

2

1

ТП 219×159

219×5,0

159×4,5

315×4,9

250×3,9

43,1

41,6

177,5

898

427

1200

1325

900

1175

2

1

ТП 273×159

273×5,0

159×4,5

355×5,6

400×6,3

250×3,9

35,4

57,2

41,6

220

855

488

1200

1343

900

1193

2

1

ТП 273×219

273×5,0

219×5,0

355×5,6

400×6,3

315×4,9

35,4

57,2

43,1

220

823

533

1200

1356

900

1206

2

1

ТП 325×219

325×6,0

219×5,0

400×6,3

450×7,0

315×4,9

31,2

55,5

43,1

220

798

569

1200

1367

700

1217

2

1

ТП 325×273

325×6,0

273×5,0

400×6,3

450×7,0

355×5,6

400×6,3

31,2

55,5

35,4

57,2

220

755

530

1200

1385

700

1235

2

1

ТП 426×273

420×7,0

273×6,0

500×8,8

400×6,3

58,2

57,2

300

700

707

1200

1407

700

1257

2

1

ТП 426×325

 

325×7,0

 

450×7,0

 

55,5

 

1275

743

1800

2018

1300

1768

 

 

ТП 530×325

530×7,0

325×7,0

710×11,1

450×7,0

78,9

55,2

375

1200

849

1800

2049

1300

1800

2

1

ТП 530×426

 

426×7,0

 

500×8,8

 

58,2

 

1145

926

 

2071

 

1821

 

 


Рис. 5 Основные показатели теплоизолированных переходов

1 - стальная труба, 2 - пенополиуретановая теплоизоляция, 3 - полиэтиленовая оболочка

1.14.3. Для изготовления теплоизолированных отводов использует стальные отводы по ГОСТ 17374-83 [3] и ГОСТ 17375-83 [4].

1.14.4. Основные размеры теплоизолированных отводов представлены на рис. , , и в таблице 3.

В таблице 3, а также таблицах 4. 5, 6, 7 даны рекомендуемые размеры, которые могут быть изменены по требованию Заказчика.

1.15. Тройники

1.15.1. Тройники предназначены для ответвления трубопроводов одинаковых и разных диаметров.

1.15.2. Тройники с индустриальной тепловой изоляцией представляют собой отрезки труб с вваренными в них под углом в 90° трубами ответвления с нанесенной в условиях цеха теплоизоляцией из ППУ в полиэтиленовой или металлической защитной оболочке.

1.15.3. Для изготовления теплоизолированных тройников используют стальные бесшовные приварные равнопроходные и переходные тройники на Ру ≤ 10 МПа (≤ 100 кг/см2) по ГОСТ 17374-83 и ГОСТ 17376-83 [5].

1.15.4. Основные размеры изолированных равнопроходных тройников должны соответствовать требованиям рис. 3 и таблицы 4, переходных тройников - требованиям рис. 4 и таблицы 5.

1.16. Переходы

1.16.1. Переходы предназначены для соединения стальных (теплоизолированных) труб разного диаметра.

1.16.2. Для изготовления теплоизолированных переходов могут быть использованы готовые концентрические переходы, по ГОСТ 17374-83 и ГОСТ 17378-83* [6], с приваренными к ним патрубками, либо изготовленные на месте путем сварки стальных труб.

1.16.3. Основные размеры теплоизолированных переходов должны отвечать требованиям рис. 5 и таблицы 6.

Таблица 6

Основные размеры теплоизолированных переходов (мм)

Наружный диаметр стальной трубы

Толщина стенки стальной трубы

Длина стал. перехода

Наружный диаметр ПЭ оболочки

Длина теплоизол. перехода

dн

d'н

S

S'

l

d1

d'1

L

1

2

3

4

5

6

7

8

57

32

4,0

5,0

2,0

3,0

45

125

140

110

650

76

57

3,5

6,0

3,0

5,0

6,0

70

160

125

140

750

89

76

3,5

6,0

3,0

5,0

75

160

180

160

750

57

3,5

6,0

3,0

5,0

160

180

125

140

108

89

4,0

6,0

3,5

6,0

80

200

160

180

850

76

4,0

6,0

3,5

6,0

200

160

57

4,0

6,0

3,0

4,0

200

125

140

133

108

5,0

8,0

4,0

6,0

100

225

200

850

89

4,0

6,0

8,0

3,5

5,0

6,0

225

160

180

76

5,0

8,0

3,5

5,0

225

160

57

4,0

8,0

3,0

4,0

225

125

140

159

133

4,5

8,0

4,0

8,0

130

250

225

850

108

4,5

8,0

4,0

6,0

250

200

89

4,5

8,0

3,5

6,0

75

250

160

180

950

76

4,5

8,0

3,5

4,0

250

160

57

4,5

8,0

3,0

4,0

250

125

140

219

159

6,0

10,0

4,5

8,0

140

315

250

950

133

6,0

10,0

4,0

8,0

315

225

108

8,0

10,0

4,0

6,0

95

315

200

950

89

8,0

10,0

3,5

5,0

315

160

180

76

8,0

10,0

3,5

5,0

315

160

57

8,0

10,0

3,0

4,0

315

125

140

273

219

7,0

10,

12,0

6,0

8,0

10,0

180

355

400

315

950

159

7,0

10,0

12,0

4,5

6,0

10,0

355

400

250

133

8,0

10,0

4,0

10,0

140

355

400

225

108

8,0

10,0

4,0

5,0

355

400

200

325

273

8,0

10,0

12,0

8,0

10,0

12,0

180

400

450

355

400

1200

219

10,0

12,0

8,0

10,0

400

450

315

159

8,0

12,0

4,5

8,0

140

400

450

250

133

8,0

12,0

5,0

8,0

400

450

225

108

10,0

12,0

4,0

6,0

400

450

200

426

325

8,8

7,0

220

580

450

1000

273

6,3

400

800

219

4,9

315

800

530

426

11,1

8,8

300

710

560

1000

325

7,0

450

1000

273

6,3

400

900

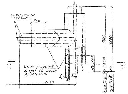
1.17. Неподвижные опоры

1.17.1. Неподвижные элементы предназначены для применения в сборных и монолитных неподвижных железобетонных опорах.

1.17.2. Изолированные вкладыши для неподвижных опор представляют собой отрезки труб с приваренными к ним опорными фланцами, изолированные пенополиуретаном, в полиэтиленовой оболочке. Опорные фланцы выступают над изоляцией для возможности заделки элементов в опоре. Для неподвижных опор должна применяться сталь листовая по ГОСТ 19903-74 /26/.

1.17.3. Сварку опорных фланцев производят по всему периметру соприкосновения металлических деталей. Для Ду = 50 - 250 мм высота сварного шва должна быть 5 - 6 мм, для Ду > 300 мм - 8 - 10 мм.

1.17.4. После окончания сварных работ фланец следует покрыть антикоррозионным составом (например, грунтовкой ГФ-021, ГОСТ 25129-82 [7], краской БТ-577, ГОСТ 5631-79 [8]).

1.17.5. Основные размеры неподвижных опор должны соответствовать значениям, представленным на рис. 6 и в таблице 7.

1.18. Сильфонные осевые компенсаторы

1.18.1. Сильфонные осевые компенсаторы предназначены для компенсации тепловых перемещений теплопровода, только на прямолинейных участках трассы между неподвижными опорами при любом способе прокладки.

1.18.2. Основные размеры теплоизолированных сильфонных компенсаторов представлены на рис. 7 и в таблице 8.

1.19. Защитное наружное покрытие

1.19.1. В качестве наружного гидроизоляционного покрытия используют полиэтиленовые оболочки, изготовленные по ГОСТ 18599-83 [9] из полиэтилена низкого давления (ГОСТ 16338-85 [10]) марок 203-03 первого и высшего сортов и по ТУ 6-05-1870-84 [11] марки 273-71 высшего и первого сортов, из полиэтилена высокого давления термосветостабилизированного марки 153-10К (ГОСТ 16336-77 [12]) или спирально-замковые трубы из оцинкованной стали.

Свойства полиэтиленовых оболочек должны соответствовать требованиям, изложенным в пп. 1.7.9 и 1.7.10 ТУ 576431-006-01297858-99 [13].

Допускается применение импортных марок полиэтилена, близких по свойствам к перечисленным выше, при условии согласования с органами Госсанэпиднадзора.

1.19.2. Минимальная толщина полиэтиленовой оболочки для сварки должна быть не менее 3,0 мм.

1.19.3. Общие требования к сварке полиэтилена.

1.19.3.1. Индекс текучести расплава полиэтилена не должен отличаться более чем на 0,5 г/10 мин.

1.19.3.2. В любой точке окружности несоосность между соединяемыми частями в радиальном направлении не должна превышать 30 % толщины стенок.

1.19.3.3. Качество сварки проверяют визуально по всей длине сварки.

1.19.3.4. После заполнения пенополиуретаном на швах не должна появляться пена. В противном случае изделие бракуется.

1.19.4. После заполнения пеной наружный диаметр полиэтиленовой оболочки не должен увеличиваться более чем на 2 %. Увеличение диаметра оболочки определяют измерением длины окружности в одной и той же точке до и после заполнения пенополиуретаном.

Рис. 6 Неподвижная опора

1 - стальная труба, 2 - пенополиуретановая теплоизоляция, 3 - полиэтиленовая оболочка, 4 - стальное кольцо, 5 - термоусаживающаяся манжета, 6 - стальной фланец

Таблица 7

Основные размеры теплоизолированных неподвижных элементов (опор)

Стальная труба

Полиэтиленовая оболочка

Стальное кольцо

Термоусаживающаяся манжета

Стальной фланец

l1

Центрирующая опора

наруж. диам., мм

Дн

толщ. стенки, мм

δтр

наруж. диам., мм

d1

толщ. стенки, мм

δ1

кол-во, шт.

наруж. диам., мм

d3

толщ. стенки, мм

δ

кол-во, шт.

наруж. диам., мм

d

толщ. стенки, мм

наруж. диам., мм

d4

внутр. диам., мм

d

толщ. стенки, мм

1

2

3

4

5

6

7

8

9

10

11

12

13

14

15

57

3,0 (3,5)

125

140

2,5

3,0

2

152

3

2

160

3,0

255

60

15

342,5

2

76

3,0 (3,5)

160

3,0

2

168

3

2

180

3,0

275

80

15

342,5

2

89

3,0 (3,5)

160

180

3,0

3,0

2

219

3

2

200

3,2

295

95

15

342,5

2

108

3,5 (4,0)

200

3,2

2

219

4

2

225

3,5

315

114

20

340,0

2

133

3,5 (4,0)

225

3,5

2

273

4

2

250

3,9

340

140

20

340,0

2

159

4,5

250

3,9

2

273

5

2

278

3,9

370

400

167

25

340,0

2

219

5,0 (6,0)

315

4,9

2

325

5

2

343

4,9

450

460

227

25

337,5

2

273

5,0 (7,0)

355

400

5,6

6,3

2

420

7

2

433

6,3

550

280

30

335,0

2

325

6,0 (7,0)

400

450

6,3

7,0

2

530

7

2

-

-

550

330

30

40

335,0

2

426

7,0

560

8,8

2

630

7

2

-

-

750

430

30

40

335,0

2

530

7,0

710

11,0

2

720

7

2

-

-

 

 

 

392,0

4

Рис. 7 Сильфонный компенсатор

Таблица 8

Основные размеры сильфонного компенсатора

d, мм

d1, мм

D, мм

е, мм

57

140

250

100

76

160

315

100

89

180

315

100

108

200

315

125

133

225

400

125

159

250

400

125

219

315

450

125

273

400

560

125

325

450

710

125

1.19.5. Спирально-замковые трубы изготавливают по ТУ 36-736-93 /24/ из стальной оцинкованной ленты, отвечающей требованиям ГОСТ 14918-80 /25/.

Характеристики спирально-замковых труб приведены в п. 1.7.13. ТУ 576431-006-01297858-99.

1.20. Теплоизоляция

1.20.1. В качестве теплоизоляционного материала используют экологически безопасный бесфреоновый пенополиуретан заливочных марок отечественного или импортного производства (см. п. 1.7.5. ТУ 576431-006-01297858-99).

1.20.2. Физико-механические свойства пенополиуретанов должны отвечать требованиям п. 1.7.6. указанных в п. 1.20.1. ТУ.

1.21. Центрирующие опоры

1.21.1. Центрирующие опоры должны изготавливаться из ПЭ низкого давления трубных марок по ГОСТ 16338-85Е или полипропилена по ГОСТ 26996-86Е /27/.

1.21.2. Опоры устанавливаются на фасонных изделиях по месту, но не более чем через 0,5 м.

1.22. Сборный элемент

1.22.1. Свободные от изоляции концы должны быть равны 150 мм.

1.22.2. Расстояние между осевыми линиями металлической трубы и полиэтиленовой оболочки элемента не должно превышать 3 мм для оболочки диаметром 75 - 160 мм, 4,5 мм для оболочки диаметром 180 - 400 мм, 6 мм для диаметров 426 - 630 и 8 мм для оболочки диаметром 710 мм.

1.22.3. Угол отклонения между основной трубой и оболочкой на длине 100 мм от конца не должен превышать 2°.

1.23. Требования к готовым теплоизолированным элементам

1.23.1. Теплоизолированные элементы по требованию заказчика могут быть изготовлены как с проводниками-индикаторами системы оперативного дистанционного контроля состояния теплоизоляции из ППУ, так и без них.

1.23.2. Поверхности торцев тепло- и гидроизоляционного слоев должны быть ровными и перпендикулярны к оси стальной трубы (детали).

1.23.3. Поверхность теплоизоляции на торцах должна быть защищена от попадания влаги.

1.23.4. Допускаемые отклонения по длине наружной полиэтиленовой оболочки не должны превышать +5 мм.

1.23.5. Срок службы теплоизолированных элементов - не менее 30 лет.

1.24. Маркировка

1.24.1. Все изделия, принятые ОТК предприятия, должны иметь маркировку согласно ГОСТ 25880-83 [14].

1.24.2. Маркировку наносят светлой несмывающейся краской с помощью трафарета или штампа с высотой букв (цифр) не менее 10 мм по ГОСТ 2.304-81 [15].

1.2.4.3. В маркировке на поверхности изделия или на этикетке должны быть указаны:

- условное обозначение изделия,

- наименование предприятия-изготовителя,

- год и месяц изготовления, № партии,

- штамп ОТК,

- № ТУ.

1.25. Упаковка, транспортировка и хранение

1.25.1. Теплоизолированные элементы транспортируют упакованными в ящики или контейнеры для предотвращения их повреждения в процессе перевозки в комплекте с теплоизолированными трубами.

1.25.2. Перевозку теплоизолированных элементов, также как и труб, можно осуществлять автомобильным, железнодорожным и водным транспортом в соответствии с «Правилами перевозки грузов в прямом, смешанном железнодорожно-водном сообщении». М., «Транспорт». 1985., «Правилами перевозки грузов автомобильным транспортом». М., «Транспорт». 1984.

1.25.3. Транспортировку, погрузочно-разгрузочные работы допускается производить при температуре не ниже 20 °С.

1.25.4. Складирование элементов осуществляют в специально отведенном месте в соответствии с видом изделия и его размерами.

1.25.5. При хранении изделия могут подвергаться воздействию атмосферной среды при температурах от - 60 до +40 °С в течение 1 года при наличии консервационного покрытия на торцах теплоизоляции.

1.25.6. Для погрузки и разгрузки элементов следует использовать мягкие полотенца или тросы, протягиваемые внутрь элемента. Не допускается использовать удавки, цепи, канаты и другие грузозахватные устройства, вызывающие повреждение изоляции.

1.25.7. Запрещается сбрасывать, волочить и соударять изделия.

5. Гарантии поставщика

5.1. Предприятие-изготовитель гарантирует соответствие качества теплоизоляции теплоизолированных элементов требованиям настоящих Технических условий при условии соблюдения правил хранения и транспортировки.

5.2. Гарантийный срок безаварийной работы теплоизоляции теплоизолированных изделий - не менее 30 лет при подземной прокладке при условии соблюдения правил эксплуатации.

Гарантийный срок исчисляется с момента изготовления теплоизолированных элементов.

 




ГОСТЫ, СТРОИТЕЛЬНЫЕ и ТЕХНИЧЕСКИЕ НОРМАТИВЫ.
Некоммерческая онлайн система, содержащая все Российские Госты, национальные Стандарты и нормативы.
В Системе содержится более 150000 файлов нормативно-технической документации, действующей на территории РФ.
Система предназначена для широкого круга инженерно-технических специалистов.

Рейтинг@Mail.ru Яндекс цитирования

Copyright © www.gostrf.com, 2008 - 2026