Крупнейшая бесплатная информационно-справочная система онлайн доступа к полному собранию технических нормативно-правовых актов РФ. Огромная база технических нормативов (более 150 тысяч документов) и полное собрание национальных стандартов, аутентичное официальной базе Госстандарта. GOSTRF.com - это более 1 Терабайта бесплатной технической информации для всех пользователей интернета. Все электронные копии представленных здесь документов могут распространяться без каких-либо ограничений. Поощряется распространение информации с этого сайта на любых других ресурсах. Каждый человек имеет право на неограниченный доступ к этим документам! Каждый человек имеет право на знание требований, изложенных в данных нормативно-правовых актах!

  


 

ГОСТ Р 51623-2000

ГОСУДАРСТВЕННЫЙ СТАНДАРТ РОССИЙСКОЙ ФЕДЕРАЦИИ

КОНСТРУКЦИИ БАЗОВЫЕ НЕСУЩИЕ РАДИОЭЛЕКТРОННЫХ СРЕДСТВ

Система построения и координационные размеры

ГОССТАНДАРТ РОССИИ

Москва

СОДЕРЖАНИЕ

1. Область применения

2. Нормативные ссылки

3. Определения

4. Система построения БНК

4.1. Назначение БНК

4.2. Конструктивные уровни разукрупнения БНК и их взаимосвязь

4.3. БНК первого уровня

4.4. БНК второго уровня

4.5. БНК третьего уровня

5. Координационные размеры БНК

5.1. Общие положения

5.2. Координационные размеры БНК1

5.3. Координационные размеры БНК2

5.4. Координационные размеры БНК3

5.5. Координационные размеры БНК2 и БНК3 бортовых авиационных РЭС

 

Предисловие

1. РАЗРАБОТАН ОАО «Авангард» Российского Агентства по системам управления

ВНЕСЕН ОАО Центральным научно-исследовательским институтом радиоэлектронных систем («ЦНИИРЭС»)

2. ПРИНЯТ И ВВЕДЕН В ДЕЙСТВИЕ Постановлением Госстандарта России от 30 июня 2000 г. № 174-ст

3. ВВЕДЕН ВПЕРВЫЕ

4. ПЕРЕИЗДАНИЕ

ГОСТ Р 51623-2000

ГОСУДАРСТВЕННЫЙ СТАНДАРТ РОССИЙСКОЙ ФЕДЕРАЦИИ

КОНСТРУКЦИИ БАЗОВЫЕ НЕСУЩИЕ РАДИОЭЛЕКТРОННЫХ СРЕДСТВ

Система построения и координационные размеры

Mechanical structure designs of electronic equipment.

Construction system and coordinating sizes

Дата введения 2001-01-01

1. Область применения

Настоящий стандарт распространяется на базовые несущие конструкции первого (БНК1), второго (БНК2) и третьего (БНК3) уровней разукрупнения радиоэлектронных средств (далее - РЭС) и устанавливает систему построения и координационные размеры, обеспечивающие их конструктивную совместимость.

2. Нормативные ссылки

В настоящем стандарте использованы ссылки на следующие стандарты:

ГОСТ 15845-80 Изделия кабельные. Термины и определения

ГОСТ 26632-85* Уровни разукрупнения радиоэлектронных средств по функционально-конструктивной сложности. Термины и определения

* С 1 июля 2003 г. введен в действие ГОСТ Р 52003-2003.

3. Определения

В настоящем стандарте применяют следующие термины с соответствующими определениями:

3.1. размерный модуль: Трехмерное компоновочное пространство, высота, ширина и длина которого кратны базовому шагу.

3.2. корпус контейнера (авиационного): Несущая конструкция второго уровня переносного типа, предназначенная для размещения в ней ячеек, электрорадиоизделий и деталей.

3.3. контейнер (авиационный): Конструктивно и функционально законченное РЭС в виде переносного блока, имеющее самостоятельное эксплуатационное значение.

3.4. корпус моноблока: Несущая конструкция третьего уровня с повышенными требованиями к жесткости, прочности и электромагнитной совместимости, предназначенная для размещения в ней приборов и блоков и позволяющая создавать одно- или многосекционную конструкцию.

3.5. моноблок: Конструктивно и функционально законченное РЭС в виде нескольких приборов, ячеек и блоков, имеющее самостоятельное эксплуатационное назначение, размещаемое в специальном корпусе, выполненном на основе несущей конструкции третьего уровня (корпус моноблока).

3.6. Остальные термины, применяемые в настоящем стандарте, - по ГОСТ 26632, ГОСТ 15845.

4. Система построения БНК

4.1. Назначение БНК

4.1.1. БНК применяют в РЭС, построенных по модульному принципу. Они предназначены для обеспечения:

- конструктивной совместимости;

- размерной взаимозаменяемости по габаритам и монтажным размерам (фиксирующие отверстия, контуры и т.д.) электронных модулей;

- рационального использования площади и объема носителей;

- технологичности конструкций.

4.2. Конструктивные уровни разукрупнения БНК и их взаимосвязь

4.2.1. Система построения и входимости БНК по ГОСТ 26632 предусматривает три уровня разукрупнения: БНК1, БНК2 и БНК3 (рисунок 1).

1, 2 - ячейки; 3 - корпус блока; 4 - блочный каркас; 5 - корпус вставного блока; 6 - корпус блока (авиационного); 7 - корпус контейнера (авиационного); 8 - корпус шкафа; 9 - корпус пульта; 10 - корпус моноблока; 11 - корпус шкафа для выдвижной стойки; 12 - выдвижная стойка

Рисунок 1 - Система построения и входимости БНК

4.2.2. Схема построения РЭС может быть двух видов:

- двухуровневая (ячейка - шкаф);

- трехуровневая (ячейка - блок - шкаф; ячейка - контейнер - рама и т.д.).

4.3. БНК первого уровня

4.3.1. БНК1 предназначены для создания электронных модулей первого уровня (ЭМ1) цифровых и аналоговых РЭС, модулей от НЧ до СВЧ диапазона, а также модулей системы вторичного электропитания и управления. Для всех видов модулей применяют типовые электрические соединители, обеспечивающие заданные требования к РЭС. Допускается установка дополнительных электрических соединителей на передних панелях БНК1. Для модулей СВЧ диапазона возможно применение волоконно-оптического соединителя.

4.3.2. БНК1 может быть каркасного и бескаркасного типа. БНК1 может иметь защитный экран, радиатор и может быть выполнена в герметичном исполнении.

4.3.3. БНК1 устанавливают в конструкции более высокого уровня разукрупнения по направляющим: в корпус вставного блока - параллельно лицевой панели или параллельно боковым стенкам, в блочный каркас (или корпус шкафа) - параллельно боковым стенкам.

4.3.4. Координационные размеры БНК1 определяются размером печатной платы (ПП). По модульному принципу размеры БНК1 могут превышать размеры ПП на значение, кратное 2,5 мм.

4.4. БНК второго уровня

4.4.1. БНК2 предназначены для создания электронных модулей второго уровня (ЭМ2). Конструктивной основой БНК2 является сборочная единица, состоящая из боковых рам, соединенных профилями и стяжками, или монолитных конструкций.

4.4.2. Блочный каркас служит для размещения в нем БНК1 или корпусов вставных блоков и является промежуточным конструктивным элементом между этими конструктивами и БНК3. Особенностью блочного каркаса является наличие боковых монтажных фланцев для крепления его в БНК3 с помощью винтов на лицевых сторонах вертикальных профилей либо посредством дополнительной крепежной арматуры.

По ширине блочный каркас занимает весь проем БНК3 и может быть разделен перегородками на отсеки. В отсеки устанавливают корпуса вставных блоков, ширина которых меньше проема БНК3 или БНК1 (в один или два ряда по высоте).

4.4.3. Корпус вставного блока служит для размещения БНК1. Характерной особенностью корпуса вставного блока является наличие передней (лицевой) и задней панелей, а также фиксирующих элементов (кодовых штырей, ловителей и т.п.). Передняя панель служит для размещения элементов индикации и управления, элементов электрических соединений и т.п. В зависимости от условий эксплуатации элементы крепления могут быть винтовыми либо в виде замков. Задняя панель служит для размещения элементов электрических соединений.

4.4.4. БНК1 размещают в корпусе вставного блока в один или два ряда по высоте. Корпус вставного блока устанавливают по направляющим в блочный каркас или непосредственно в БНК3.

4.4.5. Настольные переносные и авиационные бортовые блоки создают путем размещения конструктивной основы БНК2 в соответствующие корпуса или кожухи.

4.4.6. Корпус блока бортовых авиационных РЭС состоит из сборных или монолитных конструкций и предназначен для размещения ячеек, электрорадиоизделий и деталей. Корпус блока имеет кожух или входит в состав более крупных РЭС, имеющих конструктивную или иную защиту от внешних воздействий.

4.4.7. Основой электрических соединений ЭМ1 в БНК2 являются соединительные ПП, в том числе многослойные, и кабельные соединения, а также другие соединительные устройства на базе новых технологий. Вывод внешних соединительных электрических связей из БНК2 определяется ее компоновкой в БНК3 и представляет возможность применения врубного, накидного и петлевого электромонтажа.

При агрегатировании БНК2 в составе РЭС электрические соединения между ними осуществляются преимущественно плоскими кабелями.

4.4.8. Координационные размеры БНК2 определяются размерами БНК1 и БНК3.

4.5. БНК третьего уровня

4.5.1. БНК3 предназначены для создания электронных модулей третьего уровня (ЭМ3).

4.5.2. Конструктивную основу БНК3 составляют вертикальные и горизонтальные профили, а также допускается использовать межэтажные перегородки и рамы с направляющими для установки БНК1 и БНК2.

4.5.3. К БНК3 относят стойки, корпуса шкафов, пультов, моноблоков, стеллажи, тумбы, секции, приборные столы и монтажные рамы.

4.5.4. Стойка представляет собой конструкцию на основе вертикальных профилей с элементами межэтажного разделения (рамы, профили, уголковые направляющие и т.п.), а также с боковыми стенками, в некоторых случаях - и задней. БНК1 и корпуса вставных блоков крепят через лицевые панели к элементам межэтажных перекрытий стойки.

4.5.5. Корпус шкафа отличается от стойки наличием передней, а в некоторых случаях - и задней двери с уплотняющими прокладками.

В случае применения принудительного охлаждения используют соответствующие теплообменники.

4.5.6. Корпус пульта характеризуется наличием вертикальных, горизонтальных и наклонных панелей, а также специальных элементов крепления для размещения элементов индикации, контроля, управления и отображения информации.

4.5.7. Стеллаж представляет собой стойку без задней и боковых стенок, имеющую сплошные горизонтальные перегородки для установки блоков в настольном и переносном исполнении.

4.5.8. Для удобства перемещения БНК3 могут быть снабжены колесами.

4.5.9. Тумба является фрагментом стойки, на верхней плоскости которой может быть размещено переносное оборудование.

4.5.10. Приборные столы состоят из одной или нескольких тумб, соединенных со столешницей.

4.5.11. Электрические соединения между ЭМ3 осуществляют, как правило, с помощью плоских кабелей.

4.5.12. Наружные координационные размеры БНК3 определяются параметрами носителя.

5. Координационные размеры БНК

5.1. Общие положения

5.1.1. Система построения БНК основывается на унификации координационных, установочных и присоединительных размеров, при этом определяющим фактором является выбор модульной сетки и размерных модулей для БНК.

5.1.2. Координационные размеры БНК по высоте Н, ширине В и длине (глубине проема для установки) L соответствует однородной метрической трехмерной модульной сетке.

5.1.3. В качестве базовых приняты размерные модули: 2,5 мм (для координационных размеров БНК1 и присоединительных размеров БНК всех уровней) и 25,0 мм (для координационных размеров БНК2 и БНК3). Это создает оптимальные условия для применения автоматизированных методов на всех стадиях конструирования и производства РЭС.

5.1.4. Все координационные размеры БНК кратны размерным модулям. Точки крепления элементов БНК, а также их установочные и присоединительные размеры должны находиться в узлах координационной сетки соответствующего размерного модуля.

5.2. Координационные размеры БНК1

5.2,1. Значения Н, В и L БНК1 (рисунок 2) приведены в таблице 1. Под высотой понимают сторону ячейки, на которой установлен электрический соединитель.

1 - лицевая панель; 2 - печатная плата; 3 - электрический соединитель; 4 - объединительная печатная плата

Рисунок 2 - Координационные размеры БНК1 (ячейка)

Таблица 1

В миллиметрах

H

50; 75; 100; 115; 170; 265; 365; 415

B

12,5; 15; 17,5; 20; 22,5; 25; 30; 40; 50; 60; 75; 100

L

175; 225; 250; 300

Примечание - Координационные размеры БНК1 с учетом обрамления могут превышать размеры печатной платы на значение, кратное 2,5 мм.

5.3. Координационные размеры БНК2

5.3.1. Координационные размеры блочных каркасов Н, В, L и соответствующие размеры Н1,  В1 и L1 проемов для установки БНК1 обозначены на рисунке 3.

Рисунок 3 - Координационные размеры БНК2 (блочный каркас)

5.3.2. Координационные размеры блочных каркасов Н приведены в таблице 2.

Таблица 2

В миллиметрах

Н*

75; 100; 150; 200; 300; 400; 450

Н**

50; 75; 125; 175; 275; 375; 425

*Н = п25 (п - коэффициент, соответствующий числу размерных модулей в данном размере).

**Н1 = Н - 25 мм.

5.3.3. Координационные размеры блочных каркасов В приведены в таблице 3.

Таблица 3

В миллиметрах

В*

250; 350; 400; 450; 500

В1

225; 325; 375; 425; 475

В2

285; 385; 435; 485; 535

*В = п25

Примечание - Значения В1 и В2 могут отличаться от указанных в таблице на значения, кратные 2,5 мм

5.3.4. Координационные размеры L = L1 (L1 - глубина проема для установки БНК1) блочных каркасов: 175; 225; 250; 300.

Примечание - Наружные координационные размеры L2 и L3, образующие дополнительные пространства для электрических соединений, элементов системы охлаждения, должны быть кратны 25 мм.

5.3.5. Координационные размеры корпусов вставных блоков (рисунок 4) приведены в таблице 4.

Рисунок 4 - Координационные размеры БНК2 (корпус вставного блока)

Таблица 4

В миллиметрах

H

50; 75; 125; 175; 275; 375; 425

В

125; 200; 250; 300; 325

L

150; 200; 250; 275

Примечание - Размер L может отличаться от указанных в таблице на значения, кратные 25 мм.

5.3.6. Координационные размеры настольных и переносных блоков равны размерам вставных шоков с возможным увеличением их на значение, кратное 2,5 мм.

5.4. Координационные размеры БНК3

5.4.1. Координационные размеры корпусов шкафов и стоек H, В, L и соответствующие размеры проемов для установки блочных каркасов или вставных блоков Н1, В1 и L1 обозначены на рисунке 5.

Рисунок 5 - Координационные размеры БНК3 (корпус шкафа)

5.4.2. Координационные размеры Н корпуса шкафа или стойки приведены в таблице 5. Размеры Н включают крышки, опоры, колеса и т. п.

Таблица 5

В миллиметрах

Н*

600; 800; 1000; 1200; 1400; 1600; 1800; 2000; 2200; 2400; 2600

Н1*

350; 550; 750; 950; 1150; 1350; 1550; 1750; 1950; 2150; 2350

*Н = п25.

**Н1 = Н - 250 мм.

Примечания

1. Наружные координационные размеры Н корпусов шкафов или стоек, включающие дополнительное оборудование, например крышки, облицовочные панели или вентиляторы, смонтированные сверху корпуса шкафа, должны быть кратны 25 мм.

2. Размеры проемов Н1 допускается увеличивать на значение, кратное 25 мм.

5.4.3. Координационные размеры корпусов шкафов или стоек В приведены в таблице 6.

Таблица 6

В миллиметрах

В*

300; 400; 500; 600; 900; 1000; 1200

В1**

200; 300; 400; 500; 800; 900; 1100

*В = п25.

**В1 = В100 мм.

Примечания

1. Размеры В включают крышки и выступающие части их крепежных изделий.

2. Если на краях ряда корпусов шкафов или стоек требуется дополнительное оборудование, то общие координационные размеры должны быть равны целому кратному шагу 25 мм с каждой стороны,

3. Размеры проема могут быть увеличены на значение, кратное 5 мм.

5.4.4. Размеры L приведены для корпусов шкафов (стоек) и включают двери и крышки, если они являются неотъемлемыми частями конструкции. Этим достигается одинаковая глубина корпусов шкафов и стоек при установке их в общие ряды.

Размеры L и L1 приведены в таблице 7.

Таблица 7

В миллиметрах

L*

300; 350; 400; 500; 600; 800; 900; 1000; 1200

L1**

200; 250; 300; 400; 500; 700; 800; 900; 1100

*L = n25.

**L1  = L - 100 мм.

Примечания

1. Размеры L1 могут быть увеличены на значение, кратное 5 мм.

2 Если корпуса шкафов и стоек одинаковой конструкции, то целесообразно обеспечить двери дополнительными размерами L2, L3 = n25.

3. При необходимости установки сзади корпуса шкафа или стойки дополнительного оборудования (кабельные коробки, воздухоотсекатели) их размеры должны быть кратны 25 мм.

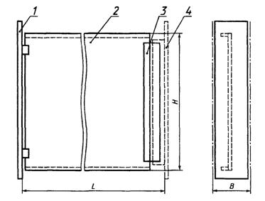
5.4.5. Координационные размеры корпусов моноблоков Н, В, L и соответствующие им Н1, В1 и L1, размеры проемов для установки частичных вставных каркасов и БНК1 обозначены на рисунке 6.

Рисунок 6 - Координационные размеры БНК3 (корпус моноблока)

Координационные размеры корпусов моноблоков приведены в таблице 8.

Таблица 8

В миллиметрах

H

H1

B

B1

L

L1

250; 350

175; 275

600

475

450

400

5.5. Координационные размеры БНК2 и БНК3 бортовых авиационных РЭС

5.5.1. Координационные размеры БНК2 и БНК3 бортовых авиационных РЭС обозначены на рисунке 7.

Рисунок 7 - Координационные размеры БНК2 и БНК3 бортовых авиационных РЭС

5.5.2. Наружные координационные размеры БНК2 бортовых авиационных РЭС соответствуют размерам корпусов типа К по нормативному документу, утвержденному в установленном порядке, и обеспечивают возможность установки в них БНК1 с размерами, приведенными в настоящем стандарте.

5.5.3. Координационные размеры БНК2 обозначены на рисунке 7а и приведены в таблице 9.

Таблица 9

Размеры в миллиметрах

Условное обозначение блока

L

Н

В ±0,5

Условное

обозначение

блока

L

Н

В ±0,5

0,5 К

318

(385)

194

25,4

3,5 К

318

(385)

194

223,3

1 К

57,2

4 К

256,3

1,5 К

90,4

4,5 К

289,3

2 К

124,0

5 К

322,3

2,5 К

157,2

5,5 К

355,3

3 К

190,5

6 К

388,4

Примечание - Размер, указанный в скобках, учитывает наличие допускаемых выступов со стороны передней панели.

5.5.4. Координационные размеры БНКЗ бортовых авиационных РЭС обозначены на рисунке 7б и приведены в таблице 10.

Таблица 10

Размеры в миллиметрах

Условное обозначение блока

L

Н

В ±0,5

Условное обозначение блока

L

Н

В ±0,5

410

196

190,5

7 К

410

196

454,4

3,5 К

223,3

7,5 К

487,4

256,3

8 К

520,4

4,5 К

289,3

8,5 К

553,5

5 К

322,3

9 К

586,5

5,5 К

355,3

9,5 К

619,5

6 К

388,4

10 К

652,5

6,5 К

421,4

 

 

 

Ключевые слова: базовые несущие конструкции (БНК), радиоэлектронные средства, система построения и координационные размеры, модульный принцип построения БНК, конструктивные уровни построения БНК

 

 




ГОСТЫ, СТРОИТЕЛЬНЫЕ и ТЕХНИЧЕСКИЕ НОРМАТИВЫ.
Некоммерческая онлайн система, содержащая все Российские Госты, национальные Стандарты и нормативы.
В Системе содержится более 150000 файлов нормативно-технической документации, действующей на территории РФ.
Система предназначена для широкого круга инженерно-технических специалистов.

Рейтинг@Mail.ru Яндекс цитирования

Copyright © www.gostrf.com, 2008 - 2026