Крупнейшая бесплатная информационно-справочная система онлайн доступа к полному собранию технических нормативно-правовых актов РФ. Огромная база технических нормативов (более 150 тысяч документов) и полное собрание национальных стандартов, аутентичное официальной базе Госстандарта. GOSTRF.com - это более 1 Терабайта бесплатной технической информации для всех пользователей интернета. Все электронные копии представленных здесь документов могут распространяться без каких-либо ограничений. Поощряется распространение информации с этого сайта на любых других ресурсах. Каждый человек имеет право на неограниченный доступ к этим документам! Каждый человек имеет право на знание требований, изложенных в данных нормативно-правовых актах!

  


 

МИНИСТЕРСТВО ТРАНСПОРТНОГО СТРОИТЕЛЬСТВА

ГОСУДАРСТВЕННЫЙ ВСЕСОЮЗНЫЙ ДОРОЖНЫЙ
НАУЧН
О-ИССЛЕДОВАТЕЛЬСКИЙ ИНСТИТУТ
(СОЮЗДОРНИИ)

МЕТОДИЧЕСКИЕ РЕКОМЕНДАЦИИ
ПО ТЕХНОЛОГИИ ОТЕПЛЕНИЯ ГРУНТА
ПЕНИСТЫМИ МАТЕРИАЛАМИ
ПРИ ЕГО ЗИМНЕЙ РАЗРАБОТКЕ

Одобрены Минтрансстроем

Москва 1979

Изложены принципы рационального использования быстротвердеющих синтетических пен (БТП) и пенольда для защиты грунта в карьерах от промерзания в зимнее время. Приведены данные по выбору рецептуры, механизации и технологии изготовления пенистых покрытий, а также предложен расчет толщины отепляющих слоев. Дано экономическое обоснование применения отепления грунта при его разработке в зимних условиях строительства.

Предисловие

«Методические рекомендации по технологии отепления грунта пенистыми материалами при его зимней разработке» развивают положения действующих нормативных документов СНиП III-Д.5-73 и СН 449-72, касающиеся проведения земляных работ в зимних условиях.

В основу настоящих «Методических рекомендаций» положены исследования Ленинградского филиала Союздорнии. Использованы также материалы, полученные во ВНИИГ им. Б. Е. Веденеева, СибНИИГиМе, ВНИИНЕРУДе, ИРГИРЕДМЕТе, ЦНИИСе и других организациях по изготовлению и применению синтетических быстротвердеющих пен (БТП) для защиты грунта от промерзания в зимних условиях. В работе учтен опыт ЛИСИ по отеплению грунта замерзающими водовоздушными пенами (пенольдом).

Настоящие ««Методические рекомендации» составлены канд. техн. наук В. М. Иевлевым при участии кандидатов технических наук Ю. Я. Андрейченко азд. 5, приложения 3, 4) и М. П. Костельова (разд. 6).

1 Общие положения

1.1. «Методические рекомендации по технологии отепления грунта пенистыми материалами при его зимней разработке» предназначены для возведения насыпей из грунтов карьеров и выемок, разрабатываемых экскаваторами в зимнее время. При этом допускается некоторое промерзание грунта, обусловленное мощностью применяемого экскаватора (20 - 25 см при емкости ковша экскаватора более 0,65 м3).

1.2. Для защиты грунтов от промерзания в качестве основного теплоизолирующего слоя рекомендуется применять синтетическую быстротвердеющую пену (БТП), изготовленную из мочевино-формальдегидных (карбамидных) смол. Для отепления небольших площадей можно использовать дешевый товарный пенопласт и его отходы различного вида.

1.3. Водовоздушные замерзающие пены (пенолед) применяют для усиления отепляющего действия пенопласта: в районах с суровым и холодным климатом - обязательно; при дефиците снегового покрова в районах с умеренным климатом - во второй половине зимы.

1.4. Синтетическую пену следует укладывать в предзимний период при положительной температуре воздуха. В условиях морского климата, с частыми оттепелями в зимний период, пенопокрытие надлежит изолировать с поверхности водонепроницаемой пленкой.

Получение пенольда из водовоздушной пены возможно при устойчивой температуре воздуха ниже -7 ÷ -8 °С.

1.5. Пенопласт, изготовленный из карбамидной смолы, можно впоследствии использовать для улучшения структуры, почвы в сельском хозяйстве, в частности для повышения водоудерживающей способности песчаных грунтов, дренажа болотистых почв, защиты почвы от эрозии под действием атмосферных осадков. Внесение пены обогащает почву азотом, что повышает урожайность овощных культур.

2. Исходные материалы и состав пен

2.1. Для получения БТП в полевых условиях пригодны любые типы мочевино-формальдегидных (карбамидных) смол, выпускаемых отечественной промышленностью. Кроме смолы, в состав БТП должны входить поверхностно-активные вещества (ПАВ), катализатор отверждения (крепитель) и вода. Для изготовления пенольда необходимы ПАВ и вода.

2.2. Стоимость и свойства различных типов смолы весьма близки (приложение 1 настоящих «Методических рекомендаций»), поэтому при строительстве можно использовать их любые марки. Но если есть возможность выбора, предпочтение следует отдавать смолам, имеющим больший срок хранения и меньшую токсичность (М-48, М19-62, К-2).

2.3. Для отверждения БТП следует использовать быстродействующие катализаторы. Наибольшее распространение из них получили соляная, щавелевая и ортофосфорная кислоты. Поскольку каждый тип смолы реагирует с одной или двумя кислотами, катализатор приобретают только после его проверки на реактивность с имеющейся смолой м. приложение 1).

2.4. Для вспенивания БТП можно применять самые различные типы ПАВ, но наиболее удобны жидкие пожарные пенообразователи (приложение 2).

Выбор типа пенообразователя диктуется возможностью приобретения, отпускной стоимостью, дальностью возки и т.д.

2.5. Оптимальный состав БТП (%) следующий.

Мочевино-формальдегидная смола................................................................................. 35

Слабоконцентрированная кислота (4 5 %)................................................................... 16

Жидкий пенообразователь............................................................................................ 2 - 4

Вода..................................................................................................................................... 45

Например, для изготовления 100 м3 БТП кратностью 20 требуется 1700 кг смолы М19-62, 40 кг сухой щавелевой кислоты, 200 л пенообразователя ПО- и 4800 л воды.

Обычно смолу используют в пеногенераторе в виде эмульсии с водой и пенообразователем, а кислоту - в виде слабого 4 - 5 %-ного раствора.

2.6. Для отепления небольших грунтовых площадок и карьеров можно использовать наиболее дешевые пенопласты фабричного изготовления, основные характеристики которых приведены в табл. 2.1. Более экономично отеплять грунт отходами различных пенопластов (обычно стоимостью 8 - 9 руб./м3,), равномерно распределенными по поверхности грунта и облитыми БТП, чтобы закрепить их и тем самым предохранить от раздувания ветром.

Таблица 2.1

Основные характеристики фабричного пенопласта

Полистирольный пенопласт

Фторопластовый пенопласт ФРП-1, ФРП-2

Карбамидный пенопласт МФП

ПСБ

ПСБС

Плотность, кг/м3............................................................

20 - 30

25 - 30

30 - 100

10 - 25

Коэффициент теплопроводности, ккал/м · ч · град. 

0,030 - 0,034

0,030 - 0,034

0,030 - 0,045

0,024 - 0,030

Удельная теплопроводность, ккал/кг · град.............

0,32

0,35

0,35

0,30

Себестоимость 1 м3, руб.............................................

20.67

20,67

39,73

8,10

2.7. Для изготовления пенольда пожарные пенообразователи ПО-1 и ПО-3 непригодны. Наиболее устойчивый пенолед дают следующие составы воздушных пен:

а) 0,2 %ый водный раствор средства «Волгонат» (МРТУ 6-01″39-65) с добавкой 0,05 карбоксилметилцеллюлозы (КМЦ);

б) 0,2 %-ный водный раствор эмульгатора Е-30 (производство ГДР) с добавкой 0,05 КМЦ или хозяйственного мыла.

3. Средства механизации

3.1. Стандартные пеногенераторы, предназначенные для изготовления пенопластов в полевых условиях, отечественной промышленностью не выпускаются. Следует использовать либо наиболее удачные модели, разработанные отдельными организациями, либо приспособить для изготовления синтетической пены механизмы, имеющиеся в дорожно-строительных организациях.

3.2. Для подготовки к зиме обычных и крупных дорожных карьеров можно применять модернизированную установку для отепления грунта быстротвердеющей пеной*) (рис. 3.1).

*) Установка разработана СибНИИГиМом, г. Красноярск.

Основные характеристики машины.

Емкость бака для эмульсии.......................................................................................... 120 л

Емкость бака для кислоты............................................................................................ 200 л

Давление воздуха для вспенивания

эмульсии............................................................................................................... 5 - 7 кг/см2

Давление воздуха в баке для кислоты............................................................... 2 - 3 кг/см2

Расход сжатого воздуха........................................................................................... 5 м3/мин

Производительность по пене......................................................................... 70 - 80 м3/час

Машину заправляют полностью рабочими растворами за 30 - 35 мин насосами, смонтированными на раме автомобиля. Все узлы пеногенератора вместе с пультом управления закреплены на платформе, которая установлена на автомобиле ЗИЛ-157К. Силовой установкой машины служит двигатель автомобиля и прицепной компрессор ЗИФ-55. Пеногенератор позволяет получать компрессор пену кратностью от 10 до 40 - 60 и более.

Рис. 3.1. Схема пеногенерирующей установки СибНИИГиМа:

1 - компрессор; 2 - указатели уровня; 3 - редуктор; 4 - бак для эмульсии; 5 - бак для кислоты; 6 - расходомеры; 7 - обратные клапаны; 8 - насосы; 9 - тара с кислотой; 10 - смеситель; 11 - тара со смолой (пенообразователем); 12 - перепускной клапан; - вентили;  - краны; ? - счетчики-литромеры

3.3 Синтетическую пену в небольших объемах можно изготовлять портативными эжекционными пеногенераторами*). Подобные аппараты собирают по двум основным схемам ис. 3.2).

*) Пеногенератор разработан во ВНИИГ им. Б. Е. Веденеева, г. Ленинград.

Схема А. Раствор смолы и пенообразователя подают насосом в смеситель, где опрыскивают кислотой. Здесь происходит предварительное вспенивание рабочей смеси, а окончательно структура пены формируется в воздухосмесителе.

Схема Б. Все растворы подают сжатым воздухом с помощью компрессора или баллона в смесители, где рабочую смесь вспенивают, а пену опрыскивают в конце системы, на выходе. Преимущество описанной схемы в том, что не происходит преждевременного схватывания смеси, благодаря чему уменьшается опасность закупорки напорной линии и штуцеров затвердевшими кусками пены. Это способствует более качественному формированию структуры и получению пены высокой кратности.

Пеногенераторы для удобства пользования следует монтировать на прицепных к автомобилям или тракторам колесных тележках.

3.4. Основным элементом пеногенераторов подобного типа является пеносмеситель эжекционного действия. Наиболее простая модель предложена ВНИИГ им. Б. Е. Веденеева. Оптимальные параметры пеносмесителя приведены в табл. 3.1.

Выходную часть насадки и входную диффузора при изготовлении пеносмесителя раззенковывают под углом 45°, а внутреннюю камеру полируют. Оси насадки и диффузора должны строго совпадать. Во избежание быстрой коррозии пеносмеситель рекомендуется изготовлять из нержавеющей стали.

Таблица 3.1

Основные параметры пеносмесителя

Величины параметров

Производительность по пене, м3/мин.................................

1 - 1,5

5

10

Диаметр отверстия насадки d, мм......................................

5,5

9

15

Угол конусности насадки Lк..............................................

13

13

13

Диаметр горловины диффузора dг, мм...............................

5,8

11

18

Угол конусности диффузора Lк.........................................

6

6

6

Длина горловины l, мм.....................................................

30

50

90

3.5. Воздухосмеситель может быть заимствован из противопожарных устройств либо изготовлен по аналогии, например, с воздухосмесителем 3 (см. рис. 3.2), где смесь вспенивается в конусной камере (Lк = 8,5°), воздух в которую подается из отверстий, просверленных в стенках диффузора под углом 45° к его оси.

3.6. Остальные элементы пеногенерирующей установки выбирают в соответствии с параметрами изготовленного пеносмесителя. Для того чтобы обеспечить производительность пеногенератора по пене 1 - 2 м3/мин, необходимы компрессоры с расходом воздуха 1,5 - 3 м3/мин и давлением более 6 кг/см2, гидравлические насосы со скоростью подачи жидкости более 2 - 3 м3/час и т.д. Кроме кранов, манометров, ресиверов, желательно снабдить пеногенераторы двумя дозаторами-расходомерами, поддерживающими оптимальную дозировку компонентов в смесителе. Бак для кислоты по объему должен быть в 5 - 6 раз меньше большого бака и иметь внутреннюю футеровку, защищающую металл от коррозии.

Рис. 3.2. Основные схемы (А, Б) эжекционных пеногенераторов:

1 - гидравлический насос; 2 - пеносмеситель; 3 - воздухосмеситель; 4 - компрессор (баллон); 5 - бак с раствором смолы и ПО; 6 - бак с кислотой; 7 - кран с манометром (и ресивером); 8 - обратный клапан, d1, d2 - диаметры насадки и горловины (см. табл. 3.1)

3.7. При сборке пеногенератора все соединения необходимо тщательно подгонять, а герметичность системы проверять специальными гидравлическими испытаниями под давлением, на 30 - 50 % превышающим рабочее давление напорной линии пеногенератора.

3.8. Для приготовления водовоздушной пены можно использовать пожарные пенообразующие устройства малой производительности: стволы ручные воздушно-пенные (типа СВП и СВПЭ), пеногенераторы (типа ПС), автоцистерны, автополивщики с пеногенерирующими насадками и т.д. Для получения водовоздушных пен пригодны также любые генераторы БТП. В последнем случае в большой бак заливают воду с ПО, а кислотную линию отключают.

4. Технология работ

4.1. Перед выездом на объект на базе отрабатывают оптимальный режим работы пеногенератора сначала на воде, затем на всех компонентах. При испытаниях проверяют правильность эжекции (пенообразования) с контролем кратности выходящей пены е меньше 20 - 30), скорости отверждения пены (20 - 30 мин), степени усадки пены (не более 10 - 15 % толщины слоя).

В процессе работ производят необходимую подрегулировку расходомеров и уточняют величины рабочих давлений в основных узлах пеногенератора. В первом приближении их принимают

в линии подачи эмульсии - 5 - 6 кг/см2;

в линии подачи кислоты - 2 - 3 кг/см2.

4.2. Баки пеногенератора направляют рабочими компонентами и вместе с компрессором перемещают к месту отепления грунта. Здесь к пеногенератору подключают насосы, компрессор и начинают изготовлять пену. Порядок работ при этом следующий: после включения силовой установки открывают впускные вентили и давление в баках доводят до расчетного. Затем открывают входные краны, в результате чего растворы попадают через дозаторы в смеситель (реактор) и образуется пена. По выходу работ допускается некоторая подрегулировка приборов, обеспечивающая поддержание расчетных давлений и оптимальное дозирование компонентов в смесителях. С помощью шланга пену наносят на отепляемую поверхность.

4.3. Во время работы необходимо периодически очищать выводной рукав пеногенератора от кусков налипшей и затвердевшей пены. Для этого рукав отсоединяют от пеносмесителя и продувают сжатым воздухом от компрессора. В конце смены и при остановке работ по той или иной причине баки пеногенератора освобождают от растворов, а всю систему промывают горячей водой.

4.4. Расчетную толщину пенопокрытия контролируют высотными шаблонами, которые следует устанавливать на поверхности карьера до начала работ. Пену наносят на отепляемую поверхность слоями толщиной 5 - 6 см. Розлив очередного слоя допускается только после затвердения нижнего слоя пены, т.е. через 30 - 40 мин после его укладки.

4.5. Розлив пены рекомендуется вести при ясной и тихой погоде. При скорости ветра свыше 7 - 10 м/сек пену следует укладывать плотно, для чего струю пены направляют под углом 45 - 60° к отепляемой поверхности грунта. В случае выпадения атмосферных осадков и при скорости ветра более 12 - 15 м/сек работы по изготовлению БТП запрещаются.

4.6. Гидроизоляция синтетической пены достигается либо розливом по ее поверхности карбамидной смолы слоем 3 - 5 см, отверждаемой обычным способом, но без вспенивания, либо набрызгом битумной эмульсии или другими способами. Во всех случаях перед нанесением изоляции пену высушивают на воздухе до воздушно-сухого состояния.

4.7. Водовоздушную пену рекомендуется наносить на отепляемую поверхность слоями толщиной 5 - 6 см при температуре воздуха от -7 до -15 °С и толщиной 8 - 10 см при температуре ниже -15 °С. Укладка очередного слоя допускается только после замерзания предыдущего. Кратность водовоздушной пены необходимо поддерживать в пределах 20 - 40. Во избежание раздувания пены при скорости ветра более 6 - 7 м/сек намораживание пенольда следует прекратить. Растаявший пенолед можно впоследствии восстанавливать вторичным намораживанием пены при понижении температуры воздуха до -7 °С.

4.8. Очищать поверхность карьера от отепляющих слоев во избежание промерзания грунта следует лишь на площади, которая может быть разработана экскаваторным звеном за 1 - 2 смены.

5. Расчет толщины теплоизолирующих слоев

5.1. Необходимая толщина теплоизолирующего слоя зависит от закономерности изменения температуры воздуха за расчетный зимний период, начального распределения температуры по глубине отепляемого грунта, температуры слоя БТП в момент его нанесения, а также теплофизических характеристик материала слоя и грунта. Поэтому для расчета толщины защитного слоя БТП необходимо знать:

климатическую характеристику места строительства, включающую ход изменения температуры воздуха по месяцам в течение года;

вид и состояние грунта и его теплофизические свойства;

распределение температуры в грунте по глубине в момент его отепления;

теплофизические характеристики отепляющего слоя;

график разработки карьера во времени.

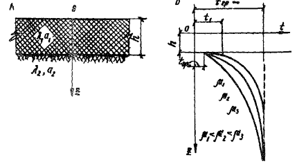
5.2. Толщину теплоизолирующего слоя рассчитывают по результатам теоретического решения операционным методом нестационарной задачи о двухслойном полупространстве, представляющем собой слой теплоизоляции конечной толщины, уложенный на грунтовое полупространство м. приложение 3 и рис. 5.1, А). При постановке задачи принято, что в системе преобладает перенос тепла за счет теплопроводности; миграция влаги в грунте и наличие снегового покрова на глубину промерзания не влияют.

5.3. Начальную температуру теплоизолирующего слоя t1 принимают постоянной по его толщине и равной температуре воздуха в момент устройства слоя БТП (рис. 5.1, Б).

5.4. Годовой ход температуры воздуха по месяцам принимается на основе многолетних статистических данных (табл. 1 СНиП II.6-72) и предполагается изменяющимся по следующему закону (рис. 5.2):

,                                             (5.1)

где tср -  среднегодовая температура воздуха, °С;

T -   период изменения температуры воздуха за год, час; Т = 8760 час;

τ -    расчетное время с момента нанесения слоя БТП до начала разработки грунта в карьере, час;

Δτ - время, отсчитываемое от момента перехода кривой температуры воздуха через 0 °С до момента, соответствующего началу отепления грунта, час; Δτ берется со знаком (+) при положительной tср и со знаком (-) - при отрицательной tср;

tm = 0,5 (t+max + t-max),                                                        (5.2)

где t+max - максимальное значение среднемесячной положительной температуры;

t+max - максимальное значение среднемесячной отрицательной температуры, принимаемой по табл. СНиП II-А.6-72.

5.5. Распределение температуры в грунте в момент нанесения слоя БТП принимается по формуле (см. рис. 5.1, Б):

Рис. 5.1. Исходная модель для расчета теплоизолирующего слоя:

А - грунтовое полупространство с отепляющим слоем БТП; Б - начальное распределение температур в грунте под БТП

tzp(Z) = tzp - (tzp - tzp0)e-μZ,                                              (5.3)

где tzp -   равновесная температура на глубине 3 - 6 м, °С;

tzp0 -   температура на поверхности груза в момент укладки БТП, °С;

μ -      постоянный коэффициент; μ ≥ 0;

Z -      глубина, м.

Коэффициент μ подбирают по данным распределения температуры грунта по глубине.

Рис. 5.2. Кривая изменения температуры воздуха (г. Волгоград)

5.6. За момент нанесения слоя БТП на поверхность грунта в карьере рекомендуется принимать момент, соответствующий переходу кривой температуры воздуха через 0 °С.

5.7. Толщина теплоизолирующего слоя должна обеспечивать полную защиту грунта от промерзания, в связи с чем температура грунта на контакте с теплоизолятором [tк] допускается:

для песка от -0,3 до -0,6 °С;

для суглинка от -0,9 до -1,4 °С;

для глины от -1,8 до -2,0 °С.

Здесь [tк] - температура льдообразования в грунте.

5.8. При назначении толщины теплоизолирующего слоя используют расчетные значения следующих теплофизических характеристик БТП и грунта:

коэффициенты теплопроводности и температуропроводности;

удельную теплоемкость.

Значения теплофизических характеристик БТП и грунтов следует определять экспериментальным путем, например, по методике, предлагаемой в «Методических рекомендациях по проектированию и устройству теплоизолирующих слоев на пучиноопасных участках автомобильных дорог» оюздорнии. М., 1976).

При отсутствии требуемой аппаратуры теплофизические показатели материалов можно назначать по данным табл. 5.1 и рис. 5.3.

Рис. 5.3. Зависимость коэффициента теплопроводности от объемной массы БТП

Коэффициент температуропроводности следует определять по формуле

,                                                              (5.4)

где λ -  коэффициент теплопроводности, ;

c -  удельная теплоемкость, ;

γ -  объемная масса, кг/м3.

Удельная теплоемкость БТП при изменении плотности материала от 20 до 60 кг/м3 принимается 0,32 - 0,35 .

Таблица 5.1

Вид грунта

Основные характеристики влажного грунта

Влажность, %

Объемная масса, кг/м3

Удельная теплоемкость,

Коэффициент теплопроводности,

Коэффициент температуропроводности, м2/час

Песок

10

1700

0,253

1,75

0,00407

20

1900

0,336

1,9

0,00298

30

2171

0,419

2,05

0,00225

40

2533

0,502

2,22

0,00175

Суглинок

10

1711

0,258

1,4

0,00317

20

1925

0,340

1,65

0,00252

30

2200

0,422

1,96

0,00211

40

2567

0,505

2,31

0,00178

Глина

10

1622

0,262

1,10

0,00259

20

1825

0,344

1,39

0,00211

30

2086

0,426

1,88

0,00196

40

2416

0,508

2,40

 

5.9. Окончательный расчет толщины теплоизолирующего слоя из БТП ведется по формуле, приведенной в приложении 3 настоящих «Методических рекомендаций». Ввиду трудоемкости расчета его рекомендуется производить на ЭВМ*).

*) В Ленинградском филиале Союздорнии разработана программа расчета на ЭВМ «Наири-2». Она может быть выслана заинтересованным организациям по запросу.

Рис. 5.4. Определение необходимой толщины БТП, обеспечивающей полную защиту песчаного (супесчаного) грунта от промерзания при различной нормативной глубине промерзания грунта h0: 2,4 м (1); 1,9 м (2); 1,6 м (3); 1,4 м (4); 1,2 м (5); 0,9 м (6)

5.10. При отеплении карьера, сложенного из песчаного или супесчаного грунта, толщину защитного слоя БТП можно определять по номограмме рис. 5.4 в соответствии с нормативной глубиной промерзания грунта, указанной в приложении 4. Номограмма построена для БТП с объемной массой 60 кг/м3. Для БТП с 30 кг/м3 расчетную толщину отепляющего слоя уменьшают в два раза. Влияние снегового покрова не учитывается.

5.11. При использовании пенольда для усиления действия БТП толщина последней может быть несколько снижена. В этом случае необходимую толщину слоя БТП принимают, исходя не из нормативной глубины промерзания грунта, а из глубины промерзания грунта под снегом в соответствии с нормативной толщиной снегового покрова (рис. 5.5). Суммарная толщина пенольда и снега должна превышать нормативную толщину снегового покрова в декабре - январе.

Рис. 5.5. Глубина промерзания грунта без утепления (1) и под снегом или пенольдом при толщине слоя 0,2 м (2); 0,2 - 0,4 м (3); 0,4 - 0,6 м (4); более 0,6 м (5)

5.12. Для сокращения расхода отепляющего материала толщину БТП следует рассчитывать в соответствии со сроком разработки грунта в карьере. При эксплуатации карьера в течение всего зимнего периода на основании расчетов строится линейный график отепления (рис. 5.6), в соответствии с которым и производят разбивку территории и розлив пены по поверхности карьера (см. п. 4.4).

Рис. 5.6. Линейный график отепления грунта с помощью БТП (1); БТП и снега или пенольда (2); динамика нарастания снегового покрова (3)

Необходимую толщину БТП находят по нижней части номограммы (см. рис. 5.4) для каждого месяца по величине нормативной глубины промерзания грунта h0.

6. Стоимость работ

6.1. Стоимость отепления грунта определяется: отпускной ценой исходных продуктов и дальностью доставки к месту работ, степенью технологичности и механизации, плотностью (кратностью) пены, толщиной защитных слоев и площадью отепляемого карьера.

6.2. При расчете ориентировочной стоимости синтетической пены, изготовленной с помощью передвижных пеногенераторов из смол класса мочевино-формальдегидных, можно принимать, что по отношению к общей себестоимости пенопласта стоимость материалов составляет от 70 до 83 %, расходы на механизацию и оплату труда - от 5 до 15 %, прочие расходы (транспорт, перебазировка и амортизация механизмов) - 2 - 6 %.

6.3. Примерная калькуляция себестоимости 1 м3 пенопласта объемной массой 30 - 40 кг/м3, изготовленного на основе смолы М19-62 с помощью пеногенератора СибНИИГиМа, приведена в табл. 6.1.

Таблица 6.1

Статья затрат

Расход, кг

Отпускная, цена 1 кг, руб.

Суммарная стоимость, руб.

Смола М19-62

17

0,18

3,06

Щавелевая кислота (сухая)

0,4

1,60

0,64

Пенообразователь ПО-

2

0,35

0,70

Механизация и зарплата

-

-

0,60

Транспортировка компонентов и перебазировка машин

-

-

0,15

Итого:

 

 

5,15

6.4. Себестоимость пенопласта можно значительно снизить путем повышения кратности БТП (рис. 6.1). Однако не рекомендуется бесконечно повышать кратность пены, так как при этом резко падает прочность и растет усадка БТП. Для районов Северо-Запада СССР оптимальная кратность пены не более 30 - 40.

Рис. 6.1. Зависимость стоимости пенопласта от толщины слоя и кратности пены (цифры на кривых - кратность пены)

6.5. Экономическую эффективность отепления грунта синтетической пеной и пенольдом можно определить по номограмме рис. 6.2. Здесь приведена стоимость как отепления, так и рыхления мерзлого грунта механическим способом в случае свободного промерзания грунта в карьере. Стоимость работ дана в зависимости от нормативной глубины промерзания грунта.

Рис. 6.2. Экономическое сравнение стоимости отепления и рыхления мерзлого грунта:

1 - отепление промышленным пенопластом (мипорой); 2 - отепление с помощью БТП (γ = 80 - 90 кг/м3); 3 - рыхление шар-молотом или с помощью взрыва и последующего дробления и уплотнения мерзлых комьев; 4 - отепление БТП (γ = 50 - 60 кг/м3); 5 - рыхление навесным рыхлителем с последующим дроблением и уплотнением мерзлых комьев; 6 - засоление хлористым натрием; 7 - отепление с помощью БТП (γ = 20 - 30 кг/м3); 8 - отепление пенольдом

6.6. Полную стоимость отепления карьеров в каждом конкретном случае определяют, умножая себестоимость пенопласта (см. п. 6.3) на потребное количество материала, подсчитанное по графику отепления карьера в зависимости от запланированного времени разработки грунта (см. рис. 5.6).

7. Техника безопасности

7.1. Разрешение на укладку БТП дается после проверки крепления всех узлов пеногенератора и проведения гидравлических испытаний под давлением. Баки для растворов эмульсии, смолы и кислоты необходимо испытывать в соответствии с правилами котлонадзора. Все дозирующие и контролирующие давление приборы должны быть исправны и соответствовать паспортным данным.

7.2. При работе с кислотами следует соблюдать особую осторожность, рабочие должны иметь защитную одежду (резиновые перчатки, фартуки, сапоги, очки).

7.3. В связи с возможностью выделения при розливе пены свободного формальдегида место работ необходимо ограждать, а рабочих снабжать противогазами или защитными масками.

7.4. Ремонтировать и закреплять отдельные элементы и узлы пеногенератора можно только после полной остановки машины и снижения давления в баках до 0.

7.5. Транспортировка материалов и приготовление рабочих растворов должны осуществляться в соответствии с требованиями технических условий и ГОСТов на эти материалы.

ПРИЛОЖЕНИЯ

Приложение 1

Тип карбамидных смол

Основные свойства смол

Концентрация, %, не менее

Преломление

Вязкость, сек

Содержание свободного формальдегида, %, не более

Кислотное число pH

Срок хранения, месяцы

Катализатор (кислота)

по В3-1

по В3-4

МФ (МРТУ 605-1006-66)..................

65

1,440 - 1,450

-

35 - 100

3

7,0 - 8,5

2

Соляная

М-48 (ВТУ 560-58).............................

48 - 50

1,417 - 1,425

-

13 - 20

0,9 - 1,2

-

12

МФ-17*) (МРТУ 6-05-1006-66)........

70

1,475 - 1,500

40 - 100

-

3

7,0 - 8,5

4

Соляная, щавелевая

УКС*) (МРТУ 6-05-1006-66).............

70

-

40 - 100

-

1,2

7,5 - 9,0

2

Фосфорная

М19-62*) (МРТУ 13-06-4-67)............

60 - 70

1,456 - 1,480

-

20 - 300

0,016

7,2 - 8,0

3

Фосфорная, щавелевая

Крепитель К-2*) (ТУ 84-166-70)......

50 - 55

-

-

12 - 30

0,5

7,0 - 8,0

4

Соляная

*) Указанные смолы использовали для получения БТП для отепления грунтов. Отпускная цена смол - 180 - 220 руб./т.

Контрольные испытания смолы

Мочевино-формальдегидные смолы представляют собой маловязкие жидкости белого или желтоватого цвета; хорошо растворяются в воде.

Перед употреблением смол следует определять:

реактивность (10 мл водного раствора смолы помещают в пробирку, куда добавляют несколько капель метилоранжа и встряхивают пробирку для получения равномерной окраски. В раствор вливают 2 мл концентрированной кислоты и, перемешивая его, определяют момент выпадения геля. Это время в секундах и является реактивностью. Оно не должно превышать 10 сек);

плотность проверяют ареометром; она должна соответствовать паспортной (1,15 - 1,20 г/см3);

кислотное число pH, т.е. содержание свободного формальдегида, определяют специальным испытанием (титрованием); pH должно быть не более 7,0 - 8,5 %.

Хранить смолу следует в прохладных помещениях. При температуре воздуха выше 20 °С она быстро густеет, теряет способность растворяться в воде, постепенно полимеризуется.

Приложение 2

Тип пенообразователя

Основные характеристики пенообразователя

Плотность, кг/м3

Содержание активного вещества, %

Оптимальная концентрация раствора, %

Кратность

Стойкость пены, мин

Отпускная цена, руб./т

ПО-1А «Прогресс» (СТУ 49-1875-64)

1100

Более 20

4

6

4

300 - 360

ПО-3А «Типол» (ТУ 38-10917-73)

1100

25 - 30

2 - 3

6

4

400

«Волгонат» (МРТУ 6-0139-65)

1150

70

0,1

8

4

900 - 1000

Примечание. ПО-1А и ПО-3А - жидкости, «Волгонат» - паста.

Контрольные испытания пенообразователей

При контрольных испытаниях пенообразователей определяют:

плотность - ареометром при температуре 20 °С;

вязкость (по Энглеру) - по методике ГОСТ 6258-52;

кратность пены - путем взбалтываний водного раствора пенообразователя оптимальной концентрации (100 см3) в сосуде емкостью 1000 см3 либо сбиванием его крыльчаткой в приборе «измельчитель тканей». Отношение объема пены к объему раствора считается кратностью пены;

стойкость пены - по секундомеру; это время, в течение которого происходит разрушение пены на 1/5 своего объема.

Приложение 3

Для назначения толщины слоя БТП h при соответствующем времени отепления грунта τ предлагается формула:

где ; ;  (β1 ≠ 0); β2 = 0,5(1 + β1); β3 = 1 - β1, erfcx = 1 - erfc;

erfx - функция ошибок Гаусса.

Остальные обозначения приведены в тексте разд. 5.

Задаваясь толщиной слоя БТП h и временем отепления τ, рассчитывают значение [tк], которое для соответствующего грунта должно находиться в пределах, указанных в п. 5.7.

Поскольку в формулу не включен член, учитывающий переходные процессы, удовлетворительные значения [tк] соответствуют начальному времени отепления τ ≥ 250 час, которое и следует принимать в качестве исходного.

Число членов рядов n определяют исходя из условия βn1A, где A - любое заданное малое число, например A = 0,01.

В приложении 4 приведены необходимые при расчетах данные по отдельным городам СССР.


Приложение 4

Город

Среднегодовая температура воздуха tср, °С

Амплитудное значение температуры, отсчитываемое от среднегодовой tm, °С

Время от момента перехода кривой температуры воздуха через 0 °С до начала отепления грунта Δτ, час

Разновесная температура грунта на глубине 3 - 5 м tφ = 0 °C

Коэффициент, характеризующий начальное распределение температуры в грунте n

Нормативная глубина промерзания no, см

Сумма зимних градусо-дней Σ - tзим

Средняя толщина снегового покрова nсн, см

Толщина БТП h, м

Время с момента отепления до начала разработки грунта τ, час

Архангельск

0,8

14,05

120

5,5

1,5

160

1525

66

0,05

600

0,075

800

0,10

1000

0,15

1400

0,20

1750

0,25

2250

0,275

2500

0,30

3000

Волгоград

7,6

16,7

720

15,0

1,75

110

781

-

0,025

500

0,05

1000

0,075

1700

0,085

2000

-

-

-

-

Вологда

2,4

14,4

288

5,5

0,75

150

1256

48

0,05

500

0,075

750

0,10

950

0,15

1200

0,20

1750

0,225

2000

0,25

2250

0,275

2750

Горький

3,1

15,0

324

8,75

2,0

155

950

59

0,05

700

0,075

1000

0,10

1300

0,125

1500

0,15

1875

0,175

2375

-

-

Ленинград

4,3

12,8

724

8,0

0,5

120

810

32

0,10

1000

0,125

1375

0,15

1875

-

-

-

-

-

Москва

4,8

14,3

600

7,0

1,5

140

986

48

0,05

600

0,075

875

0,10

1200

0,125

1500

0,15

2000

-

-

-

Омск

0

18,75

0

7,5

1,5

220

2000

24

0,025

250

0,05

625

0,10

1150

0,125

1400

0,15

1600

0,175

1800

0,20

2000

0,225

2250

 

 

 

 

0,25

2750

0,275

3250

 

 

 

Оренбург

3,9

18,35

360

9,5

1,5

180

1597

57

0,025

350

0,05

625

0,075

900

0,1

1200

0,15

1700

0,175

2125

0,2

2500

-

Псков

4,6

12,5

600

7,0

1,75

110

691

21

0,05

650

0,075

1000

0,10

1400

0,125

1900

-

-

-

-

Рига

5,6

11,05

816

7,0

2,0

90

460

23

0,025

450

0,05

850

0,075

1300

0,09

1750

-

-

-

-

Ростов-на-Дону

8,7

14,3

1008

10,0

2,0

85

360

13

0,025

400

0,05

900

0,055

1150

0,06

1250

0,065

1500

0,07

1600

-

-

Сыктывкар

0,3

15,9

96

7,5

1,5

190

2737

54

0,10

1100

0,125

1250

0,15

1450

0,175

1750

0,20

1900

0,225

2200

0,25

2500

-

Таллин

5,0

11,05

816

7,2

2,25

100

610

28

0,05

750

0,075

1250

0,08

1400

0,085

1500

0,09

1750

0,095

1900

0,10

1950

0,105

2050

Томск

0,6

18,6

0

7,5

1,0

240

2215

60

0,075

750

0,10

950

0,15

1300

0,20

1650

0,25

2000

0,30

2400

0,35

2700

-

Примечание. Толщина слоя БТП рассчитана для отепления песчаных и супесчаных грунтов (w = 10 ÷ 15 %) с использованием пены плотностью 50 - 60 кг/м31 = 0,075 ккал/м · час · град; c = 0,32 ккал/кг · град).


 




ГОСТЫ, СТРОИТЕЛЬНЫЕ и ТЕХНИЧЕСКИЕ НОРМАТИВЫ.
Некоммерческая онлайн система, содержащая все Российские Госты, национальные Стандарты и нормативы.
В Системе содержится более 150000 файлов нормативно-технической документации, действующей на территории РФ.
Система предназначена для широкого круга инженерно-технических специалистов.

Рейтинг@Mail.ru Яндекс цитирования

Copyright © www.gostrf.com, 2008 - 2026